JP2010060667A - トナーの製造方法、トナーの製造装置及びトナー - Google Patents
トナーの製造方法、トナーの製造装置及びトナー Download PDFInfo
- Publication number
- JP2010060667A JP2010060667A JP2008224063A JP2008224063A JP2010060667A JP 2010060667 A JP2010060667 A JP 2010060667A JP 2008224063 A JP2008224063 A JP 2008224063A JP 2008224063 A JP2008224063 A JP 2008224063A JP 2010060667 A JP2010060667 A JP 2010060667A
- Authority
- JP
- Japan
- Prior art keywords
- toner
- toner composition
- composition liquid
- liquid
- storage
- Prior art date
- Legal status (The legal status is an assumption and is not a legal conclusion. Google has not performed a legal analysis and makes no representation as to the accuracy of the status listed.)
- Granted
Links
Images
Classifications
-
- G—PHYSICS
- G03—PHOTOGRAPHY; CINEMATOGRAPHY; ANALOGOUS TECHNIQUES USING WAVES OTHER THAN OPTICAL WAVES; ELECTROGRAPHY; HOLOGRAPHY
- G03G—ELECTROGRAPHY; ELECTROPHOTOGRAPHY; MAGNETOGRAPHY
- G03G9/00—Developers
- G03G9/08—Developers with toner particles
- G03G9/0819—Developers with toner particles characterised by the dimensions of the particles
-
- G—PHYSICS
- G03—PHOTOGRAPHY; CINEMATOGRAPHY; ANALOGOUS TECHNIQUES USING WAVES OTHER THAN OPTICAL WAVES; ELECTROGRAPHY; HOLOGRAPHY
- G03G—ELECTROGRAPHY; ELECTROPHOTOGRAPHY; MAGNETOGRAPHY
- G03G9/00—Developers
- G03G9/08—Developers with toner particles
- G03G9/0802—Preparation methods
-
- G—PHYSICS
- G03—PHOTOGRAPHY; CINEMATOGRAPHY; ANALOGOUS TECHNIQUES USING WAVES OTHER THAN OPTICAL WAVES; ELECTROGRAPHY; HOLOGRAPHY
- G03G—ELECTROGRAPHY; ELECTROPHOTOGRAPHY; MAGNETOGRAPHY
- G03G9/00—Developers
- G03G9/08—Developers with toner particles
- G03G9/0802—Preparation methods
- G03G9/0817—Separation; Classifying
Landscapes
- Physics & Mathematics (AREA)
- General Physics & Mathematics (AREA)
- Developing Agents For Electrophotography (AREA)
Abstract
【解決手段】少なくとも樹脂及び着色剤を含有するトナー組成物を分散ないし溶解させたトナー組成液10を貯留する貯留部11と、貯留部11に臨むノズル13が形成された薄膜14と、貯留部11のトナー組成液10を介して薄膜14を振動させる振動手段15とを有し、貯留部11は隔壁12aで区分された複数の貯留室11Aが形成されて、複数の貯留室11Aの幅A,Bが貯留部11内で発生する音波の波長λの2分の1以下に形成されている液滴噴射ユニット2を用いて、トナー組成液10を複数のノズル13から周期的に液滴化して放出させ、放出されたトナー組成液の液滴31を固化させる。
【選択図】図2
Description
少なくとも樹脂及び着色剤を含有するトナー組成物を分散ないし溶解させたトナー組成液を貯留する貯留部と、前記貯留部に臨むノズルが形成された薄膜と、前記貯留部の前記トナー組成液を介して前記薄膜を振動させる振動発生手段とを有し、前記貯留部は隔壁で区分された複数の貯留室が形成されて、前記複数の貯留室の並び方向に沿う幅及び貯留室の並び方向と直交する方向の幅が前記貯留部内で発生する音波の波長λの2分の1以下に形成されている液滴化手段を用いて、前記トナー組成液を前記複数のノズルから周期的に液滴化して放出させる周期的液滴化工程と、
前記放出されたトナー組成液の液滴を固化させる粒子形成工程と、を行う
構成とした。
少なくとも樹脂及び着色剤を含有するトナー組成物を分散ないし溶解させたトナー組成液を貯留する貯留部と、前記貯留部に臨むノズルが形成された薄膜と、前記貯留部の前記トナー組成液を介して前記薄膜を振動させる振動発生手段とを有し、前記貯留部は隔壁で区分された複数の貯留室が形成されて、前記複数の貯留室の並び方向に沿う幅及び貯留室の並び方向と直交する方向の幅が前記貯留部内で発生する音波の波長λの2分の1以下に形成されている液滴化手段を用いて、前記トナー組成液を前記複数のノズルから周期的に液滴化して放出させる周期的液滴化手段と、
前記放出されたトナー組成液の液滴を固化させる粒子形成手段と、を備えている
構成とした。
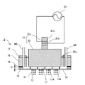
このトナーの製造装置1は、少なくとも樹脂及び着色剤を含有するトナー組成液を液滴化して放出する液滴化手段としての液滴噴射ユニット2と、この液滴噴射ユニット2が上方に配置され、液滴噴射ユニット2から放出される液滴化されたトナー組成液の液滴30を固化してトナー粒子Tを形成する粒子化手段としての粒子化手段3と、粒子化手段3で形成されたトナー粒子Tを捕集するトナー捕集手段4と、トナー捕集手段4で捕集されたトナー粒子Tがチューブ5を介して移送され、移送されたトナー粒子Tを貯留するトナー貯留手段としてのトナー貯留部6と、トナー組成液10を収容する原料収容部7と、この原料収容部7内から液滴噴射ユニット2に対してトナー組成液10を送液する配管(液供給チューブ)8Aと配管(気泡排出用の気泡排出チューブ又は液循環用チューブ)8Bと、稼動時などにトナー組成液10を液供給チューブ8Aを通じて原料収容部7から液滴噴射ユニット2にトナー組成液10を圧送供給するためのポンプ9とを備えている。なお、トナー組成液10として、ここでは、少なくとも樹脂及び着色剤を含有するトナー組成物を溶剤に溶解又は分散した溶液、分散液を用いている。
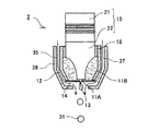
この液滴噴射ユニット2は、トナー組成液10を貯留する貯留部(液室)11を構成する貯留部形成部材(流路部材)12と、貯留部11に臨むノズル13が形成された薄膜14と、貯留部11のトナー組成液10を介して薄膜14を振動させる振動発生手段を含む振動手段15とを備えている。貯留部形成部材(流路部材)12で構成される貯留部(「液貯留部」ともいう。)11は、隔壁12aで区分された複数の貯留室(「液貯留領域」ともいう。)11Aを有している。
ここでは、貯留室形成部材12が振動手段15の振動増幅手段22の周囲を囲む形状に形成されて、貯留室形成部材12は振動増幅手段22との間には振動分離手段18を介して固定され、貯留室形成部材12が振動手段15の振動増幅手段22の周囲との間で居通流路11Bが形成されている。なお、その他は第1例と同様な構成であるが、貯留室11などの詳細な図示は省略している。
振動手段15の振動発生手段21を駆動することによって振動増幅手段32の先端面である振動面15aは、図10(a)に示すように薄膜14側に伸張する状態と、同図(b)に示すように薄膜14側から後退する状態とで伸縮し、図11に実線で示すように振動面15aが振動する。この振動手段15の振動面15aに発生した振動は、貯留部11内のトナー組成液10に伝達し、音響波として薄膜14に到達し、薄膜14に設けられた複数のノズル13において、トナー組成液10は加圧された状態において外部に放出される。
このトナー捕集部4は、粒子化手段3の粒子飛翔方向下流側に粒子化手段(乾燥部、溶媒除去部)3に連続して設けられ、開口径が入口側(液体噴射ユニット2側)から出口側に向けて漸次縮小するテーパ面41を有している。そして、例えば、図示しない吸引ポンプなどでトナー捕集部4内から吸引を行うことによってトナー捕集部4内に下流側に向かう渦流である気流42を発生させ、この気流42によってトナー粒子Tを捕集するようにしている。このように渦流(気流42)によって遠心力を発生させてトナー粒子Tを捕集することで確実にトナー粒子Tを捕集して下流側のトナー貯留部6に移送することができる。
前述したように液滴噴射ユニット2の貯留部11に少なくとも樹脂及び着色剤を含有するトナー組成物を分散ないし溶解させたトナー組成液10を供給した状態で、液滴化手段を構成する振動手段15の振動発生手段21に対して所要の駆動周波数の駆動信号を印加することによって、振動発生手段21に振動が発生し、この振動が振動増幅手段22によって増幅されて貯留部11の各貯留室11A内のトナー組成液10が励振する。
この液滴噴射ユニット2は、前述した各例と同様に、ホーン型振動子を振動発生手段21に用いて、この振動手段15の振動増幅手段22の周囲を囲んでトナー組成液10を貯留する貯留部形成部材12を配置し、振動手段15の振動増幅手段22の振動面15aと薄膜14との間に貯留室11を形成している。さらに、貯留部形成部材12の周囲に所要の間隔を置いて気流35を流す気流路37を形成する気流路形成部材36を配置している。なお、その他の構成は前記各例と同様であるが、図示を簡略化するため、薄膜14のノズル13は1個で示し、貯留室11も簡略化して示している。
トナー材料としては、従来の電子写真用トナーと全く同じ物が使用できる。すなわち、スチレンアクリル系樹脂、ポリエステル系樹脂、ポリオール系樹脂、エポキシ系樹脂、等のトナーバインダーを各種有機溶媒に溶解し、着色剤を分散、かつ、離型剤を分散又は溶解し、これを前記トナー製造方法により微小液滴とし乾燥固化させることで、目的とするトナー粒子を作製することが可能である。また、上記材料を熱溶融混練し得られた混練物を各種溶媒に一度溶解乃至分散した液を、前記トナー製造方法により微小液滴とし乾燥固化させることで、目的のトナーを得ることも可能である。
前記トナー用材料としては、少なくとも樹脂と着色剤とを含有し、必要に応じて、キャリア、ワックス等のその他の成分を含有する。
前記樹脂としては、少なくとも結着樹脂が挙げられる。
前記結着樹脂としては、特に制限はなく、通常使用される樹脂を適宜選択して使用することができるが、例えば、スチレン系単量体、アクリル系単量体、メタクリル系単量体等のビニル重合体、これらの単量体又は2種類以上からなる共重合体、ポリエステル系重合体、ポリオール樹脂、フェノール樹脂、シリコーン樹脂、ポリウレタン樹脂、ポリアミド樹脂、フラン樹脂、エポキシ樹脂、キシレン樹脂、テルペン樹脂、クマロンインデン樹脂、ポリカーボネート樹脂、石油系樹脂、などが挙げられる。
2価のアルコール成分としては、例えば、エチレングリコール、プロピレングリコール、1,3−ブタンジオール、1,4−ブタンジオール、2,3−ブタンジオール、ジエチレングリコール、トリエチレングリコール、1,5−ペンタンジオール、1,6−へキサンジオール、ネオペンチルグリコール、2−エチル−1,3−ヘキサンジオール、水素化ビスフェノールA、又は、ビスフェノールAにエチレンオキシド、プロピレンオキシド等の環状エーテルが重合して得られるジオール、などが挙げられる。ポリエステル樹脂を架橋させるためには、3価以上のアルコールを併用することが好ましい。
酸価(mgKOH/g)=[(S−B)×f×5.61]/W
前記着色剤としては、特に制限はなく、通常使用される樹脂を適宜選択して使用することができるが、例えば、カーボンブラック、ニグロシン染料、鉄黒、ナフトールイエローS、ハンザイエロー(10G、5G、G)、カドミウムイエロー、黄色酸化鉄、黄土、黄鉛、チタン黄、ポリアゾイエロー、オイルイエロー、ハンザイエロー(GR、A、RN、R)、ピグメントイエローL、ベンジジンイエロー(G、GR)、パーマネントイエロー(NCG)、バルカンファストイエロー(5G、R)、タートラジンレーキ、キノリンイエローレーキ、アンスラザンイエローBGL、イソインドリノンイエロー、ベンガラ、鉛丹、鉛朱、カドミウムレッド、カドミウムマーキュリレッド、アンチモン朱、パーマネントレッド4R、パラレッド、ファイセーレッド、パラクロルオルトニトロアニリンレッド、リソールファストスカーレットG、ブリリアントファストスカーレット、ブリリアントカーンミンBS、パーマネントレッド(F2R、F4R、FRL、FRLL、F4RH)、ファストスカーレットVD、ベルカンファストルビンB、ブリリアントスカーレットG、リソールルビンGX、パーマネントレッドF5R、ブリリアントカーミン6B、ポグメントスカーレット3B、ボルドー5B、トルイジンマルーン、パーマネントボルドーF2K、ヘリオボルドーBL、ボルドー10B、ボンマルーンライト、ボンマルーンメジアム、エオシンレーキ、ローダミンレーキB、ローダミンレーキY、アリザリンレーキ、チオインジゴレッドB、チオインジゴマルーン、オイルレッド、キナクリドンレッド、ピラゾロンレッド、ポリアゾレッド、クロームバーミリオン、ベンジジンオレンジ、ペリノンオレンジ、オイルオレンジ、コバルトブルー、セルリアンブルー、アルカリブルーレーキ、ピーコックブルーレーキ、ビクトリアブルーレーキ、無金属フタロシアニンブルー、フタロシアニンブルー、ファストスカイブルー、インダンスレンブルー(RS、BC)、インジゴ、群青、紺青、アントラキノンブルー、ファストバイオレットB、メチルバイオレットレーキ、コバルト紫、マンガン紫、ジオキサンバイオレット、アントラキノンバイオレット、クロムグリーン、ジンクグリーン、酸化クロム、ピリジアン、エメラルドグリーン、ピグメントグリーンB、ナフトールグリーンB、グリーンゴールド、アシッドグリーンレーキ、マラカイトグリーンレーキ、フタロシアニングリーン、アントラキノングリーン、酸化チタン、亜鉛華、リトボン及びこれらの混合物、などが挙げられる。
<キャリア>
本発明に係るトナーは、キャリアと混合して2成分現像剤として使用してもよい。前記キャリアとしては、通常のフェライト、マグネタイト等のキャリアも樹脂コートキャリアも使用することができる。
また、本発明では、結着樹脂、着色剤とともにワックスを含有させることもできる。
ワックスとしては、特に制限はなく、通常使用されるものを適宜選択して使用することができるが、例えば、低分子量ポリエチレン、低分子量ポリプロピレン、ポリオレフィンワックス、マイクロクリスタリンワックス、パラフィンワックス、サゾールワックス等の脂肪族炭化水素系ワックス、酸化ポリエチレンワックス等の脂肪族炭化水素系ワックスの酸化物又はそれらのブロック共重合体、キャンデリラワックス、カルナバワックス、木ろう、ホホバろう等の植物系ワックス、みつろう、ラノリン、鯨ろう等の動物系ワックス、オゾケライト、セレシン、ペテロラタム等の鉱物系ワックス、モンタン酸エステルワックス、カスターワックスの等の脂肪酸エステルを主成分とするワックス類。脱酸カルナバワックスの等の脂肪酸エステルを一部又は全部を脱酸化したもの、などが挙げられる。
本発明に係るトナーには、流動性向上剤を添加してもよい。該流動性向上剤は、トナー表面に添加することにより、トナーの流動性を改善(流動しやすくなる)するものである。
前記無機微粒子としては、例えば、シリカ、アルミナ、酸化チタン、チタン酸バリウム、チタン酸マグネシウム、チタン酸カルシウム、チタン酸ストロンチウム、酸化亜鉛、酸化スズ、ケイ砂、クレー、雲母、ケイ灰石、ケイソウ土、酸化クロム、酸化セリウム、ペンガラ、三酸化アンチモン、酸化マグネシウム、酸化ジルコニウム、硫酸バリウム、炭酸バリウム、炭酸カルシウム、炭化ケイ素、窒化ケイ素、などを挙げることができる。
以下、実施例により本発明について詳細に説明するが、本発明は、下記実施例に何ら限定されるものではない。
−着色剤分散液の調製−
先ず、着色剤としての、カーボンブラックの分散液を調製した。
カーボンブラック(Regal400;Cabot社製)17質量部、顔料分散剤3質量部を、酢酸エチル80質量部に、攪拌羽を有するミキサーを使用し、一次分散させた。該顔料分散剤としては、アジスパーPB821(味の素ファインテクノ社製)を使用した。得られた一次分散液を、ダイノーミルを用いて強力なせん断力により細かく分散し、5μm以上の凝集体を完全に除去した二次分散液を調製した。
次にワックス分散液を調整した。
カルナバワックス18質量部、ワックス分散剤2質量部を、酢酸エチル80質量部に、攪拌羽を有するミキサーを使用し、一次分散させた。この一次分散液を攪拌しながら80℃まで昇温しカルナバワックスを溶解した後、室温まで液温を下げ最大径が3μm以下となるようワックス粒子を析出させた。ワックス分散剤としては、ポリエチレンワックスにスチレン−アクリル酸ブチル共重合体をグラフト化したものを使用した。得られた分散液を、更にダイノーミルを用いて強力なせん断力により細かく分散し、最大径が2μm以下なるよう調整した。
次に、結着樹脂としての樹脂、上記着色剤分散液及び上記ワックス分散液を添加した下記組成からなるトナー組成分散液を調製した。
結着樹脂としてのポリエステル樹脂100質量部、前記着色剤分散液30質量部、ワックス分散液30質量部を、酢酸エチル840質量部を、攪拌羽を有するミキサーを使用して10分間攪拌を行い、均一に分散させた。溶媒希釈によるショックで顔料やワックス粒子が凝集することはなかった。
得られた分散液を、前述したトナーの製造装置の図13で説明した液滴噴射ユニット2に供給した。吐出孔(ノズル)は各吐出孔間の距離が100μmとなるように千鳥格子状に設けた。液貯留部(貯留部)は均等分割された液貯留領域(貯留室)で構成されているものを用いた。
加振周波数:60kHz
貯留部分割数(貯留室の個数):6
貯留室長手方向幅A:8mm
貯留室短手方向幅B:5mm
得られたトナーについて、以下の評価を行った。なお、その結果を表1に示している。
<粒度分布>
フロー式粒子像分析装置(Flow Particle Image Analyzer)を使用した測定方法に関して以下に説明する。
トナー、トナー粒子及び外添剤のフロー式粒子像分析装置による測定は、例えば、東亜医用電子社(株)製フロー式粒子像分析装置FPIA−2000を用いて測定することができる。
現像剤を、市販の複写機(イマジオネオ271;リコー社製)の現像器部分を改良した改造機に入れ、画像占有率7%の印字率でリコー社製6000ペーパーを用いてランニングを実施した。そのときの初期10枚目の画像と3万枚目の画像の細線部を原稿と比較し、光学顕微鏡で100倍で拡大観察し、ラインの抜けの状態を段階見本と比較しながら4段階で評価した。◎>○>△>×の順に画像品質が高い。特に「×」の評価は製品として採用できないレベルである。負帯電極性のトナーの場合には、有機静電潜像担持体を使用し、正帯電極性のトナーの場合は非晶質シリコン静電潜像担持体を使用した。
〔キャリア〕
芯材:平均粒径50μmの球形フェライト粒子
コート材構成材料:シリコーン樹脂
シリコーン樹脂をトルエンに分散させ、分散液を調整後、加温状態にて上記芯材にスプレーコートし、焼成、冷却後、平均コート樹脂膜厚み0.2μmのキャリア粒子を作成した。
実施例1において、液貯留部短手方向寸法Bを8mmとした以外はすべて同じ条件で目的トナーを得た。
実施例1において、液貯留部分割数を10に、液貯留部短手方向寸法Bを8mmとした以外はすべて同じ条件で目的トナーを得た。
実施例1において、振動手段を高周波数のものに変更して加振周波数を100kHzに、貯留室長手方向幅Aを6mm、貯留室短手方向幅Bを5mm、とした以外はすべて同じ条件で目的トナーを得た。
実施例1において、振動手段を高周波数のものに変更して、加振周波数を100kHzに、貯留室長手方向幅Aを8mm、貯留室短手方向幅Bを5mm、とした以外はすべて同じ条件で目的トナーを得た。
実施例1において、貯留部11を分割しない構造、すなわち1つの貯留室(貯留室の個数は1個)とし、貯留部長手方向Aを50mm、貯留部短手方向幅Bを8mm、とした以外はすべて同じ条件で目的トナーを得た。
実施例1において、振動手段を高周波数のものに変更して加振周波数を100kHzに、貯留部11を分割しない構造、すなわち1つの貯留室(貯留室の個数は1個)とし、貯留部長手方向Aを50mm、貯留部短手方向幅Bを8mm、とした以外はすべて同じ条件で目的トナーを得た。
2…液滴噴射ユニット
3…粒子化手段(溶媒除去部)
4…トナー捕集部
5…チューブ
6…トナー収容部
7…原料収容部
8…配管
10…トナー組成液
11…貯留部
11A…貯留室
11B…共通流路
12…貯留部形成部材
13…ノズル
14…薄膜
15…振動手段
21…振動発生手段
22…振動増幅手段
31…液滴
T…トナー粒子
Claims (19)
- 少なくとも樹脂及び着色剤を含有するトナー組成物を分散ないし溶解させたトナー組成液を貯留する貯留部と、前記貯留部に臨むノズルが形成された薄膜と、前記貯留部の前記トナー組成液を介して前記薄膜を振動させる振動発生手段とを有し、前記貯留部は隔壁で区分された複数の貯留室が形成されて、前記複数の貯留室の並び方向に沿う幅及び貯留室の並び方向と直交する方向の幅が前記貯留部内で発生する音波の波長λの2分の1以下に形成されている液滴化手段を用いて、前記トナー組成液を前記複数のノズルから周期的に液滴化して放出させる周期的液滴化工程と、
前記放出されたトナー組成液の液滴を固化させる粒子形成工程と、を行う
ことを特徴とするトナー製造方法。 - 前記貯留部には前記複数の貯留室に通じる共通流路が設けられ、前記共通流路は外部から前記トナー組成液が供給される液供給管と前記トナー組成液を排出する液排出管に通じていることを特徴とする請求項1記載のトナーの製造方法。
- 前記液滴化手段の前記薄膜は20kHz以上2.0MHz未満の振動周波数で振動されることを特徴とする請求項1又は2記載のトナーの製造方法。
- 前記薄膜には1つの分割液室領域に対応して1000ないし10000個のノズルが形成されていることを特徴とする請求項1ないし3のいずれか記載のトナーの製造方法。
- 前記粒子化工程では前記トナー組成液の液滴の溶媒を除去する溶媒除去部で前記液滴を乾燥することを特徴とする請求項1ないし4のいずれか記載のトナーの製造方法。
- 前記粒子化工程では前記トナー組成液の液滴を冷却する冷却部で乾燥することを特徴とする請求項1ないし4のいずれか記載のトナーの製造方法。
- 前記粒子化工程では前記トナー組成液の液滴の放出方向と同方向に流れる乾燥気体によって前記トナー組成液の液滴を搬送して溶媒を除去することを特徴とする請求項1ないし4のいずれか記載のトナーの製造方法。
- 前記乾燥気体が空気又は窒素ガスであることを特徴とする請求項7記載のトナーの製造方法。
- 少なくとも樹脂及び着色剤を含有するトナー組成物を分散ないし溶解させたトナー組成液を貯留する貯留部と、前記貯留部に臨むノズルが形成された薄膜と、前記貯留部の前記トナー組成液を介して前記薄膜を振動させる振動発生手段とを有し、前記貯留部は隔壁で区分された複数の貯留室が形成されて、前記複数の貯留室の並び方向に沿う幅及び貯留室の並び方向と直交する方向の幅が前記貯留部内で発生する音波の波長λの2分の1以下に形成されている液滴化手段を用いて、前記トナー組成液を前記複数のノズルから周期的に液滴化して放出させる周期的液滴化手段と、
前記放出されたトナー組成液の液滴を固化させる粒子形成手段と、を備えている
ことを特徴とするトナーの製造装置。 - 前記貯留部には前記複数の貯留室に通じる共通流路が設けられ、前記共通流路は外部から前記トナー組成液が供給される液供給管と前記トナー組成液を排出する液排出管に通じていることを特徴とする請求項9記載のトナーの製造装置。
- 前記液滴化手段の前記薄膜は20kHz以上2.0MHz未満の振動周波数で振動されることを特徴とする請求項9又は10記載のトナーの製造装置。
- 前記薄膜には1つの分割液室領域に対応して1000ないし10000個のノズルが形成されていることを特徴とする請求項9ないし11のいずれか記載のトナーの製造装置。
- 前記粒子化手段は、前記トナー組成液の液滴の溶媒を除去して乾燥する溶媒除去部を備えていることを特徴とする請求項9ないし12のいずれか記載のトナーの製造装置。
- 前記粒子化手段は、前記トナー組成液の液滴を冷却して乾燥する冷却部を備えていることを特徴とする請求項9ないし11のいずれか記載のトナーの製造装置。
- 前記粒子化手段は、前記トナー組成液の液滴の放出方向と同方向に流れる乾燥気体によって前記トナー組成液の液滴を搬送して溶媒を除去する手段を備えていることを特徴とする請求項9ないし15のいずれか記載のトナーの製造装置。
- 前記乾燥気体が空気又は窒素ガスであることを特徴とする請求項15記載のトナーの製造装置。
- 請求項1ないし8のいずれか記載のトナーの製造方法によって製造されたことを特徴とするトナー。
- 粒度分布(重量平均粒径/数平均粒径)が、1.00〜1.15の範囲であることを特徴とする請求項17記載のトナー。
- 重量平均粒径が1〜20μmであることを特徴とする請求項17又は18記載のトナー。
Priority Applications (2)
| Application Number | Priority Date | Filing Date | Title |
|---|---|---|---|
| JP2008224063A JP5391612B2 (ja) | 2008-09-01 | 2008-09-01 | トナーの製造方法、トナーの製造装置及びトナー |
| US12/547,927 US8257898B2 (en) | 2008-09-01 | 2009-08-26 | Method of manufacturing a toner, device of manufacturing a toner, and toner |
Applications Claiming Priority (1)
| Application Number | Priority Date | Filing Date | Title |
|---|---|---|---|
| JP2008224063A JP5391612B2 (ja) | 2008-09-01 | 2008-09-01 | トナーの製造方法、トナーの製造装置及びトナー |
Publications (2)
| Publication Number | Publication Date |
|---|---|
| JP2010060667A true JP2010060667A (ja) | 2010-03-18 |
| JP5391612B2 JP5391612B2 (ja) | 2014-01-15 |
Family
ID=41725968
Family Applications (1)
| Application Number | Title | Priority Date | Filing Date |
|---|---|---|---|
| JP2008224063A Expired - Fee Related JP5391612B2 (ja) | 2008-09-01 | 2008-09-01 | トナーの製造方法、トナーの製造装置及びトナー |
Country Status (2)
| Country | Link |
|---|---|
| US (1) | US8257898B2 (ja) |
| JP (1) | JP5391612B2 (ja) |
Cited By (4)
| Publication number | Priority date | Publication date | Assignee | Title |
|---|---|---|---|---|
| JP2012185411A (ja) * | 2011-03-08 | 2012-09-27 | Ricoh Co Ltd | トナーの製造方法 |
| JP2012185219A (ja) * | 2011-03-03 | 2012-09-27 | Ricoh Co Ltd | トナー、現像剤、及びトナーの製造方法 |
| JP2012242711A (ja) * | 2011-05-23 | 2012-12-10 | Ricoh Co Ltd | トナーの製造方法 |
| JP2013078756A (ja) * | 2011-09-20 | 2013-05-02 | Ricoh Co Ltd | 微粒子製造方法 |
Families Citing this family (9)
| Publication number | Priority date | Publication date | Assignee | Title |
|---|---|---|---|---|
| JP2011022181A (ja) | 2009-07-13 | 2011-02-03 | Ricoh Co Ltd | トナー製造用液吐出用ヘッド |
| JP5493530B2 (ja) * | 2009-07-16 | 2014-05-14 | 株式会社リコー | トナーの製造方法 |
| EP2547528B1 (en) | 2010-03-18 | 2024-05-08 | Ricoh Company, Ltd. | Liquid droplet ejecting method, liquid droplet ejection apparatus, inkjet recording apparatus, production method of fine particles, fine particle production apparatus, and toner |
| JP5888583B2 (ja) | 2010-10-19 | 2016-03-22 | 株式会社リコー | トナーの製造方法及びトナー製造装置 |
| US8685612B2 (en) * | 2011-01-18 | 2014-04-01 | Xerox Corporation | Continuous emulsification-aggregation process for the production of particles |
| US9555473B2 (en) | 2011-10-08 | 2017-01-31 | The Boeing Company | System and method for increasing the bulk density of metal powder |
| JP6071033B2 (ja) | 2012-03-19 | 2017-02-01 | 株式会社リコー | 液滴吐出装置及び粒子製造装置 |
| US10478570B2 (en) * | 2014-01-30 | 2019-11-19 | Dualams, Inc. | Medication delivery apparatus and accompanying system for the application of local anesthetics to a treatment site and method for use of same |
| JP7192232B2 (ja) | 2018-03-30 | 2022-12-20 | 株式会社リコー | 医薬品用粒子の製造装置、及び医薬品用粒子の製造方法 |
Citations (10)
| Publication number | Priority date | Publication date | Assignee | Title |
|---|---|---|---|---|
| JP2006293320A (ja) * | 2005-03-17 | 2006-10-26 | Ricoh Co Ltd | トナー製造方法、トナー、及びトナー製造装置 |
| JP2007108731A (ja) * | 2005-09-14 | 2007-04-26 | Ricoh Co Ltd | 静電荷像現像用トナー、製造方法、及び製造装置、並びに、現像剤、トナー入り容器、プロセスカートリッジ、画像形成方法、及び画像形成装置 |
| JP2008064979A (ja) * | 2006-09-06 | 2008-03-21 | Ricoh Co Ltd | トナー製造方法及びトナー |
| JP2008065009A (ja) * | 2006-09-07 | 2008-03-21 | Ricoh Co Ltd | トナー製造方法及びトナー |
| JP2009122173A (ja) * | 2007-11-12 | 2009-06-04 | Ricoh Co Ltd | トナーの製造方法並びにトナー |
| JP2009122647A (ja) * | 2007-10-23 | 2009-06-04 | Ricoh Co Ltd | トナー及びその製造方法、並びに現像剤、プロセスカートリッジ、画像形成方法、及び画像形成装置 |
| JP2009258628A (ja) * | 2008-03-17 | 2009-11-05 | Ricoh Co Ltd | トナーの製造方法並びにトナー |
| JP2010033000A (ja) * | 2008-06-25 | 2010-02-12 | Ricoh Co Ltd | トナー及び現像剤 |
| JP2010039469A (ja) * | 2008-07-07 | 2010-02-18 | Ricoh Co Ltd | トナー及びトナーの製造方法 |
| JP2010049228A (ja) * | 2008-07-23 | 2010-03-04 | Ricoh Co Ltd | トナー及び現像剤、画像形成装置 |
Family Cites Families (9)
| Publication number | Priority date | Publication date | Assignee | Title |
|---|---|---|---|---|
| JPS57201248A (en) | 1981-06-05 | 1982-12-09 | Canon Inc | Production of toner |
| JPH07152202A (ja) | 1993-11-29 | 1995-06-16 | Hitachi Chem Co Ltd | 静電荷像現像用トナー、その製造方法及び現像剤 |
| US6852463B2 (en) * | 2002-03-07 | 2005-02-08 | Seiko Epson Corporation | Apparatus for producing toner, method for producing toner, and toner |
| CN100375925C (zh) * | 2002-06-10 | 2008-03-19 | 精工爱普生株式会社 | 调色剂的制造方法、调色剂及调色剂制造装置 |
| JP4594789B2 (ja) | 2005-04-22 | 2010-12-08 | 株式会社リコー | 粒子製造装置及び粒子群の製造方法 |
| JP5090786B2 (ja) | 2007-04-05 | 2012-12-05 | 株式会社リコー | トナーの製造方法、トナーの製造装置 |
| JP4966166B2 (ja) | 2007-11-06 | 2012-07-04 | 株式会社リコー | トナーの製造方法及びトナー、現像剤、画像形成方法 |
| JP4896000B2 (ja) | 2007-12-28 | 2012-03-14 | 株式会社リコー | 静電荷像現像用トナー、製造方法、及び製造装置、並びに、現像剤、トナー入り容器、プロセスカートリッジ、画像形成方法、及び画像形成装置 |
| JP5239410B2 (ja) | 2008-03-10 | 2013-07-17 | 株式会社リコー | トナーの製造方法及びその製造装置 |
-
2008
- 2008-09-01 JP JP2008224063A patent/JP5391612B2/ja not_active Expired - Fee Related
-
2009
- 2009-08-26 US US12/547,927 patent/US8257898B2/en not_active Expired - Fee Related
Patent Citations (10)
| Publication number | Priority date | Publication date | Assignee | Title |
|---|---|---|---|---|
| JP2006293320A (ja) * | 2005-03-17 | 2006-10-26 | Ricoh Co Ltd | トナー製造方法、トナー、及びトナー製造装置 |
| JP2007108731A (ja) * | 2005-09-14 | 2007-04-26 | Ricoh Co Ltd | 静電荷像現像用トナー、製造方法、及び製造装置、並びに、現像剤、トナー入り容器、プロセスカートリッジ、画像形成方法、及び画像形成装置 |
| JP2008064979A (ja) * | 2006-09-06 | 2008-03-21 | Ricoh Co Ltd | トナー製造方法及びトナー |
| JP2008065009A (ja) * | 2006-09-07 | 2008-03-21 | Ricoh Co Ltd | トナー製造方法及びトナー |
| JP2009122647A (ja) * | 2007-10-23 | 2009-06-04 | Ricoh Co Ltd | トナー及びその製造方法、並びに現像剤、プロセスカートリッジ、画像形成方法、及び画像形成装置 |
| JP2009122173A (ja) * | 2007-11-12 | 2009-06-04 | Ricoh Co Ltd | トナーの製造方法並びにトナー |
| JP2009258628A (ja) * | 2008-03-17 | 2009-11-05 | Ricoh Co Ltd | トナーの製造方法並びにトナー |
| JP2010033000A (ja) * | 2008-06-25 | 2010-02-12 | Ricoh Co Ltd | トナー及び現像剤 |
| JP2010039469A (ja) * | 2008-07-07 | 2010-02-18 | Ricoh Co Ltd | トナー及びトナーの製造方法 |
| JP2010049228A (ja) * | 2008-07-23 | 2010-03-04 | Ricoh Co Ltd | トナー及び現像剤、画像形成装置 |
Cited By (4)
| Publication number | Priority date | Publication date | Assignee | Title |
|---|---|---|---|---|
| JP2012185219A (ja) * | 2011-03-03 | 2012-09-27 | Ricoh Co Ltd | トナー、現像剤、及びトナーの製造方法 |
| JP2012185411A (ja) * | 2011-03-08 | 2012-09-27 | Ricoh Co Ltd | トナーの製造方法 |
| JP2012242711A (ja) * | 2011-05-23 | 2012-12-10 | Ricoh Co Ltd | トナーの製造方法 |
| JP2013078756A (ja) * | 2011-09-20 | 2013-05-02 | Ricoh Co Ltd | 微粒子製造方法 |
Also Published As
| Publication number | Publication date |
|---|---|
| JP5391612B2 (ja) | 2014-01-15 |
| US8257898B2 (en) | 2012-09-04 |
| US20100055600A1 (en) | 2010-03-04 |
Similar Documents
| Publication | Publication Date | Title |
|---|---|---|
| JP5391612B2 (ja) | トナーの製造方法、トナーの製造装置及びトナー | |
| JP5229606B2 (ja) | トナーの製造方法及びトナーの製造装置 | |
| JP4647506B2 (ja) | 粒子特にトナー粒子の製造方法、トナー粒子の製造装置及びトナー | |
| JP5047688B2 (ja) | トナーの製造方法、トナーの製造装置及びトナー | |
| JP5055154B2 (ja) | トナーの製造方法、トナーの製造装置及びトナー | |
| JP5510029B2 (ja) | 静電荷像現像用トナーの製造方法及び樹脂粒子の製造装置 | |
| JP5315920B2 (ja) | トナーの製造方法及び製造装置 | |
| JP5888583B2 (ja) | トナーの製造方法及びトナー製造装置 | |
| JP5365848B2 (ja) | トナーの製造方法 | |
| JP5239410B2 (ja) | トナーの製造方法及びその製造装置 | |
| JP5090786B2 (ja) | トナーの製造方法、トナーの製造装置 | |
| JP2011022181A (ja) | トナー製造用液吐出用ヘッド | |
| JP2011212668A (ja) | 微粒子の製造方法、微粒子製造装置及びトナー | |
| JP2011022422A (ja) | トナーの製造方法 | |
| JP2008281902A (ja) | トナーの製造方法、トナーの製造装置及びトナー | |
| JP5365863B2 (ja) | トナーの製造装置及びトナーの製造方法 | |
| JP2010066457A (ja) | トナー製造方法、トナー製造装置及びトナー | |
| JP5446639B2 (ja) | トナーの製造方法 | |
| JP4949121B2 (ja) | トナーの製造方法、トナーの製造装置 | |
| JP5239233B2 (ja) | トナーの製造方法 | |
| JP5463895B2 (ja) | 粒子の製造方法及び粒子の製造装置、並びにトナー及びその製造方法 | |
| JP5510706B2 (ja) | トナー製造装置およびトナー | |
| JP5343633B2 (ja) | トナー製造用ノズルプレート、トナー製造方法およびトナー製造装置 | |
| JP5347464B2 (ja) | トナーの製造方法、トナーの製造装置及びトナー | |
| JP2011141343A (ja) | トナー製造装置、トナー製造方法及びトナー |
Legal Events
| Date | Code | Title | Description |
|---|---|---|---|
| A621 | Written request for application examination |
Free format text: JAPANESE INTERMEDIATE CODE: A621 Effective date: 20110701 |
|
| A977 | Report on retrieval |
Free format text: JAPANESE INTERMEDIATE CODE: A971007 Effective date: 20121015 |
|
| A131 | Notification of reasons for refusal |
Free format text: JAPANESE INTERMEDIATE CODE: A131 Effective date: 20130226 |
|
| A521 | Written amendment |
Free format text: JAPANESE INTERMEDIATE CODE: A523 Effective date: 20130417 |
|
| TRDD | Decision of grant or rejection written | ||
| A01 | Written decision to grant a patent or to grant a registration (utility model) |
Free format text: JAPANESE INTERMEDIATE CODE: A01 Effective date: 20130917 |
|
| A61 | First payment of annual fees (during grant procedure) |
Free format text: JAPANESE INTERMEDIATE CODE: A61 Effective date: 20130930 |
|
| R151 | Written notification of patent or utility model registration |
Ref document number: 5391612 Country of ref document: JP Free format text: JAPANESE INTERMEDIATE CODE: R151 |
|
| LAPS | Cancellation because of no payment of annual fees |
