JP2010060633A - カラオケ装置 - Google Patents

カラオケ装置 Download PDF

Info

Publication number
JP2010060633A
JP2010060633A JP2008223596A JP2008223596A JP2010060633A JP 2010060633 A JP2010060633 A JP 2010060633A JP 2008223596 A JP2008223596 A JP 2008223596A JP 2008223596 A JP2008223596 A JP 2008223596A JP 2010060633 A JP2010060633 A JP 2010060633A
Authority
JP
Japan
Prior art keywords
recording
information
music
pitch
recorded
Prior art date
Legal status (The legal status is an assumption and is not a legal conclusion. Google has not performed a legal analysis and makes no representation as to the accuracy of the status listed.)
Granted
Application number
JP2008223596A
Other languages
English (en)
Other versions
JP5240840B2 (ja
Inventor
Naoya Taguchi
尚弥 田口
Masashi Ueno
昌志 上野
Current Assignee (The listed assignees may be inaccurate. Google has not performed a legal analysis and makes no representation or warranty as to the accuracy of the list.)
BMB International Corp
Original Assignee
BMB International Corp
Priority date (The priority date is an assumption and is not a legal conclusion. Google has not performed a legal analysis and makes no representation as to the accuracy of the date listed.)
Filing date
Publication date
Application filed by BMB International Corp filed Critical BMB International Corp
Priority to JP2008223596A priority Critical patent/JP5240840B2/ja
Publication of JP2010060633A publication Critical patent/JP2010060633A/ja
Application granted granted Critical
Publication of JP5240840B2 publication Critical patent/JP5240840B2/ja
Active legal-status Critical Current
Anticipated expiration legal-status Critical

Links

Images

Landscapes

  • Reverberation, Karaoke And Other Acoustics (AREA)

Abstract

【課題】
本発明は、演奏音と録音した歌唱音声を同期を取って再生するカラオケ装置において、録音時、演奏音に対して音程設定などの各種設定を行った場合においても、録音時の歌唱を再現する。
【解決手段】
マイクロフォンから入力される歌唱音声信号を録音した情報であると共に、楽曲IDと、音程または速度を示す録音時設定情報を含む録音音声情報と、録音IDの指定を可能とする指定手段と、指定された録音IDに対応する録音音声情報を再生手段に演奏させると共に、当該録音音声情報が含む楽曲IDに対応する演奏情報を、当該録音音声情報が含む録音時設定情報に基づいて再生手段に再生させる再生処理を可能とする制御手段を備える。
【選択図】 図8

Description

本発明は、指定された楽曲を再生すると共に、録音した歌唱音声を再生するカラオケ装置に関するものである。
従来、カラオケボックスや飲食店等において、演奏に合わせて歌唱を楽しむカラオケ装置では、自宅での練習、あるいは他人に聞かせることを目的として歌唱した楽曲を録音して持ち帰るサービスが提供されている。また、音声のみならず歌唱している様子をビデオカメラにより録画して持ち帰るサービスもみられる。
このような録音、録画サービスを提供するカラオケ装置には、例えば、特許文献1〜特許文献4にみられるようなものが知られている。特許文献1には、録音装置を接続して録音を行う際、曲毎に録音可否が書き込まれた録音可否テーブルを参照し、録音可能な場合には録音可能表示をして録音予約を受付け、録音不可なら録音不可を表示して録音予約を受け付けないカラオケ再生装置が記載されている。また、録音装置では、録音したコンパクトディスクに添付するためのラベルに、曲名、作詞者名などの録音曲情報を印刷することも記載されている。
また、特許文献2には、マイクロフォンからの歌唱音響信号が1曲分の楽曲演奏を通じて実質的に有ったか無かったかを、音声レベル検出手段の出力に基づいて判断し、歌唱音響信号があった場合は、可搬型記録媒体への書き込みを許可し、無かった場合には書き込みを禁止するカラオケ録音装置が記載されている。このカラオケ装置によれば、カラオケ伴奏音楽が不正に複製されることを防止することができ、そして、歌唱音声音声の有無にて録音料金を変更することができる。
また、特許文献3には、録音入力インタフェース14が受信する音響信号を録音して一時記憶装置に楽曲単位の録音ファイルを作成し、保存する録音ファイルの数が規定数に達した際、利用者にダンプ指令の発行を促す旨を表示させ、ダンプ指令を受け付けた際、保存する録音ファイルをデータ書込装置3に転送して過般型記録媒体4に書き込ませることが記載されている。
また、特許文献4には、録音して作成した歌曲録音作品を作品管理サーバーにて管理する通信カラオケシステムにおいて、カラオケサーバーが歌曲録音作品を受信した際、作品管理サーバは作品番号をカラオケ装置に発行し、カラオケサーバーが作品番号を受信した際、歌曲録音作品をカラオケ装置に返信することが記載されている。
特開平7−36470号公報 特許第3515069号公報 特許第3522215号公報 特開2007−256803号公報
特許文献1〜特許文献4の従来技術は、いずれも歌唱音声と演奏音とを一緒に録音を行うカラオケ装置である。演奏音はステレオ信号で扱われるため、歌唱音声と演奏音を一緒に録音する場合にはステレオ信号で録音する必要がある。一方、録音に必要となる記憶手段の容量削減を考慮し、モノラル音声で扱われる歌唱音声のみを録音することが考えられる。このように歌唱音声のみを録音した場合には、録音した歌唱音声と演奏音とを同期し
て再生することで歌唱を再現することができる。
カラオケ装置には、音程変更や速度変更など、歌唱者にあわせて設定できる各種設定機能が備えられている。録音時、あるいは、録音途中にこの各種設定機能を用いて演奏音を設定することもできるが、歌唱音声のみを録音した場合には、演奏音をそのまま再生するだけでは、歌唱時の歌唱を再現することができない。
本発明は、録音した歌唱音声と演奏音と同期を取って再生するカラオケ装置において、録音時、音程設定などの各種設定を演奏音に対して行った場合においても、録音時の歌唱を再現することができるカラオケ装置を提供するものである。
そのため、請求項1に係るカラオケ装置は、記憶手段と、再生手段と、指定手段と、制御手段とを備えるカラオケ装置であって、記憶手段は、楽曲IDに対応付けられた演奏情報を記憶し、再生手段は、演奏情報による演奏音の再生、並びに、録音音声情報による録音音声の再生を可能とし、録音音声情報は、マイクロフォンから入力される歌唱音声信号を録音した情報であると共に、楽曲IDと、音程または速度を示す録音時設定情報を含み、指定手段は、録音IDの指定を可能とし、制御手段は、指定された録音IDに対応する録音音声情報を再生手段に演奏させると共に、当該録音音声情報が含む楽曲IDに対応する演奏情報を、当該録音音声情報が含む録音時設定情報に基づいて再生手段に再生させる再生処理を可能とすることを特徴とするものである。
さらに、請求項2に係るカラオケ装置は、請求項1に記載のカラオケ装置において、指定手段は、楽曲IDの指定に対応付けた音程または速度の指定を可能とし、制御手段は、指定された楽曲IDに対応する演奏情報を、指定された音程または速度にて再生手段に再生させると共に、マイクロフォンから入力される歌唱音声信号を録音し、録音IDと、指定された音程または速度を示す録音時設定情報を付与して録音音声情報を作成する録音処理を可能とすることを特徴とするものである。
また、請求項3に係るカラオケ装置は、記憶手段と、再生手段と、指定手段と、制御手段とを備えるカラオケ装置であって、記憶手段は、楽曲IDに対応付けられた演奏情報を記憶し、再生手段は、演奏情報による演奏音の再生、並びに、録音音声情報による録音音声の再生を可能とし、録音音声情報は、マイクロフォンから入力される歌唱音声信号を録音した情報であると共に、楽曲IDと、音程または速度を示す録音時設定情報と、再生経過に対応して音程または速度の変更を示す録音時変更情報を含み、指定手段は、録音IDの指定を可能とし、制御手段は、指定された録音IDに対応する録音音声情報を再生手段に再生させると共に、当該録音音声情報が含む楽曲IDに対応する演奏情報を、当該録音音声情報が含む録音時設定情報と録音時変更情報に基づいて再生手段に再生させる再生処理を可能とすることを特徴とするものである。
さらに、請求項4に係るカラオケ装置は、請求項3に記載のカラオケ装置において、指定手段は、楽曲IDの指定に対応付けた音程または速度の指定、並びに、再生中における音程または速度の変更指定を可能とし、制御手段は、指定された楽曲IDに対応する演奏情報を、指定された音程または速度にて再生手段に再生させると共に、音程または速度の変更が指定された際、指定された音程または速度に変更して再生させ、マイクロフォンから入力される歌唱音声信号を録音し、録音IDと、指定された音程または速度を示す録音時設定情報と、変更した時点を示す再生経過に対応して音程または速度の変更を示す録音時変更情報を付与して録音音声情報を作成する録音処理を可能とすることを特徴とするものである。
さらに、請求項5に係るカラオケ装置は、請求項1乃至請求項4のいずれか1つに記載のカラオケ装置において、記憶手段は、録音音声情報を記憶することを特徴とするものである。
さらに、請求項6に係るカラオケ装置は、請求項1乃至請求項5のいずれか1つに記載のカラオケ装置において、外部装置と通信可能な通信手段を更に備え、録音音声情報は、通信手段を介して外部装置から配信されることを特徴とするものである。
本発明によれば、演奏音と録音した歌唱音声を同期を取って再生するカラオケ装置において、録音時、演奏音に対して音程設定などの各種設定を行った場合においても、録音時の歌唱を再現することができる
以下、本発明の実施形態を図面を参照しながら説明を行う。図1は、本発明の実施形態に係るカラオケシステムの実施形態を示した図であって、1つの店舗に複数のコマンダが設置されたカラオケボックスとしての営業形態を示している。
図1において、50は通信網、60はルータ、70は無線アクセスポイント、100はホスト装置、200はリモコン装置、300はコマンダをそれぞれ示している。本実施形態において、各コマンダ300はroom1〜room4毎に1台ずつ配置され、リモコン装置200から指示された楽曲を演奏する。例えば、コマンダ1が設置されるroom1では1台のリモコン装置1が配置され、コマンダ1はリモコン装置1からの楽曲指示を受け付ける。また、コマンダ4が設置されるroom4では2台のリモコン装置4−1、4−2が配置され、コマンダ4は、リモコン装置4−1、4−2のどちらからも楽曲リクエストを受け付ける。なお、楽曲の指示は、リモコン装置200のみならず、各コマンダ300のフロントパネルに設けられた入力部からも可能となっている。
各コマンダ300は、LANを介してルータ60と接続されており、ルータ60はインターネット回線などの通信網50を介してホスト装置100に通信接続される。このような通信接続により、各コマンダ300は、ホスト装置100から楽曲情報や、プログラムなどの各種配信を受けることができると共に、ホスト装置100では各コマンダ300の利用履歴管理や各利用者の会員サービス管理を行うことが可能となっている。
LAN上には、無線アクセスポイント70が接続されており、各リモコン装置200と無線通信可能に設定されている。このように設定することで、各リモコン装置200は予め対応付けられたコマンダ300と通信可能となる。また、各リモコン装置200は、コマンダ300のみならず、通信網50を介してホスト装置100との通信も可能となる。ホスト装置100は、ユーザがログインしているリモコン装置200に対して会員サービスを提供することができる。
会員サービスは、各会員の個人設定情報をホスト装置100で管理することで、利用者がどのリモコン装置200からログインしても、各利用者に対して各種サービスを提供することができるサービスである。この各種サービスとしては、例えば、個人設定情報にユーザの予約履歴を記録しておくことで、再来店した場合に自分の予約履歴を参照可能としたり、ユーザが気に入った歌手を個人設定情報に登録しておくことでその歌手の持ち歌を参照可能としたり、登録しておいた十八番を参照可能としたり、採点履歴に基づいて他の利用者と得点を競ったりすることなどが考えられる。
本実施形態では、LANを介して接続された複数のコマンダ300による、いわゆるカ
ラオケボックスとしての営業形態を説明したが、スナックなどのナイト店では、1台のコマンダ300に対して、1台乃至複数台のリモコン装置200が設置される構成が採用される営業形態となる。
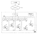
次に、カラオケ装置の一構成となるコマンダ300についてより詳しく説明する。図2は本発明の実施の形態に係るコマンダ300及びその周辺のブロック構成を示す図である。301は制御部、302は通信部、303はフロントパネル表示部、304は表示制御部、305は記憶部、306は入力部、307は音源部、308はミキシング部、309はAD変換部、401はアンプ、402はスピーカー、403はマイクロフォン、404はディスプレイをそれぞれ示している。
コマンダ300には、CRTやTFT等の映像表示装置としてのディスプレイ404、音声増幅装置としてのアンプ401、音声入力手段としてのマイクロフォン403が接続されている。コマンダ300におけるカラオケ楽曲の演奏信号は、アンプ401へ送出されスピーカー402から演奏音が得られる。一方、楽曲の再生に同期した歌詞映像は、背景映像と重畳され、出力映像信号としてディスプレイ404に出力される。ユーザは、演奏音と歌詞映像に合わせてマイクロフォン403を用いて歌唱を行う。
制御部301は、CPU、RAMなどの一時記憶部を含んで構成され、コマンダ300におけるシステム全体の制御を司る。ハードディスクなどの記憶部305には、演奏情報と歌詞情報で構成された楽曲情報、映像情報、各種プログラムなどが記憶されている。通信部302は、周知規格の有線LANなどが用いられ、リモコン装置200との間で各種制御命令の送受信を可能としている。また、ホスト装置100との間で楽曲情報や個人設定情報など各種情報の送受信を可能としている。
入力部306は、フロントパネルなどに設けられた各種スイッチ群であり、予約選曲、音程コントロールなど各種機能を手動設定可能としている。表示制御部304は、制御部301と連携し、記憶部305に記憶されている楽曲情報中の歌詞情報に基づいて歌詞映像を作成する。そして、映像情報に基づいて背景映像を作成し、背景映像に歌詞映像を重畳した出力映像信号をディスプレイ404に出力する表示制御を行う。その他、表示制御部304は、各種コンテンツ、広告情報などをディスプレイ404にて表示するための表示制御を行う。
音源部307は、MIDI、PCM、MPEGなど各種規格に基づいた演奏情報に基づいて楽音信号を形成する再生手段として機能する。この音源部307では単一規格で構成された演奏情報のみならず、異なる複数規格で構成された演奏情報を扱うことも可能である。例えば、MIDIにて伴奏を再生すると同時に、PCM、あるいは、MPEGにて模範歌唱、バックコーラス、あるいは、録音音声情報を再生することができる。ミキシング部308は、音源部307で形成した楽音信号と、マイクロフォン403から入力される歌唱者の歌唱音声信号を適宜なバランスで混合する。混合された信号はアンプ401に出力されてスピーカー402から放音出力される。
また、歌唱を録音するため、歌唱音声信号はAD変換部309にも入力される。デジタル信号に変換された歌唱音声信号は、制御部301によるエンコード処理で録音音声に音声圧縮されて記憶部305に格納される。歌唱音声信号のみを録音する場合には、音源部307での再生時、録音時に使用した演奏情報と同期を取って再生することで歌唱を再現できる。
以上、コマンダ300の主要構成について説明したが、IR信号を送受信可能とする通信部をさらに設け、IR信号を利用する従来のリモコン装置からの制御命令に対応できる
構成を採用してもよい。
次に、本発明の指定手段としての一実施形態であるリモコン装置200について説明する。図3は、リモコン装置200の外観(正面図)を示したものであり、筐体中央にはタッチパネル207が配置され、ユーザに対して各種表示を行うと共に、スタイラス405あるいは指を接触させることによるユーザ入力を受け付ける。本実施形態では、このタッチパネル207のみを利用したものとなっているが、この実施形態に限るものではなく、例えば、表示部と各種キーにてユーザ入力を受け付ける形態などが採用できる。
タッチパネル207の右上には認証手段としての指紋読取部203が設けられる。この指紋読取部203上にユーザが指をスライドさせることで指紋が読み取られる。読み取られた指紋は適宜アルゴリズムで特徴が抽出され指紋情報に変換される。認証手段はこの形態に限るものではなく、各種生体認証や、IDとパスワードによる各種のものが採用可能である。
図4は、リモコン装置のブロック構成を示した図であって、201はリモコン制御部、202はリモコン通信部、203は指紋読取部、204はリモコン記憶部、205はリモコン表示部、206はタッチ式センサを示している。タッチ式センサ206は透明であってリモコン表示部205の表面に配置され、両者にてタッチパネル207を構成する。
リモコン制御部201はリモコン装置200全体の制御を司る。リモコン記憶部204には、RAMなど各種メモリやハードディスクが用いられ、楽曲選択のための楽曲リストやサービス処理を行う際に必要となる個人設定情報などが格納される。
タッチ式センサ206は、利用者の指やスタイラスなどの接触による入力操作を可能としている。タッチ式センサ206による入力を可能とするため、リモコン表示部205は、タッチ式センサ206に対する制御と連動した表示画像が表示されるようにプログラム制御される。なお、入力手段としては、タッチ式センサ206に限定されるものではなく、例えば、キーボード、カーソルキーなどの機械的な入力手段を採用してもよい。
リモコン通信部202は、無線アクセスポイント70との間で、例えば、無線LAN規格(IEEE802.11a/b/gなど)による無線通信を行う。このリモコン通信部202にて、リ
モコン装置200は、コマンダ300やホスト装置100との通信を行う。なお、このリモコン通信部202は、例えば、Bluetooth規格(登録商標)により実現することもでき
る。その場合、受け手側のコマンダ300側に設けられた同規格の通信部により、リモコン装置200とコマンダ300は無線通信を行う。更に、リモコン装置200はコマンダ300を経由してホスト装置100との通信を行うこととなる。
リモコン装置200からコマンダ300に対する楽曲指定などの各種コマンドは、この通信部202を介して送信される。すなわち、リモコン装置200は、LAN上に配置された無線アクセスポイント70と無線通信を行うこととなるが、コマンダ300とリモコン装置200が予め対応付けられているため、コマンダ300は自分に対する各種コマンドを判別することができる。
指紋読取部203は、ユーザがその表面を指で押圧、もしくは、スライドさせることで指紋を読み取る機能を備えている。読み取られた指紋はホスト装置100との間で認証処理が行われ、認証に成功したユーザはログインユーザとして各種サービスの提供を受けることが可能となる。なお、ユーザによってはログインのための認証方法として、指紋認証を好まない場合がある。そこで、本実施形態におけるカラオケシステムでは、この指紋読取部203を利用した認証と、タッチパネル207からのユーザIDと、パスワードを入
力することによる認証を選択できるようになっている。
以上、本カラオケ装置におけるハードウェア構成を説明したが、次に、これらハードウェア構成を利用した録音機能について図面を参照しつつ説明を行う。まず、録音予約する際の楽曲予約処理について図5〜図9を用いて説明を行う。
図5は楽曲予約処理のフロー図を示したものであり、予約する際、録音指定を行うことができることを特徴としている。図6は楽曲リストを示した図である。図7は選曲画面を示した図である。図8は楽曲詳細画面を示した図を示している。
では、図5の楽曲予約処理のフロー図を中心に楽曲予約処理について説明する。リモコン装置200において楽曲予約処理が開始されると(S100)、ユーザ指示による各種モードに応じた選曲画面が表示される(S101)。この選曲画面はリモコン記憶部204に記憶される楽曲リストに基づいて作成される。本実施形態において、この選曲リストは図6に示すように、各楽曲毎に楽曲ID、楽曲名、歌手名、唄い出し、録音可否情報、原曲キーを含んで構成される。録音可否情報は、著作権などの関係により録音できない楽曲を示した情報である。原曲キーは、オリジナルの楽曲と異なる音程に設定されることが多いカラオケにおいて、オリジナルの楽曲で歌唱したい歌唱者を考慮したものであって、カラオケの演奏情報とオリジナルの楽曲との差分音程を記述した情報である。
この楽曲リストに基づいて作成された選曲画面の一実施形態を図7に示す。501は検索ワード入力欄、502は検索スイッチ、503は検索モードスイッチ、504は楽曲表示欄、505は移動スイッチ、506は前画面スイッチを示している。
ユーザは、図示しないソフトキーボードなどで、検索ワード入力欄501に検索ワードを入力した後、検索スイッチ502を選択することで楽曲を検索することができる。検索モードスイッチ503は、楽曲名順と歌手名順の2つのスイッチで構成され排他的に選択可能となっている。楽曲名順のスイッチを選択すると、検索モードスイッチ503の下に表示されているあいうえお順のタブは楽曲名に対応し、歌手名順を選択すれば歌手名に対応したものとなる。ユーザはあいうえお順のタブを選択すると共に、移動スイッチ505でページを切り換えることで楽曲表示欄504を参照し楽曲を検索する。
図7の選曲画面で所望の楽曲表示欄504を選択すると、図8の楽曲詳細画面にて、選選択した楽曲の詳細情報が楽曲リストに基づいて表示される。ユーザはこの画面で楽曲を確認し、音程、録音の指定を行って演奏予約を行うこととなる。この楽曲詳細画面には、歌手名、楽曲名、唄い出しなど楽曲に関する各種情報が表示される。一方、認証手段でログインし、ホスト装置100から個人設定情報を読み出したログインユーザに対しては、「マイアーティスト追加」、「マイソング追加」のスイッチの利用が可能となる。これらスイッチを選択することで当該歌手、あるいは、当該楽曲を個人設定情報に登録することができる。ユーザは自分の個人設定情報に登録した楽曲、あるいは、歌手に基づいて検索可能となる。
音程指定スイッチ欄507には、音程を設定予約するための各種スイッチが表示される。♯スイッチ、♭スイッチを選択することで音程を上下することができる。音程上下の様子は、♯スイッチ、♭スイッチの間に位置するインジケータに表示される。このインジケータには原曲の音程を示す位置も表示されており、ユーザが音程を指定する目安となる。また、スイッチ欄507内の右側には、原曲キー予約スイッチが表示されており、これを選択することで♯、♭スイッチを選択することなく原曲の音程を指定することができる。本実施形態では音程指定のみとしたが、この他、演奏情報再生の速度(テンポ)、マイクロフォン403の歌唱音声信号に付与するエコーなどの各種音響効果、演奏音に付与する
各種音響効果を指定できるようにしてもよい。
録音指定スイッチ欄508には、録音するかしないかを指定する2つのスイッチが表示される。ユーザは、このスイッチで当該楽曲の録音指定を行う。本実施形態では録音詳細画面に常時、この録音指定スイッチ欄508を表示するようにしているが、楽曲リストに含まれる録音可否情報を参照し、録音できない楽曲に対してはこの録音指定スイッチ欄を表示しない構成としてもよい。
楽曲詳細画面にて歌唱する楽曲を決定したユーザは、予約スイッチ509を選択し楽曲の予約を行う。予約スイッチ509が選択されると(S104)、S105では録音指定スイッチ欄508での録音指定がされているか否かを判断し(S105)、録音指定がある場合には、楽曲リストの録音可非情報を参照して当該楽曲が録音可能であるか否かを判断し、録音可能な楽曲であれば予約コマンドに録音フラグに“1”を設定する。一方、録音できない楽曲であれば、録音できない楽曲であることを表示する(S108)。
S109では音程指定スイッチ欄507での音程指定があるか否かを判断し、音程指定があれば予約コマンドに設定音程を含める。本実施形態では録音指定のみとしたが、演奏情報再生の速度や各種音響効果などが指定されている場合にはこれらの指定についても予約コマンドに含めることになる。
S111では指定された楽曲の楽曲IDを予約コマンドに含めてコマンダ300に送信し楽曲予約処理を終了する(S112)。なお、ログインユーザによる予約の場合には、予約コマンドにユーザIDを含めてユーザ別の管理ができるようにしてもよい。
楽曲予約処理で作成された予約コマンドを受信したコマンダ300は、予約リストのエントリーに予約コマンドを追加して演奏情報を再生管理する。図9は予約リストを示した図であり、各予約番号に、予約日時、楽曲ID、録音フラグ、設定音程、ユーザIDが対応付けられたエントリーが掲載されている。コマンダ300はこの予約リスト上で再生ポインタを順次進め、楽曲IDに対応する演奏情報の再生を行う。
では、次にこの予約リストに基づいて実行されるコマンダ300での再生処理について図10を用いて説明する。電源投入により立ち上がったコマンダ300は再生処理を開始する(S201)。予約リストを参照し(S202)、まだ再生されていない待ち楽曲の有無を監視する(S203)。待ち楽曲があれば、S204にて当該待ち楽曲が演奏情報を指定する楽曲IDであるのか、録音音声情報を指定する録音IDであるのかを判断する。録音音声情報、録音IDについては後ほど説明することとなるが、本実施形態によれば、予約リストで楽曲IDのみならず、録音IDを管理することで、録音音声情報についても予約再生を行うことができる。
楽曲IDであった場合にはS205〜S209の処理を行った後、再生ポインタを1つ進め(S212)、予約リストの待ち楽曲の監視に戻る。一方、録音IDであった場合にはS210、S211にて録音音声情報を再生した後、同様に予約リストの待ち楽曲の監視に戻る。ここでは、まず、S205〜S209の処理について説明を行う。S205では予約リストにて設定音程が設定されているか否かを判定する。設定されている場合には、これから再生する演奏情報を設定音程にて再生するよう音程変更を行う(S206)。S207では予約リストにて録音フラグの有無を確認し、録音フラグが“0”である場合には、演奏情報の再生を開始し(S208)、再生が終了すると(S209)再生ポインタを1つ進めて予約リストの待ち楽曲の監視へと戻る。
一方、録音フラグが“1”である場合にはS300の録音処理に進む。図11はこの録
音処理のフローを示した図である。録音処理が開始される(S301)と、S302ではS208と同様、演奏情報の再生を開始する。また、再生開始と同時にマイクロフォン403から入力される歌唱音声信号の録音を開始する。本実施形態はマイクロフォン403からの歌唱音声信号のみを録音する形態であって、歌唱音声信号は、AD変換部309にてデジタル信号に変換されMPEG規格などの歌唱音声に変換されて記憶部305に記憶される。歌唱音声信号は、中央に定位する音声信号であるためモノラルにて録音すればよく、演奏音を含めてステレオで録音するよりも容量を節約することができる。このような形態では録音された歌唱音声と、演奏情報を同期して再生することで歌唱を再現できる。また、演奏情報の再生と同時に歌唱音声信号の録音を開始するため、歌唱再現の場合には、演奏情報と録音音声を同時に再生開始するだけで簡単に同期を取ることができる。
演奏情報の再生中、S303ではリモコン200などの入力手段から、ユーザによる音程の変更変更指定について監視を行う。音程変更指定があればS304にて音源部307に演奏情報の音程を変更して再生させる。また、この音程変更指定は、再生時間や、MIDIクロックなど、演奏情報の再生経過を示す情報と一緒に録音時変更情報として、制御部301の一時記憶部に格納される(S305)。この音程変更のみならず、楽曲再生途中における演奏情報再生の速度(テンポ)、マイクロフォン403の歌唱音声信号に付与するエコーなどの各種音響効果、演奏音に付与する各種音響効果の変更についてもこの録音時変更情報として格納してもよい。本実施形態ではこの録音時変更情報は、録音音声の再生時に用いられることとなる。
演奏情報の再生が終了する(S306)と、歌唱音声の録音も同時に終了する(S307)。S308では、歌唱したユーザがログインユーザか否か予約リストを参照して判断する。ログインユーザでないゲストユーザの場合にはS312にて録音音声を破棄して録音処理を終了する。一方、ログインユーザの場合にはS309〜S311の処理へと移行する。このように本実施形態ではゲストユーザについては録音音声の保存を禁止しており、録音音声を管理することが困難なカラオケボックスのような営業形態に好適である。なお、ゲストユーザについても録音音声の保存をできるようにしてもよい。常連客が集うナイト店などのようにオーナーが録音音声を管理することができる場合にはこの形態が好適である。
本実施形態において、ログインユーザである場合には、ディスプレイ404またはタッチパネル207にて録音音声を保存するか否かをユーザに問う(S309)。ユーザが保存しないことを選択した場合には、S312にて録音音声を破棄して録音処理を終了する。一方、保存することを選択した場合には、録音音声に基づいて録音音声情報を作成(S310)した後、記憶部305に保存し(S311)、録音処理を終了する(S313)。
図12は、録音音声に基づいて作成された録音音声情報を模式的に示した図であり、録音音声に、録音IDと関連情報を付与して作成される。この関連情報は、録音日時、録音時設定情報、録音時変更情報、楽曲関連情報、ユーザ関連情報、採点関連情報、コメントなどを含んで構成される。録音IDは録音音声情報を識別するための識別子であり、例えば録音を行う毎にカウントアップされるシリアル番号で構成される。また、録音音声情報を複数のカラオケ装置にて利用することを考えて、例えばコマンダのIDにシリアル番号を付与するなどコマンダ間で重複しない構成としてもよい。通信網や可搬記録媒体などを介して録音音声情報を配信する場合においても録音音声情報を識別可能となる。
録音日時は録音を行った日時(日付のみでもよい)を示す関連情報であり、ユーザは録音日時を参照して録音音声情報を検索することができる。録音時設定情報は、予約する際、設定された音程であり、予約リスト内の設定音程が使用される。本実施形態では、予約
時に音程のみ設定可能な構成としたが、演奏情報再生の速度(テンポ)、マイクロフォン403の歌唱音声信号に付与するエコーなどの各種音響効果、演奏音に付与する各種音響効果を指定する場合には、これらについても録音時設定情報に含めればよい。録音時変更情報は、録音の際、図11のS305にて一時記憶部に格納した情報であり、本実施形態では音程変更指定と再生経過情報の組で構成される。この録音時変更情報についても、録音時設定情報と同様、音程のみならず各種の変更について採用することができる。
楽曲関連情報は、楽曲リストに基づいて付与される情報であり、楽曲ID、歌手名、楽曲名などを含んで構成される。本実施形態において録音音声を再生する場合、この楽曲関連情報に含まれる楽曲IDを参照して対応する演奏情報が読み出される。ユーザ関連情報は、ユーザがログインに成功したときにホスト装置100から取得する個人設定情報に基づいて付与される。図13はこのユーザ関連情報の一部を示したものであるが、ユーザID、ニックネーム、性別、生年月日、ユーザを撮影した画像情報などを含んで構成される。画像情報はユーザの分身を示すキャラクターであるアバターを特定するための情報としてもよい。なお、個人設定情報を利用してユーザ関連情報を付与する場合、ゲストユーザについてはこのユーザ関連情報を付与することができないが、予約時、録音時、あるいは、録音音声情報作成後などの適宜タイミングで、ユーザ入力に基づいて付与できるようにしてもよい。
採点関連情報は、録音時に採点処理が行われた際に記録される情報であり、採点に関する情報、採点モードや、得点などを含んで構成される。採点処理はカラオケにおいて行われる採点ゲームなどで行われる広く一般的に知られた処理であり、演奏情報の再生中、演奏情報に含まれるメロディ情報と歌唱音声信号の比較に基づいて得点を算出する処理である。ここでは、この算出された得点を関連情報に含めることとするが、採点結果の見せ方、又は、採点アルゴリズムの異なる複数種類の採点ゲームを行うことができる場合には、使用した採点ゲームの種別を示す採点モードを一緒に記録してもよい。なお、この採点処理はユーザが採点ゲームを行った場合に限らず、録音処理を行った際、必ず実行するようにして採点関連情報を付与するようにしてもよい。
コメントは、入力手段からのユーザの入力によって付与され、予約時、録音時、あるいは、録音音声情報作成後など適宜タイミングで付与される。ユーザは自分の歌唱をアピールするメッセージなどをコメントとして付与できる。
以上、S310にて作成する録音音声情報について説明したが、録音音声に録音IDと関連情報を付与することで、ユーザは関連情報に基づく選曲画面を参照しながら録音音声を選択することができる。また、楽曲ID、録音時設定情報を録音音声情報を付与することで、音程指定など演奏情報に対して各種設定を行って録音した場合であっても、録音時の設定にて演奏情報を開始し録音した歌唱を再現することができる。さらに、録音時変更情報を採用することで、録音中に各種設定を変更した場合においても、歌唱を再現することができる。
では、この関連情報を参照した録音音声の選曲、再生について図14〜図17を用いて説明を行う。図14は録音リストを示した図であり、図15は録音音声選択画面を示した図であり、図16は録音音声の予約を含んだ予約リストを示した図であり、図17は録音音声の再生中、ディスプレイ404に表示される録音音声再生画面の様子を示した図である。
図14に示す録音リストは、コマンダ300内に記憶している録音音声情報の関連情報に基づいて作成されるリストであって、リモコン装置200は、コマンダ300から受信した録音リストに基づいて録音音声選択画面を表示してユーザに選択させる。本実施形態
において、この録音リストは、録音IDに対応付けられた、楽曲ID、ユーザID、得点、録音日時、画像情報などの関連情報で構成される。関連情報はこの実施形態に限らず、図12にて説明したものの中から適宜なものを採用することができる。
また、録音音声情報はコマンダ300内の記憶部305内のものに限ることはない。例えば、作成された録音音声情報をホスト装置100にアップロードして管理する場合には、ホスト装置100は、記憶する録音音声情報に基づいて録音リストを作成し、リモコン装置200に送信する。リモコン装置200ではこの録音リストに基づいて選曲し、ホスト装置100から録音音声情報をダウンロード配信、あるいは、ストリーミング配信してもらうことで再生を行う。また、図1に示す複数台のコマンダがLANで接続されるカラオケシステムにあっては、LAN上に設けたネットワーク接続ストレージ(NAS)にて録音音声情報を記憶管理するようにしてもよい。
録音リストに基づく録音音声選択画面の一実施形態を図15に示す。この録音音声選択画面はリモコン200のタッチパネル207に表示され、ユーザはこの画面にて録音音声を選択する。録音音声リスト欄513には、録音リストに基づいて各種情報が表示される。本実施形態では録音リスト中に楽曲名、歌手名は含まれていないが、これらについては楽曲リストを参照して表示している。各項目の右側には並べ替えスイッチ511が設けられており、その項目に関して昇順、あるいは、降順に並べ替えることができる。図は録音日時の並べ替えスイッチ511が選択された状態を示している。また、スクロールバー512を操作することで、録音音声リスト欄513全体をスクロール表示させ、所望の録音音声を検索することができる。所望の録音音声を見つけたユーザは、録音音声を選択して関連情報を反転表示させ、予約スイッチ514を選択して録音音声を指定する。指定された録音音声の録音IDは予約コマンドとしてコマンダ300に送信される。
一方、録音音声の予約コマンドを受信したコマンダ300は、受信した予約コマンドを予約リストのエントリーに追加して演奏情報に対する予約と一緒に管理する。図16は録音音声の予約コマンドが追加された予約リストを示している。“&&&&”は、録音IDを示しており予約番号53、55、56には録音音声が予約されていることを示している。この予約リスト上で再生ポインタを順次進め、録音音声情報を再生していく。具体的には図10に示した再生処理のS204にて待ち楽曲が録音音声と判断した場合には、S210にて録音音声情報の再生を行う。なお、録音音声については更なる録音や、音程設定を行う必要がないため、予約リスト上での録音フラグ、録音音程の項目については空欄となる。
録音音声情報は録音の際に使用された演奏情報と同期を取って再生される。具体的には、再生する録音音声情報の関連情報に含まれる楽曲IDに基づいて演奏情報を読み出し、録音音声情報と同時に再生を開始する。また、録音音声情報に録音時設定情報があれば、この録音時設定情報に基づいて演奏情報の音程などを変更して再生を開始する。ここで、関連情報に録音時変更情報が含まれる場合には、録音時変更情報中の再生経過情報のタイミングにて、音程などを設定変更しながら再生する。このように再生することで録音時の歌唱を再現することができる。
図17は録音音声情報の再生時においてディスプレイ404上に表示される録音音声再生画面を示した図であって、画面中には、歌詞516が表示されると共に、録音音声情報中の関連情報に基づいて、ユーザの写真やアバターなどによるユーザ関連画像517、ニックネーム、録音日時、得点などの録音音声説明518、519が表示される。録音音声情報再生中には、その場に歌唱者がいない場合も考慮してこのような表示を行うことが好ましい。
本発明の実施形態に係るカラオケシステムを示した図。 本発明の実施形態に係るコマンダを示した図。 本発明の実施形態に係るリモコン装置の外観を示した図。 本発明の実施形態に係るリモコン装置の内部構成を示した図。 本発明の実施形態に係る楽曲予約処理を示したフロー図。 本発明の実施形態に係る楽曲リストを示した図。 本発明の実施形態に係る選曲画面を示した図。 本発明の実施形態に係る楽曲詳細画面を示した図。 本発明の実施形態に係る予約リストを示した図。 本発明の実施形態に係る再生処理を示したフロー図。 本発明の実施形態に係る録音処理を示したフロー図。 本発明の実施形態に係る録音音声情報を示した図。 本発明の実施形態に係る個人設定情報の一部を示した図。 本発明の実施形態に係る録音リストを示した図。 本発明の実施形態に係る録音音声選択画面を示した図。 本発明の実施形態に係る予約リストを示した図。 本発明の実施形態に係る録音音声再生画面を示した図。
符号の説明
50…通信網、60…ルータ、70…無線アクセスポイント、100…ホスト装置、200…リモコン装置、201…リモコン制御部、202…リモコン通信部、203…指紋読取部、204…リモコン記憶部、205…リモコン表示部、206…タッチ式センサ、207…タッチパネル、300…コマンダ、301…制御部、302…通信部、303…フロントパネル表示部、304…表示制御部、305…記憶部、306…入力部、307…音源部、308…ミキシング部、309…AD変換部、401…アンプ、402…スピーカ、403…マイクロフォン、404…ディスプレイ、405…スタイラス、501…検索ワード入力欄、502…検索スイッチ、503…検索モードスイッチ、504…楽曲表示欄、505…移動スイッチ、506…前画面スイッチ、507…音程指定スイッチ欄、508…録音指定スイッチ欄、509…予約スイッチ、510…前画面スイッチ、511…並べ替えスイッチ、512…スクロールバー、513…録音音リスト欄、514…予約スイッチ、515…前画面スイッチ、516…歌詞、517…ユーザ関連画像、518、519…録音音声説明

Claims (6)

  1. 記憶手段と、再生手段と、指定手段と、制御手段とを備えるカラオケ装置であって、
    記憶手段は、楽曲IDに対応付けられた演奏情報を記憶し、
    再生手段は、演奏情報による演奏音の再生、並びに、録音音声情報による録音音声の再生を可能とし、
    録音音声情報は、マイクロフォンから入力される歌唱音声信号を録音した情報であると共に、楽曲IDと、音程または速度を示す録音時設定情報を含み、
    指定手段は、録音IDの指定を可能とし、
    制御手段は、指定された録音IDに対応する録音音声情報を再生手段に演奏させると共に、当該録音音声情報が含む楽曲IDに対応する演奏情報を、当該録音音声情報が含む録音時設定情報に基づいて再生手段に再生させる再生処理を可能とする
    カラオケ装置。
  2. 指定手段は、楽曲IDの指定に対応付けた音程または速度の指定を可能とし、
    制御手段は、指定された楽曲IDに対応する演奏情報を、指定された音程または速度にて再生手段に再生させると共に、マイクロフォンから入力される歌唱音声信号を録音し、録音IDと、指定された音程または速度を示す録音時設定情報を付与して録音音声情報を作成する録音処理を可能とする
    請求項1に記載のカラオケ装置。
  3. 記憶手段と、再生手段と、指定手段と、制御手段とを備えるカラオケ装置であって、
    記憶手段は、楽曲IDに対応付けられた演奏情報を記憶し、
    再生手段は、演奏情報による演奏音の再生、並びに、録音音声情報による録音音声の再生を可能とし、
    録音音声情報は、マイクロフォンから入力される歌唱音声信号を録音した情報であると共に、楽曲IDと、音程または速度を示す録音時設定情報と、再生経過に対応して音程または速度の変更を示す録音時変更情報を含み、
    指定手段は、録音IDの指定を可能とし、
    制御手段は、指定された録音IDに対応する録音音声情報を再生手段に再生させると共に、当該録音音声情報が含む楽曲IDに対応する演奏情報を、当該録音音声情報が含む録音時設定情報と録音時変更情報に基づいて再生手段に再生させる再生処理を可能とする
    カラオケ装置。
  4. 指定手段は、楽曲IDの指定に対応付けた音程または速度の指定、並びに、再生中における音程または速度の変更指定を可能とし、
    制御手段は、指定された楽曲IDに対応する演奏情報を、指定された音程または速度にて再生手段に再生させると共に、音程または速度の変更が指定された際、指定された音程または速度に変更して再生させ、
    マイクロフォンから入力される歌唱音声信号を録音し、録音IDと、指定された音程または速度を示す録音時設定情報と、変更した時点を示す再生経過に対応して音程または速度の変更を示す録音時変更情報を付与して録音音声情報を作成する録音処理を可能とする
    請求項3に記載のカラオケ装置。
  5. 記憶手段は、録音音声情報を記憶する
    請求項1乃至請求項4のいずれか1つに記載のカラオケ装置。
  6. 外部装置と通信可能な通信手段を更に備え、
    録音音声情報は、通信手段を介して外部装置から配信される
    請求項1乃至請求項5のいずれか1つに記載のカラオケ装置。
JP2008223596A 2008-09-01 2008-09-01 カラオケ装置 Active JP5240840B2 (ja)

Priority Applications (1)

Application Number Priority Date Filing Date Title
JP2008223596A JP5240840B2 (ja) 2008-09-01 2008-09-01 カラオケ装置

Applications Claiming Priority (1)

Application Number Priority Date Filing Date Title
JP2008223596A JP5240840B2 (ja) 2008-09-01 2008-09-01 カラオケ装置

Publications (2)

Publication Number Publication Date
JP2010060633A true JP2010060633A (ja) 2010-03-18
JP5240840B2 JP5240840B2 (ja) 2013-07-17

Family

ID=42187532

Family Applications (1)

Application Number Title Priority Date Filing Date
JP2008223596A Active JP5240840B2 (ja) 2008-09-01 2008-09-01 カラオケ装置

Country Status (1)

Country Link
JP (1) JP5240840B2 (ja)

Cited By (1)

* Cited by examiner, † Cited by third party
Publication number Priority date Publication date Assignee Title
KR101859268B1 (ko) * 2016-04-20 2018-05-18 김혜정 영어 단어의 음절과 연동된 악보 제공 시스템

Citations (2)

* Cited by examiner, † Cited by third party
Publication number Priority date Publication date Assignee Title
JP2004053736A (ja) * 2002-07-17 2004-02-19 Daiichikosho Co Ltd 通信カラオケシステムの使用方法
JP2005189535A (ja) * 2003-12-25 2005-07-14 Victor Co Of Japan Ltd 音声記録再生装置

Patent Citations (2)

* Cited by examiner, † Cited by third party
Publication number Priority date Publication date Assignee Title
JP2004053736A (ja) * 2002-07-17 2004-02-19 Daiichikosho Co Ltd 通信カラオケシステムの使用方法
JP2005189535A (ja) * 2003-12-25 2005-07-14 Victor Co Of Japan Ltd 音声記録再生装置

Cited By (1)

* Cited by examiner, † Cited by third party
Publication number Priority date Publication date Assignee Title
KR101859268B1 (ko) * 2016-04-20 2018-05-18 김혜정 영어 단어의 음절과 연동된 악보 제공 시스템

Also Published As

Publication number Publication date
JP5240840B2 (ja) 2013-07-17

Similar Documents

Publication Publication Date Title
KR101442606B1 (ko) Ucc를 이용하는 온라인 게임을 제공하는 게임 서비스방법 및 그 게임 서버
JP2008225379A (ja) 映像作品の続きを見るための楽曲が指定される音楽映像再生装置
JP5224517B2 (ja) カラオケ装置
JP4926756B2 (ja) カラオケ効果音出力システム
JP2014130187A (ja) カラオケ装置
JP2010060844A (ja) カラオケ装置
JP6763334B2 (ja) 楽曲選曲装置、カラオケシステム、及び、楽曲選曲用プログラム
JP5622679B2 (ja) カラオケ装置
JP2010060635A (ja) カラオケ装置
JP5240840B2 (ja) カラオケ装置
JP5823313B2 (ja) カラオケ装置
JP5963200B2 (ja) プレイリスト生成装置及びプレイリスト生成用プログラム
JP2010060634A (ja) カラオケ装置
JP4431507B2 (ja) カラオケシステム
JP4516944B2 (ja) カラオケ歌唱補助システム
JP2006201654A (ja) 伴奏追従システム
JP4223277B2 (ja) キーワード検索により所定曲数以下に絞り込まれた複数楽曲の一部を連続再生させながら希望曲を選出可能な選曲装置、選曲用プログラム
JP4423212B2 (ja) カラオケシステム
JP2008076766A (ja) 電子早見本装置
JP4404758B2 (ja) カラオケ演奏装置
JP6394366B2 (ja) カラオケ装置及びカラオケ用プログラム
JP4237078B2 (ja) 再演奏制御方式に特徴を有するカラオケ装置
JP7063533B2 (ja) カラオケシステム
JP4410205B2 (ja) カラオケシステム
JP6642215B2 (ja) 楽曲選曲装置、カラオケシステム及び楽曲選曲用プログラム

Legal Events

Date Code Title Description
A711 Notification of change in applicant

Free format text: JAPANESE INTERMEDIATE CODE: A712

Effective date: 20100728

A621 Written request for application examination

Free format text: JAPANESE INTERMEDIATE CODE: A621

Effective date: 20110331

A977 Report on retrieval

Free format text: JAPANESE INTERMEDIATE CODE: A971007

Effective date: 20121109

A131 Notification of reasons for refusal

Free format text: JAPANESE INTERMEDIATE CODE: A131

Effective date: 20121128

A521 Written amendment

Free format text: JAPANESE INTERMEDIATE CODE: A523

Effective date: 20130104

TRDD Decision of grant or rejection written
A01 Written decision to grant a patent or to grant a registration (utility model)

Free format text: JAPANESE INTERMEDIATE CODE: A01

Effective date: 20130327

A61 First payment of annual fees (during grant procedure)

Free format text: JAPANESE INTERMEDIATE CODE: A61

Effective date: 20130328

FPAY Renewal fee payment (event date is renewal date of database)

Free format text: PAYMENT UNTIL: 20160412

Year of fee payment: 3

R150 Certificate of patent or registration of utility model

Free format text: JAPANESE INTERMEDIATE CODE: R150

Ref document number: 5240840

Country of ref document: JP

Free format text: JAPANESE INTERMEDIATE CODE: R150