JP2010059759A - 戸当り - Google Patents

戸当り Download PDF

Info

Publication number
JP2010059759A
JP2010059759A JP2008254521A JP2008254521A JP2010059759A JP 2010059759 A JP2010059759 A JP 2010059759A JP 2008254521 A JP2008254521 A JP 2008254521A JP 2008254521 A JP2008254521 A JP 2008254521A JP 2010059759 A JP2010059759 A JP 2010059759A
Authority
JP
Japan
Prior art keywords
door
rod
plate
housing
magnet
Prior art date
Legal status (The legal status is an assumption and is not a legal conclusion. Google has not performed a legal analysis and makes no representation as to the accuracy of the status listed.)
Granted
Application number
JP2008254521A
Other languages
English (en)
Other versions
JP4889703B2 (ja
Inventor
Katsumi Yagi
克巳 八木
Norito Yagi
準人 八木
Current Assignee (The listed assignees may be inaccurate. Google has not performed a legal analysis and makes no representation or warranty as to the accuracy of the list.)
Yagi KK
Original Assignee
Yagi KK
Priority date (The priority date is an assumption and is not a legal conclusion. Google has not performed a legal analysis and makes no representation as to the accuracy of the date listed.)
Filing date
Publication date
Application filed by Yagi KK filed Critical Yagi KK
Priority to JP2008254521A priority Critical patent/JP4889703B2/ja
Publication of JP2010059759A publication Critical patent/JP2010059759A/ja
Application granted granted Critical
Publication of JP4889703B2 publication Critical patent/JP4889703B2/ja
Active legal-status Critical Current
Anticipated expiration legal-status Critical

Links

Images

Landscapes

  • Closing And Opening Devices For Wings, And Checks For Wings (AREA)

Abstract

【課題】ドア側の磁石と床面に揺動自在に設置された磁性体プレートとを吸着させることによりドアを全開位置に固定する戸当りであって、容易かつ確実にドアを全開位置にロックすることができ、しかもプレートを確実に係合し得る戸当りを提供することを目的とする。
【解決手段】床面に固定された台座と、当該台座に旋回自在に取り付けられた磁性体からなるプレートと、ドアの下端部付近に固定された筐体と、該筐体の下部から前記ドアに沿って下方に延びる鉤と、該筐体内を上下方向に移動するロッドと、該ロッドの上端に一体的または別体として設けられ、該ロッドを上下させる被押圧部と、前記筐体内に設けられた磁石からなる戸当りであって、前記ロッドと前記被押圧部とが、共働機構を介して連結され、前記プレートに突起が設けられ、前記磁石によって前記プレートが持ち上げられ、前記被押圧部が押圧されたときに、前記突起と前記鉤とが係合することを特徴とする。
【選択図】図1

Description

本発明は戸当りに関する。さらに詳しくは、ドア側の磁石に、床面に揺動自在に設置された磁性体からなるプレートを吸着させることにより、ドアを全開位置に仮固定および完全固定することができる戸当りに関する。
従来より、図13〜15に示すように、ドア50の開閉によりドア50またはノブ51が壁またはドア50周辺の家具やキャビネット52などに衝突し、これらに損傷が生じるのを防ぐために戸当り53がドア50の付近の床54に設けられている。
かかる戸当り53としては、床54に立設される雄ねじ(図示せず)に螺着される基部55と、該基部55の上部に固着される緩衝体56とからなるものがある。
また、ドア50を開放状態にしておくために、前記基部55内に差し込まれているU字状の止め金具57を引き抜き、ドア50の側面に設けられた鉤付き座金58の鉤部59に係止するようにしている。
しかしながら、前記戸当り53では、常時床54に立設されているため、前記ドア50が戸当り53に固定されていない場合、歩行中誤って戸当り53に蹴つまづいてしまう惧れがある。
また、運搬物、たとえばキャビネット52を移動させる際に邪魔になり、誤ってキャビネット52が戸当り53に衝突すると、キャビネット52がへこんだり、戸当り53が変形する惧れがある。さらに、床掃除をする際に邪魔になっていた。
さらに、従来の戸当り53は、常時床54に立設されているため、床54の上に異物が突出しているように見え、美観上好ましくない。
一方、床から出没自在の戸当りも種々検討されており、従来より知られている出没自在の戸当りとして、磁石を用いた戸当りなどがある。特許文献1および特許文献2に記載された磁石を用いた戸当りは、たとえば、床面に揺動自在に設置された磁性体プレートを、ドア側の磁石に吸着させることによりドアを全開位置に固定している。
また、特許文献3には、床面Fに設けられたプレート60に係止軸61が係止し、ドアDに強い力が加わった場合に、係止軸61の上部に連結されたコイルバネ(図示せず)が上方向に向かって力を受けることにより、係止軸61が係止凹部62から外れ、戸当りが壊れないようにされているものが開示されている。
特許第2990601号公報 特開平10−1155139号公報 特許第3477154号公報
しかし、ドアの表面積は比較的広いので、ドアに風が当って強い力が加われば、磁石とプレートとの間の吸着力のみでは、ドアを全開位置に保持することができなくなり、ドアが勢いよく閉まってしまうなどの問題がある。
また、ドアを開放位置に仮止めできるように、磁石下面にロッドを突設し、磁性体プレートに該ロッドを係合するための凹部または貫通孔を形成することが考えられるが、この場合、ロッドは磁石に吸引されたプレートの前縁を乗り上げて凹部または貫通孔に係合しなければならず、係合を確実に行なうことが難しいという問題がある。
また、特許文献3では、ドアDに強い力fが加わった場合に、プレート60の凹部62から係止軸61が抜けるようにするために、バネ定数を算出したうえで、そのようなバネ定数を採用する必要がある。すなわち、バネ定数の弱いバネでなければ、ドアDに加わる力fが、係止軸61を上方に押し戻す上方向の分力が働かないので、バネ定数の弱いバネを採用する必要がある。また、係止軸61の形状、プレート60の凹部62の形状も、凹部62から係止軸61が抜けるように、抜けやすい形状、すなわち、図12に示されるような形状である必要がある。特許文献3のような戸当りでは、バネ定数が弱い場合には、すぐに係止状態が解除されてしまい、強固にドアDをロックすることができない。
本発明はかかる問題を解消するためになされたものであり、ドア側の磁石と床面に揺動自在に設置された磁性体プレートとを吸着させることによりドアを全開位置に仮固定および完全固定する戸当りであって、容易かつ確実にドアを全開位置にロックすることができ、しかもプレートを確実に係合し得る戸当りを提供することを目的とする。
すなわち、特許文献3は、弱いバネを用い、かつ互いに外れやすい係止軸、係止凹部の形状を用い、ドアに強い力が加わっても、係止軸と係止凹部の係合が解かれ、本体が壊れないという技術的思想であり、本願発明は特許文献3とは全く逆の技術的思想、すなわち、ドアに強い力が加わった場合に、プレートと鉤がしっかりと係合し、戸当りが破壊されない限り、強固に係止するという技術的思想により、ドアを確実に全開位置でロックすることを目的とするものである。
本発明の戸当りは、床面に固定された台座と、当該台座に旋回自在に取り付けられた磁性体からなるプレートと、ドアの下端部付近に固定された筐体と、該筐体の下部から前記ドアに沿って下方に延びる鉤と、該筐体内を上下方向に移動するロッドと、該ロッドの上端に一体的または別体として設けられ、該ロッドを上下させる被押圧部と、前記筐体内に設けられた磁石からなる戸当りであって、前記ロッドと前記被押圧部とが、共働機構を介して連結され、
前記プレートに突起が設けられ、前記磁石によって前記プレートが持ち上げられ、前記被押圧部が押圧されたときに、前記突起と前記鉤とが係合することを特徴とする。
また、前記共働機構が、圧縮コイルバネであることが好ましい。
また、前記プレートに第2の突起が設けられ、前記筐体の下部に前記第2の突起が収容される収容部が設けられてなることが好ましい。
また、前記ロッドの下端が、テーパ状に湾曲した形状を呈することが好ましい。
また、本発明の戸当りは、床面に固定された台座と、前記台座に旋回自在に取り付けられた磁性体からなるプレートと、ドアの下端部付近に固定された筐体と、該筐体内を上下方向に移動する上下に延びるロッドと、該ロッドの上端に一体的または別体として設けられ、該ロッドを上下させる被押圧部と、前記筐体内に設けられた磁石からなる戸当りであって、前記ロッドの下端部に鉤が形成され、前記プレートに突起が形成され、前記磁石によって前記プレートが持ち上げられ、前記被押圧部が上方へ押し戻されたときに、前記突起と前記鉤とが係合することを特徴とする。
また、前記プレートに第2の突起が設けられ、前記筐体の下部に前記第2の突起が収容される収容部が設けられてなることが好ましい。
本発明によれば、磁石の吸引力により床上のプレートを揺動させる戸当りに、さらに、プレートと筐体とを着脱自在に係合するロック機構を設けたことにより、無理やりドアDを開/閉動作することにより、当該ロッドに強い力を加えた場合でも、本発明の戸当りを破壊しない限り、鉤とプレートに設けられた突起との係合が解除されることはない。したがって、ドアDに風や人が当っても不意に閉まるなどの問題がなくなるため、強い風が当りやすい高層マンションのドアなども容易かつ確実に全開位置に完全固定することができ、さらに老人、子供、ペットなどが不意にドアにもたれかかっても、ドアDは全開位置に保持されたままである。
しかも、筐体からプレートを押圧するロッドが出没自在に設けられているため、被押圧部を押圧することにより、確実に係合することができ、係合状態から被押圧部を押圧することにより、容易に係合状態の解除をすることができる。
また、戸当りを使用しない場合には、プレートの表面がフラットに形成されているため、プレートが床面とほぼ面一になり、歩行やキャビネットなど運搬物の移動を安定に行なうことができる。
また、プレートに第2の突起が設けられ、前記筐体の下部に前記第2の突起が収容される収容部が設けられているので、プレートと筐体との間で仮固定ができ、プレートの位置決めが可能であるので、確実に係合させることができる。すなわち、本発明では、磁石とプレートにより、仮止めをすることができ、さらに、プレートに設けられた第2の突起により、仮固定をすることができ、鉤とプレートとの係合により、完全固定するという三段階のステップにより、扉を開放位置に保持することができる。
また、ロッドの下端がテーパ状に湾曲しているので、被押圧部を下方に押し下げ、ロッドを下方に押し下げた状態で、扉を開放位置まで開いた場合、開放位置で被押圧部を押し下げることなく、自動で、完全固定状態を実現することができる。すなわち、ロッドの下端にテーパ状の湾曲面があるので、磁石に吸着され、上方に旋回したプレートから、横方向から力を受けたロッドに、上向きに分力が働き、ロッドは上方に押し上げられることにより、扉の全開状態で被押圧部を押圧することなく、完全固定状態を実現することができる。これにより、荷物を持った状態など、両手がふさがった状態や、足で被押圧部を操作するのが困難な状態であっても、扉を全開状態で完全固定が可能である。
つぎに図面を参照しながら本発明の戸当りを詳細に説明する。図1は本発明の戸当りの一実施の形態を示す斜視説明図、図2は本発明に用いられるプレートの一実施の形態を示す図、図3は本発明の戸当りを説明する側面図、図4は本発明の図1の磁石を下から見た図、図5は図1のケース内部を上から見た図、図6は図1の磁石におけるロッドのための昇降機構の主要部の動きを示す工程説明図、図7は本発明の戸当りの一実施の形態のロッドとプレートとが係合する工程を示す工程説明図、図8は本発明の戸当りの他の実施の形態のロッドとプレートとが係合する工程を示す工程説明図、図9は本発明のプレートに設けられる第2の突起を説明するための図、図10は本発明に用いられるロッドの他の実施の形態を説明するための図、図11は本発明に用いられるロッドの他の実施の形態の一例を示す図、図12は本発明に用いられるロッドの他の実施の形態の動作を説明するための図である。
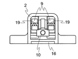
図1に示される戸当りは、大きく分けて床面Fに設置された台座部分1と、ドアDに固着され、ドアDの下端部付近に固定された筐体2とから構成されている。ここでドアDの下端部付近とは、たとえばドアDの下端縁LEから、約10〜20mmくらいまでの範囲内をいうが、特にその高さは限定されるものではない。また、筐体2は、床面Fに設けられた台座部分1上のプレート4と筐体2のロッド8が係合し得る高さに設けられる。
台座部分1は、図1、図2に示されるように、床面Fにネジなどで固定されたナイロン、ポリアセタールなどのエンジニアリング樹脂や亜鉛合金などからなる台座3に、鉄などの磁性体からなるプレート4が揺動自在に取り付けられている。台座部分1の設置方法については、本発明ではとくに限定するものではなく、図1のように床面Fに直接ビス止めしてもよいし、または床に形成される埋設穴に埋設してもよい。
台座部分1は、図2(a)〜(d)に示されるように、台座3と、プレート4と、軸押さえ板3fとから構成されている。
プレート4の床面Fに対抗する面(以下、裏面)には、後述する筐体2の下部に設けられた鉤5に係合し得る突起7が形成されている。後述するように、プレート4は、筐体2のロッド8によって下方に押圧され、鉤5と係合する。
プレート4は、鉄などの磁性体材料により作製され、たとえば図2に示されるように、1枚の薄い鉄板をプレス加工して突起7を形成したり、または2枚以上の金属板を積層してもよい。
プレート4の突起7の形状は、本発明においてとくに限定されるものではなく、鉤5の形状に対応するように選定すればよい。
台座3には、図2(b)に示されるように、プレート4を収容する矩形の開口部3aが形成されている。プレート4は、台座3の開口部3aに下方から挿入され、プレート4の後端両側に突設された軸部42は、下方に開いた一対の軸受凹部3bに回転自在に挿入されている。
図2(b)に示されるように、一対の軸受凹部3bは、台座3の下面にかしめる、またはかしめなどにより固着された、軸押さえ板3dによって閉塞されているので、軸部42が台座3の軸受凹部3bから脱落する心配がない。また、図2(d)に示されるように、軸押さえ板3dの中央部には、突片3eが前方に突設されている。突片3eは、プレート4の下方への落込みを防止している。
また、図2(a)〜(d)に示されるように、台座3の裏面には、プレート4が磁石9に衝突するときにプレート4の後端に当接し得る当接部3cが設けられているため、磁石9に衝突したときにプレート4が受ける衝撃を当接部3cで受けることができ、プレート4の軸部42(図2(c)参照)などの破損を防止することができる。
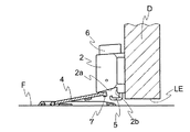
また、図2(c)、図7(a)〜(c)に示されるように、プレート4の裏面には、薄いゴム層などからなる緩衝体41が設けられている。そのため、図7(c)に示されるプレート4の上方位置から図7(b)に示されるプレート4の下方位置に移行するときに、プレート4下面の緩衝体41がプレート4と床面Fとの衝突を緩和するので、大きな金属音の発生を防止することができる。
しかも、プレート4の軸部42には、プレート4の揺動角度を規制するための傾斜部43が、プレート4の後方(図2(c)では右方向)へ向かうにつれて上昇する方向に形成されている。そのため、プレート4が所定の揺動角度(たとえば30度程度)まで上方へ揺動すれば、傾斜部43が台座3の下面に面接触することによって、プレート4の揺動角度を正確に規制することができる。
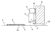
筐体2は、図7(a)〜図8(c)に示されるように、ドアDの下端LEの周縁に木ネジやボルト・ナット、釘などの従来知られた固着手段によって固着され、当該筐体2の下面に若干突出するように、後述するピン19廻りに回動自在に取り付けられた一対の磁石9と、筐体2の上部に上下動自在に挿入された被押圧部6と、被押圧部6と連結されたロッド8と、筐体2内部に収容され、前記被押圧部6を上方へ付勢する圧縮コイルバネ10と、筐体2の裏面を覆う裏蓋11とから構成されている。
被押圧部6は図1および図3では、略四角柱の形状を呈しているが、足で踏むことができれば、その形状は特に限定されることはなく、略円柱でも構わないし、多角柱状でも構わない。また、ロッド8の形状も、プレート4を押圧することができる形状であればその形状は特に限定されることはない。
なお、本実施の形態では、一対の磁石9を備えた例をあげて説明しているが、本発明はこれに限定されるものではなく、磁力の強い磁石を1個備えたものであってもよく、この場合、筐体2全体をコンパクトにすることが可能である。
筐体2の下面2aは、後方に向かうにつれて上昇するように傾斜しており、上方に揺動したプレート4と磁石9とがぴったりと面接触できるようになっている。また、筐体2の下面2aの奥端には、ドアDに沿って下方に延びる壁部2bが形成されており、壁部2bに対して、磁石9に吸着されたプレート4の先端が衝突するようになっている。筐体2の壁部2bは、プレート4との衝突の際の衝撃を吸収できるように、合成樹脂で作製したり、表面にゴムなどを貼着したりするのが好ましい。
壁部2bの場所は適宜変更することが可能であり、図8に示される実施の形態においては、ロッド8が下方に突出しやすいように、ロッド8が出没する開口のドアDからの遠位端に設けることもできる。
一対の磁石9は、前述したように筐体2内部においてピン19廻りに回動自在に設けられているため、磁性体からなるプレート4が上方へ旋回して磁石9に吸着されるときに、プレート4に押された磁石9も若干回動することにより、ドアのガタや戸当りの取付誤差などの誤差を自動的に修正することができ、磁石9はプレート4に常に面接触することが可能である。
なお、本実施の形態では磁石9が回動自在である例が示されているが、本発明はこれに限定されるものではなく、磁石9を筐体2に固定してもよい。
本実施の形態において、プレート4を筐体2にロックするためのロック機構は、筐体2の下部に設けられた鉤5から構成されている。鉤5は、プレート4の突起7に係合しやすいように形成されている。鉤5は、筐体の下部から前記ドアに沿って下方に延び、そこからドアに対してほぼ垂直に延びた受け部の先端が上方に突出した鉤部を有することにより、プレート4の突起7の先端が、鉤5の前記受け部に載る。そしてプレート4がロッド8により下方に落とし込まれたときに、プレート4の突起7と鉤5の鉤部が係合し、ドアをロックすることができる。
ロッド8は、被押圧部6に共働機構を介して連結されている。共働機構は、ロッド8と被押圧部6とを一体的に固定する固定手段とすることができる。すなわち、ロッド8と被押圧部6が一体的に成形することにより、ロッド8と被押圧部6を一部材とすることもできるし、溶接、融着、ネジ等の公知の固着手段により、固着して一体とすることもでき、特に固定手段は限定されることはない。
また、共働機構は、ラックとピニオン、ギア、クランク部材等の公知のリンク機構により、被押圧部6の押圧により、ロッド8の上下運動が得られるようにすることもできる。
また、共働機構としては、図3に示されるように、たとえば圧縮コイルバネを用いることもできる。当該圧縮コイルバネのバネ定数は、バネ定数が弱すぎると、磁石9からプレート4を下方へ押し下げることができないので、被押圧部6を押圧し、ロッド8によりプレート4を磁石9から離れるのに充分に強いバネ定数が採用される。このような共働機構である圧縮コイルバネを採用することにより、ロッド8によって確実にプレート4を下方に押圧することができ、鉤5と突起7を係合することが容易になっている。
また、共働機構としては、圧縮コイルバネに限られるものではなく、ボタンの押圧により、モータが回転し、ロッド8を上下させる機構を用いることもできるし、ボタンの押圧により電磁石が起動され、当該電磁石によりロッド8を上下させることもできる。
また、筐体2のドアDに沿って、上方に延長された表示部16を形成してもよい。本実施の形態において、表示部16は、筐体2と一体的に形成されているが、別体とすることも可能である。表示部16により、被押圧部6を下方に押してロッド8を下方に突出させたときに、表示部16が見えることにより、ロッド8が突出していることを視認することができる。
さらに、本実施の形態の戸当りは、被押圧部6およびロッド8を所定の下方位置に容易にロックしたり、または解除したりできるように、裏蓋11の内側に昇降機構を備えている。
昇降機構は、図6(a)〜(d)に示されるように、前記被押圧部6の後面に回転自在に取り付けられた係止部12aを有する係止体12と、筐体2の後面に設けられた、前記係止体12に当接し得る当接体14と、前記筐体2の後面の前記当接体14よりも上側に設けられた、前記係止体12の係止部12aを係止するための突部13とから構成されている。
昇降機構は、以下のようにして被押圧部6およびロッド8のロックを行なう。まず、足で被押圧部6を押し下げれば、係止体12が筐体2の後面に形成された溝15内部を下降し、当接体14が係止体12に当接して係止体12を回転させる(図6(b)参照)。
そののち、足を被押圧部6から離せば、被押圧部6は、前記圧縮コイルバネ10の付勢力によって上昇するが、係止体12の係止部12aが突部13に係止されたときに所定の下方位置にロックされる(図6(c)参照)。このとき、ロッド8の下端は、筐体2から若干下方に突出する(図7(c)参照)。
さらに、もう1度、足で被押圧部6を押し下げれば、図6(d)のように、当接体14がさらに係止体12を回転させることにより、被押圧部6のロックを解除することができる。
本実施の形態の戸当りを使用する場合、図6(a)および図7(a)に示されるように、まずロッド8を筐体2内に収容しておき、この収容状態で、ドアDを全開位置まで開ける。
ドアDが全開位置までくると、図7(b)に示されるように、プレート4は上方へ揺動して磁石9の下面に吸着される。ここで、被押圧部6を足で押し下げれば、図7(c)に示されるようにプレート4がロッド8により下方に押圧され、鉤5と突起7とが確実に係合する。それにより、ドアDは、全開位置に容易かつ確実にロックされ、ドアDに風が当っても不意に閉まることがなくなる。
またドアDに人や動物がぶつかったり、無理にドアDを閉めようとしても、戸当り自体が破壊されない限り、ロックが解除されることはなく、強固にドアDを全開位置に固定することができる。
一方、ドアDのロックを解除したい場合には、再度、足で被押圧部10を踏めば、ロッド8は上方へ移動し、かつプレート4は磁石9により筐体2に吸着されてロックが解除されるので(図7(b)参照)、ロック解除後は、ドアDを容易に閉めることができる。
なお、ロック解除の状態でも、ドアDを全開位置まで開ければ、プレート4が磁石9に吸着されるので、ドアDは弱い力で全開位置に保持される。したがって、荷物の搬入を行なう場合など、一時的にドアDを全開位置に保持したいときに便利である。
また、磁石9によりプレート4は吸着されるが、仮固定のために、図9(a)に示されるような第2の突起17をプレートの上面に設けることもできる。第2の突起17が筐体2に設けられた収容部18に嵌まり込むことにより、鉤5と係合していない状態でも、ドアDを全開位置で保持することができ、かつ鉤5と係合する際の位置決めの役割も果たすので、ロッド8を下方へスライドさせたときに確実に鉤5と突起7を係合させることができる。
また、図10〜12に示されるように、ロッド8の下端をテーパ状に湾曲した形状を呈するように形成し、扉Dを開放位置に動かす前に、被押圧部6を押圧し、ロッド8を下方に下げておくことにより、扉Dの全開状態で、被押圧部6を押圧しなくても、扉Dを全開状態で自動で完全固定することができる。
すなわち、図3に示されるようなロッド8の形状ではなく、図10〜13に示されるロッド8の形状は、その下端がテーパ状に湾曲している。図11に示されるように、ロッド8の下端がテーパ状に湾曲しており、図10に示されるように、ロッド8が押し下げられたときに、ロッド8の下端が鉤5の先端部と当接する点以外は、同様である。
なお、ロッド8の下端の形状は、図11(a)においては、磁石9により吸着されたプレート4と当接する部分がテーパ状に形成されており、扉Dの遠位側から近位側にかけてロッド8の上端から下端の長さが漸増するように形成されている。
また、図11(b)に示されるように、ロッド8の下端が半円形状を呈するように、形成されてもよいが、図11(a)および(b)の形状はあくまで一例であり、ロッド8に対するプレート4からの横方向(扉方向)の力から、ロッド8を上方へ押し上げる分力が働くようにロッド8の下端が形成されていればよい。
以下、上記下端がテーパ状に湾曲したロッド8を用いた場合の動きを説明する。図12(a)に示されるように、扉Dを開放していくと、磁石9によりプレート4は筐体2に吸着される。この状態ではプレート4は、磁石9に吸着されているだけであり、仮固定の状態である。この状態からさらに扉Dを開放していくと、プレート4とロッド8のテーパ面とが接触する。さらに扉Dを開放していくと、プレート4から横方向に力を受けたロッド8は、上方向に分力を受け、図12(b)に示されるように、筐体2内に押し上げられる。さらに、扉Dを開放していくと、プレート4の先端下方に形成された突起7が鉤5の先端部5aを越え、ロッド8および被押圧部6の間に連結されている圧縮コイルバネにより下向きの力を受け、磁石6の磁力による筐体2に吸着されていたプレートが、筐体2から離れ、鉤5と係合することにより、完全固定される。
また、完全固定を解除する場合には、被押圧部6を押すことにより、完全固定の状態から、ロッド8が上方へ移動するので、プレート4にロッド8からの下向きの力が無くなり、再度プレート4は磁石6に吸着され(仮固定の状態)、その状態から、扉Dを扉Dが閉まる方向へ動かすと、プレート4は筐体2から離れ、プレート4は台座3に収納され、扉Dを閉めることができる。
このように、ロッド8の下端にテーパ状の湾曲面を形成することにより、扉Dを開放位置に開く前に、被押圧部6を押圧しておき、その後扉Dを全開位置まで開放することにより、自動で完全固定状態にすることができる。したがって、たとえば重い荷物を持った状態で、扉Dを全開状態にしたい場合に、荷物を持つ前にあらかじめ被押圧部6を押圧しておくことにより、扉Dの全開状態でわざわざ被押圧部6を押し下げないでも、扉Dを全開状態で完全に固定できるというメリットがある。
図8は、本発明の他の実施の形態を示す図である。図8に示される戸当りは、図7に示す実施の形態とは、鉤5が上下方向に移動する点で異なる。鉤5はロッド8の先端に連結されており、ロッド8が上下するのに伴い上下する。すなわち、被押圧部6が押圧されると、ロッド8の上下に伴って、ロッド8の下端に設けられた鉤5も上下する。
図8の実施の形態では、まずドアDを全開位置まで開放すると、プレート4が磁石9の吸引力により、上方へ旋回し、筐体2の磁石9に吸着される。このとき、ロッド8は下方へ押し下げられた状態であり、鉤5の先端はプレート4の突起7の先端より下方に位置している(図8(b)参照)。プレート4の先端は、筐体2に形成された壁部2bに衝突するようになっており、プレート4が壁部2bに当接し、かつ磁石9に吸着され、仮止めされる。
そしてドアDをロックするために、被押圧部6が押圧され、上方へ押し戻されることにより、ロッド8が上方へスライドし、ロッド8の下端に設けられた鉤5を上方へスライドさせる。すると、鉤5の上昇により、鉤5とプレート4の突起7が係合するようになり、確実にドアをロックすることができる(図8(c)参照)。
なお、図8の実施の形態においても、図9(b)に示されるような第2の突起17を設けることができ、第2の突起17が筐体2に設けられた収容部18に嵌まり込むことにより、鉤5と係合していない状態でも、ドアDを全開位置で仮固定することができ、かつ鉤5と係合する際の位置決めの役割も果たすので、ロッド8を上方へスライドさせたときに確実に鉤5と突起7を係合させることができる。
本発明の戸当りの一実施の形態を示す斜視説明図である。 本発明に用いられるプレートの一実施の形態を示す図である。 本発明に用いられるプレートの一実施の形態を示す図である。 本発明に用いられるプレートの一実施の形態を示す図である。 本発明に用いられるプレートの一実施の形態を示す図である。 本発明における戸当りの一実施の形態を示す図である。 本発明の図1の磁石を下から見た図である。 図1のケース内部を上から見た図である。 図1の磁石におけるロッドのための昇降機構の主要部の動きを示す工程説明図である。 図1の磁石におけるロッドのための昇降機構の主要部の動きを示す工程説明図である。 図1の磁石におけるロッドのための昇降機構の主要部の動きを示す工程説明図である。 図1の磁石におけるロッドのための昇降機構の主要部の動きを示す工程説明図である。 本発明の戸当りの一実施の形態のプレートと鉤とが係合する工程を示す工程説明図である。 本発明の戸当りの一実施の形態のプレートと鉤とが係合する工程を示す工程説明図である。 本発明の戸当りの一実施の形態のプレートと鉤とが係合する工程を示す工程説明図である。 本発明の戸当りの他の実施の形態のプレートと鉤とが係合する工程を示す工程説明図である。 本発明の戸当りの他の実施の形態のプレートと鉤とが係合する工程を示す工程説明図である。 本発明の戸当りの他の実施の形態のプレートと鉤とが係合する工程を示す工程説明図である。 本発明に用いられる第2の突起を説明するための図である。 本発明に用いられるロッドの他の実施の形態を説明するための図である。 本発明に用いられるロッドの他の実施の形態の一例を示す図である。 本発明に用いられるロッドの他の実施の形態の動作を説明するための図である。 従来のドアの固定状態を示す説明図である。 従来の戸当りを示す説明図である。 従来の戸当りを示す説明図である。
符号の説明
1 台座部分
2 筐体
3 台座
4 プレート
5 鉤
5a 先端部
6 被押圧部
7 突起
8 ロッド
9 磁石
10 圧縮コイルバネ
11 裏蓋
12 係止体
13 突部
14 当接体
15 溝
16 表示部
17 第2の突起
18 収容部
19 ピン

Claims (9)

  1. 床面に固定された台座と、当該台座に旋回自在に取り付けられた磁性体からなるプレートと、ドアの下端部付近に固定された筐体と、該筐体の下部から前記ドアに沿って下方に延びる鉤と、該筐体内を上下方向に移動するロッドと、該ロッドの上端に一体的または別体として設けられ、該ロッドを上下させる被押圧部と、前記筐体内に設けられた磁石からなる戸当りであって、
    前記ロッドと前記被押圧部とが、共働機構を介して連結され、
    前記プレートに突起が設けられ、前記磁石によって前記プレートが持ち上げられ、前記被押圧部が押圧されたときに、前記突起と前記鉤とが係合することを特徴とする戸当り。
  2. 前記共働機構が、前記ロッドと前記被押圧部とを一体的に固定する固定手段であることを特徴とする請求項1記載の戸当り。
  3. 前記共働機構が、ラックとピニオンであることを特徴とする請求項1記載の戸当り。
  4. 前記共働機構が、ギアであることを特徴とする請求項1記載の戸当り。
  5. 前記共働機構が、圧縮コイルバネであることを特徴とする請求項1記載の戸当り。
  6. 前記プレートに第2の突起が設けられ、前記筐体の下部に前記第2の突起が収容される収容部が設けられてなる請求項1〜5のいずれかに記載の戸当り。
  7. 前記ロッドの下端が、テーパ状に湾曲した形状を呈することを特徴とする請求項1〜6のいずれかに記載の戸当り。
  8. 床面に固定された台座と、前記台座に旋回自在に取り付けられた磁性体からなるプレートと、ドアの下端部付近に固定された筐体と、該筐体内を上下方向に移動するロッドと、該ロッドの上端に連結され、ロッドを上下させる被押圧部と、前記筐体内に設けられた磁石からなる戸当りであって、
    前記ロッドの下端部に鉤が形成され、
    前記プレートに突起が形成され、前記磁石によって前記プレートが持ち上げられ、前記被押圧部が上方へ押し戻されたときに、前記突起と前記鉤とが係合することを特徴とする戸当り。
  9. 前記プレートに第2の突起が設けられ、前記筐体の下部に前記第2の突起が収容される収容部が設けられてなる請求項8記載の戸当り。
JP2008254521A 2008-08-08 2008-09-30 戸当り Active JP4889703B2 (ja)

Priority Applications (1)

Application Number Priority Date Filing Date Title
JP2008254521A JP4889703B2 (ja) 2008-08-08 2008-09-30 戸当り

Applications Claiming Priority (3)

Application Number Priority Date Filing Date Title
JP2008206324 2008-08-08
JP2008206324 2008-08-08
JP2008254521A JP4889703B2 (ja) 2008-08-08 2008-09-30 戸当り

Publications (2)

Publication Number Publication Date
JP2010059759A true JP2010059759A (ja) 2010-03-18
JP4889703B2 JP4889703B2 (ja) 2012-03-07

Family

ID=42186845

Family Applications (1)

Application Number Title Priority Date Filing Date
JP2008254521A Active JP4889703B2 (ja) 2008-08-08 2008-09-30 戸当り

Country Status (1)

Country Link
JP (1) JP4889703B2 (ja)

Citations (6)

* Cited by examiner, † Cited by third party
Publication number Priority date Publication date Assignee Title
JP2000080855A (ja) * 1998-09-03 2000-03-21 Oorisu Kk 戸の振れ止め装置
JP2003003720A (ja) * 2001-06-27 2003-01-08 Yagi:Kk 戸当り
JP2003049574A (ja) * 2001-08-07 2003-02-21 Nakao Seisakusho:Kk 扉位置決め装置
JP2004232269A (ja) * 2003-01-29 2004-08-19 Yagi:Kk 戸当り
JP2008057224A (ja) * 2006-08-31 2008-03-13 Nakao Seisakusho:Kk 扉位置決め装置
JP2008163621A (ja) * 2006-12-28 2008-07-17 Nagasaki Prefecture レバーハンドル錠

Patent Citations (6)

* Cited by examiner, † Cited by third party
Publication number Priority date Publication date Assignee Title
JP2000080855A (ja) * 1998-09-03 2000-03-21 Oorisu Kk 戸の振れ止め装置
JP2003003720A (ja) * 2001-06-27 2003-01-08 Yagi:Kk 戸当り
JP2003049574A (ja) * 2001-08-07 2003-02-21 Nakao Seisakusho:Kk 扉位置決め装置
JP2004232269A (ja) * 2003-01-29 2004-08-19 Yagi:Kk 戸当り
JP2008057224A (ja) * 2006-08-31 2008-03-13 Nakao Seisakusho:Kk 扉位置決め装置
JP2008163621A (ja) * 2006-12-28 2008-07-17 Nagasaki Prefecture レバーハンドル錠

Also Published As

Publication number Publication date
JP4889703B2 (ja) 2012-03-07

Similar Documents

Publication Publication Date Title
US7481471B2 (en) Child safety barrier with a locking device
JP4889703B2 (ja) 戸当り
JP5329146B2 (ja) 戸当り
JP2008190314A (ja) 戸当り
JP4217028B2 (ja) 戸当り
JP2010013904A (ja) 扉開閉装置
JP3138329U (ja) 戸当り
JP3823090B2 (ja) 戸当り
JP4405693B2 (ja) 戸当り
JP3136212U (ja) 戸当り
JP3108006U (ja) 扉用保持金具
JP4011416B2 (ja) 戸当り
JP4902694B2 (ja) 戸当り
JP5285386B2 (ja) 戸当り
JP3940845B2 (ja) ドアストッパー
JP2004190298A (ja) 戸当り
JP2003328629A (ja) 戸当り
JP2004027553A (ja) 戸当り
JP3066126U (ja)
JP2003328628A (ja) 戸当り
JP2004027551A (ja) 戸当り
JP4093925B2 (ja) 戸当り
JP3156456U (ja) 戸当たり
JP2009034325A (ja) ゲーム機の施錠装置
JP3851888B2 (ja) 開き戸の閉止装置

Legal Events

Date Code Title Description
RD03 Notification of appointment of power of attorney

Free format text: JAPANESE INTERMEDIATE CODE: A7423

Effective date: 20100518

A977 Report on retrieval

Free format text: JAPANESE INTERMEDIATE CODE: A971007

Effective date: 20110711

A131 Notification of reasons for refusal

Free format text: JAPANESE INTERMEDIATE CODE: A131

Effective date: 20110726

A521 Request for written amendment filed

Free format text: JAPANESE INTERMEDIATE CODE: A523

Effective date: 20110830

A131 Notification of reasons for refusal

Free format text: JAPANESE INTERMEDIATE CODE: A131

Effective date: 20110920

A521 Request for written amendment filed

Free format text: JAPANESE INTERMEDIATE CODE: A523

Effective date: 20111111

TRDD Decision of grant or rejection written
A01 Written decision to grant a patent or to grant a registration (utility model)

Free format text: JAPANESE INTERMEDIATE CODE: A01

Effective date: 20111206

A01 Written decision to grant a patent or to grant a registration (utility model)

Free format text: JAPANESE INTERMEDIATE CODE: A01

A61 First payment of annual fees (during grant procedure)

Free format text: JAPANESE INTERMEDIATE CODE: A61

Effective date: 20111213

R150 Certificate of patent or registration of utility model

Ref document number: 4889703

Country of ref document: JP

Free format text: JAPANESE INTERMEDIATE CODE: R150

Free format text: JAPANESE INTERMEDIATE CODE: R150

FPAY Renewal fee payment (event date is renewal date of database)

Free format text: PAYMENT UNTIL: 20141222

Year of fee payment: 3

R250 Receipt of annual fees

Free format text: JAPANESE INTERMEDIATE CODE: R250

R250 Receipt of annual fees

Free format text: JAPANESE INTERMEDIATE CODE: R250

R250 Receipt of annual fees

Free format text: JAPANESE INTERMEDIATE CODE: R250

R250 Receipt of annual fees

Free format text: JAPANESE INTERMEDIATE CODE: R250