JP2010057968A - 外科手術接近システム - Google Patents

外科手術接近システム Download PDF

Info

Publication number
JP2010057968A
JP2010057968A JP2009284152A JP2009284152A JP2010057968A JP 2010057968 A JP2010057968 A JP 2010057968A JP 2009284152 A JP2009284152 A JP 2009284152A JP 2009284152 A JP2009284152 A JP 2009284152A JP 2010057968 A JP2010057968 A JP 2010057968A
Authority
JP
Japan
Prior art keywords
surgical
target site
retractor
corridor
surgical target
Prior art date
Legal status (The legal status is an assumption and is not a legal conclusion. Google has not performed a legal analysis and makes no representation as to the accuracy of the status listed.)
Granted
Application number
JP2009284152A
Other languages
English (en)
Other versions
JP5124556B2 (ja
Inventor
Patrick Miles
ジェフリー(死亡) ブルーイット
パトリック マイルズ
Scott Martinelli
スコット マルティネリ
Eric Finley
エリック フィンレー
Jared Arambula
ジェイレッド アランブラ
James Gharib
ジェイムズ ガーリブ
Allen Farquhar
アレン ファークヮー
Norbert Kaula
ノルベルト カウラ
Current Assignee (The listed assignees may be inaccurate. Google has not performed a legal analysis and makes no representation or warranty as to the accuracy of the list.)
Nuvasive Inc
Original Assignee
Nuvasive Inc
Priority date (The priority date is an assumption and is not a legal conclusion. Google has not performed a legal analysis and makes no representation as to the accuracy of the date listed.)
Filing date
Publication date
Family has litigation
First worldwide family litigation filed litigation Critical https://patents.darts-ip.com/?family=34393117&utm_source=google_patent&utm_medium=platform_link&utm_campaign=public_patent_search&patent=JP2010057968(A) "Global patent litigation dataset” by Darts-ip is licensed under a Creative Commons Attribution 4.0 International License.
Application filed by Nuvasive Inc filed Critical Nuvasive Inc
Publication of JP2010057968A publication Critical patent/JP2010057968A/ja
Application granted granted Critical
Publication of JP5124556B2 publication Critical patent/JP5124556B2/ja
Anticipated expiration legal-status Critical
Expired - Lifetime legal-status Critical Current

Links

Images

Classifications

    • AHUMAN NECESSITIES
    • A61MEDICAL OR VETERINARY SCIENCE; HYGIENE
    • A61BDIAGNOSIS; SURGERY; IDENTIFICATION
    • A61B5/00Measuring for diagnostic purposes; Identification of persons
    • A61B5/05Detecting, measuring or recording for diagnosis by means of electric currents or magnetic fields; Measuring using microwaves or radio waves
    • AHUMAN NECESSITIES
    • A61MEDICAL OR VETERINARY SCIENCE; HYGIENE
    • A61BDIAGNOSIS; SURGERY; IDENTIFICATION
    • A61B17/00Surgical instruments, devices or methods
    • A61B17/02Surgical instruments, devices or methods for holding wounds open, e.g. retractors; Tractors
    • A61B17/0206Surgical instruments, devices or methods for holding wounds open, e.g. retractors; Tractors with antagonistic arms as supports for retractor elements
    • AHUMAN NECESSITIES
    • A61MEDICAL OR VETERINARY SCIENCE; HYGIENE
    • A61BDIAGNOSIS; SURGERY; IDENTIFICATION
    • A61B1/00Instruments for performing medical examinations of the interior of cavities or tubes of the body by visual or photographical inspection, e.g. endoscopes; Illuminating arrangements therefor
    • A61B1/06Instruments for performing medical examinations of the interior of cavities or tubes of the body by visual or photographical inspection, e.g. endoscopes; Illuminating arrangements therefor with illuminating arrangements
    • AHUMAN NECESSITIES
    • A61MEDICAL OR VETERINARY SCIENCE; HYGIENE
    • A61BDIAGNOSIS; SURGERY; IDENTIFICATION
    • A61B1/00Instruments for performing medical examinations of the interior of cavities or tubes of the body by visual or photographical inspection, e.g. endoscopes; Illuminating arrangements therefor
    • A61B1/32Devices for opening or enlarging the visual field, e.g. of a tube of the body
    • AHUMAN NECESSITIES
    • A61MEDICAL OR VETERINARY SCIENCE; HYGIENE
    • A61BDIAGNOSIS; SURGERY; IDENTIFICATION
    • A61B17/00Surgical instruments, devices or methods
    • A61B17/02Surgical instruments, devices or methods for holding wounds open, e.g. retractors; Tractors
    • AHUMAN NECESSITIES
    • A61MEDICAL OR VETERINARY SCIENCE; HYGIENE
    • A61BDIAGNOSIS; SURGERY; IDENTIFICATION
    • A61B17/00Surgical instruments, devices or methods
    • A61B17/02Surgical instruments, devices or methods for holding wounds open, e.g. retractors; Tractors
    • A61B17/0218Surgical instruments, devices or methods for holding wounds open, e.g. retractors; Tractors for minimally invasive surgery
    • AHUMAN NECESSITIES
    • A61MEDICAL OR VETERINARY SCIENCE; HYGIENE
    • A61BDIAGNOSIS; SURGERY; IDENTIFICATION
    • A61B17/00Surgical instruments, devices or methods
    • A61B17/02Surgical instruments, devices or methods for holding wounds open, e.g. retractors; Tractors
    • A61B17/025Joint distractors
    • AHUMAN NECESSITIES
    • A61MEDICAL OR VETERINARY SCIENCE; HYGIENE
    • A61BDIAGNOSIS; SURGERY; IDENTIFICATION
    • A61B5/00Measuring for diagnostic purposes; Identification of persons
    • A61B5/103Measuring devices for testing the shape, pattern, colour, size or movement of the body or parts thereof, for diagnostic purposes
    • A61B5/11Measuring movement of the entire body or parts thereof, e.g. head or hand tremor or mobility of a limb
    • A61B5/1104Measuring movement of the entire body or parts thereof, e.g. head or hand tremor or mobility of a limb induced by stimuli or drugs
    • AHUMAN NECESSITIES
    • A61MEDICAL OR VETERINARY SCIENCE; HYGIENE
    • A61BDIAGNOSIS; SURGERY; IDENTIFICATION
    • A61B5/00Measuring for diagnostic purposes; Identification of persons
    • A61B5/24Detecting, measuring or recording bioelectric or biomagnetic signals of the body or parts thereof
    • A61B5/25Bioelectric electrodes therefor
    • A61B5/279Bioelectric electrodes therefor specially adapted for particular uses
    • A61B5/296Bioelectric electrodes therefor specially adapted for particular uses for electromyography [EMG]
    • AHUMAN NECESSITIES
    • A61MEDICAL OR VETERINARY SCIENCE; HYGIENE
    • A61BDIAGNOSIS; SURGERY; IDENTIFICATION
    • A61B5/00Measuring for diagnostic purposes; Identification of persons
    • A61B5/24Detecting, measuring or recording bioelectric or biomagnetic signals of the body or parts thereof
    • A61B5/316Modalities, i.e. specific diagnostic methods
    • A61B5/389Electromyography [EMG]
    • AHUMAN NECESSITIES
    • A61MEDICAL OR VETERINARY SCIENCE; HYGIENE
    • A61BDIAGNOSIS; SURGERY; IDENTIFICATION
    • A61B5/00Measuring for diagnostic purposes; Identification of persons
    • A61B5/48Other medical applications
    • A61B5/4887Locating particular structures in or on the body
    • A61B5/4893Nerves
    • AHUMAN NECESSITIES
    • A61MEDICAL OR VETERINARY SCIENCE; HYGIENE
    • A61BDIAGNOSIS; SURGERY; IDENTIFICATION
    • A61B90/00Instruments, implements or accessories specially adapted for surgery or diagnosis and not covered by any of the groups A61B1/00 - A61B50/00, e.g. for luxation treatment or for protecting wound edges
    • A61B90/36Image-producing devices or illumination devices not otherwise provided for
    • A61B90/37Surgical systems with images on a monitor during operation
    • AHUMAN NECESSITIES
    • A61MEDICAL OR VETERINARY SCIENCE; HYGIENE
    • A61NELECTROTHERAPY; MAGNETOTHERAPY; RADIATION THERAPY; ULTRASOUND THERAPY
    • A61N1/00Electrotherapy; Circuits therefor
    • A61N1/02Details
    • A61N1/04Electrodes
    • A61N1/05Electrodes for implantation or insertion into the body, e.g. heart electrode
    • A61N1/0551Spinal or peripheral nerve electrodes
    • AHUMAN NECESSITIES
    • A61MEDICAL OR VETERINARY SCIENCE; HYGIENE
    • A61BDIAGNOSIS; SURGERY; IDENTIFICATION
    • A61B17/00Surgical instruments, devices or methods
    • A61B2017/00017Electrical control of surgical instruments
    • A61B2017/00022Sensing or detecting at the treatment site
    • A61B2017/00039Electric or electromagnetic phenomena other than conductivity, e.g. capacity, inductivity, Hall effect
    • AHUMAN NECESSITIES
    • A61MEDICAL OR VETERINARY SCIENCE; HYGIENE
    • A61BDIAGNOSIS; SURGERY; IDENTIFICATION
    • A61B17/00Surgical instruments, devices or methods
    • A61B2017/0046Surgical instruments, devices or methods with a releasable handle; with handle and operating part separable
    • A61B2017/00473Distal part, e.g. tip or head
    • AHUMAN NECESSITIES
    • A61MEDICAL OR VETERINARY SCIENCE; HYGIENE
    • A61BDIAGNOSIS; SURGERY; IDENTIFICATION
    • A61B17/00Surgical instruments, devices or methods
    • A61B17/02Surgical instruments, devices or methods for holding wounds open, e.g. retractors; Tractors
    • A61B17/025Joint distractors
    • A61B2017/0256Joint distractors for the spine
    • AHUMAN NECESSITIES
    • A61MEDICAL OR VETERINARY SCIENCE; HYGIENE
    • A61BDIAGNOSIS; SURGERY; IDENTIFICATION
    • A61B17/00Surgical instruments, devices or methods
    • A61B17/02Surgical instruments, devices or methods for holding wounds open, e.g. retractors; Tractors
    • A61B17/025Joint distractors
    • A61B2017/0256Joint distractors for the spine
    • A61B2017/0262Joint distractors for the spine with a provision for protecting nerves
    • AHUMAN NECESSITIES
    • A61MEDICAL OR VETERINARY SCIENCE; HYGIENE
    • A61BDIAGNOSIS; SURGERY; IDENTIFICATION
    • A61B2505/00Evaluating, monitoring or diagnosing in the context of a particular type of medical care
    • A61B2505/05Surgical care
    • AHUMAN NECESSITIES
    • A61MEDICAL OR VETERINARY SCIENCE; HYGIENE
    • A61BDIAGNOSIS; SURGERY; IDENTIFICATION
    • A61B2560/00Constructional details of operational features of apparatus; Accessories for medical measuring apparatus
    • A61B2560/04Constructional details of apparatus
    • A61B2560/0443Modular apparatus
    • A61B2560/045Modular apparatus with a separable interface unit, e.g. for communication
    • YGENERAL TAGGING OF NEW TECHNOLOGICAL DEVELOPMENTS; GENERAL TAGGING OF CROSS-SECTIONAL TECHNOLOGIES SPANNING OVER SEVERAL SECTIONS OF THE IPC; TECHNICAL SUBJECTS COVERED BY FORMER USPC CROSS-REFERENCE ART COLLECTIONS [XRACs] AND DIGESTS
    • Y10TECHNICAL SUBJECTS COVERED BY FORMER USPC
    • Y10STECHNICAL SUBJECTS COVERED BY FORMER USPC CROSS-REFERENCE ART COLLECTIONS [XRACs] AND DIGESTS
    • Y10S606/00Surgery
    • Y10S606/907Composed of particular material or coated
    • Y10S606/909Bone

Landscapes

  • Health & Medical Sciences (AREA)
  • Life Sciences & Earth Sciences (AREA)
  • Surgery (AREA)
  • Engineering & Computer Science (AREA)
  • General Health & Medical Sciences (AREA)
  • Public Health (AREA)
  • Heart & Thoracic Surgery (AREA)
  • Veterinary Medicine (AREA)
  • Biomedical Technology (AREA)
  • Animal Behavior & Ethology (AREA)
  • Molecular Biology (AREA)
  • Medical Informatics (AREA)
  • Nuclear Medicine, Radiotherapy & Molecular Imaging (AREA)
  • Pathology (AREA)
  • Physics & Mathematics (AREA)
  • Biophysics (AREA)
  • Radiology & Medical Imaging (AREA)
  • Neurology (AREA)
  • Oral & Maxillofacial Surgery (AREA)
  • Optics & Photonics (AREA)
  • Neurosurgery (AREA)
  • Cardiology (AREA)
  • Chemical & Material Sciences (AREA)
  • Bioinformatics & Cheminformatics (AREA)
  • Medicinal Chemistry (AREA)
  • Physiology (AREA)
  • Dentistry (AREA)
  • Orthopedic Medicine & Surgery (AREA)
  • Gynecology & Obstetrics (AREA)
  • Surgical Instruments (AREA)
  • Measurement And Recording Of Electrical Phenomena And Electrical Characteristics Of The Living Body (AREA)

Abstract

【課題】従来のシステムは、連続拡張接近システムに対する器具操作性を向上させるために設けられているが、拡張自在部の配備が外科手術標的部位に隣接する敏感な組織を不注意にも圧迫し、或いは、前記組織に衝突することがある。
【解決手段】本発明は、外科手術標的部位に接近するシステムであって、複数のブレードがハンドル組立体に着脱自在に連結された牽引子組立体を備え、前記複数のブレードは、閉位置に置かれたままで外科手術標的部位に同時に前進させることができ、その後で、選択的に開かれて、外科手術標的部位に至る個別に調整された手術回廊を設けるようにしたことを特徴としている。
【選択図】図1

Description

(関連出願の相互参照)
本願は、特許権者を同じくする同時係属出願である米国特許仮出願連続番号第60/506,136号(2003年9月25日出願)の国際特許出願であるとともに、該仮出願の優先権を主張するものであり、該仮出願の全文は、本件に完全に明示している訳ではないが完全に明示したが如く、引例に挙げることにより特に本件開示の一部をなすものとする。本願はまた、次に挙げる、本願の同時係属特許出願および同一譲受人に譲渡された特許出願を引例に挙げることにより、それぞれの全体を一部に組み入れたものとする。すなわち、2002年7月11日出願の「外科手術中に神経接近度、神経方向、および、神経病状を判断するためのシステムおよび方法(System and Method for Determining Nerve Proximity, Direction, and Pathology During Surgery)」という名称のPCT出願連続番号PCT/US02/22247号、2002年9月25日出願の「外科手術処置と査定を実施するためのシステムおよび方法(System and Methods for Performing Surgical Procedures and Assessments)」という名称のPCT出願連続番号PCT/US02/30617号、2002年10月30日出願の「経皮的椎弓根保全査定を実施するためのシステムおよび方法(System and Methods for Performing Percutaneous Pedicle Integrity Assessments)」という名称のPCT出願連続番号PCT/US02/35047号、2003年1月15日出願の「外科手術器具に対する神経方向を判断するためのシステムおよび方法(System and Methods for Determining Nerve Direction to a Surgical Instrument)」という名称のPCT出願連続番号PCT/US03/02056号である(総括的に、「ニューロ・ビジョン(Neuro Vision )PCT出願」と称する)。
(発明の技術分野)
本発明は、広義には、外科手術処置を実施するシステムに関するものである。特に、本発明は、外科手術処置を実施するために外科手術標的部位に接近(アクセス)するためのシステムに関連するものである。
医療界で顕著な趨勢は、観血を最小限にした技術または最小限の接近技術を選んで、伝統的な「切開」技術による外科手術を避ける方向にある。切開外科手術技術は、一般に、大きな切開部と大量の組織転移により外科手術標的部位に接近しなければならないのが通例であり、これが同時に多大な苦痛と、長期化する入院(嵩む医療費)と、患者集団内での高い感染罹患率とを生じるという点で望ましくない。観血が少なくて済む外科手術技術(いわゆる、「最小接近」技術および「観血を最小限に抑えた」技術など)が選択されつつあるのは、実質的に切開部の寸法をより小さくしながら、同時に、組織転移が相当に少なくて済むという要件で外科手術標的部位へ接近するという事実によるものである。これが、今度は、そのような処置に付随する苦痛、罹患率、それに、医療費を低減することになる。しかし、今日までに開発されてきた接近システムは、多数の点で医者集団の必要の全てを満たし損なっている。
先行技術の外科手術接近システムに付随する欠点の1つは、特定の外科手術標的部位次第では、手術回廊を簡単に設けることができるうえに、時間を経ても簡単に維持管理できる、その簡便さに関連している。例えば、筋肉組織またはそれ以外の比較的強度のある組織の下または背後に位置する外科手術標的部位(具体例にすぎないが、脊柱に隣接する腰筋など)に接近している最中に、かかる組織を通して直接的に手術回廊確立用器具を前進させることはやりがいのある事であり、かつ/または、要らぬ効果または望ましくない結果(組織に応力を加える、組織に裂傷を与える等)となる恐れもあることが分かっている。(具体例にすぎないが)フォレイ(Foley)らに交付された米国特許第5,792,044号(特許文献1)の連続拡張システムなどのように、手術回廊を設けながら組織への外傷を緩和する或る程度の努力も取られているが、それにも関わらず、このような試みは比較的狭い手術回廊を基礎とする適用可能性については限りがある。より詳細に説明すると、いわゆる「作業カニューレ」の略円筒の本質に基づくと、器具の操作可能性の程度および/またはカニューレ内での角度設定の程度は一般に制限され、或いは、抑制され、外科手術標的部位が患者の体内の比較的深部である場合は特にそうなる。
この欠点を克服するために努力が企てられており、例えば、ディポート(DiPoto)に交付された米国特許第6,524,320号(特許文献2)などがあるが、この特許では、カニューレの遠位端に拡張自在部が設けられて、外科手術標的部位に隣接している断面積が他より大きくなっている領域を作っている。
米国特許第5,792,044号 米国特許第6,524,320号
このシステムは連続拡張接近システムに対する器具操作性を向上させる(少なくとも患者体内の深部で)ために設けられているが、それでも、拡張自在部の配備が外科手術標的部位に隣接する敏感な組織を不注意にも圧迫してしまうことがある、或いは、該組織に衝突することがあるという点で欠点がある。例えば、神経構造および/または血管構造を有する解剖学的領域では、視認できないまま拡張が起こることで、拡張部が敏感な組織に衝突し、患者に対して神経および/または血管の妥協的損傷、破損、および/または、痛みを生じてしまうことがある。
このことは、従来の外科手術接近システムについてまた別な欠点を際立たせてしまうが、すなわち、接触したり、衝突したりすれば、患者に神経損傷を生じかねない主要神経構造を有する組織内またはその付近に手術回廊を確立しようという果敢な取り組みのことである。そのような神経構造に接触することを恐れて、これまでのところ、神経構造がほとんど存在しないか、或いは、実質的に神経構造の量が他より少ない組織を貫いて手術回廊を確立することに対してはかなりの制約があり、これのせいで、所与の外科手術標的部位に接近することのできる方法の数は、実効的に、限られている。これは、具体例にすぎないが、脊髄関連の技術で見られることであり、腰筋における既存の神経根と神経叢構造が腰部脊椎に至る側方接近路または遠側方接近路(いわゆる、経腰筋アプローチ)を、事実上、不可能にしてきた。その代わり、脊椎関連の外科医は後方から脊柱に接近すること(他の処置の中でも、とりわけ、後腰椎体間癒着(PLIF)を実施するため)、或いは、前方から脊柱に接近すること(他の処置の中でも、とりわけ、前腰椎体間癒着(ALIF)を実施するため)については、かなり制約を受ける。
後接近処置は、後骨構造(すなわち、椎弓板、脊椎間接突起、棘突起など)の一部を削減または切除して、標的部位(通例は椎間板空間を含む)に達するようにしなければならないことが多いという代価を払ってでも、他方向接近より短い距離だけ患者の体内を横断して、手術回廊を確立しようとする段階を含む。前接近処置は、外科手術標的部位に達するのに、骨構造を削減または切除することを含まないという点で、医者にとっては、比較的、簡単である。しかしながら、それにも関わらず、前接近処置が不利なのは、手術回廊を確立するのに、患者体内の遥かに長い距離を貫いて縦断する必要があり、手術回廊を設けるために多様な体内器官を邪魔にならない脇に移動させるにあたり、別な医者の支援を必要とすることが多いという点である。
本発明は、先行技術の上述の欠点を排除し、或いは、かかる欠点の影響を少なくとも最小限に抑えることを目的とする。
本発明は、接触または衝突があった場合には、患者に対して神経損傷を生じてしまう結果となりかねない神経構造を有する多様な組織のいずれであれ、該組織を貫く(または、該組織の付近に延びる)手術回廊を確立する前、確立する間、確立した後に神経構造が存在していること(および、任意として、神経組織までの距離、および/または、神経組織に対する方向)を看破する段階を含む新規な接近システムおよびそれに関連する方法を提供することにより、上記目的を達成する。脊椎外科手術における用途に関連して本件で詳しく説明されるが、本発明の接近システムは、重要な神経構造を有している組織の中を貫いて(または、該組織の付近を)通過させて手術回廊を確立するように図ったものであれば、何種類の付加的外科手術処置であれ、かかる外科手術処置における使用に適していることに、特に、注目するべきである。
本発明の1つの広い局面によれば、接近システムは組織伸延組立体と組織牽引子(開創)組立体から構成されており、両組立体に神経構造が存在すること(および、任意で、神経構造までの距離および/または神経構造に対する方向)を検出する際に使用するための1個以上の電極が装備されている。組織伸延組立体(組織牽引子組立体の1個以上の電極に関連づけられている)は、初期段階として、患者の皮膚と外科手術部位との間の組織の領域を延展(伸延)させることができる。組織牽引子組立体は、第2段階として、この延展(伸延)領域に導入されて、手術回廊の外郭を定めて、確立することができる。手術回廊が確立されてしまうと、所与の外科手術処置次第で、多様な外科手術器具、装置、または、移植片がどんなものあれ、手術回廊内を通され、かつ/または、手術回廊内で操作される。電極(単数または複数)は、組織延展(伸延)および組織介開創の間、神経構造が存在していること(および、任意で、神経構造までの距離および/または神経構造に対する方向)を検出することで、接触または衝突した場合に、患者に対して神経損傷を生じかねない神経構造を有している多様な組織を貫いて(または、かかる組織の近辺に)手術回廊を確立することができるようにする。このような態様で、本発明の接近システムは、普通なら危険または望ましくないと思われる組織を縦断するために使用されて、所与の外科手術標的部位に接近する態様の種類を拡大することができるようにしている。
組織伸延組立体は、必要な延展(伸延)を実施することができる構成要素であれば、何種類でも含むことができる。具体例にすぎないが、組織伸延組立体には、Kワイヤ、分岐構造の初期拡張器、従来型構造の(すなわち、非分岐構造の)1個以上の拡張器が設けられて必要な組織延展を実施し、その後で、残りの組織牽引子組立体を受け入れる。1個以上の電極が1個以上のKワイヤと拡張器に設けられて、組織延展の間、神経構造が存在していること(および、任意で、神経構造までの距離、および/または、神経構造に対する方向)を検出することができるようにしている。
組織牽引子組立体は、必要な開創を実施することができる構成要素なら、何種類でも備えていてもよい。具体例にすぎないが、組織牽引子組立体は、ハンドル組立体から延びている1個以上の牽引子ブレードを備えている。ハンドル組立体は、牽引子組立体を開くように操作され、すなわち、牽引子ブレードが互いから分離して、外科手術標的部位に至る手術回廊を設けることができるようにする。好ましい実施形態では、これは、後牽引子ブレードを外科手術標的部位に関して固定位置に維持する(後牽引子ブレードを脊椎の後構成要素付近に出ている神経根に衝突させてしまうことを回避するため)ことにより達成されるが、同時に、また別な牽引子ブレード(すなわち、最も頭方向のブレードと最も尾方向のブレード)を後牽引子ブレードから(互いからも)離れる方向に移動または並進させて、出ている神経根の領域を侵すことのない態様で手術回廊を設けるようにしている。
牽引子ブレードは、任意で、剛性の楔部材を受け入れるとともに、方向決めするように寸法設定されることで、牽引子ブレードの構造的安定性を補い、手術回廊が確立されてしまってからも、該回廊が小さくなることがなくなることを確実にし、或いはそれ以外に、牽引子ブレードの遠位端が転移された組織が及ぼす力に反応して「滑る」恐れがあるという制約、または他の態様で移動してしまう恐れがあるといったような制約がなくなることを確実にする。好ましい実施形態では、後牽引子ブレードのみに、上述のような楔部材が装備される。任意の局面で、後牽引子ブレードが設置された後で、しかも、牽引子が開いて十分に開創した位置へ移動する前に、この楔部材は椎間板空間内に前進させられる。剛性の楔部材は、椎間板空間内で配向されると、隣接する椎体を開創させるようにするのが好ましいが、これは、椎間板の高さを修復するように働く。楔部材はまた、椎間板空間内を十分な距離だけ前進するのが好ましいが(脊髄正中線を越えるのが好ましい)、これは、術後の脊柱側湾症を防止することと、保護障壁を形成すること(手術場に組織(神経根など)が移動して入り込むのを防止し、手術場の外側へ器具がうっかり出てしまうのを防止する)という、二重の目的に役立っている。
牽引子ブレードは、任意で、外科手術部位またはその付近に光を伝搬または放射し、所与の外科手術処置中に外科手術標的部位、器具、および/または、医者が移植片を視認化するのを助ける機構が装備されていてもよい。一実施形態によれば、この機構は、1個以上の光源を牽引子ブレードに接続して、それぞれに端部が外科手術標的部位またはその近辺に光を放射できるようにしたものを備えているが、これに限定されるわけではない。また別な実施形態によれば、この機構は、好適な素材の牽引子ブレードの構造と、光が牽引子ブレードの壁を概ね直接透過して光を伝搬して外科手術標的部位またはその付近を照らすようにした配置を備えているが、これに限定されるわけではない。これを実施する方法として、透光特性(透明なポリカーボネート構造に関するもののような)を有している牽引子ブレードを設け、牽引子ブレードの壁の内側ほぼ全体に光を伝搬し(例えば、霜白状にツヤ消しすること、または、外部および/または内部の各部を不透明にすること等により)、最終的には光が牽引子ブレードの内部表面(または内側に面している表面)に沿った部分から外に出るようにする手段がある。出口部分は、光が外科手術標的部位の略中心に向かわせられるような構成であるのが最適であり、また、牽引子ブレードの内周全体または該内周に沿った一箇所以上の部分に設けられる。
本発明による外科手術接近システムの一部を形成している組織牽引子(開創)組立体(使用時)の斜視図である。 本発明による牽引子の後牽引子ブレードと併用するための楔部材の前面を例示した斜視図である。 本発明による牽引子の後牽引子ブレードと併用するための楔部材の背面を例示した斜視図である。 本発明による牽引子の頭方向牽引子ブレードと尾方向牽引子ブレードのうちの一方と併用するための狭い牽引子拡張部材の前面を例示した斜視図である。 本発明による牽引子の頭方向牽引子ブレードと尾方向牽引子ブレードのうちの一方と併用するための幅の狭い牽引子拡張部材の背面を例示した斜視図である。 本発明による牽引子の頭方向牽引子ブレードと尾方向牽引子ブレードのうちの一方と併用するための幅の広い牽引子拡張部材の前面を例示した斜視図である。 本発明による牽引子の頭方向牽引子ブレードと尾方向牽引子ブレードのうちの一方と併用するための幅の広い牽引子拡張部材の前面を例示した斜視図である。 牽引子ブレードを使わない、本発明の牽引子組立体の斜視部分展開図である。 本発明による外科手術接近システムの一部を形成し、外科手術標的部位(すなわち、軟骨輪)まで延展する際に使用するための初期伸延組立体の構成要素(すなわち、Kワイヤ、ハンドル付きの初期拡張カニューレ、初期拡張カニューレ内に収容される分離拡張器)と用途を例示した斜視図である。 初期拡張カニューレおよびハンドルが取り外されている初期伸延組立体のKワイヤおよび分離拡張器を例示した斜視図である。 本発明の一局面による概ね頭方向−尾方向様式で延展する用途での、本発明の分離拡張器を例示した、脊椎標的部位の背面図である。 本発明による患者の皮膚と外科手術標的部位の間の組織を更に開創するための二次伸延組立体の使用法を例示した側面図である。 ハンドル組立体がそこから3本の牽引子ブレードが張り出し(背面方向、最頭方向、および、最尾方向)、図12の二次伸延組立体(第1の閉位置にあるのが例示されている)を覆って配置されているのを示した側面図である。 ハンドル組立体がそこから3本の牽引子ブレードが張り出し(背面方向、最頭方向、および、最尾方向)、図12の二次伸延組立体が取り外されて楔部材が導入されている、本発明による牽引子組立体の側面図である。 第2の開位置(すなわち、開創位置)に来ることで、外科手術標的部位に至る手術回廊を設けている、本発明による牽引子組立体の斜視図である。 第2の開位置(すなわち、開創位置)に来ることで、外科手術標的部位に至る手術回廊を設けている、本発明による牽引子組立体の頂面図である。 第2の開位置(すなわち、開創位置)に来て(二次伸延組立体は取り外されている)、図4および図5と図6および図7の牽引子拡張部材が牽引子に連結されている、本発明による牽引子組立体の斜視図である。 第2の開位置(すなわち、開創位置)に来て(二次伸延組立体は取り外されている)、図4および図5と図6および図7の牽引子拡張部材が牽引子に連結されている、本発明による牽引子組立体の側面図である。 本発明による外科手術接近システムを利用して外科手術標的部位に至る手術回廊を設ける前、その最中、その後に神経監視を実施することができる具体的な神経監視システムの斜視図である。 図19に例示されている神経監視システムのブロック図である。 図19の神経監視システムの使用中に使用者に通信される具体的な特性および情報を例示したスクリーン表示の図である。 図19の神経監視システムの使用中に使用者に通信される具体的な特性および情報を例示したスクリーン表示の別な図である。
本発明の利点の大半は添付の図面と関連させて本件明細書を読めば当業者には明白となり、添付図面では、同一構成要素には同一参照番号が付記されている。
本発明の例示の実施形態が以下に記載されている。明瞭にするために、本件明細書には実施形態の全特徴が記載されているわけではない。このような実施形態を開発するにあたり、無数の実施例固有の解決案を出して開発者の特殊な目標を達成しなければならず、例えば、システム関連の規制やビジネス関連の規制とのコンプライアンスを解決しなければならないが、これらは、実施例ごとに変わるものであることは、勿論、分かることである。更に、かかる開発努力は複雑かつ時間を要し、それでいて尚、本件開示のおかげで当業者が取組めば容易に請負える仕事であることも分かる。後段では主として脊椎外科手術に関連して説明してゆくが、本発明の外科手術接近システムは体内を通る何種類の異なる外科手術標的部位にでも接近できるような解剖学的設定なら、多数の設定で採用することができるということも、容易に分かる。本件に開示されている外科手術接近システムは、個別でも組合わせでも、その両方で特許権保護を保障する多様な進歩性に優れた特徴および構成要件を誇っている。
本発明は、外科手術標的部位に至る手術回廊を確立するために、従来の「切開」外科手術よりもむしろ観血がより少ない様式で外科手術標的部位に接近(アクセス)し、しかも、該標的部位を通らなければならない(または、その付近で延びていなければならない)神経構造に顧慮せずに接近する態様でそうする段階を含む。概して、これを達成するのに本発明の外科手術接近システムは、組織伸延組立体と組織開創組立体を設け、その両方に1個以上の電極を装備して、神経構造が存在していること(および、任意で、神経構造までの距離、および/または、神経構造に対する方向)を検出する用途に付すようにした手段を用いる。
このような電極は、先に例として挙げた、本件と同時係属でかつ譲受人を同じくする「ニューロ・ビジョン(Neuro Vision )PCT出願」に例示および記載されているタイプのもののような神経監査システムと併用するために設けられるのが好ましいが、この出願の内容全体は、その全文が本件明細書に明示されている訳ではないが、全文が明示されている如くに、特に本件の一部をなすものとして、ここに援用する。概して、この神経監査システムは、神経が存在していることを検出するにあたり、器具に刺激信号を印加して、神経に付随する神経筋単位から発生した筋電図(EMG)信号が本発明の伸延システムおよび開創システムによって送られるのを監視することにより、組織の延展および開創の間、神経構造が存在していること(および、任意で、神経構造までの距離および/または神経構造に対する方向)を検出することができる。そうする際には、システムは、全体として(本発明の外科手術接近システムを備えている)、神経構造を有している多様な組織のいずれであれ、そこを貫通して(またはその付近に)手術回廊を形成するために使用されるが、特にこのような組織は、接触または衝突した場合には、患者に神経損傷を生じる結果となりかねない。このような態様で、本発明の接近システムを利用して、普通なら危険または望ましくないと思われる組織を縦断することで、所与の外科手術標的部位に接近する態様の種類を拡大することができる。
本発明の組織伸延組立体(Kワイヤ、初期拡張器、初期拡張器内に配置された分離拡張器を備えている)は、患者の皮膚と所与の外科手術標的部位の間(標的椎間板の後ろ領域に沿っているのが好ましい)に延在している組織を延展させるために使用される。二次伸延組立体(すなわち、複数の連続拡張式カニューレ)は、任意で、初期伸延組立体の後で使用されて、組織を更に延展させることができる。一旦、延展されてしまうと、患者の体内に結果として生じる空隙または延展領域は、本発明の組織開創組立体を収容するのに十分な寸法になる。より詳細に説明すると、組織開創組立体(ハンドル組立体から張り出している複数の牽引子ブレードを備えている)は二次伸延組立体に相関的に前進させられて、第1の閉位置にある牽引子ブレードが二次伸延組立体の外装の上を伝って前進させられるようにすることができる。その時点で、ハンドル組立体が作動状態になって牽引子ブレードを第2の開位置すなわち(開創位置)に移動させて、外科手術標的部位に至る手術回廊を設けることができる。
本発明の一局面によれば、このような開創の後で(または、その前に)、後楔部材(後牽引子ブレードと滑動自在に嵌合するのが好ましい)を前進させて、遠位楔部材延長部が椎間板空間の背部領域内に設置されるようにすることができる。これは、開創前に行われた場合は、開創プロセスの間に後牽引子ブレードが後方に移動しないことを確実にするのに役立つが、但し、残りの牽引子ブレード(すなわち、最頭方向ブレードと最尾方向ブレード)は移動することができて、手術回廊を作ることができる。この態様で後牽引子ブレードを固定することは、幾つかの重要な機能を果たす。まず第一に、楔部材の遠位端は隣接する椎体を延展させるように働くことで、椎間板の高さを修復する。該遠位端はまた、後牽引子ブレードを椎体に対して固定位置に堅固に接続する。後楔部材はまた、手術回廊内で使用される外科手術器具が前進により手術回廊の外にでることを不可能にし、外科手術の間中、出ている神経根とうっかり接触するのを防止することを確実にするのに役立つ。一旦、適切な開創状態になると、最頭方向牽引子ブレードと最尾方向牽引子ブレードが適所にロックされ、その後、牽引子拡張部材がそこに沿って前進させられ、器具または生物構造(すなわち、神経、血管など)が手術回廊に出入りするのを阻止することができる。手術回廊が確立されてしまうと、多様な外科手術器具、装置、移植片のどんなものであれ、所与の外科手術処置次第で、手術回廊内を通過させることができ、かつ/または、該回廊内で操作することができる。
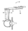
図1は、本発明による外科手術接近(アクセス)システムの一部を形成している組織開創(牽引子)組立体10を例示している。開創組立体10は複数の牽引子ブレードがハンドル組立体20から張り出している。具体例として、ハンドル組立体10には第1牽引子ブレード12、第2牽引子ブレード16、および、第3牽引子ブレード18が設けられている。牽引子組立体10は十分な開創形状すなわち「開」形状にあるのが例示されているが、同時に、牽引子ブレード12、16、18が互いから等距離に設置されて、それぞれの中間に外科手術標的部位(例えば、椎間板の軟骨輪など)まで延びている手術回廊15を形成する。3ブレード構造に関して後段に例示および説明するが、本発明の範囲から逸脱せずに、牽引子ブレードの数が増減する場合もあることは容易に分かる。更に、脊柱の外科手術標的部位へ略側方に近づくことに言及しながら本件の説明と例示を行うが(第1ブレード13は「後ろ」ブレードで、第2ブレード16は「最頭方向の」ブレードで、第3ブレード18は「最尾方向の」ブレードである)、本発明の牽引子組立体10は何種類の異なる外科手術標的接近法で用途を見出してもかまわないが、この中には、略後方標的接近、略後側方標的接近、略前方標的接近、略前側方標的接近などの接近法がある。
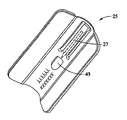
牽引子(リトラクタ)ブレード12、16、18は多様な付加的特長または付加的構成要素が装備されていてもよい。具体例にすぎないが、後牽引子ブレード12には楔部材22が装備されている(図2および図3により明瞭に例示されている)。楔部材22は隣接する椎体を延展するように働き(それにより、椎間板の高さを修復し)、外科手術標的部位に対して牽引子組立体10を固着するのを助け、保護障壁を形成して器具または生物構造(すなわち、神経、血管など)が手術回廊に出入りするのを阻止する。残余の牽引子ブレード(最頭方向ブレード16と最尾方向ブレード18)は各々に、図4および図5に例示されている幅の狭い牽引子拡張部材24か、または、図6および図7に例示されている幅の広い牽引子拡張部材25のような牽引子拡張部材が装備されている。牽引子拡張部材24、25は最頭方向ブレード16および最尾方向ブレード18から伸張して、器具または生物構造(すなわち、神経、血管など)が手術回廊15に出入りするのを阻止する。
本発明によれば、牽引子ブレード12、16、18、楔部材22、および/または、牽引子拡張部材24、25のいずれかまたは全部に、1個以上の電極39が設けられており(それぞれの遠位領域に設けられるのが好ましい)、この電極は、具体例として、「ニューロ・ビジョン(Neuro Vision )PCT出願」に例示および記載されている種類のもののような神経監視システムと併用するように装備されている。楔部材22および/または牽引子拡張部材24、25にも、各々に、牽引子ブレード12、16、18それぞれと選択的かつ着脱自在に係合する機構が装備されている。具体例にすぎないが、これは、楔部材22および/または牽引子拡張部材24、25のタブ部材27が牽引子ブレード12、16、18の内向き面に沿って対応するラチェット状の溝(図1に参照番号29と示されている)と嵌合することができるような構造にすることにより達成される。楔部材22および/または牽引子拡張部材24、25は各々に、具体例にすぎないが、断面形状が概ね鳩の尾の形状になった、1対の嵌合部材37が設けられている。嵌合部材37の寸法は、牽引子ブレード12、16、18それぞれの受容部と嵌合するように設定されている。好ましい実施形態では、楔部材22および/または牽引子拡張部材24、25は各々に、挿入器具(図示せず)と嵌合するようにした細長いスロット43が設けられている。タブ部材27にも、各々に細長い歯部材49が装備されており、この部材が、牽引子ブレード12、16、18の内面に沿って設けられた対応する溝29の内側で噛合する。
ハンドル組立体20は任意の個数の機構に連結されるが、この機構は、手術台に搭載された連接アームを使用すること等によって、手術部位に対して固定関係でハンドル組立体20を堅固に整合させるためのものである。ハンドル組立体20の第1アーム部材26および第2アーム部材28は、全体で参照番号30と図示されている連結機構により、ヒンジで連結されている。最頭方向牽引子ブレード16は第1アーム部材26の端部に堅固に(略垂直に)連結されている。最尾方向牽引子ブレード18は、第2アーム部材28の端部に堅固に(略垂直に)連結されている。後牽引子ブレード12は並進部材17に堅固に(略垂直に)連結されているが、この部材は、概ね参照番号14と例示されている連結組立体によってハンドル部材20に連結されている。連結組立体14は、1対の手動ノブ部材36を設けたローラー部材34を備えており、このローラー部材34は、使用者による手動動作によって回転させられると、そこに設けられた歯35を並進部材17のラチェット状溝37の内側に噛合させる。従って、ノブ36の手動動作により、並進部材17は第1アーム部材26および第2アーム部材28と相対運動させられる。
ハンドル拡張部材31、33(図8)を使用することにより、アーム26、28が同時に開かされ、最頭方向牽引子ブレード16と最尾方向牽引子ブレード18が互いから離れる方向に移動する。この態様で、手術回廊15の寸法および/または形状は、並進部材17がアーム26、28に対して操作される程度に依存して、特別仕立てにすることができる。すなわち、手術回廊15は、何種類の好適な断面形状を設けるように調整されてもよく、例えば、略円形断面、略楕円形断面、および/または、長円断面などがあるが、これらに限定されるわけではない。任意の光発射装置39が1個以上の牽引子ブレード12、16、18に連結されて、光を手術回廊15に向けることができる。
図9は、初期伸延組立体40が本発明による外科手術接近システムの一部を形成しているのを例示している。初期伸延組立体40はKワイヤ42、ハンドル46を設けた初期拡張カニューレ44、および、初期拡張カニューレ44内に収容されている分離拡張器48を備えている。使用に際して、Kワイヤ42および分離拡張器48は初期拡張カニューレ44の内部に配置されており、組立体40の全体が外科手術標的部位(すなわち、軟骨輪)に向けて組織内を前進させられる。ここでもまた、これを達成する際には、上述の神経検出および/または方向付け特性を採用するのが好ましい。初期拡張組立体40が前進させられて、分離拡張器48と初期拡張器44の遠位端が椎間板空間内に位置決めされた後で(図9)、初期拡張器44とハンドル46が取り外されることで(図10)、分離拡張器48とKワイヤ42を適所に残存させる。図11に例示されているように、その後、分離拡張器48は分離されて、半分体48a、48bそれぞれが互いに離隔され、標的部位に対して概ね頭方向−尾方向の態様で組織を延展させる。その後、分離拡張器48は緩められて(拡張器の半分体48a、48bを一緒に合わせることができる)、拡張器半分体48a、48bが前−後平面に配置されるように回転させられる。拡張器半分体48a、48bは、このような態様で、一旦、回転させられてしまうと、再度分離させられて、概ね前−後の態様で組織を延展させる。拡張器半分体48a、48bは、本発明によれば、各々に1個上の電極が設けられて(それぞれの遠位領域に設けられるのが好ましい)、この電極は、具体例として、「ニューロ・ビジョン(Neuro Vision )PCT出願」に例示および記載されているような種類のもののような神経監視システムと併用するために装備される。
この初期延展に続いて、二次延展を任意で行うことができるが、図12に例示されているように、連続拡張システム50などを利用できる。本発明によれば、連続拡張システム50はKワイヤ42、初期拡張器44、および、1個以上の補足拡張器52、54を備えているが、これらは外科手術標的部位まで組織を更に拡張させる目的がある。再度、二次伸延組立体50の構成要素は(すなわち、Kワイヤ42、初期拡張器44、および、補足拡張器52、54)各々に1個以上の電極が設けられており(それぞれの遠位領域に設けられるのが好ましい)、電極は、具体例として、「ニューロ・ビジョン(Neuro Vision )PCT出願」に例示および記載されている種類のもののような神経監視システムと併用するために装備されている。
図13に例示されているように、その後、本発明の開創組立体10は連続拡張システム50の外部に沿って前進させられる。これは、牽引子ブレード12、16、18を第1の閉位置に維持することにより達成される(牽引子ブレード12から16は、概ね、互いに対して当接し合う位置にある)。連続拡張組立体50は、外科手術標的部位まで前進させられてしまうと、取り外されて、楔部材22が後牽引子ブレード12と係合して、図14に例示されているように、ブレードの遠位端が延びて椎間板空間に入る。この時点で、ハンドル組立体20が作動されて、図15および図16に略記されているように、牽引子ブレード16、18を第2の開位置すなわち「開創」位置へ移動させることができる。見てのとおり、このプロセスの間、後牽引子ブレード12は同じ通常位置に留まることができるため、最頭方向牽引子ブレード14と最尾方向牽引子ブレード16は後牽引子ブレード12から離れる方向に移動する。この時点で、幅の狭い牽引子拡張部材24と幅の広い牽引子拡張部材25は最尾方向牽引子ブレード18および最頭方向牽引子ブレード16とそれぞれに係合状態になるが、これは図17および図18に例示されているとおりである。
上述のように、組織延展段階および/または組織開創段階の間、神経構造が存在していること(および、任意で、組織構造までの距離および/または組織構造に対する方向)を検出するために、延展構成要素および/または開創構成要素(本件で先に記載されたものを含むが、それらに限定されない)は何種類でも装備することができる。これは次の段階を採用することで達成される。すなわち、(1)1個以上の刺激電極が多様な延展構成要素および/または開創構成要素に設けられ、(2)刺激源(例えば、電圧または電流など)が刺激電極に連結され、(3)多様な構成要素が外科手術標的部位に向けて前進させられ、或いは、外科手術標的部位またはその付近に維持されると、刺激電極から刺激信号が発信され、(4)刺激信号により組織内の神経または神経構造に付随する筋肉が刺激を受けているか否かを判定するように患者が監視される。神経が刺激を受けている場合は、神経構造が延展構成要素および/または開創構成要素に極めて近接した位置にあることを示すものである。
神経監視段階は、何種類の好適な態様で達成されてもよく、例えば、組織中によく見られる神経構造に付随する筋肉群が目に見て取れる痙攣を起こしているのを確認するといった態様があるが、これに限定されるわけではなく、その他にも、市場で入手できる「従来からの」筋電図(EMG)システム(すなわち、通例は神経生理学者が操作する)などの(これに限定されないが)、何種類の監視システムによって達成されてもよい。このような監視段階は、前段で引例に挙げた本件の特許権者が同一である同時係属の「ニューロ・ビジョン(Neuro Vision )PCT出願」に例示および記載されている外科医が駆動するタイプのEMG監視システムによっても実行することができる。いずれの場合でも(目視による監視、従来のEMG監視、および/または、外科医が駆動するEMG監視)、本発明の接近システムを使って、普通なら危険で望ましくないと思われる組織を縦断することで、所与の外科手術標的部位に接近する態様の種類を拡大するのが有利である。
図19および図20は、具体例にすぎないが、本発明の外科手術接近システム10と併用するのに好適な「ニューロ・ビジョン(Neuro Vision )PCT出願」に開示されているタイプの監視システム120を例示している。監視システム120は、制御装置122、患者モジュール124、筋電図ハーネス126、および、患者モジュール124に接続された帰電極128、患者モジュール124と本発明の外科手術接近システム(図1の牽引子組立体10および図9ないし図12の伸延組立体40、50)の間に電気通信を確立するためのケーブル132を備えている。より詳細に説明すると、電気通信は、具体例にすぎないが、掌サイズの刺激制御装置152を設けることによって達成されるが、この刺激制御装置は、1個以上のコネクタ156a、156b、156cに刺激信号(掌サイズの刺激制御装置152に設けられた手動式ボタンの動作により発生する)を選択的に供与することができる。コネクタ156a、156b、156cは、掌サイズの刺激制御装置152と(具体例にすぎないが)Kワイヤ42、拡張器44、48、52、54、牽引子ブレード12、16、18、および/または、楔部材22、24、25(一括して、「外科手術接近器具」と称する)に設けられた刺激電極との間に電気通信を確立するのに好適である。
次に、監視システム120を使用するために、このような外科手術接近器具はコネクタ156a、156b、および/または、156cに接続されなければならないが、この時点で、使用者は制御装置122から特定の外科手術接近器具に送る刺激信号(電流信号が好ましい)を選択的に発信開始することができる。手術回廊を確立する前、その間、および/または、その後に上記のような外科手術接近器具に設けられた電極を刺激することで、外科手術接近器具に近接して延びている神経、または、該器具の比較的近位に在る神経を消極し、刺激を受けた神経に付随する神経筋単位において反応を発生させる。
制御装置122はタッチスクリーン表示器140とベース142を備えており、これらが、監視システム120を制御するのに不可欠な処理能力(ソフトウエアおよび/またはハードウエア)を一括して備えている。制御装置122は、神経に関連する外科手術部材の位置に従って音声を発する音声再生装置118を備えている。患者モジュール124はデータケーブル144を介して制御装置122に接続されるが、これは、制御装置122と患者モジュール124の間に電気接続と電気通信(ディジタル式および/またはアナログ式)を編成する。制御装置122の主たる機能として、タッチスクリーン表示器140を介してユーザ指令を受け取ること、外科手術接近器具に設けられた刺激電極を始動すること、規定のアルゴリズムに従って信号データを処理すること、受け取ったパラメータと処理データを表示すること、および、システムの状況を監視して障害状態を報告すること等が挙げられる。タッチスクリーン表示器140は、使用者に情報を通信し、かつ、使用者から指示を受け取ることができるグラフィカル・ユーザ・インターフェイス(GUI)を装備しているのが好ましい。表示器140および/またはベース142は患者モジュールのインターフェイス回路(ハードウエアおよび/またはソフトウエア)を備えており、このインターフェイス回路は刺激源に指令を送り、ディジタル化信号やそれ以外の情報を患者モジュール124から受信し、EMG反応を処理して筋肉群ごとに特性情報を抽出し、表示器140を介して操作者に処理済みのデータを表示して見せる。
1つの実施形態では、外科手術標的部位に至る手術回廊を設ける前、その最中、および/または、その後に、監視システム120は、1個以上のKワイヤ42、拡張器44、48、52、54、牽引子ブレード12、16、18、および/または、楔部材22、24、25に対する神経の方向を判断することができる。監視システム120がこれを達成する方法として、制御装置122と患者モジュール124を協働させて、上記の器具に設けられた1個以上の刺激電極に刺激信号を送信する手段がある。患者体内(特に、神経構造を標的とする)外科手術接近システム10の位置次第では、刺激信号は、外科手術接近システム10に隣接する神経、または、システムの概ね近位に在る神経を消極させる。これにより、筋肉群を刺激し、EMG反応を発生するが、この反応はEMGハーネス126により検知することができる。システム120の神経方向機能は、EMGハーネス126を介してシステム120によって監視される多様な神経筋単位が発生した反応を査定する動作に基づいている。
神経に付随する神経筋単位を監視して(EMGハーネス126と記録電極127を介して)、その結果として生じたEMG反応を査定する(制御装置122を介して)ことにより、外科手術接近システム10はそのような神経が存在していること(および、任意で、神経までの距離および/または神経に対する方向)を検出することができる。これは、そのような神経の周囲または神経を越えた領域を活発に通り抜けて特定の外科手術標的部位に至る手術回廊を安全かつ再生可能に形成する能力に加えて、手術回廊が確立されてしまった後で神経構造が移動して外科手術接近システム10と接触することが絶対無いように監視する能力を提供する。例えば、脊椎外科手術では、このことが特に有利となるのは次の点においてである。すなわち、外科手術接近システム10は、後側方経腰筋の態様で椎間標的部位に至る手術回廊を確立して脊柱の骨の後ろ構成要素を回避するのに特に好適である。
図21および図22は、図19および図20を参照しなから例示および記載されている監視システムの神経方向特性の一実施形態を例示する、具体的なスクリーン表示(表示器140に表せる)である。このようなスクリーン表示は、理解が簡単になる形式で医者に多様な女王を連絡することを意図している。このような情報としては、機能の表示180(この場合は、「方向」)、患者の絵表示181、監視されている神経筋単位レヴェル182、表示されている神経筋単位に付随する神経または神経群183、使用中の器具の名前184(この場合は、拡張器46、48)、使用中の器具の寸法185、刺激閾電流186、器具の神経に対する相対方向を得理事するための基準点を提供するための、使用中の器具の絵表示187(この場合は、拡張器44、48の断面図)、刺激電極に印加されている刺激電流188、使用者に対する指示189(この場合は、「前進」および/または「停止」)、器具から神経に向かう方向を示す矢印190(図22の場合)が挙げられるが、必ずしもこれらに限定されるわけではない。この情報は、何種類の好適な態様で通信されてもよく、例えば、視覚表示(英数文字、発光素子、および/または、絵図など)の使用や音声再生通信(スピーカー素子など)があるが、これらに限定されない。拡張カニューレを特に照会しているのが図示されているが(例えば、参照番号184で表示)、初期伸延組立体40(すなわち、Kワイヤ42や拡張器44、48)および/または牽引子ブレード12、16、18、および/または、楔部材22、24、25等のような、本発明の外科手術接近システム10を形成する多様な器具のいずれか、または、その全部を使用している間、表示器140によく似た情報を提示することが本発明の一部であることは、容易に認識できる。
上述の説明および図面から明らかなように、本発明は、従来の「切開」外科手術よりも観血の少ない態様で外科手術標的部位を横断して進むという目標を達成し、更に、外科手術標的部位に至る手術回廊を確立するために貫通しなければならない(または、付近を通らなければならない)神経構造とは無関係に、上記のような外科手術標的部位に接近することができるようにする態様で、目標を達成する。更に、本発明は、手術回廊が確立されてしまった後で実施される処置手順の間、外科手術標的部位に隣接する組織または領域で神経監視段階を実施することができるようにする。本発明の外科手術接近システムは、本件に記載されている脊椎への応用より以上に、または、脊椎への応用を超越して、広範な外科手術応用例または医療応用例で利用することができる。そのような脊椎への応用として、各種器具、装置、移植片、および/または、複合体が外科手術標的部位内またはその隣接部位に導入される処置であって、例えば、椎間板切除、癒着(PLIF、ALIF、TLIF、および、側方接近路または遠側方接近路を介して実施される癒着と、例えば、骨代替品(同種異系移植片や自家移植片など)、セラミック構造、金属構造、および/または、プラスチック構造(メッシュ構造など)、および/または、骨形態発生タンパク質などの複合物の導入を含む癒着)、椎間板全置換等が挙げられるが、これらに限定されない。
更に、本発明の外科手術接近システムは、神経または神経構造を含む組織を貫通する、または、組織の付近に位置する手術回廊を確立しながら、神経または神経構造に接触する恐れを排除または相当に低減することにより、「より観血の少ない」態様で、より多数の外科手術標的部位に接近する可能性を拡大している。そうする際に、本発明の外科手術接近システムは、患者のケアを改善するとともに(「より観血の少ない」接近と、手術回廊の確立前、確立中、確立後に神経に接触する危険を低減または排除したおかげで、痛みを減らすことによる)、医療費を低減することができる(「より観血の少ない」接近に基づき入院期間を短縮し、神経監視に基づき、より多数の部位を好適な外科手術標的部位にすることによる)相当な進歩を示している。総じて、これらの事柄が、国内外ともに、患者集団に利用できるケアの全体的標準を大いに向上させることにつながる。
本発明に関連する方法の一例として、以下のものをあげることができる。
〔態様1〕
外科手術標的部位に接近する方法であって、
外科手術標的部位に複数の牽引子ブレードを、概ね閉位置のままで、同時に導入する段階と、
牽引子ブレードを選択的に移動させて、外科手術標的部位に至る個別に調整された手術回廊を設ける段階と、
を含むことを特徴とする方法。
〔態様2〕
Kワイヤと、Kワイヤの上を伝って滑動自在に伝送することができる少なくとも1個の拡張器とを使うことで、所期延展回廊を設ける段階を更に含むことを特徴とする、上記態様1に記載の方法。
〔態様3〕
二次伸延組立体を使うことで、前記初期延展回廊から伸延して、二次延展回廊を設ける段階を更に含むことを特徴とする、上記態様1に記載の方法。
〔態様4〕
二次伸延を実施する前記段階は、より大型のカニューレを連続して使用する連続拡張により達成されることを特徴とする、上記態様3に記載の方法。
〔態様5〕
上記態様1に記載の方法において、制御装置を設ける段階を更に含んでおり、前記制御装置は、前記少なくとも1個の刺激電極を電気的に刺激し、刺激によって消極された神経の反応を検知し、検知された反応に基づいて、外科手術付属器具から神経に向かう方向を判定し、その方向を使用者に連絡することができることを特徴とする方法。

Claims (15)

  1. 外科手術標的部位に接近するシステムであって、
    複数のブレードがハンドル組立体に着脱自在に連結された牽引子組立体を備えており、複数のブレードは、閉位置に置かれたままで外科手術標的部位に同時に前進させることができ、その後で、選択的に開かれて、外科手術標的部位に至る個別に調整された手術回廊を設けるようにしたことを特徴とするシステム。
  2. 前記システムは伸延組立体を更に備えており、前記牽引子ブレードを外科手術標的部位まで前進させる前に、外科手術標的部位に至る延展回廊を設けるようにしたことを特徴とする、請求項1に記載のシステム。
  3. 前記伸延組立体は、Kワイヤと少なくとも1個の拡張器からなる初期伸延組立体を有しており、拡張器は初期延展を実施するためにKワイヤ上を伝って滑動自在に伝送することができることを特徴とする、請求項2に記載のシステム。
  4. 前記システムは二次伸延組立体を更に備えており、前記初期延展回廊を二次延展回廊まで伸延し、前記牽引子ブレードは二次延展回廊を通して前進させられて、外科手術標的部位に至るようにしたことを特徴とする、請求項3に記載のシステム。
  5. 少なくとも1個の前記伸延組立体と少なくとも1個の牽引子ブレードは、それぞれが少なくとも1個の刺激電極を備えていることを特徴とする、請求項1または請求項2に記載のシステム。
  6. 前記システムは制御装置を更に備えており、制御装置は前記少なくとも1個の刺激電極を電気的に刺激し、刺激によって消極された神経の反応を検知し、検知された反応に基づいて、少なくとも1個の前記伸延システムと少なくとも1個の前記牽引子ブレードから神経に向かう方向を判定し、その方向を使用者に連絡することができることを特徴とする、請求項5に記載のシステム。
  7. 前記システムは前記消極された神経に接続されている筋肉の筋神経反応を検知するような構成の電極を更に備えており、電極は前記制御装置に筋神経反応を送信するように作動することができることを特徴とする、請求項6に記載のシステム。
  8. 前記Kワイヤは、その遠位先端部に第1の刺激電極を備えていることを特徴とする、請求項3に記載のシステム。
  9. 外科手術標的部位に至る手術回廊を確立するための前記システムは、脊椎の標的部位に接近するように構成されていることを特徴とする、請求項1に記載のシステム。
  10. 外科手術標的部位に至る手術回廊を確立するための前記システムは、側方経腰筋接近路を介して前記手術回廊を確立するように構成されていることを特徴とする、請求項1に記載のシステム。
  11. 前記システムは、少なくとも1個の前記初期伸延組立体と少なくとも1個の前記牽引子ブレードに接続されているハンドルを更に備えており、ハンドルには少なくとも1個のボタンが設けられて、前記制御装置から前記少なくとも1個の刺激電極へ送る電気刺激を開始するようにしたことを特徴とする、請求項6に記載のシステム。
  12. 前記制御装置には、筋肉の筋電図(EMG)反応を表示するように作動することができる表示器が設けられていることを特徴とする、請求項6に記載のシステム。
  13. 前記制御装置には、使用者から指令を受け取るように作動することができるタッチスクリーン表示器が設けられていることを特徴とする、請求項6に記載のシステム。
  14. 前記刺激電極は、少なくとも1個の前記伸延組立体と少なくとも1個の前記牽引子ブレードのそれぞれの遠位端付近に設置されていることを特徴とする、請求項6に記載のシステム。
  15. 外科手術標的部位に接近する方法であって、
    外科手術標的部位に複数の牽引子ブレードを、概ね閉位置のままで、同時に導入する段階と、
    牽引子ブレードを選択的に移動させて、外科手術標的部位に至る個別に調整された手術回廊を設ける段階と、
    を含むことを特徴とする方法。
JP2009284152A 2003-09-25 2009-12-15 外科手術接近システム Expired - Lifetime JP5124556B2 (ja)

Applications Claiming Priority (2)

Application Number Priority Date Filing Date Title
US50613603P 2003-09-25 2003-09-25
US60/506,136 2003-09-25

Related Parent Applications (1)

Application Number Title Priority Date Filing Date
JP2006528306A Division JP4463819B2 (ja) 2003-09-25 2004-09-27 外科手術接近システム

Related Child Applications (1)

Application Number Title Priority Date Filing Date
JP2012084693A Division JP5689846B2 (ja) 2003-09-25 2012-04-03 外科手術接近システム

Publications (2)

Publication Number Publication Date
JP2010057968A true JP2010057968A (ja) 2010-03-18
JP5124556B2 JP5124556B2 (ja) 2013-01-23

Family

ID=34393117

Family Applications (4)

Application Number Title Priority Date Filing Date
JP2006528306A Expired - Lifetime JP4463819B2 (ja) 2003-09-25 2004-09-27 外科手術接近システム
JP2009284152A Expired - Lifetime JP5124556B2 (ja) 2003-09-25 2009-12-15 外科手術接近システム
JP2012084693A Expired - Lifetime JP5689846B2 (ja) 2003-09-25 2012-04-03 外科手術接近システム
JP2013254978A Expired - Fee Related JP6000935B2 (ja) 2003-09-25 2013-12-10 外科手術接近システム

Family Applications Before (1)

Application Number Title Priority Date Filing Date
JP2006528306A Expired - Lifetime JP4463819B2 (ja) 2003-09-25 2004-09-27 外科手術接近システム

Family Applications After (2)

Application Number Title Priority Date Filing Date
JP2012084693A Expired - Lifetime JP5689846B2 (ja) 2003-09-25 2012-04-03 外科手術接近システム
JP2013254978A Expired - Fee Related JP6000935B2 (ja) 2003-09-25 2013-12-10 外科手術接近システム

Country Status (5)

Country Link
US (19) US7207949B2 (ja)
EP (1) EP1680177B1 (ja)
JP (4) JP4463819B2 (ja)
AU (2) AU2004275877B2 (ja)
WO (1) WO2005030318A1 (ja)

Cited By (1)

* Cited by examiner, † Cited by third party
Publication number Priority date Publication date Assignee Title
JP2015037564A (ja) * 2010-08-23 2015-02-26 ニューヴェイジヴ,インコーポレイテッド 外科的アクセスシステムおよび関連する方法

Families Citing this family (358)

* Cited by examiner, † Cited by third party
Publication number Priority date Publication date Assignee Title
US7491205B1 (en) 1988-06-13 2009-02-17 Warsaw Orthopedic, Inc. Instrumentation for the surgical correction of human thoracic and lumbar spinal disease from the lateral aspect of the spine
AU4422699A (en) 1998-12-23 2000-07-31 Nuvasive, Inc. Nerve surveillance cannulae systems
US7470236B1 (en) * 1999-11-24 2008-12-30 Nuvasive, Inc. Electromyography system
EP1289415A4 (en) * 2000-05-18 2008-12-03 Nuvasive Inc TISSUE DISTRACTION AND APPLICATIONS IN MEDICAL PROCEDURES
JP4295086B2 (ja) 2001-07-11 2009-07-15 ヌバシブ, インコーポレイテッド 手術の間の神経近接度、神経の方向、および病理学を決定するシステムおよび方法
EP2481338A3 (en) 2001-09-25 2012-09-05 Nuvasive, Inc. System for performing surgical procedures and assessments
US7664544B2 (en) * 2002-10-30 2010-02-16 Nuvasive, Inc. System and methods for performing percutaneous pedicle integrity assessments
US8147421B2 (en) * 2003-01-15 2012-04-03 Nuvasive, Inc. System and methods for determining nerve direction to a surgical instrument
US7951089B2 (en) 2002-05-31 2011-05-31 Vidacare Corporation Apparatus and methods to harvest bone and bone marrow
US9314228B2 (en) 2002-05-31 2016-04-19 Vidacare LLC Apparatus and method for accessing the bone marrow
US8690791B2 (en) 2002-05-31 2014-04-08 Vidacare Corporation Apparatus and method to access the bone marrow
US11337728B2 (en) 2002-05-31 2022-05-24 Teleflex Life Sciences Limited Powered drivers, intraosseous devices and methods to access bone marrow
WO2008033873A2 (en) 2006-09-12 2008-03-20 Vidacare Corporation Medical procedures trays and related methods
US8668698B2 (en) 2002-05-31 2014-03-11 Vidacare Corporation Assembly for coupling powered driver with intraosseous device
US11298202B2 (en) 2002-05-31 2022-04-12 Teleflex Life Sciences Limited Biopsy devices and related methods
US20070049945A1 (en) 2002-05-31 2007-03-01 Miller Larry J Apparatus and methods to install, support and/or monitor performance of intraosseous devices
US8142365B2 (en) 2002-05-31 2012-03-27 Vidacare Corporation Apparatus and method for accessing the bone marrow of the sternum
US7811260B2 (en) 2002-05-31 2010-10-12 Vidacare Corporation Apparatus and method to inject fluids into bone marrow and other target sites
AU2003231939A1 (en) 2002-05-31 2003-12-19 Vidacare Corporation Apparatus and method to access the bone marrow
US10973545B2 (en) 2002-05-31 2021-04-13 Teleflex Life Sciences Limited Powered drivers, intraosseous devices and methods to access bone marrow
US8641715B2 (en) 2002-05-31 2014-02-04 Vidacare Corporation Manual intraosseous device
US10973532B2 (en) 2002-05-31 2021-04-13 Teleflex Life Sciences Limited Powered drivers, intraosseous devices and methods to access bone marrow
WO2008033872A2 (en) * 2006-09-12 2008-03-20 Vidacare Corporation Biopsy devices and related methods
US9072543B2 (en) 2002-05-31 2015-07-07 Vidacare LLC Vascular access kits and methods
US7582058B1 (en) 2002-06-26 2009-09-01 Nuvasive, Inc. Surgical access system and related methods
US6945933B2 (en) 2002-06-26 2005-09-20 Sdgi Holdings, Inc. Instruments and methods for minimally invasive tissue retraction and surgery
US7473222B2 (en) * 2002-06-26 2009-01-06 Warsaw Orthopedic, Inc. Instruments and methods for minimally invasive tissue retraction and surgery
US9259144B2 (en) 2002-07-11 2016-02-16 Nuvasive, Inc. Surgical access system and related methods
US8137284B2 (en) 2002-10-08 2012-03-20 Nuvasive, Inc. Surgical access system and related methods
US7691057B2 (en) 2003-01-16 2010-04-06 Nuvasive, Inc. Surgical access system and related methods
US7819801B2 (en) * 2003-02-27 2010-10-26 Nuvasive, Inc. Surgical access system and related methods
US20040225228A1 (en) 2003-05-08 2004-11-11 Ferree Bret A. Neurophysiological apparatus and procedures
US9504477B2 (en) 2003-05-30 2016-11-29 Vidacare LLC Powered driver
JP4436836B2 (ja) * 2003-08-05 2010-03-24 ヌヴァシヴ インコーポレイテッド 動的なペディクルの完全性評価を実行するシステム及び方法
AU2004275877B2 (en) 2003-09-25 2008-09-04 Nuvasive, Inc. Surgical access system and related methods
US7905840B2 (en) 2003-10-17 2011-03-15 Nuvasive, Inc. Surgical access system and related methods
US8313430B1 (en) 2006-01-11 2012-11-20 Nuvasive, Inc. Surgical access system and related methods
US9795367B1 (en) 2003-10-17 2017-10-24 Nuvasive, Inc. Surgical access system and related methods
EP2332468B1 (en) 2003-12-18 2016-11-09 DePuy Spine, Inc. Surgical retractor systems
US7815642B2 (en) 2004-01-26 2010-10-19 Vidacare Corporation Impact-driven intraosseous needle
ES2607206T3 (es) 2004-01-26 2017-03-29 Vidacare LLC Dispositivo interóseo manual
US20060135959A1 (en) * 2004-03-22 2006-06-22 Disc Dynamics, Inc. Nuclectomy method and apparatus
US8538539B2 (en) 2004-10-07 2013-09-17 Nu Vasive, Inc. System and methods for assessing the neuromuscular pathway prior to nerve testing
US9622732B2 (en) 2004-10-08 2017-04-18 Nuvasive, Inc. Surgical access system and related methods
US8430881B2 (en) 2004-10-15 2013-04-30 Baxano, Inc. Mechanical tissue modification devices and methods
US8257356B2 (en) 2004-10-15 2012-09-04 Baxano, Inc. Guidewire exchange systems to treat spinal stenosis
US7578819B2 (en) 2005-05-16 2009-08-25 Baxano, Inc. Spinal access and neural localization
US9101386B2 (en) 2004-10-15 2015-08-11 Amendia, Inc. Devices and methods for treating tissue
US20110190772A1 (en) 2004-10-15 2011-08-04 Vahid Saadat Powered tissue modification devices and methods
US20080103504A1 (en) * 2006-10-30 2008-05-01 Schmitz Gregory P Percutaneous spinal stenosis treatment
US20100004654A1 (en) * 2008-07-01 2010-01-07 Schmitz Gregory P Access and tissue modification systems and methods
US20080312660A1 (en) * 2007-06-15 2008-12-18 Baxano, Inc. Devices and methods for measuring the space around a nerve root
US20070213734A1 (en) * 2006-03-13 2007-09-13 Bleich Jeffery L Tissue modification barrier devices and methods
US20100331883A1 (en) 2004-10-15 2010-12-30 Schmitz Gregory P Access and tissue modification systems and methods
US8221397B2 (en) 2004-10-15 2012-07-17 Baxano, Inc. Devices and methods for tissue modification
US9247952B2 (en) 2004-10-15 2016-02-02 Amendia, Inc. Devices and methods for tissue access
US7857813B2 (en) 2006-08-29 2010-12-28 Baxano, Inc. Tissue access guidewire system and method
US8062300B2 (en) 2006-05-04 2011-11-22 Baxano, Inc. Tissue removal with at least partially flexible devices
US7887538B2 (en) * 2005-10-15 2011-02-15 Baxano, Inc. Methods and apparatus for tissue modification
JP5243034B2 (ja) 2004-10-15 2013-07-24 バクサノ,インク. 組織除去のための装置
US7555343B2 (en) 2004-10-15 2009-06-30 Baxano, Inc. Devices and methods for selective surgical removal of tissue
US7938830B2 (en) 2004-10-15 2011-05-10 Baxano, Inc. Powered tissue modification devices and methods
US8617163B2 (en) 2004-10-15 2013-12-31 Baxano Surgical, Inc. Methods, systems and devices for carpal tunnel release
US7959577B2 (en) * 2007-09-06 2011-06-14 Baxano, Inc. Method, system, and apparatus for neural localization
US8048080B2 (en) * 2004-10-15 2011-11-01 Baxano, Inc. Flexible tissue rasp
US7738969B2 (en) 2004-10-15 2010-06-15 Baxano, Inc. Devices and methods for selective surgical removal of tissue
US20090171381A1 (en) * 2007-12-28 2009-07-02 Schmitz Gregory P Devices, methods and systems for neural localization
US8998848B2 (en) 2004-11-12 2015-04-07 Vidacare LLC Intraosseous device and methods for accessing bone marrow in the sternum and other target areas
WO2006058221A2 (en) 2004-11-24 2006-06-01 Abdou Samy M Devices and methods for inter-vertebral orthopedic device placement
US20090264939A9 (en) * 2004-12-16 2009-10-22 Martz Erik O Instrument set and method for performing spinal nuclectomy
US7643884B2 (en) * 2005-01-31 2010-01-05 Warsaw Orthopedic, Inc. Electrically insulated surgical needle assembly
US7785253B1 (en) 2005-01-31 2010-08-31 Nuvasive, Inc. Surgical access system and related methods
US20090177112A1 (en) 2005-02-02 2009-07-09 James Gharib System and Methods for Performing Neurophysiologic Assessments During Spine Surgery
US8568331B2 (en) * 2005-02-02 2013-10-29 Nuvasive, Inc. System and methods for monitoring during anterior surgery
US7878981B2 (en) 2005-03-01 2011-02-01 Checkpoint Surgical, Llc Systems and methods for intra-operative stimulation
US20110060238A1 (en) * 2005-03-01 2011-03-10 Checkpoint Surgical, Llc Systems and methods for intra-operative physiological functional stimulation
US20110060242A1 (en) * 2005-03-01 2011-03-10 Checkpoint Surgical, Llc Systems and methods for intra-operative stimulation within a surgical field
US20110054346A1 (en) * 2005-03-01 2011-03-03 Checkpoint Surgical, Llc Systems and methods for Intra-operative semi-quantitative threshold neural response testing related applications
US20060200219A1 (en) * 2005-03-01 2006-09-07 Ndi Medical, Llc Systems and methods for differentiating and/or identifying tissue regions innervated by targeted nerves for diagnostic and/or therapeutic purposes
US10154792B2 (en) 2005-03-01 2018-12-18 Checkpoint Surgical, Inc. Stimulation device adapter
US20110060243A1 (en) * 2005-03-01 2011-03-10 Checkpoint Surgical, Llc Systems and methods for intra-operative regional neural stimulation
US7896815B2 (en) * 2005-03-01 2011-03-01 Checkpoint Surgical, Llc Systems and methods for intra-operative stimulation
US7763078B2 (en) 2005-03-28 2010-07-27 Warsaw Orthopedic, Inc. Spinal device including lateral approach
US7749269B2 (en) 2005-03-28 2010-07-06 Warsaw Orthopedic, Inc. Spinal system and method including lateral approach
US8105236B2 (en) 2005-07-11 2012-01-31 Kyphon Sarl Surgical access device, system, and methods of use
US8740783B2 (en) * 2005-07-20 2014-06-03 Nuvasive, Inc. System and methods for performing neurophysiologic assessments with pressure monitoring
EP1912578B1 (en) 2005-07-28 2018-02-07 NuVasive, Inc. Total disc replacement system
WO2007038290A2 (en) 2005-09-22 2007-04-05 Nuvasive, Inc. Multi-channel stimulation threshold detection algorithm for use in neurophysiology monitoring
US8568317B1 (en) 2005-09-27 2013-10-29 Nuvasive, Inc. System and methods for nerve monitoring
US8092456B2 (en) 2005-10-15 2012-01-10 Baxano, Inc. Multiple pathways for spinal nerve root decompression from a single access point
US8062298B2 (en) 2005-10-15 2011-11-22 Baxano, Inc. Flexible tissue removal devices and methods
US8366712B2 (en) 2005-10-15 2013-02-05 Baxano, Inc. Multiple pathways for spinal nerve root decompression from a single access point
US8251902B2 (en) * 2005-10-17 2012-08-28 Lanx, Inc. Pedicle guided retractor system
US8480576B2 (en) 2005-12-07 2013-07-09 Faheem A. Sandhu Access system for minimally invasive spinal surgery
US7758501B2 (en) * 2006-01-04 2010-07-20 Depuy Spine, Inc. Surgical reactors and methods of minimally invasive surgery
US7981031B2 (en) * 2006-01-04 2011-07-19 Depuy Spine, Inc. Surgical access devices and methods of minimally invasive surgery
US7918792B2 (en) 2006-01-04 2011-04-05 Depuy Spine, Inc. Surgical retractor for use with minimally invasive spinal stabilization systems and methods of minimally invasive surgery
US20070156025A1 (en) * 2006-01-04 2007-07-05 Connie Marchek Surgical retractors and methods of minimally invasive surgery
US7955257B2 (en) 2006-01-05 2011-06-07 Depuy Spine, Inc. Non-rigid surgical retractor
US7906239B2 (en) * 2006-03-06 2011-03-15 Sony Corporation Cathode active material, method for producing the same, and nonaqueous electrolyte secondary battery
US8876687B2 (en) * 2006-03-08 2014-11-04 Zimmer Spine, Inc. Surgical retractor and retractor assembly
US8430813B2 (en) * 2006-05-26 2013-04-30 Depuy Spine, Inc. Illuminated surgical access system including a surgical access device and integrated light emitter
US7892174B2 (en) * 2006-07-19 2011-02-22 Zimmer Spine, Inc. Surgical access system and method of using the same
US8262569B2 (en) * 2006-07-19 2012-09-11 Zimmer Spine, Inc. Surgical access system and method of using the same
EP2068725B1 (en) 2006-09-12 2016-11-09 Vidacare LLC Apparatus for biopsy and aspiration of bone marrow
EP3189787B1 (en) 2006-09-12 2019-01-09 Teleflex Medical Devices S.à.r.l. Medical procedures trays and related methods
US8944069B2 (en) 2006-09-12 2015-02-03 Vidacare Corporation Assemblies for coupling intraosseous (IO) devices to powered drivers
US8974410B2 (en) 2006-10-30 2015-03-10 Vidacare LLC Apparatus and methods to communicate fluids and/or support intraosseous devices
US7987001B2 (en) * 2007-01-25 2011-07-26 Warsaw Orthopedic, Inc. Surgical navigational and neuromonitoring instrument
US8062217B2 (en) * 2007-01-26 2011-11-22 Theken Spine, Llc Surgical retractor with removable blades and method of use
US20080183044A1 (en) * 2007-01-26 2008-07-31 Dennis Colleran Flexible surgical retractor and method of use
US8118737B2 (en) * 2007-01-30 2012-02-21 Mi4Spine, Llc Retractor device for cervical spinal fusion
AU2008236665B2 (en) 2007-04-03 2013-08-22 Nuvasive, Inc. Neurophysiologic monitoring system
WO2008124463A2 (en) 2007-04-04 2008-10-16 Vidacare Corporation Powered drivers, intraosseous devices and methods to access bone marrow
US8075601B2 (en) 2007-04-30 2011-12-13 Warsaw Orthopedic, Inc. Deformity correction using neural integrity monitoring
CA2701504A1 (en) 2007-10-05 2009-04-09 Synthes Usa, Llc Dilation system and method of using the same
US8942797B2 (en) * 2007-10-18 2015-01-27 Innovative Surgical Solutions, Llc Neural monitoring system
US9084550B1 (en) * 2007-10-18 2015-07-21 Innovative Surgical Solutions, Llc Minimally invasive nerve monitoring device and method
US8343079B2 (en) 2007-10-18 2013-01-01 Innovative Surgical Solutions, Llc Neural monitoring sensor
US8343065B2 (en) 2007-10-18 2013-01-01 Innovative Surgical Solutions, Llc Neural event detection
US20090105788A1 (en) * 2007-10-18 2009-04-23 Innovative Surgical Solutions, Llc Minimally invasive nerve monitoring device and method
US8348983B2 (en) * 2007-11-13 2013-01-08 Warsaw Orthopedic, Inc. Surgical bone screw construction
US8192436B2 (en) 2007-12-07 2012-06-05 Baxano, Inc. Tissue modification devices
US8088163B1 (en) 2008-02-06 2012-01-03 Kleiner Jeffrey B Tools and methods for spinal fusion
US7811138B2 (en) * 2008-02-29 2010-10-12 Pioneer Surgical Technology, Inc. Electrical connector for surgical systems
US20210378834A1 (en) 2008-05-22 2021-12-09 Spinal Surgical Strategies, Inc., A Nevada Corporation D/B/A Kleiner Device Labs Spinal fusion cage system with inserter
US8968192B2 (en) 2008-06-06 2015-03-03 Warsaw Orthopedic, Inc. Systems and methods for tissue retraction
US8409206B2 (en) 2008-07-01 2013-04-02 Baxano, Inc. Tissue modification devices and methods
US8398641B2 (en) 2008-07-01 2013-03-19 Baxano, Inc. Tissue modification devices and methods
US9314253B2 (en) 2008-07-01 2016-04-19 Amendia, Inc. Tissue modification devices and methods
AU2009271047B2 (en) 2008-07-14 2014-04-17 Baxano Surgical, Inc. Tissue modification devices
US8137285B1 (en) 2008-08-26 2012-03-20 Rhythmlink International, Llc Monopolar stimulation probe system
EP2328521B1 (en) 2008-09-02 2020-10-21 Synthes GmbH Intervertebral implant with blades for connecting to adjacent vertebral bodies
US8211012B2 (en) * 2008-09-30 2012-07-03 Aesculap Implant Systems, Llc Tissue retractor system
USD853560S1 (en) 2008-10-09 2019-07-09 Nuvasive, Inc. Spinal implant insertion device
US8876851B1 (en) 2008-10-15 2014-11-04 Nuvasive, Inc. Systems and methods for performing spinal fusion surgery
CN102256554B (zh) 2008-10-20 2017-06-09 脊柱诊察公司 用于进入和察看脊柱的牵开器套管系统
US8226554B2 (en) 2008-10-30 2012-07-24 Warsaw Orthopedic, Inc. Retractor assemblies for surgery in a patient
US8366748B2 (en) 2008-12-05 2013-02-05 Kleiner Jeffrey Apparatus and method of spinal implant and fusion
US20110144687A1 (en) * 2009-12-10 2011-06-16 Kleiner Jeffrey Lateral Based Retractor System
US8864654B2 (en) 2010-04-20 2014-10-21 Jeffrey B. Kleiner Method and apparatus for performing retro peritoneal dissection
US9717403B2 (en) 2008-12-05 2017-08-01 Jeffrey B. Kleiner Method and apparatus for performing retro peritoneal dissection
US8992558B2 (en) 2008-12-18 2015-03-31 Osteomed, Llc Lateral access system for the lumbar spine
CA2750917A1 (en) * 2008-12-26 2010-07-01 Scott Spann Minimally-invasive retroperitoneal lateral approach for spinal surgery
US20100179557A1 (en) * 2009-01-15 2010-07-15 Husted Daniel S Adjustable Powered Rongeur
US9247943B1 (en) 2009-02-06 2016-02-02 Kleiner Intellectual Property, Llc Devices and methods for preparing an intervertebral workspace
USD656610S1 (en) 2009-02-06 2012-03-27 Kleiner Jeffrey B Spinal distraction instrument
EP2405823A4 (en) 2009-03-13 2012-07-04 Baxano Inc DEVICES AND METHODS FOR FLEXIBLE NERVOUSING
US9339221B1 (en) 2009-03-24 2016-05-17 Vioptix, Inc. Diagnosing intestinal ischemia based on oxygen saturation measurements
US8568306B2 (en) 2009-04-03 2013-10-29 Mitchell A Hardenbrook Surgical retractor system
US10842642B2 (en) 2009-04-16 2020-11-24 Nuvasive, Inc. Methods and apparatus of performing spine surgery
US8287597B1 (en) 2009-04-16 2012-10-16 Nuvasive, Inc. Method and apparatus for performing spine surgery
US9351845B1 (en) 2009-04-16 2016-05-31 Nuvasive, Inc. Method and apparatus for performing spine surgery
US8394102B2 (en) 2009-06-25 2013-03-12 Baxano, Inc. Surgical tools for treatment of spinal stenosis
US9114226B1 (en) 2009-07-08 2015-08-25 Vioptix, Inc. Devices and monitoring systems for locating a blood vessel
US9681813B2 (en) 2009-07-29 2017-06-20 Dinnos Technology Neurophysiological stimulation system and methods with wireless communication
US8983567B1 (en) 2009-08-01 2015-03-17 Nuvasive, Inc. Systems and methods for vessel avoidance during spine surgery
US8152720B2 (en) * 2009-08-05 2012-04-10 Thomas Stuart Loftus Retracto component system and method of using same
US10245159B1 (en) 2009-09-18 2019-04-02 Spinal Surgical Strategies, Llc Bone graft delivery system and method for using same
USD750249S1 (en) 2014-10-20 2016-02-23 Spinal Surgical Strategies, Llc Expandable fusion cage
US9629729B2 (en) 2009-09-18 2017-04-25 Spinal Surgical Strategies, Llc Biological delivery system with adaptable fusion cage interface
US20170238984A1 (en) 2009-09-18 2017-08-24 Spinal Surgical Strategies, Llc Bone graft delivery device with positioning handle
US8906028B2 (en) 2009-09-18 2014-12-09 Spinal Surgical Strategies, Llc Bone graft delivery device and method of using the same
US9173694B2 (en) 2009-09-18 2015-11-03 Spinal Surgical Strategies, Llc Fusion cage with combined biological delivery system
US8685031B2 (en) 2009-09-18 2014-04-01 Spinal Surgical Strategies, Llc Bone graft delivery system
US9186193B2 (en) 2009-09-18 2015-11-17 Spinal Surgical Strategies, Llc Fusion cage with combined biological delivery system
US10973656B2 (en) 2009-09-18 2021-04-13 Spinal Surgical Strategies, Inc. Bone graft delivery system and method for using same
USD723682S1 (en) 2013-05-03 2015-03-03 Spinal Surgical Strategies, Llc Bone graft delivery tool
US9060877B2 (en) 2009-09-18 2015-06-23 Spinal Surgical Strategies, Llc Fusion cage with combined biological delivery system
US20110098537A1 (en) * 2009-10-28 2011-04-28 Warsaw Orthopedic, Inc. Tissue massage retractor
WO2011059491A1 (en) 2009-11-10 2011-05-19 Nuvasive Inc. Method and apparatus for performing spinal surgery
US9138217B2 (en) 2009-11-11 2015-09-22 Nu Vasive, Inc. Surgical access system and related methods
US8764806B2 (en) 2009-12-07 2014-07-01 Samy Abdou Devices and methods for minimally invasive spinal stabilization and instrumentation
US8636655B1 (en) 2010-01-19 2014-01-28 Ronald Childs Tissue retraction system and related methods
US9307971B2 (en) * 2010-02-01 2016-04-12 Warsaw Orthopedic, Inc. Surgical retractor instrument systems and methods of using the same
WO2011097311A2 (en) 2010-02-02 2011-08-11 Vidacare Corporation Intraosseous-needle stabilizer and methods
US8792951B1 (en) 2010-02-23 2014-07-29 Vioptix, Inc. Bone oxygenation measurement
US20110230785A1 (en) * 2010-03-16 2011-09-22 ProNerve, LLC Somatosensory Evoked Potential (SSEP) Automated Alert System
EP2547292B1 (en) 2010-03-16 2019-04-24 Pinnacle Spine Group, LLC Ntervertebral implants and graft delivery systems
US9392953B1 (en) 2010-09-17 2016-07-19 Nuvasive, Inc. Neurophysiologic monitoring
AU2011305639B2 (en) 2010-09-20 2014-11-06 Synthes Gmbh Spinal access retractor
WO2012050973A1 (en) * 2010-09-29 2012-04-19 Ams Research Corporation Systems, tools, and methods for treatments of pelvic conditions
JP6045497B2 (ja) * 2010-10-08 2016-12-14 ケー2エム, インコーポレイテッド 側方アクセスシステムおよび使用方法
US9155503B2 (en) 2010-10-27 2015-10-13 Cadwell Labs Apparatus, system, and method for mapping the location of a nerve
WO2012065125A1 (en) 2010-11-11 2012-05-18 University Of Iowa Research Foundation Remotely controlled and/or laterally supported devices for direct spinal cord stimulation
US10071240B2 (en) 2010-11-11 2018-09-11 University Of Iowa Research Foundation Floating electrodes that engage and accommodate movement of the spinal cord
US8790406B1 (en) 2011-04-01 2014-07-29 William D. Smith Systems and methods for performing spine surgery
US8786233B2 (en) 2011-04-27 2014-07-22 Medtronic Xomed, Inc. Electric ratchet for a powered screwdriver
US9307972B2 (en) 2011-05-10 2016-04-12 Nuvasive, Inc. Method and apparatus for performing spinal fusion surgery
HK1202790A1 (en) 2011-07-11 2015-10-09 维达保健公司 Sternal locators and associated systems and methods
US8636656B2 (en) 2011-08-16 2014-01-28 Warsaw Orthopedic, Inc. Retractor assemblies with blade drive mechanisms
CN103987326B (zh) 2011-08-19 2016-06-08 诺威适有限公司 手术牵开器系统及使用方法
US9113853B1 (en) 2011-08-31 2015-08-25 Nuvasive, Inc. Systems and methods for performing spine surgery
EP2750611B1 (en) * 2011-08-31 2016-11-23 Lanx, Inc. Lateral retractor system
US8845728B1 (en) 2011-09-23 2014-09-30 Samy Abdou Spinal fixation devices and methods of use
US9622779B2 (en) 2011-10-27 2017-04-18 DePuy Synthes Products, Inc. Method and devices for a sub-splenius / supra-levator scapulae surgical access technique
US9198765B1 (en) 2011-10-31 2015-12-01 Nuvasive, Inc. Expandable spinal fusion implants and related methods
WO2013067179A2 (en) * 2011-11-01 2013-05-10 Synthes Usa, Llc Dilation system
WO2013067018A2 (en) 2011-11-01 2013-05-10 Synthes Usa, Llc Intraoperative neurophysiological monitoring system
US9380932B1 (en) 2011-11-02 2016-07-05 Pinnacle Spine Group, Llc Retractor devices for minimally invasive access to the spine
US8983593B2 (en) 2011-11-10 2015-03-17 Innovative Surgical Solutions, Llc Method of assessing neural function
US9301711B2 (en) 2011-11-10 2016-04-05 Innovative Surgical Solutions, Llc System and method for assessing neural health
US8795167B2 (en) 2011-11-15 2014-08-05 Baxano Surgical, Inc. Spinal therapy lateral approach access instruments
US9561059B1 (en) 2011-11-23 2017-02-07 Nuvasive, Inc. Minimally invasive facet release
KR20140133837A (ko) * 2012-01-30 2014-11-20 유니버시티 오브 아이오와 리써치 파운데이션 요통을 치료하기 위해 척수에 전극 어레이를 고정하는 시스템
US9655505B1 (en) 2012-02-06 2017-05-23 Nuvasive, Inc. Systems and methods for performing neurophysiologic monitoring during spine surgery
US9066701B1 (en) * 2012-02-06 2015-06-30 Nuvasive, Inc. Systems and methods for performing neurophysiologic monitoring during spine surgery
US20130226240A1 (en) 2012-02-22 2013-08-29 Samy Abdou Spinous process fixation devices and methods of use
US9060815B1 (en) 2012-03-08 2015-06-23 Nuvasive, Inc. Systems and methods for performing spine surgery
US9888859B1 (en) 2013-03-14 2018-02-13 Nuvasive, Inc. Directional dilator for intraoperative monitoring
US8855822B2 (en) 2012-03-23 2014-10-07 Innovative Surgical Solutions, Llc Robotic surgical system with mechanomyography feedback
US20150342621A1 (en) * 2014-05-29 2015-12-03 Avery M. Jackson, III Illuminated endoscopic pedicle probe with dynamic real time monitoring for proximity to nerves
US20150080755A1 (en) * 2012-05-16 2015-03-19 Avery M. Jackson, III Illuminated Endoscopic Pedicle Probe With Electromyographic Monitoring
US20140142420A1 (en) 2012-05-16 2014-05-22 Avery M. Jackson, III Illuminated Endoscopic Pedicle Probe With Replaceable Tip
US9216068B2 (en) 2012-06-27 2015-12-22 Camplex, Inc. Optics for video cameras on a surgical visualization system
US9642606B2 (en) * 2012-06-27 2017-05-09 Camplex, Inc. Surgical visualization system
US9039630B2 (en) 2012-08-22 2015-05-26 Innovative Surgical Solutions, Llc Method of detecting a sacral nerve
US9198767B2 (en) 2012-08-28 2015-12-01 Samy Abdou Devices and methods for spinal stabilization and instrumentation
US8892259B2 (en) 2012-09-26 2014-11-18 Innovative Surgical Solutions, LLC. Robotic surgical system with mechanomyography feedback
US10016142B2 (en) 2012-10-19 2018-07-10 Sidewaystrategies Llc Systems and methods for nerve mapping and monitoring
US9320617B2 (en) 2012-10-22 2016-04-26 Cogent Spine, LLC Devices and methods for spinal stabilization and instrumentation
US20140114341A1 (en) * 2012-10-23 2014-04-24 Kyle Wolff Expandable dilator
US11259737B2 (en) 2012-11-06 2022-03-01 Nuvasive, Inc. Systems and methods for performing neurophysiologic monitoring during spine surgery
US11877860B2 (en) 2012-11-06 2024-01-23 Nuvasive, Inc. Systems and methods for performing neurophysiologic monitoring during spine surgery
US9757067B1 (en) 2012-11-09 2017-09-12 Nuvasive, Inc. Systems and methods for performing neurophysiologic monitoring during spine surgery
US9295401B2 (en) 2012-11-27 2016-03-29 Cadwell Laboratories, Inc. Neuromonitoring systems and methods
US10610737B1 (en) * 2013-01-22 2020-04-07 Bruce Scott Crawford System and method for using video-synchronized electromyography to improve neuromuscular performance of a target muscle
US9757072B1 (en) 2013-02-11 2017-09-12 Nuvasive, Inc. Waveform marker placement algorithm for use in neurophysiologic monitoring
US9408596B2 (en) 2013-03-11 2016-08-09 Spinal Elements, Inc. Method of using a surgical tissue retractor
US9782159B2 (en) 2013-03-13 2017-10-10 Camplex, Inc. Surgical visualization systems
US10070970B2 (en) 2013-03-14 2018-09-11 Pinnacle Spine Group, Llc Interbody implants and graft delivery systems
US9675303B2 (en) * 2013-03-15 2017-06-13 Vertiflex, Inc. Visualization systems, instruments and methods of using the same in spinal decompression procedures
US10098585B2 (en) 2013-03-15 2018-10-16 Cadwell Laboratories, Inc. Neuromonitoring systems and methods
US8727975B1 (en) 2013-05-10 2014-05-20 Spine Wave, Inc. Retractor for use in spinal surgery
KR102390107B1 (ko) 2013-05-30 2022-04-25 그라함 에이치. 크리시 국부 신경 자극
US11229789B2 (en) 2013-05-30 2022-01-25 Neurostim Oab, Inc. Neuro activator with controller
US10709434B2 (en) * 2013-07-09 2020-07-14 Globus Medical, Inc. Surgical access systems and methods
US10478097B2 (en) 2013-08-13 2019-11-19 Innovative Surgical Solutions Neural event detection
US10478096B2 (en) 2013-08-13 2019-11-19 Innovative Surgical Solutions. Neural event detection
US10449002B2 (en) 2013-09-20 2019-10-22 Innovative Surgical Solutions, Llc Method of mapping a nerve
US10376209B2 (en) 2013-09-20 2019-08-13 Innovative Surgical Solutions, Llc Neural locating method
US10376208B2 (en) 2013-09-20 2019-08-13 Innovative Surgical Solutions, Llc Nerve mapping system
WO2015042483A2 (en) 2013-09-20 2015-03-26 Camplex, Inc. Surgical visualization systems
WO2015042460A1 (en) 2013-09-20 2015-03-26 Camplex, Inc. Surgical visualization systems and displays
US9622684B2 (en) 2013-09-20 2017-04-18 Innovative Surgical Solutions, Llc Neural locating system
US20170095240A9 (en) * 2013-10-07 2017-04-06 Warsaw Orthopedic, Inc. Spinal implant system and method for lumbar and lumbosacral fusion
WO2015134367A1 (en) 2014-03-03 2015-09-11 Alphatec Spine, Inc. Soft tissue retractor
EP3116462B1 (en) 2014-03-10 2018-05-02 Stryker Corporation Limb positioning system
US9724137B2 (en) 2014-03-19 2017-08-08 Warsaw Orthopedic, Inc. Surgical instrumentation and method
US9549723B2 (en) 2014-03-19 2017-01-24 Warsaw Othropedic, Inc. Surgical instrumentation and method
US10258228B2 (en) * 2014-08-08 2019-04-16 K2M, Inc. Retraction devices, systems, and methods for minimally invasive spinal surgery
GB2598671B (en) 2014-08-13 2022-07-13 Nuvasive Inc Minimally disruptive retractor and associated methods for spinal surgery
JP6957347B2 (ja) 2014-09-10 2021-11-02 スパイナル・エレメンツ・インコーポレーテッド 開創器
US10420480B1 (en) 2014-09-16 2019-09-24 Nuvasive, Inc. Systems and methods for performing neurophysiologic monitoring
USD761957S1 (en) 2014-11-11 2016-07-19 Nuvasive, Inc. Combined intradiscal insertion tool and intradiscal shim
EP3226799A4 (en) 2014-12-05 2018-07-25 Camplex, Inc. Surgical visualization systems and displays
US11077301B2 (en) 2015-02-21 2021-08-03 NeurostimOAB, Inc. Topical nerve stimulator and sensor for bladder control
US9951904B2 (en) 2015-03-24 2018-04-24 Stryker Corporation Rotatable seat clamps for rail clamp
WO2016154589A1 (en) 2015-03-25 2016-09-29 Camplex, Inc. Surgical visualization systems and displays
US10433793B1 (en) 2015-03-27 2019-10-08 Cadwell Laboratories, Inc. Methods and systems for simultaneous review of brain activity and physical manifestations of users
US10201342B2 (en) * 2015-06-01 2019-02-12 Alphatec Spine, Inc. Radio transparent retractor system and method of using radio transparent retractor system
US10799226B2 (en) 2015-07-15 2020-10-13 Warsaw Orthopedic, Inc. Surgical adaptor and method
US10213192B2 (en) 2015-07-15 2019-02-26 Warsaw Orthopedic, Inc. Surgical instrument and method of use
US10219798B2 (en) 2015-07-15 2019-03-05 Warsaw Orthopedic, Inc. Surgical instrument and method of use
US10278687B2 (en) * 2015-08-18 2019-05-07 Globus Medical, Inc. Devices and systems for surgical retraction
US10857003B1 (en) 2015-10-14 2020-12-08 Samy Abdou Devices and methods for vertebral stabilization
USD797290S1 (en) 2015-10-19 2017-09-12 Spinal Surgical Strategies, Llc Bone graft delivery tool
WO2017091704A1 (en) 2015-11-25 2017-06-01 Camplex, Inc. Surgical visualization systems and displays
WO2017155718A1 (en) 2016-03-09 2017-09-14 Spinal Elements, Inc. Retractor
WO2017200555A1 (en) * 2016-05-20 2017-11-23 Choicespine, Lp Access instruments to extend a surgical working channel
US11272871B2 (en) 2016-07-14 2022-03-15 Sidewaystrategies Llc System and methods for improving diagnostic evoked potential studies for functional assessments of nerves and nerve pathways
WO2018039228A1 (en) 2016-08-23 2018-03-01 Stryker European Holdings I, Llc Instrumentation for the implantation of spinal implants
WO2018052795A1 (en) * 2016-09-19 2018-03-22 Intuitive Surgical Operations, Inc. Base positioning system for a controllable arm and related methods
US10898175B2 (en) 2016-10-04 2021-01-26 Jgmg Bengochea, Llc Retractor extension clip systems
WO2018067794A1 (en) 2016-10-05 2018-04-12 Nuvasive, Inc. Surgical navigation system and related methods
US10321833B2 (en) 2016-10-05 2019-06-18 Innovative Surgical Solutions. Neural locating method
US10973648B1 (en) 2016-10-25 2021-04-13 Samy Abdou Devices and methods for vertebral bone realignment
US10744000B1 (en) 2016-10-25 2020-08-18 Samy Abdou Devices and methods for vertebral bone realignment
US11241297B2 (en) 2016-12-12 2022-02-08 Cadwell Laboratories, Inc. System and method for high density electrode management
US9935395B1 (en) 2017-01-23 2018-04-03 Cadwell Laboratories, Inc. Mass connection plate for electrical connectors
WO2018144297A1 (en) 2017-02-01 2018-08-09 Avent, Inc. Emg guidance for probe placement, nearby tissue preservation, and lesion confirmation
EP3357459A1 (en) 2017-02-03 2018-08-08 Spinal Surgical Strategies, LLC Bone graft delivery device with positioning handle
US10716553B2 (en) 2017-04-19 2020-07-21 Pantheon Spinal, Llc Spine surgery retractor system and related methods
US10918455B2 (en) 2017-05-08 2021-02-16 Camplex, Inc. Variable light source
WO2019036048A2 (en) 2017-08-17 2019-02-21 Stryker European Holdings I, Llc SIDE ACCESS BRIDGES, SADDLES AND LIGHTS COMPRISING BAR LIGHTING
EP3706856A4 (en) 2017-11-07 2021-08-18 Neurostim Oab, Inc. NON-INVASIVE NERVOUS ACTIVATOR WITH ADAPTIVE CIRCUIT
US10905566B2 (en) * 2018-02-05 2021-02-02 Spineology Inc. Percutaneous posterior implant slide
US11806250B2 (en) 2018-02-22 2023-11-07 Warsaw Orthopedic, Inc. Expandable spinal implant system and method of using same
EP3545857B1 (en) 2018-03-30 2024-01-03 Stryker European Operations Holdings LLC Lateral access retractor and core insertion
US11517239B2 (en) 2018-04-05 2022-12-06 Cadwell Laboratories, Inc. Systems and methods for processing and displaying electromyographic signals
US11596337B2 (en) 2018-04-24 2023-03-07 Cadwell Laboratories, Inc Methods and systems for operating an intraoperative neurophysiological monitoring system in conjunction with electrocautery procedures
US11253182B2 (en) 2018-05-04 2022-02-22 Cadwell Laboratories, Inc. Apparatus and method for polyphasic multi-output constant-current and constant-voltage neurophysiological stimulation
US11992339B2 (en) 2018-05-04 2024-05-28 Cadwell Laboratories, Inc. Systems and methods for dynamic neurophysiological stimulation
WO2019232544A1 (en) 2018-06-01 2019-12-05 University Of Iowa Research Foundation Transdural electrode device for stimulation of the spinal cord
US10869616B2 (en) 2018-06-01 2020-12-22 DePuy Synthes Products, Inc. Neural event detection
US11443649B2 (en) 2018-06-29 2022-09-13 Cadwell Laboratories, Inc. Neurophysiological monitoring training simulator
US11185684B2 (en) 2018-09-18 2021-11-30 Cadwell Laboratories, Inc. Minimally invasive two-dimensional grid electrode
US11179248B2 (en) 2018-10-02 2021-11-23 Samy Abdou Devices and methods for spinal implantation
US10870002B2 (en) 2018-10-12 2020-12-22 DePuy Synthes Products, Inc. Neuromuscular sensing device with multi-sensor array
US11413029B2 (en) 2018-10-24 2022-08-16 Stryker European Operations Holdings Llc Anterior to psoas instrumentation
US11517245B2 (en) 2018-10-30 2022-12-06 Cadwell Laboratories, Inc. Method and system for data synchronization
US12533069B2 (en) 2018-11-09 2026-01-27 Cadwell Laboratories, Inc. Systems and methods of electrode switching for neurophysiological sensing and stimulation
US11471087B2 (en) 2018-11-09 2022-10-18 Cadwell Laboratories, Inc. Integrity verification system for testing high channel count neuromonitoring recording equipment
US11771464B2 (en) 2018-11-13 2023-10-03 Stryker European Operations Limited Probes for surgical access system
US11317841B2 (en) 2018-11-14 2022-05-03 Cadwell Laboratories, Inc. Method and system for electrode verification
US11529107B2 (en) 2018-11-27 2022-12-20 Cadwell Laboratories, Inc. Methods for automatic generation of EEG montages
US11128076B2 (en) 2019-01-21 2021-09-21 Cadwell Laboratories, Inc. Connector receptacle
US11266391B2 (en) 2019-02-11 2022-03-08 Warsaw Orthopedic, Inc. Surgical retractor and method
US10959716B2 (en) 2019-02-11 2021-03-30 Warsaw Orthopedic, Inc. Surgical retractor system and method
US11602337B2 (en) 2019-04-24 2023-03-14 Nuvasive, Inc. Transmission assembly
US11547395B2 (en) 2019-06-18 2023-01-10 Nuvasive, Inc. Tissue retraction system
JP7337964B2 (ja) * 2019-06-18 2023-09-04 ニューヴェイジヴ,インコーポレイテッド 組織牽引システム
JP2022538419A (ja) 2019-06-26 2022-09-02 ニューロスティム テクノロジーズ エルエルシー 適応回路を備えた非侵襲性神経活性化装置
US11612440B2 (en) 2019-09-05 2023-03-28 Nuvasive, Inc. Surgical instrument tracking devices and related methods
US11678906B2 (en) * 2019-09-09 2023-06-20 Amplify Surgical, Inc. Multi-portal surgical systems, cannulas, and related technologies
US11464648B2 (en) 2019-09-09 2022-10-11 Amplify Surgical, Inc. Multi-portal surgical systems
US11399777B2 (en) 2019-09-27 2022-08-02 DePuy Synthes Products, Inc. Intraoperative neural monitoring system and method
US11564674B2 (en) 2019-11-27 2023-01-31 K2M, Inc. Lateral access system and method of use
CA3152451A1 (en) 2019-12-16 2021-06-24 Michael Bernard Druke Non-invasive nerve activator with boosted charge delivery
US11432810B2 (en) 2020-05-12 2022-09-06 Innovasis, Inc. Systems and methods for surgical retraction
USD956224S1 (en) 2020-05-12 2022-06-28 Innovasis, Inc. Surgical retractor
USD956223S1 (en) 2020-05-12 2022-06-28 Innovasis, Inc. Surgical retractor
USD956225S1 (en) 2020-05-12 2022-06-28 Innovasis, Inc. Surgical retractor
US11224415B1 (en) 2020-07-10 2022-01-18 Warsaw Orthopedic, Inc. Tissue retractor
US12349889B2 (en) 2020-07-10 2025-07-08 Warsaw Orthopedic, Inc. Tissue retractor, retraction modules, and associated methods
US12096923B2 (en) 2020-07-10 2024-09-24 Warsaw Orthopedic, Inc. Tissue retractor, retraction modules, and associated methods
US12383249B2 (en) 2020-07-10 2025-08-12 Warsaw Orthopedic, Inc. Tissue retractor, retraction modules, and associated methods
US11285014B1 (en) 2020-11-05 2022-03-29 Warsaw Orthopedic, Inc. Expandable inter-body device, system, and method
US12318308B2 (en) 2020-11-05 2025-06-03 Warsaw Orthopedic, Inc. Dual expandable inter-body device
US11638653B2 (en) 2020-11-05 2023-05-02 Warsaw Orthopedic, Inc. Surgery instruments with a movable handle
US11395743B1 (en) 2021-05-04 2022-07-26 Warsaw Orthopedic, Inc. Externally driven expandable interbody and related methods
US12121453B2 (en) 2020-11-05 2024-10-22 Warsaw Orthopedic, Inc. Dual wedge expandable implant with eyelets, system, and method of use
US12171439B2 (en) 2020-11-05 2024-12-24 Warsaw Orthopedic, Inc. Protected drill
US11517443B2 (en) 2020-11-05 2022-12-06 Warsaw Orthopedic, Inc. Dual wedge expandable implant, system and method of use
US11833059B2 (en) 2020-11-05 2023-12-05 Warsaw Orthopedic, Inc. Expandable inter-body device, expandable plate system, and associated methods
US11564724B2 (en) 2020-11-05 2023-01-31 Warsaw Orthopedic, Inc. Expandable inter-body device, system and method
US12239544B2 (en) 2020-11-05 2025-03-04 Warsaw Orthopedic, Inc. Rhomboid shaped implants
US11376134B1 (en) 2020-11-05 2022-07-05 Warsaw Orthopedic, Inc. Dual expanding spinal implant, system, and method of use
US11963881B2 (en) 2020-11-05 2024-04-23 Warsaw Orthopedic, Inc. Expandable inter-body device, system, and method
US11291554B1 (en) 2021-05-03 2022-04-05 Medtronic, Inc. Unibody dual expanding interbody implant
JP2024503601A (ja) * 2020-12-29 2024-01-26 アルファテック スパイン, インコーポレイテッド リトラクタブレードデバイス、及び関連する方法
CN112842421A (zh) * 2021-01-25 2021-05-28 徐州仁慈医院 手术开口定型器和创口软组织扩张及深部神经根遮挡方法
US12076059B2 (en) * 2021-02-10 2024-09-03 Blake Boesel Pedicle screw retractor system and method of use for spine surgery
US12533240B2 (en) 2021-03-10 2026-01-27 Amplify Surgical, Inc. Drive instruments with retention mechanisms, medical implants, and related technologies
US12193850B2 (en) 2021-03-22 2025-01-14 Nuvasive, Inc. Multi-user surgical cart
US12343001B2 (en) 2021-06-11 2025-07-01 Corelink, Llc Tissue retractor and adaptor therefor
US12414863B2 (en) 2021-06-24 2025-09-16 Warsaw Orthopedic, Inc. Expandable interbody implant and corresponding surgical tool
US12485019B2 (en) 2021-06-24 2025-12-02 Warsaw Orthopedic, Inc. Parallel jaw inserter
US12268614B2 (en) 2021-06-24 2025-04-08 Warsaw Orthopedic, Inc. Interbody implant with adjusting shims
US12440349B2 (en) 2021-11-01 2025-10-14 Warsaw Orthopedic, Inc. Expandable interbody implant and breakoff screw
US11612499B2 (en) 2021-06-24 2023-03-28 Warsaw Orthopedic, Inc. Expandable interbody implant
US12295865B2 (en) 2021-06-24 2025-05-13 Warsaw Orthopedic, Inc. Expandable interbody implant and corresponding inserter
US11730608B2 (en) 2021-07-13 2023-08-22 Warsaw Orthopedic, Inc. Monoblock expandable interbody implant
US12514549B2 (en) 2021-08-31 2026-01-06 Cadwell Laboratories, Inc. Methods and systems for evaluating echo data contemporaneous with an electrodiagnostic study
US11850163B2 (en) 2022-02-01 2023-12-26 Warsaw Orthopedic, Inc. Interbody implant with adjusting shims
WO2024074925A1 (en) 2022-10-07 2024-04-11 Neo Medical Sa Retractor system for spine surgery
US11950770B1 (en) 2022-12-01 2024-04-09 Amplify Surgical, Inc. Multi-portal split cannulas, endoscopic hemostatic dispensers and surgical tools
US12533241B2 (en) 2023-05-16 2026-01-27 Warsaw Orthopedic, Inc. Distracting and angling expandable interbody device

Citations (5)

* Cited by examiner, † Cited by third party
Publication number Priority date Publication date Assignee Title
US5928139A (en) * 1998-04-24 1999-07-27 Koros; Tibor B. Retractor with adjustable length blades and light pipe guides
WO2002054960A2 (en) * 2000-12-20 2002-07-18 Genzyme Corp Segmented arm assembly for use with a surgical retractor and instruments and methods related thereto
US6468207B1 (en) * 2000-02-04 2002-10-22 Lone Star Medical Products, Inc. Deep tissue surgical retractor apparatus and method of retracting tissue
WO2003005887A2 (en) * 2001-07-11 2003-01-23 Nuvasive, Inc. System and methods for determining nerve proximity, direction, and pathology during surgery
US20030149341A1 (en) * 2002-02-06 2003-08-07 Clifton Guy L. Retractor and/or distractor for anterior cervical fusion

Family Cites Families (435)

* Cited by examiner, † Cited by third party
Publication number Priority date Publication date Assignee Title
US509226A (en) 1893-11-21 Surgical instrument
US2736002A (en) * 1956-02-21 oriel
US208227A (en) * 1878-09-24 Improvement in vaginal speculums
US972983A (en) * 1909-05-17 1910-10-18 Lester R Lantz Dilator.
US1003232A (en) 1910-10-15 1911-09-12 Ferdinando Cerbo Urethroscope.
US1044348A (en) 1912-06-29 1912-11-12 Ferdinando Cerbo Urethroscope.
US1328624A (en) * 1917-08-13 1920-01-20 Frank B Graham Dilator
US1548184A (en) * 1923-04-11 1925-08-04 Will J Cameron Holder and control for pulp testers
US1919120A (en) 1932-02-10 1933-07-18 Bernard A O'connor Surgical instrument
US2594086A (en) * 1950-04-29 1952-04-22 David P Smith Table supported abdominal retractor
US2704064A (en) * 1952-09-10 1955-03-15 Meditron Company Neurosurgical stimulator
US2704061A (en) 1953-10-27 1955-03-15 Lloyd E Amspacker Ring spreading device
US2808826A (en) * 1956-01-19 1957-10-08 Teca Corp Electro-diagnostic apparatus and a circuit therefor
US2840082A (en) 1957-04-04 1958-06-24 Joseph E Salvatore Elastic band expanding device
US3364929A (en) * 1964-12-21 1968-01-23 Burroughs Wellcome Co Method for administering muscle relaxant drug
US3682162A (en) * 1968-12-13 1972-08-08 Wellcome Found Combined electrode and hypodermic syringe needle
US3664329A (en) * 1970-03-09 1972-05-23 Concept Nerve locator/stimulator
CH531879A (de) 1971-04-13 1972-12-31 Micro Mega Sa Zahnärztliches Handstück zum Anschluss an einen Mikromotor
US3740839A (en) 1971-06-29 1973-06-26 Raychem Corp Cryogenic connection method and means
US3785368A (en) * 1971-08-23 1974-01-15 Carthy T Mc Abnormal nerve pressure locus detector and method
US3830226A (en) * 1973-06-15 1974-08-20 Concept Variable output nerve locator
US3957036A (en) * 1975-02-03 1976-05-18 Baylor College Of Medicine Method and apparatus for recording activity in intact nerves
USD245789S (en) 1975-11-05 1977-09-13 Shea John J Bone drill
GB1534162A (en) * 1976-07-21 1978-11-29 Lloyd J Cyosurgical probe
US4099519A (en) * 1977-01-14 1978-07-11 Warren Fred E Diagnostic device
US4164214A (en) * 1977-07-25 1979-08-14 The Regents Of The University Of California Method and apparatus for measuring the sensitivity of teeth
US4224949A (en) * 1977-11-17 1980-09-30 Cornell Research Foundation, Inc. Method and electrical resistance probe for detection of estrus in bovine
US4226288A (en) 1978-05-05 1980-10-07 California Institute Of Technology Side hole drilling in boreholes
US4226228A (en) * 1978-11-02 1980-10-07 Shin Hee J Multiple joint retractor with light
US4235242A (en) 1979-04-02 1980-11-25 Med General, Inc. Electronic circuit permitting simultaneous use of stimulating and monitoring equipment
US4285347A (en) 1979-07-25 1981-08-25 Cordis Corporation Stabilized directional neural electrode lead
US4291705A (en) * 1979-09-10 1981-09-29 The Regents Of The University Of California Neuromuscular block monitor
DE3025785C2 (de) 1980-07-08 1984-08-16 Storz, Karl, 7200 Tuttlingen Dilatator, Verfahren zu seiner Verwendung und Vorrichtung zur Durchführung des Verfahrens
USRE34390E (en) 1980-12-31 1993-09-28 Nicolet Instrument Corporation Apparatus and method for topographic display of multichannel EEG data
US4461300A (en) * 1982-01-18 1984-07-24 Sutter Biomedical, Inc. Bone and tissue healing device including a special electrode assembly and method
US4592369A (en) * 1982-07-12 1986-06-03 National Research Development Corp. Method and apparatus for use in temporal analysis of waveforms
US4545374A (en) * 1982-09-03 1985-10-08 Jacobson Robert E Method and instruments for performing a percutaneous lumbar diskectomy
DE3240592A1 (de) * 1982-11-03 1984-05-03 Werner Dipl.-Ing. 8000 München Kraus Implantierbare vorrichtung zur stimulation des knochenwachstums
US4512351A (en) 1982-11-19 1985-04-23 Cordis Corporation Percutaneous lead introducing system and method
US4519403A (en) * 1983-04-29 1985-05-28 Medtronic, Inc. Balloon lead and inflator
US4545373A (en) 1983-05-04 1985-10-08 Christoudias George C Silastic tube relay rod
US4561445A (en) 1983-05-25 1985-12-31 Joseph J. Berke Elongated needle electrode and method of making same
FI73878C (fi) * 1983-06-10 1987-12-10 Instrumentarium Oy Foerfarande foer vidareutveckling av nervmuskelanslutnings maetning.
US4515168A (en) * 1983-07-22 1985-05-07 Chester Martin H Clamp-on nerve stimulator and locator
US4917274A (en) 1983-09-27 1990-04-17 Maurice Asa Miniscule droplet dispenser tip
US4573448A (en) * 1983-10-05 1986-03-04 Pilling Co. Method for decompressing herniated intervertebral discs
US4562832A (en) * 1984-01-21 1986-01-07 Wilder Joseph R Medical instrument and light pipe illumination assembly
DE3509787C2 (de) 1984-04-04 1987-03-19 Aesculap-Werke Ag Vormals Jetter & Scheerer, 7200 Tuttlingen Chirurgisches Instrument zum Spreizen von Wundrändern
US4595013A (en) 1984-08-17 1986-06-17 Neurologics, Inc. Electrode harness
US4633889A (en) * 1984-12-12 1987-01-06 Andrew Talalla Stimulation of cauda-equina spinal nerves
US4658835A (en) * 1985-07-25 1987-04-21 Cordis Corporation Neural stimulating lead with fixation canopy formation
EP0233258A1 (en) * 1985-08-16 1987-08-26 BROWN, David Electromyographic repetitive strain injury monitor
USD295445S (en) 1985-09-19 1988-04-26 Freeman Jerre M Combined punctum plug dilator and inserter for treating dry eye or other ophthalmic ailments
USD300561S (en) 1985-12-04 1989-04-04 Maurice Asa Fluid dispenser tip
US4892105A (en) * 1986-03-28 1990-01-09 The Cleveland Clinic Foundation Electrical stimulus probe
US4784150A (en) * 1986-11-04 1988-11-15 Research Corporation Surgical retractor and blood flow monitor
US4753223A (en) 1986-11-07 1988-06-28 Bremer Paul W System for controlling shape and direction of a catheter, cannula, electrode, endoscope or similar article
US4759377A (en) * 1986-11-26 1988-07-26 Regents Of The University Of Minnesota Apparatus and method for mechanical stimulation of nerves
US4744371A (en) * 1987-04-27 1988-05-17 Cordis Leads, Inc. Multi-conductor lead assembly for temporary use
CH672589A5 (ja) 1987-07-09 1989-12-15 Sulzer Ag
US4913134A (en) * 1987-07-24 1990-04-03 Biotechnology, Inc. Spinal fixation system
US4817587A (en) 1987-08-31 1989-04-04 Janese Woodrow W Ring para-spinal retractor
US4926865A (en) * 1987-10-01 1990-05-22 Oman Paul S Microcomputer-based nerve and muscle stimulator
US5487739A (en) 1987-11-17 1996-01-30 Brown University Research Foundation Implantable therapy systems and methods
DE8803153U1 (de) * 1988-03-09 1988-06-23 B. Braun Melsungen Ag, 3508 Melsungen Kathetervorrichtung für die Plexusanästhesie
US4862891A (en) 1988-03-14 1989-09-05 Canyon Medical Products Device for sequential percutaneous dilation
US5484437A (en) * 1988-06-13 1996-01-16 Michelson; Gary K. Apparatus and method of inserting spinal implants
US6770074B2 (en) 1988-06-13 2004-08-03 Gary Karlin Michelson Apparatus for use in inserting spinal implants
US5015247A (en) 1988-06-13 1991-05-14 Michelson Gary K Threaded spinal implant
AU7139994A (en) 1988-06-13 1995-01-03 Karlin Technology, Inc. Apparatus and method of inserting spinal implants
US5772661A (en) * 1988-06-13 1998-06-30 Michelson; Gary Karlin Methods and instrumentation for the surgical correction of human thoracic and lumbar spinal disease from the antero-lateral aspect of the spine
US7491205B1 (en) 1988-06-13 2009-02-17 Warsaw Orthopedic, Inc. Instrumentation for the surgical correction of human thoracic and lumbar spinal disease from the lateral aspect of the spine
US5609635A (en) 1988-06-28 1997-03-11 Michelson; Gary K. Lordotic interbody spinal fusion implants
US5127403A (en) * 1988-07-05 1992-07-07 Cardiac Control Systems, Inc. Pacemaker catheter utilizing bipolar electrodes spaced in accordance to the length of a heart depolarization signal
US5052373A (en) 1988-07-29 1991-10-01 Michelson Gary K Spinal retractor
US4950257A (en) 1988-09-15 1990-08-21 Mallinckrodt, Inc. Catheter introducer with flexible tip
US5058602A (en) * 1988-09-30 1991-10-22 Brody Stanley R Paraspinal electromyography scanning
US4945896A (en) 1989-01-24 1990-08-07 Gade George F Surgical retractor assembly having tissue viability sensor embedded therein
US5045054A (en) 1990-02-06 1991-09-03 Advanced Osseous Technologies Inc. Apparatus for implantation and extraction of osteal prostheses
US5458638A (en) 1989-07-06 1995-10-17 Spine-Tech, Inc. Non-threaded spinal implant
US4964411A (en) * 1989-07-13 1990-10-23 Empi, Inc. Evoked EMG signal processing
US4962766A (en) * 1989-07-19 1990-10-16 Herzon Garrett D Nerve locator and stimulator
US5514153A (en) 1990-03-02 1996-05-07 General Surgical Innovations, Inc. Method of dissecting tissue layers
US5295994A (en) 1991-11-15 1994-03-22 Bonutti Peter M Active cannulas
US5331975A (en) 1990-03-02 1994-07-26 Bonutti Peter M Fluid operated retractors
US5454365A (en) * 1990-11-05 1995-10-03 Bonutti; Peter M. Mechanically expandable arthroscopic retractors
USD340521S (en) 1990-04-09 1993-10-19 Colgate-Palmolive Company Periodontal instrument
US5081990A (en) * 1990-05-11 1992-01-21 New York University Catheter for spinal epidural injection of drugs and measurement of evoked potentials
US5095905A (en) * 1990-06-07 1992-03-17 Medtronic, Inc. Implantable neural electrode
US5269785A (en) * 1990-06-28 1993-12-14 Bonutti Peter M Apparatus and method for tissue removal
US5092344A (en) * 1990-11-19 1992-03-03 Lee Tzium Shou Remote indicator for stimulator
SE467561B (sv) * 1990-12-04 1992-08-10 Dorsograf Ab Apparat foer maetning av nervsignalers transporttid
US5190561A (en) 1991-01-23 1993-03-02 Surgical Innovations, Inc. Tissue and organ extractor
US5192327A (en) 1991-03-22 1993-03-09 Brantigan John W Surgical prosthetic implant for vertebrae
US5178133A (en) 1991-03-26 1993-01-12 Pena Louis T Laparoscopic retractor and sheath
US5215100A (en) 1991-04-29 1993-06-01 Occupational Preventive Diagnostic, Inc. Nerve condition monitoring system and electrode supporting structure
US5571149A (en) * 1991-05-21 1996-11-05 E.P., Inc. Non-intrusive analgesic neuroaugmentive and iontophoretic delivery apparatus and management system
US7744617B2 (en) 1991-05-29 2010-06-29 Covidien Ag Method and inflatable chamber apparatus for separating layers of tissue
US5231974A (en) 1991-05-31 1993-08-03 Giglio Steven R Self retaining retractor
WO1992021279A1 (en) * 1991-06-06 1992-12-10 Meditech International Pty Ltd Speculum
US5329846A (en) 1991-08-12 1994-07-19 Bonutti Peter M Tissue press and system
US5480440A (en) * 1991-08-15 1996-01-02 Smith & Nephew Richards, Inc. Open surgical technique for vertebral fixation with subcutaneous fixators positioned between the skin and the lumbar fascia of a patient
US5269797A (en) 1991-09-12 1993-12-14 Meditron Devices, Inc. Cervical discectomy instruments
US5161533A (en) 1991-09-19 1992-11-10 Xomed-Treace Inc. Break-apart needle electrode system for monitoring facial EMG
US5195541A (en) * 1991-10-18 1993-03-23 Obenchain Theodore G Method of performing laparoscopic lumbar discectomy
US5313962A (en) 1991-10-18 1994-05-24 Obenchain Theodore G Method of performing laparoscopic lumbar discectomy
US5395317A (en) 1991-10-30 1995-03-07 Smith & Nephew Dyonics, Inc. Unilateral biportal percutaneous surgical procedure
US5762629A (en) 1991-10-30 1998-06-09 Smith & Nephew, Inc. Oval cannula assembly and method of use
US5255691A (en) * 1991-11-13 1993-10-26 Medtronic, Inc. Percutaneous epidural lead introducing system and method
US6500173B2 (en) * 1992-01-07 2002-12-31 Ronald A. Underwood Methods for electrosurgical spine surgery
US5171279A (en) 1992-03-17 1992-12-15 Danek Medical Method for subcutaneous suprafascial pedicular internal fixation
US5284153A (en) * 1992-04-14 1994-02-08 Brigham And Women's Hospital Method for locating a nerve and for protecting nerves from injury during surgery
ES2041221B1 (es) 1992-04-24 1994-05-16 Alacreu Jose Vicente Barbera Procedimiento para la substitucion vertebral protesica en la cirugia de los tumores malignos y protesis para la practica de dicho procedimiento.
US5261918A (en) 1992-04-27 1993-11-16 Edward Weck Incorporated Sheathed surgical instrument and applicator kit
US5474558A (en) 1992-04-30 1995-12-12 Neubardt; Seth L. Procedure and system for spinal pedicle screw insertion
US5196015A (en) * 1992-04-30 1993-03-23 Neubardt Seth L Procedure for spinal pedicle screw insertion
US5312417A (en) * 1992-07-29 1994-05-17 Wilk Peter J Laparoscopic cannula assembly and associated method
US5299563A (en) * 1992-07-31 1994-04-05 Seton Joseph Z Method of using a surgical retractor
US5342384A (en) 1992-08-13 1994-08-30 Brigham & Women's Hospital Surgical dilator
US5772597A (en) * 1992-09-14 1998-06-30 Sextant Medical Corporation Surgical tool end effector
WO1994010924A1 (en) * 1992-11-13 1994-05-26 American Cardiac Ablation Co., Inc. Fluid cooled electrosurgical probe
US5375067A (en) 1992-12-11 1994-12-20 Nicolet Instrument Corporation Method and apparatus for adjustment of acquisition parameters in a data acquisition system such as a digital oscilloscope
US5450845A (en) * 1993-01-11 1995-09-19 Axelgaard; Jens Medical electrode system
US5814073A (en) * 1996-12-13 1998-09-29 Bonutti; Peter M. Method and apparatus for positioning a suture anchor
JPH08502438A (ja) 1993-02-22 1996-03-19 ヴァリーラブ・インコーポレーテッド 腹腔鏡切開緊張開創器装置及び方法
US6522905B2 (en) * 1993-03-11 2003-02-18 Jawahar M. Desai Apparatus and method for cardiac ablation
US5375594A (en) 1993-03-29 1994-12-27 Cueva; Roberto A. Removable medical electrode system
US5327902A (en) * 1993-05-14 1994-07-12 Lemmen Roger D Apparatus for use in nerve conduction studies
US5333618A (en) * 1993-06-30 1994-08-02 Gregory Lekhtman Portable self-contained instrument for the measurement of nerve resistance of a patient
US5549656A (en) * 1993-08-16 1996-08-27 Med Serve Group, Inc. Combination neuromuscular stimulator and electromyograph system
US5566678B1 (en) * 1993-09-10 1999-11-30 Cadwell Ind Inc Digital eeg noise synthesizer
US5425772A (en) 1993-09-20 1995-06-20 Brantigan; John W. Prosthetic implant for intervertebral spinal fusion
BE1007549A3 (nl) 1993-09-21 1995-08-01 Beckers Louis Francois Charles Implantaat.
JPH0793186A (ja) 1993-09-28 1995-04-07 Hitachi Software Eng Co Ltd 既存テストプログラムの再利用方法
CN1156255C (zh) 1993-10-01 2004-07-07 美商-艾克罗米德公司 脊椎植入物
US5433739A (en) 1993-11-02 1995-07-18 Sluijter; Menno E. Method and apparatus for heating an intervertebral disc for relief of back pain
US5560372A (en) * 1994-02-02 1996-10-01 Cory; Philip C. Non-invasive, peripheral nerve mapping device and method of use
CA2144211C (en) * 1994-03-16 2005-05-24 David T. Green Surgical instruments useful for endoscopic spinal procedures
US5653762A (en) 1994-03-18 1997-08-05 Pisharodi; Madhavan Method of stabilizing adjacent vertebrae with rotating, lockable, middle-expanded intervertebral disk stabilizer
US5893890A (en) 1994-03-18 1999-04-13 Perumala Corporation Rotating, locking intervertebral disk stabilizer and applicator
US6093207A (en) 1994-03-18 2000-07-25 Pisharodi; Madhavan Middle expanded, removable intervertebral disk stabilizer disk
CA2551185C (en) * 1994-03-28 2007-10-30 Sdgi Holdings, Inc. Apparatus and method for anterior spinal stabilization
US5616130A (en) 1994-06-20 1997-04-01 Nima Enterprises, Inc. Needleless injection site
US5482038A (en) * 1994-06-28 1996-01-09 Cadwell Industries, Inc. Needle electrode assembly
US5593429A (en) * 1994-06-28 1997-01-14 Cadwell Industries, Inc. Needle electrode with depth of penetration limiter
US5540235A (en) * 1994-06-30 1996-07-30 Wilson; John R. Adaptor for neurophysiological monitoring with a personal computer
US5503617A (en) 1994-07-19 1996-04-02 Jako; Geza J. Retractor and method for direct access endoscopic surgery
US5681265A (en) * 1994-09-02 1997-10-28 Yufu Seiki Co., Ltd. Cylindrical anal retractor
US6033405A (en) 1994-09-15 2000-03-07 Surgical Dynamics, Inc. Apparatus and method for implant insertion
US6038469A (en) * 1994-10-07 2000-03-14 Ortivus Ab Myocardial ischemia and infarction analysis and monitoring method and apparatus
US5579781A (en) 1994-10-13 1996-12-03 Cooke; Thomas H. Wireless transmitter for needle electrodes as used in electromyography
US5562736A (en) 1994-10-17 1996-10-08 Raymedica, Inc. Method for surgical implantation of a prosthetic spinal disc nucleus
US5630813A (en) * 1994-12-08 1997-05-20 Kieturakis; Maciej J. Electro-cauterizing dissector and method for facilitating breast implant procedure
US5766252A (en) 1995-01-24 1998-06-16 Osteonics Corp. Interbody spinal prosthetic implant and method
US5569290A (en) 1995-01-30 1996-10-29 Paul C. McAfee Method of and apparatus for laparoscopic or endoscopic spinal surgery using an unsealed anteriorly inserted transparent trochar
US5860973A (en) * 1995-02-27 1999-01-19 Michelson; Gary Karlin Translateral spinal implant
WO1996027348A1 (de) 1995-03-08 1996-09-12 Synthes Ag, Chur Zwischenwirbel-implantat
US6206922B1 (en) 1995-03-27 2001-03-27 Sdgi Holdings, Inc. Methods and instruments for interbody fusion
US5782919A (en) 1995-03-27 1998-07-21 Sdgi Holdings, Inc. Interbody fusion device and method for restoration of normal spinal anatomy
US5671752A (en) * 1995-03-31 1997-09-30 Universite De Montreal/The Royal Insitution For The Advancement Of Learning (Mcgill University) Diaphragm electromyography analysis method and system
WO1996032156A1 (en) 1995-04-10 1996-10-17 St. Luke's-Roosevelt Hospital Peripheral nerve stimulation device for unassisted nerve blockade
US5711307A (en) * 1995-04-13 1998-01-27 Liberty Mutual Insurance Company Method and apparatus for detecting myoelectric activity from the surface of the skin
US5775331A (en) * 1995-06-07 1998-07-07 Uromed Corporation Apparatus and method for locating a nerve
DE29510204U1 (de) * 1995-06-23 1995-08-31 Aesculap Ag, 78532 Tuttlingen Chirurgischer Wundsperrer
US5797854A (en) * 1995-08-01 1998-08-25 Hedgecock; James L. Method and apparatus for testing and measuring current perception threshold and motor nerve junction performance
US5688223A (en) * 1995-11-08 1997-11-18 Minnesota Scientific, Inc. Retractor support with adjustable retractor blades
US5707359A (en) * 1995-11-14 1998-01-13 Bufalini; Bruno Expanding trocar assembly
US5858373A (en) * 1995-12-01 1999-01-12 Virogenetics Corporation Recombinant poxvirus-feline infectious peritionitis virus, compositions thereof and methods for making and using them
US6425901B1 (en) * 1995-12-07 2002-07-30 Loma Linda University Medical Center Vascular wound closure system
US5814084A (en) 1996-01-16 1998-09-29 University Of Florida Tissue Bank, Inc. Diaphysial cortical dowel
US5779642A (en) * 1996-01-16 1998-07-14 Nightengale; Christopher Interrogation device and method
CA2198036C (en) 1996-02-20 2000-12-05 Charles S. Taylor Access platform for internal mammary dissection
US5865845A (en) 1996-03-05 1999-02-02 Thalgott; John S. Prosthetic intervertebral disc
US5800550A (en) 1996-03-13 1998-09-01 Sertich; Mario M. Interbody fusion cage
CA2199462C (en) 1996-03-14 2006-01-03 Charles J. Winslow Method and instrumentation for implant insertion
ES2274540T3 (es) * 1996-03-20 2007-05-16 General Surgical Innovations, Inc. Aparato para la diseccion y separacion combinadas.
EP0891156B1 (en) 1996-03-22 2004-07-14 SDGI Holdings, Inc. Device for percutaneous surgery
US5792044A (en) 1996-03-22 1998-08-11 Danek Medical, Inc. Devices and methods for percutaneous surgery
US7198598B2 (en) 1996-03-22 2007-04-03 Warsaw Orthopedic, Inc. Devices and methods for percutaneous surgery
US6679833B2 (en) 1996-03-22 2004-01-20 Sdgi Holdings, Inc. Devices and methods for percutaneous surgery
US5782774A (en) 1996-04-17 1998-07-21 Imagyn Medical Technologies California, Inc. Apparatus and method of bioelectrical impedance analysis of blood flow
US5667508A (en) * 1996-05-01 1997-09-16 Fastenetix, Llc Unitary locking cap for use with a pedicle screw
EP1340467B1 (en) 1996-05-09 2006-01-25 Olympus Corporation A cavity retaining tool for general surgery
DE19618945C2 (de) * 1996-05-10 2003-02-27 Phonak Ag Staefa Fixierbares Positioniersystem für die feste, spielfreie Anbindung an den menschlichen Schädel
DE19622827B4 (de) 1996-06-07 2009-04-23 Ulrich, Heinrich Implantat zum Einsetzen zwischen Wirbelkörper als Platzhalter
US5993474A (en) 1996-06-11 1999-11-30 Asahi Kogaku Kogyo Kabushiki Kaisha Treatment accessory for endoscope
US5741261A (en) 1996-06-25 1998-04-21 Sdgi Holdings, Inc. Minimally invasive spinal surgical methods and instruments
US6620155B2 (en) 1996-07-16 2003-09-16 Arthrocare Corp. System and methods for electrosurgical tissue contraction within the spine
US5853373A (en) 1996-08-05 1998-12-29 Becton, Dickinson And Company Bi-level charge pulse apparatus to facilitate nerve location during peripheral nerve block procedures
US5895426A (en) 1996-09-06 1999-04-20 Osteotech, Inc. Fusion implant device and method of use
FR2753368B1 (fr) 1996-09-13 1999-01-08 Chauvin Jean Luc Cage d'osteosynthese expansive
US5759159A (en) * 1996-09-25 1998-06-02 Ormco Corporation Method and apparatus for apical detection with complex impedance measurement
US5851208A (en) 1996-10-15 1998-12-22 Linvatec Corporation Rotatable surgical burr
US6063088A (en) 1997-03-24 2000-05-16 United States Surgical Corporation Method and instrumentation for implant insertion
US5968098A (en) 1996-10-22 1999-10-19 Surgical Dynamics, Inc. Apparatus for fusing adjacent bone structures
TW375522B (en) 1996-10-24 1999-12-01 Danek Medical Inc Devices for percutaneous surgery under direct visualization and through an elongated cannula
US5862314A (en) * 1996-11-01 1999-01-19 Micron Electronics, Inc. System and method for remapping defective memory locations
US5720751A (en) 1996-11-27 1998-02-24 Jackson; Roger P. Tools for use in seating spinal rods in open ended implants
DK0886535T3 (da) 1996-11-27 2006-11-27 Cook Vascular Tm Inc Radiofrekvensdilatorkappe
US6135965A (en) * 1996-12-02 2000-10-24 Board Of Regents, The University Of Texas System Spectroscopic detection of cervical pre-cancer using radial basis function networks
US5728159A (en) 1997-01-02 1998-03-17 Musculoskeletal Transplant Foundation Serrated bone graft
US6447484B1 (en) 1997-01-09 2002-09-10 Medtronic, Inc. Flexible disc obturator for a cannula assembly
US6039761A (en) 1997-02-12 2000-03-21 Li Medical Technologies, Inc. Intervertebral spacer and tool and method for emplacement thereof
US6099547A (en) 1997-02-13 2000-08-08 Scimed Life Systems, Inc. Method and apparatus for minimally invasive pelvic surgery
US5865847A (en) 1997-03-06 1999-02-02 Sulzer Spine-Tech Inc. Lordotic spinal implant
US5928158A (en) * 1997-03-25 1999-07-27 Aristides; Arellano Medical instrument with nerve sensor
US6004312A (en) * 1997-04-15 1999-12-21 Paraspinal Diagnostic Corporation Computerized EMG diagnostic system
EP1769777A1 (fr) 1997-04-25 2007-04-04 Stryker France S.A. Implants intersomatiques en deux parties
US6050992A (en) * 1997-05-19 2000-04-18 Radiotherapeutics Corporation Apparatus and method for treating tissue with multiple electrodes
US6042582A (en) 1997-05-20 2000-03-28 Ray; Charles D. Instrumentation and method for facilitating insertion of spinal implant
EP0892554A3 (en) 1997-06-18 2000-03-01 Matsushita Electric Industrial Co., Ltd. Program information retrieval apparatus, method and system for retrieving and displaying information of broadcast programs
US6080105A (en) 1997-06-26 2000-06-27 Spears; Robert A. Illuminated dental and surgical retractor and kit including plurality of blades and blades recharging base
US6146335A (en) 1997-07-01 2000-11-14 Neurometrix, Inc. Apparatus for methods for the assessment of neuromuscular function of the lower extremity
US6132386A (en) * 1997-07-01 2000-10-17 Neurometrix, Inc. Methods for the assessment of neuromuscular function by F-wave latency
US5851191A (en) 1997-07-01 1998-12-22 Neurometrix, Inc. Apparatus and methods for assessment of neuromuscular function
US6132387A (en) * 1997-07-01 2000-10-17 Neurometrix, Inc. Neuromuscular electrode
US5976146A (en) 1997-07-11 1999-11-02 Olympus Optical Co., Ltd. Surgical operation system and method of securing working space for surgical operation in body
US5910315A (en) 1997-07-18 1999-06-08 Stevenson; Sharon Allograft tissue material for filling spinal fusion cages or related surgical spaces
US5872314A (en) * 1997-07-25 1999-02-16 Clinton; Robert P. Method and apparatus for measuring characteristics of meat
US6241771B1 (en) 1997-08-13 2001-06-05 Cambridge Scientific, Inc. Resorbable interbody spinal fusion devices
FR2767675B1 (fr) 1997-08-26 1999-12-03 Materiel Orthopedique En Abreg Implant intersomatique et ancillaire de preparation adapte pour permettre sa pose
US6004326A (en) 1997-09-10 1999-12-21 United States Surgical Method and instrumentation for implant insertion
US5944658A (en) 1997-09-23 1999-08-31 Koros; Tibor B. Lumbar spinal fusion retractor and distractor system
ATE247442T1 (de) 1997-09-30 2003-09-15 Ct Pulse Orthopedics Ltd Rohrförmiger stützkörper zum überbrücken zweier wirbel
JP3429685B2 (ja) 1997-10-06 2003-07-22 オリンパス光学工業株式会社 内視鏡案内管
US5938688A (en) * 1997-10-22 1999-08-17 Cornell Research Foundation, Inc. Deep brain stimulation method
US5908435A (en) 1997-10-23 1999-06-01 Samuels; Shaun L. W. Expandable lumen device and method of use
FR2770124B1 (fr) 1997-10-23 1999-12-10 Materiel Orthopedique En Abreg Instrumentation chirurgicale pour la retraction et l'ecartement de tissus mous et de vaisseaux en vue d'une approche du rachis par voie anterieure
EP1027004B1 (en) 1997-10-27 2007-12-12 St. Francis Medical Technologies, Inc. Spine distraction implant
US6036638A (en) 1997-11-04 2000-03-14 Nwawka; Chudi C. Vaginal sleeve
US5954769A (en) 1997-12-05 1999-09-21 Rosenlicht; Joel L. Surgical drill positioning guide
US6348058B1 (en) 1997-12-12 2002-02-19 Surgical Navigation Technologies, Inc. Image guided spinal surgery guide, system, and method for use thereof
US6306100B1 (en) 1997-12-16 2001-10-23 Richard L. Prass Intraoperative neurophysiological monitoring system
US6181961B1 (en) * 1997-12-16 2001-01-30 Richard L. Prass Method and apparatus for an automatic setup of a multi-channel nerve integrity monitoring system
US6206826B1 (en) * 1997-12-18 2001-03-27 Sdgi Holdings, Inc. Devices and methods for percutaneous surgery
US6159215A (en) 1997-12-19 2000-12-12 Depuy Acromed, Inc. Insertion instruments and method for delivering a vertebral body spacer
US6986788B2 (en) 1998-01-30 2006-01-17 Synthes (U.S.A.) Intervertebral allograft spacer
US6810281B2 (en) * 2000-12-21 2004-10-26 Endovia Medical, Inc. Medical mapping system
US5931777A (en) 1998-03-11 1999-08-03 Sava; Gerard A. Tissue retractor and method for use
US6224631B1 (en) 1998-03-20 2001-05-01 Sulzer Spine-Tech Inc. Intervertebral implant with reduced contact area and method
US6241729B1 (en) 1998-04-09 2001-06-05 Sdgi Holdings, Inc. Method and instrumentation for posterior interbody fusion
US6008433A (en) 1998-04-23 1999-12-28 Stone; Kevin R. Osteotomy wedge device, kit and methods for realignment of a varus angulated knee
EP1073363B1 (en) 1998-04-23 2004-10-06 Boston Scientific Limited Medical body access device
US6024696A (en) 1998-04-24 2000-02-15 Hoftman; Moshe Side wall support speculum
US6161047A (en) 1998-04-30 2000-12-12 Medtronic Inc. Apparatus and method for expanding a stimulation lead body in situ
US6010520A (en) 1998-05-01 2000-01-04 Pattison; C. Phillip Double tapered esophageal dilator
US6004262A (en) 1998-05-04 1999-12-21 Ad-Tech Medical Instrument Corp. Visually-positioned electrical monitoring apparatus
US6241769B1 (en) 1998-05-06 2001-06-05 Cortek, Inc. Implant for spinal fusion
WO1999060956A1 (en) 1998-05-27 1999-12-02 Nuvasive, Inc. Interlocking spinal inserts
US6126689A (en) 1998-06-15 2000-10-03 Expanding Concepts, L.L.C. Collapsible and expandable interbody fusion device
AU4716599A (en) 1998-06-24 2000-01-10 University Of South Florida Lateral wall retractor vaginal speculum
CA2237877A1 (en) 1998-06-26 1999-12-26 Anthony Paolitto Chest retractor for performing cardiac surgery
US6139493A (en) * 1998-07-08 2000-10-31 Koros; Tibor B. Retractor with adjustable length blades and light pipe guides
US6027456A (en) * 1998-07-10 2000-02-22 Advanced Neuromodulation Systems, Inc. Apparatus and method for positioning spinal cord stimulation leads
US6104960A (en) * 1998-07-13 2000-08-15 Medtronic, Inc. System and method for providing medical electrical stimulation to a portion of the nervous system
US6224545B1 (en) 1998-07-24 2001-05-01 Core Surgical, Inc. Surgical retractor and method for use
US6126660A (en) * 1998-07-29 2000-10-03 Sofamor Danek Holdings, Inc. Spinal compression and distraction devices and surgical methods
WO2000007527A1 (en) 1998-08-03 2000-02-17 Synthes Ag Chur Intervertebral allograft spacer
US6366813B1 (en) * 1998-08-05 2002-04-02 Dilorenzo Daniel J. Apparatus and method for closed-loop intracranical stimulation for optimal control of neurological disease
JP2000053126A (ja) * 1998-08-05 2000-02-22 Nihon Tetra Pak Kk 包装容器
US6292701B1 (en) 1998-08-12 2001-09-18 Medtronic Xomed, Inc. Bipolar electrical stimulus probe with planar electrodes
US6187000B1 (en) 1998-08-20 2001-02-13 Endius Incorporated Cannula for receiving surgical instruments
US6104957A (en) * 1998-08-21 2000-08-15 Alo; Kenneth M. Epidural nerve root stimulation with lead placement method
US6038477A (en) * 1998-12-23 2000-03-14 Axon Engineering, Inc. Multiple channel nerve stimulator with channel isolation
US5885210A (en) 1998-09-21 1999-03-23 Cox; Victor M. Surgical retractor
US6159211A (en) 1998-10-22 2000-12-12 Depuy Acromed, Inc. Stackable cage system for corpectomy/vertebrectomy
US6174311B1 (en) 1998-10-28 2001-01-16 Sdgi Holdings, Inc. Interbody fusion grafts and instrumentation
FR2785518B3 (fr) 1998-11-10 2002-02-22 Euros Sa Dispositif d'ecartement pour acceder par voie anterieure a une partie du rachis
DE29820525U1 (de) 1998-11-17 2000-04-06 B. Braun Melsungen Ag, 34212 Melsungen Katheterset für die Plexusanästhesie
US6451015B1 (en) * 1998-11-18 2002-09-17 Sherwood Services Ag Method and system for menu-driven two-dimensional display lesion generator
US6266558B1 (en) 1998-12-01 2001-07-24 Neurometrix, Inc. Apparatus and method for nerve conduction measurements with automatic setting of stimulus intensity
CA2320097C (en) 1998-12-09 2009-04-14 Cook Incorporated Hollow, curved, superelastic medical needle
AU4422699A (en) 1998-12-23 2000-07-31 Nuvasive, Inc. Nerve surveillance cannulae systems
US6564078B1 (en) 1998-12-23 2003-05-13 Nuvasive, Inc. Nerve surveillance cannula systems
US6200347B1 (en) 1999-01-05 2001-03-13 Lifenet Composite bone graft, method of making and using same
US6024697A (en) 1999-01-11 2000-02-15 Pisarik; Paul Multi-bladed speculum for dilating a body cavity
US6547823B2 (en) 1999-01-22 2003-04-15 Osteotech, Inc. Intervertebral implant
US6500116B1 (en) 1999-01-24 2002-12-31 Genzyme Corporation Surgical retractor having improved blades
CA2359943C (en) 1999-01-25 2006-04-11 Michelson, Gary K. Instrument and method for creating an intervertebral space for receiving an implant
DE29901611U1 (de) 1999-01-30 1999-04-22 Aesculap AG & Co. KG, 78532 Tuttlingen Chirurgisches Instrument zum Einführen von Zwischenwirbelimplantaten
US6648895B2 (en) 2000-02-04 2003-11-18 Sdgi Holdings, Inc. Methods and instrumentation for vertebral interbody fusion
US6245108B1 (en) 1999-02-25 2001-06-12 Spineco Spinal fusion implant
US6113638A (en) 1999-02-26 2000-09-05 Williams; Lytton A. Method and apparatus for intervertebral implant anchorage
AU3187000A (en) 1999-03-07 2000-09-28 Discure Ltd. Method and apparatus for computerized surgery
US6159179A (en) 1999-03-12 2000-12-12 Simonson; Robert E. Cannula and sizing and insertion method
US6395007B1 (en) 1999-03-16 2002-05-28 American Osteomedix, Inc. Apparatus and method for fixation of osteoporotic bone
US6312451B1 (en) * 1999-03-23 2001-11-06 Jackson Streeter Low level laser therapy apparatus
US6331157B2 (en) 1999-04-15 2001-12-18 Heartport, Inc. Apparatus and methods for off-pump cardiac surgery
US6074343A (en) * 1999-04-16 2000-06-13 Nathanson; Michael Surgical tissue retractor
US6224549B1 (en) 1999-04-20 2001-05-01 Nicolet Biomedical, Inc. Medical signal monitoring and display
US6442814B1 (en) 1999-04-23 2002-09-03 Spinal Concepts, Inc. Apparatus for manufacturing a bone dowel
US6055456A (en) 1999-04-29 2000-04-25 Medtronic, Inc. Single and multi-polar implantable lead for sacral nerve electrical stimulation
US6259945B1 (en) 1999-04-30 2001-07-10 Uromed Corporation Method and device for locating a nerve
US6901928B2 (en) * 1999-05-04 2005-06-07 Paul G. Loubser Superglottic and peri-laryngeal apparatus for supraglottic airway insertion
DE19921279C1 (de) 1999-05-07 2000-11-30 Aesculap Ag & Co Kg Rotierendes chirurgisches Werkzeug
JP3662851B2 (ja) * 1999-05-07 2005-06-22 アエスクラップ アクチェンゲゼルシャフト ウント コンパニー コマンディトゲゼルシャフト 回転外科用工具
US6196969B1 (en) * 1999-05-21 2001-03-06 Lab Engineering & Manufacturing, Inc. Tissue retractor adapted for the attachment of an auxiliary element
US6491724B1 (en) 1999-08-13 2002-12-10 Bret Ferree Spinal fusion cage with lordosis correction
US6277149B1 (en) 1999-06-08 2001-08-21 Osteotech, Inc. Ramp-shaped intervertebral implant
FR2795624B1 (fr) 1999-07-01 2001-09-28 Vanacker Gerard Procede de forage du pedicule vertebral notamment pour la mise en place d'une vis pediculaire, instrument pour la mise en oeuvre d'un tel procede
FR2795945B1 (fr) 1999-07-09 2001-10-26 Scient X Implant intersomatique anatomique et pince de prehension pour un tel implant
US6454806B1 (en) 1999-07-26 2002-09-24 Advanced Prosthetic Technologies, Inc. Spinal surgical prosthesis
US7824445B2 (en) 1999-07-26 2010-11-02 Ladislau Biro Corpectomy vertebral body replacement implant system
IES990659A2 (en) 1999-07-30 2001-02-21 Gaya Ltd A surgical device
US6334068B1 (en) 1999-09-14 2001-12-25 Medtronic Xomed, Inc. Intraoperative neuroelectrophysiological monitor
US7047082B1 (en) * 1999-09-16 2006-05-16 Micronet Medical, Inc. Neurostimulating lead
US6500180B1 (en) * 1999-10-20 2002-12-31 Sdgi Holdings, Inc. Methods and instrumentation for distraction of a disc space
US6830570B1 (en) 1999-10-21 2004-12-14 Sdgi Holdings, Inc. Devices and techniques for a posterior lateral disc space approach
US7470236B1 (en) 1999-11-24 2008-12-30 Nuvasive, Inc. Electromyography system
US6466817B1 (en) * 1999-11-24 2002-10-15 Nuvasive, Inc. Nerve proximity and status detection system and method
TW447286U (en) 1999-12-10 2001-07-21 Lin Jr Yi Intervertebral restorer
US6319257B1 (en) 1999-12-20 2001-11-20 Kinamed, Inc. Inserter assembly
DE19962547A1 (de) 1999-12-23 2001-09-13 Pag Parkhaus Ag Remontierbares Parkhaus
US6575979B1 (en) 2000-02-16 2003-06-10 Axiamed, Inc. Method and apparatus for providing posterior or anterior trans-sacral access to spinal vertebrae
WO2001062191A2 (en) 2000-02-22 2001-08-30 Sdgi Holdings, Inc. Anterior impacted bone graft and driver instruments
US7181289B2 (en) 2000-03-20 2007-02-20 Pflueger D Russell Epidural nerve root access catheter and treatment methods
US6312392B1 (en) 2000-04-06 2001-11-06 Garrett D. Herzon Bipolar handheld nerve locator and evaluator
US6416465B2 (en) 2000-04-14 2002-07-09 Salvador A. Brau Surgical retractor and related surgical approach to access the anterior lumbar region
US6851430B2 (en) * 2000-05-01 2005-02-08 Paul M. Tsou Method and apparatus for endoscopic spinal surgery
US6478800B1 (en) 2000-05-08 2002-11-12 Depuy Acromed, Inc. Medical installation tool
EP1289415A4 (en) * 2000-05-18 2008-12-03 Nuvasive Inc TISSUE DISTRACTION AND APPLICATIONS IN MEDICAL PROCEDURES
AU2001266623A1 (en) 2000-05-30 2001-12-11 Paul S. Lin Implant for placement between cervical vertebrae
AU6976801A (en) * 2000-06-08 2001-12-17 Nuvasive Inc Relative nerve movement and status detection system and method
CA2412879A1 (en) 2000-06-22 2001-12-27 Nuvasive, Inc. Polar coordinate surgical guideframe
US6308712B1 (en) 2000-06-23 2001-10-30 Fredrick C. Shaw Immobilizing apparatus having a sterile insert
US7018416B2 (en) 2000-07-06 2006-03-28 Zimmer Spine, Inc. Bone implants and methods
FR2811543B1 (fr) 2000-07-12 2003-07-04 Spine Next Sa Implant intersomatique
US6626905B1 (en) 2000-08-02 2003-09-30 Sulzer Spine-Tech Inc. Posterior oblique lumbar arthrodesis
WO2002013714A1 (en) * 2000-08-17 2002-02-21 Image Guided Neurologies, Inc. Trajectory guide with instrument immobilizer
US6871099B1 (en) * 2000-08-18 2005-03-22 Advanced Bionics Corporation Fully implantable microstimulator for spinal cord stimulation as a therapy for chronic pain
US6487446B1 (en) * 2000-09-26 2002-11-26 Medtronic, Inc. Method and system for spinal cord stimulation prior to and during a medical procedure
US6560490B2 (en) * 2000-09-26 2003-05-06 Case Western Reserve University Waveforms for selective stimulation of central nervous system neurons
DE10048790A1 (de) 2000-10-02 2002-04-25 Aesculap Ag & Co Kg Vorrichtung zur Schaffung eines perkutanen Zugangs
USD472972S1 (en) 2000-10-27 2003-04-08 Lifenet Bone implant
US7089059B1 (en) * 2000-11-03 2006-08-08 Pless Benjamin D Predicting susceptibility to neurological dysfunction based on measured neural electrophysiology
AU2002225831A1 (en) 2000-11-03 2002-05-15 Osteotech, Inc. Spinal intervertebral implant and method of making
US6847849B2 (en) 2000-11-15 2005-01-25 Medtronic, Inc. Minimally invasive apparatus for implanting a sacral stimulation lead
WO2002055127A2 (en) 2000-11-24 2002-07-18 Ckm Diagnostics, Inc. Nerve stimulator output control needle with depth determination capability and method of use
US6520955B2 (en) 2000-12-28 2003-02-18 Michael Reynard Phacophotolysis method and apparatus
US6620157B1 (en) * 2000-12-28 2003-09-16 Senorx, Inc. High frequency power source
NO20010184A (no) 2001-01-11 2002-04-22 Medinnova As Anordning for lokalisering av fossa ovalis
US6468311B2 (en) 2001-01-22 2002-10-22 Sdgi Holdings, Inc. Modular interbody fusion implant
US6929606B2 (en) * 2001-01-29 2005-08-16 Depuy Spine, Inc. Retractor and method for spinal pedicle screw placement
EP1355578A1 (en) 2001-01-29 2003-10-29 Stephen Ritland Retractor and method for spinal pedicle screw placement
US6595998B2 (en) 2001-03-08 2003-07-22 Spinewave, Inc. Tissue distraction device
US7025772B2 (en) 2001-03-09 2006-04-11 Scimed Life Systems, Inc. System for implanting an implant and method thereof
US6989031B2 (en) 2001-04-02 2006-01-24 Sdgi Holdings, Inc. Hemi-interbody spinal implant manufactured from a major long bone ring or a bone composite
US6512958B1 (en) 2001-04-26 2003-01-28 Medtronic, Inc. Percutaneous medical probe and flexible guide wire
US6839594B2 (en) 2001-04-26 2005-01-04 Biocontrol Medical Ltd Actuation and control of limbs through motor nerve stimulation
US6440142B1 (en) 2001-04-27 2002-08-27 Third Millennium Engineering, Llc Femoral ring loader
US6524320B2 (en) 2001-05-15 2003-02-25 Endius Incorporated Cannula for receiving surgical instruments
US20030105503A1 (en) * 2001-06-08 2003-06-05 Nuvasive, Inc. Relative nerve movement and status detection system and method
US6855105B2 (en) * 2001-07-11 2005-02-15 Jackson, Iii Avery M. Endoscopic pedicle probe
US6926728B2 (en) * 2001-07-18 2005-08-09 St. Francis Medical Technologies, Inc. Curved dilator and method
EP2481338A3 (en) 2001-09-25 2012-09-05 Nuvasive, Inc. System for performing surgical procedures and assessments
AU2002347900B8 (en) 2001-10-11 2006-01-12 Emphasys Medical, Inc. Bronchial flow control devices and methods of use
WO2003032801A2 (en) 2001-10-18 2003-04-24 Third Millennium Engineering Llc Artificial intervertebral disc having a spider spring force restoring element
US6829508B2 (en) 2001-10-19 2004-12-07 Alfred E. Mann Foundation For Scientific Research Electrically sensing and stimulating system for placement of a nerve stimulator or sensor
IL161393A0 (en) * 2001-10-24 2004-09-27 Cutting Edge Surgical Inc Intraosteal ultrasound during surgical implantation
US7008431B2 (en) * 2001-10-30 2006-03-07 Depuy Spine, Inc. Configured and sized cannula
US7664544B2 (en) * 2002-10-30 2010-02-16 Nuvasive, Inc. System and methods for performing percutaneous pedicle integrity assessments
US6916330B2 (en) * 2001-10-30 2005-07-12 Depuy Spine, Inc. Non cannulated dilators
EP1450681B1 (en) 2001-10-30 2011-01-05 Nuvasive, Inc. System for performing percutaneous pedicle integrity assessments
US6979353B2 (en) 2001-12-03 2005-12-27 Howmedica Osteonics Corp. Apparatus for fusing adjacent bone structures
US6855167B2 (en) 2001-12-05 2005-02-15 Osteotech, Inc. Spinal intervertebral implant, interconnections for such implant and processes for making
US7611522B2 (en) 2003-06-02 2009-11-03 Nuvasive, Inc. Gravity dependent pedicle screw tap hole guide and data processing device
WO2003084449A1 (en) 2002-03-30 2003-10-16 Cool Brace Intervertebral device and method of use
US7261688B2 (en) 2002-04-05 2007-08-28 Warsaw Orthopedic, Inc. Devices and methods for percutaneous tissue retraction and surgery
WO2004010859A1 (en) 2002-05-03 2004-02-05 Kapp Surgical Instrument, Inc. Surgical retractors and method of operation
US8147421B2 (en) * 2003-01-15 2012-04-03 Nuvasive, Inc. System and methods for determining nerve direction to a surgical instrument
USD472650S1 (en) 2002-05-29 2003-04-01 Ecmd, Inc. Newel
US6652524B1 (en) * 2002-05-30 2003-11-25 Millennium Medical Technologies, Inc. Fixator with outrigger
US7582058B1 (en) * 2002-06-26 2009-09-01 Nuvasive, Inc. Surgical access system and related methods
US6945933B2 (en) * 2002-06-26 2005-09-20 Sdgi Holdings, Inc. Instruments and methods for minimally invasive tissue retraction and surgery
US7473222B2 (en) 2002-06-26 2009-01-06 Warsaw Orthopedic, Inc. Instruments and methods for minimally invasive tissue retraction and surgery
DE60325243D1 (de) 2002-08-02 2009-01-22 Warsaw Orthopedic Inc Systeme und techniken zur beleuchtung eines operationsraums
US8137284B2 (en) 2002-10-08 2012-03-20 Nuvasive, Inc. Surgical access system and related methods
US7232463B2 (en) 2002-10-23 2007-06-19 U.S. Spinal Technologies, Llc Intervertebral cage designs
ATE556658T1 (de) 2002-11-23 2012-05-15 George Frey Distraktions- und retraktionssystem für die wirbelsäulenchirurgie
US6761739B2 (en) 2002-11-25 2004-07-13 Musculoskeletal Transplant Foundation Cortical and cancellous allograft spacer
US6869398B2 (en) 2003-01-06 2005-03-22 Theodore G. Obenchain Four-blade surgical speculum
JP4397817B2 (ja) * 2003-01-15 2010-01-13 ヌバシブ, インコーポレイテッド 神経に対する方向を決定するための、システムおよび方法
US7691057B2 (en) 2003-01-16 2010-04-06 Nuvasive, Inc. Surgical access system and related methods
US7819801B2 (en) 2003-02-27 2010-10-26 Nuvasive, Inc. Surgical access system and related methods
US20040225228A1 (en) * 2003-05-08 2004-11-11 Ferree Bret A. Neurophysiological apparatus and procedures
US7713304B2 (en) 2003-07-31 2010-05-11 Globus Medical, Inc. Transforaminal prosthetic spinal disc replacement
US7711431B2 (en) * 2003-08-04 2010-05-04 Brainlab Ag Method and device for stimulating the brain
JP4436836B2 (ja) * 2003-08-05 2010-03-24 ヌヴァシヴ インコーポレイテッド 動的なペディクルの完全性評価を実行するシステム及び方法
US7481766B2 (en) 2003-08-14 2009-01-27 Synthes (U.S.A.) Multiple-blade retractor
US7226451B2 (en) 2003-08-26 2007-06-05 Shluzas Alan E Minimally invasive access device and method
AU2004275877B2 (en) 2003-09-25 2008-09-04 Nuvasive, Inc. Surgical access system and related methods
US7905840B2 (en) 2003-10-17 2011-03-15 Nuvasive, Inc. Surgical access system and related methods
AU2005216091B2 (en) * 2004-02-20 2009-09-17 Hector O. Pacheco Method for improving pedicle screw placement in spinal surgery
US7811292B2 (en) 2004-03-02 2010-10-12 Aesculap Implant Systems, Inc. Surgical instrument for implants
US7918891B1 (en) 2004-03-29 2011-04-05 Nuvasive Inc. Systems and methods for spinal fusion
USD503801S1 (en) 2004-04-05 2005-04-05 Roger P. Jackson Interbody spacer for spinal implantation
US6942698B1 (en) 2004-04-23 2005-09-13 Roger P. Jackson Spinal fusion interbody spacer
US7150714B2 (en) 2004-06-14 2006-12-19 Ebi, L.P. Minimally invasive surgical spinal exposure system
EP1814472B1 (en) 2004-09-08 2018-10-24 NuVasive, Inc. Systems for performing spinal fixation
US7450993B2 (en) * 2004-09-08 2008-11-11 Spinal Modulation, Inc. Methods for selective stimulation of a ganglion
US9622732B2 (en) 2004-10-08 2017-04-18 Nuvasive, Inc. Surgical access system and related methods
WO2006066217A2 (en) 2004-12-16 2006-06-22 Alcoa Inc. Weight redistribution in freight trucks
US7643884B2 (en) 2005-01-31 2010-01-05 Warsaw Orthopedic, Inc. Electrically insulated surgical needle assembly
USD530423S1 (en) 2005-03-29 2006-10-17 Nuvasive, Inc. Intervertebral implant
US7491208B2 (en) 2005-04-28 2009-02-17 Warsaw Orthopedic, Inc. Instrument and method for guiding surgical implants and instruments during surgery
US8740783B2 (en) 2005-07-20 2014-06-03 Nuvasive, Inc. System and methods for performing neurophysiologic assessments with pressure monitoring
US7695475B2 (en) 2005-08-26 2010-04-13 Warsaw Orthopedic, Inc. Instruments for minimally invasive stabilization of bony structures
US8911364B2 (en) 2005-09-08 2014-12-16 DePuy Synthes Products, LLC Spine retractor and distractor device
EP1933935A4 (en) 2005-09-22 2012-02-22 Nuvasive Inc SYSTEM AND METHOD FOR IMPLEMENTING PEDICLE INTEGRITY EVALUATIONS OF THE BREAST WHIRL PILLAR
US8435295B2 (en) 2005-09-26 2013-05-07 Infinity Orthopaedics Company System and method for intervertebral implant delivery and removal
WO2007044740A2 (en) 2005-10-10 2007-04-19 Donna Jean Carver Artificial spinal disc replacement system and method
JP4903815B2 (ja) 2006-01-23 2012-03-28 アライドテレシスホールディングス株式会社 通信ネットワークを通じたトラフィック分配を向上させる方法およびシステム
US20070208228A1 (en) 2006-03-01 2007-09-06 Nicholas Pavento Surgical retractors and methods of minimally invasive surgery
EP2004079B1 (en) 2006-04-11 2013-07-10 Synthes GmbH Minimally invasive fixation system
AU2007254173B2 (en) 2006-05-17 2013-07-25 Nuvasive, Inc. Surgical trajectory monitoring system and related methods
US8162952B2 (en) 2006-09-26 2012-04-24 Ebi, Llc Percutaneous instrument assembly
US8636654B2 (en) 2006-12-18 2014-01-28 Warsaw Orthopedic, Inc. Retractors facilitating imaging during surgery
US20080288077A1 (en) 2006-12-28 2008-11-20 Spinal Kinetics, Inc. Prosthetic Disc Assembly Having Natural Biomechanical Movement
US8673005B1 (en) 2007-03-07 2014-03-18 Nuvasive, Inc. System and methods for spinal fusion
US8202216B2 (en) 2007-03-08 2012-06-19 Warsaw Orthopedic, Inc. Tissue retractor
US8057547B2 (en) 2007-06-12 2011-11-15 Kinetic Spine Technologies Inc. Articulating intervertebral disc prosthesis
US9119572B2 (en) 2007-10-24 2015-09-01 Josef Gorek Monitoring trajectory of surgical instrument during the placement of a pedicle screw
US8197546B2 (en) 2007-11-27 2012-06-12 Ortho Innovations, Llc Corpectomy implant
JP4596282B2 (ja) * 2008-04-24 2010-12-08 Smc株式会社 減速比自動切換装置
US8540770B2 (en) 2008-09-04 2013-09-24 DePuy Synthes Products, LLC Adjustable intervertebral implant
US8128701B2 (en) 2008-10-24 2012-03-06 Ulrich Gmbh & Co. Kg Implant for use between spiral vertebrae
US8292962B2 (en) 2009-03-04 2012-10-23 Warsaw Orthopedic, Inc. Spinal nucleus replacement implants
US9387090B2 (en) 2009-03-12 2016-07-12 Nuvasive, Inc. Vertebral body replacement
US20110046448A1 (en) 2009-08-03 2011-02-24 Anthony Paolitto Cardiac tissue retractor with associated valve cusp depressor
WO2011059491A1 (en) 2009-11-10 2011-05-19 Nuvasive Inc. Method and apparatus for performing spinal surgery
US9138217B2 (en) 2009-11-11 2015-09-22 Nu Vasive, Inc. Surgical access system and related methods
EP2547292B1 (en) 2010-03-16 2019-04-24 Pinnacle Spine Group, LLC Ntervertebral implants and graft delivery systems
CN103167825B (zh) 2010-08-23 2016-06-22 纽文思公司 外科入路系统及相关方法
WO2012103254A2 (en) 2011-01-25 2012-08-02 Nuvasive, Inc. Spinal implants for rotationally adjusting vertebrae
CN103987326B (zh) 2011-08-19 2016-06-08 诺威适有限公司 手术牵开器系统及使用方法

Patent Citations (7)

* Cited by examiner, † Cited by third party
Publication number Priority date Publication date Assignee Title
US5928139A (en) * 1998-04-24 1999-07-27 Koros; Tibor B. Retractor with adjustable length blades and light pipe guides
US6468207B1 (en) * 2000-02-04 2002-10-22 Lone Star Medical Products, Inc. Deep tissue surgical retractor apparatus and method of retracting tissue
WO2002054960A2 (en) * 2000-12-20 2002-07-18 Genzyme Corp Segmented arm assembly for use with a surgical retractor and instruments and methods related thereto
JP2004520890A (ja) * 2000-12-20 2004-07-15 ジェンザイム・コーポレーション 手術用開創器と併用するためのセグメントアームアセンブリならびにこれに関する器具および方法
WO2003005887A2 (en) * 2001-07-11 2003-01-23 Nuvasive, Inc. System and methods for determining nerve proximity, direction, and pathology during surgery
JP2005516638A (ja) * 2001-07-11 2005-06-09 ヌバシブ, インコーポレイテッド 手術の間の神経近接度、神経の方向、および病理学を決定するシステムおよび方法
US20030149341A1 (en) * 2002-02-06 2003-08-07 Clifton Guy L. Retractor and/or distractor for anterior cervical fusion

Cited By (4)

* Cited by examiner, † Cited by third party
Publication number Priority date Publication date Assignee Title
JP2015037564A (ja) * 2010-08-23 2015-02-26 ニューヴェイジヴ,インコーポレイテッド 外科的アクセスシステムおよび関連する方法
US10980525B2 (en) 2010-08-23 2021-04-20 Nuvasive, Inc. Surgical access system and related methods
US11457907B2 (en) 2010-08-23 2022-10-04 Nuvasive, Inc. Surgical access system and related methods
US12426866B2 (en) 2010-08-23 2025-09-30 Nuvasive, Inc. Surgical access system and related methods

Also Published As

Publication number Publication date
EP1680177A4 (en) 2013-07-10
US11064934B2 (en) 2021-07-20
US20140288379A1 (en) 2014-09-25
US20130131456A1 (en) 2013-05-23
US20160120530A1 (en) 2016-05-05
US8764649B2 (en) 2014-07-01
AU2004275877B2 (en) 2008-09-04
US8945004B2 (en) 2015-02-03
AU2008251999B2 (en) 2011-07-21
JP2014147684A (ja) 2014-08-21
US8500634B2 (en) 2013-08-06
US20100069783A1 (en) 2010-03-18
US20140288378A1 (en) 2014-09-25
US20140039269A1 (en) 2014-02-06
AU2004275877A1 (en) 2005-04-07
US20060069315A1 (en) 2006-03-30
US20170156580A1 (en) 2017-06-08
JP2007512853A (ja) 2007-05-24
US9974531B2 (en) 2018-05-22
US8628469B2 (en) 2014-01-14
US20130317304A1 (en) 2013-11-28
US8942801B2 (en) 2015-01-27
US8388527B2 (en) 2013-03-05
US8753271B1 (en) 2014-06-17
US9788822B2 (en) 2017-10-17
US8556808B2 (en) 2013-10-15
US20140148649A1 (en) 2014-05-29
US10357233B2 (en) 2019-07-23
WO2005030318A1 (en) 2005-04-07
JP6000935B2 (ja) 2016-10-05
US8821396B1 (en) 2014-09-02
EP1680177B1 (en) 2017-04-12
US20100105987A1 (en) 2010-04-29
US20130137931A1 (en) 2013-05-30
US20150133734A1 (en) 2015-05-14
US20140343363A1 (en) 2014-11-20
US20150126811A1 (en) 2015-05-07
US20180035991A1 (en) 2018-02-08
JP2012161623A (ja) 2012-08-30
JP5689846B2 (ja) 2015-03-25
AU2008251999A1 (en) 2008-12-18
JP4463819B2 (ja) 2010-05-19
US20190328378A1 (en) 2019-10-31
US8355780B2 (en) 2013-01-15
EP1680177A1 (en) 2006-07-19
US7207949B2 (en) 2007-04-24
JP5124556B2 (ja) 2013-01-23
US20070198062A1 (en) 2007-08-23
US9610071B2 (en) 2017-04-04
US20210298660A1 (en) 2021-09-30
US8016767B2 (en) 2011-09-13
US9265493B2 (en) 2016-02-23

Similar Documents

Publication Publication Date Title
JP4463819B2 (ja) 外科手術接近システム
US10653308B2 (en) Surgical access system and related methods
US7691057B2 (en) Surgical access system and related methods
AU2016200573B2 (en) Surgical access system and related methods

Legal Events

Date Code Title Description
A621 Written request for application examination

Free format text: JAPANESE INTERMEDIATE CODE: A621

Effective date: 20091216

A131 Notification of reasons for refusal

Free format text: JAPANESE INTERMEDIATE CODE: A131

Effective date: 20111003

A601 Written request for extension of time

Free format text: JAPANESE INTERMEDIATE CODE: A601

Effective date: 20111222

A602 Written permission of extension of time

Free format text: JAPANESE INTERMEDIATE CODE: A602

Effective date: 20111228

A521 Request for written amendment filed

Free format text: JAPANESE INTERMEDIATE CODE: A523

Effective date: 20120403

TRDD Decision of grant or rejection written
A01 Written decision to grant a patent or to grant a registration (utility model)

Free format text: JAPANESE INTERMEDIATE CODE: A01

Effective date: 20121009

A01 Written decision to grant a patent or to grant a registration (utility model)

Free format text: JAPANESE INTERMEDIATE CODE: A01

A61 First payment of annual fees (during grant procedure)

Free format text: JAPANESE INTERMEDIATE CODE: A61

Effective date: 20121029

FPAY Renewal fee payment (event date is renewal date of database)

Free format text: PAYMENT UNTIL: 20151102

Year of fee payment: 3

R150 Certificate of patent or registration of utility model

Free format text: JAPANESE INTERMEDIATE CODE: R150

Ref document number: 5124556

Country of ref document: JP

Free format text: JAPANESE INTERMEDIATE CODE: R150

R250 Receipt of annual fees

Free format text: JAPANESE INTERMEDIATE CODE: R250

R250 Receipt of annual fees

Free format text: JAPANESE INTERMEDIATE CODE: R250

R250 Receipt of annual fees

Free format text: JAPANESE INTERMEDIATE CODE: R250

R250 Receipt of annual fees

Free format text: JAPANESE INTERMEDIATE CODE: R250

R250 Receipt of annual fees

Free format text: JAPANESE INTERMEDIATE CODE: R250

R250 Receipt of annual fees

Free format text: JAPANESE INTERMEDIATE CODE: R250

R250 Receipt of annual fees

Free format text: JAPANESE INTERMEDIATE CODE: R250

R250 Receipt of annual fees

Free format text: JAPANESE INTERMEDIATE CODE: R250

R250 Receipt of annual fees

Free format text: JAPANESE INTERMEDIATE CODE: R250

EXPY Cancellation because of completion of term