JP2010057301A - 車両用交流発電機 - Google Patents

車両用交流発電機 Download PDF

Info

Publication number
JP2010057301A
JP2010057301A JP2008220729A JP2008220729A JP2010057301A JP 2010057301 A JP2010057301 A JP 2010057301A JP 2008220729 A JP2008220729 A JP 2008220729A JP 2008220729 A JP2008220729 A JP 2008220729A JP 2010057301 A JP2010057301 A JP 2010057301A
Authority
JP
Japan
Prior art keywords
magnet
claw
magnet holder
shaped magnetic
generator
Prior art date
Legal status (The legal status is an assumption and is not a legal conclusion. Google has not performed a legal analysis and makes no representation as to the accuracy of the status listed.)
Granted
Application number
JP2008220729A
Other languages
English (en)
Other versions
JP4605275B2 (ja
Inventor
Hiroshi Hamada
寛 濱田
Current Assignee (The listed assignees may be inaccurate. Google has not performed a legal analysis and makes no representation or warranty as to the accuracy of the list.)
Denso Corp
Original Assignee
Denso Corp
Priority date (The priority date is an assumption and is not a legal conclusion. Google has not performed a legal analysis and makes no representation as to the accuracy of the date listed.)
Filing date
Publication date
Application filed by Denso Corp filed Critical Denso Corp
Priority to JP2008220729A priority Critical patent/JP4605275B2/ja
Priority to US12/461,720 priority patent/US8198777B2/en
Publication of JP2010057301A publication Critical patent/JP2010057301A/ja
Application granted granted Critical
Publication of JP4605275B2 publication Critical patent/JP4605275B2/ja
Expired - Fee Related legal-status Critical Current
Anticipated expiration legal-status Critical

Links

Images

Classifications

    • HELECTRICITY
    • H02GENERATION; CONVERSION OR DISTRIBUTION OF ELECTRIC POWER
    • H02KDYNAMO-ELECTRIC MACHINES
    • H02K21/00Synchronous motors having permanent magnets; Synchronous generators having permanent magnets
    • H02K21/02Details
    • H02K21/04Windings on magnets for additional excitation ; Windings and magnets for additional excitation
    • H02K21/042Windings on magnets for additional excitation ; Windings and magnets for additional excitation with permanent magnets and field winding both rotating
    • H02K21/044Rotor of the claw pole type

Landscapes

  • Engineering & Computer Science (AREA)
  • Power Engineering (AREA)
  • Permanent Field Magnets Of Synchronous Machinery (AREA)
  • Iron Core Of Rotating Electric Machines (AREA)
  • Synchronous Machinery (AREA)

Abstract

【課題】永久磁石を完全に囲覆し、さらに大量生産に適した連結型磁石ホルダ構造を持つ車両用交流発電機を提供すること。
【解決手段】車両用交流発電機100は、それぞれに複数の爪状磁極123、143が形成された一対のポールコア12、14と、爪状磁極123、143の間に配置された複数の永久磁石15と、これら複数の永久磁石15を保持する磁石ホルダ40とを有する回転子1と、回転子1と対向配置された固定子2とを備える。磁石ホルダ40は、複数の連結型磁石ホルダ40A、40Bからなり、複数の連結型磁石ホルダ40A、40Bのそれぞれは、同じ向きを有して永久磁石15を収納する複数の収納部41a、41bと、これら複数の収納部41a、41bを周方向に連結する連結板42a、42bとを有し、1枚の非磁性金属板を切り曲げた後に連結板42a、42bを円形に変形することにより形成される。
【選択図】図3

Description

本発明は、乗用車やトラック等に搭載される車両用交流発電機に関する。
車両用交流発電機は、軸方向一端側にて支持されて軸方向に延在する奇数番目の爪状磁極と、軸方向他端側にて支持されて軸方向に延在する偶数番目の爪状磁極とが周方向交互に配置されるランデル型回転子を備えている。周方向に隣接する二つの爪状磁極は、反対向きに磁化されているため、両者間で漏洩磁束が発生して出力減少を招く。このため、周方向に隣接する二つの爪状磁極間に漏洩磁束低減のための久磁石を配設した構造が知られている(例えば、特許文献1参照。)。
永久磁石に作用する大きな遠心力は、爪状磁極の鍔部により受承されるのが一般的であるが、その他、加速時における周方向への付勢力や高調波磁界や外部振動などによる可振力が作用するため、爪状磁極の周方向や径方向の移動を防止するように永久磁石を爪状磁極間に固定する構造が必要になる。なお、永久磁石は脆いため、組み付け時などの取り扱いを容易化するため、非磁性の保持部、いわゆる磁石ホルダにより永久磁石を包囲し、しかも永久磁石は磁石ホルダの内面に接着することが好ましい。
特許文献1の構造では、非磁性ステンレス帯板に対して打ち抜き加工と折り曲げ加工を行うことにより、連結部材と磁石ホルダとが分離することがないように一体加工されており、爪状磁極の側面に相対する部分に弾性突起を設けて寸法公差によるガタを吸収する構造が示されている。
なお、永久磁石を備える他の例として種々の構造が知られている(例えば、特許文献2−9参照。)
特開2008−54392号公報(第5−7頁、図1−5) 特開平10−201150号公報 特開平3−265450号公報 特開平7−123664号公報 特開2003−52157号公報 特開2006−109573号公報 特開2003−339141号公報 特開平4−251553号公報 特開平4−165950号公報
ところで、特許文献1に開示された連結ホルダ構造では、非磁性の帯体ステンレス材を爪状磁極の側面に沿った形で打ち抜くため、爪状磁極の先端部になるに従い、磁石ホルダ部の側面部を形成する部分の打ち抜き代がとれず、永久磁石全体を包み込む形状にならないという問題があった。永久磁石が露出する面積が多くなれば、上述した可振力で永久磁石が仮に飛散した場合に、飛散した永久磁石が固定子巻線を損傷するおそれがあるという課題を根本的に解決できないことになる。なお、多極化すればするほど爪状磁極自体の幅が狭くなるので爪先端部の磁石ホルダ部の側面部の打ち抜き代がなくなり、包み込む面積がさらに減少する。
また、ステンレスの板材をプレス成型等で大量生産した直後にポールコアに装着できればいいが、通常プレス成型後は保管箱で一旦保管し、必要な時に必要な量だけ取り出して使用する。特許文献1に示す磁石ホルダのような端部で折り返した形状では、保管箱の中で絡まりやすく、取り出すときに変形するという問題があり、絡まり防止や変形防止に非常に時間や手間を要するという問題があった。また、隣り合う永久磁石の外径側前面を被う部分は永久磁石の長手方向に延在した部分を折り曲げて成型しているため、ステンレス帯板の幅は、永久磁石の長手方向の長さの2倍と永久磁石の断面の径方向長さの2倍の長さと打ち抜き工程上必要な最低残り代とを考慮すると、永久磁石に比べて幅広の帯板が必要になり、帯板の両端部の歩留まりが悪くなるという問題があった。このように特許文献1に開示された磁石ホルダは大量生産には適さない形状といえる。
本発明は、このような点に鑑みて創作されたものであり、その目的は、永久磁石を完全に囲覆し、さらに大量生産に適した連結型磁石ホルダ構造を持つ車両用交流発電機を提供することにある。
上述した課題を解決するために、本発明の車両用交流発電機は、それぞれに複数の爪状磁極が形成された一対のポールコアと、漏洩磁束を防ぐ向きに着磁されて一対のポールコアの爪状磁極の間に配置された複数の永久磁石と、これら複数の永久磁石を保持する磁石ホルダとを有する回転子と、回転子と対向配置された固定子とを備えており、磁石ホルダは、複数の連結型磁石ホルダからなり、複数の連結型磁石ホルダのそれぞれは、同じ向きを有して永久磁石を収納する複数の収納部と、これら複数の収納部を周方向に連結する連結板とを有し、1枚の非磁性金属板を切り曲げた後に連結板を円形に変形することにより形成されている。
一般にランデル型回転子の各爪状磁極は回転軸と平行な中心軸に対して左右対称形状であるため、隣接する爪状磁極間の隙間に配置される複数の永久磁石は、向きが異なる2つのグループに分けることができる。本発明は、この点に着目し、同じ向きを有する永久磁石毎にまとめて連結型磁石ホルダに収納している。それぞれの連結型磁石ホルダでは、隣接する収納部の間隔を広くすることができるため(少なくとも従来の2倍)、1枚の非磁性金属板を打ち抜いて製造する場合の打ち抜き代を充分に確保することができ、永久磁石を完全に囲覆することが可能となる。また、それぞれの連結型磁石ホルダにおいて、連結板は、特に軸方向端部に設ける必要がないため、保管箱で一端保管するような場合であっても特に絡まりやすいということはなく、取り出すときに変形するといった問題もなく、大量生産に適しているといえる。
また、上述した複数の連結型磁石ホルダのそれぞれに含まれる連結板は、互いに軸方向に沿って隣接配置することが望ましい。これにより、複数の連結型磁石ホルダをそれぞれの連結板を密着配置した状態で各爪状磁極で挟み込んで回転子に組み付けることができ、各収納部の位置決めが容易となる。
また、互いに軸方向に沿って隣接配置される連結板は、隣接する辺に凹凸が形成されており、それぞれの凸部が互いに当接することが望ましい。これにより、互いに当接する凸部のみの寸法精度を確保すればよいため、製造が容易となる。
また、上述した複数の連結型磁石ホルダの個数は2であり、連結型磁石ホルダに含まれる連結板を円形に変形する場合の内径側と外径側の関係を反対にすることにより、非磁性金属板から打ち抜いた共通の形状を用いてこれら2つの連結型磁石ホルダを形成することが望ましい。具体的には、上述した一方の連結型磁石ホルダに含まれる連結板は、収納部の周方向側面において径方向に沿った中央位置から延出し、他方の磁石ホルダに含まれる収納部に対応する位置でこの収納部の形状に対応する凹部を有することが望ましい。これにより、2種類の連結型磁石ホルダを、非磁性金属板から打ち抜いた1種類の形状の材料で実現することができ、部品点数の低減や、2種類の部品を区分けして管理する手間の低減が可能になる。
また、上述した一の連結型磁石ホルダに含まれる連結板は、他の連結型磁石ホルダに含まれる収納部とともにこの収納部に収納された永久磁石を覆うことが望ましい。これにより、一の連結型磁石ホルダに含まれる連結板と他の連結型磁石ホルダに含まれる収納部の全体によって永久磁石を完全に覆うことが可能となる。
また、上述した収納部には、連結板の根元部分にスリットが形成されていることが望ましい。これにより、連結板の根元部分が容易に変形するようになり、ポールコアや磁石ホルダの製造上の誤差を吸収することができる。
また、上述した連結板を円形に変形した場合の両端部は、爪状磁極の内周面に密着配置することが望ましい。これにより、回転時に連結板の端部が遠心力によって変形することを防止することができる。
また、上述した一対のポールコアのそれぞれに含まれる爪状磁極は、リング状の支持部材を介して互いに連結されており、支持部材と爪状磁極とを溶接する際に、同時に連結板を溶接することが望ましい。これにより、支持部材と爪状磁極とを溶接する際に同時に連結板の溶接を行うことにより、加工工数の低減が可能となる。
以下、本発明を適用した一実施形態の車両用交流発電機について、図面を参照しながら説明する。
〔第1の実施形態〕
図1は、第1の実施形態の車両用交流発電機の軸方向断面図である。図1に示すように、本実施形態の車両用交流発電機100は、回転子1、固定子2、フロントハウジング3、リアハウジング4、プーリ5、ブラシ装置7、整流器8、レギュレータ9を含んで構成されている。
固定子2は、回転子1と対向配置されており、固定子鉄心21に固定子巻線22を巻装することで構成されている。この固定子2は、フロントハウジング3およびリアハイジング4の内周面に固定されている。フロントハウジング3およびリアハウジング4は、固定子2を囲んた状態でボルトにより締結されている。フロントハウジング3およびリアハウジング4は、軸受け31、41を介して回転子1の回転軸11を回転自在に支持している。
回転子1は、回転軸11に固定された前側(プーリ側)のポールコア12と、界磁巻線13と、後側(反プーリ側)のポールコア14と、永久磁石15およびこれを保持する磁石ホルダ40とにより構成されている。永久磁石15は、非磁性金属板で構成された箱形形状の磁石ホルダ40によって囲覆されている。磁石ホルダ40の詳細については後述する。
ポールコア12、14は、ランデル式回転子の一対のポールコアと同じ形状を有する。前側のポールコア12は、円柱形状のボス部121と、ボス部121の前端側から径方向外側へ延在する円盤状のディスク部122と、ディスク部122から軸方向後方へ延在する複数の爪状磁極123とからなる。後側のポールコア14もポールコア12と同一形状を有し、ボス部141、ディスク部142、複数の爪状磁極143からなる。ポールコア12の後端面とポールコア14の前端面とが接面され、界磁巻線13がポールコア12、14により囲まれている。ポールコア12、14は軟磁性体材料により形成されており、ポールコア12の爪状磁極123とポールコア14の爪状磁極143とが周方向交互に配置される。
次に、回転子1に含まれる磁石ホルダ40の詳細について説明する。図2は、回転子1の斜視図である。なお、回転子1のポールコア12、14のそれぞれの軸方向端面には冷却ファンが固定されているが、図2ではこれらの冷却ファンが省略されている。また、図3は、磁石ホルダ40の詳細形状を示す部分的な斜視図である。
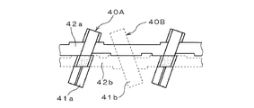
磁石ホルダ40は、2つの連結型磁石ホルダ40A、40Bからなっている。一方の連結型磁石ホルダ40Aは、互いに平行に配置された箱形形状の複数の収納部41aと、これら複数の収納部41aを周方向に連結する連結板42aとを有する。これら複数の収納部41aと連結板42aは、一枚の磁性体材料をプレス成形することにより形成される。同様に、他方の連結型磁石ホルダ40Bは、互いに平行に配置された箱形形状の複数の収納部41bと、これら複数の収納部41bを周方向に連結する連結板42bとを有する。これら複数の収納部41bと連結板42bは、一枚の磁性体材料をプレス成形することにより形成される。また、上述した連結型磁石ホルダ40Aの収納部41aと連結型磁石ホルダ40Bの収納部41bのそれぞれは、互いに異なる向きを有し、周方向に沿って交互に配置される。具体的には、ポールコア12の爪状磁極123(あるいはポールコア14の爪状磁極143)の周方向両側に収納部41aおよび収納部41bが配置されており、爪状磁極123の周方向側面の傾斜に合わせるように収納部41a、41bの角度が設定されている。
図4は、爪状磁極123、143の断面形状を示す図である。図4に示すように、爪状磁極123の最外径部分が周方向両側に突出して鍔部123Aを形成している。同様に、爪状磁極143の最外径部分が周方向両側に突出して鍔部143Aを形成している。収納部41a(あるいは41b)は、隣接する爪状磁極123、143の間であって、外径側の両端部の一方が鍔部123Aに他方が鍔部143Aにそれぞれ当接した状態で組み付けられる。
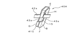
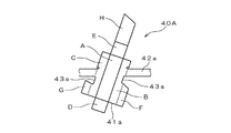
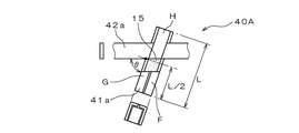
図5は、永久磁石15を収納した収納部41aの斜視図であり、回転子1の中心側から見た形状が示されている。図6は、永久磁石15を収納した収納部41aの平面図であり、回転子1の中心側から見た形状が示されている。図7は、収納部41aを含む連結型磁石ホルダ40Aの部分的な展開図である。基本的な構造は、収納部41bを含む連結型磁石ホルダ40Bについても同様であり、以下の説明では、連結型磁石ホルダ40Aについて詳細に説明する。
これらの図に示すように、収納部41aを含む連結型磁石ホルダ40Aは、一枚の非磁性金属板をプレス打ち抜きした後、所定形状に成形することにより形成されている。図7には、1個の収納部41aを展開した詳細形状が示されている。図7に示すように、収納部41aは、A、B、C、D、E、F、G、Hの各面からなる。A面以外の各面をA面に対して垂直方向に折り曲げて箱形形状を形成し、その中に永久磁石15を収納し、F、G、Hの各面を90°折り曲げることにより、図5および図6に示す収納部41aが完成する。
凹部43aは、他方の連結型磁石ホルダ40Bの連結板42bを通すための窪みである。同様の凹部43b(図示せず)は連結型磁石ホルダ40Bの収納部41bにも設けられており、この凹部43bに連結型磁石ホルダ40Aの連結板42aが通される。このような凹部43a、43bを設けることにより、2つの連結型磁石ホルダ40A、40Bを組み合わせたときに、収納部41a、41bの内周面の凹凸をなくすことができる。また、永久磁石15の内径側を含む周囲全体を収納部41a、41bで完全に覆うことが可能となる。
図8は、磁石ホルダ40の組み付け状態を示す展開図である。図9は、連結板42a、42bの端部の設置状態を示す図である。図10は、図9のX−X断面図である。
図8に示すように、磁石ホルダ40の組み付けは、永久磁石15を収納した2つの連結型磁石ホルダ40A、40Bを一体化した後に、軸方向に沿った両側から界磁巻線13(図8では図示せず)とともにポールコア12、14で挟み込むことにより行われる。2つの連結型磁石ホルダ40A、40Bを一体化するのは、上述したように収納部41a、41bの凹部43a、43bに連結板42a、42bを通す必要があるからである。
具体的には、連結板42a、42bを円形に変形する前の直線形状の状態で、永久磁石15を収納した収納部41a、41bを完成させるとともに、凹部43a、43bに連結板42b、42aを通した後、連結板42a、42bを円形に変形する。このとき、収納部41aと収納部41bを均等間隔で配置する。また、連結板42a、42bのそれぞれは、平行な2辺の内、隣接するそれぞれの一辺を完全に接触させた状態で2つの連結型磁石ホルダ40A、40Bが組み合わされる。このようにして一体化された連結型磁石ホルダ40A、40Bが完成する。
なお、連結板42aを円形に変形したときに、その両端は所定の隙間を介して配置されることになるが、この隙間の位置は、隣接する収納部41a、41bのほぼ中央になるように設定されている。同様に、連結板42bを円形に変形したときに、その両端は所定の隙間を介して配置されることになるが、この隙間の位置は、隣接する収納部41a、41bのほぼ中央になるように設定されている。また、これら2つの隙間の位置は、互いに周方向にずらして設定されている。隣接する2つの収納部41a、41bのほぼ中央に隙間の位置を設定することにより、図9および図10に示すように、爪状磁極123(あるいは143)の内周面に連結板42a、42bの両端部を当接するように密着配置することが可能になる。これにより、連結板42a、42bの両端部は、溶接等によって固定しなくても、遠心力が作用したときの外径側への変形を防止することができる。
図11は、2種類の連結型磁石ホルダ40A、40Bを1枚の非磁性金属板から打ち抜く場合の具体例を示す図である。図7に一方の連結型磁石ホルダ40Aの部分的な展開形状を示したが、他方の連結型磁石ホルダ40Bも収納部41bの傾斜方向が異なるだけであって同様の展開形状を有する。図11に示すように、これらの展開形状の凹凸部分を互い違いになるように配置することで、歩留まりを向上させることができる。
一般にランデル型の回転子1の各爪状磁極123、143は回転軸11と平行な中心軸に対して左右対称形状であるため、隣接する爪状磁極123、143間の隙間に配置される複数の永久磁石15は、向きが異なる2つのグループに分けることができる。本実施形態では、この点に着目し、同じ向きを有する永久磁石15毎にまとめて連結型磁石ホルダ40A、40Bに収納している。それぞれの連結型磁石ホルダ40A、40Bでは、隣接する収納部41a、41bの間隔を広くすることができるため(従来の2倍)、1枚の非磁性金属板を打ち抜いて製造する場合の打ち抜き代を充分に確保することができ、永久磁石15を完全に囲覆することが可能となる。また、それぞれの連結型磁石ホルダ40A、40Bにおいて、連結板42a、42bは、特に軸方向端部に設ける必要がないため、保管箱で一端保管するような場合であっても特に絡まりやすいということはなく、取り出すときに変形するといった問題もなく、大量生産に適しているといえる。
また、2つの連結型磁石ホルダ40A、40Bのそれぞれに含まれる連結板42a、42bは、互いに軸方向に沿って隣接配置されている。これにより、複数の連結型磁石ホルダ40A、40Bをそれぞれの連結板42a、42bを密着配置した状態で各爪状磁極123、143で挟み込んで回転子1に組み付けることができ、各収納部41a、41bの位置決めが容易となる。
図12は、連結型磁石ホルダ40A、40Bの変形例を示す図であり、一方の連結型磁石ホルダ40A、40Bを回転子1の中心側から見た部分的な形状が示されている。上述した連結型磁石ホルダ40A、40Bでは、連結板42a、42bのそれぞれが平行な2辺を有する単純な帯形状を有していたが、図12に示す例では、連結板42a、42bのそれぞれは、平行な2辺ではなく、それぞれの辺に凹凸が形成されている。このため、連結板42a、42bは、対向する2辺において部分的に接触するようになっている。これにより、部分的に接触する箇所のみの寸法精度を考慮して連結型磁石ホルダ40A、40Bを製造すればよいため、製造が容易となる。
図13は、連結型磁石ホルダ40A、40Bの他の変形例を示す図である。上述した連結型磁石ホルダ40A、40Bは、図5および図6に示したように、収納部41a、41bに凹部43a、43bを設け、これに連結板42b、42aを通したが、図13に示す例では、収納部41a、41bにはこれらの凹部43a、43bが設けられておらず、連結板42b、42aが収納部41a、41bよりも内径側に突出した状態で配置されている。これにより、2つの連結型磁石ホルダ40A、40Bを予め一体化することなく、ポールコア12、14に挟み込む際に別々に装着することが可能となる。図13に示す例では、まず、連結型磁石ホルダ40Bをポールコア12の爪状磁極123の一方の周方向側面に当接するように組み付けた後、連結型磁石ホルダ40Aをポールコア12の爪状磁極123の他方の周方向側面に当接するように組み付けることができる。その後、他方のポールコア14が組み付けられる。このように、2つの連結型磁石ホルダ40A、40Bを一体化する必要がなくなるため、工程の自由度が増すとともに工程の簡略化が可能となる。
図14は、連結型磁石ホルダ40A、40Bの他の変形例を示す図である。図14に示す連結型磁石ホルダ40A(40Bについても同様)では、収納部41aの側面(図7のB面とC面に対応する面)であって連結板42bの根元部分に、連結板42bと垂直な向きにスリット44aが形成されている。ポールコア12、14の爪状磁極123、143は、同一形状および同一間隔を有することが望ましいが、実際には製造上の誤差が含まれるため、隣接する収納部41aの間隔も理論値(設計の中心値)からずれる。また、収納部41a、41bの位置(間隔)も理論値からずれる。このような場合に、上述したスリット44aを設けておけば、位置ずれによって連結板42aに過大な張力が加わったときに、連結板42aの根元部分が容易に変形するようになり、製造上の誤差を吸収することができる。
図15は、連結型磁石ホルダ40A、40Bの他の変形例を示す図である。上述した例では、収納部41a、41bの向きが異なるため、2つの連結型磁石ホルダ40A、40Bを製造するために、図11に示した2種類の形状を有する材料を用意する必要があった。これに対し、図15に示す例では、1種類の材料を用いて2つの連結型磁石ホルダ40A、40Bを製造できるようにその形状が工夫されている。
具体的には、図15に示す連結型磁石ホルダ40Cは連結板42cを円形に変形する前の状態を示している。この連結型磁石ホルダ40Cでは、連結板42cは、収納部41cの側面の中央から延びており、所定の距離隔たった位置に凹部45cを有している。このような連結型磁石ホルダ40Cを2つ用い、一方は図15に示す実線のように配置し、他方は図15に示す点線のように配置し(実線で示す連結型磁石ホルダ40Cを連結板42cに一方の辺Mを中心に180°回転させることにより、点線で示す連結型磁石ホルダ40Cとなる)、これらを一体化した後に、それぞれの連結板40cを円形に変形する。これにより、一体化した2つの連結型磁石ホルダ40Cにより磁石ホルダ40が形成される。これにより、図11に示したように2種類の材料を用意する必要がなくなるため、部品点数の低減や、2種類の部品を区分けして管理する手間の低減が可能になる。
〔第2の実施形態〕
図16は、本発明を適用した第2の実施形態のブラシレス車両用交流発電機の構造を示す図である。図16に示すように、本実施形態のブラシレス車両用交流発電機200は、固定子202、回転子203、界磁巻線204、フロントハウジング251、リアハウジング252、整流装置206、リアカバー208等を備えている。固定子202は、回転子203と対向配置されており、固定子鉄心221に固定子巻線222が巻回されている。
回転子203は、界磁として働くものであり、固定子202の内周側に対向配置されている。図17は、回転子203の一部断面を含む側面図である。図18は、回転子203の断面図である。回転子203は、回転軸231とともに回転する回転継鉄部232、233と、回転継鉄部233と一体に形成された爪状磁極234と、リング状の支持部材235によって爪状磁極234と一体化された爪状磁極236と、永久磁石15およびこれを保持する磁石ホルダ40とを備えている。この爪状磁極236は、その一部であるリング状の肩部236aにおいて互いに周方向に連結されている。また、回転軸231の後方端部にはこの回転軸231を回転可能に保持する軸受け237が設けられている。一方の爪状磁極234が一方のポールコアの一部を構成し、他方の爪状磁極236が他方のポールコアの一部を構成している。
界磁巻線204は、回転子203に供給する磁束を発生させるものであり、固定継鉄部241に巻回されている。固定継鉄部241は、筒状部材であってボルト242によってリアハウジング252に固定されている。この固定継鉄部241は、回転子203によって構成される界磁の一部をなしている。
フロントハウジング251およびリアハウジング252は、固定子202および回転子203を支持するものである。上述した軸受け237は、リアハウジング252に圧入されて固定されている。また、フロントハウジング251からは回転軸231の端部が突出しており、この突出した回転軸231に冷却ファン253およびプーリ(図示せず)がナット254によって締め付け固定される。
次に、回転子203のリング状の支持部材235と磁石ホルダ40について説明する。磁石ホルダ40は、第1の実施形態の車両法交流発電機100に備わった磁石ホルダ40と基本的に同じ構造を有している。すなわち、本実施形態の磁石ホルダ40も、収納部41aと連結板42aからなる連結型磁石ホルダ40Aと、収納部41bと連結板42bからなる連結型磁石ホルダ40Bとを組み合わせることで構成されている。
本実施形態では、2つの連結型磁石ホルダ40A、40Bのそれぞれの連結板42a、42bの合計の幅(軸方向の長さ)が、支持部材235の幅と同じになるように設定されている。また、支持部材235の外周側に、同じ幅のこれらの連結板42a、42bが隙間なく配置されている。
このように同心状に密着配置された支持部材235と連結板42a、42bは、爪状磁極234および爪状磁極236の内径側に配置され、同時に爪状磁極234、236に溶接などにより接合される(図17では溶接箇所がPで示されている)。これにより、リア側の爪状磁極236が支持部材235および連結板42a、42bを介してフロント側の爪状磁極234に固定される。
なお、本発明は上記実施形態に限定されるものではなく、本発明の要旨の範囲内において種々の変形実施が可能である。例えば、上述した実施形態では、2つの連結型磁石ホルダ40A、40Bによって磁石ホルダ40を構成したが、3つ以上の連結型磁石ホルダによって磁石ホルダを構成するようにしてもよい。具体的には、連結型磁石ホルダ40A、40Bの少なくとも一方を、2分割あるいはそれ以上に分割し、1つの連結型磁石ホルダに含まれる収納部を数をさらに減らすようにしてもよい。連結型磁石ホルダの数が3以上になった場合には、軸方向に沿って隣接配置される連結板の数もその数だけ増えることになる。
第1の実施形態の車両用交流発電機の軸方向断面図である。 回転子の斜視図である。 磁石ホルダの詳細形状を示す部分的な斜視図である。 爪状磁極の断面形状を示す図である。 永久磁石を収納した収納部の斜視図である。 永久磁石を収納した収納部の平面図である。 収納部を含む連結型磁石ホルダの部分的な展開図である。 磁石ホルダの組み付け状態を示す展開図である。 連結板の端部の設置状態を示す図である。 図9のX−X断面図である。 2種類の連結型磁石ホルダを1枚の非磁性金属板から打ち抜く場合の具体例を示す図である。 連結型磁石ホルダの変形例を示す図である。 連結型磁石ホルダの他の変形例を示す図である。 連結型磁石ホルダの他の変形例を示す図である。 連結型磁石ホルダの他の変形例を示す図である。 第2の実施形態のブラシレス車両用交流発電機の構造を示す図である。 回転子の一部断面を含む側面図である。 回転子の断面図である。
符号の説明
100 車両用交流発電機
1 回転子
2 固定子
3 フロントハウジング
4 リアハウジング
11 回転軸
12、14 ポールコア
13 界磁巻線
15 永久磁石
21 固定子鉄心
22 固定子巻線
40 磁石ホルダ
40A、40B 連結型磁石ホルダ
41a、41b 収納部
42a、42b 連結板
123、143 爪状磁極

Claims (9)

  1. それぞれに複数の爪状磁極が形成された一対のポールコアと、漏洩磁束を防ぐ向きに着磁されて前記一対のポールコアの前記爪状磁極の間に配置された複数の永久磁石と、これら複数の永久磁石を保持する磁石ホルダとを有する回転子と、前記回転子と対向配置された固定子とを備える車両用交流発電機において、
    前記磁石ホルダは、複数の連結型磁石ホルダからなり、
    複数の前記連結型磁石ホルダのそれぞれは、同じ向きを有して前記永久磁石を収納する複数の収納部と、これら複数の収納部を周方向に連結する連結板とを有し、1枚の非磁性金属板を切り曲げた後に前記連結板を円形に変形することにより形成されることを特徴とする車両用交流発電機。
  2. 請求項1において、
    複数の前記連結型磁石ホルダのそれぞれに含まれる前記連結板は、互いに軸方向に沿って隣接配置されていることを特徴とする車両用交流発電機。
  3. 請求項2において、
    互いに軸方向に沿って隣接配置される前記連結板は、隣接する辺に凹凸が形成されており、それぞれの凸部が互いに当接することを特徴とする車両用交流発電機。
  4. 請求項1〜3のいずれかにおいて、
    複数の前記連結型磁石ホルダの個数は2であり、前記連結型磁石ホルダに含まれる前記連結板を円形に変形する場合の内径側と外径側の関係を反対にすることにより、前記非磁性金属板から打ち抜いた共通の形状を用いてこれら2つの連結型磁石ホルダを形成することを特徴とする車両用交流発電機。
  5. 請求項4において、
    一方の前記連結型磁石ホルダに含まれる前記連結板は、前記収納部の周方向側面において径方向に沿った中央位置から延出し、他方の前記磁石ホルダに含まれる前記収納部に対応する位置でこの収納部の形状に対応する凹部を有することを特徴とする車両用交流発電機。
  6. 請求項1〜5のいずれかにおいて、
    一の前記連結型磁石ホルダに含まれる前記連結板は、他の前記連結型磁石ホルダに含まれる前記収納部とともにこの収納部に収納された前記永久磁石を覆うことを特徴とする車両用交流発電機。
  7. 請求項1〜6のいずれかにおいて、
    前記収納部には、前記連結板の根元部分にスリットが形成されていることを特徴とする車両用交流発電機。
  8. 請求項1〜7のいずれかにおいて、
    前記連結板を円形に変形した場合の両端部は、前記爪状磁極の内周面に密着配置することを特徴とする車両用交流発電機。
  9. 請求項1〜8のいずれかにおいて、
    前記一対のポールコアのそれぞれに含まれる前記爪状磁極は、リング状の支持部材を介して互いに連結されており、
    前記支持部材と前記爪状磁極とを溶接する際に、同時に前記連結板を溶接することを特徴とする車両用交流発電機。
JP2008220729A 2008-08-29 2008-08-29 車両用交流発電機 Expired - Fee Related JP4605275B2 (ja)

Priority Applications (2)

Application Number Priority Date Filing Date Title
JP2008220729A JP4605275B2 (ja) 2008-08-29 2008-08-29 車両用交流発電機
US12/461,720 US8198777B2 (en) 2008-08-29 2009-08-21 Automotive alternator with magnet holder

Applications Claiming Priority (1)

Application Number Priority Date Filing Date Title
JP2008220729A JP4605275B2 (ja) 2008-08-29 2008-08-29 車両用交流発電機

Publications (2)

Publication Number Publication Date
JP2010057301A true JP2010057301A (ja) 2010-03-11
JP4605275B2 JP4605275B2 (ja) 2011-01-05

Family

ID=41724254

Family Applications (1)

Application Number Title Priority Date Filing Date
JP2008220729A Expired - Fee Related JP4605275B2 (ja) 2008-08-29 2008-08-29 車両用交流発電機

Country Status (2)

Country Link
US (1) US8198777B2 (ja)
JP (1) JP4605275B2 (ja)

Cited By (1)

* Cited by examiner, † Cited by third party
Publication number Priority date Publication date Assignee Title
WO2018008502A1 (ja) * 2016-07-04 2018-01-11 株式会社デンソー 回転電機用回転子

Families Citing this family (6)

* Cited by examiner, † Cited by third party
Publication number Priority date Publication date Assignee Title
JP4605275B2 (ja) * 2008-08-29 2011-01-05 株式会社デンソー 車両用交流発電機
JP5328826B2 (ja) * 2011-02-21 2013-10-30 三菱電機株式会社 回転電機
FR3019401B1 (fr) * 2014-03-25 2019-01-25 Valeo Equipements Electriques Moteur Roue polaire forgee pour alternateur de vehicule automobile muni d'aimants permanents interpolaires
CN104184234B (zh) * 2014-08-19 2017-10-10 东菱技术有限公司 一种混合励磁双气隙爪极电机
JP6805835B2 (ja) 2017-01-13 2020-12-23 株式会社デンソー 回転電機
AU2021106781A4 (en) 2020-12-17 2021-11-18 Rapid Power Industries Alternator assembly

Citations (4)

* Cited by examiner, † Cited by third party
Publication number Priority date Publication date Assignee Title
JPH0361043U (ja) * 1989-10-17 1991-06-14
JPH08223882A (ja) * 1994-12-22 1996-08-30 General Motors Corp <Gm> ハイブリッド交流機のロータ・アセンブリ
JPH11318064A (ja) * 1998-03-05 1999-11-16 Hitachi Ltd 車両用交流発電機
JP2008054392A (ja) * 2006-08-23 2008-03-06 Denso Corp 車両用交流発電機及びその製造方法

Family Cites Families (14)

* Cited by examiner, † Cited by third party
Publication number Priority date Publication date Assignee Title
JP2785423B2 (ja) 1990-03-13 1998-08-13 株式会社デンソー 車両用交流発電機の回転子およびその製造方法
JP3117019B2 (ja) 1990-10-26 2000-12-11 株式会社デンソー 車両用回転電機の回転子
JP2924184B2 (ja) 1990-12-27 1999-07-26 株式会社デンソー 交流発電機
US5793144A (en) 1993-08-30 1998-08-11 Nippondenso Co., Ltd. Rotor for a rotating electric machine
JP3446313B2 (ja) 1993-08-30 2003-09-16 株式会社デンソー 回転電機の回転子
JP3972396B2 (ja) 1997-01-16 2007-09-05 株式会社デンソー ランデルコア型回転電機
DE29801184U1 (de) * 1998-01-26 1999-05-20 Robert Bosch Gmbh, 70469 Stuttgart Synchronmaschine, insbesondere Generator für ein Kraftfahrzeug
DE10153578B4 (de) 2000-11-06 2012-01-26 Denso Corporation Wechselstromgenerator für Fahrzeuge mit Permanentmagneten im Rotor und Verfahren zur Herstellung desselben
JP2003052157A (ja) 2000-11-06 2003-02-21 Denso Corp 車両用交流発電機およびその製造方法
JP3882725B2 (ja) 2002-03-12 2007-02-21 株式会社デンソー 車両用回転電機
JP4396471B2 (ja) 2004-10-01 2010-01-13 株式会社デンソー 車両用回転電機およびその製造方法
JP4654970B2 (ja) * 2006-05-15 2011-03-23 株式会社デンソー 車両用交流発電機
JP4492658B2 (ja) * 2007-09-21 2010-06-30 株式会社デンソー 車両用交流発電機
JP4605275B2 (ja) * 2008-08-29 2011-01-05 株式会社デンソー 車両用交流発電機

Patent Citations (4)

* Cited by examiner, † Cited by third party
Publication number Priority date Publication date Assignee Title
JPH0361043U (ja) * 1989-10-17 1991-06-14
JPH08223882A (ja) * 1994-12-22 1996-08-30 General Motors Corp <Gm> ハイブリッド交流機のロータ・アセンブリ
JPH11318064A (ja) * 1998-03-05 1999-11-16 Hitachi Ltd 車両用交流発電機
JP2008054392A (ja) * 2006-08-23 2008-03-06 Denso Corp 車両用交流発電機及びその製造方法

Cited By (1)

* Cited by examiner, † Cited by third party
Publication number Priority date Publication date Assignee Title
WO2018008502A1 (ja) * 2016-07-04 2018-01-11 株式会社デンソー 回転電機用回転子

Also Published As

Publication number Publication date
US20100052456A1 (en) 2010-03-04
JP4605275B2 (ja) 2011-01-05
US8198777B2 (en) 2012-06-12

Similar Documents

Publication Publication Date Title
JP3646446B2 (ja) ランデルコア型回転電機
JP4605275B2 (ja) 車両用交流発電機
EP2182613B1 (en) Rotor for electric rotary machine
JP3972396B2 (ja) ランデルコア型回転電機
JP4735980B2 (ja) 車両用交流発電機及びその製造方法
US7049726B2 (en) Stator for dynamo-electric machine
JP5256007B2 (ja) 電機子並びにアキシャルギャップ型回転電機
JP4654970B2 (ja) 車両用交流発電機
JP5641446B2 (ja) 車両用回転電機の回転子
JP2004129369A (ja) 回転電機の回転子及びその製造方法
JP5300542B2 (ja) アキシャルギャップモータ
JP2011239576A (ja) 回転電機および回転電機のステータに使用される保持リングの製造方法
JP4332128B2 (ja) モータのステータ構造
JP2002532045A (ja) 自動車用オルタネータ
JP2000184643A (ja) ホイールインモータのアウターロータ
JP4780398B2 (ja) ステータコア、ステータ、回転電機、及びステータの製造方法
JP5413375B2 (ja) 回転電機の回転子
JP3803046B2 (ja) 回転体に設けた永久磁石式発電・電動機
JP3794523B2 (ja) 車両用交流発電機の回転子
WO2013121755A1 (ja) モータの分割ステータ・コア
JP2000350391A (ja) モータの製造方法及びモータ
JP4453092B2 (ja) 車両用交流発電機の回転子
US7948144B2 (en) Electrical rotary machine
JP2945037B2 (ja) 小型回転電機
JP7203639B2 (ja) 回転電機

Legal Events

Date Code Title Description
A621 Written request for application examination

Free format text: JAPANESE INTERMEDIATE CODE: A621

Effective date: 20100408

A977 Report on retrieval

Free format text: JAPANESE INTERMEDIATE CODE: A971007

Effective date: 20100722

TRDD Decision of grant or rejection written
A01 Written decision to grant a patent or to grant a registration (utility model)

Free format text: JAPANESE INTERMEDIATE CODE: A01

Effective date: 20100907

A01 Written decision to grant a patent or to grant a registration (utility model)

Free format text: JAPANESE INTERMEDIATE CODE: A01

A61 First payment of annual fees (during grant procedure)

Free format text: JAPANESE INTERMEDIATE CODE: A61

Effective date: 20100920

R151 Written notification of patent or utility model registration

Ref document number: 4605275

Country of ref document: JP

Free format text: JAPANESE INTERMEDIATE CODE: R151

FPAY Renewal fee payment (event date is renewal date of database)

Free format text: PAYMENT UNTIL: 20131015

Year of fee payment: 3

R250 Receipt of annual fees

Free format text: JAPANESE INTERMEDIATE CODE: R250

R250 Receipt of annual fees

Free format text: JAPANESE INTERMEDIATE CODE: R250

R250 Receipt of annual fees

Free format text: JAPANESE INTERMEDIATE CODE: R250

R250 Receipt of annual fees

Free format text: JAPANESE INTERMEDIATE CODE: R250

R250 Receipt of annual fees

Free format text: JAPANESE INTERMEDIATE CODE: R250

LAPS Cancellation because of no payment of annual fees