JP2010057135A - 画像処理装置、同装置におけるジョブ実行方法及びジョブ実行プログラム - Google Patents

画像処理装置、同装置におけるジョブ実行方法及びジョブ実行プログラム Download PDF

Info

Publication number
JP2010057135A
JP2010057135A JP2008222752A JP2008222752A JP2010057135A JP 2010057135 A JP2010057135 A JP 2010057135A JP 2008222752 A JP2008222752 A JP 2008222752A JP 2008222752 A JP2008222752 A JP 2008222752A JP 2010057135 A JP2010057135 A JP 2010057135A
Authority
JP
Japan
Prior art keywords
job
external server
screen data
execution
screen
Prior art date
Legal status (The legal status is an assumption and is not a legal conclusion. Google has not performed a legal analysis and makes no representation as to the accuracy of the status listed.)
Granted
Application number
JP2008222752A
Other languages
English (en)
Other versions
JP4600550B2 (ja
Inventor
Takahiro Kano
孝浩 加納
Current Assignee (The listed assignees may be inaccurate. Google has not performed a legal analysis and makes no representation or warranty as to the accuracy of the list.)
Konica Minolta Business Technologies Inc
Original Assignee
Konica Minolta Business Technologies Inc
Priority date (The priority date is an assumption and is not a legal conclusion. Google has not performed a legal analysis and makes no representation as to the accuracy of the date listed.)
Filing date
Publication date
Application filed by Konica Minolta Business Technologies Inc filed Critical Konica Minolta Business Technologies Inc
Priority to JP2008222752A priority Critical patent/JP4600550B2/ja
Priority to US12/544,092 priority patent/US8390855B2/en
Publication of JP2010057135A publication Critical patent/JP2010057135A/ja
Application granted granted Critical
Publication of JP4600550B2 publication Critical patent/JP4600550B2/ja
Expired - Fee Related legal-status Critical Current
Anticipated expiration legal-status Critical

Links

Images

Classifications

    • HELECTRICITY
    • H04ELECTRIC COMMUNICATION TECHNIQUE
    • H04NPICTORIAL COMMUNICATION, e.g. TELEVISION
    • H04N1/00Scanning, transmission or reproduction of documents or the like, e.g. facsimile transmission; Details thereof
    • H04N1/00127Connection or combination of a still picture apparatus with another apparatus, e.g. for storage, processing or transmission of still picture signals or of information associated with a still picture
    • H04N1/00204Connection or combination of a still picture apparatus with another apparatus, e.g. for storage, processing or transmission of still picture signals or of information associated with a still picture with a digital computer or a digital computer system, e.g. an internet server
    • GPHYSICS
    • G06COMPUTING OR CALCULATING; COUNTING
    • G06FELECTRIC DIGITAL DATA PROCESSING
    • G06F3/00Input arrangements for transferring data to be processed into a form capable of being handled by the computer; Output arrangements for transferring data from processing unit to output unit, e.g. interface arrangements
    • G06F3/12Digital output to print unit, e.g. line printer, chain printer
    • G06F3/1201Dedicated interfaces to print systems
    • G06F3/1202Dedicated interfaces to print systems specifically adapted to achieve a particular effect
    • G06F3/1203Improving or facilitating administration, e.g. print management
    • G06F3/1207Improving or facilitating administration, e.g. print management resulting in the user being informed about print result after a job submission
    • GPHYSICS
    • G06COMPUTING OR CALCULATING; COUNTING
    • G06FELECTRIC DIGITAL DATA PROCESSING
    • G06F3/00Input arrangements for transferring data to be processed into a form capable of being handled by the computer; Output arrangements for transferring data from processing unit to output unit, e.g. interface arrangements
    • G06F3/12Digital output to print unit, e.g. line printer, chain printer
    • G06F3/1201Dedicated interfaces to print systems
    • G06F3/1223Dedicated interfaces to print systems specifically adapted to use a particular technique
    • G06F3/1237Print job management
    • G06F3/1259Print job monitoring, e.g. job status
    • GPHYSICS
    • G06COMPUTING OR CALCULATING; COUNTING
    • G06FELECTRIC DIGITAL DATA PROCESSING
    • G06F3/00Input arrangements for transferring data to be processed into a form capable of being handled by the computer; Output arrangements for transferring data from processing unit to output unit, e.g. interface arrangements
    • G06F3/12Digital output to print unit, e.g. line printer, chain printer
    • G06F3/1201Dedicated interfaces to print systems
    • G06F3/1278Dedicated interfaces to print systems specifically adapted to adopt a particular infrastructure
    • G06F3/1285Remote printer device, e.g. being remote from client or server
    • G06F3/1288Remote printer device, e.g. being remote from client or server in client-server-printer device configuration
    • HELECTRICITY
    • H04ELECTRIC COMMUNICATION TECHNIQUE
    • H04NPICTORIAL COMMUNICATION, e.g. TELEVISION
    • H04N1/00Scanning, transmission or reproduction of documents or the like, e.g. facsimile transmission; Details thereof
    • H04N1/00127Connection or combination of a still picture apparatus with another apparatus, e.g. for storage, processing or transmission of still picture signals or of information associated with a still picture
    • H04N1/00204Connection or combination of a still picture apparatus with another apparatus, e.g. for storage, processing or transmission of still picture signals or of information associated with a still picture with a digital computer or a digital computer system, e.g. an internet server
    • H04N1/00244Connection or combination of a still picture apparatus with another apparatus, e.g. for storage, processing or transmission of still picture signals or of information associated with a still picture with a digital computer or a digital computer system, e.g. an internet server with a server, e.g. an internet server
    • HELECTRICITY
    • H04ELECTRIC COMMUNICATION TECHNIQUE
    • H04NPICTORIAL COMMUNICATION, e.g. TELEVISION
    • H04N1/00Scanning, transmission or reproduction of documents or the like, e.g. facsimile transmission; Details thereof
    • H04N1/0035User-machine interface; Control console
    • H04N1/00405Output means
    • H04N1/00408Display of information to the user, e.g. menus
    • H04N1/00464Display of information to the user, e.g. menus using browsers, i.e. interfaces based on mark-up languages
    • HELECTRICITY
    • H04ELECTRIC COMMUNICATION TECHNIQUE
    • H04NPICTORIAL COMMUNICATION, e.g. TELEVISION
    • H04N2201/00Indexing scheme relating to scanning, transmission or reproduction of documents or the like, and to details thereof
    • H04N2201/0008Connection or combination of a still picture apparatus with another apparatus
    • H04N2201/001Sharing resources, e.g. processing power or memory, with a connected apparatus or enhancing the capability of the still picture apparatus
    • HELECTRICITY
    • H04ELECTRIC COMMUNICATION TECHNIQUE
    • H04NPICTORIAL COMMUNICATION, e.g. TELEVISION
    • H04N2201/00Indexing scheme relating to scanning, transmission or reproduction of documents or the like, and to details thereof
    • H04N2201/0008Connection or combination of a still picture apparatus with another apparatus
    • H04N2201/0013Arrangements for the control of the connected apparatus by the still picture apparatus
    • HELECTRICITY
    • H04ELECTRIC COMMUNICATION TECHNIQUE
    • H04NPICTORIAL COMMUNICATION, e.g. TELEVISION
    • H04N2201/00Indexing scheme relating to scanning, transmission or reproduction of documents or the like, and to details thereof
    • H04N2201/0077Types of the still picture apparatus
    • H04N2201/0094Multifunctional device, i.e. a device capable of all of reading, reproducing, copying, facsimile transception, file transception

Landscapes

  • Engineering & Computer Science (AREA)
  • Theoretical Computer Science (AREA)
  • General Engineering & Computer Science (AREA)
  • Human Computer Interaction (AREA)
  • Multimedia (AREA)
  • Signal Processing (AREA)
  • Physics & Mathematics (AREA)
  • General Physics & Mathematics (AREA)
  • Computing Systems (AREA)
  • Accessory Devices And Overall Control Thereof (AREA)
  • Facsimiles In General (AREA)

Abstract

【課題】ブラウザにより操作パネルから外部サーバの印刷指示を行うことができる画像処理装置において、外部サーバからジョブが発行された後のジョブ実行状況をユーザが把握することができる、利便性の高い画像処理装置等を提供する。
【解決手段】画像処理装置1のブラウザにより外部サーバ2にアクセスし、外部サーバ側のジョブ指定画面データに基づいて、表示手段106bがジョブ指定画面をブラウザにより表示する。ユーザがジョブを指定すると、発行要求手段109が、指定されたジョブの発行を外部サーバ2に要求し、これを受けた外部サーバ2はジョブを発行する。発行されたジョブは受信手段111で受信され、ジョブ実行手段107で実行される。そして、表示制御手段108は、受信手段による前記ジョブの受信結果及び/または前記ジョブ実行手段による前記ジョブの実行状況に応じた画面を前記表示手段106bに表示させる。
【選択図】 図3

Description

この発明は、コピー機能、プリンタ機能、FAX機能等を有する多機能デジタル画像形成装置(MFP:Multi Function Peripherals)等の画像処理装置、同装置におけるジョブ実行方法及びジョブ実行プログラムに関する。
上記のような多機能デジタル画像形成装置等の画像処理装置の中には、ウェブページを閲覧するためのアプリケーションソフトウェアであるブラウザを搭載し、外部サーバのジョブ指定画面を、ブラウザにより自装置の操作パネルに表示させて、外部サーバによるジョブの発行を自装置から指示することができる機能を備えたものがある。
この画像処理装置によれば、ユーザは画像処理装置のブラウザにより操作パネルから外部サーバ内の文書データの閲覧や印刷指示を行うことができる。
具体的には、ブラウザにより外部サーバにアクセスし、前記外部サーバにジョブ指定画面データの取得を要求する。この取得要求に応じて外部サーバから送られてくる外部サーバ側のジョブ指定画面データに基づいて、画像処理装置がジョブ指定画面をブラウザにより操作パネルに表示する。
操作パネルに表示された外部サーバ側のジョブ指定画面により、ユーザがジョブの実行対象データを指定するとともに印刷等のジョブを指定すると、画像処理装置は、CGI(Common Gateway Interface)処理のリクエストの送信により、指定されたジョブの発行を外部サーバに要求し、この発行要求を受けた外部サーバはジョブを発行し、発行されたジョブが画像処理装置により実行される。また、外部サーバはCGIリクエストの受付結果、換言すれば、画像処理装置からのジョブ発行要求を受けてジョブを発行したことを、画像処理装置に送信し、この旨が画像処理装置の操作パネルに表示される。
尚、特許文献1には、内部に保持するコンテンツと外部から取得するコンテンツとを異なるブラウザにより表示する場合であっても、それぞれの間の連携を確保して操作性の向上を図る技術が開示されている。
特開2007−34576号公報
ところで、前述したような画像処理装置のブラウザと外部サーバ間の通信はHTTP(HyperText Transfer Protocol)で行われ、ジョブ対象データの送信はLPR(Line PRinter daemon protocol)などの別のプロトコルで行われる。また、HTTPを利用する場合、画像処理装置の表示部に表示されている画面の更新は、ブラウザからの要求によってのみ実行され、サーバからの画面更新指示を行うことはできない。
このため、従来では前述したように、CGIリクエストの受信結果である、外部サーバからジョブを発行したことが画像処理装置に送信され、この旨が画像処理装置の操作パネルに表示されるものの、それ以後に画像処理装置の画面を更新することはできなかった。このため、正しくジョブが送信(画像処理装置で受信)できたかどうかを表示することはできず、ユーザがジョブの送信結果を知ることはできなかった。
また、画像処理装置によるジョブ実行処理は画像処理装置の内部処理であって、外部サーバのプロトコルとは無関係に行われるため、ジョブが正常に実行されたかエラーが生じたか等の情報を、画像処理装置の操作パネルに表示することはやはりできなかった。
このように、ブラウザにより操作パネルから外部サーバの印刷指示を行うことができる従来の画像処理装置では、外部サーバからジョブが発行された後のジョブ受信結果や実行状況をユーザが把握することができず、利便性に欠けるものであった。
なお、前記特許文献1に記載の技術は、上記課題に対して解決策を与えうるものではなかった。
この発明は、このような技術的背景に鑑みてなされたものであって、ブラウザにより操作パネルから外部サーバに対してジョブの発行要求を行うことができる画像処理装置において、外部サーバからジョブが発行された後のジョブの受信結果及び/または実行状況をユーザが把握することができる、利便性の高い画像処理装置、同装置におけるジョブ実行方法及びジョブ実行プログラムの提供を課題とする。
上記課題は、以下の手段によって解決される。
(1)ブラウザにより外部サーバにアクセスし、外部サーバから送られてくる外部サーバ側のジョブ指定画面データに基づいて、ジョブ指定画面をブラウザにより表示する表示手段と、前記表示手段に表示された外部サーバ側のジョブ指定画面によりユーザが指定したジョブの発行を外部サーバに要求するジョブ発行要求手段と、前記ジョブ発行要求手段による発行要求を受けた外部サーバから発行されたジョブを受信する受信手段と、前記受信されたジョブを実行するジョブ実行手段と、前記受信手段による前記ジョブの受信結果及び/または前記ジョブ実行手段による前記ジョブの実行状況を検出する検出手段と、前記検出された受信結果及び/または実行状況に応じた画面を前記表示手段に表示させる表示制御手段と、を備えたことを特徴とする画像処理装置。
(2)ジョブの受信結果及び/または実行状況に応じた画面データの取得先の提供を、外部サーバに要求する取得先提供要求手段をさらに備え、前記表示制御手段は、前記取得先提供要求手段により画面データの取得先の提供要求を受けた外部サーバから提供された画面データの取得先から、ジョブの受信結果及び/または実行状況に応じた画面データを取得して、前記表示手段に画面を表示させる前項1に記載の画像処理装置。
(3)前記取得先提供要求手段は、前記発行要求手段による外部サーバへの前記ジョブの発行要求とともに、画面データの取得先の提供要求を外部サーバへ行う前項2に記載の画像処理装置。
(4)前記表示制御手段は、前記ジョブ実行手段による前記ジョブの実行停止時に、外部サーバから提供された画面データの取得先から画面データを取得する前項2または3に記載の画像処理装置。
(5)前記取得先提供要求手段は、ジョブの受信結果及び/または実行状況に応じた複数の画面データの取得先の提供を要求し、前記表示制御手段は、前記複数の画面データの取得先から、ジョブの受信結果及び/または実行状況に応じた画面データの取得先を選択して画面データを取得する前項2〜4のいずれかに記載の画像処理装置。
(6)ジョブの実行状況とは、正常動作であるかエラーであるか、またはエラーの種類である前項5に記載の画像処理装置。
(7)前記取得先提供要求手段は、ジョブの受信結果及び/または実行状況に応じた複数の画面データの取得先の提供を要求し、前記表示制御手段は、前記複数の画面データの取得先の中から、ユーザの選択に基づいて画面データを取得する前項2または3に記載の画像処理装置。
(8)ユーザにより選択された画面データは、前記外部サーバから発行されたジョブの正常終了後に表示される、ジョブ指定画面データか、外部サーバから発行されたジョブの実行モードの終了画面データか、ブラウザのトップ画面のいずれかである前項7に記載の画像処理装置。
(9)前記外部サーバから発行されるジョブは印刷ジョブである前項1〜8のいずれかに記載の画像処理装置。
(10)ブラウザにより外部サーバにアクセスし、外部サーバから送られてくる外部サーバ側のジョブ指定画面データに基づいて、ジョブ指定画面をブラウザにより表示手段に表示するステップと、前記表示手段に表示された外部サーバ側のジョブ指定画面によりユーザが指定したジョブの発行を外部サーバに要求するジョブ発行要求ステップと、前記ジョブ発行要求ステップにおける発行要求を受けた外部サーバから発行されたジョブを受信するステップと、前記受信されたジョブを実行するジョブ実行ステップと、前記受信ステップにおける前記ジョブの受信結果及び/または前記ジョブ実行ステップにおける前記ジョブの実行状況を検出するステップと、検出された受信結果及び/または実行状況に応じた画面を前記表示手段に表示させる表示制御ステップと、を備えたことを特徴とする画像処理装置によるジョブ実行方法。
(11)ジョブの受信結果及び/または実行状況に応じて前記表示手段に表示される画面データの取得先の提供を、外部サーバに要求する取得先提供要求ステップをさらに備え、前記表示制御ステップでは、前記取得先提供要求ステップにより画面データの取得先の提供要求を受けた外部サーバから提供された画面データの取得先から、ジョブの受信結果及び/または実行状況に応じた画面データを取得して、前記表示手段に画面を表示させる前項10に記載の画像処理装置によるジョブ実行方法。
(12)前記取得先提供要求ステップでは、前記ジョブ発行要求ステップによる外部サーバへの前記ジョブの発行要求とともに、画面データの取得先の提供を外部サーバへ要求する前項11に記載の画像処理装置によるジョブ実行方法。
(13)前記表示制御ステップでは、前記ジョブ実行ステップにおける前記ジョブの実行停止時に、外部サーバから提供された画面データの取得先から画面データを取得する前項11または12に記載の画像処理装置によるジョブ実行方法。
(14)前記取得先提供要求ステップでは、ジョブの受信結果及び/または実行状況に応じた複数の画面データの取得先の提供を要求し、前記表示制御ステップでは、前記複数の画面データの取得先から、ジョブの実行状況に応じた画面データの取得先を選択して画面データを取得する前項11〜13のいずれかに記載の画像処理装置によるジョブ実行方法。
(15)ジョブの実行状況とは、正常動作であるかエラーであるか、またはエラーの種類である前項14に記載の画像処理装置によるジョブ実行方法。
(16)前記取得先提供要求ステップでは、ジョブの受信結果及び/または実行状況に応じた複数の画面データの取得先の提供を要求し、前記表示制御ステップは、前記複数の画面データの取得先の中から、ユーザの選択に基づいて画面データを取得する前項11または12に記載の画像処理装置によるジョブ実行方法。
(17)ユーザにより選択された画面データは、前記外部サーバから発行されたジョブの正常終了後に表示される、ジョブ指定画面データか、外部サーバから発行されたジョブの実行モードの終了画面データか、ブラウザのトップ画面のいずれかである前項16に記載の画像処理装置によるジョブ実行方法。
(18)前記外部サーバから発行されるジョブは印刷ジョブである前項10〜17のいずれかに記載の画像処理装置によるジョブ実行方法。
(19)ブラウザにより外部サーバにアクセスし、外部サーバから送られてくる外部サーバ側のジョブ指定画面データに基づいて、ジョブ指定画面をブラウザにより表示手段に表示するステップと、前記表示手段に表示された外部サーバ側のジョブ指定画面によりユーザが指定したジョブの発行を外部サーバに要求するジョブ発行要求ステップと、前記ジョブ発行要求ステップにおける発行要求を受けた外部サーバから発行されたジョブを受信するステップと、前記受信されたジョブを実行するジョブ実行ステップと、前記受信ステップにおける前記ジョブの受信結果及び/または前記ジョブ実行ステップにおける前記ジョブの実行状況を検出するステップと、検出された受信結果及び/または実行状況に応じた画面を前記表示手段に表示させる表示制御ステップと、を画像処理装置のコンピュータに実行させるためのジョブ実行プログラム。
(20)ジョブの受信結果及び/または実行状況に応じて前記表示手段に表示される画面データの取得先の提供を、外部サーバに要求する取得先提供要求ステップをさらにコンピュータに実行させ、前記表示制御ステップでは、前記取得先提供要求ステップにより画面データの取得先の提供要求を受けた外部サーバから提供された画面データの取得先から、ジョブの受信結果及び/または実行状況に応じた画面データを取得して、前記表示手段に画面を表示させる処理をコンピュータに実行させる前項19に記載のジョブ実行プログラム。
(21)前記取得先提供要求ステップでは、前記発行要求ステップによる外部サーバへの前記ジョブの発行要求とともに、画面データの取得先の提供を外部サーバへ要求する処理をコンピュータに実行させる前項20に記載のジョブ実行プログラム。
(22)前記表示制御ステップでは、前記ジョブ実行ステップにおける前記ジョブの実行停止時に、外部サーバから提供された画面データの取得先から画面データを取得する処理をコンピュータに実行させる前項20または21に記載のジョブ実行プログラム。
(23)前記取得先提供要求ステップでは、ジョブの受信結果及び/または実行状況に応じた複数の画面データの取得先の提供を要求する処理をコンピュータに実行させ、前記表示制御ステップでは、前記複数の画面データの取得先から、ジョブの受信結果及び/または実行状況に応じた画面データの取得先を選択して画面データを取得する処理をコンピュータに実行させる前項20〜22のいずれかに記載のジョブ実行プログラム。
(24)ジョブの実行状況とは、正常動作であるかエラーであるか、またはエラーの種類である前項23に記載のジョブ実行プログラム。
(25)前記取得先提供要求ステップでは、ジョブの受信結果及び/または実行状況に応じた複数の画面データの取得先の提供を要求する処理をコンピュータに実行させ、前記表示制御ステップは、前記複数の画面データの取得先の中から、ユーザの選択に基づいて画面データを取得する処理をコンピュータに実行させる前項20または21に記載のジョブ実行プログラム。
(26)ユーザにより選択された画面データは、前記外部サーバから発行されたジョブの正常終了後に表示される、ジョブ指定画面データか、外部サーバから発行されたジョブの実行モードの終了画面データか、ブラウザのトップ画面のいずれかである前項25に記載のジョブ実行プログラム。
(27)前記外部サーバから発行されるジョブは印刷ジョブである前項19〜26のいずれかに記載のジョブ実行プログラム。
前項1に記載の発明によれば、画像処理装置のブラウザにより外部サーバにアクセスし、外部サーバから送られてくる外部サーバ側のジョブ指定画面データに基づいて、表示手段がジョブ指定画面をブラウザにより表示する。表示手段に表示された外部サーバ側のジョブ指定画面により、ユーザがジョブを指定すると、発行要求手段が、指定されたジョブの発行を外部サーバに要求し、この発行要求を受けた外部サーバはジョブを発行する。発行されたジョブは画像処理装置の受信手段により受信され、ジョブ実行手段により実行される。そして、検出手段は、受信手段による前記ジョブの受信結果及び/または前記ジョブ実行手段による前記ジョブの実行状況を検出し、表示制御手段は、前記検出された受信結果及び/または実行状況に応じた画面を前記表示手段に表示させる。
このように、外部サーバから発行されたジョブの受信結果及び/または実行状況に応じた画面が表示手段に表示されるから、ユーザは外部サーバからジョブが正常に送信(画像処理装置で受信)できたかどうか、またはジョブが正常に実行されたかエラーが生じたか等を知ることができ、ユーザの利便性を高めることができる。
前項2に記載の発明によれば、ジョブの受信結果及び/または実行状況に応じて前記表示手段に表示される画面データの取得先の提供が外部サーバに要求され、この要求を受けた外部サーバから提供された画面データの取得先から、ジョブの受信結果及び/または実行状況に応じた画面データが取得されて、前記表示手段に対応する画面が表示されるから、受信結果及び/または実行状況に応じた画面を確実に前記表示手段に表示することができる。
前項3に記載の発明によれば、外部サーバへの画面データの取得先の提供要求は、外部サーバへの前記ジョブの発行要求とともに行われる。
前項4に記載の発明によれば、ジョブの実行停止時に、外部サーバから提供された画面データの取得先から画面データが取得されるから、ジョブの実行停止に応じた画面を表示手段に表示することができる。
前項5に記載の発明によれば、ジョブの受信結果及び/または実行状況に応じた複数の画面データの取得先を予め取得しておき、それらの取得先の中から、ジョブの受信結果及び/または実行状況に応じた画面データの取得先を選択して画面データを取得するから、その都度画面データを取得するよりも速く、ジョブの受信結果及び/または実行状況に応じた画面を表示手段に表示することができる。
前項6に記載の発明によれば、正常動作であるかエラーであるか、またはエラーの種類を示す画面を、ジョブの実行状況に応じて表示することができる。
前項7に記載の発明によれば、予め複数の画面データの取得先が提供され、それらの中から、ユーザの選択に基づいて画面データが取得されるから、ユーザの意向に沿った画面を表示することができる。
前項8に記載の発明によれば、ユーザの選択により、外部サーバから発行されたジョブの正常終了後に、ジョブ実行対象データの選択画面か、外部サーバから発行されたジョブの実行モードの終了画面か、実行モードのトップ画面のいずれかを、表示することができる。
前項9に記載の発明によれば、外部サーバから印刷ジョブを発行して画像処理装置に印刷ジョブを実行させる処理を、画像処理装置から指定することができる。
前項10に記載の発明によれば、外部サーバから発行されたジョブの受信結果及び/または実行状況に応じた画面が表示手段に表示されるから、ユーザは外部サーバからジョブが正常に送信(画像処理装置で受信)できたかどうか、またはジョブが正常に実行されたかエラーが生じたか等を知ることができ、ユーザの利便性を高めることができる。
前項11に記載の発明によれば、受信結果及び/または実行状況に応じた画面を確実に前記表示手段に表示することができる。
前項12に記載の発明によれば、外部サーバへの画面データの取得先の提供要求は、外部サーバへの前記ジョブの発行要求とともに行われる。
前項13に記載の発明によれば、ジョブの実行停止に応じた画面を表示手段に表示することができる。
前項14に記載の発明によれば、ジョブの受信結果及び/または実行状況に応じた複数の画面データの取得先を予め取得しておき、それらの取得先の中から、ジョブの受信結果及び/または実行状況に応じた画面データの取得先を選択して画面データを取得するから、その都度画面データを取得するよりも速く、ジョブの受信結果及び/または実行状況に応じた画面を表示手段に表示することができる。
前項15に記載の発明によれば、正常動作であるかエラーであるか、またはエラーの種類を示す画面を、ジョブの実行状況に応じて表示することができる。
前項16に記載の発明によれば、予め複数の画面データの取得先が提供され、それらの中から、ユーザの選択に基づいて画面データが取得されるから、ユーザの意向に沿った画面を表示することができる。
前項17に記載の発明によれば、ユーザの選択により、外部サーバから発行されたジョブの正常終了後に、ジョブ実行対象データの選択画面か、外部サーバから発行されたジョブの実行モードの終了画面か、実行モードのトップ画面のいずれかを、表示することができる。
前項18に記載の発明によれば、外部サーバから印刷ジョブを発行して画像処理装置に印刷ジョブを実行させる処理を、画像処理装置から指定することができる。
前項19に記載の発明によれば、ユーザが外部サーバからジョブが正常に送信(画像処理装置で受信)できたかどうか、またはジョブが正常に実行されたかエラーが生じたか等を知ることができる処理を、コンピュータに実行させることができる。
前項20に記載の発明によれば、受信結果及び/または実行状況に応じた画面を確実に表示手段に表示することができる処理を、コンピュータに実行させることができる。
前項21に記載の発明によれば、外部サーバへの画面データの取得先の提供要求を、外部サーバへの前記ジョブの発行要求とともに行う処理を、コンピュータに実行させることができる。
前項22に記載の発明によれば、ジョブの実行停止に応じた画面を表示手段に表示する処理を、コンピュータに実行させることができる。
前項23に記載の発明によれば、ジョブの受信結果及び/または実行状況に応じた複数の画面データの取得先を予め取得しておき、それらの取得先の中から、ジョブの受信結果及び/または実行状況に応じた画面データの取得先を選択して画面データを取得する処理を、コンピュータに実行させることができる。
前項24に記載の発明によれば、正常動作であるかエラーであるか、またはエラーの種類を示す画面を、ジョブの実行状況に応じて表示することができる処理を、コンピュータに実行させることができる。
前項25に記載の発明によれば、予め複数の画面データの取得先が提供され、それらの中から、ユーザの選択に基づいて画面データを取得する処理を、コンピュータに実行させることができる。
前項26に記載の発明によれば、ユーザの選択により、外部サーバから発行されたジョブの正常終了後に、ジョブ実行対象データの選択画面か、外部サーバから発行されたジョブの実行モードの終了画面か、実行モードのトップ画面のいずれかを、表示することができる処理を、コンピュータに実行させることができる。
前項27に記載の発明によれば、外部サーバから印刷ジョブを発行して画像処理装置に印刷ジョブを実行させる処理を、画像処理装置のコンピュータに実行させることができる。
次に、この発明の一実施形態を図面を参照して説明する。
図1は、この発明の一実施形態に係る画像処理装置が用いられた画像処理システムの一例を示すブロック図である。
このシステムは、画像処理装置1と外部サーバ2を備え、これら画像処理装置1と外部サーバ2とがネットワーク3を介して接続されている。
この実施形態では、画像処理装置1として、コピー機能、プリンタ機能、FAX機能等を有する多機能デジタル画像形成装置である前述したMFPが用いられている。以下、画像処理装置1をMFP1ともいう。
前記外部サーバ2はパーソナルコンピュータからなり、MFP1で印刷可能な複数の文書データが蓄積されるとともに、HTTPサーバを備え、サーバ内の情報をHTMLにてMFP1へ提供する。また、ユーザは後述するように、MFP1から外部サーバ2内のデータを操作したり、MFP1へのジョブの発行を操作できるものとなされている。
なお、この実施形態では、外部サーバ2から発行されMFP1で実行されるジョブが印刷ジョブである場合を説明するが、ジョブは印刷ジョブに限定されることはない。
前記MFP1は、図1に示すように、CPU101、RAM102、ROM103、スキャナ部104、記憶部105、操作パネル部106、ジョブ処理部107、パネル管理部108、ブラウザ制御部109、ネイティブパネル制御部110、ネットワークインターフェース部(ネットワークI/F部)111等を備えている。
前記CPU101は、MFP1の全体を統括制御するものであり、ROM103はCPUの動作プログラム等を格納する記憶媒体であり、RAM102はCPU101が前記ROM103に格納された動作プログラムを実行する際の作業領域を提供するものである。
前記スキャナ部104は、原稿の画像を読み取って電子データである画像データに変換するものである。
前記記憶部105は、前記スキャナ部104で読み取られた画像データや、外部サーバ2等の外部装置から送信されてきた印刷データ等を必要に応じて記憶するものであり、ハードディスク装置等の記憶媒体によって構成されている。
前記操作パネル部106は、テンキーやスタートキー等からなるキー入力部106aや、液晶タッチパネルからなる表示部106bを有しており、ユーザがログインするための操作や各種の入力操作等に使用される他、MFP1のモード画面やユーザへのメッセージ等を表示する。
前記ジョブ処理部107は、前記スキャナ部104で読み取られた原稿の画像データを印刷したり、外部サーバ2から発行された印刷ジョブを受領して印刷を実行するものであり、印刷対象データを印刷するプリント部107aを備えている。さらに、ジョブ処理部107は、外部サーバ2から発行された印刷ジョブを正常に受信できたかどうかを検出したり、ジョブが正常に実行されたかエラーが発生したか等のジョブ実行状況を検出する機能も備えている。
前記パネル管理部108は、MFP1の操作パネル部106における表示部106bに、ブラウザにより外部サーバ2のジョブ指定画面を表示し、該画面からジョブを指定してMFP1に印刷ジョブを発行し、MFP1に印刷ジョブを実行させるモード、換言すれば外部サーバ2からMFP1への印刷ジョブの実行要求を、ブラウザを用いてMFP1から行うモード(以下、このモードをリモートジョブ発行モードということもある)において、以下の動作を行うものである。即ち、前記ジョブ処理部107で検出されたジョブの受信結果及び/または実行状況を基に、対応する画面を操作パネル部106の表示部106bに表示するための画面データの取得先URLを特定し、これをブラウザ制御部109に通知する等の動作を行う。
前記ブラウザ制御部109は、ウェブページを閲覧するためのアプリケーションソフトウェアであるブラウザにより、前記パネル管理部108から通知されたURLを含む所定のURL(Uniform Resource Locator)にアクセスし、外部サーバ2から取得したHTMLデータを操作パネル部106の表示部106bに表示したり、外部サーバ2から送信された画面データに基づく画面を表示部106bに表示する。かつ、表示された画面においてユーザが行った操作に応じた要求を、外部サーバ2に対して行う。
ネイティブパネル制御部110は、前記リモートジョブ発行モードを使用しない、通常のMFP1の使用モードにおいて、操作パネル部106の表示部106bの表示を制御するものである。
前記ネットワークインターフェース部111は、前記外部サーバ2等の外部装置とネットワーク3を介して通信を行うためのインターフェースである。
図2は、MFP1においてリモートジョブ発行モードが指定された場合の、画像処理システム全体の動作を説明するための図である。
ユーザが、MFP1の操作パネル部106からブラウザを呼び出すと(図2の丸数字1)、MFP1はブラウザを起動する(丸数字2)。操作パネル部106の表示部106bには、リモートジョブ発行モードではない通常の使用モードにおける画面(ネイティブ画面)41が表示されてあり、ブラウザの起動によりブラウザによる画面(ブラウザ画面)に切り替わり(丸数字3)、トップ画面42が表示される。このトップ画面42には、ジョブの投入から実行に到るまでの処理をMFP1だけで行うモードを選択するための「ローカルコンテンツ」ボタンと、前述した「リモートジョブ発行モード」ボタンが表示されている。
ユーザはブラウザ画面を操作し、モードを指定する(丸数字4)。ユーザにより「ローカルコンテンツ」ボタンが押された場合は、MFP1は内部ウェブサーバからリソースを取得する(丸数字5)。
ユーザにより「リモートジョブ発行モード」ボタンが押されると、外部サーバ2からジョブ指定画面データが取得され、ブラウザにより表示部106bにジョブ指定画面が表示される(丸数字6)。
表示されたジョブ指定画面において、ユーザが印刷対象文書を選択し印刷ジョブの発行を指示すると、CGI処理のリクエストを送信して、印刷ジョブの発行を外部サーバ2に要求する(丸数字7)。同時に、ジョブの受信結果及び/または実行状況に応じた画面データの取得先であるURLの提供を、外部サーバ2に要求する(丸数字7)。
前記ジョブの受信結果及び/または実行状況に応じた画面としては、例えば、外部サーバ2から発行されたジョブが、MFP1で正常に受信されたことあるいは受信に失敗したことを示す画面や、ジョブの実行中であることを示す画面や、ジョブが正常に実行終了されたことを示す画面や、エラーが発生した時の画面や、エラーの種類を示す画面等がある。この実施形態では、複数の画面の画面データの取得先を一括して要求するものとなされている。
MFP1からのジョブ発行要求を外部サーバ2が受信すると、外部サーバ2からMFP1へ印刷ジョブが発行される(丸数字8)。同時に、ジョブの受信結果及び/または実行状況に応じた画面データの取得先であるURLが提供される(丸数字8)。
外部サーバ2から発行された印刷ジョブを受信したMFP1は、正常受信か受信失敗かを検出する。そして、外部サーバ2から取得したURLの中から、外部サーバ2から発行された印刷ジョブが、MFP1で正常に受信されたことあるいは受信に失敗したことを示す画面の取得先のURLを選択し、そのURLにアクセスして画面データを取得する。MFP1は、表示部106bに表示されている画面を、前記URLから取得した画面データに基づいて、ジョブの正常受信画面あるいは受信失敗画面に更新する(丸数字9)。
印刷ジョブが正常に受信された場合は、MFP1は印刷ジョブを実行する(丸数字10)。
MFP1はジョブの実行状況を検出し、実行中であれば、外部サーバ2から取得したURLの中から、実行中であることを示す画面の取得先のURLを選択し、そのURLにアクセスして、表示部106bに表示されている画面を、前記URLから取得したジョブ実行中の画面に更新する(丸数字11)。
エラーが発生した場合は、外部サーバ2から取得したURLの中から、エラーが発生した時の画面、エラーの種類を示す画面の取得先のURLを選択し、そのURLにアクセスして、表示部106bに表示されている画面を、前記URLから取得したジョブの実行状況に応じた画面に更新する(丸数字11)。
一方、MFP1がジョブを正常に実行終了した場合は、正常終了を示す画面の取得先のURLを選択し、そのURLにアクセスして、表示部106bに表示されている画面を、前記URLから取得した正常終了を示す画面に更新する(丸数字11)。
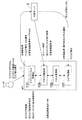
図3は、リモートジョブ発行モードにおいて実行されるMFP1の内部の処理を説明するための図である。
ユーザが、MFP1の操作パネル部106のネイティブ画面からブラウザを呼び出すと(図3の丸数字1)、ブラウザ制御部109がブラウザを起動し、表示部106bの画面をネイティブ画面から図4(A)に示すブラウザ画面のトップ画面42に切り替える(丸数字2)。このトップ画面42では、リモートジョブ発行モードの指定、及びローカルコンテンツモードの指定が可能となされている。
トップ画面42において、ユーザによりリモートジョブ発行モードが指定されると、ブラウザ制御部109はMFP1を外部サーバ2に接続し、外部サーバ2へジョブ指定画面データの取得が要求される(丸数字3)。外部サーバ2と接続されるまでは、操作パネル部106の表示部106bには図4(B)に示すような接続中であることを示す画面43が表示される。
外部サーバ2と接続されると、該サーバ2からジョブ指定画面データが送信され(丸数字4)、該画面データに基づいて、ブラウザ制御部109は操作パネル部106の表示部106bに、外部サーバ2のジョブ指定画面44を表示させる(丸数字5)。外部サーバのジョブ指定画面を図4(C)に示す。この画面44では、外部サーバ2に保存されている印刷可能な文書データのリスト441が表示されると共に、「印刷」ボタン、「キャンセル」ボタン、「全選択」ボタンなどが表示されている。
ジョブ指定画面44において、ユーザが文書を選択し「印刷」ボタンを押すことで印刷ジョブの発行を指示すると(丸数字6)、ブラウザ制御部109はCGI処理のリクエストを送信して、印刷ジョブの発行を外部サーバ2に要求する(丸数字7)。同時に、ジョブの受信結果及び/または実行状況に応じた画面データの取得先である複数のURLの提供を、外部サーバ2に要求する。
ジョブ発行要求を外部サーバ2が受信すると、サーバ2はCGI処理のリクエストを受け付けた旨の画面データをMFP1に送信する(丸数字8)。ブラウザ制御部109は、CGI処理のリクエストを受け付けた旨の画面を表示部106bに表示させる(丸数字9)。
さらに、MFP1からのジョブ発行要求を受けて、外部サーバ2は印刷ジョブをMFP1に発行するとともに、ジョブの受信結果及び/または実行状況に応じた画面データの取得先であるURLの一覧データをMFP1に送信する(丸数字10)。
図5に、URLの一覧データの例を示す。この例では、ジョブ正常受信画面、受信エラー画面、ジョブ実行中画面、用紙詰まりエラー画面、トナーエンプティエラー画面、用紙エンプティエラー画面、ジョブ正常終了画面などの各画面データの取得先のURLが示されている。
MFP1では、発行されたジョブ及びURLについての情報を、ネットワークインターフェース部111を介して受信するとともに、受信したジョブ及びURLについての情報はジョブ処理部107に送られ、ジョブ処理部107で受け付けられる(丸数字11)。
ジョブ処理部107は、ジョブの受信結果を検出すると共に、プリント部107aに印刷ジョブを実行させ、さらにジョブの実行状況を検出する。そして、検出したジョブの受信結果、実行状況を、外部サーバ2から送られた全てのURLについての情報とともに、パネル管理部108に通知する(丸数字12)。
パネル管理部108は、通知されたURLについての情報の中から、通知された受信結果及び実行状況に対応する画面データの取得先を示すURLを選択し、このURLについての情報を画面更新指示と共にブラウザ制御部109に送る(丸数字13)。
ブラウザ制御部109は、画面更新指示に基づいて更新画面取得先である前記URLにアクセスし(丸数字14)、外部サーバ2から更新画面を取得する(丸数字15)。
具体的には、ジョブ処理部107からパネル管理部108へ通知されたジョブの受信結果が正常受信であれば、ブラウザ制御部109は、正常に受信されたことを示す画面データの取得先であるURLにアクセスし、操作パネル部106の表示部106bには、図6(A)に示すような、正常に受信されたことを示す画面45が更新表示される。なお、ブラウザは、HTTPによるHTMLデータの要求に対して所定のタイムアウト時間を設けることが多く、このタイムアウト時間内にサーバからのデータ受信がないと、ネイティブ画面に戻ってしまう。もし、正常に受信されたことを示す画面データの取得先であるURLにアクセスしたときに、ネイティブ画面に戻っていたときは、ブラウザ画面に切り替えて、前記更新画面を表示する。
ジョブ処理部107からパネル管理部108へ通知された印刷ジョブの実行状況が「実行中」であれば、ブラウザ制御部109は、ジョブが実行中であることを示す画面データの取得先であるURLにアクセスし、操作パネル部106の表示部106bには、図6(B)に示すような、ジョブが実行中であることを示す画面46が更新表示される。
ジョブ処理部107からパネル管理部108へ通知された印刷ジョブの実行状況が「実行終了」であれば、ブラウザ制御部109は、ジョブが正常に実行中であることを示す画面データの取得先であるURLにアクセスし、操作パネル部106の表示部106bには、図7(A)に示すような、ジョブが正常に終了したことを示す画面47が更新表示される。
また、ジョブ処理部107からパネル管理部108へ通知された印刷ジョブの実行状況が「紙詰まりによるエラー」であれば、ブラウザ制御部109は、紙詰まりエラーが発生したことを示す画面データの取得先であるURLにアクセスし、操作パネル部106の表示部106bには、図7(B)に示すような、紙詰まりエラーが発生したことを示す画面48が更新表示される。なお、エラーの種類は「紙詰まり」に限定されることはなく、トナーエンプティ、用紙エンプティ等のエラーの種類に応じた画面が表示される。
また、ジョブの正常終了後に、図8に示すように、ジョブ指定画面か、リモートジョブ発行モードの終了画面か、トップ画面のいずれの画面に遷移するかを、ユーザに選択させるための選択画面49を表示し、ユーザによりいずれかが選択された場合には、その画面の取得先であるURLにアクセスして、その画面を表示しても良い。ユーザの選択に基づいて画面データが取得されるから、ユーザの意向に沿った画面を表示することができる。
このように、ジョブの受信結果及び/または実行状況に応じた画面が表示部に表示されるから、ユーザは外部サーバ2からジョブが正常に送信(MFPで正常に受信)できたかどうか、またはジョブが正常に実行されたかエラーが生じたか等を知ることができ、ユーザの利便性を高めることができる。
図9は、リモートジョブ発行モードにおいて実行されるMFP1の処理を示すフローチャートである。
この処理は、機能的には、MFP1のジョブ処理部107、パネル管理部108、ブラウザ制御部109等で実行されるが、実際にはCPUが、ROM等の記録媒体に記録されている動作プログラムに従って動作することにより実行される。
ステップS001で、ユーザによってブラウザの起動指示があったかどうかを判断する。指示がなければ(ステップS001でNO)、処理を終了する。起動指示があれば(ステップS001でYES)、ステップS002で、ブラウザのトップ画面を表示する。
次に、ステップS003で、トップ画面において、リモートジョブ発行モードが指定されたかどうかを判断し、ローカルコンテンツが指定された場合は(ステップS003でNO)、ステップS004で、指定された処理を実行して終了する。
リモートジョブ発行モードが指定された場合は(ステップS003でYES)、ステップS005で外部サーバ2と接続し、ステップS006で外部サーバ2からジョブ指定画面データを取得し、ステップS007でジョブ指定画面を表示する。
次いで、ステップS008で、ジョブ指定画面において、ユーザによりジョブが指定されたかどうかが判断される。ジョブが指定されなければ(ステップS008でNO)、指定されるまで待つ。
ジョブが指定されると(ステップS008でYES)、ステップS009で、ジョブ発行要求と、ジョブの受信結果及び実行状況に応じた画面を表示するための画面データの取得先であるURLの一覧取得要求とをサーバ2に送信する。
ステップS010では、外部サーバ2から返信された、CGIリクエストを受け付けた旨の画面データを受信し、操作パネル部106の表示部106bに表示する。また、ステップS011で、外部サーバ2から発行されたジョブ及びURLの一覧データを受信する。
ステップS012では、ジョブを正常に受信できたかどうかが判断され、受信できた場合は(ステップS012でYES)、ステップS013で、URL一覧データの中から、正常に受信されたことを示す画面データの取得先のURLを選択し、ステップS015に進む。受信できなかった場合は(ステップS012でNO)、ステップS014で、URL一覧データの中から、受信エラーを示す画面データの取得先のURLを選択し、ステップS015に進む。
ステップS015では、選択されたURLへアクセスし、図10のステップS016で、画面データを取得して表示部106bに表示する。
次にステップS0161で、ジョブが正常に受信されたかどうかを再度チェックし、正常に受信されていなければ(ステップS0161でNO)、処理を終了する。正常に受信されていれば(ステップS0161でYES)、ステップS017で、プリント部107aに印刷ジョブを実行させる。
次いで、ステップS018では、URL一覧データの中から、ジョブ実行中であることを示す画面データの取得先のURLを選択したのち、ステップS019でそのURLにアクセスし、ステップS020で画面データを取得して表示部106bに表示する。
次に、ステップS021では、エラーが発生したかどうかが判断され、エラーが発生すれば(ステップS021でYES)、ステップS023で、URL一覧データの中から、対応する種類のエラーが発生したことを示す画面データの取得先のURLを選択したのち、ステップS024でそのURLにアクセスし、ステップS025で画面データを取得して表示部106bに表示する。
次に、ステップS026でエラーが解消したかどうかが判断され、エラーが解消されなければ(ステップS026でNO)、解消されるまで待ち、解消されると(ステップS026でYES)、ステップS021に戻る。
一方、ステップS021で、エラーが発生しなければ(ステップS021でNO)、ステップS022で、ジョブの実行が終了したかどうかが判断され、ジョブの実行が終了しなければ(ステップS022でNO)、ステップS021に戻る。
ジョブの実行が終了すると(ステップS022でYES)、ステップS027に進み、URL一覧データの中から、ジョブ終了を示す画面データの取得先のURLを選択し、ステップS028でそのURLにアクセスし、ステップS029で画面データを取得して表示部106bに表示する。
次に、ステップS030で、ジョブ終了画面において、ユーザにより次の更新画面としてジョブ指定画面が選択されたかどうかを判断し、ジョブ指定画面が選択された場合は(ステップS030でYES)、図9のステップS006に進む。
ジョブ指定画面が選択されなかった場合は(ステップS030でNO)、ステップS031で、ユーザによりブラウザのトップ画面が選択されたかどうかが判断される。トップ画面が選択された場合は(ステップS031でYES)、図9のステップS002に進む。
トップ画面が選択されなかった場合は(ステップS031でNO)、リモートジョブ発行モード終了画面が選択されたから、ステップS032で、リモートジョブ発行モードを終了し、ステップS033で、ネイティブ画面を表示して、処理を終了する。
以上、本発明の一実施形態を説明したが、本発明は上記実施形態に限定されることはない。
例えば、ジョブの受信結果及び/またはジョブの実行状況に応じた画面データの取得先のURL一覧データの取得を、ジョブの発行要求と共に要求し、取得したURLの一覧データから、ジョブの受信結果及び/またはジョブの実行状況に応じた画面データの取得先のURLを選択して、画面データを取得するものとした。しかし、ジョブの受信結果及び/またはジョブの実行状況に応じた画面データが必要となった時に、その都度、対応する画面データのURLを外部サーバ2から取得し、そのURLへアクセスしても良い。ただし、複数のURLを予め取得しておき、それらの中から対応するURLを選択して画面データを取得する方が、その都度画面データを取得するよりも速く、ジョブの受信結果及び/または実行状況に応じた画面を表示部106bに表示することができる。
また、ジョブの受信結果及び/またはジョブの実行状況に応じた画面データの取得先のURLを外部サーバ2から取得し、取得先のURLへアクセスして画面データを取得して表示部106bに更新画面を表示する場合について説明した。しかし、パネル管理部108が、ジョブ処理部107で検出されたジョブの受信結果及び/またはジョブの実行状況に応じて、受信結果や実行状況に対応するテキストデータを作成して、または予め保存されていたテキストデータの中から選択して、表示部106bに表示させることにより、ジョブの受信結果及び/またはジョブの実行状況をユーザに知らせる構成としても良い。
この発明の一実施形態に係る画像処理装置が用いられた画像処理システムの一例を示すブロック図である。 図2は、リモートジョブ発行モードが指定された場合の画像処理システム全体の動作を説明するための図である。 リモートジョブ発行モードにおいて実行されるMFP1の内部の処理を説明するための図である。 操作パネル部の表示部に表示された画面の遷移を説明するための画面図である。 ジョブの受信結果及び/または実行状況に応じた画面データの取得先であるURLの一覧データを示す図である。 操作パネル部の表示部に表示された画面の遷移を説明するための画面図である。 同じく、操作パネル部の表示部に表示された画面の遷移を説明するための画面図である。 同じく、操作パネル部の表示部に表示された画面の遷移を説明するための画面図である。 リモートジョブ発行モードにおいて実行されるMFP1の処理を示すフローチャートである。 図9の続きを示すフローチャートである。
符号の説明
1 MFP(画像処理装置)
2 外部サーバ
3 ネットワーク
101 CPU
103 ROM
105 記憶部
106 操作パネル部
106b 表示部
107 ジョブ処理部
107a プリント部
108 パネル管理部
109 ブラウザ制御部
111 ネットワークインターフェース

Claims (27)

  1. ブラウザにより外部サーバにアクセスし、外部サーバから送られてくる外部サーバ側のジョブ指定画面データに基づいて、ジョブ指定画面をブラウザにより表示する表示手段と、
    前記表示手段に表示された外部サーバ側のジョブ指定画面によりユーザが指定したジョブの発行を外部サーバに要求するジョブ発行要求手段と、
    前記ジョブ発行要求手段による発行要求を受けた外部サーバから発行されたジョブを受信する受信手段と、
    前記受信されたジョブを実行するジョブ実行手段と、
    前記受信手段による前記ジョブの受信結果及び/または前記ジョブ実行手段による前記ジョブの実行状況を検出する検出手段と、
    前記検出された受信結果及び/または実行状況に応じた画面を前記表示手段に表示させる表示制御手段と、
    を備えたことを特徴とする画像処理装置。
  2. ジョブの受信結果及び/または実行状況に応じた画面データの取得先の提供を、外部サーバに要求する取得先提供要求手段をさらに備え、
    前記表示制御手段は、前記取得先提供要求手段により画面データの取得先の提供要求を受けた外部サーバから提供された画面データの取得先から、ジョブの受信結果及び/または実行状況に応じた画面データを取得して、前記表示手段に画面を表示させる請求項1に記載の画像処理装置。
  3. 前記取得先提供要求手段は、前記発行要求手段による外部サーバへの前記ジョブの発行要求とともに、画面データの取得先の提供要求を外部サーバへ行う請求項2に記載の画像処理装置。
  4. 前記表示制御手段は、前記ジョブ実行手段による前記ジョブの実行停止時に、外部サーバから提供された画面データの取得先から画面データを取得する請求項2または3に記載の画像処理装置。
  5. 前記取得先提供要求手段は、ジョブの受信結果及び/または実行状況に応じた複数の画面データの取得先の提供を要求し、
    前記表示制御手段は、前記複数の画面データの取得先から、ジョブの受信結果及び/または実行状況に応じた画面データの取得先を選択して画面データを取得する請求項2〜4のいずれかに記載の画像処理装置。
  6. ジョブの実行状況とは、正常動作であるかエラーであるか、またはエラーの種類である請求項5に記載の画像処理装置。
  7. 前記取得先提供要求手段は、ジョブの受信結果及び/または実行状況に応じた複数の画面データの取得先の提供を要求し、
    前記表示制御手段は、前記複数の画面データの取得先の中から、ユーザの選択に基づいて画面データを取得する請求項2または3に記載の画像処理装置。
  8. ユーザにより選択された画面データは、前記外部サーバから発行されたジョブの正常終了後に表示される、ジョブ指定画面データか、外部サーバから発行されたジョブの実行モードの終了画面データか、ブラウザのトップ画面のいずれかである請求項7に記載の画像処理装置。
  9. 前記外部サーバから発行されるジョブは印刷ジョブである請求項1〜8のいずれかに記載の画像処理装置。
  10. ブラウザにより外部サーバにアクセスし、外部サーバから送られてくる外部サーバ側のジョブ指定画面データに基づいて、ジョブ指定画面をブラウザにより表示手段に表示するステップと、
    前記表示手段に表示された外部サーバ側のジョブ指定画面によりユーザが指定したジョブの発行を外部サーバに要求するジョブ発行要求ステップと、
    前記ジョブ発行要求ステップにおける発行要求を受けた外部サーバから発行されたジョブを受信するステップと、
    前記受信されたジョブを実行するジョブ実行ステップと、
    前記受信ステップにおける前記ジョブの受信結果及び/または前記ジョブ実行ステップにおける前記ジョブの実行状況を検出するステップと、
    検出された受信結果及び/または実行状況に応じた画面を前記表示手段に表示させる表示制御ステップと、
    を備えたことを特徴とする画像処理装置によるジョブ実行方法。
  11. ジョブの受信結果及び/または実行状況に応じて前記表示手段に表示される画面データの取得先の提供を、外部サーバに要求する取得先提供要求ステップをさらに備え、
    前記表示制御ステップでは、前記取得先提供要求ステップにより画面データの取得先の提供要求を受けた外部サーバから提供された画面データの取得先から、ジョブの受信結果及び/または実行状況に応じた画面データを取得して、前記表示手段に画面を表示させる請求項10に記載の画像処理装置によるジョブ実行方法。
  12. 前記取得先提供要求ステップでは、前記ジョブ発行要求ステップによる外部サーバへの前記ジョブの発行要求とともに、画面データの取得先の提供を外部サーバへ要求する請求項11に記載の画像処理装置によるジョブ実行方法。
  13. 前記表示制御ステップでは、前記ジョブ実行ステップにおける前記ジョブの実行停止時に、外部サーバから提供された画面データの取得先から画面データを取得する請求項11または12に記載の画像処理装置によるジョブ実行方法。
  14. 前記取得先提供要求ステップでは、ジョブの受信結果及び/または実行状況に応じた複数の画面データの取得先の提供を要求し、
    前記表示制御ステップでは、前記複数の画面データの取得先から、ジョブの実行状況に応じた画面データの取得先を選択して画面データを取得する請求項11〜13のいずれかに記載の画像処理装置によるジョブ実行方法。
  15. ジョブの実行状況とは、正常動作であるかエラーであるか、またはエラーの種類である請求項14に記載の画像処理装置によるジョブ実行方法。
  16. 前記取得先提供要求ステップでは、ジョブの受信結果及び/または実行状況に応じた複数の画面データの取得先の提供を要求し、
    前記表示制御ステップは、前記複数の画面データの取得先の中から、ユーザの選択に基づいて画面データを取得する請求項11または12に記載の画像処理装置によるジョブ実行方法。
  17. ユーザにより選択された画面データは、前記外部サーバから発行されたジョブの正常終了後に表示される、ジョブ指定画面データか、外部サーバから発行されたジョブの実行モードの終了画面データか、ブラウザのトップ画面のいずれかである請求項16に記載の画像処理装置によるジョブ実行方法。
  18. 前記外部サーバから発行されるジョブは印刷ジョブである請求項10〜17のいずれかに記載の画像処理装置によるジョブ実行方法。
  19. ブラウザにより外部サーバにアクセスし、外部サーバから送られてくる外部サーバ側のジョブ指定画面データに基づいて、ジョブ指定画面をブラウザにより表示手段に表示するステップと、
    前記表示手段に表示された外部サーバ側のジョブ指定画面によりユーザが指定したジョブの発行を外部サーバに要求するジョブ発行要求ステップと、
    前記ジョブ発行要求ステップにおける発行要求を受けた外部サーバから発行されたジョブを受信するステップと、
    前記受信されたジョブを実行するジョブ実行ステップと、
    前記受信ステップにおける前記ジョブの受信結果及び/または前記ジョブ実行ステップにおける前記ジョブの実行状況を検出するステップと、
    検出された受信結果及び/または実行状況に応じた画面を前記表示手段に表示させる表示制御ステップと、
    を画像処理装置のコンピュータに実行させるためのジョブ実行プログラム。
  20. ジョブの受信結果及び/または実行状況に応じて前記表示手段に表示される画面データの取得先の提供を、外部サーバに要求する取得先提供要求ステップをさらにコンピュータに実行させ、
    前記表示制御ステップでは、前記取得先提供要求ステップにより画面データの取得先の提供要求を受けた外部サーバから提供された画面データの取得先から、ジョブの受信結果及び/または実行状況に応じた画面データを取得して、前記表示手段に画面を表示させる処理をコンピュータに実行させる請求項19に記載のジョブ実行プログラム。
  21. 前記取得先提供要求ステップでは、前記発行要求ステップによる外部サーバへの前記ジョブの発行要求とともに、画面データの取得先の提供を外部サーバへ要求する処理をコンピュータに実行させる請求項20に記載のジョブ実行プログラム。
  22. 前記表示制御ステップでは、前記ジョブ実行ステップにおける前記ジョブの実行停止時に、外部サーバから提供された画面データの取得先から画面データを取得する処理をコンピュータに実行させる請求項20または21に記載のジョブ実行プログラム。
  23. 前記取得先提供要求ステップでは、ジョブの受信結果及び/または実行状況に応じた複数の画面データの取得先の提供を要求する処理をコンピュータに実行させ、
    前記表示制御ステップでは、前記複数の画面データの取得先から、ジョブの受信結果及び/または実行状況に応じた画面データの取得先を選択して画面データを取得する処理をコンピュータに実行させる請求項20〜22のいずれかに記載のジョブ実行プログラム。
  24. ジョブの実行状況とは、正常動作であるかエラーであるか、またはエラーの種類である請求項23に記載のジョブ実行プログラム。
  25. 前記取得先提供要求ステップでは、ジョブの受信結果及び/または実行状況に応じた複数の画面データの取得先の提供を要求する処理をコンピュータに実行させ、
    前記表示制御ステップは、前記複数の画面データの取得先の中から、ユーザの選択に基づいて画面データを取得する処理をコンピュータに実行させる請求項20または21に記載のジョブ実行プログラム。
  26. ユーザにより選択された画面データは、前記外部サーバから発行されたジョブの正常終了後に表示される、ジョブ指定画面データか、外部サーバから発行されたジョブの実行モードの終了画面データか、ブラウザのトップ画面のいずれかである請求項25に記載のジョブ実行プログラム。
  27. 前記外部サーバから発行されるジョブは印刷ジョブである請求項19〜26のいずれかに記載のジョブ実行プログラム。
JP2008222752A 2008-08-29 2008-08-29 画像処理装置、同装置におけるジョブ実行方法及びジョブ実行プログラム Expired - Fee Related JP4600550B2 (ja)

Priority Applications (2)

Application Number Priority Date Filing Date Title
JP2008222752A JP4600550B2 (ja) 2008-08-29 2008-08-29 画像処理装置、同装置におけるジョブ実行方法及びジョブ実行プログラム
US12/544,092 US8390855B2 (en) 2008-08-29 2009-08-19 Apparatus, method and recording medium for obtaining UI pages from server

Applications Claiming Priority (1)

Application Number Priority Date Filing Date Title
JP2008222752A JP4600550B2 (ja) 2008-08-29 2008-08-29 画像処理装置、同装置におけるジョブ実行方法及びジョブ実行プログラム

Publications (2)

Publication Number Publication Date
JP2010057135A true JP2010057135A (ja) 2010-03-11
JP4600550B2 JP4600550B2 (ja) 2010-12-15

Family

ID=41725013

Family Applications (1)

Application Number Title Priority Date Filing Date
JP2008222752A Expired - Fee Related JP4600550B2 (ja) 2008-08-29 2008-08-29 画像処理装置、同装置におけるジョブ実行方法及びジョブ実行プログラム

Country Status (2)

Country Link
US (1) US8390855B2 (ja)
JP (1) JP4600550B2 (ja)

Cited By (5)

* Cited by examiner, † Cited by third party
Publication number Priority date Publication date Assignee Title
JP2012080256A (ja) * 2010-09-30 2012-04-19 Canon Inc 画像処理装置、その制御方法、及びプログラム
JP2012118636A (ja) * 2010-11-29 2012-06-21 Canon Inc 情報処理装置、画像処理装置、情報処理装置の制御方法、画像処理装置の制御方法、及びプログラム
JP2014130433A (ja) * 2012-12-28 2014-07-10 Kyocera Document Solutions Inc 画像形成システム並びにこれを構成する画像形成装置及び情報処理装置
JP2016045843A (ja) * 2014-08-26 2016-04-04 コニカミノルタ株式会社 情報処理システム、情報処理装置およびプログラム
JP2017094498A (ja) * 2015-11-18 2017-06-01 コニカミノルタ株式会社 画像形成装置、ブラウザ起動方法およびブラウザ起動プログラム

Families Citing this family (7)

* Cited by examiner, † Cited by third party
Publication number Priority date Publication date Assignee Title
JP4911234B2 (ja) * 2010-03-23 2012-04-04 コニカミノルタビジネステクノロジーズ株式会社 表示画面制御装置、表示画面制御方法およびプログラム
JP5035375B2 (ja) * 2010-03-23 2012-09-26 コニカミノルタビジネステクノロジーズ株式会社 表示画面制御装置、画像処理装置、表示画面制御方法およびプログラム
JP5676931B2 (ja) * 2010-06-11 2015-02-25 キヤノン株式会社 管理システム及びその方法
JP5677005B2 (ja) * 2010-10-01 2015-02-25 キヤノン株式会社 画像処理装置、画像処理装置の制御方法、並びにプログラム
JP5639484B2 (ja) * 2011-01-14 2014-12-10 キヤノン株式会社 管理システム、管理サーバ、画像形成装置、管理方法、及び、プログラム
JP6700861B2 (ja) * 2016-03-01 2020-05-27 キヤノン株式会社 画像形成装置、印刷システム、画像形成装置の制御方法、印刷システムの制御方法、及びプログラム
JP6776835B2 (ja) * 2016-11-16 2020-10-28 コニカミノルタ株式会社 複合装置、表示切換方法および表示切換プログラム

Citations (2)

* Cited by examiner, † Cited by third party
Publication number Priority date Publication date Assignee Title
JPH11249849A (ja) * 1998-03-03 1999-09-17 Oki Electric Ind Co Ltd 印刷支援システム
JP2003108354A (ja) * 2001-10-01 2003-04-11 Nec Access Technica Ltd ブラウザ搭載通信装置及びそのブラウザ閲覧方法

Family Cites Families (9)

* Cited by examiner, † Cited by third party
Publication number Priority date Publication date Assignee Title
US6067558A (en) * 1997-09-18 2000-05-23 Wendt; James Gordon Method and apparatus for providing increased content from a resource constrained device
JP4445116B2 (ja) * 2000-10-17 2010-04-07 東芝テック株式会社 ゲートウエイ装置とネットワークシステム
JP4741768B2 (ja) * 2001-12-04 2011-08-10 キヤノン株式会社 ネットワーク制御装置、ネットワーク制御方法及びプログラム
US20040205621A1 (en) * 2002-05-28 2004-10-14 Johnson Steven C. Method and apparatus for formatting documents
JP4521154B2 (ja) * 2002-08-19 2010-08-11 ブラザー工業株式会社 印刷システム、サーバ装置、ファイルの印刷方法及びプログラム
JP4402423B2 (ja) * 2003-10-22 2010-01-20 キヤノン株式会社 データ受信処理装置
JP4662206B2 (ja) 2005-07-26 2011-03-30 富士ゼロックス株式会社 情報処理装置および情報処理プログラム
US7548969B2 (en) * 2005-07-27 2009-06-16 Hewlett-Packard Development Company, L.P. Computer system polling with adjustable intervals based on rules and server states
JP4678289B2 (ja) * 2005-11-24 2011-04-27 富士ゼロックス株式会社 画像形成装置、画像形成システム、及び画像形成プログラム

Patent Citations (2)

* Cited by examiner, † Cited by third party
Publication number Priority date Publication date Assignee Title
JPH11249849A (ja) * 1998-03-03 1999-09-17 Oki Electric Ind Co Ltd 印刷支援システム
JP2003108354A (ja) * 2001-10-01 2003-04-11 Nec Access Technica Ltd ブラウザ搭載通信装置及びそのブラウザ閲覧方法

Cited By (6)

* Cited by examiner, † Cited by third party
Publication number Priority date Publication date Assignee Title
JP2012080256A (ja) * 2010-09-30 2012-04-19 Canon Inc 画像処理装置、その制御方法、及びプログラム
JP2012118636A (ja) * 2010-11-29 2012-06-21 Canon Inc 情報処理装置、画像処理装置、情報処理装置の制御方法、画像処理装置の制御方法、及びプログラム
JP2014130433A (ja) * 2012-12-28 2014-07-10 Kyocera Document Solutions Inc 画像形成システム並びにこれを構成する画像形成装置及び情報処理装置
JP2016045843A (ja) * 2014-08-26 2016-04-04 コニカミノルタ株式会社 情報処理システム、情報処理装置およびプログラム
US9756201B2 (en) 2014-08-26 2017-09-05 Konica Minolta, Inc. Information processing system, information processing device, and program having different browser functions pertaining to a plurality of web servers
JP2017094498A (ja) * 2015-11-18 2017-06-01 コニカミノルタ株式会社 画像形成装置、ブラウザ起動方法およびブラウザ起動プログラム

Also Published As

Publication number Publication date
JP4600550B2 (ja) 2010-12-15
US20100053674A1 (en) 2010-03-04
US8390855B2 (en) 2013-03-05

Similar Documents

Publication Publication Date Title
JP4600550B2 (ja) 画像処理装置、同装置におけるジョブ実行方法及びジョブ実行プログラム
JP4596696B2 (ja) 情報処理装置および印刷装置
US10552093B2 (en) Electronic device and recording medium
JP6300511B2 (ja) システムおよび実行指示方法
US20110035785A1 (en) Information processing system, control method thereof and storage medium
US8589478B2 (en) Information processing apparatus, control method of information processing apparatus, and storage medium
JP3788377B2 (ja) 印刷装置
US9300824B2 (en) Method and image forming apparatus to generate user interface screen to be displayed to user accessing the image forming apparatus
US20110119333A1 (en) Information processing apparatus, and control method of information processing apparatus, and program
GB2508981A (en) Transferring from web page based to hardware key based operation of an imaging device for scan processing
JP7240246B2 (ja) 画像形成装置、その制御方法と画像形成システム、およびプログラム
US20120133966A1 (en) Image processing apparatus, control method thereof and storage medium
JP7554592B2 (ja) 画像処理装置及び制御方法、プログラム
JP2015191522A (ja) ネットワークシステム及び画像形成方法
US9749484B2 (en) Information processing device, control method of information processing device, program, and image processing system
JP2012034277A (ja) 画像処理システム、その制御方法およびプログラム
JP6492711B2 (ja) 中継装置、操作画面提供装置及びプログラム
JP2008210060A (ja) デバイス特定システム、ログイン履歴管理装置、端末装置、デバイス特定方法及びデバイス特定プログラム
JP3762402B2 (ja) データ処理装置及び方法
US20120019862A1 (en) Image processing apparatus, control method of image processing apparatus, and program
US8527875B2 (en) Information processing apparatus and method of controlling the same
JP2006285840A (ja) 文書管理システム
JP6930043B2 (ja) プログラム及び情報処理装置
JP2007011570A (ja) イメージデータ印刷システム及び印刷指示受付装置
JP2024143257A (ja) 情報処理プログラム

Legal Events

Date Code Title Description
A977 Report on retrieval

Free format text: JAPANESE INTERMEDIATE CODE: A971007

Effective date: 20100517

A131 Notification of reasons for refusal

Free format text: JAPANESE INTERMEDIATE CODE: A131

Effective date: 20100615

A521 Written amendment

Free format text: JAPANESE INTERMEDIATE CODE: A523

Effective date: 20100811

TRDD Decision of grant or rejection written
A01 Written decision to grant a patent or to grant a registration (utility model)

Free format text: JAPANESE INTERMEDIATE CODE: A01

Effective date: 20100831

A01 Written decision to grant a patent or to grant a registration (utility model)

Free format text: JAPANESE INTERMEDIATE CODE: A01

A61 First payment of annual fees (during grant procedure)

Free format text: JAPANESE INTERMEDIATE CODE: A61

Effective date: 20100913

FPAY Renewal fee payment (event date is renewal date of database)

Free format text: PAYMENT UNTIL: 20131008

Year of fee payment: 3

R150 Certificate of patent or registration of utility model

Ref document number: 4600550

Country of ref document: JP

Free format text: JAPANESE INTERMEDIATE CODE: R150

Free format text: JAPANESE INTERMEDIATE CODE: R150

S111 Request for change of ownership or part of ownership

Free format text: JAPANESE INTERMEDIATE CODE: R313111

R350 Written notification of registration of transfer

Free format text: JAPANESE INTERMEDIATE CODE: R350

LAPS Cancellation because of no payment of annual fees