JP2010055868A - 電気接触子及びこれを用いたコネクタ - Google Patents

電気接触子及びこれを用いたコネクタ Download PDF

Info

Publication number
JP2010055868A
JP2010055868A JP2008218019A JP2008218019A JP2010055868A JP 2010055868 A JP2010055868 A JP 2010055868A JP 2008218019 A JP2008218019 A JP 2008218019A JP 2008218019 A JP2008218019 A JP 2008218019A JP 2010055868 A JP2010055868 A JP 2010055868A
Authority
JP
Japan
Prior art keywords
contact
male
female
male contact
contacts
Prior art date
Legal status (The legal status is an assumption and is not a legal conclusion. Google has not performed a legal analysis and makes no representation as to the accuracy of the status listed.)
Granted
Application number
JP2008218019A
Other languages
English (en)
Other versions
JP5185022B2 (ja
Inventor
Shigeru Mitsuzuka
茂 三塚
Tooru Takane
徹 高根
Current Assignee (The listed assignees may be inaccurate. Google has not performed a legal analysis and makes no representation or warranty as to the accuracy of the list.)
Iriso Electronics Co Ltd
Original Assignee
Iriso Electronics Co Ltd
Priority date (The priority date is an assumption and is not a legal conclusion. Google has not performed a legal analysis and makes no representation as to the accuracy of the date listed.)
Filing date
Publication date
Application filed by Iriso Electronics Co Ltd filed Critical Iriso Electronics Co Ltd
Priority to JP2008218019A priority Critical patent/JP5185022B2/ja
Priority to US13/061,276 priority patent/US20120164893A1/en
Priority to PCT/JP2009/062307 priority patent/WO2010024043A1/ja
Priority to EP09809698.5A priority patent/EP2320525A4/en
Publication of JP2010055868A publication Critical patent/JP2010055868A/ja
Application granted granted Critical
Publication of JP5185022B2 publication Critical patent/JP5185022B2/ja
Expired - Fee Related legal-status Critical Current
Anticipated expiration legal-status Critical

Links

Images

Classifications

    • HELECTRICITY
    • H01ELECTRIC ELEMENTS
    • H01RELECTRICALLY-CONDUCTIVE CONNECTIONS; STRUCTURAL ASSOCIATIONS OF A PLURALITY OF MUTUALLY-INSULATED ELECTRICAL CONNECTING ELEMENTS; COUPLING DEVICES; CURRENT COLLECTORS
    • H01R13/00Details of coupling devices of the kinds covered by groups H01R12/70 or H01R24/00 - H01R33/00
    • H01R13/02Contact members
    • H01R13/04Pins or blades for co-operation with sockets
    • H01R13/05Resilient pins or blades
    • HELECTRICITY
    • H01ELECTRIC ELEMENTS
    • H01RELECTRICALLY-CONDUCTIVE CONNECTIONS; STRUCTURAL ASSOCIATIONS OF A PLURALITY OF MUTUALLY-INSULATED ELECTRICAL CONNECTING ELEMENTS; COUPLING DEVICES; CURRENT COLLECTORS
    • H01R13/00Details of coupling devices of the kinds covered by groups H01R12/70 or H01R24/00 - H01R33/00
    • H01R13/02Contact members
    • H01R13/10Sockets for co-operation with pins or blades
    • H01R13/11Resilient sockets
    • H01R13/111Resilient sockets co-operating with pins having a circular transverse section
    • HELECTRICITY
    • H01ELECTRIC ELEMENTS
    • H01RELECTRICALLY-CONDUCTIVE CONNECTIONS; STRUCTURAL ASSOCIATIONS OF A PLURALITY OF MUTUALLY-INSULATED ELECTRICAL CONNECTING ELEMENTS; COUPLING DEVICES; CURRENT COLLECTORS
    • H01R13/00Details of coupling devices of the kinds covered by groups H01R12/70 or H01R24/00 - H01R33/00
    • H01R13/02Contact members
    • H01R13/10Sockets for co-operation with pins or blades
    • H01R13/11Resilient sockets
    • H01R13/113Resilient sockets co-operating with pins or blades having a rectangular transverse section
    • HELECTRICITY
    • H01ELECTRIC ELEMENTS
    • H01RELECTRICALLY-CONDUCTIVE CONNECTIONS; STRUCTURAL ASSOCIATIONS OF A PLURALITY OF MUTUALLY-INSULATED ELECTRICAL CONNECTING ELEMENTS; COUPLING DEVICES; CURRENT COLLECTORS
    • H01R13/00Details of coupling devices of the kinds covered by groups H01R12/70 or H01R24/00 - H01R33/00
    • H01R13/62Means for facilitating engagement or disengagement of coupling parts or for holding them in engagement
    • H01R13/629Additional means for facilitating engagement or disengagement of coupling parts, e.g. aligning or guiding means, levers, gas pressure electrical locking indicators, manufacturing tolerances
    • H01R13/631Additional means for facilitating engagement or disengagement of coupling parts, e.g. aligning or guiding means, levers, gas pressure electrical locking indicators, manufacturing tolerances for engagement only
    • H01R13/6315Additional means for facilitating engagement or disengagement of coupling parts, e.g. aligning or guiding means, levers, gas pressure electrical locking indicators, manufacturing tolerances for engagement only allowing relative movement between coupling parts, e.g. floating connection

Landscapes

  • Coupling Device And Connection With Printed Circuit (AREA)
  • Details Of Connecting Devices For Male And Female Coupling (AREA)

Abstract

【課題】コンタクト同士の接触面積を十分に確保することができるとともに、適正な挿入位置を容易に確認することができ、更には容易に接続が解除されることのない電気接触子及びこれを用いたコネクタを提供する。
【解決手段】雄側コンタクト1を雌側コンタクト2に挿入すると、雄側コンタクト1の雌側接点部2bが雄側コンタクト1の複数の雄側接点部1bを押圧し、各雄側接点部1bがそれぞれ雌側接点部2bに接触しながら雄側コンタクト1の厚さ方向に変位することから、各コンタクト1,2同士の接触面積を十分に確保することができる。また、各コンタクト1,2同士を接続する際、各雌側接点部2bが各雄側接点部1bと共に雄側コンタクト1の厚さ方向に変位する感触を得ることができる。更に、各接点部1b,2bの変位によって各コンタクト1,2同士が係合することから、雄側コンタクト1の反挿入方向への移動を規制することができる。
【選択図】図1

Description

本発明は、例えば自動車等の電力供給配線に用いられる電気接触子及びこれを用いたコネクタに関するものである。
従来、この種のコネクタとしては、雄側コンタクトを有するプラグと、雌側コンタクトを有するソケットとを備え、プラグとソケットとを嵌合して雄側コンタクトと雌側コンタクトとを導通するようにしたものが知られている(例えば、特許文献1参照。)。
特開2001−176592号公報
ところで、前記コネクタでは、ピン形状の雄側コンタクトの外周面に円筒状の雌側コンタクトの内周面を接触させるようにしているが、このようにコンタクト同士を接触させる場合は確実に面接触させることが困難であり、部分的な点接触になる場合が多い。このため、コンタクト同士の接触面積が少なくなり、例えば30A以上の大電流で使用した場合、接触箇所に電流が集中して発熱が生じやすくなり、大電流用のコネクタには適さないという問題点があった。また、前記コネクタでは、雄側コンタクトを径方向に弾性変形可能に形成し、雌側コンタクトに適度な接触圧を付与するようにしているが、雄側コンタクトの何れの挿入位置においても等しい接触圧であるため、適正な位置まで挿入されたか否かを確認しずらく、反挿入方向への抜去防止も不十分であるという問題点があった。
本発明は前記問題点に鑑みてなされたものであり、その目的とするところは、コンタクト同士の接触面積を十分に確保することができるとともに、適正な挿入位置を容易に確認することができ、更には容易に接続が解除されることのない電気接触子及びこれを用いたコネクタを提供することにある。
本発明は前記目的を達成するために、雄側コンタクト及び雌側コンタクトを有し、雄側コンタクトを雌側コンタクトに長手方向に挿入することにより、雄側コンタクトと雌側コンタクトとを互いに接触させて導通するようにした電気接触子において、前記雄側コンタクトの長手方向所定位置に雄側コンタクトの長手方向に直交する方向に変形可能に設けられ、雌側コンタクトとの接触位置が互いに雄側コンタクトの長手方向同一位置になるように配列された複数の雄側接点部と、雌側コンタクトに雄側コンタクトの長手方向に直交する方向に弾性変形可能に設けられ、各雄側接点部の配列方向に延びる雌側接点部とを備え、雄側コンタクトを雌側コンタクトに挿入すると、各雄側接点部が雌側接点部に押圧されて雄側コンタクトの長手方向に直交する方向に変位するように構成している。
また、本発明は前記目的を達成するために、コネクタにおいて、前記電気接触子を備えている。
これにより、雄側コンタクトを雌側コンタクトに挿入すると、雄側コンタクトの雌側接点部が雄側コンタクトの複数の雄側接点部を押圧し、各雄側接点部がそれぞれ雌側接点部に接触しながら雄側コンタクトの長手方向に直交する方向に変位することから、各コンタクト同士の接触面積を十分に確保することができる。また、各コンタクト同士を接続する際、雌側接点部が各雄側接点部と共に雄側コンタクトの長手方向に直交する方向に変位する感触を得ることができる。更に、各接点部の変位によって各コンタクト同士が係合することから、雄側コンタクトの反挿入方向への移動が規制される。
本発明によれば、雄側コンタクトと雌側コンタクトとの接触面積を十分に確保することができるので、大電流で使用した場合でも、接触箇所の発熱を生じさせることなく確実に導通することができる。また、各コンタクト同士を接続する際、各雌側接点部が各雄側接点部と共に雄側コンタクトの長手方向に直交する方向に変位する感触を得ることができるので、適正な位置まで挿入されたことを容易に確認することができ、不十分な挿入による接続不良を効果的に防止することができる。更に、各コンタクト同士の係合により、雄側コンタクトの反挿入方向への移動を規制することができるので、各コンタクトの接続が容易に解除されることがなく、接続信頼性の向上を図ることもできる。
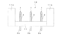
図1乃至図3は本発明の第1の実施形態を示すもので、図1は電気接触子の斜視図、図2は雄側コンタクトの分解斜視図、図3は電気接触子の接続工程を示す要部側面図である。
同図に示す電気接触子は、扁平状に形成された雄側コンタクト1と、雄側コンタクト1に接続される雌側コンタクト2と、雄側コンタクト1の内側に配置される内側部材3とからなり、例えば大電流用のコネクタに用いられるものである。
雄側コンタクト1は導電性の金属板を両端側が対向するように折り曲げることにより中空状に形成され、その一端部1a(折り曲げ部分)はテーパ状に形成されている。雄側コンタクト1の一端側における長手方向所定位置には、雌側コンタクト2と接触する複数の雄側接点部1bが設けられ、各雄側接点部1bは雌側コンタクト2との接触位置が互いに雄側コンタクト1の長手方向同一位置になる方向(雄側コンタクト1の幅方向)に配列されている。各雄側接点部1bは雄側コンタクトの長手方向に延びる複数の長孔1cの間に設けられ、雄側コンタクト1の長手方向に直交する方向(雄側コンタクト1の厚さ方向)に変形可能な帯状に形成されている。
雌側コンタクト2は導電性の金属板を折り曲げてなり、その一端側には雄側コンタクト1の厚さ方向に弾性変形可能な一対の弾性片部2aが設けられている。各弾性片部2aは雄側コンタクト1よりも幅広に形成され、その先端側には雄側コンタクト1と接触する一対の雌側接点部2bがそれぞれ設けられている。各雌側接点部2bは互いに対向するように各弾性片部2aの内側に向かって突設され、各雄側接点部1bの配列方向(弾性片部2aの幅方向)に延びるように形成されている。また、雌側コンタクト2は、その他端側に形成された固定部2cと、各弾性片部2aが設けられた可動部2dとを有し、固定部2cと可動部2dとの間にはU字状に屈曲する一対の弾性部2eが互いに並列に設けられている。固定部2cは両端側が雌側コンタクト2の幅方向一端側から他端側に向かって延びるようにコ字状に折り曲げられ、一方の通電対象物に接続される複数の接続部2fを有している。可動部2dは固定部2cと同等の大きさの角筒状に形成され、固定部2cに対して雄側コンタクト1の長手方向に間隔をおいて配置されている。各弾性部2eは互いに雄側コンタクト1の厚さ方向に対向するように配置され、可動部2dが雄側コンタクト1の厚さ方向(X方向)、幅方向(Y方向)、長手方向(Z方向)にそれぞれ変位可能に弾性変形するようになっている。
内側部材3は導電性の金属によって板状に形成され、その外面が雄側コンタクト1の内面に面接触するように雄側コンタクト1の内形と同等の外形に形成されている。内側部材3の一端側における厚さ方向両面には、雄側コンタクト1の厚さ方向への各雄側接点部1bの変形を許容する凹部3aがそれぞれ設けられ、各凹部3aは雄側接点部1bの配列方向(内側部材3の幅方向)に延びるように形成されている。また、内側部材3の他端には他方の通電対象物に接続される一対の接続部3bが設けられている。
以上のように構成された電気接触子においては、図3(a) に示すように雄側コンタクト1を雌側コンタクト2に長手方向に挿入すると、図3(b) に示すように雄側コンタクト1の一端部1aによって雌側コンタクト2の各弾性片部2aが対向方向外側に弾性変形し、各雌側接点部2bが雄側コンタクト1の厚さ方向両面に接触しながら雄側コンタクト1の他端側に向かって移動する。この後、各雌側接点部2bが各雄側接点部1bまで達すると、図3(c) に示すように各雄側接点部1bが各雌側接点部2bの押圧力によって内側部材3の凹部3a内に没入するように変位し、雄側コンタクト1の厚さ方向に変位した各雄側接点部1bに各雌側接点部2bが係合して雄側コンタクト1と雌側コンタクト2が接続される。
このように、本実施形態の電気接触子によれば、雄側コンタクト1を雌側コンタクト2に挿入すると、雄側コンタクト1の幅方向に延びる雌側接点部2bが雄側コンタクト1の幅方向に配列された複数の雄側接点部1bを押圧し、各雄側接点部1bがそれぞれ雌側接点部2bに接触しながら雄側コンタクト1の厚さ方向に変位するようにしたので、各コンタクト1,2同士の接触面積を十分に確保することができ、大電流で使用した場合でも、接触箇所の発熱を生じさせることなく確実に導通することができる。また、各コンタクト1,2同士を接続する際、各雌側接点部2bが各雄側接点部1bと共に雄側コンタクト1の厚さ方向に変位する感触を得ることができるので、適正な位置まで挿入されたことを容易に確認することができ、不十分な挿入による接続不良を効果的に防止することができる。更に、各接点部1b,2bの変位によって各コンタクト1,2同士が係合することにより、雄側コンタクト1の反挿入方向への移動を規制することができるので、各コンタクト1,2の接続が容易に解除されることがなく、接続信頼性の向上を図ることもできる。
また、雄側コンタクト1を中空状に形成し、雄側コンタクト1内に各雄側接点部1bの変位を許容可能な凹部3aを有する内側部材3を設けたので、各雄側接点部1bを各雌側接点部2bの押圧によって凹部3a内に没入するように変位させることができ、各雄側接点部1bのみを確実に変位させることができる。この場合、内側部材3を外面が雄側コンタクト1の内面に面接触するように形成したので、雄側コンタクト1と内側部材3との接触面積を十分に確保することができ、雄側コンタクト1と内側部材3とを確実に導通させることができる。
更に、雌側コンタクト2を、雌側接点部2bが設けられた一端側が他端側に対して雄側コンタクト1の厚さ方向、幅方向及び長手方向にそれぞれ変位可能に形成したので、振動や衝撃による各コンタクト1,2の相対的な位置ずれを吸収することができ、適正な接続状態を確実に維持することができる。
この場合、固定部2cと可動部2dとの間に互いに並列に設けた複数の弾性部2eを弾性変形させることにより、雌側接点部2bの一端側を他端側に対して変位させるようにしたので、導電体としての弾性部2eの断面積を大きくすることができ、大電流の使用にも十分に対応することができる。
図4乃至図7は本発明の第2の実施形態を示すもので、図4は電気接触子の斜視図、図5は雄側コンタクトの分解斜視図、図6は雌側コンタクトの平面図、図7は電気接触子の接続工程を示す要部側面断面図である。
同図に示す電気接触子は、円筒状に形成された雄側コンタクト4と、雄側コンタクト4に接続される雌側コンタクト5と、雄側コンタクト4の内側に配置される内側部材6とからなり、例えば大電流用のコネクタに用いられるものである。
雄側コンタクト4は導電性の金属板を円筒状に加工することにより中空状に形成され、その一端部4aの開口縁は外径が小さくなるテーパ状に形成されている。雄側コンタクト4の一端側における長手方向所定位置には、雌側コンタクト5と接触する複数の雄側接点部4bが設けられ、各雄側接点部4bは雌側コンタクト5との接触位置が互いに雄側コンタクト4の長手方向同一位置になる方向(雄側コンタクト4の周方向)に配列されている。各雄側接点部4bは雄側コンタクトの長手方向に延びる複数の長孔4cの間に設けられ、雄側コンタクト4の長手方向に直交する方向(雄側コンタクト4の径方向)に変形可能な帯状に形成されている。
雌側コンタクト5は導電性の金属板を折り曲げてなり、その一端側には雄側コンタクト4の径方向に弾性変形可能な弾性片部5aが設けられている。弾性片部5aは雄側コンタクト4の外径よりも内径の大きい円筒状をなすように湾曲しており、その周方向一箇所が分離していることにより、径方向に弾性変形可能になっている。また、弾性片部5aの内周面には雄側コンタクト4と接触する雌側接点部5bが設けられている。雌側接点部5bは弾性片部5aの内側に向かって突設され、各雄側接点部4bの配列方向(弾性片部5aの周方向)に延びるように形成されている。弾性片部5aの図中下端側には雄側コンタクト4を径方向内側に案内するためのガイド部5cが設けられ、ガイド部5cは径方向外側に広がるテーパ状に形成されている。また、雌側コンタクト5は、その他端側に形成された固定部5dと、弾性片部5aが設けられた可動部5eとを有し、固定部5dと可動部5eとの間にはU字状に屈曲する弾性部5fが設けられている。この場合、弾性部5fは、可動部5eが雄側コンタクト4の径方向に変位可能に弾性変形するようになっている。
内側部材6は導電性の金属によって円柱状に形成され、その外周面が雄側コンタクト4の内周面に面接触するように雄側コンタクト4の内径と同等の外径に形成されている。この場合、内側部材6の両端側はそれぞれ外径が小さくなるテーパ状に形成されている。内側部材6の一端側には、雄側コンタクト4の径方向への各雄側接点部4bの変形を許容する凹部6aが設けられ、凹部6aは雄側接点部4bの配列方向(内側部材6の周方向)に延びるように形成されている。
以上のように構成された電気接触子においては、図7(a) に示すように雄側コンタクト4を雌側コンタクト5に長手方向に挿入すると、図7(b) に示すように雄側コンタクト4の一端部4aによって雌側コンタクト5の弾性片部5aが径方向外側に弾性変形し、雌側接点部5bが雄側コンタクト4の外周面に接触しながら雄側コンタクト4の他端側に向かって移動する。この後、雌側接点部5bが各雄側接点部4bまで達すると、図7(c) に示すように各雄側接点部4bが雌側接点部5bの押圧力によって内側部材6の凹部6a内に没入するように変位し、雄側コンタクト4の径方向に変位した各雄側接点部4bに雌側接点部5bが係合して雄側コンタクト4と雌側コンタクト5が接続される。
このように、本実施形態の電気接触子によれば、雄側コンタクト4を雌側コンタクト5に挿入すると、雄側コンタクト4の周方向に延びる雌側接点部5bが雄側コンタクト4の周方向に配列された複数の雄側接点部4bを押圧し、各雄側接点部4bがそれぞれ雌側接点部5bに接触しながら雄側コンタクト4の径方向に変位するようにしたので、第1の実施形態と同様、各コンタクト4,5同士の接触面積を十分に確保することができ、大電流で使用した場合でも、接触箇所の発熱を生じさせることなく確実に導通することができる。また、各コンタクト4,5同士を接続する際、各雌側接点部5bが各雄側接点部4bと共に雄側コンタクト4の厚さ方向に変位する感触を得ることができるので、適正な位置まで挿入されたことを容易に確認することができ、不十分な挿入による接続不良を効果的に防止することができる。更に、各接点部4b,5bの変位によって各コンタクト4,5同士が係合することにより、雄側コンタクト4の反挿入方向への移動を規制することができるので、各コンタクト4,5の接続が容易に解除されることがなく、接続信頼性の向上を図ることもできる。
また、雄側コンタクト4を中空状に形成し、雄側コンタクト4内に各雄側接点部4bの変位を許容可能な凹部6aを有する内側部材6を設けたので、各雄側接点部4bを雌側接点部5bの押圧によって凹部6a内に没入するように変位させることができ、各雄側接点部4bのみを確実に変位させることができる。この場合、内側部材6を外周面が雄側コンタクト4の内周面に面接触するように形成したので、例えば内側部材6を雄側コンタクト4内に圧入することにより、雄側コンタクト4と内側部材6との接触面積を十分に確保することができ、雄側コンタクト4と内側部材6とを確実に導通させることができる。
更に、雌側コンタクト5を、雌側接点部5bが設けられた一端側が他端側に対して雄側コンタクト4の径方向に変位可能に形成したので、振動や衝撃による各コンタクト4,5の相対的な位置ずれを吸収することができ、適正な接続状態を確実に維持することができる。
図8乃至図11は本発明の電気接触子を備えたコネクタを示すもので、図8はコネクタ用プラグの斜視図、図9はその正面図、図10はコネクタ用ソケットの斜視図、図11はその側面断面図である。
このコネクタは、第1の実施形態の雄側コンタクト1を備えたプラグ10と、第1の実施形態の雌側コンタクト2を備えたソケット20とを備え、プラグ10とソケット20とを嵌合することにより、雄側コンタクト1と雌側コンタクト2が接続されるようになっている。
プラグ10は絶縁性のプラグ本体11を有し、プラグ本体11には複数の雄側コンタクト1が互いに間隔をおいて保持されている。プラグ本体11の幅方向両側には側壁部11aが設けられ、プラグ本体11の下面には各雄側コンタクト1の接続部3bが外部に突出するように配置されている。
ソケット20は、上面を開口した絶縁性の第1のソケット本体21と、第1のソケット本体21の上面開口部に挿入された第2のソケット本体22とを有し、各ソケット本体21,22には複数の雌側コンタクト2が互いに間隔をおいて保持されている。第1のソケット本体21には各雌側コンタクト2の固定部2cが固定され、第1のソケット本体21の下面には各雌側コンタクト2の接続部2fが外部に突出するように配置されている。第2のソケット本体22内には各雌側コンタクト2の可動部2d及び弾性片部2aが前記所定方向に変位可能に配置され、第2のソケット本体22の上面にはプラグ10の各雄側コンタクト1が挿入される複数の挿入孔22aが設けられている。
以上のように構成されたコネクタにおいては、プラグ10とソケット20とを嵌合すると、雄側コンタクト1と雌側コンタクト2が接続される。その際、第1の実施形態の電気接触子と同様、コンタクト1,2同士の接触面積を十分に確保することができるとともに、適正な挿入位置を容易に確認することができ、更には容易に接続が解除されることがないという効果を得ることができる。
尚、第1の実施形態の電気接触子を備えたコネクタについては例示していないが、例えば第2の実施形態の雄側コンタクト4を備えたプラグと、第2の実施形態の雌側コンタクト5を備えたソケットとから同様のコネクタを構成することが可能である。
本発明の第1の実施形態を示す電気接触子の斜視図 雄側コンタクトの分解斜視図 電気接触子の接続工程を示す要部側面図 本発明の第2の実施形態を示す電気接触子の斜視図 雄側コンタクトの分解斜視図 雌側コンタクトの平面図 電気接触子の接続工程を示す要部側面断面図 本発明の電気接触子を備えたコネクタ用プラグの斜視図 プラグの正面図 本発明の電気接触子を備えたコネクタ用ソケットの斜視図 ソケットの側面断面図
符号の説明
1…雄側コンタクト、1b…雄側接点部、2…雌側コンタクト、2b…雌側接点部、3…内側部材、3a…凹部、4…雄側コンタクト、4b…雄側接点部、5…雌側コンタクト、5b…雌側接点部、6…内側部材、6a…凹部、10…プラグ、20…ソケット。

Claims (7)

  1. 雄側コンタクト及び雌側コンタクトを有し、雄側コンタクトを雌側コンタクトに長手方向に挿入することにより、雄側コンタクトと雌側コンタクトとを互いに接触させて導通するようにした電気接触子において、
    前記雄側コンタクトの長手方向所定位置に雄側コンタクトの長手方向に直交する方向に変形可能に設けられ、雌側コンタクトとの接触位置が互いに雄側コンタクトの長手方向同一位置になるように配列された複数の雄側接点部と、
    雌側コンタクトに雄側コンタクトの長手方向に直交する方向に弾性変形可能に設けられ、各雄側接点部の配列方向に延びる雌側接点部とを備え、
    雄側コンタクトを雌側コンタクトに挿入すると、各雄側接点部が雌側接点部に押圧されて雄側コンタクトの長手方向に直交する方向に変位するように構成した
    ことを特徴とする電気接触子。
  2. 前記雄側コンタクトを中空状に形成し、
    雄側コンタクト内に各雄側接点部の変位を許容可能な凹部を有する内側部材を設けた
    ことを特徴とする請求項1記載の電気接触子。
  3. 前記雄側コンタクトを板状に形成し、
    雌側コンタクトには雌側接点部が雄側コンタクトの幅方向に延びるように形成された一対の弾性片部を雄側コンタクトの厚さ方向に弾性変形可能に設けた
    ことを特徴とする請求項1または2記載の電気接触子。
  4. 前記雄側コンタクトを円柱状に形成し、
    雌側コンタクトには雌側接点部が雄側コンタクトの周方向に延びるように形成された円筒状の弾性片部を径方向に弾性変形可能に設けた
    ことを特徴とする請求項1または2記載の電気接触子。
  5. 前記雄側コンタクト及び雌側コンタクトの一方を、接点部が設けられた一端側が他端側に対して所定方向に変位可能に形成した
    ことを特徴とする請求項1、2、3または4記載の電気接触子。
  6. 前記雄側コンタクト及び雌側コンタクトの一方を、接点部が設けられた一端側と他端側との間に互いに並列に設けた複数の弾性部によって一端側が他端側に対して変位するように形成した
    ことを特徴とする請求項5記載の電気接触子。
  7. 請求項1、2、3、4、5または6記載の電気接触子を備えた
    ことを特徴とするコネクタ。
JP2008218019A 2008-08-27 2008-08-27 電気接触子及びこれを用いたコネクタ Expired - Fee Related JP5185022B2 (ja)

Priority Applications (4)

Application Number Priority Date Filing Date Title
JP2008218019A JP5185022B2 (ja) 2008-08-27 2008-08-27 電気接触子及びこれを用いたコネクタ
US13/061,276 US20120164893A1 (en) 2008-08-27 2009-07-06 Electric contact and connector using the same
PCT/JP2009/062307 WO2010024043A1 (ja) 2008-08-27 2009-07-06 電気接触子及びこれを用いたコネクタ
EP09809698.5A EP2320525A4 (en) 2008-08-27 2009-07-06 ELECTRICAL CONTACT AND CONNECTOR USING THE SAME

Applications Claiming Priority (1)

Application Number Priority Date Filing Date Title
JP2008218019A JP5185022B2 (ja) 2008-08-27 2008-08-27 電気接触子及びこれを用いたコネクタ

Publications (2)

Publication Number Publication Date
JP2010055868A true JP2010055868A (ja) 2010-03-11
JP5185022B2 JP5185022B2 (ja) 2013-04-17

Family

ID=41721217

Family Applications (1)

Application Number Title Priority Date Filing Date
JP2008218019A Expired - Fee Related JP5185022B2 (ja) 2008-08-27 2008-08-27 電気接触子及びこれを用いたコネクタ

Country Status (4)

Country Link
US (1) US20120164893A1 (ja)
EP (1) EP2320525A4 (ja)
JP (1) JP5185022B2 (ja)
WO (1) WO2010024043A1 (ja)

Cited By (7)

* Cited by examiner, † Cited by third party
Publication number Priority date Publication date Assignee Title
JP2014086253A (ja) * 2012-10-23 2014-05-12 Denso Corp 電力供給モジュール
JP2015133204A (ja) * 2014-01-10 2015-07-23 イリソ電子工業株式会社 コネクタ
JP2018092760A (ja) * 2016-12-01 2018-06-14 株式会社フジクラ 電気コネクタ
WO2018225383A1 (ja) * 2017-06-06 2018-12-13 第一精工株式会社 プレスフィット端子及びその製造方法
JP2020129435A (ja) * 2019-02-07 2020-08-27 第一精工株式会社 雌型コンタクト
JP2021034275A (ja) * 2019-08-27 2021-03-01 日本圧着端子製造株式会社 リセプタクル端子及び基板コネクタ
WO2025187693A1 (ja) * 2024-03-05 2025-09-12 I-Pex株式会社 コンタクト

Families Citing this family (25)

* Cited by examiner, † Cited by third party
Publication number Priority date Publication date Assignee Title
US11219511B2 (en) 2005-10-24 2022-01-11 Biomet 3I, Llc Methods for placing an implant analog in a physical model of the patient's mouth
US8257083B2 (en) 2005-10-24 2012-09-04 Biomet 3I, Llc Methods for placing an implant analog in a physical model of the patient's mouth
US8777612B2 (en) 2007-11-16 2014-07-15 Biomet 3I, Llc Components for use with a surgical guide for dental implant placement
US8651858B2 (en) 2008-04-15 2014-02-18 Biomet 3I, Llc Method of creating an accurate bone and soft-tissue digital dental model
ES2559402T3 (es) 2008-04-16 2016-02-12 Biomet 3I, Llc Método para la visualización pre-operatoria de instrumentación utilizada con una guía quirúrgica para la colocación de implantes dentales
JP5668983B2 (ja) * 2011-04-05 2015-02-12 株式会社オートネットワーク技術研究所 コネクタ
US8944818B2 (en) 2011-05-16 2015-02-03 Biomet 3I, Llc Temporary abutment with combination of scanning features and provisionalization features
US8951051B2 (en) * 2011-10-10 2015-02-10 Lear Corporation Connector having optimized tip
US9089382B2 (en) 2012-01-23 2015-07-28 Biomet 3I, Llc Method and apparatus for recording spatial gingival soft tissue relationship to implant placement within alveolar bone for immediate-implant placement
US9452032B2 (en) 2012-01-23 2016-09-27 Biomet 3I, Llc Soft tissue preservation temporary (shell) immediate-implant abutment with biological active surface
US10813729B2 (en) 2012-09-14 2020-10-27 Biomet 3I, Llc Temporary dental prosthesis for use in developing final dental prosthesis
US8926328B2 (en) 2012-12-27 2015-01-06 Biomet 3I, Llc Jigs for placing dental implant analogs in models and methods of doing the same
DE102013102022A1 (de) * 2013-02-28 2014-08-28 Phoenix Contact Gmbh & Co. Kg Steckverbinder
EP3998040B1 (en) 2013-12-20 2025-09-03 Biomet 3i, LLC Dental method for developing custom prostheses through scanning of coded members
JP5747102B1 (ja) * 2014-04-18 2015-07-08 日本航空電子工業株式会社 雌型コンタクト及び電源用コネクタ
WO2015199071A1 (ja) * 2014-06-23 2015-12-30 イリソ電子工業株式会社 コネクタの接続構造及びコネクタ
US9700390B2 (en) 2014-08-22 2017-07-11 Biomet 3I, Llc Soft-tissue preservation arrangement and method
JP1537723S (ja) * 2015-02-23 2015-11-16
US10449018B2 (en) 2015-03-09 2019-10-22 Stephen J. Chu Gingival ovate pontic and methods of using the same
DE102016221351A1 (de) * 2016-10-28 2018-05-03 Te Connectivity Germany Gmbh Flachkontaktbuchse mit Ausleger
EP3754792A1 (de) * 2019-06-17 2020-12-23 Lisa Dräxlmaier GmbH Steckverbindungssystem
EP4343976A4 (en) * 2021-05-17 2024-11-06 Panasonic Intellectual Property Management Co., Ltd. ELECTRIC ENERGY CONVERSION DEVICE, AND BOARD-TO-BOARD CONNECTION PART
DE102022118358A1 (de) * 2022-07-22 2024-01-25 HARTING Electronics GmbH Steckverbinder mit Transportsicherung für Gegenkontaktelemente
CN119833982A (zh) * 2023-10-13 2025-04-15 泰科电子(上海)有限公司 连接器端子、连接器和连接器端子制造方法
DE102024203444A1 (de) 2024-04-15 2025-10-16 Robert Bosch Gesellschaft mit beschränkter Haftung Hochstrom Steckverbinder

Citations (6)

* Cited by examiner, † Cited by third party
Publication number Priority date Publication date Assignee Title
JPH01276524A (ja) * 1988-04-27 1989-11-07 Nippon Telegr & Teleph Corp <Ntt> ピンボードマトリクス及びピンボードマトリクス用接続ピン及びマトリクスボードの製造方法
JPH02216773A (ja) * 1989-02-16 1990-08-29 Nec Corp 電気接続用コネクタ
JPH05205813A (ja) * 1990-12-18 1993-08-13 Radiall Sa 同軸電気コネクタ
JPH08298048A (ja) * 1995-04-27 1996-11-12 Oki Electric Ind Co Ltd 接続ピン
JPH099420A (ja) * 1995-06-15 1997-01-10 Matsushita Electric Works Ltd 電気機器の接続取付構造
JP2001091537A (ja) * 1999-09-24 2001-04-06 Isao Kimoto 接触子及びこれを用いた接触子組立体

Family Cites Families (6)

* Cited by examiner, † Cited by third party
Publication number Priority date Publication date Assignee Title
US2260365A (en) * 1938-03-18 1941-10-28 Hatfield Wire & Cable Co Electrical plug connector
US3048812A (en) * 1959-07-16 1962-08-07 Burroughs Corp Electrical connector
DE3608276A1 (de) * 1986-03-12 1987-09-17 Dunkel Otto Gmbh Kontaktelement in form einer kontaktfederbuchse bzw. eines gefederten steckerstiftes und verfahren zu dessen herstellung
NL9200118A (nl) * 1992-01-22 1993-08-16 Du Pont Nederland Elektrische connector met stekercontactelementen van plaatmateriaal.
TWI306010B (en) * 2006-03-22 2009-02-01 Lite On Technology Corp Method for contacting flexible printed circuit with another flexible circuitry component and related circuitry assembly
JP4678886B2 (ja) * 2008-12-12 2011-04-27 日本航空電子工業株式会社 電気接続部材

Patent Citations (6)

* Cited by examiner, † Cited by third party
Publication number Priority date Publication date Assignee Title
JPH01276524A (ja) * 1988-04-27 1989-11-07 Nippon Telegr & Teleph Corp <Ntt> ピンボードマトリクス及びピンボードマトリクス用接続ピン及びマトリクスボードの製造方法
JPH02216773A (ja) * 1989-02-16 1990-08-29 Nec Corp 電気接続用コネクタ
JPH05205813A (ja) * 1990-12-18 1993-08-13 Radiall Sa 同軸電気コネクタ
JPH08298048A (ja) * 1995-04-27 1996-11-12 Oki Electric Ind Co Ltd 接続ピン
JPH099420A (ja) * 1995-06-15 1997-01-10 Matsushita Electric Works Ltd 電気機器の接続取付構造
JP2001091537A (ja) * 1999-09-24 2001-04-06 Isao Kimoto 接触子及びこれを用いた接触子組立体

Cited By (10)

* Cited by examiner, † Cited by third party
Publication number Priority date Publication date Assignee Title
JP2014086253A (ja) * 2012-10-23 2014-05-12 Denso Corp 電力供給モジュール
JP2015133204A (ja) * 2014-01-10 2015-07-23 イリソ電子工業株式会社 コネクタ
JP2018092760A (ja) * 2016-12-01 2018-06-14 株式会社フジクラ 電気コネクタ
WO2018225383A1 (ja) * 2017-06-06 2018-12-13 第一精工株式会社 プレスフィット端子及びその製造方法
US11146001B2 (en) 2017-06-06 2021-10-12 Dai-Ichi Seiko Co., Ltd. Press-fit terminal and method for manufacturing press-fit terminal
JP2020129435A (ja) * 2019-02-07 2020-08-27 第一精工株式会社 雌型コンタクト
JP7247621B2 (ja) 2019-02-07 2023-03-29 I-Pex株式会社 雌型コンタクト
JP2021034275A (ja) * 2019-08-27 2021-03-01 日本圧着端子製造株式会社 リセプタクル端子及び基板コネクタ
JP7289452B2 (ja) 2019-08-27 2023-06-12 日本圧着端子製造株式会社 リセプタクル端子及び基板コネクタ
WO2025187693A1 (ja) * 2024-03-05 2025-09-12 I-Pex株式会社 コンタクト

Also Published As

Publication number Publication date
EP2320525A4 (en) 2014-09-17
US20120164893A1 (en) 2012-06-28
WO2010024043A1 (ja) 2010-03-04
JP5185022B2 (ja) 2013-04-17
EP2320525A1 (en) 2011-05-11

Similar Documents

Publication Publication Date Title
JP5185022B2 (ja) 電気接触子及びこれを用いたコネクタ
US9455516B2 (en) Contact socket for an electrical plug connector
US9601854B2 (en) Female terminal
US6592404B2 (en) Half fit preventive connector
US9748685B2 (en) Multi-contact terminal
CN103907243B (zh) 导电端子
KR101867131B1 (ko) 제로-전기력 플러그 타입 커넥터용 슬리브 컨택트
JP5831611B1 (ja) コネクタ端子の接続構造
US9306301B2 (en) Wire-to-board connector
WO2016005873A1 (en) Female terminal and electrical connector
US20130323955A1 (en) Connector terminal and card edge type connector including this connector terminal
JP2012099276A (ja) コンタクト及びコネクタ
JP5110271B2 (ja) コネクタ装置
TWI715199B (zh) 連接器及端子
JP2015204186A (ja) 端子
JP2006269272A (ja) コネクタ
JP5388350B2 (ja) 電気接続用端子及びこれを用いたコネクタ
CN107104303B (zh) 电联接端子结构
JP2016219097A (ja) 接点接続構造
JP2008276993A (ja) コネクタ
JP6203665B2 (ja) 一方にシャッターを備えた一対の電気コネクタ
JP5665533B2 (ja) コネクタ組立体
JP2016046131A (ja) コネクタ
JP2006100235A (ja) コネクタ
JP2017204352A (ja) コネクタ

Legal Events

Date Code Title Description
A621 Written request for application examination

Free format text: JAPANESE INTERMEDIATE CODE: A621

Effective date: 20110817

A131 Notification of reasons for refusal

Free format text: JAPANESE INTERMEDIATE CODE: A131

Effective date: 20120926

A521 Request for written amendment filed

Free format text: JAPANESE INTERMEDIATE CODE: A523

Effective date: 20121126

TRDD Decision of grant or rejection written
A01 Written decision to grant a patent or to grant a registration (utility model)

Free format text: JAPANESE INTERMEDIATE CODE: A01

Effective date: 20121219

A61 First payment of annual fees (during grant procedure)

Free format text: JAPANESE INTERMEDIATE CODE: A61

Effective date: 20130117

R150 Certificate of patent or registration of utility model

Ref document number: 5185022

Country of ref document: JP

Free format text: JAPANESE INTERMEDIATE CODE: R150

Free format text: JAPANESE INTERMEDIATE CODE: R150

FPAY Renewal fee payment (event date is renewal date of database)

Free format text: PAYMENT UNTIL: 20160125

Year of fee payment: 3

R250 Receipt of annual fees

Free format text: JAPANESE INTERMEDIATE CODE: R250

R250 Receipt of annual fees

Free format text: JAPANESE INTERMEDIATE CODE: R250

R250 Receipt of annual fees

Free format text: JAPANESE INTERMEDIATE CODE: R250

R250 Receipt of annual fees

Free format text: JAPANESE INTERMEDIATE CODE: R250

R250 Receipt of annual fees

Free format text: JAPANESE INTERMEDIATE CODE: R250

R250 Receipt of annual fees

Free format text: JAPANESE INTERMEDIATE CODE: R250

LAPS Cancellation because of no payment of annual fees