JP2010055866A - コネクタ装置及びそれの製造方法 - Google Patents

コネクタ装置及びそれの製造方法 Download PDF

Info

Publication number
JP2010055866A
JP2010055866A JP2008217868A JP2008217868A JP2010055866A JP 2010055866 A JP2010055866 A JP 2010055866A JP 2008217868 A JP2008217868 A JP 2008217868A JP 2008217868 A JP2008217868 A JP 2008217868A JP 2010055866 A JP2010055866 A JP 2010055866A
Authority
JP
Japan
Prior art keywords
case
sealing material
cover
case body
opening
Prior art date
Legal status (The legal status is an assumption and is not a legal conclusion. Google has not performed a legal analysis and makes no representation as to the accuracy of the status listed.)
Granted
Application number
JP2008217868A
Other languages
English (en)
Other versions
JP4937976B2 (ja
Inventor
Akinori Kimura
明紀 木村
Toshiaki Ariyoshi
敏明 有吉
Kimiharu Mizusaki
君春 水崎
Current Assignee (The listed assignees may be inaccurate. Google has not performed a legal analysis and makes no representation or warranty as to the accuracy of the list.)
Honda Motor Co Ltd
Japan Aviation Electronics Industry Ltd
Original Assignee
Honda Motor Co Ltd
Japan Aviation Electronics Industry Ltd
Priority date (The priority date is an assumption and is not a legal conclusion. Google has not performed a legal analysis and makes no representation as to the accuracy of the date listed.)
Filing date
Publication date
Application filed by Honda Motor Co Ltd, Japan Aviation Electronics Industry Ltd filed Critical Honda Motor Co Ltd
Priority to JP2008217868A priority Critical patent/JP4937976B2/ja
Publication of JP2010055866A publication Critical patent/JP2010055866A/ja
Application granted granted Critical
Publication of JP4937976B2 publication Critical patent/JP4937976B2/ja
Expired - Fee Related legal-status Critical Current
Anticipated expiration legal-status Critical

Links

Images

Landscapes

  • Manufacturing Of Electrical Connectors (AREA)
  • Connections Arranged To Contact A Plurality Of Conductors (AREA)
  • Connector Housings Or Holding Contact Members (AREA)

Abstract

【課題】構造が簡単で製造が容易なコネクタ装置を提供すること。
【解決手段】ケース1の内部に配置された内部部品2からケーブル3がケースの外部に延出している。ケースの内部には、シール材4が充填されて固化されている。ケースは、多面体形状のケース本体5とカバー8とを有している。ケース本体5は、内部部品が通過可能な開口部6とシール材を注入可能な注入口7とを互いに異なる面に有する。カバー8はケース本体の開口部を覆っている。カバーは固化したシール材によりケース本体に固着されている。ケーブルは、注入口を有する面から引き出されている。
【選択図】図1

Description

本発明は、ケースの内部でシール材により封止された内部部品とその内部部品からケースの外部に延出した延出部品とを含む防水コネクタのような装置(ここでは、これを「コネクタ装置」と呼ぶ)、及びそれの製造方法に関する。
例えば特許文献1には、樹脂充填形電子回路装置が開示されている。その樹脂充填形電子回路装置は、多面体形状のケースと、ケースの内部に配置された回路基板と、回路基板に接続されかつケースの外部に突出したコネクタと、ケースの内部に充填され硬化した樹脂とを含んでいる。コネクタは、ケースの側壁に形成した嵌合部に嵌合した状態でケースに保持されている。樹脂は、ケースの上面に形成した大きな開口を通してケースの内部に充填される。即ち、コネクタは、ケースの樹脂を充填するための開口とは異なる面から引き出されている。
特開平6−176809号公報
特許文献1においては、ケースの内部に充填された樹脂が、硬化の前に、ケースの側壁の嵌合部とコネクタとの隙間から漏出することが懸念される。そのため、ケースの側壁の嵌合部とコネクタとの隙間を塞ぐシール構造が必要となる。シール構造としては、例えばその隙間にシーリング剤やオーリングなどを備えることが考えられる。
しかし、それらのシール構造は全体構造を複雑化させるため、製造工程も複雑になり、望ましくない。
それ故に本発明の課題は、構造が簡単で製造が容易なコネクタ装置、及びそれの製造方法を提供することにある。
本発明の一態様によれば、ケース、前記ケースの内部に配置された内部部品、前記内部部品から前記ケースの外部に延出した延出部品、及び前記ケースの内部に充填されて固化したシール材を含み、前記ケースは、前記内部部品が通過可能な開口部と前記シール材を注入可能な注入口とを互いに異なる面に有する多面体形状のケース本体、及び前記開口部を覆ったカバーを含み、前記カバーは前記固化したシール材により前記ケース本体に固着されており、前記延出部品は、前記注入口を有する面から引き出されていることを特徴とするコネクタ装置が得られる。
前記カバーは、前記シール材に対向した凹凸部を有していてもよい。
前記延出部品は前記注入口を通して引き出されていてもよい。
前記ケース本体は、前記注入口を有する面にさらに引出口を有し、前記延出部品は前記引出口を通して引き出されていてもよい。
本発明の他の態様によれば、ケース、前記ケースの内部に配置された内部部品、前記内部部品から前記ケースの外部に延出した延出部品、及び前記ケースの内部に充填されて固化したシール材を含むコネクタ装置を製造する方法であって、前記内部部品が通過可能な開口部と前記シール材を注入可能な注入口とを互いに異なる面に有する多面体形状のケース本体を用意する準備工程、前記開口部を通して前記内部部品を前記ケース本体内に配置する部品配置工程、前記部品配置工程の後に、前記開口部を覆うように前記ケース本体にカバーを当てて治具で押さえて密着させる閉口工程、前記閉口工程の後に、前記注入口を通して前記シール材を前記ケース本体内に注入する注入工程、及び前記ケース本体内に注入されたシール材を硬化させ、前記カバーを前記ケース本体に固着させて前記ケースを形成する硬化工程を含むことを特徴とする製造方法が得られる。
前記治具は加熱装置を有するものであり、前記加熱装置により前記硬化工程を実行してもよい。
本発明のコネクタ装置は、構造が簡単で製造が容易であるという利点がある。
図1〜図4を参照して、本発明の第1の実施の形態に係るコネクタ装置についてその製造方法とともに説明する。
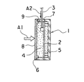
概略構成を示す図1を参照すると、コネクタ装置は、ユニットケース(以下、単に「ケース」という)1、そのケース1の内部に配置された回路基板などの内部部品2、その内部部品2からケース1の外部に延出した延出部品としてのケーブル3、及びケース1の内部に充填されて固化したシール材4を含んでいる。シール材4としては、例えばポッティング剤などと呼ばれる通常は液体状又はゲル状を呈するシリコン系の熱硬化性の樹脂を用いることができる。
具体的構成を示す図2及び図3をも参照すると、ケース1は、多面体形状即ち六面体形状のケース本体5を含んでいる。ケース本体5は、内部部品2が通過可能な比較的大きい開口部6と、未硬化のシール材4を注入可能な比較的小さい注入口7とを互いに隣接した異なる面に有している。即ち、開口部6はケース本体5の一側面に形成され、注入口7はケース本体5の上面に形成されている。ただし、図2及び図3に示した構成では、開口部6及び注入口7は互いに繋がっている。
ケース1は、さらに、ケース本体5の開口部6を覆ったカバー8を含んでいる。カバー8は、固化したシール材4によりケース本体5に固着されている。
ケーブル3は、ケース本体5の注入口7を有する面から引き出されている。具体的には、ケース本体5の注入口7を通してケーブル3がケース1の外部に引き出されている。
上述したコネクタ装置は次に説明する複数の工程を含む製造方法によって製造することができる。
まず準備工程において、開口部6と注入口7とを互いに異なる面に有する六面体形状のケース本体5を用意する。次に部品配置工程において、開口部6を通して内部部品2をケース本体5内に配置すると共に、ケーブル3を注入口7に挿入する。部品配置工程の後に、開口部6を覆うようにケース本体5にカバー8を当てて仮装着し、さらに治具(ここでは図示せず)によって、図1に白抜き矢印A1で示すようにカバー8を押してケース本体5に密着させて保持する。こうして閉口工程を実行する。このように治具でカバー8をケース本体5に押圧させる場合には、カバー8として平坦な板材を使用して、部品の単純化を図ることができる。
ケース本体5とカバー8との段差の無い平面同士の面圧により一時的なシール面9が発生する。この面圧によるシール面9が未硬化のシール材の流出を防ぐため、ケース本体5には自由な方向に向けて注入口7を設計することが可能である。また、組み立て時に治具による押し付けの保持だけでケース本体5とカバー8とを固定するため、各々の部品にお互いの保持構造を持たせる必要がなく、簡単な構造にすることができる。
閉口工程の後に、図1に矢印A2で示すように注入口7を通して未硬化のシール材4をケース本体5内に注入する注入工程を実行する。ケーブル3がケース本体5の注入口7を通して引き出された構造であるため、ケース1の内部の防水が容易に可能である。
最後に、ケース本体5内に注入されたシール材4を硬化させる硬化工程を経ると、カバー8がケース本体5に固着され、両者によりケース1を形成する。なお、治具に加熱装置を設け、その加熱装置により硬化工程を実行するようにしてもよい。
図4に示すように、カバー8の少なくともシール材4に対向する面、即ち、内面に格子状の凹凸部11を設け、カバー8が固化したシール材4によりケース本体5に強固に固着されるように構成することは好ましい。この場合、シール材4が硬化すると、凹凸部11によりカバー8はシール材4を介してケース本体5に強固に接着され一体化されるため、カバー8とケース本体5との境界面は防水状態で保持される。なお、凹凸部11の形状や寸法には様々な変形が可能であることは勿論である。
また、図5に示すように、ケース本体5の注入口7を形成した面にさらに引出口12を設け、ケーブル3を引出口12を通して引き出してもよい。このように、注入口7と引出口12を同一面に設計すれば、注入口7と引出口12とを共通化する必要は無い。また、注入口7から未硬化のシール材4を注入する際に、これに応じてケース1内の空気が引出口12から外部に排出されるので、シール材4の注入作業を円滑に行うことができる。
図6及び図7を参照して、本発明の第2の実施の形態に係るコネクタ装置について説明する。図2及び図3と同様な部分については同じ参照符号を付して説明を省略する。
図示のコネクタ装置においては、回路基板などの内部部品2からケース1の外部に延出した延出部品として、内部部品2に接続されたコネクタ13を用いている。また、開口部6はケース本体5の一側面に形成され、注入口7はケース本体5の上面に形成されているが、これらは互いに繋がっている。
内部部品2をケース本体5の内部に配置する際に、コネクタ13を注入口7に挿入する。さらに、カバー8を開口部6を塞ぐようにケース本体5に当接させる。この状態で、ケース本体5及びカバー8を図8及び図9に示すように治具14に装着する。具体的には、ケース本体5及びカバー8を治具14の受け部15とこれに対しスライド可能な押圧部16との間に挿入配置する。そして、図8に白抜き矢印A1で示すように押圧治具15でカバー8をケース本体5に向けて押圧しつつ、注入口7から未硬化のシール材を注入する。コネクタ13がケース本体5の注入口7を通して引き出された構造であるため、ケース1の内部の防水が容易に可能である。最後に、ケース本体5内に注入されたシール材4を硬化させる硬化工程を経ると、カバー8がケース本体5に固着され、両者によりケース1を形成する。なお、治具14に加熱装置を設け、その加熱装置により硬化工程を実行するようにしてもよい。
本発明の第1の実施の形態に係るコネクタ装置の概略構成を示す断面図である。 図1のコネクタ装置の具体的構成を示す斜視図である。 図2のコネクタ装置の組み立て途中の分解斜視図である。 図2のコネクタ装置に使用されたカバーの斜視図である。 図1のコネクタ装置の変形例の概略構成を示す断面図である。 本発明の第1の実施の形態に係るコネクタ装置の具体的構成を示す斜視図である。 図6のコネクタ装置の分解斜視図である。 図6のコネクタ装置の製造方法の一工程を示す斜視図である。 図8に示す一工程の正面図である。
符号の説明
1 ユニットケース(ケース)
2 内部部品
3 ケーブル
4 シール材
5 ケース本体
6 開口部
7 注入口
8 カバー
9 シール面
11 凹凸部
12 引出口
13 コネクタ
14 治具
15 受け部
16 押圧部

Claims (6)

  1. ケース、前記ケースの内部に配置された内部部品、前記内部部品から前記ケースの外部に延出した延出部品、及び前記ケースの内部に充填されて固化したシール材を含み、前記ケースは、前記内部部品が通過可能な開口部と前記シール材を注入可能な注入口とを互いに異なる面に有する多面体形状のケース本体、及び前記開口部を覆ったカバーを含み、前記カバーは前記固化したシール材により前記ケース本体に固着されており、前記延出部品は、前記注入口を有する面から引き出されていることを特徴とするコネクタ装置。
  2. 前記カバーは、前記シール材に対向した凹凸部を有している、請求項1に記載のコネクタ装置。
  3. 前記延出部品は前記注入口を通して引き出されている、請求項1又は2に記載のコネクタ装置。
  4. 前記ケース本体は、前記注入口を有する面にさらに引出口を有し、前記延出部品は前記引出口を通して引き出されている、請求項1又は2に記載のコネクタ装置。
  5. ケース、前記ケースの内部に配置された内部部品、前記内部部品から前記ケースの外部に延出した延出部品、及び前記ケースの内部に充填されて固化したシール材を含むコネクタ装置を製造する方法であって、
    前記内部部品が通過可能な開口部と前記シール材を注入可能な注入口とを互いに異なる面に有する多面体形状のケース本体を用意する準備工程、
    前記開口部を通して前記内部部品を前記ケース本体内に配置する部品配置工程、
    前記部品配置工程の後に、前記開口部を覆うように前記ケース本体にカバーを当てて治具で押さえて密着させる閉口工程、
    前記閉口工程の後に、前記注入口を通して前記シール材を前記ケース本体内に注入する注入工程、及び
    前記ケース本体内に注入されたシール材を硬化させ、前記カバーを前記ケース本体に固着させて前記ケースを形成する硬化工程
    を含むことを特徴とする製造方法。
  6. 前記治具は加熱装置を有するものであり、前記加熱装置により前記硬化工程を実行する、請求項5に記載の製造方法。
JP2008217868A 2008-08-27 2008-08-27 コネクタ装置の製造方法 Expired - Fee Related JP4937976B2 (ja)

Priority Applications (1)

Application Number Priority Date Filing Date Title
JP2008217868A JP4937976B2 (ja) 2008-08-27 2008-08-27 コネクタ装置の製造方法

Applications Claiming Priority (1)

Application Number Priority Date Filing Date Title
JP2008217868A JP4937976B2 (ja) 2008-08-27 2008-08-27 コネクタ装置の製造方法

Publications (2)

Publication Number Publication Date
JP2010055866A true JP2010055866A (ja) 2010-03-11
JP4937976B2 JP4937976B2 (ja) 2012-05-23

Family

ID=42071568

Family Applications (1)

Application Number Title Priority Date Filing Date
JP2008217868A Expired - Fee Related JP4937976B2 (ja) 2008-08-27 2008-08-27 コネクタ装置の製造方法

Country Status (1)

Country Link
JP (1) JP4937976B2 (ja)

Cited By (4)

* Cited by examiner, † Cited by third party
Publication number Priority date Publication date Assignee Title
WO2018074115A1 (ja) * 2016-10-17 2018-04-26 株式会社ケーヒン 電子制御装置
WO2019009147A1 (ja) * 2017-07-04 2019-01-10 株式会社オートネットワーク技術研究所 回路装置
WO2019009148A1 (ja) * 2017-07-04 2019-01-10 株式会社オートネットワーク技術研究所 回路装置
JP2023032908A (ja) * 2021-08-27 2023-03-09 Tdk株式会社 電子部品

Citations (11)

* Cited by examiner, † Cited by third party
Publication number Priority date Publication date Assignee Title
JPS5720153A (en) * 1980-07-08 1982-02-02 Toshiba Chem Corp Continuous coil impregnation of small-sized motor and core rust prevention
JPS5844777A (ja) * 1981-09-10 1983-03-15 Canon Inc フオトインタラブタ−
JPH01207993A (ja) * 1988-02-16 1989-08-21 Toyota Motor Corp 電子部品
JPH06326478A (ja) * 1993-05-14 1994-11-25 Yamaha Motor Co Ltd 電装ユニット
JPH07142629A (ja) * 1991-12-27 1995-06-02 Sanyo Electric Co Ltd 混成集積回路装置
JPH09182255A (ja) * 1995-12-25 1997-07-11 Taimu Giken Kk 電気配線用防水装置
JPH1092528A (ja) * 1996-09-11 1998-04-10 Sumitomo Wiring Syst Ltd 回路基板内蔵コネクタ
JPH11289168A (ja) * 1998-03-31 1999-10-19 Next:Kk 電気的装置のケースへの収納構造
JP2000101254A (ja) * 1998-09-25 2000-04-07 Fujitsu Ten Ltd 電子部品の密封構造
JP2005349895A (ja) * 2004-06-09 2005-12-22 Denso Corp 電気回路装置およびタイヤ空気圧監視装置
JP2008182119A (ja) * 2007-01-25 2008-08-07 Denso Corp ホットメルト防水構造

Patent Citations (11)

* Cited by examiner, † Cited by third party
Publication number Priority date Publication date Assignee Title
JPS5720153A (en) * 1980-07-08 1982-02-02 Toshiba Chem Corp Continuous coil impregnation of small-sized motor and core rust prevention
JPS5844777A (ja) * 1981-09-10 1983-03-15 Canon Inc フオトインタラブタ−
JPH01207993A (ja) * 1988-02-16 1989-08-21 Toyota Motor Corp 電子部品
JPH07142629A (ja) * 1991-12-27 1995-06-02 Sanyo Electric Co Ltd 混成集積回路装置
JPH06326478A (ja) * 1993-05-14 1994-11-25 Yamaha Motor Co Ltd 電装ユニット
JPH09182255A (ja) * 1995-12-25 1997-07-11 Taimu Giken Kk 電気配線用防水装置
JPH1092528A (ja) * 1996-09-11 1998-04-10 Sumitomo Wiring Syst Ltd 回路基板内蔵コネクタ
JPH11289168A (ja) * 1998-03-31 1999-10-19 Next:Kk 電気的装置のケースへの収納構造
JP2000101254A (ja) * 1998-09-25 2000-04-07 Fujitsu Ten Ltd 電子部品の密封構造
JP2005349895A (ja) * 2004-06-09 2005-12-22 Denso Corp 電気回路装置およびタイヤ空気圧監視装置
JP2008182119A (ja) * 2007-01-25 2008-08-07 Denso Corp ホットメルト防水構造

Cited By (9)

* Cited by examiner, † Cited by third party
Publication number Priority date Publication date Assignee Title
WO2018074115A1 (ja) * 2016-10-17 2018-04-26 株式会社ケーヒン 電子制御装置
JP2018067580A (ja) * 2016-10-17 2018-04-26 株式会社ケーヒン 電子制御装置
WO2019009147A1 (ja) * 2017-07-04 2019-01-10 株式会社オートネットワーク技術研究所 回路装置
WO2019009148A1 (ja) * 2017-07-04 2019-01-10 株式会社オートネットワーク技術研究所 回路装置
JP2019016453A (ja) * 2017-07-04 2019-01-31 株式会社オートネットワーク技術研究所 回路装置
US10931046B2 (en) 2017-07-04 2021-02-23 Autonetworks Technologies, Ltd. Circuit device
JP2023032908A (ja) * 2021-08-27 2023-03-09 Tdk株式会社 電子部品
JP7725294B2 (ja) 2021-08-27 2025-08-19 Tdk株式会社 電子部品
US12417880B2 (en) 2021-08-27 2025-09-16 Tdk Corporation Electronic device having first and second metal terminals

Also Published As

Publication number Publication date
JP4937976B2 (ja) 2012-05-23

Similar Documents

Publication Publication Date Title
US8688176B2 (en) Components with mechanically-bonded plastic and methods for forming such components
JP7053177B2 (ja) 電子制御装置及び同製造方法
US9573800B2 (en) Pre-molded MEMS device package having conductive column coupled to leadframe and cover
JP2005080370A (ja) 回路構成体及び防水処理された回路構成体の製造方法
JP6382557B2 (ja) リアクトルおよびその製造方法
JP4937976B2 (ja) コネクタ装置の製造方法
CN104125736A (zh) 利用防水型外壳密封的车辆的电子控制装置及其制造方法
CN102377069B (zh) 防水型电连接器、防水型电连接器的组装方法
CN105189078A (zh) 密封件成型系统及方法
CN104428954A (zh) 插入式连接器、控制设备和用于制造控制设备的方法
CN109997420B (zh) 电构件组
JP6420563B2 (ja) リアクトル
US20160312756A1 (en) Electronics module for an ignition unit
CN105592641B (zh) 利用灌封层的车辆的电子控制装置及其制造方法
JP5028441B2 (ja) 電子制御装置
JP2008053472A (ja) 3次元シール構造、3次元シール方法
CN203481425U (zh) 防爆型电子设备
US20110048795A1 (en) Electronic Package and Process
JP6638631B2 (ja) 車両用制御装置、およびその製造方法
CN107078487A (zh) 具有至少一个开口的构件
JP6324528B2 (ja) 防水型制御ユニットの製造方法
JP2007311706A (ja) 回路基板の密封方法及び回路基板装置
KR102281081B1 (ko) 코킹에 의한 딥드로잉 소켓 커넥터의 제조방법
JP2012004213A (ja) 防水部材付きフレキシブル回路基板
JP2014239103A (ja) 電子制御装置および電子制御ユニット並びに電子制御装置の製造方法

Legal Events

Date Code Title Description
A977 Report on retrieval

Free format text: JAPANESE INTERMEDIATE CODE: A971007

Effective date: 20110314

A131 Notification of reasons for refusal

Free format text: JAPANESE INTERMEDIATE CODE: A131

Effective date: 20110323

A521 Request for written amendment filed

Free format text: JAPANESE INTERMEDIATE CODE: A523

Effective date: 20110516

A02 Decision of refusal

Free format text: JAPANESE INTERMEDIATE CODE: A02

Effective date: 20111109

A521 Request for written amendment filed

Free format text: JAPANESE INTERMEDIATE CODE: A523

Effective date: 20111216

A521 Request for written amendment filed

Free format text: JAPANESE INTERMEDIATE CODE: A523

Effective date: 20111227

A911 Transfer to examiner for re-examination before appeal (zenchi)

Free format text: JAPANESE INTERMEDIATE CODE: A911

Effective date: 20120130

TRDD Decision of grant or rejection written
A01 Written decision to grant a patent or to grant a registration (utility model)

Free format text: JAPANESE INTERMEDIATE CODE: A01

Effective date: 20120215

A01 Written decision to grant a patent or to grant a registration (utility model)

Free format text: JAPANESE INTERMEDIATE CODE: A01

A61 First payment of annual fees (during grant procedure)

Free format text: JAPANESE INTERMEDIATE CODE: A61

Effective date: 20120222

FPAY Renewal fee payment (event date is renewal date of database)

Free format text: PAYMENT UNTIL: 20150302

Year of fee payment: 3

R150 Certificate of patent or registration of utility model

Ref document number: 4937976

Country of ref document: JP

Free format text: JAPANESE INTERMEDIATE CODE: R150

Free format text: JAPANESE INTERMEDIATE CODE: R150

R250 Receipt of annual fees

Free format text: JAPANESE INTERMEDIATE CODE: R250

R250 Receipt of annual fees

Free format text: JAPANESE INTERMEDIATE CODE: R250

R250 Receipt of annual fees

Free format text: JAPANESE INTERMEDIATE CODE: R250

R250 Receipt of annual fees

Free format text: JAPANESE INTERMEDIATE CODE: R250

R250 Receipt of annual fees

Free format text: JAPANESE INTERMEDIATE CODE: R250

R250 Receipt of annual fees

Free format text: JAPANESE INTERMEDIATE CODE: R250

R250 Receipt of annual fees

Free format text: JAPANESE INTERMEDIATE CODE: R250

R250 Receipt of annual fees

Free format text: JAPANESE INTERMEDIATE CODE: R250

LAPS Cancellation because of no payment of annual fees