JP2010054546A - 現像装置及び画像形成装置 - Google Patents
現像装置及び画像形成装置 Download PDFInfo
- Publication number
- JP2010054546A JP2010054546A JP2008216239A JP2008216239A JP2010054546A JP 2010054546 A JP2010054546 A JP 2010054546A JP 2008216239 A JP2008216239 A JP 2008216239A JP 2008216239 A JP2008216239 A JP 2008216239A JP 2010054546 A JP2010054546 A JP 2010054546A
- Authority
- JP
- Japan
- Prior art keywords
- bearing
- developing roller
- grease
- developing device
- shaft
- Prior art date
- Legal status (The legal status is an assumption and is not a legal conclusion. Google has not performed a legal analysis and makes no representation as to the accuracy of the status listed.)
- Granted
Links
- 239000004519 grease Substances 0.000 claims abstract description 51
- 230000003746 surface roughness Effects 0.000 claims abstract description 24
- 229910052782 aluminium Inorganic materials 0.000 claims description 11
- XAGFODPZIPBFFR-UHFFFAOYSA-N aluminium Chemical compound [Al] XAGFODPZIPBFFR-UHFFFAOYSA-N 0.000 claims description 11
- 230000032258 transport Effects 0.000 claims description 3
- 238000012546 transfer Methods 0.000 description 21
- 230000002093 peripheral effect Effects 0.000 description 17
- 238000011156 evaluation Methods 0.000 description 9
- 238000012545 processing Methods 0.000 description 9
- 230000002950 deficient Effects 0.000 description 8
- 238000004519 manufacturing process Methods 0.000 description 8
- 239000007787 solid Substances 0.000 description 5
- XEEYBQQBJWHFJM-UHFFFAOYSA-N Iron Chemical compound [Fe] XEEYBQQBJWHFJM-UHFFFAOYSA-N 0.000 description 4
- 238000005259 measurement Methods 0.000 description 4
- 239000011347 resin Substances 0.000 description 4
- 229920005989 resin Polymers 0.000 description 4
- 238000005520 cutting process Methods 0.000 description 3
- 238000011161 development Methods 0.000 description 3
- 238000010586 diagram Methods 0.000 description 3
- 238000003825 pressing Methods 0.000 description 3
- 238000004140 cleaning Methods 0.000 description 2
- 230000008030 elimination Effects 0.000 description 2
- 238000003379 elimination reaction Methods 0.000 description 2
- 238000002474 experimental method Methods 0.000 description 2
- 229910052742 iron Inorganic materials 0.000 description 2
- 230000007774 longterm Effects 0.000 description 2
- 230000001105 regulatory effect Effects 0.000 description 2
- 230000003068 static effect Effects 0.000 description 2
- 238000012360 testing method Methods 0.000 description 2
- 239000003086 colorant Substances 0.000 description 1
- 238000012937 correction Methods 0.000 description 1
- 238000013461 design Methods 0.000 description 1
- 230000000694 effects Effects 0.000 description 1
- 239000012530 fluid Substances 0.000 description 1
- 238000010438 heat treatment Methods 0.000 description 1
- 229910052751 metal Inorganic materials 0.000 description 1
- 239000002184 metal Substances 0.000 description 1
- 238000000034 method Methods 0.000 description 1
- 238000006386 neutralization reaction Methods 0.000 description 1
- 238000007790 scraping Methods 0.000 description 1
Images
Classifications
-
- G—PHYSICS
- G03—PHOTOGRAPHY; CINEMATOGRAPHY; ANALOGOUS TECHNIQUES USING WAVES OTHER THAN OPTICAL WAVES; ELECTROGRAPHY; HOLOGRAPHY
- G03G—ELECTROGRAPHY; ELECTROPHOTOGRAPHY; MAGNETOGRAPHY
- G03G15/00—Apparatus for electrographic processes using a charge pattern
- G03G15/06—Apparatus for electrographic processes using a charge pattern for developing
- G03G15/08—Apparatus for electrographic processes using a charge pattern for developing using a solid developer, e.g. powder developer
- G03G15/0806—Apparatus for electrographic processes using a charge pattern for developing using a solid developer, e.g. powder developer on a donor element, e.g. belt, roller
- G03G15/0818—Apparatus for electrographic processes using a charge pattern for developing using a solid developer, e.g. powder developer on a donor element, e.g. belt, roller characterised by the structure of the donor member, e.g. surface properties
-
- G—PHYSICS
- G03—PHOTOGRAPHY; CINEMATOGRAPHY; ANALOGOUS TECHNIQUES USING WAVES OTHER THAN OPTICAL WAVES; ELECTROGRAPHY; HOLOGRAPHY
- G03G—ELECTROGRAPHY; ELECTROPHOTOGRAPHY; MAGNETOGRAPHY
- G03G2215/00—Apparatus for electrophotographic processes
- G03G2215/06—Developing structures, details
- G03G2215/0602—Developer
- G03G2215/0604—Developer solid type
- G03G2215/0614—Developer solid type one-component
-
- G—PHYSICS
- G03—PHOTOGRAPHY; CINEMATOGRAPHY; ANALOGOUS TECHNIQUES USING WAVES OTHER THAN OPTICAL WAVES; ELECTROGRAPHY; HOLOGRAPHY
- G03G—ELECTROGRAPHY; ELECTROPHOTOGRAPHY; MAGNETOGRAPHY
- G03G2221/00—Processes not provided for by group G03G2215/00, e.g. cleaning or residual charge elimination
- G03G2221/16—Mechanical means for facilitating the maintenance of the apparatus, e.g. modular arrangements and complete machine concepts
- G03G2221/163—Mechanical means for facilitating the maintenance of the apparatus, e.g. modular arrangements and complete machine concepts for the developer unit
Landscapes
- Physics & Mathematics (AREA)
- General Physics & Mathematics (AREA)
- Rolls And Other Rotary Bodies (AREA)
- Dry Development In Electrophotography (AREA)
- Sliding-Contact Bearings (AREA)
- Lubricants (AREA)
Abstract
【解決手段】現像装置は、非磁性1成分現像方式の画像形成装置に用いられる。現像ローラ78は、本体78a及び軸78bを有している。軸受け90は、グリスが溜まる溝が形成された接触面を有し、該接触面において軸78bと接触している。軸78bにおいて接触面と接触する部分の表面粗さRaは、0.2以上0.5以下であり、グリスの稠度は、265以上385以下(1/10mm・20℃)である。
【選択図】図3
Description
以下に、本発明の一実施形態に係る現像装置及び画像形成装置の構成について図面を参照しながら説明する。該画像形成装置は、非磁性・非接触・1成分カラー画像形成装置である。図1は、該画像形成装置1の全体構成を示した図である。図2は、現像装置7の断面構造図である。
以下に、現像ローラ78の構成について、図面を参照しながら説明する。図3は、現像ローラ78及び軸受け90の外観斜視図である。図4は、3種類の軸受け90a〜90cの外観斜視図である。
本願発明者は、本実施形態に係る現像装置7が奏する効果をより明確なものとするために、以下に説明する実験を行った。より詳細には、表1に示す仕様を有する23種類の現像装置7のサンプルを作製し、これらの現像装置7をコニカミノルタ社製のフルカラープリンタMagicolor2430にセットした。そして、耐久テストとして、カバレッジ5%チャート画像を連続通紙で4500枚印刷し、0枚印刷時、2000枚印刷時、4500枚印刷時において、現像ローラ78を回転させるために必要な駆動トルクを計測した。
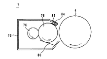
7Y,7M,7C,7K 現像装置
72 現像剤槽
76 供給ローラ
78 現像ローラ
78a 本体
78b 軸
80 規制ブレード
82 除電シート
84 押圧部材
90,90a,90b,90c 軸受け
92,94,96 溝
Claims (6)
- 非磁性1成分現像方式の画像形成装置に用いられる現像装置において、
回転軸を有する回転体と、
グリスが溜まる溝が形成された接触面を有し、該接触面において前記回転軸と接触している軸受けと、
を備え、
前記回転軸において前記接触面と接触する部分の表面粗さRaは、0.2以上0.5以下であり、
前記接触面と前記回転軸との間に塗布されているグリスの稠度は、265以上385以下(1/10mm・20℃)であること、
を特徴とする現像装置。 - 前記回転体は、現像ローラであること、
を特徴とする請求項1に記載の現像装置。 - 前記回転軸の外径は、前記現像ローラの現像剤を搬送する部分の外径の0.75倍以上1.0倍以下の大きさであること、
を特徴とする請求項2に記載の現像装置。 - 前記回転体は、アルミニウムにより構成されていること、
を特徴とする請求項1ないし請求項3のいずれかに記載の現像装置。 - 前記回転体は、中空のパイプにより構成されていること、
を特徴とする請求項1ないし請求項4のいずれかに記載の現像装置。 - 請求項1ないし請求項5のいずれかに記載の前記現像装置を備えること、
を特徴とする画像形成装置。
Priority Applications (2)
| Application Number | Priority Date | Filing Date | Title |
|---|---|---|---|
| JP2008216239A JP4609555B2 (ja) | 2008-08-26 | 2008-08-26 | 現像装置及び画像形成装置 |
| US12/541,210 US8213844B2 (en) | 2008-08-26 | 2009-08-14 | Developing device and image forming apparatus |
Applications Claiming Priority (1)
| Application Number | Priority Date | Filing Date | Title |
|---|---|---|---|
| JP2008216239A JP4609555B2 (ja) | 2008-08-26 | 2008-08-26 | 現像装置及び画像形成装置 |
Publications (2)
| Publication Number | Publication Date |
|---|---|
| JP2010054546A true JP2010054546A (ja) | 2010-03-11 |
| JP4609555B2 JP4609555B2 (ja) | 2011-01-12 |
Family
ID=41725667
Family Applications (1)
| Application Number | Title | Priority Date | Filing Date |
|---|---|---|---|
| JP2008216239A Expired - Fee Related JP4609555B2 (ja) | 2008-08-26 | 2008-08-26 | 現像装置及び画像形成装置 |
Country Status (2)
| Country | Link |
|---|---|
| US (1) | US8213844B2 (ja) |
| JP (1) | JP4609555B2 (ja) |
Cited By (1)
| Publication number | Priority date | Publication date | Assignee | Title |
|---|---|---|---|---|
| JP2016006154A (ja) * | 2014-05-29 | 2016-01-14 | 株式会社リコー | 駆動装置、画像形成装置及びグリース組成物 |
Families Citing this family (1)
| Publication number | Priority date | Publication date | Assignee | Title |
|---|---|---|---|---|
| KR101579738B1 (ko) * | 2010-12-23 | 2016-01-05 | 삼성전자주식회사 | 현상기 및 이를 채용한 화상형성장치 |
Citations (5)
| Publication number | Priority date | Publication date | Assignee | Title |
|---|---|---|---|---|
| JPH05142875A (ja) * | 1991-11-21 | 1993-06-11 | Ricoh Co Ltd | 軸と軸支持手段との摺動構造 |
| JPH10239999A (ja) * | 1997-02-27 | 1998-09-11 | Brother Ind Ltd | 現像装置 |
| JPH11174782A (ja) * | 1997-12-17 | 1999-07-02 | Fuji Xerox Co Ltd | 画像形成装置 |
| JPH11231643A (ja) * | 1998-02-18 | 1999-08-27 | Fuji Xerox Co Ltd | 現像装置 |
| JP2000047475A (ja) * | 1998-07-31 | 2000-02-18 | Canon Inc | 画像形成方法及び画像形成用トナー |
Family Cites Families (4)
| Publication number | Priority date | Publication date | Assignee | Title |
|---|---|---|---|---|
| JPS5492747A (en) * | 1977-12-29 | 1979-07-23 | Minolta Camera Co Ltd | Pressure fixing device of powder lmages |
| JPH07304233A (ja) * | 1994-05-16 | 1995-11-21 | Minolta Co Ltd | プリンタ装置 |
| JP3173560B2 (ja) | 1995-10-05 | 2001-06-04 | 日本ビクター株式会社 | モータ |
| JP2004338105A (ja) | 2003-05-13 | 2004-12-02 | Funai Electric Co Ltd | 記録装置 |
-
2008
- 2008-08-26 JP JP2008216239A patent/JP4609555B2/ja not_active Expired - Fee Related
-
2009
- 2009-08-14 US US12/541,210 patent/US8213844B2/en not_active Expired - Fee Related
Patent Citations (5)
| Publication number | Priority date | Publication date | Assignee | Title |
|---|---|---|---|---|
| JPH05142875A (ja) * | 1991-11-21 | 1993-06-11 | Ricoh Co Ltd | 軸と軸支持手段との摺動構造 |
| JPH10239999A (ja) * | 1997-02-27 | 1998-09-11 | Brother Ind Ltd | 現像装置 |
| JPH11174782A (ja) * | 1997-12-17 | 1999-07-02 | Fuji Xerox Co Ltd | 画像形成装置 |
| JPH11231643A (ja) * | 1998-02-18 | 1999-08-27 | Fuji Xerox Co Ltd | 現像装置 |
| JP2000047475A (ja) * | 1998-07-31 | 2000-02-18 | Canon Inc | 画像形成方法及び画像形成用トナー |
Cited By (1)
| Publication number | Priority date | Publication date | Assignee | Title |
|---|---|---|---|---|
| JP2016006154A (ja) * | 2014-05-29 | 2016-01-14 | 株式会社リコー | 駆動装置、画像形成装置及びグリース組成物 |
Also Published As
| Publication number | Publication date |
|---|---|
| US20100054822A1 (en) | 2010-03-04 |
| JP4609555B2 (ja) | 2011-01-12 |
| US8213844B2 (en) | 2012-07-03 |
Similar Documents
| Publication | Publication Date | Title |
|---|---|---|
| JP2010181702A (ja) | 潤滑剤塗布装置および画像形成装置 | |
| JP5366481B2 (ja) | 画像形成装置 | |
| US9128404B2 (en) | Image formation unit and image formation apparatus | |
| JP2017134437A (ja) | 現像装置 | |
| JP5665505B2 (ja) | プロセスカートリッジ及び画像形成装置 | |
| JP4609555B2 (ja) | 現像装置及び画像形成装置 | |
| US10558160B2 (en) | Cleaning device and image forming apparatus | |
| CN105404115A (zh) | 显影设备、处理盒和图像形成装置 | |
| JP5586162B2 (ja) | 無端状ベルト及びそれを備えた画像形成装置 | |
| JP2023004388A (ja) | 規制部材、現像装置、プロセスカートリッジ、および、画像形成装置 | |
| JP5206320B2 (ja) | 画像形成装置 | |
| JP2007003730A (ja) | 潤滑剤塗布装置及び画像形成装置 | |
| JP5522152B2 (ja) | 画像形成装置および画像形成装置の制御方法 | |
| JP4936539B2 (ja) | 画像形成装置 | |
| US9772583B2 (en) | Cleaning device and image forming apparatus | |
| JP5109733B2 (ja) | 画像形成装置 | |
| JP7166811B2 (ja) | 画像形成装置 | |
| JP2019191510A (ja) | 画像形成装置 | |
| JP2019128458A (ja) | 画像形成装置 | |
| JP2015222348A (ja) | 現像剤供給部材、現像装置、及び画像形成装置 | |
| JP5471762B2 (ja) | 転写装置及び画像形成装置 | |
| JP7302206B2 (ja) | 現像ローラおよびその製造方法、現像装置、プロセスカートリッジおよび画像形成装置 | |
| JP4477583B2 (ja) | 画像形成装置 | |
| JP4742708B2 (ja) | トナー供給ローラおよび現像装置 | |
| JP2006301440A (ja) | 画像形成装置及びプロセスカートリッジ |
Legal Events
| Date | Code | Title | Description |
|---|---|---|---|
| A977 | Report on retrieval |
Free format text: JAPANESE INTERMEDIATE CODE: A971007 Effective date: 20100514 |
|
| A131 | Notification of reasons for refusal |
Free format text: JAPANESE INTERMEDIATE CODE: A131 Effective date: 20100518 |
|
| A521 | Request for written amendment filed |
Free format text: JAPANESE INTERMEDIATE CODE: A523 Effective date: 20100716 |
|
| TRDD | Decision of grant or rejection written | ||
| A01 | Written decision to grant a patent or to grant a registration (utility model) |
Free format text: JAPANESE INTERMEDIATE CODE: A01 Effective date: 20100914 |
|
| A01 | Written decision to grant a patent or to grant a registration (utility model) |
Free format text: JAPANESE INTERMEDIATE CODE: A01 |
|
| A61 | First payment of annual fees (during grant procedure) |
Free format text: JAPANESE INTERMEDIATE CODE: A61 Effective date: 20100927 |
|
| FPAY | Renewal fee payment (event date is renewal date of database) |
Free format text: PAYMENT UNTIL: 20131022 Year of fee payment: 3 |
|
| R150 | Certificate of patent or registration of utility model |
Free format text: JAPANESE INTERMEDIATE CODE: R150 |
|
| S111 | Request for change of ownership or part of ownership |
Free format text: JAPANESE INTERMEDIATE CODE: R313111 |
|
| R350 | Written notification of registration of transfer |
Free format text: JAPANESE INTERMEDIATE CODE: R350 |
|
| LAPS | Cancellation because of no payment of annual fees |
