JP2010052270A - 構造部材及びレドーム - Google Patents

構造部材及びレドーム Download PDF

Info

Publication number
JP2010052270A
JP2010052270A JP2008219551A JP2008219551A JP2010052270A JP 2010052270 A JP2010052270 A JP 2010052270A JP 2008219551 A JP2008219551 A JP 2008219551A JP 2008219551 A JP2008219551 A JP 2008219551A JP 2010052270 A JP2010052270 A JP 2010052270A
Authority
JP
Japan
Prior art keywords
glass cloth
woven fabric
matrix resin
impregnated
olefin woven
Prior art date
Legal status (The legal status is an assumption and is not a legal conclusion. Google has not performed a legal analysis and makes no representation as to the accuracy of the status listed.)
Granted
Application number
JP2008219551A
Other languages
English (en)
Other versions
JP4720877B2 (ja
Inventor
Takashi Ijima
喬志 井島
Takashi Iwakura
崇 岩倉
Muneo Murakami
宗雄 村上
Shigeru Uchiumi
茂 内海
Kimihiro Kaneko
公廣 金子
Current Assignee (The listed assignees may be inaccurate. Google has not performed a legal analysis and makes no representation or warranty as to the accuracy of the list.)
Mitsubishi Electric Corp
Original Assignee
Mitsubishi Electric Corp
Priority date (The priority date is an assumption and is not a legal conclusion. Google has not performed a legal analysis and makes no representation as to the accuracy of the date listed.)
Filing date
Publication date
Application filed by Mitsubishi Electric Corp filed Critical Mitsubishi Electric Corp
Priority to JP2008219551A priority Critical patent/JP4720877B2/ja
Publication of JP2010052270A publication Critical patent/JP2010052270A/ja
Application granted granted Critical
Publication of JP4720877B2 publication Critical patent/JP4720877B2/ja
Expired - Fee Related legal-status Critical Current
Anticipated expiration legal-status Critical

Links

Images

Landscapes

  • Reinforced Plastic Materials (AREA)
  • Laminated Bodies (AREA)
  • Details Of Aerials (AREA)

Abstract

【課題】 構造強度に優れ、また、成形後に必要な機械加工が可能な繊維強化樹脂を用いた構造部材及びレドームを得ることを目的とする。
【解決手段】 構造部材のうち、主構造部はオレフィン織布8を含有し、取付部はオレフィン織布を含有せずガラスクロスを含有させる。主構造部のオレフィン織布8を接続部へ延在させ、取付部のガラスクロス9cを接続部へ延在させて積層する。ガラスクロス9aとガラスクロス9bは主構造部から取付部まで跨っている。積層した繊維にマトリックス樹脂7を含浸し、成型工程により硬化させ、構造部材を一体成形する。
【選択図】 図5

Description

この発明は、良好な機械・構造特性が必要とされる繊維強化樹脂による構造部材や、さらには電気的な特性が必要とされる繊維強化樹脂によるアンテナ装置用のレドームに関するものである。
繊維強化樹脂は、例えば船舶、航空機、自動車などの機械構造部分に主として軽量化のために用いられ、また、スポーツ・レジャー用品などのロッドやフレーム構造部材などにも用いられ、様々な応用製品が実用化されるに至っている。繊維強化樹脂に用いる繊維としては炭素繊維やガラス繊維が一般的であり、これらの繊維は剛性面では優れているものの一般に繊維単体の強度が他の材料(例えば金属など)に比べ低い。また、軽量かつ強度面で優れた性質を有する繊維として超高分子量オレフィンなどの有機繊維が用いられる。例えば、特許文献1には、自動車のバンパー部分の強度を高めるために、発泡ポリエチレンフォームの周囲に有機繊維による繊維強化樹脂を配置するバンパーが記載されている。
一方、電気的な特性が必要とされるアンテナ装置用のレドームについては、例えば、特許文献2に従来の技術が開示されている。特許文献2に記載されたレドームは、マトリックス樹脂中に強化繊維を有する第一の複合材料表皮及び第二の対向する複合材料表皮の間に、発砲体等の低密度誘電体から成るコアを挟み込んだサンドイッチ構造板を用いたレドームであり、強度・剛性に優れているとされるものである。また、繊維としてポリエステル−ポリアリレートファイバーを用い、低密度誘電体を挟み込むサンドイッチ構造によって、全体の誘電率を低くすることができるので、電波の透過性を高められるというものである。
特開平08−276801 特表2007−519298
ガラス繊維を強化繊維とする繊維強化樹脂を用いた場合には、構造部材や特にアンテナ装置のレドームに要求される剛性を得るために、多量のガラス繊維をマトリックス樹脂に加えなければならず、そのため、レドーム皮膜が厚くなり重量が大きくなるという問題点がある。一方、ポリエステル-ポリアリレート繊維や超高分子オレフィン繊維等のような有機繊維を強化繊維として用いた場合には、重量は軽くなるものの、成形後の構造部材やレドームの強度が高くなり、成形後にねじ取付穴等を設けるための機械加工が困難になるという問題点があった。特許文献1や特許文献2に記載された構造部材やレドームでは、構造部材の全体に用いる強化繊維(ポリエステル-ポリアリレート繊維や超高分子オレフィン繊維等)を同一のものとしており、成形した構造部材やレドームを、完成品(自動車やアンテナ装置など)に取り付けるために、ねじ取付穴等を追加加工することが、その強化繊維の強度のために困難なものとなっている。
この発明は、上記のような問題点を解決するためになされたもので、構造強度に優れ、また、成形後に必要な機械加工が可能な繊維強化樹脂を用いた構造部材及びレドームを得ることを目的とする。
請求項1の発明に係る構造部材は、オレフィン織布に、又はオレフィン織布及びガラスクロスの積層にマトリックス樹脂を含浸した主構造部と、ガラスクロスにマトリックス樹脂を含浸した取付部と、この取付部から延在するガラスクロスと、上記主構造部から延在するオレフィン織布とが積層され、マトリックス樹脂が含浸された接続部とを備えたものである。
請求項2の発明に係る構造部材は、オレフィン織布に、又はオレフィン織布及びガラスクロスの積層にマトリックス樹脂を含浸した主構造部と、ガラスクロスにマトリックス樹脂を含浸した取付部と、この取付部から延在するガラスクロスと、上記主構造部から延在するオレフィン織布とが突き合わされ、マトリックス樹脂が含浸された接続部とを備えたものである。
請求項3の発明に係る構造部材は、請求項1又は請求項2の発明に係る構造部材において、上記接続部のガラスクロスとオレフィン織布とが縫合されているものである。
請求項4の発明に係る構造部材は、オレフィン織布に、又はオレフィン織布及びガラスクロスの積層にマトリックス樹脂を含浸した主構造部と、ガラスクロスにマトリックス樹脂を含浸した取付部と、この取付部から延在するガラスクロスの繊維と、上記主構造部から延在するオレフィン織布の繊維とが編み込まれ、マトリックス樹脂が含浸された接続部とを備えたものである。
請求項5の発明に係る構造部材は、請求項1乃至請求項4の発明に係る構造部材において、上記オレフィン織布は、コロナ放電加工により表面改質されたものである。
請求項6の発明に係るレドームは、オレフィン織布に、又はオレフィン織布及びガラスクロスの積層にマトリックス樹脂を含浸したドーム部と、ガラスクロスにマトリックス樹脂を含浸した取付部と、この取付部から延在するガラスクロスと、上記ドーム部から延在するオレフィン織布とが積層され、マトリックス樹脂が含浸された接続部とを備えたものである。
請求項7の発明に係るレドームは、オレフィン織布に、又はオレフィン織布及びガラスクロスの積層にマトリックス樹脂を含浸したドーム部と、ガラスクロスにマトリックス樹脂を含浸した取付部と、この取付部から延在するガラスクロスと、上記ドーム部から延在するオレフィン織布とが突き合わされ、マトリックス樹脂が含浸された接続部とを備えたものである。
請求項8の発明に係るレドームは、請求項6又は請求項7の発明に係るレドームにおいて、上記接続部のガラスクロスとオレフィン織布とが縫合されているものである。
請求項9の発明に係るレドームは、オレフィン織布に、又はオレフィン織布及びガラスクロスの積層にマトリックス樹脂を含浸したドーム部と、ガラスクロスにマトリックス樹脂を含浸した取付部と、この取付部から延在するガラスクロスの繊維と、上記ドーム部から延在するオレフィン織布の繊維とが編み込まれ、マトリックス樹脂が含浸された接続部とを備えたものである。
請求項10の発明に係るレドームは、請求項6乃至請求項9の発明に係るレドームにおいて、上記オレフィン織布は、コロナ放電加工により表面改質されたものである。
請求項1乃至請求項5に記載の発明によれば、オレフィン織布に、又はオレフィン織布及びガラスクロスの積層にマトリックス樹脂を含浸した主構造部と、ガラスクロスにマトリックス樹脂を含浸した取付部と、この取付部から延在するガラスクロスと、上記主構造部から延在するオレフィン織布とが積層され、又は突き合わされ、又は編み込まれ、マトリックス樹脂が含浸された接続部とを備えるので、主構造部の構造強度が高く、取付部での機械加工性を良くすることができる。
請求項6乃至請求項10に記載の発明によれば、オレフィン織布に、又はオレフィン織布及びガラスクロスの積層にマトリックス樹脂を含浸したドーム部と、ガラスクロスにマトリックス樹脂を含浸した取付部と、この取付部から延在するガラスクロスと、上記ドーム部から延在するオレフィン織布とが積層され、又は突き合わされ、又は編み込まれ、マトリックス樹脂が含浸された接続部とを備えるので、ドーム部の電波透過性が高く、取付部での機械加工性を良くすることができる。
実施の形態1
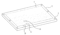
この発明の実施の形態1に係る構造部材について、図1乃至図11を用いて説明する。図1はこの発明の実施の形態1に係る構造部材としてのパネル状構造部材の外観図であり、図2はこの発明の実施の形態1に係る構造部材としてのパイプ状構造部材の外観図である。図1において、1はパネル状構造部材のパネル面の大半を占める主構造部であり、2は主構造部1の縁や端部の取付部であり、3は取付部に設けた機械加工穴である。図1では、取付部2は主構造部1の周囲を囲むように設けられているが、自動車等の製品への構造部材の取り付け方によっては、主構造部1の周囲を囲むように取付部2を設ける必要はなく、主構造部1の一辺又はいくつかの辺に設けられるものであっても良い。また、図1では説明のために主構造部1を線で囲んでいるが、繊維の種類が異なる主構造部1と取付部2とをそれぞれの領域として区別するために模式的に引いた線であり、実際のパネル面に線が出なければならないというものではない。図2において、4はパイプ状構造部材の軸方向の大半を占める主構造部であり、5はパイプの端部の取付部であり、6は取付部5に設けた機械加工穴である。
主構造部1及び4の材料組成を有する領域A(オレフィン織布に、又はオレフィン織布及びガラスクロスの積層にマトリックス樹脂を含浸した領域)と、取付部2及び5の材料組成を有する領域B(ガラスクロスの積層にマトリックス樹脂を含浸した領域)と、この主構造部と取付部とを接続する接続部を含む領域Cについて、図3乃至図5を用いて説明する。図3は主構造部である領域Aの断面を表わす断面図、図4は取付部である領域Bの断面を表わす断面図、図5は主構造部と取付部とを接続する接続部を含む領域Cの断面を表わす断面図である。
図3において、7はマトリックス樹脂であり、8はオレフィン織布、9はガラスクロスである。主構造部1及び4は、オレフィン織布8とガラス織布9とを積み重ね、マトリックス樹脂7を含浸し、インフュージョン法などによる成型工程を経て硬化させ一体成形する。オレフィン織布8にマトリックス樹脂7が含浸された部分はオレフィン織布含有領域層10を形成し、ガラスクロス9にマトリックス樹脂7が含浸された部分はガラスクロス含有領域層11を形成する。ただし、一種類のマトリックス樹脂7を用いて一体化されているため、オレフィン織布含有領域層10とガラスクロス含有領域層11との境界は明瞭とはならない。図3では、オレフィン織布8及びガラスクロス9は、各領域層で1枚ずつ設けたものを記載しているが、各領域層の位置関係(部材の略中心線上にオレフィン織布含有領域層10を、これを挟んでガラスクロス含有領域層11を設けた位置関係)を有して、各領域層におけるオレフィン織布又はガラスクロスの枚数を複数枚としても良い。
図4に示す取付部2及び5の領域Bは、複数枚のガラスクロス9を積層して重ねて、マトリックス樹脂を含浸し成型工程を経て硬化させ一体成形したものであり、ガラスクロス含有領域層11により形成されている。領域Aの厚みと領域Bの厚みとは異なる厚みとすることができ、各領域に要求される剛性や強度、とくに領域Bでは製品への構造部材の取付上必要な厚みに、或いは構造部材の耐座屈性を高めるために必要な厚みに設定することができる。
図5に示す接続部においては、主構造部から延在してくるオレフィン織布8と取付部から延在してくるガラスクロス9cとが積層され、この接続部を含めて、構造部材全体を一体成形することができる。即ち、主構造部から取付部まで跨るガラスクロス9aに、主構造部に設けるオレフィン織布8を接続部まで延在して重ね、さらに主構造部から取付部まで跨るガラスクロス9bを重ね、さらに取付部に設けるガラスクロス9cを接続部まで延在して重ね、これにマトリックス樹脂を含浸し、構造部材全体を成型工程を経て硬化させ一体成形することができる。図4には、接続部におけるオレフィン織布を1枚、ガラスクロスを3枚とし、連続したものとして記載しているが、各々に複数枚用いることもでき、また不連続に重ね合わせた構成とすることもできる。なお、図5では主構造部から延在してくるオレフィン織布8と取付部から延在してくるガラスクロスとが接続部で積層される構成が記載されているが、構造的な強度(特に耐座屈性)が確保されるならば、オレフィン織布8とガラスクロス9cとが接続部まで延在されるが積層されていないものであってもよい。
図6は接続部の別の例を表わす断面図であるが、この例では、主構造部から取付部まで跨るガラスクロス9aに、主構造部に設けるオレフィン織布8を接続部まで延在して重ね、さらに取付部に設けるガラスクロス9cを接続部まで延在して重ね、さらに主構造部から取付部まで跨るガラスクロス9bを重ねたものである。構造強度(特に耐座屈性)が確保されるならば、オレフィン織布8とガラスクロス9とが接続部まで延在されて突き合わされているものであっても良い。
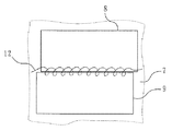
図7はオレフィン織布とガラスクロスとを接続部において編み込む場合の編み込み方の概念図である。このように両繊維を編み込むことによりオレフィン織布含有領域層10とガラスクロス領域層11のとの接続部の成形時における強度を強くすることができ、両層間の界面を減らすことでずれや歪を抑制することができる。なお、図7では編み込み例として異なる繊維を示しているが、同種繊維間についても適用することが可能で、また、単繊維で示してあるが、繊維の束を用いて編み込むこともでき、さらに編み方・繊維の方向もこれに限らない。ここで、編み込まれる繊維(織布)の枚数も単層とは限られるものではない。
図8乃至図10はオレフィン織布8とガラスクロス9の接続部における重ね合わせの方法及び縫い合わせの方法を示す概念図である。各図共に繊維12を用いて縫い合わせるような図であるが、縫い合わせない方法(単に重ねておくという方法)も可能である。まず、図8に示したように、両繊維を重ね合わせることにより、マトリックス樹脂7の含浸時の接合強度を上げる方法が挙げられる。また、図9のように、各繊維を突き合わせた状態でマトリックス樹脂7を含浸することで層の厚さの変化を抑制することもできる。さらに、図10のようにオレフィン織布とガラスクロスに切れ目を入れ、等間隔でなくともよいが、交互に挟み込むことで、マトリックス樹脂7の含浸時のオレフィン織布含有領域層10とガラスクロス含有領域層11の界面を複雑に入り組ませることができ、両領域界面での強度を強くすることができる。これらの重ね合わせ方に対して、繊維12を用いて縫い合わせることで、さらに両繊維間での強度を上げることができる。なお、図8乃至図10では異種繊維間での接合を示しているが、同種繊維間での組み合わせ方にも適用でき、重ね合わせる枚数も単数枚ずつとは限らない。ここで、縫い合わせる場合にはオレフィン織布8の繊維、ガラスクロス繊維9のどちらを用いても可能であり、また、全く異なるものでもマトリックス樹脂と充分に結合するものであれば適用できる。また、縫い合わせる繊維は、単繊維とは限らず、繊維の束(例えば、オレフィン繊維とガラス繊維の混合)でもよく、縫い合わせ方も図示されたものに限られない。
主構造部に使用するオレフィン織布8としては、特定のものに限定されることはなく、当該技術分野において公知のものを使用することができる。好ましいオレフィン織布5としては、超高分子量ポリエチレン繊維からなる織布である。この織布であれば、その優れた引張強度及び弾性率を構造部材の主構造部の特性に反映させることができる。超高分子量ポリエチレン繊維としては、例えば、東洋紡績株式会社から市販されている製品名「ダイニーマ」(比誘電率2.2、分子量約400万)を用いることができる。図11はオレフィン織布(上記「ダイニーマ」)とガラスクロス(日東紡績株式会社から市販の製品名「NE−Glass」)の材料特性のリストである。ダイニーマは、高剛性であり、引張方向の強度を保つことができるとともに、マトリックス樹脂7の含浸が容易であるという理由から長繊維を用いた織布が好ましい。さらに、マトリックス樹脂7との密着性を向上させる観点から、コロナ放電加工等のような表面処理をオレフィン織布8の表面に施してもよい。また、構造部材を通して電波の送受信が行われる用途向けには、オレフィン織布8の比誘電率は低いほど望ましいが、ガラス繊維よりも低い比誘電率、具体的には4以下であることが望ましい。比誘電率が4を超えると、オレフィン織布5を用いることによる所望の効果(誘電率の低減効果)が得られないことがある。また、オレフィン織布は弾性率が高く、薄くて高剛性の部材を製作すれば電波損失を小さくすることができる。
本実施の形態で用いられるガラスクロス9としては、特定のものに限定されることはなく、当該技術分野において公知のものを使用することができる。ガラスクロス9の例としては、低誘電特性ガラスクロスである日東紡績株式会社製の商品名NE−Glass(比誘電率4.7)を用いたクロスを挙げることができる。また、ガラス繊維は一般的にカップリング処理等の表面処理によりマトリックス樹脂との密着性を向上させることができるので、日東紡績株式会社製の商品名E−Glass、D−Glass及びT−Glass等の他のガラス繊維を用いたクロスも使用することができる。
本実施の形態で用いられるマトリックス樹脂7としては、特定のものに限定されることはなく、当該技術分野において公知のものを使用することができる。マトリックス樹脂7は、レドーム1の製造性を考慮すると、未硬化の状態で含浸性を確保し得る液状硬化性樹脂が好ましい。また、硬化後にオレフィン織布5及びガラスクロス6との密着性を考慮した官能基を有するものが好ましい。このようなマトリックス樹脂7の例としては、エポキシ樹脂、ビニルエステル樹脂、不飽和ポリエステル樹脂及びシリコーン樹脂等を挙げることができる。マトリックス樹脂7の硬化剤としては、特に限定されることはなく、当該技術分野において公知のものを使用することができる。かかる硬化剤としては、有機化酸化物や酸無水物等が挙げられる。また、硬化剤の配合量も、特に限定されることはなく、使用するマトリックス樹脂7及び硬化剤の種類にあわせて適宜設定すればよい。
以上のように、この発明の実施の形態1に係る構造部材は、主構造部において繊維強化樹脂の繊維として、オレフィン織布(又はオレフィン織布とガラスクロスの併用)を用いることにより構造強度を高めることができ、比誘電率の低いオレフィン織布を用いることにより電波の透過性を向上させることができる。また、主構造部に接続部を介して接続された取付部は、オレフィン織布含有領域層を含まずガラスクロス含有領域層で構成されるので、強度特性及び加工性を向上することができる。
実施の形態2
この発明の実施の形態2に係るアンテナ装置のレドームについて、図12乃至図14を用いて説明する。図12はこの発明の実施の形態2に係るレドームの外観図である。図12において、13はレドームであり、14はレドーム13を取り付ける台座である。レドーム13において、15はドーム部(アンテナ装置によって高さや底面の直径は異なる)であり、16はドーム部15の底部に設けた取付部である。取付部には機械加工穴17をレドーム13の一体成形後に設ける。台座14において、18はレドーム13を取り付ける取付座であり、19はねじ穴である。レドーム13は、機械加工穴17に固定用ねじを通し、ねじ穴19に螺合して台座14に固定される。なお、一点鎖線で示す20はレドーム13内に収容されるアンテナを含む電波機器である。
レドーム13は、外部環境(例えば、風、太陽光、雨及び海水等の自然環境、外部からの衝撃、並びに埃)から電波機器20を保護するためのものであり、外部とアンテナとの間で電波が送受信される時には、レドーム13を電波が透過する。ここで、レドーム13の形状は任意であるが、電波機器20が可動する場合にはレドーム13と電波機器20とが干渉しないようにする必要がある。また、レドーム13はアンテナ中心部からレドーム13までの距離がアンテナの電波出力方向に対して出来るだけ等距離で、且つレドーム13に対して垂直に電波が入射するように配置される。
ドーム部15の材料組成を有する領域A(オレフィン織布に、又はオレフィン織布及びガラスクロスの積層にマトリックス樹脂を含浸した領域)と、取付部16の材料組成を有する領域B(ガラスクロスの積層にマトリックス樹脂を含浸した領域)については、実施の形態1において図3及び図4を用いて説明したものと同等であり、ここでの説明は省略する。ドーム部と取付部とを接続する接続部を含む領域Cについて図13を用いて説明する。図13はレドームにおけるドーム部と取付部とを接続する接続部を含む領域Cの断面を表わす断面図である。図13に示す領域Cでは、取付部16が屈曲しているという特徴を持っているが、オレフィン織布及びガラスクロスの積層や、マトリックス樹脂を含浸して成形することなどについては、図5を用いて実施の形態1において説明したとおりである。また、図14はレドームにおける接続部の別の例の断面図であるが、この例では、ドーム部から取付部まで跨るガラスクロス9aに、ドーム部に設けるオレフィン織布8を接続部まで延在して重ね、さらに取付部に設けるガラスクロス9cを接続部まで延在して重ね、さらにドーム部から取付部まで跨るガラスクロス9bを重ねたものである。構造強度(特に耐座屈性)が確保されるならば、オレフィン織布8とガラスクロス9とが接続部まで延在されて突き合わされているものであっても良い。
オレフィン織布とガラスクロスとを接続部において編み込む場合の編み込み方は、実施の形態1において図7を用いて説明したとおりである。また、オレフィン織布とガラスクロスの接続部における重ね合わせの方法及び縫い合わせの方法は、実施の形態1において図8乃至図10を用いて説明したとおりである。
レドーム13では、対象電波が透過する部分(ドーム部15)と透過しない部分(取付部16)とに分け、対象電波が透過する部分では電気特性を優先し、対象電波が透過しない部分では機械的特性を優先する。したがって、ドーム部15には高剛性かつ低誘電率である特性を有するオレフィン織布を用い(又はガラスクロスと併用する)、取付部16には機械加工性のよいガラスクロスを用いる。さらに、耐座屈性を高める観点から、対象電波が透過しない取付部16の厚みを、ドーム部15に比べて厚くすることもできる。
ドーム部15に使用するオレフィン織布8としては、特定のものに限定されることはなく、当該技術分野において公知のものを使用することができる。オレフィン織布8の比誘電率は、低いほど望ましいが、ガラス繊維よりも低い比誘電率、具体的には4以下であることが望ましい。比誘電率が4を超えると、オレフィン織布5を用いることによる所望の効果(誘電率の低減効果)が得られないことがある。また、オレフィン織布8は、引張方向の強度を保つことが出来ると共にマトリックス樹脂7の含浸が容易であるという理由から、長繊維を用いた織布が好ましい。さらに、マトリックス樹脂7との密着性を向上させる観点から、コロナ放電加工等のような表面処理をオレフィン織布8の表面に施してもよい。好ましいオレフィン織布5としては、超高分子量ポリエチレン繊維からなる織布である。この織布であれば、その優れた引張強度及び弾性率をドーム部15の特性に反映させることができる。超高分子量ポリエチレン繊維としては、例えば、図11に示した東洋紡績株式会社から市販されている製品名「ダイニーマ」(比誘電率2.2、分子量約400万)を用いることができる。
本実施の形態の取付部16に用いるガラスクロス9は、特定のものに限定されることはなく、当該技術分野において公知のものを使用することができる。ガラスクロス9の例としては、低誘電特性ガラスクロスである日東紡績株式会社製の製品名「NE−Glass」(比誘電率4.7)を用いたクロスを挙げることができる。また、ガラス繊維は一般的にカップリング処理等の表面処理によりマトリックス樹脂との密着性を向上させることができるので、日東紡績株式会社製の製品名「E−Glass」、「D−Glass」及び「T−Glass」等の他のガラス繊維を用いたクロスも使用することができる。
本実施の形態で用いられるマトリックス樹脂7は、特定のものに限定されることはなく、当該技術分野において公知のものを使用することができる。マトリックス樹脂7は、レドーム13の製造性を考慮すると、未硬化の状態で含浸性を確保し得る液状硬化性樹脂が好ましい。また、硬化後にオレフィン織布5及びガラスクロス6との密着性を考慮した官能基を有するものが好ましい。このようなマトリックス樹脂7の例としては、エポキシ樹脂、ビニルエステル樹脂、不飽和ポリエステル樹脂及びシリコーン樹脂等を挙げることができる。マトリックス樹脂7の硬化剤についても、特に限定されることはなく、当該技術分野において公知のものを使用することができる。かかる硬化剤としては、有機化酸化物や酸無水物等が挙げられる。また、硬化剤の配合量も、特に限定されることはなく、使用するマトリックス樹脂7及び硬化剤の種類にあわせて適宜設定すればよい。
以上のように、この発明の実施の形態2に係るアンテナ装置のレドームは、ドーム部において繊維強化樹脂の繊維として、オレフィン織布(又はオレフィン織布とガラスクロスの併用)を用いることにより、電波の透過性及び構造強度を高めることができる。この発明ではレドームと記載しているが、同様の特性が要求されるフィドームについても適用ができ、この発明で記載するレドームに含まれ得るものとする。また、ドーム部に接続部を介して接続された取付部は、オレフィン織布含有領域層を含まずガラスクロス含有領域層9で構成されるので、強度特性及び加工性を向上することができる。
この発明の実施の形態1に係る構造部材としてのパネル状構造部材の外観図である。 この発明の実施の形態1に係る構造部材としてのパイプ状構造部材の外観図である。 主構造部である領域Aの断面を表わす断面図である。 取付部である領域Bの断面を表わす断面図である。 主構造部と取付部とを接続する接続部を含む領域Cの断面を表わす断面図である。 接続部の別の例を表わす断面図である。 オレフィン織布とガラスクロスとを接続部において編み込む場合の編み込み方の概念図である。 オレフィン織布とガラスクロスの接続部における重ね合わせの方法及び縫い合わせの方法を表わす概念図である。 オレフィン織布とガラスクロスの接続部における重ね合わせの方法及び縫い合わせの方法の別の一例を表わす概念図である。 オレフィン織布とガラスクロスの接続部における重ね合わせの方法及び縫い合わせの方法のさらに別の一例を表わす概念図である。 オレフィン織布とガラスクロスの材料特性のリストである。 この発明の実施の形態2に係るレドームの外観図である。 レドームにおけるドーム部と取付部とを接続する接続部を含む領域Cの断面を表わす断面図である。 レドームにおける接続部の別の例の断面図である。
符号の説明
1、4 主構造部
2、5 取付部
7 マトリックス樹脂
8 オレフィン織布
9 ガラスクロス
13 レドーム
15 ドーム部
16 取付部

Claims (10)

  1. オレフィン織布に、又はオレフィン織布及びガラスクロスの積層にマトリックス樹脂を含浸した主構造部と、ガラスクロスにマトリックス樹脂を含浸した取付部と、この取付部から延在するガラスクロスと、上記主構造部から延在するオレフィン織布とが積層され、マトリックス樹脂が含浸された接続部とを備えたことを特徴とする構造部材。
  2. オレフィン織布に、又はオレフィン織布及びガラスクロスの積層にマトリックス樹脂を含浸した主構造部と、ガラスクロスにマトリックス樹脂を含浸した取付部と、この取付部から延在するガラスクロスと、上記主構造部から延在するオレフィン織布とが突き合わされ、マトリックス樹脂が含浸された接続部とを備えたことを特徴とする構造部材。
  3. 上記接続部のガラスクロスとオレフィン織布とが縫合されていることを特徴とする請求項1又は請求項2に記載の構造部材。
  4. オレフィン織布に、又はオレフィン織布及びガラスクロスの積層にマトリックス樹脂を含浸した主構造部と、ガラスクロスにマトリックス樹脂を含浸した取付部と、この取付部から延在するガラスクロスの繊維と、上記主構造部から延在するオレフィン織布の繊維とが編み込まれ、マトリックス樹脂が含浸された接続部とを備えたことを特徴とする構造部材。
  5. 上記オレフィン織布は、コロナ放電加工により表面改質されたものであることを特徴とする請求項1乃至請求項4のいずれか1項に記載の構造部材。
  6. オレフィン織布に、又はオレフィン織布及びガラスクロスの積層にマトリックス樹脂を含浸したドーム部と、ガラスクロスにマトリックス樹脂を含浸した取付部と、この取付部から延在するガラスクロスと、上記ドーム部から延在するオレフィン織布とが積層され、マトリックス樹脂が含浸された接続部とを備えたことを特徴とするレドーム。
  7. オレフィン織布に、又はオレフィン織布及びガラスクロスの積層にマトリックス樹脂を含浸したドーム部と、ガラスクロスにマトリックス樹脂を含浸した取付部と、この取付部から延在するガラスクロスと、上記ドーム部から延在するオレフィン織布とが突き合わされ、マトリックス樹脂が含浸された接続部とを備えたことを特徴とするレドーム。
  8. 上記接続部のガラスクロスとオレフィン織布とが縫合されていることを特徴とする請求項6は請求項7に記載のレドーム。
  9. オレフィン織布に、又はオレフィン織布及びガラスクロスの積層にマトリックス樹脂を含浸したドーム部と、ガラスクロスにマトリックス樹脂を含浸した取付部と、この取付部から延在するガラスクロスの繊維と、上記ドーム部から延在するオレフィン織布の繊維とが編み込まれ、マトリックス樹脂が含浸された接続部とを備えたことを特徴とするレドーム。
  10. 上記オレフィン織布は、コロナ放電加工により表面改質されたものであることを特徴とする請求項6乃至請求項9のいずれか1項に記載のレドーム。
JP2008219551A 2008-08-28 2008-08-28 構造部材及びレドーム Expired - Fee Related JP4720877B2 (ja)

Priority Applications (1)

Application Number Priority Date Filing Date Title
JP2008219551A JP4720877B2 (ja) 2008-08-28 2008-08-28 構造部材及びレドーム

Applications Claiming Priority (1)

Application Number Priority Date Filing Date Title
JP2008219551A JP4720877B2 (ja) 2008-08-28 2008-08-28 構造部材及びレドーム

Publications (2)

Publication Number Publication Date
JP2010052270A true JP2010052270A (ja) 2010-03-11
JP4720877B2 JP4720877B2 (ja) 2011-07-13

Family

ID=42068704

Family Applications (1)

Application Number Title Priority Date Filing Date
JP2008219551A Expired - Fee Related JP4720877B2 (ja) 2008-08-28 2008-08-28 構造部材及びレドーム

Country Status (1)

Country Link
JP (1) JP4720877B2 (ja)

Cited By (6)

* Cited by examiner, † Cited by third party
Publication number Priority date Publication date Assignee Title
JP2013000946A (ja) * 2011-06-15 2013-01-07 Rikko Nishikawa 超高分子量ポリエチレン繊維織物の接合方法
CN103490162A (zh) * 2013-09-24 2014-01-01 上海之合玻璃钢有限公司 天线罩电性优化连接单元件
JP2014511408A (ja) * 2011-02-17 2014-05-15 ディーエスエム アイピー アセッツ ビー.ブイ. 強化エネルギー伝達材料およびその製造方法
JP2014512117A (ja) * 2011-03-22 2014-05-19 ディーエスエム アイピー アセッツ ビー.ブイ. インフレータブルレードーム
EP2897799A4 (en) * 2012-09-18 2016-07-06 Cubic Tech Corp FLEXIBLE CONNECTION SYSTEMS
JP2017005685A (ja) * 2015-04-20 2017-01-05 ザ・ボーイング・カンパニーThe Boeing Company 形状適合型複合アンテナアセンブリ

Citations (5)

* Cited by examiner, † Cited by third party
Publication number Priority date Publication date Assignee Title
JPH08276441A (ja) * 1995-04-05 1996-10-22 Teijin Ltd 周縁部が強化された軽量複合成形物およびその製造方法
JPH09150463A (ja) * 1995-11-30 1997-06-10 Sekisui Chem Co Ltd 繊維強化熱可塑性樹脂発泡体の製造方法
JP2003021500A (ja) * 2001-07-03 2003-01-24 Mitsubishi Electric Corp 飛しょう体用レドーム
JP2003136603A (ja) * 2001-10-31 2003-05-14 Taiei Shoko Kk プラスチックの固着構造
JP2008080749A (ja) * 2006-09-28 2008-04-10 Mitsubishi Rayon Co Ltd 積層体およびこれを用いた自動車用ボンネット

Patent Citations (5)

* Cited by examiner, † Cited by third party
Publication number Priority date Publication date Assignee Title
JPH08276441A (ja) * 1995-04-05 1996-10-22 Teijin Ltd 周縁部が強化された軽量複合成形物およびその製造方法
JPH09150463A (ja) * 1995-11-30 1997-06-10 Sekisui Chem Co Ltd 繊維強化熱可塑性樹脂発泡体の製造方法
JP2003021500A (ja) * 2001-07-03 2003-01-24 Mitsubishi Electric Corp 飛しょう体用レドーム
JP2003136603A (ja) * 2001-10-31 2003-05-14 Taiei Shoko Kk プラスチックの固着構造
JP2008080749A (ja) * 2006-09-28 2008-04-10 Mitsubishi Rayon Co Ltd 積層体およびこれを用いた自動車用ボンネット

Cited By (7)

* Cited by examiner, † Cited by third party
Publication number Priority date Publication date Assignee Title
JP2014511408A (ja) * 2011-02-17 2014-05-15 ディーエスエム アイピー アセッツ ビー.ブイ. 強化エネルギー伝達材料およびその製造方法
JP2014512117A (ja) * 2011-03-22 2014-05-19 ディーエスエム アイピー アセッツ ビー.ブイ. インフレータブルレードーム
JP2013000946A (ja) * 2011-06-15 2013-01-07 Rikko Nishikawa 超高分子量ポリエチレン繊維織物の接合方法
EP2897799A4 (en) * 2012-09-18 2016-07-06 Cubic Tech Corp FLEXIBLE CONNECTION SYSTEMS
CN103490162A (zh) * 2013-09-24 2014-01-01 上海之合玻璃钢有限公司 天线罩电性优化连接单元件
CN103490162B (zh) * 2013-09-24 2016-04-06 上海之合玻璃钢有限公司 天线罩电性优化连接单元件
JP2017005685A (ja) * 2015-04-20 2017-01-05 ザ・ボーイング・カンパニーThe Boeing Company 形状適合型複合アンテナアセンブリ

Also Published As

Publication number Publication date
JP4720877B2 (ja) 2011-07-13

Similar Documents

Publication Publication Date Title
JP5737428B2 (ja) 繊維強化複合材料成形体およびその製造方法
JP4720877B2 (ja) 構造部材及びレドーム
US20070071957A1 (en) Structural composite material for acoustic damping
CN114664180A (zh) 复合结构、柔性屏组件和可折叠终端
KR20180116963A (ko) 차량용 백빔 및 이를 포함하는 차량
JP2019156165A (ja) 車体のセンターピラー
JP5952990B2 (ja) 金属樹脂複合体
US10611328B2 (en) Composite material structural member and method of manufacturing the composite material structural member
JP4957681B2 (ja) レドーム
JP2016117202A (ja) 繊維強化複合材料成形体の製造方法
JP2007519298A (ja) ポリエステル−ポリアリレートファイバーを用いたレドーム及びその製造方法
US20230264410A1 (en) Composite panel having improved vibration characteristics and method for manufacturing the same
JP2021059042A (ja) 芯材及び複合部材
JPH02291703A (ja) 繊維強化プラスチック製レーダドーム
JPH0776051A (ja) Frp製パネル及びその製造方法
JP2012166498A (ja) Frp構造体
JPH04267139A (ja) 炭素繊維強化複合材料プリプレグシート
KR101949310B1 (ko) 보강파이프가 인서트된 복합재 패널 및 그 제조방법
JP2022015321A (ja) 芯材用前駆体、芯材及びその製造方法、繊維強化体及びその製造方法
WO2013038900A1 (ja) 複合材料構造体及びその製造方法
JP2017155391A (ja) 繊維強化プラスチック用基材、繊維強化プラスチック用多層基材、繊維強化プラスチック用プリフォーム及びその製造方法
US20250091664A1 (en) Vehicle body floor structure
JP5398111B2 (ja) 積層体およびこれを用いた自動車用ボンネット
US20170252965A1 (en) Molded composite structure and method of molding the composite structure
KR20190057665A (ko) 적층체 및 이를 포함하는 성형품

Legal Events

Date Code Title Description
A977 Report on retrieval

Free format text: JAPANESE INTERMEDIATE CODE: A971007

Effective date: 20110224

TRDD Decision of grant or rejection written
A01 Written decision to grant a patent or to grant a registration (utility model)

Free format text: JAPANESE INTERMEDIATE CODE: A01

Effective date: 20110308

A61 First payment of annual fees (during grant procedure)

Free format text: JAPANESE INTERMEDIATE CODE: A61

Effective date: 20110321

FPAY Renewal fee payment (event date is renewal date of database)

Free format text: PAYMENT UNTIL: 20140415

Year of fee payment: 3

R151 Written notification of patent or utility model registration

Ref document number: 4720877

Country of ref document: JP

Free format text: JAPANESE INTERMEDIATE CODE: R151

FPAY Renewal fee payment (event date is renewal date of database)

Free format text: PAYMENT UNTIL: 20140415

Year of fee payment: 3

R250 Receipt of annual fees

Free format text: JAPANESE INTERMEDIATE CODE: R250

R250 Receipt of annual fees

Free format text: JAPANESE INTERMEDIATE CODE: R250

R250 Receipt of annual fees

Free format text: JAPANESE INTERMEDIATE CODE: R250

R250 Receipt of annual fees

Free format text: JAPANESE INTERMEDIATE CODE: R250

R250 Receipt of annual fees

Free format text: JAPANESE INTERMEDIATE CODE: R250

R250 Receipt of annual fees

Free format text: JAPANESE INTERMEDIATE CODE: R250

R250 Receipt of annual fees

Free format text: JAPANESE INTERMEDIATE CODE: R250

R250 Receipt of annual fees

Free format text: JAPANESE INTERMEDIATE CODE: R250

R250 Receipt of annual fees

Free format text: JAPANESE INTERMEDIATE CODE: R250

LAPS Cancellation because of no payment of annual fees