JP2010051598A - マットレス - Google Patents

マットレス Download PDF

Info

Publication number
JP2010051598A
JP2010051598A JP2008220548A JP2008220548A JP2010051598A JP 2010051598 A JP2010051598 A JP 2010051598A JP 2008220548 A JP2008220548 A JP 2008220548A JP 2008220548 A JP2008220548 A JP 2008220548A JP 2010051598 A JP2010051598 A JP 2010051598A
Authority
JP
Japan
Prior art keywords
angle
mattress
air
unit
determination unit
Prior art date
Legal status (The legal status is an assumption and is not a legal conclusion. Google has not performed a legal analysis and makes no representation as to the accuracy of the status listed.)
Granted
Application number
JP2008220548A
Other languages
English (en)
Other versions
JP5112224B2 (ja
Inventor
Hiroki Kazuno
裕樹 数野
Makoto Tanaka
田中  良
Current Assignee (The listed assignees may be inaccurate. Google has not performed a legal analysis and makes no representation or warranty as to the accuracy of the list.)
Paramount Bed Co Ltd
Original Assignee
Paramount Bed Co Ltd
Priority date (The priority date is an assumption and is not a legal conclusion. Google has not performed a legal analysis and makes no representation as to the accuracy of the date listed.)
Filing date
Publication date
Application filed by Paramount Bed Co Ltd filed Critical Paramount Bed Co Ltd
Priority to JP2008220548A priority Critical patent/JP5112224B2/ja
Publication of JP2010051598A publication Critical patent/JP2010051598A/ja
Application granted granted Critical
Publication of JP5112224B2 publication Critical patent/JP5112224B2/ja
Active legal-status Critical Current
Anticipated expiration legal-status Critical

Links

Images

Landscapes

  • Mattresses And Other Support Structures For Chairs And Beds (AREA)
  • Invalid Beds And Related Equipment (AREA)

Abstract

【課題】ベッドの背上げ及び背下げ時のベッド利用者の圧迫感及びベッド長手方向へのずれ等を確実に防止することができるエアセルを備えたマットレスを提供する。
【解決手段】ギャッチベッドの背ボトム11,腰ボトム12及び脚ボトム13上にマットレス10(マットレス下層31及びエアセルユニット1)が設置されており、このマットレス10に横臥する患者の背部には、背抜きセル40が配置されている。そして、背ボトム11の背角度に応じて、背抜きセル40に対する加圧空気の供給及び排出を制御する。
【選択図】図3

Description

本発明は、空気圧により膨らむエアセルを含む寝具を備え、少なくとも背ボトムが揺動するマットレスに関する。
エアセルを備えたマットレスは、体圧分散寝具及び褥瘡予防寝具等として使用されており、このマットレス上に横たわる患者の体圧が集中することを防止し、患者の身体に褥瘡が発生することを防止する寝具として有用である。
従来のマットレスのエアセルユニットとして、特許文献1に記載されたように、弾性を有する複数個の中空直方体形状のエアセルを連続して配置したものがある。このエアセルは、その長手方向の中間部分が両端部分より軟らかく形成されており、これにより、平坦な表面をもつころにより、安定感を向上させ、横臥したときの感触を向上させている。
一方、他のエアセルユニットとして、寝台の幅方向に延びた円筒状セルを寝台の長手方向に連ねた構造のエアセルユニットもある。この場合は、各セルが独立している。
しかしながら、上述の両タイプのエアセルユニットは、ベッドの全面にエアセルユニットを敷き、その上に横臥したベッド利用者の体圧分散性を改善するという機能をもっぱら使用するものである。
よって、少なくとも背の部分が上下動するマットレスにこのエアセルユニットを設置した場合、ベッドの背角度が変化しても、エアセルユニットの内圧は平面的に且つ時間的に一定であった。
このため、上述の従来技術においては、ベッドの背上げ及び背下げ時のベッド利用者のずり落ち、圧迫感及びベッド長手方向へのずれ等を防止することはできなかった。
一方、特許文献2には、マットレスの背角度情報に基づいて、エアセルユニットの全体の圧力を変化させることが開示されている。
特開2002−65406号公報 特表2006−515995号公報
しかしながら、上述の特許文献2に開示されたエアセルユニットは、マットレスの背角度情報に基づいて、エアセルユニットの圧力を変化させてはいるものの、エアセルユニット全体の圧力を変化させているので、上述の圧迫感の軽減等において、十分にその目的を達成できるものではなかった。
本発明はかかる問題点に鑑みてなされたものであって、ベッドの背上げ及び背下げ時のベッド利用者に対する圧迫感及びベッド利用者のベッド長手方向へのずれを確実に防止することができるエアセルを備えたマットレスを提供することを目的とする。
本願第1発明に係るマットレスは、少なくとも背ボトムが揺動するベッド寝床部と、このベッド寝床部の上に搭載されるマットレス下層と、このマットレス下層の上の横臥者の背の部分に配置された背抜きエアセルと、この背抜きエアセルに対する空気の供給排出により前記背抜きエアセルを膨縮させる膨縮部と、前記背ボトムの背角度を検出又は取得してこの背角度に基づいて前記膨縮部における前記空気の供給排出を制御する制御部と、を有することを特徴とする。
このマットレスにおいて、例えば、前記制御部は、前記背角度が増大する過程で、所定の第1角度以上となったことを判定する第1判定部と、前記第1判定部による判定がなされた後所定時間経過したことを判定する第2判定部と、前記第1判定部が判定した時点で前記背抜きエアセルを所定圧力に膨張させ前記第2判定部が判定した時点で前記エアセルから空気を抜いて収縮させる第1制御ユニットとを有する。
また、例えば、前記制御部は、前記背角度が減少する過程で、所定の第2角度以下となったことを判定する第3判定部と、前記第3判定部による判定がなされた後所定時間経過したことを判定する第4判定部と、前記第3判定部が判定した時点で前記背抜きエアセルを所定圧力に膨張させ前記第4判定部が判定した時点で前記背抜きエアセルから空気を抜いて収縮させる第2制御ユニットとを有する。
更に、例えば、前記制御部は、前記背ボトムの揺動が所定時間ないときにそのときの前記背ボトムの背角度を基準背角度として設定する基準設定部と、前記背ボトムが揺動を開始した後前記背角度が前記基準背角度から所定の第3角度以上変位したことを判定する第5判定部と、前記第5判定部による判定がなされた後所定時間経過したことを判定する第6判定部と、前記第5判定部が判定した時点で前記背抜きエアセルを所定圧力に膨張させ前記第6判定部が判定した時点で前記背抜きエアセルから空気を抜いて収縮させる第3制御ユニットとを有するものである。
本願第2発明に係るマットレスは、少なくとも背ボトムが揺動するベッド寝床部と、このベッド寝床部の上に搭載されるマットレス下層と、このマットレス下層の全体又は前記マットレス下層におけるベッド利用者の臀部に相当する位置に配置された圧迫軽減セルと、この圧迫軽減セルに対する空気の供給排出により前記圧迫軽減エアセルを膨縮させる膨縮部と、前記背ボトムの背角度を検出する背角度検出部と、前記膨縮部における前記空気の供給排出を制御する制御部と、を有し、前記制御部は、前記背ボトムが背上げ又は背下げ動作をしているときに前記エアセルの空気を抜き、前記背ボトムの前記動作の終了後に前記圧迫軽減エアセルに空気を供給して膨張させることを特徴とする。
このマットレスにおいて、例えば、前記制御部は、前記背角度検出部が検出した背角度が所定時間内に所定角度変化したときに、前記背ボトムが背上げ又は背下げ動作をしていると判定する。また、例えば、前記背角度は、前記背ボトム又はマットレス下層に取り付けた角度センサにより検出されるか、前記マットレス下層又は操作部に取り付けた角度スイッチのオン−オフ信号を検知して求めるか、又は前記背角度は、背ボトムの背上げ動作において背角度を指示する信号から、取得する。又は、前記制御部は、例えば、前記背ボトム又はマットレス下層に取り付けた角度センサ又は前記マットレス下層に取り付けた角度スイッチにより背角度を検出する検出部と、前記背ボトムに対する背角度を指示する信号により背角度を求める検知部と、前記検出部又は前記検知部のいずれかの背角度を選択して前記背角度とする選択部とを有するものである。
本願第1発明によれば、マットレス下層の上の横臥者の背の部分に背抜きエアセルを配置し、背ボトムの背上げ動作又は背下げ動作に応じて、前記背抜きエアセルを膨縮させるので、マットレス下層上に横臥する患者等のベッド利用者の寝位置がベッド長手方向へずれてしまうこと等を確実に防止することができる。また、本願第2発明によれば、マットレス全体に、又はベッド利用者の臀部に相当する位置に圧迫軽減セルを設け、背ボトムが背上げ動作又は背下げ動作をしているときに、圧迫軽減セルの空気を抜いて薄くするので、背上げ動作又は背下げ動作時の圧迫感を軽減することができる。
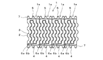
以下、本発明の実施形態について添付の図面を参照して具体的に説明する。図1は、本発明の各実施形態で共通に使用する平板状のエアセルユニット(図示例はエアセルが4セット)を示す平面図、図2(a)は1セットのエアセルを示す平面図、図2(b)は(a)のB部分を示す拡大図、図2(c)は(a)のC部分を示す拡大図である。このエアセルユニット1は、マットレスの上に重ねて配置される。
本実施形態のエアセルユニット1は、4個のユニット1aから構成され、1個のユニット1aが2個のエアセル2,3から構成されている。エアセル2,3は、いずれも平面視でU字状をなし、第1の方向(ベッドの幅方向)に延びる2個の部分が、第2の方向(ベッドの長手方向)に延びる部分でつながれている。そして、各セル2,3は、相互に噛み合うように逆方向を向いて配置されており、各ユニット1aにおいては、連結部4がエアセル2の2個の先端部側に配置されてこれらの両先端部が連結部4に連結されており、連結部5がエアセル3の2個の先端部側に配置されてこれらの両端部が連結部5に連結されている。また、エアセル2は、そのU字屈曲部が連結部5に連結され、エアセル3は、そのU字屈曲部が連結部4に連結されている。そして、エアセル2,3は、いずれも、連結部4側に空気の排出供給口6が設けられている。
なお、このエアセルユニット1は、ウレタンフィルムを2枚重ねにして溶着することにより、エアセルの部分と連結部の部分とを形成し、更に、外周部分を切断し、その後、セル間の部分を切断することにより、製造することができる。従って、この連結部4,5はエアセル2,3と一体的に形成されている。連結部4,5には、この連結部4,5をベッドのフレーム若しくはボトム又はベッド上のマットレスに固定するための突出部7が設けられている。ベッドのフレーム又はボトムに、連結部4,5を固定する場合は、ボルト・ナット等の通常の固定手段を使用すればよい。また、エアセル2,3から構成されるエアセルユニットをベッド上のマットレスに固定する場合、即ち、エアセルユニットとベッドとの間にウレタン等のマットレスを配置する場合は、マットレスを覆うカバーにスナップボタンを取り付けると共に、エアセルユニットにもスナップボタンを取り付け、このスナップボタン同士を係合することにより、エアセルユニットをマットレスに固定することもできる。
本実施形態においては、エアセル2,3はその長手方向にジグザグ状又は千鳥状に伸びており、エアセル2,3は相互に同一形状でその凸部と凹部とを一致させて配置されている。また、図2(b)に示すように、各セル2,3の横断面は台形状をなしており、例えば、セル2は下底が上底より大きな台形状をなし、セル3は逆に上底が下底より大きな逆台形状をなしており、その縁部が相互に上下に重なっている。そして、空気の供給によりセル2,3は台形状又は逆台形状に膨らみ、そのセル2,3間は、傾斜面が重なることにより、寝心地の連続性を確保している。各エアセル2,3は、図1に示すように、ジグザグ状又は千鳥状をなすことにより、その横断面の流路幅が広い部分と、狭い部分とが、セルの長手方向に交互に現れるように、内径が変化している。更に、図2(c)に示すように、セル2,3は相互に分離しており、連結部4,5間のセル2,3は相互に独立して、膨縮することができる。
このように構成されたエアセルユニット1は、連結部4,5により、ベッドのフレーム又はボトムに固定される。この場合に、連結部4,5をスナップボタン等によりかしめるようにして固定してもよい。また、空気の排出供給口6に、送風ポンプに接続された送風チューブを接続する。そして、送風ポンプの制御部に所定の空気圧を設定し、この空気圧設定値になるように、制御部(図示せず)が各セル2,3への送風圧力を制御する。また、制御部は、セル内の圧力を調整し、膨縮の時間等を制御する。なお、セル2,3の上に、ウレタンフォーム等を敷いても良い。
図3は本発明の第1実施形態のマットレスを示す側面図である。マットレス10においては、ベッドフレームに、背ボトム11、腰ボトム12及び脚ボトム13がベッドの長手方向にこの順に配置されており、背ボトム11は腰ボトム12側の端部を支点として揺動することができる。適宜の駆動手段及びリンク機構により、背ボトム11が起き上がる方向に揺動することにより、背上げ動作が行われ、背ボトム11が水平に戻る方向に揺動することにより、背下げ動作が行われる。腰ボトム12はフレームに固定されているが、脚ボトム13は、背ボトム11と同様に揺動する場合もあれば、腰ボトム12と同様に固定の場合もある。このマットレス10においては、この背ボトム11、腰ボトム12及び脚ボトム13の上に例えば、ウレタン製のマットレス下層30が設置される。
そして、このマットレス下層30の上に、マットレス下層30の全面と重なるようにしてエアセルユニット1が設置されている。本実施形態においては、更に、背ボトム11上のエアセルユニット1上におけるベッド横臥者の肩の部分に相当する位置に、背抜きセル40が設けられている。この背の一部に設けられた背抜きセル40は、1個のセルにより構成してもよいし、図1に示すエアセルユニット1と同様に複数セルにより構成してもよい。この背抜きセル40もエアセルユニット1と同様に、加圧空気の供給及び排出により膨縮するが、この背抜きセル40はエアセルユニット1とは独立してその膨縮を制御することができる。
ベッドの背ボトム11の背角度は、背ボトム11又はマットレス下層30の頭部に設けた角度センサ(図示せず)により検出される。この検出された背角度を基に、所定の角度以上に背ボトムが起き上がったときに、背抜きセル40を膨張するというような制御を行う。又は、マットレス若しくはベッド操作部に設けた角度スイッチのオン−オフ信号により、背抜きセル40の膨張を制御する。例えば、マットレス又はベッド操作部に、背ボトムが30°起き上がったときに、オン−オフが切り替わるような角度スイッチを設置し、この角度スイッチが切り替わったときに、背抜きセル40を膨張させるような制御を行う。更に、ベッドの背角度情報をマットレスの制御部が取得するようにしても良い。
なお、エアセルユニット1及び背抜きセル40に対して、個別に設けたポンプ(図示せず)により、加圧空気の供給及び排出を行うこともできるし、また、エアセルユニット1及び背抜きセル40に対する加圧空気の供給を1個のポンプから行い、切替弁を途中に設けることにより、各エアセルユニット1及び背抜きセル40に対する加圧空気の供給を切換制御するようにしてもよい。
次に、上述の如く構成された本第1実施形態のマットレスの動作について説明する。本実施形態は、背上げ時及び背下げ時におけるベッド横臥者のベッド長手方向へのずれを防止するものである。
図4は本実施形態の動作を示すフローチャート図である。所定の制御間隔で、背ボトムの操作があったか否かを判定し(ステップS1)、T秒間(例えば、1分間)背操作がなかったときに(ステップS2)、そのときの背角度を基準角度と設定する(ステップS3)。次に、背操作があり(ステップS4)、この背操作において、背角度が基準角度よりもN度(第3角度、例えば、30°)以上変化したときに(ステップS5)、背抜きセル40に加圧空気を供給し、背抜きセル40内の空気の圧力をP(kPa)(例えば、5kPa)に保持する。その後、t秒間(例えば、10秒間)経過した後、背抜きセル21内を開放し、背抜きセル40内の空気を排出する。
この制御は、背上げ動作及び背下げ動作のいずれにおいても実施することができる。このように背ボトムの揺動中において、背抜きセル40を一定期間(例えば10秒間)膨張させることにより、マットレス上に横臥する患者がベッド長手方向にずれてしまうことを防止できる。
制御部の制御は、上記実施形態に限らず、種々の変形が可能である。例えば、図4の実施形態は、基準背角度を設定するものであった。即ち、制御部の基準設定部が、前記背ボトムの揺動が所定時間ないときにそのときの前記背ボトムの背角度を基準背角度として設定し、第5判定部が前記背ボトムが揺動を開始した後前記背角度が前記基準背角度から所定の第3角度以上変位したことを判定し、第6判定部が前記第5判定部による判定がなされた後所定時間経過したことを判定し、第3制御ユニットが前記第5判定部が判定した時点で前記背抜きエアセルを所定圧力に膨張させ前記第6判定部が判定した時点で前記背抜きエアセルから空気を抜いて収縮させるものである。
しかし、制御部は、この基準背角度を設定する必要は必ずしもない。即ち、制御部の第1判定部が、背角度が増大する過程で、所定の第1角度以上となったことを判定し、制御部の第2判定部が、前記第1判定部による判定がなされた後、所定時間経過したことを判定し、第1制御ユニットが、前記第1判定部が判定した時点で背抜きセル40を所定圧力に膨張させ、前記第2判定部が判定した時点で背抜きセル40から空気を抜いて収縮させるように制御するように構成してもよい。
そして、背角度が減少する過程では、制御部の第3判定部が、所定の第2角度以下となったことを判定し、第4判定部が前記第3判定部による判定がなされた後所定時間経過したことを判定し、第2制御ユニットが、前記第3判定部が判定した時点で背抜きセル40を所定圧力に膨張させ、前記第4判定部が判定した時点で背抜きセル40から空気を抜いて収縮させるように制御するように構成してもよい。
これらの制御では、基準背角度を設定せず、背角度の絶対値で、背抜きセル40の膨縮を制御するものであるが、基準背角度を設定した場合と同様の効果を奏する。
次に、本発明の第2実施形態について説明する。図5(a)、(b)は本実施形態のマットレスを示す側面図である。本実施形態においては、背ボトム11、腰ボトム12及び膝ボトム13上に、例えば、ウレタン製のマットレス下層30が設置され、このマットレス下層30上の全面に、圧迫軽減セルとしてのエアセルユニット1が設置されている。更に、このエアセルユニット1上の全面に、例えば、ウレタンフォームからなるマットレス上層31が敷かれている。従って、エアセルユニット1は、このマットレス下層30とマットレス上層31との間に介装されている。その他の構成は第1実施形態と同様である。なお、図5(a)はエアセルユニット1が膨張した状態、図5(b)はエアセルユニット1が収縮した状態を示す。
次に、この第2実施形態の動作について説明する。本第2実施形態は、ベッド横臥者の背上げ及び背下げ時の圧迫感を軽減するものである。即ち、マットレス上に横臥する患者は、その屈曲中心としての大転子と、背ボトム11の揺動中心とが一致していないため、エアセルユニット1、マットレス下層30及びマットレス上層31等の厚さに起因して、背上げ動作時に、ベッドの背ボトム11と腰ボトム12との間に身体が挟まれ、圧縮応力を受ける。このため、患者は腹部への圧迫感及び背中への引っ張られ感を受ける。本実施形態は、この圧迫感及び引っ張られ感を軽減する。
図6は本実施形態の動作を示すフローチャート図である。背上げ信号又は背下げ信号を入力した後、T秒間(例えば、2秒間)経過した時点(ステップS21)で、エアセルユニット1の内部を開放し(ステップS22)、図5(b)に示すように、加圧空気を排出する。これにより、エアセルユニット1の厚さが実質的になくなり、マットレス全体の厚さが薄くなる。その後、背上げ背下げ操作が停止され、背角度の変化がない状態がT秒間(例えば、5秒間)経過した時点(ステップS23)で、エアセルユニット1内を加圧し、図5(a)に示すように、通常の状態に戻る(ステップS24)。
このように、本実施形態においては、制御部から背上げ信号又は背下げ信号が出力された後、一定期間(T秒間、例えば、5秒間)の間は、エアセルユニット1の内部の空気を抜き、マットレス全体に占めるエアセルユニット1の部分の厚さがない状態にするので、患者の大転子と背ボトム11の揺動中心との差に起因する圧迫感及び引っ張られ感を軽減することができる。
次に、本発明の第3実施形態について説明する。図7(a)、(b)はこの第3実施形態を示す側面図である。本実施形態においては、マットレス30内におけるベッド横臥者の臀部に相当する部分に、圧迫軽減セル41を埋め込んだものである。この圧迫軽減セル41も、エアセルユニット1及び背抜きセル40と同様に、加圧空気の供給及び排出により、膨張したり、収縮したりすることができる。図7(a)は通常の状態(膨張)を示し、図7(b)は背上げ動作又は背下げ動作中の状態(収縮)を示す。
この第3実施形態における動作は、第2実施形態と同様であり、図6と同様の制御フローチャートにより、圧迫軽減セル41に対する加圧空気の供給及び排出が制御される。但し、本実施形態においては、エアセルユニット1によりマットレス全体が、膨張したり、収縮したりするのではなく、臀部にのみ配置された圧迫軽減セル41が、図7(a)に示すように膨張したり、図7(b)に示すように収縮したりする。
なお、上記第2及び第3実施形態では、背ボトムが背上げ動作又は背下げ動作をしていることを、制御部からの背上げ信号又は背下げ信号の出力により、判別したが、これに限らず、例えば、背角度検出部が検出した背角度が所定時間内に所定角度変化したときに、背ボトムが背上げ動作又は背下げ動作をしていると判別してもよい。これにより、わずかな背角度の変動で、エアセルユニット1の膨縮制御が実施されてしまうことを防止できる。
なお、以上の第1乃至第3実施形態は、背ボトム11の背角度を検出して、この背角度に基づいて、エアセルユニット及びエアセルに対する加圧空気の供給排出を制御しているが、本発明はこれに限らず、角度センサをオン−オフする角度スイッチの操作により、加圧空気の供給排出を制御してもよい。
例えば、第1実施形態において、背上げ時の背抜きにおいては、角度スイッチがオフした後、t秒間(例えば、2秒間)以上経過した後、角度スイッチオンになり、この状態がt秒間(例えば20秒間)継続した場合に、背抜きセルを所定圧力(例えば、5kPa)まで加圧する。この角度スイッチがオンの状態及び所定圧力が印加された状態が、t秒間(例えば10秒間)継続された後、圧力を開放する。又は角度スイッチがオフの状態がt秒間(2秒間)継続した場合に、圧力を開放する。
また、背下げ時の背抜きにおいては、角度スイッチがオンした後、t秒間(例えば、2秒間)以上経過した後、角度スイッチオフし、この状態がt秒間(例えば20秒間)継続した場合に、背抜きセルを所定圧力(例えば、5kPa)まで加圧する。この角度スイッチがオフの状態及び所定圧力が印加された状態が、t秒間(例えば10秒間)継続された後、圧力を開放する。又は角度スイッチがオンの状態がt秒間(3秒間)継続した場合に、圧力を開放する。
第2及び第3実施形態の圧迫軽減において、角度スイッチのオフをt秒間(例えば、2秒間)以上継続した後、角度スイッチがオンに切り替わり、その状態がt秒間(例えば2秒間)継続したときに、圧力を開放し、t秒(例えば30秒)後に、設定モードに従い、エアセルユニット1又は圧迫軽減セル41を加圧する。又は、角度スイッチのオフがt秒間(例えば2秒間)継続した場合に、設定モードに従い、エアセルユニット1又は圧迫軽減セル41を加圧する。
また、上述のように角度センサによる背角度の検出又は角度スイッチのオン−オフにより、エアセルユニット及びエアセルに対する加圧空気の供給排出を制御する場合に限らず、前記背角度は、背ボトムの背上げ動作において背角度を指示する信号から、取得することもできる。なお、角度センサ及び角度スイッチの取り付け位置は、背ボトムに限らず、例えば、マットレス下層に角度センサ又は角度スイッチを取り付けてもよい。この角度センサ又は角度スイッチをマットレス下層に取り付けて背角度情報を得る場合は、ベッドの種類及び通信規格を問わず、汎用的に本発明を実施することができる。
本発明の第1乃至第3実施形態で使用するエアセルユニット1を示す平面図である。 (a)は、エアセルユニットの1ユニットを示す平面図、(b)は(a)のBの断面図、(c)は(a)のCの拡大図である。 本発明の第1実施形態に係るマットレスを示す側面図である。 本実施形態の動作を示すフローチャート図である。 (a)、(b)は本発明の第2実施形態に係るマットレスを示す側面図である。 本実施形態の動作を示すフローチャート図である。 (a)、(b)は本発明の第3実施形態に係るマットレスを示す側面図である。
符号の説明
1:エアセルユニット
1a:ユニット
2,3:エアセル
4,5:連結板
6:空気の排出供給口
10:マットレス
11:背ボトム
12:腰ボトム
13:脚ボトム
21:背抜きエアセル
30:マットレス下層
40:背抜きセル
41:圧迫軽減セル

Claims (10)

  1. 少なくとも背ボトムが揺動するベッド寝床部と、このベッド寝床部の上に搭載されるマットレス下層と、このマットレス下層の上の横臥者の背の部分に配置された背抜きエアセルと、この背抜きエアセルに対する空気の供給排出により前記背抜きエアセルを膨縮させる膨縮部と、前記背ボトムの背角度を検出又は取得してこの背角度に基づいて前記膨縮部における前記空気の供給排出を制御する制御部と、を有することを特徴とするマットレス。
  2. 前記制御部は、前記背角度が増大する過程で、所定の第1角度以上となったことを判定する第1判定部と、前記第1判定部による判定がなされた後所定時間経過したことを判定する第2判定部と、前記第1判定部が判定した時点で前記背抜きエアセルを所定圧力に膨張させ前記第2判定部が判定した時点で前記エアセルから空気を抜いて収縮させる第1制御ユニットとを有することを特徴とする請求項1に記載のマットレス。
  3. 前記制御部は、前記背角度が減少する過程で、所定の第2角度以下となったことを判定する第3判定部と、前記第3判定部による判定がなされた後所定時間経過したことを判定する第4判定部と、前記第3判定部が判定した時点で前記背抜きエアセルを所定圧力に膨張させ前記第4判定部が判定した時点で前記背抜きエアセルから空気を抜いて収縮させる第2制御ユニットとを有することを特徴とする請求項1又は2に記載のマットレス。
  4. 前記制御部は、前記背ボトムの揺動が所定時間ないときにそのときの前記背ボトムの背角度を基準背角度として設定する基準設定部と、前記背ボトムが揺動を開始した後前記背角度が前記基準背角度から所定の第3角度以上変位したことを判定する第5判定部と、前記第5判定部による判定がなされた後所定時間経過したことを判定する第6判定部と、前記第5判定部が判定した時点で前記背抜きエアセルを所定圧力に膨張させ前記第6判定部が判定した時点で前記背抜きエアセルから空気を抜いて収縮させる第3制御ユニットとを有することを特徴とする請求項1に記載のマットレス。
  5. 少なくとも背ボトムが揺動するベッド寝床部と、このベッド寝床部の上に搭載されるマットレス下層と、このマットレス下層の全体又は前記マットレス下層におけるベッド利用者の臀部に相当する位置に配置された圧迫軽減セルと、この圧迫軽減セルに対する空気の供給排出により前記圧迫軽減エアセルを膨縮させる膨縮部と、前記背ボトムの背角度を検出する背角度検出部と、前記膨縮部における前記空気の供給排出を制御する制御部と、を有し、前記制御部は、前記背ボトムが背上げ又は背下げ動作をしているときに前記圧迫軽減セルの空気を抜き、前記背ボトムの前記動作の終了後に前記圧迫軽減セルに空気を供給して膨張させることを特徴とするマットレス。
  6. 前記制御部は、前記背角度検出部が検出した背角度が所定時間内に所定角度変化したときに、前記背ボトムが背上げ又は背下げ動作をしていると判定することを特徴とする請求項5に記載のマットレス。
  7. 前記背角度は、前記背ボトム又はマットレス下層に取り付けた角度センサにより検出されることを特徴とする請求項1乃至6のいずれか1項に記載のマットレス。
  8. 前記背角度は、前記マットレス下層又は操作部に取り付けた角度スイッチのオン−オフ信号を検知して求められるものであることを特徴とする請求項1乃至6のいずれか1項に記載のマットレス。
  9. 前記背角度は、背ボトムの背上げ動作において背角度を指示する信号から、取得することを特徴とする請求項1乃至6のいずれか1項に記載のマットレス。
  10. 前記制御部は、前記背ボトム又はマットレス下層に取り付けた角度センサ又は前記マットレス下層に取り付けた角度スイッチにより背角度を検出する検出部と、前記背ボトムに対する背角度を指示する信号により背角度を求める検知部と、前記検出部又は前記検知部のいずれかの背角度を選択して前記背角度とする選択部とを有することを特徴とする請求項1乃至6のいずれか1項に記載のマットレス。
JP2008220548A 2008-08-28 2008-08-28 マットレス Active JP5112224B2 (ja)

Priority Applications (1)

Application Number Priority Date Filing Date Title
JP2008220548A JP5112224B2 (ja) 2008-08-28 2008-08-28 マットレス

Applications Claiming Priority (1)

Application Number Priority Date Filing Date Title
JP2008220548A JP5112224B2 (ja) 2008-08-28 2008-08-28 マットレス

Publications (2)

Publication Number Publication Date
JP2010051598A true JP2010051598A (ja) 2010-03-11
JP5112224B2 JP5112224B2 (ja) 2013-01-09

Family

ID=42068142

Family Applications (1)

Application Number Title Priority Date Filing Date
JP2008220548A Active JP5112224B2 (ja) 2008-08-28 2008-08-28 マットレス

Country Status (1)

Country Link
JP (1) JP5112224B2 (ja)

Cited By (3)

* Cited by examiner, † Cited by third party
Publication number Priority date Publication date Assignee Title
JP2012029922A (ja) * 2010-07-30 2012-02-16 Molten Corp エアマット装置
JPWO2016009818A1 (ja) * 2014-07-15 2017-04-27 パラマウントベッド株式会社 ギャッチベッド用エアマットレス
JP2025075066A (ja) * 2019-01-15 2025-05-14 パラマウントベッド株式会社 制御装置

Citations (6)

* Cited by examiner, † Cited by third party
Publication number Priority date Publication date Assignee Title
JPS5220173A (en) * 1975-08-04 1977-02-15 Kondo Suzue Bedding mattress
JPH02500087A (ja) * 1987-06-01 1990-01-18 キネティック・コンセプツ・インコーポレーテッド 空気損失の少ない患者支持システムの圧力を変化させる方法および装置
JPH03277315A (ja) * 1990-03-28 1991-12-09 France Bed Co Ltd ベッド装置
JP2001095857A (ja) * 1999-03-25 2001-04-10 Matsushita Seiko Co Ltd 身体支持装置とその使用方法
JP2001333942A (ja) * 2000-05-26 2001-12-04 Okamoto Ind Inc 床擦れ防止マット
JP2003339784A (ja) * 2002-03-18 2003-12-02 Paramount Bed Co Ltd ベッド等の仰臥台におけるボトムの昇降制御方法

Patent Citations (6)

* Cited by examiner, † Cited by third party
Publication number Priority date Publication date Assignee Title
JPS5220173A (en) * 1975-08-04 1977-02-15 Kondo Suzue Bedding mattress
JPH02500087A (ja) * 1987-06-01 1990-01-18 キネティック・コンセプツ・インコーポレーテッド 空気損失の少ない患者支持システムの圧力を変化させる方法および装置
JPH03277315A (ja) * 1990-03-28 1991-12-09 France Bed Co Ltd ベッド装置
JP2001095857A (ja) * 1999-03-25 2001-04-10 Matsushita Seiko Co Ltd 身体支持装置とその使用方法
JP2001333942A (ja) * 2000-05-26 2001-12-04 Okamoto Ind Inc 床擦れ防止マット
JP2003339784A (ja) * 2002-03-18 2003-12-02 Paramount Bed Co Ltd ベッド等の仰臥台におけるボトムの昇降制御方法

Cited By (4)

* Cited by examiner, † Cited by third party
Publication number Priority date Publication date Assignee Title
JP2012029922A (ja) * 2010-07-30 2012-02-16 Molten Corp エアマット装置
JPWO2016009818A1 (ja) * 2014-07-15 2017-04-27 パラマウントベッド株式会社 ギャッチベッド用エアマットレス
JP2020096966A (ja) * 2014-07-15 2020-06-25 パラマウントベッド株式会社 エアマットレス及びギャッチベッド用エアマットレス
JP2025075066A (ja) * 2019-01-15 2025-05-14 パラマウントベッド株式会社 制御装置

Also Published As

Publication number Publication date
JP5112224B2 (ja) 2013-01-09

Similar Documents

Publication Publication Date Title
JP5154343B2 (ja) マットレス
US20240423852A1 (en) Mattress bladder arrangement for patient bed
JP5627238B2 (ja) エアマット制御装置
JP4685330B2 (ja) 膨張可能な支持体
JP6456614B2 (ja) 膨縮機能付きエアマットレス
US12310905B2 (en) Bed apparatus and patient detection method
US9655457B2 (en) Patient support systems and methods of use
US20060026768A1 (en) Hospital bed
US20110099723A1 (en) Adjustable Width Mattress with Relief Portions
US20150182400A1 (en) Patient support systems and methods of use
JP2011516117A (ja) 波形に支持表面を適合させるためのアセンブリ
AU2010201121A1 (en) Multiple air source mattress control system
JP6055580B2 (ja) 体位変換用マットレス
JP2020096966A (ja) エアマットレス及びギャッチベッド用エアマットレス
JP5112224B2 (ja) マットレス
JP2017189382A (ja) 枕装置
JP6022299B2 (ja) エアセル制御装置、マットレス装置、ベッド装置及びプログラム
US20240225301A1 (en) Air mattress
US20130167301A1 (en) Air cushion bed with sensing mat capable of detecting the lying of a patient thereon
JP2004194709A (ja) 体位変更装置
JP2010051597A (ja) エアセルシート
JP2006051223A (ja) いびき防止枕
JP6811343B2 (ja) マットレス装置及び体位変換支援ユニット
JP6665054B2 (ja) マットレス装置及び体位変換支援ユニット
JP2008289630A (ja) 床擦れ防止ベッド

Legal Events

Date Code Title Description
A621 Written request for application examination

Free format text: JAPANESE INTERMEDIATE CODE: A621

Effective date: 20110223

A977 Report on retrieval

Free format text: JAPANESE INTERMEDIATE CODE: A971007

Effective date: 20120710

A131 Notification of reasons for refusal

Free format text: JAPANESE INTERMEDIATE CODE: A131

Effective date: 20120724

A521 Request for written amendment filed

Free format text: JAPANESE INTERMEDIATE CODE: A523

Effective date: 20120914

TRDD Decision of grant or rejection written
A01 Written decision to grant a patent or to grant a registration (utility model)

Free format text: JAPANESE INTERMEDIATE CODE: A01

Effective date: 20121009

A01 Written decision to grant a patent or to grant a registration (utility model)

Free format text: JAPANESE INTERMEDIATE CODE: A01

A61 First payment of annual fees (during grant procedure)

Free format text: JAPANESE INTERMEDIATE CODE: A61

Effective date: 20121010

FPAY Renewal fee payment (event date is renewal date of database)

Free format text: PAYMENT UNTIL: 20151019

Year of fee payment: 3

R150 Certificate of patent or registration of utility model

Free format text: JAPANESE INTERMEDIATE CODE: R150

Ref document number: 5112224

Country of ref document: JP

Free format text: JAPANESE INTERMEDIATE CODE: R150

R250 Receipt of annual fees

Free format text: JAPANESE INTERMEDIATE CODE: R250

R250 Receipt of annual fees

Free format text: JAPANESE INTERMEDIATE CODE: R250

R250 Receipt of annual fees

Free format text: JAPANESE INTERMEDIATE CODE: R250

R250 Receipt of annual fees

Free format text: JAPANESE INTERMEDIATE CODE: R250

R250 Receipt of annual fees

Free format text: JAPANESE INTERMEDIATE CODE: R250

R250 Receipt of annual fees

Free format text: JAPANESE INTERMEDIATE CODE: R250

R250 Receipt of annual fees

Free format text: JAPANESE INTERMEDIATE CODE: R250