JP2010051567A - パチンコ機の入賞口装置 - Google Patents

パチンコ機の入賞口装置 Download PDF

Info

Publication number
JP2010051567A
JP2010051567A JP2008220059A JP2008220059A JP2010051567A JP 2010051567 A JP2010051567 A JP 2010051567A JP 2008220059 A JP2008220059 A JP 2008220059A JP 2008220059 A JP2008220059 A JP 2008220059A JP 2010051567 A JP2010051567 A JP 2010051567A
Authority
JP
Japan
Prior art keywords
pachinko
ball
floor surface
door
winning
Prior art date
Legal status (The legal status is an assumption and is not a legal conclusion. Google has not performed a legal analysis and makes no representation as to the accuracy of the status listed.)
Granted
Application number
JP2008220059A
Other languages
English (en)
Other versions
JP5159519B2 (ja
Inventor
Akinori Saida
明紀 齋田
Current Assignee (The listed assignees may be inaccurate. Google has not performed a legal analysis and makes no representation or warranty as to the accuracy of the list.)
Heiwa Corp
Original Assignee
Heiwa Corp
Priority date (The priority date is an assumption and is not a legal conclusion. Google has not performed a legal analysis and makes no representation as to the accuracy of the date listed.)
Filing date
Publication date
Application filed by Heiwa Corp filed Critical Heiwa Corp
Priority to JP2008220059A priority Critical patent/JP5159519B2/ja
Publication of JP2010051567A publication Critical patent/JP2010051567A/ja
Application granted granted Critical
Publication of JP5159519B2 publication Critical patent/JP5159519B2/ja
Expired - Fee Related legal-status Critical Current
Anticipated expiration legal-status Critical

Links

Images

Landscapes

  • Pinball Game Machines (AREA)

Abstract

【課題】奥行き方向の位置が異なるパチンコ球同士についても球止まりを防止でき、また高さ寸法を小さくできるパチンコ機の入賞口装置を提供する。
【解決手段】大入賞口6の扉62と、この扉62の開放時に入賞したパチンコ球を横方向に複数収容可能な入賞室63とを備える入賞口装置であって、入賞室床面65を、複数のパチンコ球が横一列に流下可能な形態とした。球排出口前置床面70に対し、勾配床面69側からの第1パチンコ球と、扉裏面64の球排出口前置床面前側からの第2パチンコ球と、第1,第2パチンコ球間に割り込む方向からの第3パチンコ球とが同時に存在する場合に、第1パチンコ球の球排出口前置床面70への進入を優先させる第3パチンコ球進入抑制部材71を設け、第1〜第3パチンコ球による球止まりをなくす。第2勾配床面69の下り勾配は比較的急にするが、第1勾配床面68の下り勾配はパチンコ球が自重流下し得る程度まで小さくする。
【選択図】図2

Description

本発明は、予め定められた条件を満たすことにより横長の扉が開放し、他の入賞口に比べて短時間に多くのパチンコ球の入賞(入球)が可能な、いわゆる大入賞口を有する大入賞口装置に適用して大なる効果を発揮できるパチンコ機の入賞口装置に関するものである。
従来、パチンコ機においては、扉と、この扉の開放時に遊技盤の盤面上を流下するパチンコ球が入球可能な入賞口を有する入賞室とを備えた入賞装置が知られている。
例えば、大当たりと称する遊技時(大当たり時)に、扉が開放して入賞口に入球し、入賞室の底床部に開口する球排出口に流入したパチンコ球が所定数、例えば10個計数されるか、所定時間、例えば30秒経過すると扉が閉じるという動作を、所定の条件の下、所定時間、例えば5秒間隔で所定回数繰り返されるという入賞装置が知られている。
このような入賞装置では、扉が開放したときには短時間に多くのパチンコ球が入賞口に入球可能に、その入賞口及び入賞室が横長状に形成され、入賞室の底床部の奥側に球排出口が形成されるのが一般的である。しかしこのような入賞装置においては、パチンコ球が球排出口に流入するまでの時間が長くなることがあり、設定数以上、例えば10個以上のパチンコ球が入賞室に入球し易くなるという問題点があった。
そこで従来、「球が流入可能な入賞口を有する入賞室と、前記入賞口を開閉する扉部材と、をそれぞれ備え、前記入賞室の底床部は、その幅方向略中央部の前側から奥側に延びる段差壁を有し、その段差壁の一側部に低床部、他側部に高床部を有して段差状に形成され、前記入賞室の底床部の奥側には前記低床部側に位置して球排出口が形成されている」という入賞装置が開発された(特許文献1参照)。
このような従来技術によれば、入賞室の底床部上をパチンコ球が左右方向に往復動する幅寸法を段差壁において小さく制限することができるので、入賞室に流入したパチンコ球が球排出口に流入するまでに要する時間を短縮でき、設定数以上のパチンコ球が入賞室に入球し易くなるという問題点を解消し得る。
特開2003−284834号公報
上記従来技術では、奥行き方向の位置が同じパチンコ球同士の接触については、それらのパチンコ球間における球止まりを防止することができる。しかし、奥行き方向の位置が異なるパチンコ球同士、例えば入賞室側のパチンコ球と開放中の扉部材側のパチンコ球との間で生じる球止まりについては防止できず、この場合は全パチンコ球が球排出口に流入するまでに要する時間を短縮できない。
また上記従来技術では、球排出口を入賞装置の横方向中央部に形成したため、その左右側と扉側との3方向からパチンコ球を受けることになり、入賞室内に高い段差を設ける構成となった。このため、装置の高さ方向の寸法が大きくなるという問題点があった。
本発明は、上記のような問題点を解消することを課題とするもので、奥行き方向の位置が同じパチンコ球同士についても、また奥行き方向の位置が異なるパチンコ球同士についても、それらが接触した状態で停止してしまう球止まりを防止でき、しかも高さ方向の小型化が可能なパチンコ機の入賞口装置を提供することにある。
上記課題を解決するための手段を以下に述べる。
各手段は、項に区分し、各項に番号を付し、必要に応じて他の項の番号を引用する形式で記載する。これは、本発明の理解を容易にするためであって、本明細書に記載の技術的特徴が以下の各項に記載のものに限定されるものではない。
以下の各手段のうち、(1)項が請求項1に、(3)項が請求項2に、(7)項が請求項3に、各々対応する。(2)項、(4)項、(5)項、(6)項は請求項に係る発明ではない。
(1)横長の入賞口を上端側から開閉自在の扉と、この扉の開放時に前記入賞口を通って入球したパチンコ球を横方向に複数個収容可能な横長の入賞室とを備えるパチンコ機の入賞口装置であって、前記扉は、開放時に、遊技盤の盤面上を流下してくるパチンコ球の受け面となる扉裏面が前記入賞口側に向かってやや下り傾斜となるように開放角度が設定されてなり、前記入賞室は、前記扉の奥側において複数個のパチンコ球が一列に整列して流下可能な横方向に延出する床面と、この床面の一方端の奥側に位置し、到達したパチンコ球を室外に排出させる球排出口が形成された室内最低位面とを有してなり、前記床面は、その他方端から一方端に向けて降下する勾配床面及び前記室内最低位面に通じる球排出口前置床面を有して形成されており、加えて、前記球排出口前置床面に対して、前記勾配床面側から進入しようとする第1パチンコ球と、前記扉裏面の前記球排出口前置床面前側から進入しようとする第2パチンコ球と、これら第1パチンコ球及び第2パチンコ球相互間に割り込む方向から進入しようとする第3パチンコ球とが同時に存在する場合に、前記球排出口前置床面への進入につき前記第1パチンコ球又は第2パチンコ球を優先させるための第3パチンコ球進入抑制部材が、前記第3パチンコ球の前記球排出口前置床面への進入経路面に突出形成されることを特徴とするパチンコ機の入賞口装置。
(2)前記第3パチンコ球進入抑制部材は、前記扉裏面に一体成形されることを特徴とする(1)項に記載のパチンコ機の入賞口装置。
本項に記載の発明によれば、第3パチンコ球進入抑制部材を低コストで形成できる。
(3)前記第3パチンコ球進入抑制部材は、前記第3パチンコ球が前記第1パチンコ球及び第2パチンコ球相互間に割り込み進入しようとした際に乗り上げると、この第3パチンコ球を後退させて前記球排出口前置床面への進入を遅延させる凸部材であることを特徴とする(1)項又は(2)項に記載のパチンコ機の入賞口装置。
(4)前記凸部材は、ドーム状又は上端が丸められた錐(円錐又は角錐)形からなることを特徴とする(3)項に記載のパチンコ機の入賞口装置。
凸部材は、球止まり防止にのみ必要な構成部材であるから、球止まりが生じないパチンコ球流下状況においてパチンコ球が凸部材上を流下することになった場合には、これを円滑に乗り越えられることが望まれる。そこで凸部材を、ドーム状又は上端が丸められた錐形とした。なお凸部材は、第3パチンコ球進入抑制部材としての機能を発揮できる必要最小限の高さがあればよく、なるべく低いことが望まれる。
(5)前記凸部材は、前記扉裏面の横方向一方端をなす側壁面から他方端をなす側壁面側に、パチンコ球直径の1.5倍よりもやや小さな寸法だけ離れた位置に、その中心位置が設定されることを特徴とする(3)項又は(4)項に記載のパチンコ機の入賞口装置。
本項に記載の発明によれば、第2パチンコ球が扉裏面の右端にあり、その左側真横に第3パチンコ球が進入して球止まりが発生しそうな場合に、第3パチンコ球進入抑制のためにその第3パチンコ球を乗り上げさせて後退させるに当たり、凸部材を効果的に作用させ得る。
(6)前記球排出口前置床面に対して、前記勾配床面側から進入しようとする第4パチンコ球と、前記扉裏面側から進入しようとする第5パチンコ球とが同時に存在する場合に、前記球排出口前置床面に進入しようとする前記第5パチンコ球が当接することによってその球排出口前置床面への進入を遅延させる凸部を有する第5パチンコ球進入抑制部材を具備することを特徴とする(1)項〜(5)項のうちのいずれか1の項に記載のパチンコ機の入賞口装置。
本項に記載の発明によれば、球排出口前置床面への進入につき、扉裏面側からの第5パチンコ球よりも勾配床面側からの第4パチンコ球を優先でき、奥行き方向の位置が異なる2個のパチンコ球同士について、それらが接触した状態で停止してしまう球止まりを防止できる。
(7)前記勾配床面は、その他方端から一方端側に向けて順次降下する第1勾配床面及び第2勾配床面からなり、前記第1勾配床面は、パチンコ球が自重で第2勾配床面側に流下可能な第1下り勾配を有して形成され、前記第2勾配床面は、前記第1下り勾配よりも急な第2下り勾配を有して形成されることを特徴とする請求項(1)項〜(6)項のうちのいずれか1の項に記載のパチンコ機の入賞口装置。
(1)項に記載の発明では、奥行き方向の位置が同じパチンコ球同士については、勾配床面に整列して球排出口前置床面に向かって流下するように構成した。また、球排出口前置床面への進入に対して、勾配床面側からの第1パチンコ球、扉裏面の球排出口前置床面前側からの第2パチンコ球と、これら両パチンコ球相互間に割り込む方向からの第3パチンコ球とが同時に存在する場合に、球排出口前置床面への進入につき第1パチンコ球又は第2パチンコ球を優先させるための第3パチンコ球進入抑制部材を、第3パチンコ球の球排出口前置床面への進入経路面に突出形成した。
したがって、(1)項に記載の発明によれば、奥行き方向の位置が同じパチンコ球同士についても、また奥行き方向の位置が異なるパチンコ球同士についても、それらが接触した状態で停止してしまう球止まりを防止できる。また、球排出口を装置横方向の一方端に設けたので、パチンコ球の合流は床面側と扉裏面側の2方向だけとなり、入賞室内に高い段差(急勾配)は不要となって高さ方向の小型化が可能となる。
(3)項に記載の発明によれば、凸部材という簡単な構成によって(1)項に記載の発明の効果を得ることができる。
(7)項に記載の発明によれば、第2勾配床面の下り勾配を比較的急にするが、第1勾配床面の下り勾配はパチンコ球が自重で流下し得る程度まで小さくし得るので、装置の高さ方向の小型化をより効果的に図れる。
なお、(2)項、(4)項、(5)項、(6)項に記載の発明は、本発明(特許請求の範囲に記載した発明)ではないので、上記課題を解決するための手段の欄に、その効果を述べた。
以下、本発明の実施の形態を図面に基づき説明する。なお、各図間において、同一符号は同一又は相当部分を示す。
図1は、本発明が適用されたパチンコ機の一例の要部を示す正面図である。
この図において、1はパチンコ機の遊技盤の盤面である。この盤面1上にはほぼ円弧状にレール2が取り付けられており、このレール2の内側には、遊技領域3が設定されている。レール2は、図示しないハンドルの操作により発射されたパチンコ球(図示せず)を盤面1の左側上部から遊技領域3へ送り込むように案内する。
盤面1上には、レール2の他にも種々の盤面構成部品が設けられている。すなわち、盤面1のほぼ中央には液晶表示器等からなる図柄表示装置4が設けられ、その真下には始動入賞口5が設けられ、また、始動入賞口5の直下には大入賞口6を備えた詳細を後述する大入賞口装置61が設けられている。その他、いくつかの一般入賞口7…、ランプ8、風車9等が盤面1上に設けられている。
盤面1上のレール2の内側の最下部には、入賞しなかったパチンコ球を回収するアウト口10が設けられ、更に、上記各部品4〜9やアウト口10を避けた適宜箇所には、多数の遊技釘11(一部のみ図示)が打ち込まれている。なお、盤面1は透明ガラス板により覆われ、パチンコ球の遊技領域3からの離脱が阻止される。
上記図柄表示装置4の画面4aの表示領域は、所定方向に複数の、ここでは横方向に左、中、右、3つの表示領域LA,CA,RAに分けられている。
これら3つの表示領域LA,CA,RAには各々図柄L,C,Rが表示されるが、表示される図柄L,C,Rは変動可能であり、また、変動開始すると所定時間後に停止するようになされている。この表示図柄L,C,Rは、ここでは3つの表示領域LA,CA,RA共に0〜9までの数字であり、変動表示時にはこの数字0〜9が繰返し表示される。表示図柄L,C,Rの変動は、始動入賞口5へのパチンコ球の入賞により行われる大当たり抽選と共に、又は抽選直後に開始される。
大当たり抽選の結果が大当たりになると(大当たり時には)、大入賞口装置61が作動、具体的には大入賞口装置61の後述する扉が開放、つまり大入賞口6が開放し、他の一般入賞口7や始動入賞口5に比べて短時間に多くのパチンコ球が入賞可能となる。
なお、本発明は図1に示す形態の他、種々の形態の盤面1に適用可能である。
上述したように、始動入賞口5の直下には大入賞口装置61が設けられている。
以下、この大入賞口装置61の一実施形態を詳細に説明する。
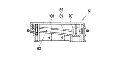
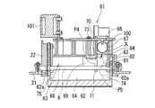
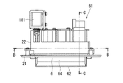
図2は図1中の大入賞口装置61を取り出し拡大して示す斜視図、図3は同じく正面図、図4は同じく平面図、図5は同じく右側面図である。
また、図6は図3中のA−A線断面矢視図、図7は図4中のB−B線断面矢視図、図8は図4中のC−C線断面矢視図であり、図9及び図10は各々動作説明のための図3中のA−A線断面矢視図である。
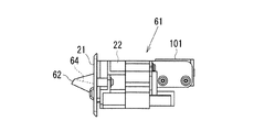
図2〜図8に示すように、本実施形態に係る大入賞口装置61は、平板状のベース部21と、このベース部21にねじ止め等で一体化されるケース部22とを備えて構成され、ベース部21の正面四隅の孔23にビス等を通して図1に示すように盤面1に取り付けられる。ベース部21の正面中央部分には横長の大入賞口6が開口している。ケース部22は合成樹脂により一体成形されている。
大入賞口装置61は、上記大入賞口6を開閉自在の扉62を有し、また、この扉62の開放時に上記大入賞口6を通って入球したパチンコ球を横方向に複数個、図示例では5個程度、収容可能な横長の入賞室63をケース部22内に有する。
上記扉62は、その下部の左右両側から側方に突出する一対の支軸62aを支点として、上端側から開閉自在にベース部22に取り付けられている。そして、その開放時において、盤面1(図1参照)上を流下してくるパチンコ球の受け面となる扉裏面64が大入賞口6側に向かってやや下り傾斜となるように開放角度が設定されている。
また入賞室63は、扉62の奥側において5個程度のパチンコ球が一列に整列して転動、流下可能な横方向に延出する床面65と、この床面65の一方端、図示例では右端の奥側に位置する室内最低位面66とを有して形成されている。
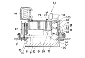
そしてこの室内最低位面66には、ここに到達したパチンコ球を入賞室63外、つまり装置(ケース部22)外に排出させる球排出口67が形成されている。この球排出口67には、大入賞口6に入球したパチンコ球を計数するためのパチンコ球検出器100が組み込まれている。
このパチンコ球検出器100は、ここでは球排出口67を囲むようにリング状に形成され、球排出口67から落下、排出されるパチンコ球を検出可能である。同検出器100によるパチンコ球検出信号はパチンコ機の制御装置(図示せず)に与えられ、計数される。
上記床面65は、その他方端から一方端、図示例では左端から右端に向けて順次降下する第1勾配床面68、第2勾配床面69及び上記室内最低位面66に通じる球排出口前置床面70を有して形成されている。
この場合、第1勾配床面68は、パチンコ球が自重で円滑に第2勾配床面69側へ転動、流下し得る程度の第1下り勾配αを有して形成され、第2勾配床面69は、第1下り勾配αよりも急な第2下り勾配βを有して形成されている(図7参照)。
また、本実施形態に係る大入賞口装置61は、第3パチンコ球進入抑制部材71を備える。この第3パチンコ球進入抑制部材71は、図9に示すように、パチンコ球合流部をなす球排出口前置床面70に対して、第2勾配床面69側から進入しようとする第1パチンコ球P1と、扉裏面64の球排出口前置床面70前側(入賞室正面側)から進入しようとする第2パチンコ球P2と、これら第1及び第2パチンコ球P1,P2相互間に割り込む方向から進入しようとする第3パチンコ球P3とが、球排出口前置床面70近傍に同時に存在する場合に、第1パチンコ球P1又は第2パチンコ球P2を優先して球排出口前置床面70に進入させるための部材である。
この第3パチンコ球進入抑制部材71は、上記のように第1〜第3パチンコ球P1〜P3が存在する場合に、中間に位置する第3パチンコ球P3の球排出口前置床面への進入経路面、つまり扉裏面64に突出形成される。
本実施形態において、上記第3パチンコ球進入抑制部材71は次のように構成されている。
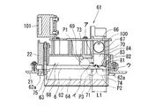
すなわち、図9中の矢印ア,イ,ウに示すように、第1〜第3パチンコ球P1〜P3が球排出口前置床面70に進入しようとした際に、第3パチンコ球P3が乗り上げて、球排出口前置床面70側とは反対方向に戻り移動、つまり後退することにより(図10中、矢印キ参照)、球排出口前置床面70への進入を遅延させるように凸部材によって構成されている。
この凸部材(第3パチンコ球進入抑制部材)71は、半球状や部分球状等のドーム状や、上端が丸められた錐(円錐又は角錐)形等からなる。図8から分かるように、ここでは高さの極低い、畳鋲の頭のような形状に形成されている。
この凸部材71は、ここでは図6に示すように、扉裏面64の横方向右端をなす側壁面74から左端をなす側壁面75側に、パチンコ球直径の1.5倍よりもやや小さな寸法L1だけ離れた位置に、その中心位置が設定されている。このように凸部材71の中心位置が設定された理由は次の通りである。
すなわち、第1〜第3パチンコ球P1〜P3が球排出口前置床面70近傍に同時に存在する場合であって、第1及び第2パチンコ球P1,P2相互間に第3パチンコ球P3が割り込み進入した場合には、これら第1〜第3パチンコ球P1〜P3が、第2勾配床面69の壁面73と扉裏面64の横方向右端をなす側壁面74との間に、図9に示すように並び、かつこの状態でバランスして球止まりが生じる虞がある。
しかし上記のように寸法L1を設定すれば、凸部材71を乗り上がった際の第3パチンコ球P3の重心が、凸部材71の中心位置より球排出口前置床面70側とは反対側に位置することになる。したがって、第1〜第3パチンコ球P1〜P3に球止まりが生じようとしても、第3パチンコ球P3は上記のようなバランスをさせない(パランスを崩す)方向である、球排出口前置床面70側とは反対方向に戻り移動、つまり後退させ得る(図10中、矢印キ参照)。
つまり、第3パチンコ球P3の球排出口前置床面70への進入を遅延させるものであり、第2パチンコ球P2が扉裏面64の右端にあり、その左側真横に第3パチンコ球P3が進入して球止まりが発生しそうな場合に、第3パチンコ球進入抑制のためにその第3パチンコ球P3を乗り上げさせて後退させるに当たって、凸部材71を効果的に作用させ得る位置となるからである。
なお、第3パチンコ球P3が凸部材71に乗り上げて後退すると、始めに第1パチンコ球P1が、次ぎに第2パチンコ球P2が、その後、第3パチンコ球P3が、球排出口前置床面70に進入する。第3パチンコ球P3の後退距離(遅延される時間)等によっては、第2,第3パチンコ球P3の球排出口前置床面70への進入順序は入れ替わり得る。
このような凸部材(第3パチンコ球進入抑制部材)71は、本実施形態では図示するように扉裏面64に一体成形、具体的には扉62に一体成形され、製作コストの低減が図られている。
なお各図において、101は、扉62を開閉する扉開閉用ソレノイドであり、ケース部22に取り付けられている。この扉開閉用ソレノイド101は、大当たり時にパチンコ機の制御装置によって励磁されることにより、扉62を、閉成した状態から、図2〜図10に示すように開放した状態に作動させ、大入賞口6を開放状態とする。図11に閉成した状態の扉62の正面図を示す。
次に、上述実施形態の動作について説明する。
図1において、ハンドル操作により発射されたパチンコ球(図示せず)は、レール2により案内されて盤面1の左側上部から遊技領域3内に打ち込まれ、遊技が開始される。
遊技領域4内に打ち込まれたパチンコ球は、種々の盤面構成部品8,9等や遊技釘11によって方向や速度を変化させながら遊技領域4を流下し、入賞口5〜7のいずれかに入賞するか、アウト口10にて回収される。
パチンコ球が、入賞口5〜7のいずれかに入賞(入球)すると、その入賞口5〜7の種類に応じて決められた数の賞球が払い出される。
始動入賞口5にパチンコ球が入賞すると、図柄表示装置4の画面4aの3つの表示領域LA,CA,RAにおいて各々図柄L,C,Rが変動表示され、所定時間後に停止する。停止時の各図柄L,C,Rが所定の種類、例えば数字の「7」で揃っていると大当たりになる。この大当たり時には、大入賞口装置61が作動して扉62、つまり大入賞口6が開放し、多数のパチンコ球が入賞し得る状態となる。
なお図柄表示装置4は、遊技の進行に伴って上記図柄L,C,Rの変動表示の他、種々の動画等を表示して遊技の演出を行い、遊技を楽しませる。また、ランプ8やスピーカ(図示せず)も、上記のような図柄表示装置4による演出に伴って点消灯し、あるいは演出音を出力し、遊技を楽しませる。
さて、上述したように大当たり時には、図2、図4等に示す扉開閉用ソレノイド101が励磁され、大入賞口装置61が作動状態となってその扉62、つまり大入賞口6が開放し、多数のパチンコ球が入賞し得る状態となる。
すなわち、扉62が開放すると、図1に示す盤面1上において、大入賞口装置61の上方から流下してきたパチンコ球が横長の扉裏面64で受け止められ、同じく横長の大入賞口6に向かって流下し、同大入賞口6を通って入賞室63内に入る。入賞室63内に入ったパチンコ球は、床面65を転動、流下して室内最低位面66に到達し、球排出口67から落下、排出される。
パチンコ球検出器100は、球排出口67からのパチンコ球の排出を検出し、検出信号をパチンコ機の制御装置に与える。この制御装置は、検出信号を計数して計数値が10に達するか、扉開放後、30秒経過すると扉62を閉じる、というラウンド動作を所定時間間隔おいて所定回数(ラウンド)繰り返させる。ここでは、5秒間隔おいて16回繰り返され、その後、大当たり遊技を終了させる。
このように大当たり時には、横長で他の入賞口5,7(図1参照)よりも大きく開口する大入賞口6が開放するので、短時間で多数のパチンコ球が入球し得る状態となる。
本実施形態に係る大入賞口装置61では、図2、図8等から分かるように、流下してくるパチンコ球の受け面となる扉裏面64を大入賞口6側に向けてやや下り傾斜とした。そして、床面65を、複数個のパチンコ球が一列に整列して流下可能に形成し、また入賞室63を、5個程度のパチンコ球を収容可能に形成した。
したがって、扉裏面64で受け止められたパチンコ球は、入賞室63の床面65側に移動し、多くの場合、最終的に床面65(68〜70)において整列されて室内最低位面66に滞りなく送られ、球排出口67から排出される。すなわち、奥行方向の位置が同じ複数のパチンコ球について、球止まりなく室内最低位面66に送られ、球排出口67から排出される。
しかし、図9に示すように、パチンコ球合流部をなす球排出口前置床面70に対して、第2勾配床面69側から進入しようとする第1パチンコ球P1と、扉裏面64の球排出口前置床面70前側(入賞室正面側)から進入しようとする第2パチンコ球P2と、これら第1及び第2パチンコ球P1,P2相互間に割り込む方向から進入しようとする第3パチンコ球P3とが、球排出口前置床面70近傍に同時に存在する場合がある。
このような場合には、球排出口前置床面70に入りきる手前で第1〜第3パチンコ球P1〜P3が相互に当接し合い、その状態でバランスして第1〜第3パチンコ球P1〜P3全てが停止し、その後の動きがとれなくなることがある。いわゆる、球止まりの発生である。
球止まりが発生すると入球球の計数が遅れるため、設定数以上、ここでは10個以上のパチンコ球が入賞室63に入球し易くなり、したがって球止まりは防止されなければならない。
本実施形態では、上記のように第1〜第3パチンコ球P1〜P3が球排出口前置床面70近傍に同時に存在する場合に、第1パチンコ球P1又は第2パチンコ球P2を優先して球排出口前置床面70に進入させるための第3パチンコ球進入抑制部材である凸部材71が設けられている。
この凸部材71は、第3パチンコ球P3の前記球排出口前置床面70への進入経路面をなす扉裏面64に設けられている。したがってこの凸部材71は、図9中の矢印ア,イ,ウに示すように、第1〜第3パチンコ球P1〜P3が球排出口前置床面70に進入しようとした際に、第3パチンコ球P3が乗り上げて、球排出口前置床面70側とは反対方向に戻り移動、つまり後退することにより(図10中、矢印キ参照)、球排出口前置床面70への進入を遅延させる。
特に図示例では、扉裏面64の横方向右端をなす側壁面74から左端をなす側壁面75側に、パチンコ球直径の1.5倍よりもやや小さな寸法L1だけ離れた位置に、凸部材71の中心位置が設定されている。したがって、図9に示すように第1〜第3パチンコ球P1〜P3が並ぶ、典型的な球止まり発生時の直前に、上記のように第3パチンコ球P3を後退させ、球排出口前置床面70への進入を遅延させる機能を有効に作用させ得る。
なお、図10中の矢印カ,クは、矢印キに示すように第3パチンコ球P3が後退したときの第1,第2パチンコ球P1,P2の流下方向を示す。
球排出口前置床面70への第3パチンコ球P3の進入が遅延されると、第1パチンコ球P1は、その間に第2パチンコ球P2に当たることなく、あるいは第2パチンコ球P2に当たっても自身がもつ慣性力によりこれを押し退けながら球排出口前置床面70へ進入する。すなわち、第1パチンコ球P1は第2パチンコ球P2に優先して球排出口前置床面70へ進入する。
第2勾配床面69は球排出口前置床面70より高く、球排出口前置床面70は室内最低位面66より高く、各々高さ位置が設定されているので、球排出口前置床面70へ進入した第1パチンコ球P1は、その後、室内最低位面66に到達する。そして、球排出口67を通って、つまりパチンコ球検出器100で大入賞口入賞球として計数されて、入賞室63(装置外)に排出される。
なお、第2パチンコ球P2は、第1パチンコ球P1の後を追うようにして球排出口前置床面70へ進入し、室内最低位面66に到達し、球排出口67を通って装置外に排出される。第3パチンコ球P3も第1,第2パチンコ球P1,P2と同様に、球排出口前置床面70へ進入し、室内最低位面66に到達し、球排出口67を通って装置外に排出される。
第3パチンコ球P3の後退距離(遅延される時間)や第2パチンコ球P2の位置によっては、第2,第3パチンコ球P2,P3の球排出口前置床面70への進入、ひいては球排出口67からの装置外への排出順序は入れ替わる。
以上述べたように本実施形態では、入賞室63の床面65を、複数個のパチンコ球が一列に整列して流下可能な横方向に延出する形態とし、かつ、床面65を形成する第2勾配床面69を第1勾配床面68よりも急な下り勾配とすると共に、第3パチンコ球進入抑制部材(凸部材)71を設けて、第1パチンコ球P1又は第2パチンコ球P2を優先して球排出口前置床面70に進入するようにした。
したがって本実施形態によれば、奥行き方向の位置が同じパチンコ球同士についても、また奥行き方向の位置が異なるパチンコ球同士(図9においては第1パチンコ球P1と第2,第3パチンコ球P2,P3との間)についても、それらが接触した状態で停止してしまう球止まりを防止できる。
また上述し、図7に示すように、第2勾配床面69の下り勾配βは比較的急にするが、第1勾配床面68の下り勾配αはパチンコ球が自重で流下し得る程度まで小さくし得るので、装置の高さ方向の小型化が図れる。
以上は、図9に示すように入賞室63側の1個のパチンコ球P1と開放中の扉62側の2個のパチンコ球P2,P3との間(合計3個のパチンコ球P1〜P3間)で生じる球止まりの防止について述べたが、図示入賞口装置61によれば、入賞室63側の1個のパチンコ球と開放中の扉62側の1個のパチンコ球との間で生じる球止まりの防止も可能である。以下、これについて図面を参照して説明する。
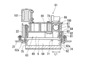
すなわち、図12及び図13に示すように、入賞口装置61は、パチンコ球合流部をなす球排出口前置床面70に対して、第2勾配床面69側から進入しようとする第4パチンコ球P4と、扉裏面64側から進入しようとする第5パチンコ球P5とが、球排出口前置床面70近傍に同時に存在する場合に、第4パチンコ球P4を優先して球排出口前置床面70に進入させるための第5パチンコ球進入抑制部材81を備える。
具体的には、上記のように第4及び第5パチンコ球P4,P5が存在する場合に、球排出口前置床面70の前側、つまり入賞室63正面側に位置する扉裏面64上の第5パチンコ球P5に対して、球排出口前置床面70への進入を遅延させるように形成された第5パチンコ球進入抑制部材81を備える。
この第5パチンコ球進入抑制部材81は次のように構成されている。
すなわち第5パチンコ球進入抑制部材81は、図12中の矢印サ,シに示すように、球排出口前置床面70に進入しようとする第5パチンコ球P5が当接することによって、その球排出口前置床面70への進入を遅延させる凸部82を有して構成されている。
この凸部82は、図示例では球排出口前置床面70上方の扉62に寄った位置に、左方に向かって突出形成されている。またこの凸部82は、球排出口前置床面70に進入した第4パチンコ球P4も当接可能であって、第4パチンコ球P4が当接した場合には、これを室内最低位面66の方向に向かわせる角度に設定された斜面83を有して形成されている。
このような凸部82を有する第5パチンコ球進入抑制部材81は、図示例では入賞室63の右端をなす壁面84に一体成形されている。
次に、上述第5パチンコ球進入抑制部材81の作用について説明する。
上述したようにパチンコ機において、大当たり時には、横長で他の入賞口5,7(図1参照)よりも大きく開口する大入賞口6が開放するので、短時間で多数のパチンコ球が入球し得る状態となる。
このような大入賞口6を備えた大入賞口装置61においては、扉裏面64で受け止められたパチンコ球は、入賞室63の床面65側に移動し、多くの場合、最終的に床面65(68〜70)において整列されて室内最低位面66に滞りなく送られ、球排出口67から排出される。すなわち、奥行方向の位置が同じ複数のパチンコ球について、球止まりなく室内最低位面66に送られ、球排出口67から排出される。
しかし図12に示すように、第2勾配床面69側から球排出口前置床面70に進入しようとする第4パチンコ球P4と、扉裏面64側から球排出口前置床面70に進入しようとする第5パチンコ球P5とが、パチンコ球合流部をなす球排出口前置床面70近傍に同時に存在する場合がある。
このような場合には、球排出口前置床面70に入りきる手前で第4パチンコ球P4と第5パチンコ球P5とが当接し、その状態でバランスして両パチンコ球P4,P5共に停止し、その後の動きがとれなくなるという、球止まりが発生することがある。
球止まりは、発生すると入球球の計数が遅れ、設定数以上のパチンコ球が入賞室63に入球し易くなるので防止されなければならない。
図示例では、上記のように第4及び第5パチンコ球P4,P5が存在する場合に、球排出口前置床面70の前側(図12中、下側)に位置する扉裏面64上の第5パチンコ球P5に対して、球排出口前置床面70への進入を遅延させる第5パチンコ球進入抑制部材81が設けられている。
この第5パチンコ球進入抑制部材81は、図12に示すように、球排出口前置床面70に進入しようとする第5パチンコ球P5が当接することによってその球排出口前置床面70への進入を遅延させる凸部82を有する。図示例では、凸部82は球排出口前置床面70の上方の扉62に寄った位置に、左方に向かって突出形成されているが、図示形態に限定されることはない。
いずれにしても、第5パチンコ球進入抑制部材81の凸部82が設けられていることにより、第5パチンコ球P5は、扉裏面64の右端近傍から球排出口前置床面70に進入しようとした場合に凸部82に当接し、その球排出口前置床面70方向への進行が抑制される。つまり、球排出口前置床面70への進入移動が一旦、止められる。
すると第4パチンコ球P4は、球排出口前置床面70への進入が遅延、抑制された第5パチンコ球P5を矢印シに示す方向に押し退け、矢印サ方向、つまりほぼ直進して球排出口前置床面70に進入する。
第5パチンコ球P5の球排出口前置床面70への進入遅延が比較的大きい場合には、第4パチンコ球P4は第5パチンコ球P5に当たることなく球排出口前置床面70へ進入する。
いずれにしても、第4パチンコ球P4は第5パチンコ球P5に優先して球排出口前置床面70へ進入する(図13中、矢印ス参照)。
第4パチンコ球P4は、球排出口前置床面70に進入後、室内最低位面66に向かって転動、流下するが、ここででは、球排出口前置床面70に進入した第4パチンコ球P4が凸部82に当接した場合に、この第4パチンコ球P4を室内最低位面66の方向に向かわせる角度に設定された斜面83を凸部82に形成している。
したがって、球排出口前置床面70に進入した第4パチンコ球P4は、円滑、迅速に室内最低位面66に到達し、球排出口67から入賞室63外に排出される。すなわち斜面83は、入賞室63に流入し、第2勾配床面69を流下する第4パチンコ球P4等のパチンコ球について、球排出口67に流入するまでに要する時間の短縮に寄与する。
このような凸部82を有する第5パチンコ球進入抑制部材81は、図示例では入賞室63の右端をなす壁面84に一体成形、具体的にはケース部22に一体成形したので、製作コストの低減が図れる。
以上述べた実施形態では、入賞室63の床面65を、複数個のパチンコ球が一列に整列して流下可能な横方向に延出する形態とし、かつ、床面65を形成する第2勾配床面69を第1勾配床面68よりも急な下り勾配とすると共に、第5パチンコ球進入抑制部材81(凸部82)を設けて、第2勾配床面69のパチンコ球を最優先で球排出口前置床面70に進入するようにした。
したがって本実施形態によれば、奥行き方向の位置が同じパチンコ球同士についても、また奥行き方向の位置が異なるパチンコ球P4,P5(図12、図13参照)同士についても、それらが接触した状態で停止してしまう球止まりを防止できる。
なお図示例では、室内最低位面66(球排出口67)を入賞室床面65の右端の奥側に設けたが、これを同床面65の左端の奥側に設けてもよい。この場合、床面65の下り勾配の形成方向は左右逆になり、また、第3,第5パチンコ球進入抑制部材71,81等、左右片側にしかない構成部材の左右位置は反転する。
本発明が適用されたパチンコ機の一例の要部を示す正面図である。 図1中の大入賞口装置を取り出し拡大して示す斜視図である。 同じく正面図である。 同じく平面図である。 同じく右側面図である。 図3中のA−A線断面矢視図である。 図4中のB−B線断面矢視図である。 図4中のC−C線断面矢視図である。 動作説明のための図3中のA−A線断面矢視図である。 同じく図3中のA−A線断面矢視図である。 閉成時の大入賞口装置を拡大して示す正面図である。 他の実施形態の動作説明のための図3中のA−A線断面矢視図である。 同じく図3中のA−A線断面矢視図である。
符号の説明
1:盤面、6:大入賞口、61:大入賞口装置、62:扉、63:入賞室、64:扉裏面、65:床面、66:室内最低位面、67:球排出口、68:第1勾配床面、69:第2勾配床面、70:球排出口前置床面、71:第3パチンコ球進入抑制部材(凸部材)、81:第5パチンコ球進入抑制部材、82:凸部、100パチンコ球検出器、P1:第1パチンコ球、P2:第2パチンコ球、P3:第3パチンコ球、α:第1下り勾配、β:第2下り勾配。

Claims (3)

  1. 横長の入賞口を上端側から開閉自在の扉と、この扉の開放時に前記入賞口を通って入球したパチンコ球を横方向に複数個収容可能な横長の入賞室とを備えるパチンコ機の入賞口装置であって、
    前記扉は、開放時に、遊技盤の盤面上を流下してくるパチンコ球の受け面となる扉裏面が前記入賞口側に向かってやや下り傾斜となるように開放角度が設定されてなり、
    前記入賞室は、前記扉の奥側において複数個のパチンコ球が一列に整列して流下可能な横方向に延出する床面と、この床面の一方端の奥側に位置し、到達したパチンコ球を室外に排出させる球排出口が形成された室内最低位面とを有してなり、
    前記床面は、その他方端から一方端に向けて降下する勾配床面及び前記室内最低位面に通じる球排出口前置床面を有して形成されており、加えて、
    前記球排出口前置床面に対して、前記勾配床面側から進入しようとする第1パチンコ球と、前記扉裏面の前記球排出口前置床面前側から進入しようとする第2パチンコ球と、これら第1パチンコ球及び第2パチンコ球相互間に割り込む方向から進入しようとする第3パチンコ球とが同時に存在する場合に、前記球排出口前置床面への進入につき前記第1パチンコ球又は第2パチンコ球を優先させるための第3パチンコ球進入抑制部材が、前記第3パチンコ球の前記球排出口前置床面への進入経路面に突出形成されることを特徴とするパチンコ機の入賞口装置。
  2. 前記第3パチンコ球進入抑制部材は、前記第3パチンコ球が前記第1パチンコ球及び第2パチンコ球相互間に割り込み進入しようとした際に乗り上げると、この第3パチンコ球を後退させて前記球排出口前置床面への進入を遅延させる凸部材であることを特徴とする請求項1に記載のパチンコ機の入賞口装置。
  3. 前記勾配床面は、その他方端から一方端側に向けて順次降下する第1勾配床面及び第2勾配床面からなり、
    前記第1勾配床面は、パチンコ球が自重で第2勾配床面側に流下可能な第1下り勾配を有して形成され、前記第2勾配床面は、前記第1下り勾配よりも急な第2下り勾配を有して形成されることを特徴とする請求項1又は2に記載のパチンコ機の入賞口装置。
JP2008220059A 2008-08-28 2008-08-28 パチンコ機の入賞口装置 Expired - Fee Related JP5159519B2 (ja)

Priority Applications (1)

Application Number Priority Date Filing Date Title
JP2008220059A JP5159519B2 (ja) 2008-08-28 2008-08-28 パチンコ機の入賞口装置

Applications Claiming Priority (1)

Application Number Priority Date Filing Date Title
JP2008220059A JP5159519B2 (ja) 2008-08-28 2008-08-28 パチンコ機の入賞口装置

Publications (2)

Publication Number Publication Date
JP2010051567A true JP2010051567A (ja) 2010-03-11
JP5159519B2 JP5159519B2 (ja) 2013-03-06

Family

ID=42068113

Family Applications (1)

Application Number Title Priority Date Filing Date
JP2008220059A Expired - Fee Related JP5159519B2 (ja) 2008-08-28 2008-08-28 パチンコ機の入賞口装置

Country Status (1)

Country Link
JP (1) JP5159519B2 (ja)

Cited By (2)

* Cited by examiner, † Cited by third party
Publication number Priority date Publication date Assignee Title
JP2017051719A (ja) * 2016-12-19 2017-03-16 株式会社サンセイアールアンドディ 遊技機
JP2019058440A (ja) * 2017-09-27 2019-04-18 株式会社サンセイアールアンドディ 遊技機

Citations (2)

* Cited by examiner, † Cited by third party
Publication number Priority date Publication date Assignee Title
JP2003275413A (ja) * 2002-03-25 2003-09-30 Nippon Pachinko Buhin Kk パチンコ機の入賞装置
JP2003284834A (ja) * 2002-03-28 2003-10-07 Daiichi Shokai Co Ltd 遊技機

Patent Citations (2)

* Cited by examiner, † Cited by third party
Publication number Priority date Publication date Assignee Title
JP2003275413A (ja) * 2002-03-25 2003-09-30 Nippon Pachinko Buhin Kk パチンコ機の入賞装置
JP2003284834A (ja) * 2002-03-28 2003-10-07 Daiichi Shokai Co Ltd 遊技機

Cited By (3)

* Cited by examiner, † Cited by third party
Publication number Priority date Publication date Assignee Title
JP2017051719A (ja) * 2016-12-19 2017-03-16 株式会社サンセイアールアンドディ 遊技機
JP2019058440A (ja) * 2017-09-27 2019-04-18 株式会社サンセイアールアンドディ 遊技機
JP7044348B2 (ja) 2017-09-27 2022-03-30 株式会社サンセイアールアンドディ 遊技機

Also Published As

Publication number Publication date
JP5159519B2 (ja) 2013-03-06

Similar Documents

Publication Publication Date Title
JP5548348B2 (ja) 遊技機
JP2016087320A (ja) 弾球遊技機
JP5159519B2 (ja) パチンコ機の入賞口装置
JP2016087319A (ja) 弾球遊技機
JP4577882B2 (ja) 遊技機
JP4644237B2 (ja) 弾球遊技機
JP5590782B2 (ja) パチンコ機の入賞口装置
JP4591813B2 (ja) 遊技機
JP2014023777A (ja) 遊技機
JP6086504B2 (ja) 遊技機
JP2013000134A (ja) 役物装置、並びに遊技機
JP2015221105A (ja) 遊技機
JP2010284320A (ja) パチンコ遊技機
JP2016016141A (ja) 弾球遊技機
JPH07108334B2 (ja) 弾球遊技機
JP2007252538A (ja) 遊技機
JP4546806B2 (ja) 遊技機
JP5328188B2 (ja) ステージ構造
JP5116597B2 (ja) 遊技機
JP2005046489A (ja) 遊技機
JP2008301964A (ja) 遊技機の役物
JP5088491B2 (ja) 遊技機
JP5441295B2 (ja) 遊技機
JP5025620B2 (ja) パチンコ機
JP2010253022A (ja) パチンコ遊技機

Legal Events

Date Code Title Description
A621 Written request for application examination

Free format text: JAPANESE INTERMEDIATE CODE: A621

Effective date: 20110519

A131 Notification of reasons for refusal

Free format text: JAPANESE INTERMEDIATE CODE: A131

Effective date: 20120919

A521 Written amendment

Free format text: JAPANESE INTERMEDIATE CODE: A523

Effective date: 20121102

TRDD Decision of grant or rejection written
A01 Written decision to grant a patent or to grant a registration (utility model)

Free format text: JAPANESE INTERMEDIATE CODE: A01

Effective date: 20121205

A61 First payment of annual fees (during grant procedure)

Free format text: JAPANESE INTERMEDIATE CODE: A61

Effective date: 20121211

R150 Certificate of patent or registration of utility model

Ref document number: 5159519

Country of ref document: JP

Free format text: JAPANESE INTERMEDIATE CODE: R150

Free format text: JAPANESE INTERMEDIATE CODE: R150

FPAY Renewal fee payment (event date is renewal date of database)

Free format text: PAYMENT UNTIL: 20151221

Year of fee payment: 3

R250 Receipt of annual fees

Free format text: JAPANESE INTERMEDIATE CODE: R250

R250 Receipt of annual fees

Free format text: JAPANESE INTERMEDIATE CODE: R250

R250 Receipt of annual fees

Free format text: JAPANESE INTERMEDIATE CODE: R250

R250 Receipt of annual fees

Free format text: JAPANESE INTERMEDIATE CODE: R250

R250 Receipt of annual fees

Free format text: JAPANESE INTERMEDIATE CODE: R250

LAPS Cancellation because of no payment of annual fees