JP2010048831A - ガスセンサ - Google Patents

ガスセンサ Download PDF

Info

Publication number
JP2010048831A
JP2010048831A JP2009275077A JP2009275077A JP2010048831A JP 2010048831 A JP2010048831 A JP 2010048831A JP 2009275077 A JP2009275077 A JP 2009275077A JP 2009275077 A JP2009275077 A JP 2009275077A JP 2010048831 A JP2010048831 A JP 2010048831A
Authority
JP
Japan
Prior art keywords
atmosphere
gas sensor
side cover
cover
housing
Prior art date
Legal status (The legal status is an assumption and is not a legal conclusion. Google has not performed a legal analysis and makes no representation as to the accuracy of the status listed.)
Granted
Application number
JP2009275077A
Other languages
English (en)
Other versions
JP4706790B2 (ja
Inventor
Hiroshi Noda
浩史 野田
Takashi Kojima
孝志 児島
Current Assignee (The listed assignees may be inaccurate. Google has not performed a legal analysis and makes no representation or warranty as to the accuracy of the list.)
Denso Corp
Original Assignee
Denso Corp
Priority date (The priority date is an assumption and is not a legal conclusion. Google has not performed a legal analysis and makes no representation as to the accuracy of the date listed.)
Filing date
Publication date
Application filed by Denso Corp filed Critical Denso Corp
Priority to JP2009275077A priority Critical patent/JP4706790B2/ja
Publication of JP2010048831A publication Critical patent/JP2010048831A/ja
Application granted granted Critical
Publication of JP4706790B2 publication Critical patent/JP4706790B2/ja
Anticipated expiration legal-status Critical
Expired - Lifetime legal-status Critical Current

Links

Images

Classifications

    • GPHYSICS
    • G01MEASURING; TESTING
    • G01NINVESTIGATING OR ANALYSING MATERIALS BY DETERMINING THEIR CHEMICAL OR PHYSICAL PROPERTIES
    • G01N27/00Investigating or analysing materials by the use of electric, electrochemical, or magnetic means
    • G01N27/26Investigating or analysing materials by the use of electric, electrochemical, or magnetic means by investigating electrochemical variables; by using electrolysis or electrophoresis
    • G01N27/403Cells and electrode assemblies
    • G01N27/406Cells and probes with solid electrolytes
    • G01N27/407Cells and probes with solid electrolytes for investigating or analysing gases
    • G01N27/4078Means for sealing the sensor element in a housing
    • GPHYSICS
    • G01MEASURING; TESTING
    • G01NINVESTIGATING OR ANALYSING MATERIALS BY DETERMINING THEIR CHEMICAL OR PHYSICAL PROPERTIES
    • G01N27/00Investigating or analysing materials by the use of electric, electrochemical, or magnetic means
    • G01N27/26Investigating or analysing materials by the use of electric, electrochemical, or magnetic means by investigating electrochemical variables; by using electrolysis or electrophoresis
    • G01N27/403Cells and electrode assemblies
    • G01N27/406Cells and probes with solid electrolytes
    • G01N27/407Cells and probes with solid electrolytes for investigating or analysing gases

Landscapes

  • Chemical & Material Sciences (AREA)
  • Life Sciences & Earth Sciences (AREA)
  • Health & Medical Sciences (AREA)
  • Physics & Mathematics (AREA)
  • Chemical Kinetics & Catalysis (AREA)
  • Electrochemistry (AREA)
  • Molecular Biology (AREA)
  • Analytical Chemistry (AREA)
  • Biochemistry (AREA)
  • General Health & Medical Sciences (AREA)
  • General Physics & Mathematics (AREA)
  • Immunology (AREA)
  • Pathology (AREA)
  • Measuring Oxygen Concentration In Cells (AREA)
  • Investigating Or Analyzing Materials By The Use Of Fluid Adsorption Or Reactions (AREA)

Abstract

【課題】外力を受けた場合に素子割れが生じ難いガスセンサを得ること。
【解決手段】ハウジング10に素子側絶縁碍子21を介して挿通固定したガスセンサ素子2と、ハウジング10の先端側に配置した筒型の被測定ガス側カバー11と、ハウジング10の基端側に配置した筒型の大気側カバー3と、該大気側カバー3の内部において、ガスセンサ素子2の基端側を覆って配置した大気側絶縁碍子22とを有する。大気側カバー3は、ビッカース硬度が200〜400となる硬化部を有する。
【選択図】図1

Description

本発明は,自動車エンジン等の内燃機関の排気系にとりつけて内燃機関の燃焼制御等に用いるガスセンサに関する。
従来、自動車エンジンにおいて空燃比制御を行うため、特許文献1のような構成を備えたガスセンサを、排気管上流部に設けることがある。
近年は、排気ガス規制の強化に伴って触媒コンバータから排出される排気ガスの状態をモニタするため、触媒コンバータの更に下流側等にガスセンサを設ける事例が増えてきた。
特開2002−174622号公報
しかしながら、排気管の下流部にガスセンサを設けるということは、ガスセンサの搭載位置がより車両の下側となるため、飛び石があたる等、外力を受ける確率が高くなる。外力を受けた場合、表面に露出しているカバーが変形し、この変形をきっかけとしてガスセンサ内部に収納されているガス濃度を検出する素子に割れが生じるおそれがある。
したがって、外力を受けても素子割れが生じ難いガスセンサが求められている。
ここで、外力を受けても素子割れが生じ難いガスセンサを得るために表面に露出しているカバーの肉厚を厚くすることも考えられるが、カバーの肉厚が厚いガスセンサは、重量が増える、カバーの成形が困難となるという欠点が生じるため、好ましい解決策ではない。
以上、本発明は、従来の問題点を鑑みて、外力を受けた場合に素子割れが生じ難いガスセンサを得ようとするものである。
本発明は、筒型のハウジングと該ハウジングの内部に素子側絶縁碍子を介して挿通固定したガスセンサ素子と、上記ハウジングの先端側に、上記ガスセンサ素子の先端側を覆って配置した筒型の被測定ガス側カバーと、上記ハウジングの基端側に配置した筒型の大気側カバーと、該大気側カバーの内部において、ガスセンサ素子の基端側を覆って配置した大気側絶縁碍子とを有するガスセンサにおいて、
上記大気側カバーは、ビッカース硬度が200〜400となる硬化部を有することを特徴とするガスセンサにある(請求項1)。
外力が加わりガスセンサ内部で素子割れが生じる原因のひとつは、大気側カバーが外力で変形した結果、変形部分が大気側絶縁碍子に接触し、そこから外力がダイレクトにガスセンサ素子に伝達するためと考えられる。
それゆえ、大気側カバーが変形し難ければ、大気側カバーの変形部分が大気側絶縁碍子と接触する可能性が減少する。従って、大気側カバーに硬化部を設けることで、大気側カバーの変形を生じ難くして、素子割れの確率を減らすことができる。
以上、本発明によれば、外力を受けた場合に素子割れが生じ難いガスセンサを得ることができる。
実施例1にかかる、衝撃緩和部を有するガスセンサの断面説明図。 実施例1にかかる、ガスセンサの大気側カバー径太部における横断面図の説明図。 実施例2にかかる、大気側カバーの断面説明図。 実施例2にかかる、大気側カバーに硬化部を有するガスセンサの断面説明図。 実施例2にかかる、ガスセンサの大気側カバー径太部における横断面図の説明図。 実施例2にかかる、大気側カバーの断面説明図。 実施例3にかかる、素子割れ率と大気側カバーと大気側絶縁碍子との最短距離との関係を示す線図。 実施例4にかかる、素子割れ率と大気側カバーの硬度との関係を示す線図。 実施例5にかかる、大気側カバーに剛性強化部を有するガスセンサの断面説明図。 実施例5にかかる、ガスセンサの大気側カバー径太部における横断面図の説明図。 実施例5にかかる、大気側カバーの断面説明図。 実施例5にかかる、大気側カバーに短い剛性強化部を有するガスセンサの断面説明図。 実施例5にかかる、ガスセンサの大気側カバー径太部における横断面図の説明図。 実施例5にかかる、大気側カバーの断面説明図。
本発明にかかるガスセンサとは、被測定ガス中の特定ガス濃度を検出可能なガスセンサ素子を内蔵したもので、特定ガスとしては酸素、NOx、CO、HC等がある。また、酸素濃度の検出可能な素子としては限界電流式、濃淡起電力式いずれのタイプでも用いることができる。また、自動車等の各種車両のエンジン燃焼室のA/Fを測定するよう構成した素子を用いることができる。また、素子の構造も積層型、コップ型、素子を測定可能温度に加熱するヒータが一体式であっても別体式であってもよい。
なお、本明細書において、ガスセンサにおける先端側とは被測定ガス側カバーを設けた側、そして大気側カバーを設けた側を基端側と記載する。
また、大気側カバーはひとつのカバー部材からなる場合と、別体のカバー部材を複数組み合わせて構成する場合とがあり、また大気側カバーに対し別のカバー部材(例えば後述する実施例1にかかる外側カバー部材)を設けてなる構成もありうる。
このように本発明はガスセンサの各部の詳細構成にかかわらず、適用することができる。
参考発明として、筒型のハウジングと該ハウジングの内部に素子側絶縁碍子を介して挿通固定したガスセンサ素子と、上記ハウジングの先端側に、上記ガスセンサ素子の先端側を覆って配置した筒型の被測定ガス側カバーと、上記ハウジングの基端側に配置した筒型の大気側カバーと、該大気側カバーの内部において、ガスセンサ素子の基端側を覆って配置した大気側絶縁碍子とを有するガスセンサにおいて、
上記大気側カバーは、基端側から順に、内部に絶縁弾性体をかしめ固定する径細部と、該径細部から外方に突出し径の大きさが変わる切替部と、大気側絶縁碍子と対面する径太部と、上記ハウジングの基端側に圧入される圧入部とを有し、
上記径太部の内側面と上記大気側絶縁碍子の外側面との間に、最短距離が1〜2.5mmであるクリアランスからなる衝撃緩和部を有することを特徴とするガスセンサがある。
上記参考発明のように、大気側カバーと内部の大気側絶縁碍子との距離を離してやり、大気側カバーの変形部分が大気側絶縁碍子に接触し難くすることで、素子割れの発生確率を減らすことができる。
上記参考発明において、上記径太部の内側面と上記大気側絶縁碍子の外側面との間に、最短距離が1〜2.5mmであるクリアランスからなる衝撃緩和部が設けてあるが、大気側カバーをガスセンサ軸方向と直交する方向に沿った切断面を考えた場合、径太部の内側面と大気側絶縁碍子の外側面との間に、一箇所でも1〜2.5mmとなる部分があれば、そこが衝撃緩和部として機能するが、内側面と外側面のいずれの間隙においても1〜2.5mmの範囲内におさまることがより望ましい。
衝撃緩和部が1mm未満である場合は、外力により大気側カバーが変形した場合に、変形部分が大気側絶縁碍子に接触し、そこから外力がダイレクトにガスセンサ素子に伝達し、最悪の場合素子割れが発生するおそれがあり、2.5mmより大きい場合、大気側カバーをより径大に構成せねばならず、ガスセンサの体格大型化につながり好ましくない。
次に、上記衝撃緩和部は、上記径太部の軸方向に沿った全体に設けてあることが好ましい。
これにより、径方向のみならず軸方向に沿って充分に大気側カバーと大気側絶縁碍子とのクリアランスを確保することができて、大気側カバーの変形部分が大気側絶縁碍子に接触し難くすることができ、素子割れの発生確率を減らすことができる。
また、本発明において、上記大気側カバーは、ビッカース硬度が200〜400となる硬化部を有する。
ここで硬化部のビッカース硬度が200未満である場合は、本発明にかかる効果を充分えられないおそれがある。ビッカース硬度が400を越えた場合は、硬すぎるため加工困難となるおそれがあり、実用的でない。
また、上記大気側カバーは、基端側から順に、内部に絶縁弾性体をかしめ固定する径細部と、該径細部から外方に突出し径の大きさが変わる切替部と、大気側絶縁碍子と対面する径太部と、上記ハウジングの基端側に圧入される圧入部とを有し、上記圧入部のビッカース硬度は140〜200であることが好ましい(請求項2)。
これにより、圧入部をやわらかくすることができ、ハウジングに対する圧入を容易に実行することができる。
ビッカース硬度が140未満の耐食性を備えた大気側カバーに適する材料は入手し難く、200を越えると硬すぎるため圧入が困難となるおそれがある。
また、上記大気側カバーは加工硬化面からなることが好ましい(請求項3)。
加工硬化とは、特異な例を除き、金属に応力を与えると結晶のすべりが生じ、そのすべり面に対しての抵抗がだんだん増して、該抵抗がある程度大きくなると他の面に順次移っていく(塑性変形)特性によって、冷間加工により変形が進めば進むほど抵抗が大きくなり金属が硬さを増す特性を利用して金属を硬化させる処理のことである。
本発明にかかる大気側カバーに対し、ビッカース硬度が所定の範囲にある硬化部を設ける際に、上述した加工硬化を利用することができる。
また、上記大気側カバーに剛性強化部を設けることが好ましい(請求項4)。
この場合には、剛性強化部により、外力による大気側カバーの変形が生じ難く、従って素子割れの確率を減らすことができる。
ここで、剛性強化部とは、大気側カバーの他の部分と比較して剛性が大きい部分をいう。剛性の大小は大気側カバーに外力を加えた場合において変形量が小の部分を剛性大、変形量が大の部分を剛性小と判断する。
この剛性強化部の具体例として、軸方向に延びる凸部と凹部が周方向に交互に配列された構造がある(請求項5)。軸方向に延びる凸部と凹部が周方向に交互に配列された構造は、単なる円筒形状と比較して剛性を大きくすることができる。ここで、「軸方向に延びる」とは、ガスセンサの軸線と平行な方向に延びるものに限らず、軸線に対して傾斜しているものを含む。また、「周方向に交互に配列」とは、周方向に等間隔に配置されているものに限らず、不等間隔に配置されているものも含む。
上記大気側カバーは、その肉厚が0.3〜0.8mmであることが好ましい(請求項6)。肉厚が0.3mm未満だと肉厚が薄すぎるため成形時に材料が破断してしまうおそれがある。肉厚が0.8mmを超えた場合は肉厚が厚すぎるため成形が困難になる上、ガスセンサの重量増加となるため好ましくない。
また、上記大気側カバーはオーステナイト系ステンレスであることが好ましい(請求項7)。オーステナイト系ステンレスであれば、耐蝕性に優れるガスセンサを得ることができる。
(実施例1)
本発明にかかる実施例として、図1にかかるガスセンサについて説明する。
本例のガスセンサ1は、図1に示すごとく、筒型のハウジング10と該ハウジング10の内部に素子側絶縁碍子21を介して挿通固定したガスセンサ素子2と、上記ハウジング10の先端側に、上記ガスセンサ素子2の先端側を覆って配置した筒型の被測定ガス側カバー11と、上記ハウジング10の基端側に配置した筒型の大気側カバー3と、該大気側カバー3の内部において、ガスセンサ素子2の基端側を覆って配置した大気側絶縁碍子22とを有する。
上記大気側カバー3は、基端側から順に、内部に絶縁弾性体13をかしめ固定する径細部31と、該径細部31から外方に突出し径の大きさが変わる切替部32と、大気側絶縁碍子22と対面する径太部33と、上記ハウジング10の基端側に圧入される圧入部34とを有する。
そして、上記径太部33の内側面30と上記大気側絶縁碍子22の外側面220との間に、最短距離が1〜2.5mmであるクリアランスからなる衝撃緩和部35を有する。
また、上記衝撃緩和部35は、上記径太部33の軸方向に沿った全体に設けてある。
以下、詳細に説明する。
筒型のハウジング10の先端側に、二重構成の被測定ガス側カバー11を配置し、基端側に大気側カバー3を配置する。大気側カバー3の基端側の外側には筒型の撥水フィルタ120を介して外側カバー12をかしめ固定する。
ガスセンサ素子2は、筒型の素子側絶縁碍子21に挿通され、素子2と素子側絶縁碍子21との間は、ガラス質のシール材210でシール固定してある。
ガスセンサ素子2の先端側は、上記被測定ガス側カバー11の内部にて被測定ガスにさらされ、基端側は電極取出パッド(図示略)を備え、該電極取出パッドは大気側絶縁碍子22内において電極取出バネ23と当接する。電極取出バネ23はリード線25と導通した接続端子24と接続される。ここよりガスセンサ素子2の信号出力を取り出したり、該素子2に一体的に設けられたヒータ(図示略)に電力供給を行うことができる。
大気側カバー3の基端側は、上記リード線25が通された絶縁弾性体13がある。絶縁弾性体13は、大気側カバー3の外側から外側カバー12ごとかしめることで固定されている。
大気側カバー3は、肉厚0.5mmのオーステナイト系ステンレス製筒からなり、断面は略円形である。
基端側から順に、内部に絶縁弾性体13を、外部に上記外側カバー12をかしめ固定する径細部31と、該径細部31から外方に突出し径の大きさが変わる切替部32と、大気側絶縁碍子22と対面する径太部33と、上記ハウジング10の基端側に圧入される圧入部34とを有する。図1に示すように、径細部31はA〜B1の間、切替部32はB1〜B2の間、B2〜Cの間が径太部33、圧入部34はC〜Dの間である。
また、かしめや圧入等を行う前の大気側カバー3は、図3に示すように、径細部31、径太部33においてそれぞれ径が略一定である。
円盤型の皿バネ14を、切替部32の下側と大気側絶縁碍子22の基端側の端面との間に配置する。
素子側絶縁碍子21の基端側端面に大気側絶縁碍子22を配置し、大気側カバー3をハウジング10の基端側に対し圧入することで皿バネ14に先端側に向かう押圧力を発生させる。この押圧力が大気側カバー3内の所定の位置に大気側絶縁碍子22を固定する。
大気側カバー3の径太部の断面を図2に示す。
本例における大気側カバー3の径太部33の内側面30と上記大気側絶縁碍子22の外側面220との間の最短距離は符号mであり(図1にも記載した)、本例にかかるmは、径太部33の内側面30と大気側絶縁碍子22との外側面220の周側、軸方向側の全体にわたって1〜2.5mmの範囲にあり、この部分が衝撃緩和部35となる。
本例にかかるガスセンサ1は、衝撃緩和部35を設けることで、大気側カバー3と大気側絶縁碍子22との距離が広くなる。
外力が加わりガスセンサ1の内部で素子割れが生じる原因のひとつは、大気側カバー3が外力で変形した結果、変形部分が大気側絶縁碍子22に接触し、そこから外力がダイレクトにガスセンサ素子2に伝達するためと考えられる。
従って、本例にかかるガスセンサ1によれば、大気側カバー3の変形部分が大気側絶縁碍子22に接触し難くすることができ、素子割れの発生確率を減らすことができる。
(実施例2)
本例にかかるガスセンサ1は、図4、図5、図6に示すごとく、筒型のハウジング10と該ハウジング10の内部に素子側絶縁碍子21を介して挿通固定したガスセンサ素子2と、上記ハウジング10の先端側に、上記ガスセンサ素子2の先端側を覆って配置した筒型の被測定ガス側カバー11と、上記ハウジング10の基端側に配置した筒型の大気側カバー3と、該大気側カバー3の内部において、ガスセンサ素子2の基端側を覆って配置した大気側絶縁碍子22とを有する。
大気側カバー3は、基端側から順に径細部31、切替部32、径太部33、圧入部34とからなり、径細部31〜径太部33までの間が硬化部で、そこのビッカース硬度は250である。また、圧入部34の硬度は150である。
その他詳細は実施例1と同様の構成を備える。
ただし、実施例1と異なって、径太部33の内側面30と大気側絶縁碍子22の外側面220との間の最短距離は0.5mm未満に構成する。
本例にかかるガスセンサ1は、硬化部を大気側カバー3に設けることで、外力の作用によって大気側カバー3を変形し難くしている。よって、大気側カバー3の変形部分が大気側絶縁碍子22と接触する可能性が減少し、素子割れし難くすることができる。
また、圧入部34は大気側カバー3をハウジング10に固定するための箇所であるため、この部分のみ、硬度を下げておくことで、大気側カバー3のハウジング10に対する組付けを容易とすることができる。
(実施例3)
本例は、実施例1にかかるガスセンサに外力が作用した場合の素子割れ状態について測定した結果について説明する。
すなわち、実施例1にかかるガスセンサであって、大気側カバーの全体の硬度をビッカース硬度で150とし、mの値を0から2.5ミリまで違えたものをそれぞれ10個準備し、これらを自動車の排気管下流部に搭載した状態を模擬して、人工的にガスセンサに石を当てる装置を用いた飛び石実験を行った。
この飛び石実験によって、飛び石によりいずれのガスセンサも大気側カバーに多数の凹みが発生した。
この状態のガスセンサにおいて素子割れを調べた結果を図7に記載した。
その結果、隙間が1mm未満である場合は素子割れが生じたが、それ以上とすることで素子割れをなくすことができたことがわかった。
(実施例4)
本例は、実施例2にかかるガスセンサに外力が作用した場合の素子割れ状態について測定した結果について説明する。
すなわち、実施例2にかかるガスセンサであって、大気側カバーにおける径細部から径太部の間の硬度をビッカース硬度で150、200、250、300、350、400としたものをそれぞれ10本づつ準備した。
そして実施例3と同様の方法にて素子割れについて測定し、結果を図8に記載した。
その結果、ビッカース硬度200以上とすることで素子割れを防ぐことができることがわかった。
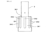
(実施例5)
本例にかかるガスセンサ1は、図9、図10、図11に示すごとく、筒型のハウジング10と該ハウジング10の内部に素子側絶縁碍子21を介して挿通固定したガスセンサ素子2と、上記ハウジング10の先端側に、上記ガスセンサ素子2の先端側を覆って配置した筒型の被測定ガス側カバー11と、上記ハウジング10の基端側に配置した筒型の大気側カバー3と、該大気側カバー3の内部において、ガスセンサ素子2の基端側を覆って配置した大気側絶縁碍子22とを有し、おおよその構成は実施例1と同様である。
ただし大気側カバー3の側面に周方向に軸方向に延びる凸部361と凹部362とが交互に配列された構造からなる剛性強化部36がある。また、この剛性強化部36は大気側カバー3の切替部32付近から圧入部34の基端までの間に設けてある。
本例にかかるガスセンサ1では、剛性強化部36により、外力による大気側カバー3の変形が生じ難く、従って素子割れを生じ難くすることができる。
その他は実施例1と同様の作用効果を有する。
また、図12、図13、図14に示すごとく、剛性強化部36を切替部32から径太部33の途中にあるEと記した部分まで設け、Eから下に径太部33の軸方向に沿った全体に上記衝撃緩和部35を設け、衝撃緩和部35に面する部分がビッカース硬度200〜400の硬化部になる構成のガスセンサ1もある。
このように各請求項を組み合わせることにより、上述した図1〜図11に係るガスセンサ1と同等またはそれ以上の作用効果を得ることができる。
1 ガスセンサ
10 ハウジング
11 被測定ガス側カバー
13 弾性絶縁体
2 ガスセンサ素子
21 素子側絶縁碍子
22 大気側絶縁碍子
3 大気側カバー
31 径細部
32 切替部
33 径太部
34 圧入部
35 衝撃緩和部
36 剛性強化部

Claims (7)

  1. 筒型のハウジングと該ハウジングの内部に素子側絶縁碍子を介して挿通固定したガスセンサ素子と、上記ハウジングの先端側に、上記ガスセンサ素子の先端側を覆って配置した筒型の被測定ガス側カバーと、上記ハウジングの基端側に配置した筒型の大気側カバーと、該大気側カバーの内部において、ガスセンサ素子の基端側を覆って配置した大気側絶縁碍子とを有するガスセンサにおいて、
    上記大気側カバーは、ビッカース硬度が200〜400となる硬化部を有することを特徴とするガスセンサ。
  2. 請求項1において、上記大気側カバーは、基端側から順に、内部に絶縁弾性体をかしめ固定する径細部と、該径細部から外方に突出し径の大きさが変わる切替部と、大気側絶縁碍子と対面する径太部と、上記ハウジングの基端側に圧入される圧入部とを有し、
    上記圧入部のビッカース硬度は140〜200であることを特徴とするガスセンサ。
  3. 請求項1または2において、上記大気側カバーが加工硬化面からなることを特徴とするガスセンサ。
  4. 請求項1〜3のいずれか一項において、上記大気側カバーに剛性強化部を設けたことを特徴とするガスセンサ。
  5. 請求項4において、上記剛性強化部は軸方向に延びる凸部と凹部とが周方向に交互に配列された構造であることを特徴とするガスセンサ。
  6. 請求項1〜5のいずれか一項において、上記大気側カバーの肉厚が0.3〜0.8mmであることを特徴とするガスセンサ。
  7. 請求項1〜6のいずれか一項において、上記大気側カバーはオーステナイト系ステンレスからなることを特徴とするガスセンサ。
JP2009275077A 2003-12-24 2009-12-03 ガスセンサ Expired - Lifetime JP4706790B2 (ja)

Priority Applications (1)

Application Number Priority Date Filing Date Title
JP2009275077A JP4706790B2 (ja) 2003-12-24 2009-12-03 ガスセンサ

Applications Claiming Priority (3)

Application Number Priority Date Filing Date Title
JP2003427260 2003-12-24
JP2003427260 2003-12-24
JP2009275077A JP4706790B2 (ja) 2003-12-24 2009-12-03 ガスセンサ

Related Parent Applications (1)

Application Number Title Priority Date Filing Date
JP2004276676A Division JP2005208036A (ja) 2003-12-24 2004-09-24 ガスセンサ

Publications (2)

Publication Number Publication Date
JP2010048831A true JP2010048831A (ja) 2010-03-04
JP4706790B2 JP4706790B2 (ja) 2011-06-22

Family

ID=34697471

Family Applications (1)

Application Number Title Priority Date Filing Date
JP2009275077A Expired - Lifetime JP4706790B2 (ja) 2003-12-24 2009-12-03 ガスセンサ

Country Status (3)

Country Link
US (1) US7178382B2 (ja)
JP (1) JP4706790B2 (ja)
DE (1) DE102004062189B4 (ja)

Families Citing this family (9)

* Cited by examiner, † Cited by third party
Publication number Priority date Publication date Assignee Title
US7631539B2 (en) * 2004-01-09 2009-12-15 Ngk Spark Plug Co., Ltd. Gas sensor production method and gas sensor
JP2006300920A (ja) * 2005-03-23 2006-11-02 Denso Corp ガスセンサ
US7565826B2 (en) * 2006-01-12 2009-07-28 Denso Corporation Gas sensor
US7563118B1 (en) * 2008-06-20 2009-07-21 Delphi Technologies, Inc. High temperature connector
JP5682637B2 (ja) * 2012-05-17 2015-03-11 株式会社デンソー ガスセンサ
DE102013222594A1 (de) * 2013-03-12 2014-09-18 Robert Bosch Gmbh Spezielle Dichtungsgeometrie bei Abgassensoren zur Erzeugung einer hohen Dichtigkeit
JP6409567B2 (ja) 2014-12-25 2018-10-24 株式会社デンソー ガスセンサ
JP6696418B2 (ja) * 2016-12-21 2020-05-20 株式会社デンソー ガスセンサ素子及びガスセンサユニット
JP7298584B2 (ja) 2020-10-22 2023-06-27 株式会社デンソー ガスセンサ

Citations (5)

* Cited by examiner, † Cited by third party
Publication number Priority date Publication date Assignee Title
JPH09269312A (ja) * 1996-01-30 1997-10-14 Denso Corp ガスセンサの組付方法
JP2000002684A (ja) * 1998-06-18 2000-01-07 Ngk Spark Plug Co Ltd ガスセンサ
JP2002048760A (ja) * 2000-05-22 2002-02-15 Denso Corp ガスセンサ
JP2002082088A (ja) * 2000-06-30 2002-03-22 Denso Corp ガスセンサ
JP2002181764A (ja) * 2000-12-08 2002-06-26 Denso Corp 積層型ガスセンサ及びそれを用いたガス濃度検出装置

Family Cites Families (13)

* Cited by examiner, † Cited by third party
Publication number Priority date Publication date Assignee Title
US4784743A (en) * 1984-12-06 1988-11-15 Ngk Insulators, Ltd. Oxygen sensor
DE4126378A1 (de) 1990-10-26 1992-04-30 Bosch Gmbh Robert Gasmessfuehler, insbesondere zur bestimmung des sauerstoffgehaltes in abgasen von brennkraftmaschinen
DE19542650A1 (de) 1995-11-15 1997-05-22 Bosch Gmbh Robert Temperaturfeste Kabeldurchführung und Verfahren zu deren Herstellung
US5874664A (en) 1996-01-30 1999-02-23 Denso Corporation Air fuel ratio sensor and method for assembling the same
US5762771A (en) * 1996-02-06 1998-06-09 Denso Corporation Air-fuel ratio sensor
US6214186B1 (en) * 1998-07-13 2001-04-10 Denso Corporation Gas sensor having improved structure for installation of protective cover
JP4604419B2 (ja) 2000-09-29 2011-01-05 株式会社デンソー ガスセンサの製造方法及び製造装置
EP1236998B1 (en) * 2001-02-28 2006-09-13 Denso Corporation Rapid response gas sensor
JP2003107033A (ja) * 2001-07-27 2003-04-09 Denso Corp ガスセンサ
JP4670197B2 (ja) * 2001-08-01 2011-04-13 株式会社デンソー ガスセンサ
JP4005830B2 (ja) 2002-03-29 2007-11-14 日本特殊陶業株式会社 ガスセンサ
JP2003294682A (ja) 2002-03-29 2003-10-15 Ngk Spark Plug Co Ltd ガスセンサ
JP4276996B2 (ja) 2002-05-17 2009-06-10 ローベルト ボツシユ ゲゼルシヤフト ミツト ベシユレンクテル ハフツング 測定センサ

Patent Citations (5)

* Cited by examiner, † Cited by third party
Publication number Priority date Publication date Assignee Title
JPH09269312A (ja) * 1996-01-30 1997-10-14 Denso Corp ガスセンサの組付方法
JP2000002684A (ja) * 1998-06-18 2000-01-07 Ngk Spark Plug Co Ltd ガスセンサ
JP2002048760A (ja) * 2000-05-22 2002-02-15 Denso Corp ガスセンサ
JP2002082088A (ja) * 2000-06-30 2002-03-22 Denso Corp ガスセンサ
JP2002181764A (ja) * 2000-12-08 2002-06-26 Denso Corp 積層型ガスセンサ及びそれを用いたガス濃度検出装置

Also Published As

Publication number Publication date
US20050138989A1 (en) 2005-06-30
US7178382B2 (en) 2007-02-20
DE102004062189A1 (de) 2005-08-04
DE102004062189B4 (de) 2018-10-11
JP4706790B2 (ja) 2011-06-22

Similar Documents

Publication Publication Date Title
JP4706790B2 (ja) ガスセンサ
JP4300663B2 (ja) 燃焼圧センサ構造体
JP5134701B2 (ja) 温度センサ
JP4386117B2 (ja) 燃焼圧センサ付きグロープラグ
JP3911930B2 (ja) 燃焼圧センサ付きグロープラグ
US4591423A (en) Oxygen sensor
JP2002327919A (ja) 燃焼圧センサ付きグロープラグ
JP3539031B2 (ja) 空燃比センサ
US20060176931A1 (en) Temperature sensor
JP3912352B2 (ja) 燃焼圧センサ付きグロープラグ
JP3900059B2 (ja) 燃焼センサ付きグロープラグおよび燃焼圧センサ付きグロープラグの取付構造ならびに取付方法
JP2004124911A (ja) 燃焼圧センサ付きグロープラグ
US20070193337A1 (en) Gas sensor with caulked portion for fixedly holding gas sensing element and method for producing the same
JP2011144978A (ja) 燃焼圧力センサ付きグロープラグ
JP2005208036A (ja) ガスセンサ
US7124623B2 (en) Gas sensor
JP2000258384A (ja) ガスセンサ
US20090050480A1 (en) Exhaust gas sensor
JP6783819B2 (ja) センサ
JP2514000B2 (ja) 酸素センサ
JP2012042376A (ja) 温度センサ
JP4013419B2 (ja) ガスセンサ
JP2002350239A (ja) 温度センサ
JP5047770B2 (ja) 燃焼圧力センサ付きグロープラグ
JP4207070B2 (ja) 燃焼センサ付きグロープラグ

Legal Events

Date Code Title Description
A621 Written request for application examination

Free format text: JAPANESE INTERMEDIATE CODE: A621

Effective date: 20091203

A131 Notification of reasons for refusal

Free format text: JAPANESE INTERMEDIATE CODE: A131

Effective date: 20101116

A521 Request for written amendment filed

Free format text: JAPANESE INTERMEDIATE CODE: A523

Effective date: 20110113

TRDD Decision of grant or rejection written
A01 Written decision to grant a patent or to grant a registration (utility model)

Free format text: JAPANESE INTERMEDIATE CODE: A01

Effective date: 20110215

A61 First payment of annual fees (during grant procedure)

Free format text: JAPANESE INTERMEDIATE CODE: A61

Effective date: 20110228

R151 Written notification of patent or utility model registration

Ref document number: 4706790

Country of ref document: JP

Free format text: JAPANESE INTERMEDIATE CODE: R151

R250 Receipt of annual fees

Free format text: JAPANESE INTERMEDIATE CODE: R250

R250 Receipt of annual fees

Free format text: JAPANESE INTERMEDIATE CODE: R250

R250 Receipt of annual fees

Free format text: JAPANESE INTERMEDIATE CODE: R250

R250 Receipt of annual fees

Free format text: JAPANESE INTERMEDIATE CODE: R250

R250 Receipt of annual fees

Free format text: JAPANESE INTERMEDIATE CODE: R250

R250 Receipt of annual fees

Free format text: JAPANESE INTERMEDIATE CODE: R250

R250 Receipt of annual fees

Free format text: JAPANESE INTERMEDIATE CODE: R250

R250 Receipt of annual fees

Free format text: JAPANESE INTERMEDIATE CODE: R250

R250 Receipt of annual fees

Free format text: JAPANESE INTERMEDIATE CODE: R250

R250 Receipt of annual fees

Free format text: JAPANESE INTERMEDIATE CODE: R250

R250 Receipt of annual fees

Free format text: JAPANESE INTERMEDIATE CODE: R250

EXPY Cancellation because of completion of term