JP2010048645A - 濃度測定装置 - Google Patents

濃度測定装置 Download PDF

Info

Publication number
JP2010048645A
JP2010048645A JP2008212515A JP2008212515A JP2010048645A JP 2010048645 A JP2010048645 A JP 2010048645A JP 2008212515 A JP2008212515 A JP 2008212515A JP 2008212515 A JP2008212515 A JP 2008212515A JP 2010048645 A JP2010048645 A JP 2010048645A
Authority
JP
Japan
Prior art keywords
light
light source
concentration
sensor
concentration measuring
Prior art date
Legal status (The legal status is an assumption and is not a legal conclusion. Google has not performed a legal analysis and makes no representation as to the accuracy of the status listed.)
Granted
Application number
JP2008212515A
Other languages
English (en)
Other versions
JP5562538B2 (ja
Inventor
Yoshiro Miyazaki
芳郎 宮崎
Junya Tanigawa
純也 谷川
Current Assignee (The listed assignees may be inaccurate. Google has not performed a legal analysis and makes no representation or warranty as to the accuracy of the list.)
Yazaki Corp
Original Assignee
Yazaki Corp
Priority date (The priority date is an assumption and is not a legal conclusion. Google has not performed a legal analysis and makes no representation as to the accuracy of the date listed.)
Filing date
Publication date
Application filed by Yazaki Corp filed Critical Yazaki Corp
Priority to JP2008212515A priority Critical patent/JP5562538B2/ja
Publication of JP2010048645A publication Critical patent/JP2010048645A/ja
Application granted granted Critical
Publication of JP5562538B2 publication Critical patent/JP5562538B2/ja
Expired - Fee Related legal-status Critical Current
Anticipated expiration legal-status Critical

Links

Images

Landscapes

  • Investigating Or Analysing Materials By Optical Means (AREA)
  • Photometry And Measurement Of Optical Pulse Characteristics (AREA)

Abstract

【課題】雰囲気中の測定対象の気体の濃度を精度良く測定することができる濃度測定装置を提供する。
【解決手段】光源7と、光源7からの光を導く気体サンプル室2と、気体サンプル室2から導かれた光源7からの光を受光する赤外線センサ14及び光源7と赤外線センサ14との間に予め定めた波長の光のみを透過させる透過部材15が設けられた受光部41と、赤外線センサ14が受光した光源7からの光の強さに基づいて、気体サンプル室2内の二酸化炭素の濃度を算出するμcom5と、を備えた濃度測定装置1において、赤外線センサの冷接点に分圧回路23を接続して所定のバイアス電圧を印加する。
【選択図】図4

Description

本発明は、二酸化炭素などの所定の気体の濃度を測定する濃度測定装置に関する。
例えば、二酸化炭素などの所定の気体の濃度を測定する濃度測定装置は、光源と、前記光源からの光を導く気体サンプル室と、前記気体サンプル室から導かれた前記光源からの光を受光するセンサ及び前記光源と前記センサとの間に予め定めた波長の光のみを透過させる透過部材が設けられた受光部と、前記センサが受光した前記光源からの光の強さに基づいて前記気体サンプル室内の予め定められた気体の濃度を算出する濃度算出部と、を備えている。
光源は、例えば、赤外線を放射する。受光器は、赤外線センサと、前記赤外線センサと光源との間に配置されて所定の波長の赤外線のみを透過するフィルタとを備えている。フィルタを透過する赤外線の波長は、測定対象の気体の濃度により定められる。
そして、濃度測定装置は、気体サンプル室内に雰囲気をポンプなどによって供給し、フィルタを介して赤外線センサが受光した光源からの赤外線の強さを測定することで、前記雰囲気中の前述した測定対象の気体の濃度を測定する(例えば特許文献1を参照)。
特開2007−212315号
しかしながら、前述した特許文献1などに示された従来の濃度測定装置は、赤外線センサのグランド側の電位は0電位に接地されるために、発光部に用いられる発光源の熱揺らぎによってセンサ出力にうねりが生じてしまい、そのうねりがノイズとなって精度良く濃度を測定することが困難であった。
そこで、本発明は、雰囲気中の測定対象の気体の濃度を精度良く測定することができる濃度測定装置を提供すること課題とする。
上記課題を解決するためになされた請求項1に記載の発明は、光源と、前記光源からの光を導く気体サンプル室と、前記気体サンプル室から導かれた前記光源からの光を受光するセンサ及び前記光源と前記センサとの間に予め定めた波長の光のみを透過させる透過部材が設けられた受光部と、前記センサが受光した前記光源からの光の強さに基づいて前記気体サンプル室内の予め定められた気体の濃度を算出する濃度算出部と、を備えた濃度測定装置において、前記センサに所定のバイアス電圧を印加するバイアス印加手段を備えたことを特徴とする濃度測定装置である。
請求項2に記載の発明は、請求項1に記載の発明において、前記バイアス印加手段が、予め定めた一定の電圧を供給する定電圧源を備え、前記定電圧源から供給された一定電圧を印加することを特徴とするものである。
請求項3に記載の発明は、請求項1または2に記載の発明において、前記バイアス印加手段が、前記定電圧源から供給される一定電圧を分圧する抵抗を備え、前記抵抗によって分圧された電圧を印加することを特徴とするものである。
請求項4に記載の発明は、請求項1乃至3のうちいずれか一項に記載の発明において、前記受光部には前記センサが複数設けられているとともに、これら複数のセンサにそれぞれ対応する前記透過部材の透過する波長が互いに異なることを特徴とするものである。
請求項5に記載の発明は、請求項4に記載の発明において、複数の前記センサのうち一方のセンサが受光した前記光源からの光の強さと、他方のセンサが受光した前記光源からの光の強さと、を減算する減算手段を備え、前記バイアス印加手段が、前記減算手段の結果または前記光源消灯時の前記複数のセンサの出力に基づいて、前記一方のセンサと前記他方のセンサとのバイアス電圧が等しくなるように調整することを特徴とするものである。
請求項6に記載の発明は、請求項5に記載の発明において、前記濃度算出部が、前記減算手段の減算結果に基づいて前記気体の濃度を算出することを特徴とするものである。
以上説明したように請求項1に記載の発明によれば、バイアス印加手段によりセンサに所定のバイアス電圧を印加することができるので、光源をパルス点灯させたときの当該センサの下端値となるロー側の出力値を確実に検出することができるために、光源側の熱揺らぎによるセンサ出力波形の変動によって生じていたノイズを無くして精度良く安定した測定を行うことができる。
請求項2に記載の発明によれば、バイアス印加手段が、定電圧源を備えているので、その定電圧源から供給された一定電圧をバイアス電圧としてセンサに供給することができ、光源側の熱揺らぎによるセンサ出力波形の変動によって生じているノイズを無くして精度良く安定した測定を行うことができる。
請求項3に記載の発明によれば、バイアス印加手段が定電圧源の一定電圧を抵抗で分圧してバイアス電圧としてセンサに供給しているので、光源側の熱揺らぎによるセンサ出力波形の変動によって生じているノイズを無くして精度良く安定した測定を行うことができる。
請求項4に記載の発明によれば、受光部に複数のセンサが設けられているとともに、複数のセンサにそれぞれ対応する透過部材の波長が互いに異なっているので、複数種類の気体の濃度を測定することができる。
請求項5に記載の発明によれば、減算手段で、複数のセンサのうち一方のセンサが受光した光源からの光の強さと、他方のセンサが受光した光源からの光の強さとを減算して、その減算結果または光源消灯時の複数のセンサの出力に基づいてバイアス印加手段が一方のセンサと他方のセンサとのバイアス電圧が同一になるように調整しているので、センサ間の個体差や温度差なども吸収して高精度に複数のセンサのバイアス電圧を等しくすることができる。
請求項6に記載の発明によれば、減算手段の減算結果に基づいて気体の濃度を算出しているので、気体の濃度測定の分解能を高くすることができるためにより高精度に濃度を測定することができる。
[第1実施形態]
以下、本発明の第1の実施形態に係る濃度測定装置を、図1乃至図7を参照して説明する。
濃度測定装置1は、図1に示すように、濃度の測定対象の気体を含んだ雰囲気が充填される気体サンプル室2と、発光部40と、受光部41と、制御回路部3と、受光回路部4と、濃度算出部としてのマイクロコンピュータ(以下、μcomと記載する)5と、を備えている。
気体サンプル室2は、図1に示すように、測定セル6を備えている。測定セル6は、円筒状に形成されて、後述する光源7からの赤外線を受光ユニット8に導くように形成されている。
発光部40は、測定セル6の一端に備えられて例えば略箱状に形成され、内部に光源7が設けられている。光源7は、電圧が印加されることで、光としての赤外線を測定セル6の一端部から他端部に向かって放射する。光源として、例えば黒体炉、電球等が用いられる。また、光源7には、リフレクタ30が取り付けられている。リフレクタ30は、光源7から出射された光を反射させ、受光ユニット8へ平行光として向かわせる。
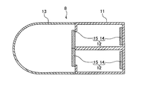
受光部41は、測定セル6の他端に備えられて例えば略箱状に形成され、内部に受光ユニット8が設けられている。受光ユニット8は、図2及び図3に示すように、ユニット本体11と、複数の受光器12と、集光部材13と、を備えている。ユニット本体11は、箱状に形成されている。また、発光部40と受光部41には外部の雰囲気を供給または排出するための図示しない供給部を備え、この供給部はポンプと配管などが接続され、気体サンプル室2内に雰囲気を強制的に供給し、気体サンプル室2内の気体を強制的に排出する。
受光器12は、図示例では、2つ設けられている。受光器12は、それぞれ、センサとしての赤外線センサ14と、透過部材15とを備えている。赤外線センサ14は、ユニット本体11に取り付けられている。複数の受光器12の赤外線センサ14は、同一平面上に配置されている。赤外線センサ14は、光源7が発しかつ透過部材15を透過した赤外線を受光し、この赤外線の熱を電気エネルギーに変換する。赤外線センサ14は、赤外線の熱を電気エネルギーに変換して、センサ出力としてμcom5に向かって出力する。赤外線センサ14として、例えばサーモパイル型のものが用いられる。
透過部材15は、ユニット本体11に取り付けられて、赤外線センサ14と光源7との間に配置されている。複数の受光器12の透過部材15は、同一平面上に配置されている。透過部材15は、それぞれ、光源7からの赤外線のうち予め定められた波長の赤外線のみを透過して、当該透過した波長の赤外線を赤外線センサ14まで導く。複数の受光器12の透過部材15は、互いに透過する赤外線の波長が異なる。
透過部材15は、その透過する赤外線の波長は、濃度測定装置1が濃度の測定対象とする気体に応じて定められる。透過部材15の透過する赤外線の波長は、濃度の測定対象の気体に対する透過率が小さな赤外線の波長にされる。なお、受光器12は、二酸化炭素を測定対象の気体としている。図示例では、一方の受光器12は、基準として用いられ、その透過部材15が大気中で全く減衰しない波長が4.0μm付近の赤外線のみを透過する。他方の受光器12は、二酸化炭素の濃度を測定するために用いられ、その透過部材15が前述した二酸化炭素中で減衰しやすい波長が4.3μm付近の赤外線のみを透過する。
集光部材13は、例えば300度などの所定の角度の範囲の赤外線を集光して、透過部材15つまり赤外線センサ14に集中させる。すると、光源7から直接入射する赤外線以外にも、測定セル6の外壁の内面で反射す赤外線も赤外線センサ14に集めることができるので、赤外線の受光効率を良くすることができる。なお、集光部材13として、フレーネルレンズ等を用いることができる。
制御回路部3は、図1に示すように、発振器16、クロック分周回路17、定電圧回路18などを備えており、μcom5の命令とおりに、所定の周波数で光源7を点滅させる。
受光回路部4は、図4に示すように、複数のアンプ19と、切り換え器20と、A/D変換器21と、分圧回路23と、を備えている。アンプ19は、それぞれ、赤外線センサ14と1対1に対応して設けられている。アンプ19は、対応する赤外線センサ14からの信号を増幅して、切り換え器20を介してA/D変換器21に向かって出力する。A/D変換器21は、赤外線センサ14からの信号をデジタル信号に変換して、μcom5に向かって出力する。
バイアス印加手段としての分圧回路23は、図4に示すようにサーモパイルの冷接点側に所定の一定電圧を印加する。分圧回路23は、予め定められた一定電圧を出力する定電圧源24に抵抗25、抵抗26が直列に接続された回路であり、この抵抗25と抵抗26との中間点を赤外線センサ14(サーモパイル)の冷接点に接続している。これによって、定電圧源24を抵抗25と抵抗26との抵抗値の比で分圧した電圧が、バイアス電圧として冷接点に印加される。この分圧回路23は、1つで複数の赤外線センサ14に共通に接続してもよいし、それぞれの赤外線センサ14に個別に設けてもよい。
また、図4の分圧回路を設けずに図5に示すようにDC電源(定電圧源)から直接赤外線センサ14の冷接点に接続してもよい。この場合も2つの赤外線センサ14に共通に接続しもよいし、それぞれ個別にDC電源を設けてもよい。
μcom5は、制御回路部3及び受光回路部4と接続して、これらの動作を制御することで、濃度測定装置1全体の動作をつかさどる。μcom5は、予め定められたプログラムに従って動作するコンピュータである。このμcom5は、周知のように、予め定めたプログラムに従って各種の処理や制御などを行う中央演算処理装置(CPU)、CPUのためのプログラム等を格納した読み出し専用のメモリであるROM、各種のデータを格納するとともにCPUの処理作業に必要なエリアを有する読み出し書き込み自在のメモリであるRAM等を有して構成している。
また、μcom5には、濃度測定装置1自体がオフ状態の間も記憶内容の保持が可能な電気的消去/書き換え可能な読み出し専用のメモリが接続している。そして、このメモリには、濃度の算出に必要な吸光係数、測定距離、濃度変換係数等の各種情報を記憶するとともに、算出した濃度を外部から読出可能に時系列的に記憶する。
前述した構成の濃度測定装置1は、光源7を点滅(パルス点灯)させて、この光源7からの赤外線を各赤外線センサ14で受光する。そして、濃度測定装置1のμcom5は、赤外線センサ14に受光した赤外線の強さなどに基づいて、予め定められた気体(二酸化炭素)の雰囲気中の濃度を測定する。具体的には、濃度測定装置1のμcom5は、基準として用いられる赤外線センサ14で受光した赤外線の強さと、二酸化炭素を測定するための赤外線センサ14で受光した赤外線の強さとを比較して、測定対象の二酸化炭素の濃度を測定する。
このとき、赤外線センサ14の出力波形は図6に示すような波形となる。二酸化炭素の濃度は光源7をパルス点灯させたことによって生じる2つの赤外線センサ14の出力波形のHi(山)の値とlo(谷)の値との差をそれぞれ算出してその値を比較して測定する。本実施形態の場合、図4や図5に示した回路によるバイアス電圧によって赤外線センサ14の出力が嵩上げされる。つまり0電位(接地電位)よりも高い電位を印加することでパルス波形のlo部分の値が確実に測定できるために、図6のように波形のうねりによるノイズの影響を排除することができる。
本実施形態によれば、濃度測定装置1の受光部41に設けられている赤外線センサ14の冷接点に分圧回路23によって所定のバイアス電圧を印加しているので、赤外線センサ14の出力波形のlo部分を確実に測定することができ、光源7の熱揺らぎによる出力波形のうねりによって生じていたノイズの影響を無くすことができる。したがって、精度良く気体の濃度を測定することができる。
[第2実施形態]
次に、本発明の第2の実施形態を図7を参照して説明する。なお、前述した第1の実施形態と同一部分には、同一符号を付して説明を省略する。
本実施形態は、受光回路部4が第1の実施形態と異なる。本実施形態の受光回路部4は、複数のアンプ19と、切り換え器20と、A/D変換器21と、減算回路27と、複数のD/A変換器28とを備えている。複数のアンプ19と、切り換え器20と、A/D変換器21と、は第1の実施形態と同様である。減算手段としての減算回路27は、アンプ19の出力同士の減算を行う回路である。具体的には4.0μm付近の赤外線を受光した赤外線センサ14のアンプ19を介した出力から4.3μm付近の赤外線を受光した赤外線センサ14のアンプ19を介した出力を減算してその減算値を増幅する。D/A変換器28は、それぞれ、赤外線センサ14と1対1に対応して設けられ、μcom5によって算出されたバイアス電圧値をアナログ電圧に変換して赤外線センサ14にバイアス電圧として印加する。
本実施形態では、当初はμcom5に予め設定されている所定の0電位(接地電位)よりも高いバイアス電圧値をD/A変換器28を介して2つの赤外線センサ14にそれぞれ印加し、減算回路27で算出した4.0μm付近の赤外線を受光した赤外線センサ14の(アンプ19を介した)値と4.3μm付近の赤外線を受光した赤外線センサ14の(アンプ19を介した)値との差を検出して、μcom5において、2つの赤外線センサ14のバイアス電圧が同一となるように(つまり、差分が0になるように)調整してD/A変換器28へ調整後のバイアス電圧値を出力する。すなわち、本実施形態ではμcom5がバイアス印加手段となって、減算回路の結果に基づいて、2つのセンサのバイアス電圧が等しくなるように調整している。これによって、2つ赤外線センサ14のバイアス電圧をより高精度に一致させることができるため気体(二酸化炭素)の濃度算出の精度を高めることができる。
そして、本実施形態では、減算回路27で算出した4.0μm付近の赤外線を受光した赤外線センサ14の(アンプ19を介した)値と4.3μm付近の赤外線を受光した赤外線センサ14の(アンプ19を介した)値との差を増幅した値に基づいてμcom5で濃度を算出している。これによって、図6の波形のHiとloとの差に基づいて算出するよりも濃度算出の分解能を上げることができる。
また、本実施形態では、上述した減算回路27を用いたバイアス電圧の調整の他に、2つの赤外線センサ14のアンプ19を介した出力値のうち、図6の波形のloの値に基づいて調整する方法がある。詳細に説明すると、このloの期間は、光源7がパルス点灯している際の消灯時の期間であるために、このときに測定される値は赤外線センサ14が受光した光の強さではなくバイアス電圧そのものとなる。したがって、lo期間の2つの赤外線センサ14の出力(バイアス電圧)を測定して、それらが等しくなるようにμcom5で調整すればよい。すなわち、光源7消灯時の複数の赤外線センサ14の出力に基づいて、一方の赤外線センサ14と他方の赤外線センサ14とのバイアス電圧が等しくなるように調整している。
なお、本実施形態では、上述した減算回路27を用いる方法と、光源7消灯時の赤外線センサ14の出力を用いる方法と、のどちらも可能となるように受光回路部4が構成されているので、上述した減算回路27を用いる方法または光源7消灯時の赤外線センサ14の出力を用いる方法のいずれかを適宜選択して行えばよい。また、バイアス電圧の調整方法は、一方の赤外線センサ14の電圧を他方の赤外線センサ14の電圧に合わせる方法でも良いし、一方の赤外線センサ14の電圧と他方の赤外線センサ14の電圧との中間の電圧に合わせる方法でもよい。
本実施形態によれば、減算回路27で4.0μm付近の赤外線を受光した赤外線センサ14の値と4.3μm付近の赤外線を受光した赤外線センサ14の値との差を算出し、その値に基づいて2つの赤外線センサ14のバイアス電圧が等しくなるように(差分が0になるように)μcom5で調整しているので、赤外線センサ14間の個体差や温度差なども吸収して高精度に2つの赤外線センサのバイアス電圧を等しくすることができる。したがって、気体の濃度測定がより高精度に行うことができる。
また、光源7を消灯した期間の2つの赤外線センサ14の出力からバイアス電圧を測定し、それらが等しくなるように(差分が0になるように)μcom5で調整しているので、赤外線センサ14間の個体差や温度差なども吸収して高精度に2つの赤外線センサのバイアス電圧を等しくすることができる。したがって、気体の濃度測定がより高精度に行うことができる。
また、減算回路27で算出した4.0μm付近の赤外線を受光した赤外線センサ14の値と4.3μm付近の赤外線を受光した赤外線センサ14の値との差から気体の濃度を測定しているので、分解能を高くすることができ、より高精度な濃度測定を行うことができる。
なお、前述した実施形態は本発明の代表的な形態を示したに過ぎず、本発明は、実施形態に限定されるものではない。即ち、本発明の骨子を逸脱しない範囲で種々変形して実施することができる。
本発明の一実施形態にかかる濃度測定装置の構成を示す説明図である。 図1に示された気体サンプル室の受光ユニットの正面を模式的に示す説明図である。 図2中のVI−VI線の断面を模式的に示す説明図である。 図1に示された濃度測定装置の受光回路の構成を示す説明図である。 図4に示された受光回路のうち赤外線センサのバイアス印加回路の他の構成を示す説明図である。 図4に示された受光回路の赤外線センサの出力波形図である。 本発明の第2の実施形態にかかる濃度測定装置の受光回路の構成を示す説明図である。
符号の説明
1 濃度測定装置
2 気体サンプル室
4 受光回路部
5 マイクロコンピュータ(濃度算出部、バイアス印加手段)
6 測定セル
7 光源
14 赤外線センサ(センサ)
15 透過部材
23 分圧回路(バイアス印加手段)
24 定電圧源
27 減算回路(減算手段)
40 発光部
41 受光部

Claims (6)

  1. 光源と、前記光源からの光を導く気体サンプル室と、前記気体サンプル室から導かれた前記光源からの光を受光するセンサ及び前記光源と前記センサとの間に予め定めた波長の光のみを透過させる透過部材が設けられた受光部と、前記センサが受光した前記光源からの光の強さに基づいて前記気体サンプル室内の予め定められた気体の濃度を算出する濃度算出部と、を備えた濃度測定装置において、
    前記センサに所定のバイアス電圧を印加するバイアス印加手段を備えたことを特徴とする濃度測定装置。
  2. 前記バイアス印加手段が、予め定めた一定の電圧を供給する定電圧源を備え、前記定電圧源から供給された一定電圧を印加することを特徴とする請求項1に記載の濃度測定装置。
  3. 前記バイアス印加手段が、前記定電圧源から供給される一定電圧を分圧する抵抗を備え、前記抵抗によって分圧された電圧を印加することを特徴とする請求項2に記載の濃度測定装置。
  4. 前記受光部には前記センサが複数設けられているとともに、これら複数のセンサにそれぞれ対応する前記透過部材の透過する波長が互いに異なることを特徴とする請求項1乃至3のうちいずれか一項に記載の濃度測定装置。
  5. 複数の前記センサのうち一方のセンサが受光した前記光源からの光の強さと、他方のセンサが受光した前記光源からの光の強さと、を減算する減算手段を備え、前記バイアス印加手段が、前記減算手段の結果または前記光源消灯時の前記複数のセンサの出力に基づいて、前記一方のセンサと前記他方のセンサとのバイアス電圧が等しくなるように調整することを特徴とする請求項4に記載の濃度測定装置。
  6. 前記濃度算出部が、前記減算手段の減算結果に基づいて前記気体の濃度を算出することを特徴とする請求項5に記載の濃度測定装置。
JP2008212515A 2008-08-21 2008-08-21 濃度測定装置 Expired - Fee Related JP5562538B2 (ja)

Priority Applications (1)

Application Number Priority Date Filing Date Title
JP2008212515A JP5562538B2 (ja) 2008-08-21 2008-08-21 濃度測定装置

Applications Claiming Priority (1)

Application Number Priority Date Filing Date Title
JP2008212515A JP5562538B2 (ja) 2008-08-21 2008-08-21 濃度測定装置

Publications (2)

Publication Number Publication Date
JP2010048645A true JP2010048645A (ja) 2010-03-04
JP5562538B2 JP5562538B2 (ja) 2014-07-30

Family

ID=42065850

Family Applications (1)

Application Number Title Priority Date Filing Date
JP2008212515A Expired - Fee Related JP5562538B2 (ja) 2008-08-21 2008-08-21 濃度測定装置

Country Status (1)

Country Link
JP (1) JP5562538B2 (ja)

Citations (10)

* Cited by examiner, † Cited by third party
Publication number Priority date Publication date Assignee Title
JPH02130432A (ja) * 1988-10-25 1990-05-18 Cascadia Technol Corp ガス分析器
JPH06258144A (ja) * 1993-03-03 1994-09-16 Casio Comput Co Ltd 温度センサ
JPH0772078A (ja) * 1993-09-02 1995-03-17 Matsushita Electric Ind Co Ltd 赤外線式ガスセンサー
JPH085552A (ja) * 1994-06-14 1996-01-12 Tokuyama Corp 非分散赤外ガス検出装置
JP2710228B2 (ja) * 1994-08-11 1998-02-10 日本電気株式会社 ボロメータ型赤外線検知素子、その駆動方法、および検出用積分回路
JP2000503122A (ja) * 1996-01-10 2000-03-14 エンジェルハード・センサー・テクノロジーズ・インコーポレイテッド 受動赤外線分析ガスセンサおよびこれを応用したマルチチャンネル検知装置
JP3133366B2 (ja) * 1990-04-20 2001-02-05 セントラル リサーチ ラボラトリーズ リミティド 熱検知装置
JP2002055049A (ja) * 2000-08-14 2002-02-20 Horiba Ltd 連続測定装置
JP2002156279A (ja) * 2000-11-20 2002-05-31 Seiko Epson Corp サーモパイル型赤外線センサ
JP2004198301A (ja) * 2002-12-19 2004-07-15 Riken Keiki Co Ltd 赤外線式ガス検出器および赤外線式ガス検知装置

Patent Citations (10)

* Cited by examiner, † Cited by third party
Publication number Priority date Publication date Assignee Title
JPH02130432A (ja) * 1988-10-25 1990-05-18 Cascadia Technol Corp ガス分析器
JP3133366B2 (ja) * 1990-04-20 2001-02-05 セントラル リサーチ ラボラトリーズ リミティド 熱検知装置
JPH06258144A (ja) * 1993-03-03 1994-09-16 Casio Comput Co Ltd 温度センサ
JPH0772078A (ja) * 1993-09-02 1995-03-17 Matsushita Electric Ind Co Ltd 赤外線式ガスセンサー
JPH085552A (ja) * 1994-06-14 1996-01-12 Tokuyama Corp 非分散赤外ガス検出装置
JP2710228B2 (ja) * 1994-08-11 1998-02-10 日本電気株式会社 ボロメータ型赤外線検知素子、その駆動方法、および検出用積分回路
JP2000503122A (ja) * 1996-01-10 2000-03-14 エンジェルハード・センサー・テクノロジーズ・インコーポレイテッド 受動赤外線分析ガスセンサおよびこれを応用したマルチチャンネル検知装置
JP2002055049A (ja) * 2000-08-14 2002-02-20 Horiba Ltd 連続測定装置
JP2002156279A (ja) * 2000-11-20 2002-05-31 Seiko Epson Corp サーモパイル型赤外線センサ
JP2004198301A (ja) * 2002-12-19 2004-07-15 Riken Keiki Co Ltd 赤外線式ガス検出器および赤外線式ガス検知装置

Also Published As

Publication number Publication date
JP5562538B2 (ja) 2014-07-30

Similar Documents

Publication Publication Date Title
US8649012B2 (en) Optical gas sensor
US8858069B2 (en) Optical fiber temperature distribution measuring device
JP5176535B2 (ja) レーザ式ガス分析計
CN108061722A (zh) 一种一氧化碳浓度的检测装置及检测方法
JP2604754B2 (ja) 分光光度計
WO2015119127A1 (ja) ガス濃度検出装置
US20130120759A1 (en) Apparatus for measuring a distance
JP5175654B2 (ja) 気体サンプル室、及び、この気体サンプル室を備える濃度測定装置
JP2006038721A (ja) ガス濃度検出装置
CN104823041A (zh) 包括光传感器的空燃比测量系统
JP5335638B2 (ja) 煙感知器および火災報知器
JP5161012B2 (ja) 濃度測定装置
JP6428779B2 (ja) ガス濃度検出装置
JP5562538B2 (ja) 濃度測定装置
CN113933268B (zh) 一种光学检测装置及光学检测方法
JP2008292321A (ja) ガス濃度測定装置
JP6530669B2 (ja) ガス濃度測定装置
JP2008082862A (ja) ガス濃度測定装置及びガス濃度測定方法
JP2007085840A (ja) 赤外線検出装置
ITBO20070036A1 (it) Metodo e dispositivo di misura della concentrazione dei gas di scarico di una caldaia
CN115452754B (zh) 红外气体检测电路、信号调整方法及红外气体传感器
JP2010060484A (ja) 気体セル、気体サンプル室、及び、濃度測定装置
CN101153915B (zh) 放射线检测器
KR20150113575A (ko) Mcu 타입 먼지센서
JP2009109344A (ja) 赤外線検出装置

Legal Events

Date Code Title Description
A621 Written request for application examination

Free format text: JAPANESE INTERMEDIATE CODE: A621

Effective date: 20110630

A977 Report on retrieval

Free format text: JAPANESE INTERMEDIATE CODE: A971007

Effective date: 20121105

A131 Notification of reasons for refusal

Free format text: JAPANESE INTERMEDIATE CODE: A131

Effective date: 20121113

A131 Notification of reasons for refusal

Free format text: JAPANESE INTERMEDIATE CODE: A131

Effective date: 20130730

A521 Request for written amendment filed

Free format text: JAPANESE INTERMEDIATE CODE: A523

Effective date: 20130918

TRDD Decision of grant or rejection written
A01 Written decision to grant a patent or to grant a registration (utility model)

Free format text: JAPANESE INTERMEDIATE CODE: A01

Effective date: 20140520

A61 First payment of annual fees (during grant procedure)

Free format text: JAPANESE INTERMEDIATE CODE: A61

Effective date: 20140611

R150 Certificate of patent or registration of utility model

Ref document number: 5562538

Country of ref document: JP

Free format text: JAPANESE INTERMEDIATE CODE: R150

R250 Receipt of annual fees

Free format text: JAPANESE INTERMEDIATE CODE: R250

R250 Receipt of annual fees

Free format text: JAPANESE INTERMEDIATE CODE: R250

R250 Receipt of annual fees

Free format text: JAPANESE INTERMEDIATE CODE: R250

R250 Receipt of annual fees

Free format text: JAPANESE INTERMEDIATE CODE: R250

R250 Receipt of annual fees

Free format text: JAPANESE INTERMEDIATE CODE: R250

R250 Receipt of annual fees

Free format text: JAPANESE INTERMEDIATE CODE: R250

LAPS Cancellation because of no payment of annual fees