JP2010047150A - 台車システム及び台車用の床フレーム - Google Patents
台車システム及び台車用の床フレーム Download PDFInfo
- Publication number
- JP2010047150A JP2010047150A JP2008213945A JP2008213945A JP2010047150A JP 2010047150 A JP2010047150 A JP 2010047150A JP 2008213945 A JP2008213945 A JP 2008213945A JP 2008213945 A JP2008213945 A JP 2008213945A JP 2010047150 A JP2010047150 A JP 2010047150A
- Authority
- JP
- Japan
- Prior art keywords
- caster
- holes
- base
- hole
- support
- Prior art date
- Legal status (The legal status is an assumption and is not a legal conclusion. Google has not performed a legal analysis and makes no representation as to the accuracy of the status listed.)
- Granted
Links
Images
Landscapes
- Handcart (AREA)
Abstract
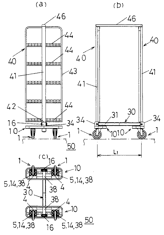
【解決手段】キャスター1付きのキャスターベース10の2つを、距離L2を空けて並列配置し、各キャスターベース10を下部ジョイント30で連結固定して、床フレーム60とする(a)。キャスターベース10の支持筒体16に、サポートの支柱を差込固定して各種台車とする。連通する透孔5(キャスター1)、透孔13、14(キャスター板11、12)、透孔38(下部ジョイント30のジョイントバー37)に共通のボルト等を挿入して固定する。キャスターベース10は、共通のキャスター板11、12の間隔Dを変え、共通のジョイントバー37で固定で、下部ジョイント30は、長さLが異なる基体31を選択できる(a)(b)(c)。
【選択図】図1
Description
(1) 前記床フレームは、両側下面にキャスターを配置したキャスターベースの少なくとも2つを、所定間隔を空けて配置し、前記各キャスターベースを下部ジョイントで連結する。
(2) 前記キャスターベースは、前記キャスターの取付孔に応じて透孔を形成したキャスター板を、所望のキャスター間隔となるように、配置する。
(3) 前記キャスターベースに、前記サポートを取り付けるためのサポート取付手段を配置する。
(4) 前記下部ジョイントは、所望の長さで形成された基体の両端部に、両端部に固定透孔を設けたジョイントバーを固定して構成する。前記ジョイントバーの固定透孔は、異なる間隔で配置した前記キャスター板間の異なる幅の前記両キャスター板の透孔の少なくとも1つに、連通できるように形成する。
(3) 異なる間隔で前記キャスター板を配置した複数の前記キャスターベースと、
異なる長さの前記基体からなる複数の前記下部ジョイントと、
異なる構造・大きさの複数の前記サポートと、
を任意に組み合わせて、前記台車を構成する。
(1) 前記キャスターベースは、両端部にキャスター板を有し、中央部にサポート取付手段を有する。
(2) 前記キャスター板は、「前記キャスターの取付孔と連通できる第1透孔」と、必要ならば「前記取付孔と連通しない第2透孔」を形成してなる。
(3) 前記下部ジョイントは、所望の長さの基体の両端部に、前記キャスター板に固定できるジョイントバーを設置して構成する。
(4) 前記ジョイントバーの両端部に、固定透孔を形成する。
(5) 前記固定透孔の少なくとも1つと、前記第1透孔又は第2透孔の少なくとも1つとを連通させる。
(2) キャスター板11、12は、キャスター1の取付板4の透孔(取付孔)5、5と連通できる透孔(内側)13、透孔(外側)14を形成してある。キャスター1の4つの透孔5、5は、2つづ透孔13、14に連通する。この場合、取付に必要な数だけ連通すれば良い。
(3) 下部ジョイント30は、長さL2の基体31の両端部に、基体31に直交して、キャスター板11、12に固定できるジョイントバー37を固定して構成する(図1(a))。
(4) ジョイントバー37の両端部に、透孔(固定透孔)38、38を形成する。
(5) 透孔(固定透孔)38、38をそれぞれ一の透孔13(透孔5が連通している)に連通させる。連通した透孔5、13、38にボルトを挿通してジョイントバー37、キャスター板11、12、キャスター1、1(取付板4、4)を一体に固定する。尚、透孔38が連通していない、他の透孔13、14と連通した透孔5、5にもボルトを挿通して、キャスター板11、12、キャスター1、1(取付板4、4)を一体に固定する(図1(a))。
・所定長さの1本で形成する場合(図1、図3等)
・把持部34とジョイントバー37を設けた両端部32と、中央部32aとから構成し、両端部32の部材を共通とする場合(図示していない)
のいずれでも可能である。
L1= 800mm
L2=1000mm
L3=1200mm
この運搬用台車50は、サポート40に搬送物を係止して、あるいは、サポート30、30間に棚板を架設して(図示していない)、工場の工程間や、その他の場所で、搬送作業をすることができる。
・内側の透孔13、13間の間隔がD1
・中央部の透孔15、15間の間隔がD2
・外側の透孔14、14間の間隔がD3
とする(D1<D2<D3)。また、ジョイントバー37には、幅D1に対応した透孔38、38を形成したものを使用する。
2 キャスターの車輪
3 キャスターの車軸受け
4 キャスターの取付板
5 キャスターの取付板の透孔(取付孔)
10、10A、10B、10C キャスターベース
11、12 キャスター板
13 キャスター板の透孔(内側)
14 キャスター板の透孔(外側)
15 キャスター板の透孔(中央。図11)
16 支持筒体
17 支持筒体の透孔
18 支持筒体の補強材
19 補強材の上面
21 ベース枠
22 ベース枠の長辺部
23 ベース枠の長辺部の内面
30、30A、30B 下部ジョイント
31 下部ジョイントの基体
32 基体の端部
32a 基体の中央部
34 下部ジョイントの把持部
35 把持部の透孔
37 下部ジョイントのジョイントバー
38、38a ジョイントバーの透孔(固定透孔)
40 サポート
41 サポートの支柱
42 サポートの支柱の下端部
43 サポートのサポート枠
44 サポートの横桟
46 サポートの上部補強材
50 運搬用台車(台車)
60、60A、60B 床フレーム
Claims (4)
- キャスターを有する床フレームのサポート取付手段に、サポートの支柱を嵌挿して、台車を構成することができる台車システム。
(1) 前記床フレームは、両側下面にキャスターを配置したキャスターベースの少なくとも2つを、所定間隔を空けて配置し、前記各キャスターベースを下部ジョイントで連結する。
(2) 前記キャスターベースは、前記キャスターの取付孔に応じて透孔を形成したキャスター板を、所望のキャスター間隔となるように、配置する。
(3) 前記キャスターベースに、前記サポートを取り付けるためのサポート取付手段を配置する。
(4) 前記下部ジョイントは、所望の長さで形成された基体の両端部に、両端部に固定透孔を設けたジョイントバーを固定して構成する。前記ジョイントバーの固定透孔は、異なる間隔で配置した前記キャスター板間の異なる幅の前記両キャスター板の透孔の少なくとも1つに、連通できるように形成する。
(3) 異なる間隔で前記キャスター板を配置した複数の前記キャスターベースと、
異なる長さの前記基体からなる複数の前記下部ジョイントと、
異なる構造・大きさの複数の前記サポートと、
を任意に組み合わせて、前記台車を構成する。 - 両端部下面にキャスターを有するキャスターベースを並列し、並列した前記キャスターベースを下部ジョイントで連結してなり、以下のように構成したことを特徴とする台車用の床フレーム。
(1) 前記キャスターベースは、両端部にキャスター板を有し、中央部にサポート取付手段を有する。
(2) 前記キャスター板は、「前記キャスターの取付孔と連通できる第1透孔」と、必要ならば「前記取付孔と連通しない第2透孔」を形成してなる。
(3) 前記下部ジョイントは、所望の長さの基体の両端部に、前記キャスター板に固定できるジョイントバーを設置して構成する。
(4) 前記ジョイントバーの両端部に、固定透孔を形成する。
(5) 前記固定透孔の少なくとも1つと、前記第1透孔又は第2透孔の少なくとも1つとを連通させる。 - 両キャスター板及びサポート取付け手段を、予めベース枠に固定して、キャスターベースを構成した請求項2記載の台車用の床フレーム。
- 固定透孔、第1透孔及び取付孔に共通のボルト類を嵌挿して、ジョイントバー、キャスター板及びキャスターを一体に固定したことを特徴とする請求項2記載の台車用の床フレーム
Priority Applications (1)
| Application Number | Priority Date | Filing Date | Title |
|---|---|---|---|
| JP2008213945A JP5160342B2 (ja) | 2008-08-22 | 2008-08-22 | 台車システム及び台車用の床フレーム |
Applications Claiming Priority (1)
| Application Number | Priority Date | Filing Date | Title |
|---|---|---|---|
| JP2008213945A JP5160342B2 (ja) | 2008-08-22 | 2008-08-22 | 台車システム及び台車用の床フレーム |
Publications (2)
| Publication Number | Publication Date |
|---|---|
| JP2010047150A true JP2010047150A (ja) | 2010-03-04 |
| JP5160342B2 JP5160342B2 (ja) | 2013-03-13 |
Family
ID=42064621
Family Applications (1)
| Application Number | Title | Priority Date | Filing Date |
|---|---|---|---|
| JP2008213945A Active JP5160342B2 (ja) | 2008-08-22 | 2008-08-22 | 台車システム及び台車用の床フレーム |
Country Status (1)
| Country | Link |
|---|---|
| JP (1) | JP5160342B2 (ja) |
Cited By (2)
| Publication number | Priority date | Publication date | Assignee | Title |
|---|---|---|---|---|
| JP2014151369A (ja) * | 2013-02-05 | 2014-08-25 | Seiko Epson Corp | ロボット |
| CN116022055A (zh) * | 2023-03-30 | 2023-04-28 | 杭州富阳雅邦办公设备有限公司 | 一种陈列货架搬运设备 |
Citations (4)
| Publication number | Priority date | Publication date | Assignee | Title |
|---|---|---|---|---|
| JPS51135042A (en) * | 1975-05-15 | 1976-11-22 | Mitsuharu Sakaguchi | Transport truck for bags |
| JPH07277198A (ja) * | 1994-04-13 | 1995-10-24 | Takeuchi Shoten:Kk | 作業用運搬車 |
| JPH11124038A (ja) * | 1997-10-23 | 1999-05-11 | Gifu Plast Ind Co Ltd | 運搬用台車 |
| JP2004196042A (ja) * | 2002-12-16 | 2004-07-15 | Seino Transportation Co Ltd | 運搬用台車 |
-
2008
- 2008-08-22 JP JP2008213945A patent/JP5160342B2/ja active Active
Patent Citations (4)
| Publication number | Priority date | Publication date | Assignee | Title |
|---|---|---|---|---|
| JPS51135042A (en) * | 1975-05-15 | 1976-11-22 | Mitsuharu Sakaguchi | Transport truck for bags |
| JPH07277198A (ja) * | 1994-04-13 | 1995-10-24 | Takeuchi Shoten:Kk | 作業用運搬車 |
| JPH11124038A (ja) * | 1997-10-23 | 1999-05-11 | Gifu Plast Ind Co Ltd | 運搬用台車 |
| JP2004196042A (ja) * | 2002-12-16 | 2004-07-15 | Seino Transportation Co Ltd | 運搬用台車 |
Cited By (3)
| Publication number | Priority date | Publication date | Assignee | Title |
|---|---|---|---|---|
| JP2014151369A (ja) * | 2013-02-05 | 2014-08-25 | Seiko Epson Corp | ロボット |
| CN116022055A (zh) * | 2023-03-30 | 2023-04-28 | 杭州富阳雅邦办公设备有限公司 | 一种陈列货架搬运设备 |
| CN116022055B (zh) * | 2023-03-30 | 2023-06-02 | 杭州富阳雅邦办公设备有限公司 | 一种陈列货架搬运设备 |
Also Published As
| Publication number | Publication date |
|---|---|
| JP5160342B2 (ja) | 2013-03-13 |
Similar Documents
| Publication | Publication Date | Title |
|---|---|---|
| US9114819B2 (en) | Dolly and frame assembly for the same | |
| EP2853173B1 (en) | Storage and transport module for workpieces in assembly lines | |
| JP5160342B2 (ja) | 台車システム及び台車用の床フレーム | |
| KR20200016022A (ko) | 팔레트랙 연결용 체결프레임 | |
| JP6999406B2 (ja) | 荷物運搬用の荷台装置 | |
| CN214086330U (zh) | 台车 | |
| KR101711339B1 (ko) | 조립식 이동대차 | |
| JP5221989B2 (ja) | 運搬台車 | |
| JP5255362B2 (ja) | 運搬台車の連結部材 | |
| JP4753139B2 (ja) | 組立式台板 | |
| JPH1111324A (ja) | 運搬用台車の連結構造 | |
| JP2006117373A (ja) | ラック | |
| JP7330506B2 (ja) | 台車システム | |
| JP2021123266A (ja) | 台車用メッシュ枠 | |
| JP3840916B2 (ja) | 枠組体設備 | |
| JP6222509B1 (ja) | 機械及び付属部品の運搬台車 | |
| JP2024007861A (ja) | 積載ラック及び積載ラックを用いた施工方法 | |
| JP7632222B2 (ja) | 物品搬送設備 | |
| CN216232359U (zh) | 转运车 | |
| KR20220029181A (ko) | 운반용 랙 | |
| JP4127899B2 (ja) | 物品輸送台 | |
| JP5222349B2 (ja) | 運搬台車 | |
| JP3971054B2 (ja) | パレット | |
| JP3048038U (ja) | 運搬用台車 | |
| JP3779244B2 (ja) | 輸送コンテナ |
Legal Events
| Date | Code | Title | Description |
|---|---|---|---|
| A621 | Written request for application examination |
Free format text: JAPANESE INTERMEDIATE CODE: A621 Effective date: 20110812 |
|
| A521 | Request for written amendment filed |
Free format text: JAPANESE INTERMEDIATE CODE: A523 Effective date: 20111021 |
|
| TRDD | Decision of grant or rejection written | ||
| A01 | Written decision to grant a patent or to grant a registration (utility model) |
Free format text: JAPANESE INTERMEDIATE CODE: A01 Effective date: 20121113 |
|
| A977 | Report on retrieval |
Free format text: JAPANESE INTERMEDIATE CODE: A971007 Effective date: 20121115 |
|
| A61 | First payment of annual fees (during grant procedure) |
Free format text: JAPANESE INTERMEDIATE CODE: A61 Effective date: 20121212 |
|
| R150 | Certificate of patent or registration of utility model |
Ref document number: 5160342 Country of ref document: JP Free format text: JAPANESE INTERMEDIATE CODE: R150 |
|
| FPAY | Renewal fee payment (event date is renewal date of database) |
Free format text: PAYMENT UNTIL: 20151221 Year of fee payment: 3 |
|
| R250 | Receipt of annual fees |
Free format text: JAPANESE INTERMEDIATE CODE: R250 |
|
| R250 | Receipt of annual fees |
Free format text: JAPANESE INTERMEDIATE CODE: R250 |
|
| R250 | Receipt of annual fees |
Free format text: JAPANESE INTERMEDIATE CODE: R250 |
|
| R250 | Receipt of annual fees |
Free format text: JAPANESE INTERMEDIATE CODE: R250 |
|
| R250 | Receipt of annual fees |
Free format text: JAPANESE INTERMEDIATE CODE: R250 |
|
| R250 | Receipt of annual fees |
Free format text: JAPANESE INTERMEDIATE CODE: R250 |
|
| R250 | Receipt of annual fees |
Free format text: JAPANESE INTERMEDIATE CODE: R250 |
|
| R250 | Receipt of annual fees |
Free format text: JAPANESE INTERMEDIATE CODE: R250 |
|
| R250 | Receipt of annual fees |
Free format text: JAPANESE INTERMEDIATE CODE: R250 |
|
| S533 | Written request for registration of change of name |
Free format text: JAPANESE INTERMEDIATE CODE: R313533 |
|
| R350 | Written notification of registration of transfer |
Free format text: JAPANESE INTERMEDIATE CODE: R350 |
|
| R250 | Receipt of annual fees |
Free format text: JAPANESE INTERMEDIATE CODE: R250 |
|
| R250 | Receipt of annual fees |
Free format text: JAPANESE INTERMEDIATE CODE: R250 |
