JP2010046803A - 控え用紙付き封書作成用紙 - Google Patents

控え用紙付き封書作成用紙 Download PDF

Info

Publication number
JP2010046803A
JP2010046803A JP2008210299A JP2008210299A JP2010046803A JP 2010046803 A JP2010046803 A JP 2010046803A JP 2008210299 A JP2008210299 A JP 2008210299A JP 2008210299 A JP2008210299 A JP 2008210299A JP 2010046803 A JP2010046803 A JP 2010046803A
Authority
JP
Japan
Prior art keywords
sheet
base material
adhesive
release agent
region
Prior art date
Legal status (The legal status is an assumption and is not a legal conclusion. Google has not performed a legal analysis and makes no representation as to the accuracy of the status listed.)
Granted
Application number
JP2008210299A
Other languages
English (en)
Other versions
JP5071682B2 (ja
Inventor
Jun Sato
潤 佐藤
Current Assignee (The listed assignees may be inaccurate. Google has not performed a legal analysis and makes no representation or warranty as to the accuracy of the list.)
Dai Nippon Printing Co Ltd
Original Assignee
Dai Nippon Printing Co Ltd
Priority date (The priority date is an assumption and is not a legal conclusion. Google has not performed a legal analysis and makes no representation as to the accuracy of the date listed.)
Filing date
Publication date
Application filed by Dai Nippon Printing Co Ltd filed Critical Dai Nippon Printing Co Ltd
Priority to JP2008210299A priority Critical patent/JP5071682B2/ja
Publication of JP2010046803A publication Critical patent/JP2010046803A/ja
Application granted granted Critical
Publication of JP5071682B2 publication Critical patent/JP5071682B2/ja
Active legal-status Critical Current
Anticipated expiration legal-status Critical

Links

Images

Landscapes

  • Credit Cards Or The Like (AREA)

Abstract

【課題】使用者が記入する際の間違いを防止したり、封書作成の際に糊付けの必要がなく、記入情報が外部から認識できない状態にして封書の作成を行なえるようにした控え用紙付き封書作成用紙を提供する。
【解決手段】3枚のシート状基材が重ね合わされ、上から2枚目の第2シート状基材と3枚目の第3シート基材とが接着一体化され、第3シート基材の粘着剤塗布領域の粘着剤上に、第2シート基材の剥離剤塗布領域の剥離剤が重ね合わされて、剥離可能に貼り付けられた状態を有し、更に、第2シート基材に、前記剥離剤塗布領域が設けられた部分と、それ以外の部分と、の間に切り込み線が形成され、第2シート基材の剥離剤塗布領域を有する部分だけを分離可能とし、第2シート状基材及び第3シート基材の横幅寸法は、第1シート状基材の横幅寸法よりも長い寸法で形成され、更に第1シート状基材の右端辺と重なる部分に切り取りミシンが形成されている。
【選択図】 図1

Description

本発明は、口座振替の申込みを郵送で行なう際などに使用するための、控え用紙と、葉書作成用紙とを一体化させた構成を有する控え用紙付き封書作成用紙に関する。
従来、口座振替の申込みを郵送で行なうには、口座振替申込葉書シートを用いるという方法があった。
この口座振替申込葉書シートは、裏面に宛名情報記入部が設けられ、また表面に口座振替に必要な事項を記入するための事項記入欄が設けられた葉書紙片と、更に、表面に、この葉書紙片の事項記入欄に必要事項を記入する際の記入要領が記載され、該表面を葉書紙片の表面に折り合わせて事項記入欄を隠蔽する隠蔽紙片とを折り部を境に連接されてなり、前記隠蔽紙片の重ね合わせ面の全体に剥離後再接着可能な接着剤を設ける一方、前記接着剤を保護するための剥離紙で形成した保護片が設けられてなる構成を有している。
そして、口座振替申込葉書シートから口座振替申込葉書を作成するには、隠蔽紙片の表面に記載されている記入要領を参考にしながら、葉書紙片の事項記入欄に申込者の隠蔽すべき個人情報を記入した後、隠蔽紙片の保護片を剥離し、葉書紙片の表面と、隠蔽紙片の表面と、を折り部から折り重ね合わせ、接着剤で三辺を剥離不能に接着していた。
上記従来の方法では、二枚の紙片を剥離可能に接着した葉書を用いて口座振替申込を行なうので、二紙片を剥離すれば申込の内容を第三者が視認可能であって、親展性に欠けるという問題があった。
また、他の方法として、二枚の紙片を2つに折り畳んで接着して封書を作成して口座振替申込を行なうことも知られている。(例えば、特許文献1参照)
しかしながら、2つに折り畳んだ紙片を透かして内部に記載された内容を盗み見られるという危険性もあり、この場合も親展性に欠けるという問題があった。
また、例えば、申込書を封書化させて郵送する場合には、図8に示すように、申込者側が不要部分の切り取りを行い、所定部分に糊付けを行なった後に巻き折りすることで、封書を作成することができるように構成された巻き折り加工用紙30などが知られている。
このような封書作成用紙を有する巻き折り用紙については、既に種々の仕様のものが知られている。(例えば、特許文献2〜4参照)
特開平11−105467号公報 特開2002−54323号公報 特開2003−200680号公報 特開2003−432715号公報 特開2006−44080号公報
しかしながら、従来の封書作成用紙を有する用紙は、封書を作成する際に、糊代部分に顧客が自分で糊付けを行なわなければならないので不便であるという問題がある。
また、顧客が、封書作成用紙片に個人情報を直接記入した場合には、筆圧により用紙に凹凸が形成されたり、筆跡が封書の外側から透かして見えたりして、記入事項が認識しやすく、個人情報が漏洩する危険性が高いという問題がある。
そこで、本発明は、封書作成用紙から封書を作成する際に、糊代部分に顧客が自分で糊付けを行なう必要がなく、また、封書作成用紙で作成された封書に記入された個人情報が、外部から認識できない状態にして親展性を有し、更に、封書作成用紙から封書を作成する際に、余分なゴミがでないようにして封書を作成することができ、また、その使用者の記入間違いを防止したり、封書の作成を行なえるようにした控え用紙付き封書作成用紙を提供する。
本発明の控え用紙付き封書作成用紙は、少なくとも矩形状を有する3枚のシート状基材が重ね合わされ、最上位の第1シート状基材が、表面に記入欄を有する申込み控え用紙であり、上から2枚目の第2シート状基材と3枚目の第3シート基材とが接着一体化されて封書を作成するための封書作成用紙である控え用紙付き封書作成用紙であって、前記第3シート基材には、左右方向の中央に縦方向の切り取り用ミシン目が形成されて、該切り取り用ミシン目から左側基材部が封書用シートとなり、該封書用シートの上下左右の各々の端辺に沿って縦横方向に切り取り用ミシン目がそれぞれ形成され、前記第3シート基材の前記左側基材上において、前記各切り取り用ミシン目が形成された部分と、各端辺との間の領域に粘着剤が塗布された粘着剤塗布領域を有し、また前記第3シート基材の粘着剤塗布領域以外の全面領域に接着剤が塗布された接着剤塗布領域を有し、前記第2シート状基材には、左右方向の中央に縦方向の切り取り用ミシン目が形成され、該切り取り用ミシン目から左側基材部が封書用シートとなり、前記第3シート基材に形成された切り取り用ミシン目と重なる部分に切り取り用ミシン目が形成され、前記第2シート基材の前記左側基材部の裏面には、前記第3シート基材の粘着剤塗布領域と重なる領域に、剥離剤が塗布された剥離剤塗布領域を有し、前記第3シート基材の粘着剤塗布領域の粘着剤上に、前記第2シート基材の剥離剤塗布領域の剥離剤が重ね合わされて、剥離可能に貼り付けられた状態を有し、更に、前記第2シート基材に、前記剥離剤塗布領域が設けられた部分と、それ以外の部分と、の間に切り込み線が形成されて、前記第2シート基材の剥離剤塗布領域を有する部分だけを分離可能とし、前記第2シート基材の上面であって、裏面側に前記剥離剤塗布領域位置する領域と重なる領域に接着剤が塗布された領域に接着剤塗布領域を有し、前記第1シート状基材の裏面と、前記第2シート基材の上面に設けられた接着剤塗布領域の接着剤とが接着され、前記第2シート状基材及び前記第3シート基材の横幅寸法は、前記第1シート状基材の横幅寸法よりも長い寸法で形成され、更に第1シート状基材の右端辺と重なる部分に切り取りミシンが形成されていることを特徴とする。
また、本発明の控え用紙付き封書作成用紙は、前記第2シート状基材の表面であって、前記第1シート状基材が重ねられていない領域に、記入例又は封書作成方法が記載されていることを特徴とする。
したがって、本発明の控え用紙付き封書作成用紙は、予め密封するための粘着剤がシート基材の所定部分に塗布されているので、封書作成用紙から封書を作成する際に、糊代部分に顧客が自分で糊付けを行なう必要がなく、また、封書を構成するシート基材が2枚重ね合わされた構成を有しているので、封書作成用紙で作成された封書に記入された個人情報が、外部から認識できない状態とすることで親展性を有し、更に、最上位の第1シート状基材を剥がす際に、第2シート基材の所定部分が第1シート状基材に貼付されたまま剥離されるので、封書作成用紙から封書を作成する際に、余分なゴミがでないようにすることができるという効果がある。
また、本発明の控え用紙付き封書作成用紙は、第2シート状基材及び第3シート基材の横幅寸法が、第1シート状基材の横幅寸法よりも長い寸法で形成され、第1シート状基材が重ねられていない領域に、記入例又は封書作成方法が記載されているので、使用者が間違いなく記入し、封書の作成を行なえるという効果がある。
以下、本発明の実施形態に係る控え用紙付き封書作成用紙を図面に基づいて詳細に説明する。
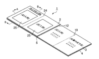
図1には、本発明の実施形態に係る控え用紙付き封書作成用紙の斜視図が示され、図2には、図1のA−A線断面図が示され、図3には、図1のB−B線断面図が示され、図4には、本発明の実施形態に係る控え用紙付き封書作成用紙を構成する各用紙を分離させた状態の平面図が示されている。
図1乃至図4に示すように、本発明の実施形態に係る控え用紙付き封書作成用紙1は、少なくとも矩形状を有する3枚のシート状基材が重ね合わされており、その最上位の第1シート状基材2が、表面に記入欄を有する申込み控え用紙であり、上から2枚目の第2シート状基材3と3枚目の第3シート基材4とが接着一体化された状態となっており、第2シート状基材3及び第3シート基材4の一部を2つに折り畳んで封書を作成できるように構成されている。
次に、控え用紙付き封書作成用紙1を構成する各シート状基材について説明する。
最初に、図4に基づいて最下位の第3シート基材4から説明する。
最下位の第3シート基材4には、左右方向の中央部分に縦方向の切り取り用ミシン目5が形成され、該切り取り用ミシン目5により左側基材部4aと右側基材部4bとに分けられて、左側基材部4aが封書用シートとなる。
第3シート基材4の左側基材部4aと右側基材部4bとには、それぞれ左右方向の中央部分に縦方向の折り畳み用ミシン目10,11が形成されている。
更に、第3シート基材4の切り取り用ミシン目5から左側基材部が封書用シートの上下左右の各々の端辺に沿って、縦横方向に切り取り用ミシン目6,7,8,9がそれぞれ形成されている。
また、第3シート基材4の左側基材部4aの上面において、各々の端辺に沿って、縦横方向に形成された各切り取り用ミシン目6,7,8が形成された部分と、各端辺との間の領域に粘着剤14が塗布された粘着剤塗布領域を有する。
また、第3シート基材4の粘着剤14が塗布された粘着剤塗布領域以外の全面領域に接着剤13が塗布された接着剤塗布領域を有する。
また、第2シート状基材2には、左右方向の中央に縦方向の切り取り用ミシン目12が形成され、該切り取り用ミシン目12から左側基材部4aが封書用シートとなる。
そして、第2シート状基材2には、第3シート基材4に形成された各々の切り取り用ミシン目6,7,8,9と重なる部分に、各々の切り取り用ミシン目15,16,17が形成されている。
また、第2シート状基材2には、第3シート基材4に形成された各々の折り畳み用ミシン目10,11と重なる部分に、各々の折り畳み用ミシン目18,19が形成されている。
第2シート基材2の左側基材部4aの裏面には、前記第3シート基材の粘着剤塗布領域と重なる領域に、剥離剤21が塗布された剥離剤塗布領域を有し、前記第3シート基材4の粘着剤14が塗布された粘着剤塗布領域の粘着剤上に、前記第2シート基材2の剥離剤21が塗布された剥離剤塗布領域の剥離剤が重ね合わされて、剥離可能に貼り付けられている。
更に、前記第2シート基材2には、前記剥離剤21が塗布された剥離剤塗布領域が設けられた部分と、それ以外の部分と、の間に切り込み線22が形成されている。
この切り込み線22により、前記第2シート基材2の剥離剤21が塗布された剥離剤塗布領域を有する部分だけを分離可能としている。
また、前記第2シート基材2の上面であって、裏面側に前記剥離剤塗布領域位置する領域と重なる領域に、接着剤23が塗布された接着剤塗布領域を有している。
そして、前記第1シート状基材の裏面と、前記第2シート基材2の上面に設けられた接着剤23が塗布された接着剤塗布領域の接着剤とが接着されている。
次に、最上位の第1シート状基材2は、前記第2シート状基材3及び前記第3シート基材4の横幅寸法よりも身近な寸法で形成されており、前記第1シート状基材2の左右方向の中央部分に、縦方向の折り畳み用ミシン目24が形成されている。
また、第1シート状基材2の表面には、所望の領域に記入部25が設けられている。
第1シート状基材2の裏面と、第2シート基材3の表面とは、例えば、発色剤及び顕色剤を用いたノーカーボン複写方式やカーボン複写方式などにより複写可能に構成されており、第1シート状基材2の表面の記入部25に記入した内容が、第2シート基材3の表面の複写記入部26に複写されて記入できるように構成されている。
また、第2シート状基材3の左右方向の中央に形成された縦方向の切り取り用ミシン目12から右側基材部4bの表面には、控え用紙付き封書作成用紙1の使用者に対しての説明情報として、記入例や封書作成方法などが記載されており、使用者は、これらの記載内容を参考にしながら必要事項を記入し、封書の作成を行なえるようになっている。
次に、控え用紙付き封書作成用紙1の使用方法を説明する。
まず、控え用紙付き封書作成用紙1の使用者は、図1に示すように、第1シート状基材2の記入部25に必要事項を記入する。
そして、記入部25に記入された内容は、第2シート基材3の表面の複写記入部26に複写される。
次に、図5に示すように、第2シート状基材3及び第3シート基材4を、左右方向の中央部分に縦方向の切り取り用ミシン目5,12から切り取る。
次に、必要事項を記入した使用者は、申込み控え用紙である第1シート状基材2の右側端部あたりを持って、捲り上げをことで、図5に示すように、第2シート基材3及び第3シート基材4から第1シート状基材2を分離させる。
この際に、第2シート基材3に形成された切り込線22で区画される外側の部分の表面が、接着剤23により第1シート状基材2の裏面側で接着状態となっていることから、その部分が第1シート状基材2に付着されたまま剥離される。
これにより、図5に示すように、第2シート基材3に形成された切り込線22で区画される外側の部分だけが剥離されることで、第3シート基材4の表面に設けられた粘着剤塗布領域の粘着剤14が表出された状態となる。
次に、図6に示すように、重ね合わされた状態の第2シート基材3及び第3シート基材4を、折り畳み用ミシン目10,18の部分から2つに折り畳んだ後に、第3シート基材4の粘着剤塗布領域に塗布された粘着剤14により、三辺周縁部を接着させることで密封された封書を作成する。
そして、その封書を郵便ポストに投函するなどして郵送する。
次に、その封書の受取人は、図7に示すように、切り取り用ミシン目6,7,9から切り取ることで、接着された三辺周縁部を分離させて開封させ、複写記入部26に表示された内容を見ることができる。
上記のように、本発明の控え用紙付き封書作成用紙は、封書作成用紙から封書を作成する際に、糊代部分に顧客が自分で糊付けを行なう必要がなく、また、封書作成用紙で作成された封書に記入された個人情報が、外部から認識できない状態にして親展性を有し、更に、封書作成用紙から封書を作成する際に、余分なゴミがでないようにして封書を作成することができるように構成されている。
本発明の実施形態に係る控え用紙付き封書作成用紙の斜視図である。 図1のA−A線断面図である。 図1のB−B線断面図である。 本発明の実施形態に係る控え用紙付き封書作成用紙を構成する各用紙を分離させた状態を示す平面図である。 本発明の実施形態に係る控え用紙付き封書作成用紙の使用方法を説明するための斜視図である。 本発明の実施形態に係る控え用紙付き封書作成用紙で作成された封書の斜視図である。 本発明の実施形態に係る控え用紙付き封書作成用紙で作成された封書を開封させた状態を示す斜視図である。
符号の説明
1 控え用紙付き封書作成用紙
2 第1のシート状基材
3 第2のシート状基材
4 第3のシート状基材
5,6,7,8,9,12,13,15,16,17 切り取り用ミシン目
10,11,18,19,24 折り畳み用ミシン目
13,23 接着剤
14 粘着剤
21 剥離剤
22 切り込線
25 記入部
26 複写記入部
30 巻き折り加工用紙

Claims (2)

  1. 少なくとも矩形状を有する3枚のシート状基材が重ね合わされ、最上位の第1シート状基材が、表面に記入欄を有する申込み控え用紙であり、上から2枚目の第2シート状基材と3枚目の第3シート基材とが接着一体化されて封書を作成するための封書作成用紙である控え用紙付き封書作成用紙であって、
    前記第3シート基材には、左右方向の中央に縦方向の切り取り用ミシン目が形成されて、該切り取り用ミシン目から左側基材部が封書用シートとなり、該封書用シートの上下左右の各々の端辺に沿って縦横方向に切り取り用ミシン目がそれぞれ形成され、
    前記第3シート基材の前記左側基材上において、前記各切り取り用ミシン目が形成された部分と、各端辺との間の領域に粘着剤が塗布された粘着剤塗布領域を有し、また前記第3シート基材の粘着剤塗布領域以外の全面領域に接着剤が塗布された接着剤塗布領域を有し、
    前記第2シート状基材には、左右方向の中央に縦方向の切り取り用ミシン目が形成され、該切り取り用ミシン目から左側基材部が封書用シートとなり、前記第3シート基材に形成された切り取り用ミシン目と重なる部分に切り取り用ミシン目が形成され、
    前記第2シート基材の前記左側基材部の裏面には、前記第3シート基材の粘着剤塗布領域と重なる領域に、剥離剤が塗布された剥離剤塗布領域を有し、前記第3シート基材の粘着剤塗布領域の粘着剤上に、前記第2シート基材の剥離剤塗布領域の剥離剤が重ね合わされて、剥離可能に貼り付けられた状態を有し、更に、前記第2シート基材に、前記剥離剤塗布領域が設けられた部分と、それ以外の部分と、の間に切り込み線が形成されて、前記第2シート基材の剥離剤塗布領域を有する部分だけを分離可能とし、前記第2シート基材の上面であって、裏面側に前記剥離剤塗布領域位置する領域と重なる領域に接着剤が塗布された領域に接着剤塗布領域を有し、
    前記第1シート状基材の裏面と、前記第2シート基材の上面に設けられた接着剤塗布領域の接着剤とが接着され、
    前記第2シート状基材及び前記第3シート基材の横幅寸法は、前記第1シート状基材の横幅寸法よりも長い寸法で形成され、更に第1シート状基材の右端辺と重なる部分に切り取りミシンが形成されていることを特徴とする控え用紙付き封書作成用紙。
  2. 前記第2シート状基材の表面であって、前記第1シート状基材が重ねられていない領域に、記入例又は封書作成方法が記載されていることを特徴とする請求項1記載の控え用紙付き封書作成用紙。
JP2008210299A 2008-08-19 2008-08-19 控え用紙付き封書作成用紙 Active JP5071682B2 (ja)

Priority Applications (1)

Application Number Priority Date Filing Date Title
JP2008210299A JP5071682B2 (ja) 2008-08-19 2008-08-19 控え用紙付き封書作成用紙

Applications Claiming Priority (1)

Application Number Priority Date Filing Date Title
JP2008210299A JP5071682B2 (ja) 2008-08-19 2008-08-19 控え用紙付き封書作成用紙

Publications (2)

Publication Number Publication Date
JP2010046803A true JP2010046803A (ja) 2010-03-04
JP5071682B2 JP5071682B2 (ja) 2012-11-14

Family

ID=42064328

Family Applications (1)

Application Number Title Priority Date Filing Date
JP2008210299A Active JP5071682B2 (ja) 2008-08-19 2008-08-19 控え用紙付き封書作成用紙

Country Status (1)

Country Link
JP (1) JP5071682B2 (ja)

Cited By (1)

* Cited by examiner, † Cited by third party
Publication number Priority date Publication date Assignee Title
JP2014109626A (ja) * 2012-11-30 2014-06-12 We'll Corporation:Kk 返信葉書付き広告印刷物

Citations (8)

* Cited by examiner, † Cited by third party
Publication number Priority date Publication date Assignee Title
JPS6078475U (ja) * 1983-10-31 1985-05-31 トツパン・ム−ア株式会社 申込書
JPH02296653A (ja) * 1989-05-12 1990-12-07 Asahi Chem Ind Co Ltd 封緘片付袋
JPH106668A (ja) * 1996-06-20 1998-01-13 Dainippon Printing Co Ltd 光カード
JPH11105467A (ja) * 1997-09-30 1999-04-20 Toppan Forms Co Ltd 控紙付き口座振替申込封筒用シート
JP2004001269A (ja) * 2002-05-31 2004-01-08 Toppan Forms Co Ltd 申込封書用シート
JP2006347102A (ja) * 2005-06-20 2006-12-28 Toppan Forms Co Ltd 送付体
JP2007245576A (ja) * 2006-03-16 2007-09-27 Toppan Forms Co Ltd 送付体
JP2008055822A (ja) * 2006-09-01 2008-03-13 Daio Paper Corp 隠蔽情報記録用積層シート

Patent Citations (8)

* Cited by examiner, † Cited by third party
Publication number Priority date Publication date Assignee Title
JPS6078475U (ja) * 1983-10-31 1985-05-31 トツパン・ム−ア株式会社 申込書
JPH02296653A (ja) * 1989-05-12 1990-12-07 Asahi Chem Ind Co Ltd 封緘片付袋
JPH106668A (ja) * 1996-06-20 1998-01-13 Dainippon Printing Co Ltd 光カード
JPH11105467A (ja) * 1997-09-30 1999-04-20 Toppan Forms Co Ltd 控紙付き口座振替申込封筒用シート
JP2004001269A (ja) * 2002-05-31 2004-01-08 Toppan Forms Co Ltd 申込封書用シート
JP2006347102A (ja) * 2005-06-20 2006-12-28 Toppan Forms Co Ltd 送付体
JP2007245576A (ja) * 2006-03-16 2007-09-27 Toppan Forms Co Ltd 送付体
JP2008055822A (ja) * 2006-09-01 2008-03-13 Daio Paper Corp 隠蔽情報記録用積層シート

Cited By (1)

* Cited by examiner, † Cited by third party
Publication number Priority date Publication date Assignee Title
JP2014109626A (ja) * 2012-11-30 2014-06-12 We'll Corporation:Kk 返信葉書付き広告印刷物

Also Published As

Publication number Publication date
JP5071682B2 (ja) 2012-11-14

Similar Documents

Publication Publication Date Title
JP5151744B2 (ja) 封書用紙付き帳票
JP4515231B2 (ja) 葉書シートと葉書シートの使用方法
JP2010012702A (ja) 封書用紙付き帳票
JP5487620B2 (ja) 封書作成用シート
JP5071682B2 (ja) 控え用紙付き封書作成用紙
JP5071681B2 (ja) 控え用紙付き封書作成用紙
JP5223558B2 (ja) 控え用紙付き封書用紙
JP5223559B2 (ja) 控え用紙付き封書用紙
JP4039823B2 (ja) 封書形成用複写シート
JP5223557B2 (ja) 控え用紙付き封書用紙
JP5223560B2 (ja) 控え用紙付き封書用紙
JP5115459B2 (ja) 封書作成用シート
JP2017013266A (ja) 送付物
JP2010120276A (ja) 封書作成用シート
JP2007261254A (ja) 冊子状送付物
JP4580771B2 (ja) 隠蔽ハガキ
JP5835407B2 (ja) 封書用紙付き帳票
JP4756246B2 (ja) カード作製用シート
JP4362819B2 (ja) 封書式シート
JP2022092245A5 (ja)
JP5835406B2 (ja) 封書用紙付き帳票
JP6254113B2 (ja) はがき付き印刷物
JP4860344B2 (ja) 簡易封筒
JP4169317B2 (ja) 配送用具
JP2007168412A (ja) 封筒作製用シート

Legal Events

Date Code Title Description
A621 Written request for application examination

Free format text: JAPANESE INTERMEDIATE CODE: A621

Effective date: 20110527

A977 Report on retrieval

Free format text: JAPANESE INTERMEDIATE CODE: A971007

Effective date: 20120720

TRDD Decision of grant or rejection written
A01 Written decision to grant a patent or to grant a registration (utility model)

Free format text: JAPANESE INTERMEDIATE CODE: A01

Effective date: 20120725

A01 Written decision to grant a patent or to grant a registration (utility model)

Free format text: JAPANESE INTERMEDIATE CODE: A01

A61 First payment of annual fees (during grant procedure)

Free format text: JAPANESE INTERMEDIATE CODE: A61

Effective date: 20120807

R150 Certificate of patent or registration of utility model

Ref document number: 5071682

Country of ref document: JP

Free format text: JAPANESE INTERMEDIATE CODE: R150

Free format text: JAPANESE INTERMEDIATE CODE: R150

FPAY Renewal fee payment (event date is renewal date of database)

Free format text: PAYMENT UNTIL: 20150831

Year of fee payment: 3