JP2010046486A - 歯科用放射線装置とその利用法 - Google Patents

歯科用放射線装置とその利用法 Download PDF

Info

Publication number
JP2010046486A
JP2010046486A JP2009193280A JP2009193280A JP2010046486A JP 2010046486 A JP2010046486 A JP 2010046486A JP 2009193280 A JP2009193280 A JP 2009193280A JP 2009193280 A JP2009193280 A JP 2009193280A JP 2010046486 A JP2010046486 A JP 2010046486A
Authority
JP
Japan
Prior art keywords
sensor
ray generator
axis
slit
ray
Prior art date
Legal status (The legal status is an assumption and is not a legal conclusion. Google has not performed a legal analysis and makes no representation as to the accuracy of the status listed.)
Granted
Application number
JP2009193280A
Other languages
English (en)
Other versions
JP5547443B2 (ja
Inventor
Jean-Marc Inglese
アングルス ジャン−マルク
Vincent Loustauneau
ルストノー バンサン
Sylvie Bothorel
ボトレル シルビィ
Current Assignee (The listed assignees may be inaccurate. Google has not performed a legal analysis and makes no representation or warranty as to the accuracy of the list.)
Trophy SAS
Original Assignee
Trophy SAS
Priority date (The priority date is an assumption and is not a legal conclusion. Google has not performed a legal analysis and makes no representation as to the accuracy of the date listed.)
Filing date
Publication date
Application filed by Trophy SAS filed Critical Trophy SAS
Publication of JP2010046486A publication Critical patent/JP2010046486A/ja
Application granted granted Critical
Publication of JP5547443B2 publication Critical patent/JP5547443B2/ja
Expired - Fee Related legal-status Critical Current
Anticipated expiration legal-status Critical

Links

Images

Classifications

    • AHUMAN NECESSITIES
    • A61MEDICAL OR VETERINARY SCIENCE; HYGIENE
    • A61BDIAGNOSIS; SURGERY; IDENTIFICATION
    • A61B6/00Apparatus or devices for radiation diagnosis; Apparatus or devices for radiation diagnosis combined with radiation therapy equipment
    • A61B6/50Apparatus or devices for radiation diagnosis; Apparatus or devices for radiation diagnosis combined with radiation therapy equipment specially adapted for specific body parts; specially adapted for specific clinical applications
    • A61B6/51Apparatus or devices for radiation diagnosis; Apparatus or devices for radiation diagnosis combined with radiation therapy equipment specially adapted for specific body parts; specially adapted for specific clinical applications for dentistry

Landscapes

  • Health & Medical Sciences (AREA)
  • Life Sciences & Earth Sciences (AREA)
  • Medical Informatics (AREA)
  • Engineering & Computer Science (AREA)
  • Optics & Photonics (AREA)
  • Biomedical Technology (AREA)
  • Biophysics (AREA)
  • High Energy & Nuclear Physics (AREA)
  • Oral & Maxillofacial Surgery (AREA)
  • Nuclear Medicine, Radiotherapy & Molecular Imaging (AREA)
  • Dentistry (AREA)
  • Pathology (AREA)
  • Radiology & Medical Imaging (AREA)
  • Physics & Mathematics (AREA)
  • Heart & Thoracic Surgery (AREA)
  • Molecular Biology (AREA)
  • Surgery (AREA)
  • Animal Behavior & Ethology (AREA)
  • General Health & Medical Sciences (AREA)
  • Public Health (AREA)
  • Veterinary Medicine (AREA)
  • Apparatus For Radiation Diagnosis (AREA)

Abstract

【課題】歯科用放射線装置の改善。
【解決手段】X線発生装置(18)とその正面でX線を受光するセンサー(20)を具備し、これらの組立体を所定面内の所定の軌跡に沿って移動させパノラマ画像を生成するに適したものであり、X線発生装置は面に垂直な軸に沿って延伸するコリメーション用スリット(18e、18f)を備え、第1の動作モードでこの軸に沿って延伸するX線ビームを発生しセンサーは画素マトリックスを備えビームに対応して軸に沿って延伸する。センサーを90°軸回転させて面に平行に延伸するようにする手段と、X線発生装置を第1の動作モードからセンサーの方向に平行に延伸するX線ビームを発生させる第2の動作モードに移行させ、センサーを常にビームと対応させる手段(22)とを備える。
【選択図】図1

Description

本発明は、歯科用放射線装置と、その利用法に関する。
歯科放射線医学の分野では、例えばパノラマ画像またはコーン・ビーム断層画像を取得するため、X線発生装置とX線センサーのそれぞれをアーチの形態になった構造体のアームに取り付けた状態で備える歯科用放射線装置が知られている。
パノラマ画像しか得られない装置が存在している一方で、別の装置は、パノラマ画像とコーン・ビーム断層画像の両方を生成させることができる。
第1のタイプの装置では、X線発生装置は鉛直方向のコリメーション用スリットを備えていて、画素マトリックスの形態にされたセンサーは、そのX線発生装置のスリットと向かい合って配置された鉛直方向のスリットの背後に配置されている。
X線撮影をする対象物は、X線発生装置とセンサーの間に配置される。X線は、スリットによってコリメートされた円錐の形態でX線発生装置からその対象物に向けて発生する。センサーは、その対象物を照射したX線を受光して電気信号に変換し、照射された対象物の画像の信号を出力する。
このタイプの装置を用いて患者の顎のX線撮影を行ない、特にその顎のパノラマ画像を取得することを望む場合には、患者はアーチの下でX線発生装置とセンサーの間に座った状態または立った状態になる。
センサーが患者の顎の画像信号を供給できるよう、アーチは、顎にX線を照射している間に鉛直回転軸のまわりを回転する。
アーチの回転軸は、回転運動すると同時に、患者の歯列弓の形状に沿った馬蹄形の軌跡を描く。興味の対象となる求める領域(歯列弓)は顎をカバーしている。
しかしX線発生装置とセンサーは患者の両側に位置しているため、回転中にセンサーによって捕集される取得画像において骨構造が顎と重なることになる。
この重複の影響を制限するため、センサーの画素を、アーチの運動と位置に依存した速度でシフトさせる。すると運動によるぼけが生じ、望ましくない上記の骨構造が水平な帯(引きずりによるぼけ)となるため、診断を確立する際の不便さが制限される。
さらに、軌跡がたどる運動とは逆方向にシフトして読み取られるセンサーの画素は、鮮明領域にある歯列弓の面に対して固定されたままに留まるようにされている。
この方法はTDI(時間遅延積分)という名称で知られており、線量の収支をよりよくするのにも寄与する。
アーチの回転速度、回転中心の軌跡、センサー上の画素の並進速度を組み合わせることで、患者の歯列弓に従うある程度広い帯の形状の鮮明領域を得ることができる。この鮮明領域の両側に位置する対象物は、引きずりによるぼけとなる。
患者の顎の展開図として現われる得られた画像のレベルでは、鮮明領域の中に位置する対象物は、この鮮明領域の両側に位置する対象物によって生じる引きずりによるぼけから明らかに分離しているため、診断が容易になる。
この軌跡に沿ったセンサーとX線発生装置の移動は、アーチの上方に位置していて回転面内でX軸とY軸に沿ってセンサーとX線発生装置の運動を制御するためのサーボモータ機構(例えばX、Y方向に制御される盤)のおかげでなされる。
この機構を制御するには、患者の歯列弓の形状に合った軌跡を知る必要がある。
ところでパノラマ画像を得るとき、装置のオペレータは、患者の顎に合わせてセンサーとX線発生装置の移動を制御することを可能にする情報を利用できない。
したがって装置は、オペレータが標準的な複数の歯列弓の形状を利用できるようにされていることが非常にしばしばあり、オペレータはその中から、X線撮影する患者に最も合っていると思われるものを選択する。標準的な形状は典型的な形状の統計データに基づいている。次に、センサーとX線発生装置の組立体が、選択した歯列弓の標準的な形状に対応する軌跡をたどるように装置をプログラムする(軌跡は、歯列弓の標準的な形状の互いに反対側の2つの辺の間の平均線として規定される)。
しかしこの解決法は完全に満足のゆくものではない。というのも、センサーとX線発生装置が患者の顎の形状に合った位置にないからである。
その結果、このようにして得られた画像内の興味の対象となる領域の鮮明さに問題が生じる可能性がある。例えば患者の歯は、オペレータが選択した歯列弓の標準的な形状に完全には含まれない可能性がある。
さらに、上に説明したばかりの選択法では、パノラマ画像を得るのにオペレータが複数の操作を実行せねばならない。しかもこのパノラマ画像では、歯列弓のいくつかの領域(門歯、臼歯など)が不正確になることがある。
以上のことを考慮すると、上記の問題のうちの少なくとも1つを解決するのに少なくともわずかでも寄与できる装置と、その利用法があると興味深いであろう。
そこで本発明では、X線発生装置と、その正面にあってそのX線発生装置から出るX線を受光するセンサーとを備えていて、そのX線発生装置とそのセンサーで構成される組立体をある面P内の所定の軌跡に沿って移動させることによってパノラマ画像を生成させることができ、X線発生装置は、面Pに垂直な軸Zに沿って延伸する少なくとも1つのコリメーション用スリットを備えていて、第1の動作モードにおいて、この軸に沿って延伸するX線ビームを発生させ、センサーは画素マトリックスを備えていて、このビームに対応して軸Zに沿って延伸する構成にされた歯科用放射線装置において、この歯科用放射線装置が、
センサーを90°軸回転させて面Pに平行な方向に延伸するようにする手段と、
少なくとも1つのコリメーション用スリットを備えるX線発生装置を第1の動作モードから第2の動作モードに移行させ、その第2の動作モードにおいて、センサーの方向に平行に延伸するX線ビームを発生させることで、このように配置されたセンサーがそのビームと常に対応しているようにする手段と、
を備える歯科用放射線装置を提案する。
したがってパノラマ画像の取得に適したセンサーを有するパノラマ撮影装置は、センサーを通常の位置(パノラマ撮影モード)から、コーン・ビーム断層撮影によって対象物の興味の対象となる領域の立体表示を取得できる位置に移動させることのできる手段を備えている。同様に、この装置は、その結果としてその少なくとも1つのスリットを備えるX線発生装置の動作モードを変えることのできる手段、すなわちX線ビームが延伸する方向を変えることのできる手段を備えている。というのもビームが延伸する方向は、軸回転の後にセンサーの方向に合っていなければならないからである。
パノラマ画像を撮影する歯科用放射線装置のこの新しい構成では、装置の新しい機能が獲得されて、(コーン・ビーム断層撮影により)対象物に固有の特別な領域の立体表示を得ることができる。この立体表示は、装置が通常のパノラマ撮影モードで動作してパノラマ画像を生成させるときにこの装置によって利用される。
さらに、この装置は、特に、
第2の動作モードにあるX線発生装置と、面Pに平行に配置されたセンサーとで構成される組立体を、軸Zに平行な固定軸のまわりを回転駆動させる手段と、
その回転運動の間にX線発生装置−センサーの組立体が取る複数の角度位置について、コリメートされたX線を照射された対象物の複数の画像信号を取得する手段と、
取得した画像信号の集合をもとにして、照射された対象物の立体表示を得る手段と、
このようにして得られた立体表示をもとにして、その対象物のパノラマ画像をのちに生成させるときにX線発生装置−センサーの組立体がたどらねばならない軌跡を特定する手段とを備えている。
(センサーと生成するX線ビームで空間的な方向が異なる)この新しい構成では、パノラマ撮影装置は、コーン・ビーム断層撮影によって供給されるデータを処理することにより、断層撮影する対象物に合った軌跡を得ることのできる手段を備えている。この対象物のパノラマ画像を作り出すとき、パノラマ撮影装置の移動がこの軌跡に沿ってガイドされ、センサーとX線発生装置が、対象物の輪郭のできるだけ近くをたどる、すなわち対象物の輪郭をできるだけ忠実にたどることになる。
その結果、生成する対象物のパノラマ画像は、以前よりも優れた品質になろう。このようにして対象物(例えば歯列弓)が鮮明面の中にあることを保証する。
さらに、オペレータは、標準的ないろいろなタイプの歯列弓の中から選択する必要がなくなる。するとエラーの危険性と操作の回数が減る。
1つの特徴によれば、複数の画像信号を取得する手段は、センサーの画素マトリックスによって捕集されたデータを読み取る手段を備えていて、その読み取り手段が、所定数の画素に従って画素をグループ化する手段を備えているため、このようにグループ化された画素が読み取られる。
画素をグループ化すると、装置を動作させるために用いるX線の線量を減らすことができる。
画素をグループ化することで取得する画像の空間解像度が失われるとしても、求める情報が何であるかを考慮するとこれは問題ではない。
1つの特徴によれば、得られた立体表示をもとにして軌跡を特定する手段は、この立体表示を構成するデータを閾値化またはセグメント化する手段を備えている。
1つの特徴によれば、X線発生装置は単一のコリメーション用スリットを備えているため、そのX線発生装置とそのスリットを90°軸回転させることによって面Pに平行な方向に沿って延伸するX線ビームを生成させることができる。
装置は、その目的で、X線発生装置とそのコリメーション用スリットからなる組立体を命令によって軸回転させる手段(例えばモータ)を備えている。
1つの特徴によれば、X線発生装置は、互いに垂直な方向に沿って延伸する2つのコリメーション用スリットを備えているため、それぞれが、命令によりそのX線発生装置の前を次々に通過し、軸Zに沿って延伸するX線ビームと、その軸Zに垂直な軸に沿って延伸するX線ビームをそれぞれ生成させることができる。
装置は、その目的で、命令によってスリットを移動させ、そのことによって適切な方向を向いたそのスリットをX線発生装置の出力ウインドウの前に位置させることで、望む軸に沿って延伸するビームを発生させる手段(例えばモータ)を備えている。
1つの特徴によれば、X線発生装置は単一のコリメーション用スリットを備えていて、歯科用放射線装置は、そのスリットの互いに垂直な方向に沿った長さを調節する手段を備えている。
したがってスリットの向きが一方の方向であるか他方の方向であるかを命令によって調節できる。
スリットのサイズも必要に応じて調節されることに注意されたい。
1つの特徴によれば、調節手段は、それぞれの方向に独立である。
このようにして、それぞれの方向に固有の調節手段のおかげで、スリットを一方の方向に沿って延伸するように選択し、他方の方向に沿った延び方は変えないことが可能である。
1つの特徴によれば、コリメーション用スリットは4つの辺によって区画されていて、調節手段がその各辺を互いに独立に移動させることができる。
したがってこの機構により、利用の柔軟性が大きくなり、2つずつ向かい合った辺の間の離れ具合を特に細かく調節できる。
本発明は、X線発生装置と、その正面にあってそのX線発生装置から出るX線を受光するセンサーとを備えていて、そのX線発生装置は、面Pに垂直な軸Zに沿って延伸する少なくとも1つのコリメーション用スリットを備えていて、第1の動作モードにおいて、この軸に沿って延伸するX線ビームを発生させ、センサーは画素マトリックスを備えていて、このビームに対応して軸Zに沿って延伸する構成にされた歯科用放射線装置をもとにして、対象物のパノラマ画像を生成させる方法であって、この方法が、その対象物のパノラマ画像を生成させるためにX線発生装置−センサーの組立体が面P内をたどる軌跡を得るため、この歯科用放射線装置をコーン・ビーム断層撮影モードで動作させることを目的として、
− センサーを90°軸回転させて面Pに平行な方向に延伸するようにするステップと、
− 少なくとも1つのコリメーション用スリットを備えるX線発生装置を第1の動作モードから第2の動作モードに移行させ、その第2の動作モードにおいて、センサーの方向に平行に延伸するX線ビームを発生させることで、このように配置されたセンサーがそのビームと常に対応しているようにするステップをあらかじめ含むことを特徴とする方法も目的とする。
したがってこの方法では、パノラマ撮影モードで動作する装置の機能改善に利用されることになるデータを取得するためとパノラマ画像の品質を向上させるため(特に後者)、一時的にパノラマ撮影動作モードからコーン・ビーム断層撮影動作モードに移るようにされている。
特に、この方法は、
第2の動作モードにあるX線発生装置と、面Pに平行に配置されたセンサーとで構成される組立体を、軸Zに平行な固定軸のまわりを回転駆動させるステップと、
その回転運動の間にX線発生装置−センサーの組立体が取る複数の角度位置について、コリメートされたX線を照射された対象物の複数の画像信号を取得するステップと、
取得した画像信号の集合をもとにして、照射された対象物の立体表示を得るステップと、
このようにして得られた立体表示をもとにして、その対象物のパノラマ画像をのちに生成させるときにX線発生装置−センサーの組立体がたどらねばならない軌跡を特定するステップと、
を含んでいる。
したがって装置をコーン・ビーム断層撮影動作モードにするとき、照射された対象物の立体表示、またはその対象物の一部または興味の対照となる領域の立体表示を得ることが可能である。
パノラマ画像を得るのに実行する全操作の線量の収支が不利な状況になることを避けるため、この立体表示を得るのに必要な線量を少なくする。
線量のこの低下が可能なのは、対象物の立体表示が低すぎる円筒形に内接しているため、その円筒形を構成するデータを診断の目的では利用できないからである。
さらに、パノラマ撮影動作モード用に求める軌跡を決定するために対象物の立体表示(対象物またはその一部の包絡線)を構成するデータに対して行なわれる処理操作(閾値化またはセグメント化)では、品質の優れた画像が必要とされない。
したがってX線の線量の低下が可能である。なぜならこの低下によってこの軌跡を得ることは妨げられないからである。
求める軌跡は、上記の立体表示によって供給される対象物またはその一部の包絡線に対する平均線として規定することができる。
コーン・ビーム断層撮影動作モードで利用されるX線の線量をさらに減らせることに注意されたい。そのためには、複数の画像信号を取得するステップに、画素マトリックスによって捕集されたデータを読み取るステップが含まれる。このステップでは、センサーの画素を所定の数に従って(画素のグループが正方形を形成するように)グループ化し、このようにしてグループ化された画素を読み取ることが想定されている。
例えば画素を2×2のグループにする場合には、信号対雑音比が4倍になり、X線の線量が1/4になる。
装置をのちにパノラマ撮影動作モードで用いるとき、X線発生装置−センサーの組立体は、対象物の実際のデータのおかげで上記のようにして得られた軌跡に沿って移動することになる。すると生成するパノラマ画像の品質、特に鮮明さが保証されることになる。
1つの特徴によれば、本発明の方法は、
センサーを90°軸回転させてそのセンサーを軸Zに平行な位置に戻すステップと、
少なくとも1つのコリメーション用スリットを有するX線発生装置を第2の動作モードから第1の動作モードに移行させるステップと、
少なくとも1つのコリメーション用スリットを有するX線発生装置と、軸Zに平行に配置されたスリットとで構成される組立体を、あらかじめ特定された軌跡に沿って移動させる命令を、軸Zに平行な軸のまわりの回転運動と組み合わせるステップと、
命令されたこの移動をセンサーの画素のシフトと組み合わせてパノラマ画像を取得するステップとを、
含んでいる。
したがって、センサーを90°軸回転させ、上記の少なくとも1つのコリメーション用スリットを有するX線発生装置の第1の動作モードをアクティブにすることにより、通常のパノラマ撮影動作モードに容易に戻る。
したがって得られる軌跡によってセンサーとX線発生装置の面内での移動を正確かつ信頼性よくプログラムし、優れた品質の最終画像を生成させることができる。
本発明の他の特徴と利点は、添付の図面を参照した例示としての以下の説明に現われるであろう。
本発明の歯科用放射線装置の全体概略図である。 パノラマ撮影動作モードのため、画像取得用の第1の面と、鉛直方向の第1の形状のスリットの配置を示す全体概略図である。 図1の装置の移動盤24を単純化した全体概略図である。 軌跡決定動作モードのためにセンサーと水平状態のスリットが配置されている状態を示す全体図である。 幾何学的形状を変えることのできる単一のスリットを実現するために利用する手段の概略図である。 幾何学的形状を変えることのできる単一のスリットを実現するために利用する手段の概略図である。 図5aと図5bの機構で得られるスリットの一例である。 図1の装置の動作アルゴリズムである。 対象物23の一部を再構成した立体の概略図である。 歯列弓と本発明のおかげで得られた軌跡とを上から見た概略図である。 図8の軌跡から得られるパノラマ画像の概略図である。
図1に全体を参照番号10で示してあるように、本発明による歯科用放射線装置は、パノラマ撮影タイプの装置である。この装置により、ある対象物(例えば歯列弓)のパノラマ画像を生成させることができる。この装置は、固定されたフレーム12(例えば鉛直な支柱)を備えており、そのフレームに、回転する断層撮影ユニット14が取り付けられている。断層撮影ユニットについてこれから説明する。
このユニットは、横倒しにされたC字形の可動構造体16(アーチ)を備えていて、このアーチは、支持体を形成していてC字の本体を構成する中央の水平な支柱16aと、この水平な支柱から下に向かってそれぞれがC字の2つの枝を構成する鉛直な2本のアーム16b、16cとを有する。
X線源またはX線発生装置18がアーム16bに固定されている一方で、可動検出ユニット20がアーム16cに取り付けられている。
したがってX線発生装置18と検出ユニット20は互いに向かい合って配置されていて、互いに固定された幾何学的関係にある。
X線発生装置18と検出ユニット20の支持体として機能する構造体16は、回転するX線撮影ユニット14の心臓部を構成する。
放射線医学装置10は、図示していないが、フレーム12の一端に固定された下方アームも備えている。このアームの自由端には、この装置が動作してX線画像を取得している間、患者の頭部を動かなくすることのできる位置決め装置が取り付けられている。したがって頭部はX線発生装置18と検出ユニット20の間に挿入される。
X線発生装置18には、検出ユニット20と向かい合う面18aに、例えば円弧の形状(扇形)の可動支持体22が取り付けられている。この面18aには、X線発生装置から出るX線の出力ウインドウ18bが設けられている。
支持体22は、X線のこの出力ウインドウ18bの前に位置しており、複数(例えば3つ)のコリメーション用スリットを備えている。これらスリットは、それぞれ、支持体の制御状態に応じて出力ウインドウ18bの正面に位置する。
移動手段(例えばモータ18c)により、支持体22の移動を制御することができる。ここでは移動は、X線発生装置の面18aに垂直な軸18dのまわりを回転する形態でなされる。
図示した例では、スリットは、互いに垂直な方向に延びている。各スリットが順番にウインドウ18bの前に配置されるとき、スリット18eは鉛直方向であり、スリット18fは水平方向である。
各スリットは例えば長方形の形状である。
したがってコリメートされたX線ビームは、正面にある長方形断面のスリットを通過することによって先端が切断された円錐の形状を持つ。このビームは、底面において(スリットの面に平行な断面内で)、スリットが延伸する方向に対応する方向に沿って延びている。
図1に示した状態では、Z軸に沿って延伸するスリット18eが選択された(X線発生装置の第1の動作モード)。
アーム16cに固定されたセンサー20は、X線発生装置18と向かい合った位置にある。このセンサーは、X線発生装置から出てそのX線発生装置とセンサーの間に配置された対象物を照射した後のX線を受光することと、対象物を横断することによって減衰したX線を、この対象物のX線画像を表わす電気信号に変換することができる。
センサーは、装置のこの第1の動作モードのため、Z軸(図1)に平行な長手方向に沿って延伸していてコリメーション用スリット18eから出るビームに対応する構成にされた画素マトリックスを備えていることに注意されたい。
このセンサーは、例えばCCDタイプの電荷移動センサーであり、その長方形のサイズは例えば12cm(Z軸に沿った高さ)×1cm(幅)である。センサー20aの制御と電力供給のための電子回路が、そのセンサーの裏側に設けられている。
図1の装置は、公知のようにパノラマ撮影モード(第1のモード)で動作することができる。
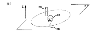
そうするため、第1の形状のスリット22aを備えたX線発生装置とアーチ状構造体によって支持された第1のセンサー20aとを含む組立体が、Z軸に垂直な面P内を移動する(図2)。しかし装置の動作は、互いに垂直なZ軸と面Pがそれぞれ鉛直方向と水平方向でないとしても同じであろう。
面P内の移動は、Z軸に平行な軸の回転と、患者23の顎の歯列弓の全体形状を再現する馬蹄形の軌跡に沿った移動を組み合わせた結果としての運動である。
この軌跡は、水平面内で、歯列弓の互いに反対側の2つの辺の間の平均線に対応している。
X線発生装置−センサーの組立体の移動は、支持構造体の移動手段によって保証される。
この手段は、例えばX、Y方向に制御される移動盤の形態(サーボ制御機構)であり、上記の軌跡を描くようプログラムされている。
図3に非常に大まかに示してあるように、盤24は、第1の方向A1(Y)を向いた長手方向の2本のレール32、34の上を第1の駆動手段の作用によって滑る第1の台車30を備えている。第1の駆動手段は、例えばウォーム38によってその台車に接続されたモータ36である。
盤は、第2の方向A2(X)(方向A1とA2は、面Pに平行な平面内に含まれる)の長手方向を向いた2本のレール42、44の上を第2の駆動手段の作用によって滑る第2の台車40も備えている。第2の駆動手段は、例えばウォーム48によってその台車に接続されたモータ46である。
盤24はアーチ形状の構造体16と一体化しており、駆動手段49(例えばモータ)が構造体16に接続されていて、命令により、この構造体を、面Pに垂直で、したがって方向A1とA2によって規定される面に垂直な回転軸51のまわりに回転駆動する。
台車30と40がX方向とY方向に沿って移動するのを適切に制御することにより、構造体16は、面P内で求める(馬蹄形の)軌跡を描く。
X線発生装置と第1のセンサー20aが面P内で対象物(患者の顎)のまわりを移動するとき、そのセンサーは、TDI(時間遅延積分として知られる)と呼ばれるモードで動作する。
公知のこの動作モードは、患者の顎を照射したX線を捕集する可動センサーの画素が顎に対して固定されていると見なされるようにすることを目的としている。
そうするため、マトリックスの読み取りパルスのもとで、シフト・レジスタに向けてのマトリックスの行のシフトがセンサーの移動方向と逆になるように画素マトリックスの読み取り頻度を調節する。
したがってTDIモードにより、得られるパノラマ画像のぼけ現象を避けることができる。
図1の装置に関して上に説明したばかりの第1の動作モードは、パノラマ撮影モードに関する。
しかし本発明の装置を第2の動作モードで利用し、パノラマ撮影動作モードにおいてセンサーとX線発生装置がたどることになる軌跡を決定することができる。
そうするため、装置は、図2のセンサー20を90°軸回転させてそのセンサーを図4に示した位置にする手段20b(例えばモータ)を備えている。
するとセンサーは面Pに平行な方向に沿って延びた状態に配置される。
装置は、一般に少なくとも1つのコリメーション用スリット(図2でZ軸に沿って延伸するスリット)を有するX線発生装置が、第1の動作モードから、スリットが面Pとセンサーの長手方向に平行な方向に沿って延びている第2の動作モードへと移行するのに適した手段をさらに備えている。
第2の動作モードでは、このような空間的方向のスリットを有するX線発生装置は、底面においてその同じ方向に沿って延伸するX線ビームを生成させることができる。
したがってセンサーとスリットは常に向かい合った位置にあるため、X線ビームは軸回転した後に常にセンサーに到達することができる。
図1に示した実施例では、放射線医学装置は、スリットの支持体22の駆動手段18cに対する移動命令に従って切り換えることのできる2つのコリメーション用スリット18e、18fを備えている。
スリットを切り換える(スリット支持体を矢印25で示した方向に軸回転させる)ことにより、図2の鉛直方向のスリット18eは水平方向のスリット18fで置き換えられ、そのスリット18fが出力ウインドウ18bの前に来る。
このように配置されたセンサー20とスリット18f(図4)は、次に、対象物23に合った上記の軌跡を決定するため、図3の手段49によって回転軸B(鉛直方向)のまわりに回転駆動される。軌跡の決定についてはあとで説明する。
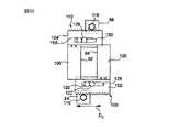
図5aと図5bは、図1のスリット18eと18fの代わりに、幾何学的形状を変えることのできる単一のコリメーション用スリットを実現できる一変形例を示している。
命令によってスリットの幾何学的形状を変えるため、その中でも特に互いに垂直な2つの方向(例えば水平方向と鉛直方向)に沿った長さを変えるため、調節手段が設けられている。
より詳細には、スリットの1つの方向に沿った長さを変えることのできる調節手段は、別の方向での長さを変えることのできる手段とは独立であるため、調節の柔軟性が非常に大きい。
図示した実施例では、放射線医学装置は、コリメーション用スリットを規定する4つの辺58、60、62、64のそれぞれの位置を独立に変化させる独立な4つの調節手段50、52、54、56を備えている。
この装置は、例えば図1のX線発生装置に支持されるか、構造体16(例えばアーム16b)に直接固定されてウインドウ18bの前に位置するスリット支持体(図示せず)を備えている。
この支持体には、順番に、図5bの機構が、次いで図5aの機構が重ねられる。
これらの機構は、図を見やすくするために重ねた状態では示していない。
より詳細には、図5aの機構は、互いに向かい合って配置された2枚の(例えば長方形の)プレート66、68の2つの辺58、60を備えており、それぞれ、垂直に配置された別のプレート70、72に固定されている。
したがってそれぞれのプレート対66、70と68、72は、L字、または180°回転したL字を形成する。
それぞれの対の第2のプレート70、72は、第1のプレートが固定されている辺とは反対側の辺に、一列になった長手方向の歯74、76を備えている。
辺58(または60)の移動手段は、歯の付いたピニオン78(または80)を出力軸に有するモータ50(または52)を備えている。このピニオンは、歯76(または74)と協働し、ピニオンの回転方向に応じてプレート72と68を方向D1に沿っていずれかの方向に移動させる。
対応するプレート、したがって対応する辺の長手方向の移動をガイドするため、ガイド用開口部82(または84)が第2のプレート72(または70)に設けられるとともに、上記の支持体に固定された2つのガイド用ピン86、88(または90、92)がこの開口部の中に位置している。
この機構によって向かい合った辺58と60の方向D1に沿った離れ具合を調節することで、スリットの1つの方向のサイズ、したがって1つの方向の長さを調節することができる。
それと同様に、図5bに示した機構によって向かい合った辺62と64の垂直な方向D2に沿った離れ具合を調節することで、別の方向に沿ったスリットの1つのサイズを調節することができる。
例えば辺62と64を近づけ、辺58と60を離すと、方向D1に沿って細長い形状のスリットになる。すると(図1と図2のスリット18eと同様)図5cに示したZ軸に沿って細長いスリットが得られる。
逆に、辺62と64を離し、辺58と60を近づけると、方向D2に沿って細長い形状のスリットが実現する。したがって図1と図4のスリット18fのようにZ軸に垂直な軸に沿って細長いスリットが得られる。
図5bに示したさまざまな要素、すなわち第1と第2のプレート100、102(または104、106)、歯108(または110)、モータ54(または56)、歯の付いたピニオン116(または118)、ガイド用開口部128(または130)の中のガイド用ピン120、122(または124、126)は、図6aの対応する要素と同じだが、90°だけずれている。
上に説明したばかりのパノラマ撮影装置10は、従来よりも品質が向上したパノラマ画像の実現を可能にする手段を備えている。この装置の利用法/動作モードについてこれから説明する。
図6は、本発明の装置10を動作させる方法の主要なステップを詳細に示すアルゴリズムである。
このアルゴリズムは、例えば装置10の機能を制御するプログラム可能な装置(例えばPCタイプのコンピュータ)のメモリ領域に記憶され、命令によって実行される。
本発明の方法は、自動的に実施できると望ましかろう。すると人間の介入が制限される。
図6に示した本発明の方法のアルゴリズムは、放射線医学装置がパノラマ撮影モード(第1の動作モード)から出て軸回転モード(第2の動作モード)に移る第1のステップS1を含んでいる。
より詳細には、このステップにおいて、センサーはモータ20bによって自動的に回転駆動され、装置がパノラマ撮影モードで動作するとき(図1と図2)に占める初期位置から90°軸回転運動する。
このときセンサーは、面Pに平行な方向に沿って延伸する配置にされている(図4)。同様に、X線発生装置の第2の動作モードでは、スリット支持体22が移動してスリット18fがウインドウ18bの前に来る。したがって面Pおよびセンサーと平行な方向を向いたこのスリットによってコリメートされたX線ビームは、センサーの新しい位置に常に対応するようになっている。したがってX線発生装置から出てスリットによってコリメートされたX線は、向かい合ったセンサーによって常に受光される。
図5aと図5bに示した変形例だと、上に説明したように適切なやり方で辺を移動させて調節可能なスリットを変形させ、図2(図5c)のスリットから図4のスリットに移すことに注意されたい。
次のステップS2では、放射線医学装置がCBCT(コーン・ビーム断層撮影)動作モードに移る。
パノラマ撮影装置は、CBCT技術の画像センサーが不適切な形状であるため、通常は、CBCT技術でX線撮影を行なう装備を備えていないことに注意されたい。
しかし本発明では、この技術を利用して完全なX線画像を得ることはできず、この動作モードは、一時的に、パノラマ撮影モードではアクセスできない(照射された対象物に固有の)個人的ないくつかのデータを取得するのに用いられる。このデータは、のちにパノラマ撮影モードで利用されることになる。
したがってステップS2の後に、X線発生装置とセンサーの間に配置された対象物(例えば図4の対象物23、より詳細には患者の顎)のデータをコーン・ビーム断層撮影(CBCT)モードで取得するステップS3が続く。
特にステップS3においては、コリメーション用スリットを有するX線発生装置とセンサーからなる組立体が面P内でZ軸に平行な軸Bのまわりに回転駆動される。この回転運動の間、この組立体は、順番に複数の角度位置を占め、その各角度位置において、コリメートされたX線を照射された対象物の画像信号がセンサーによって取得される。
この運動の間、X線発生装置−センサーの組立体の回転中心は固定されている。この中心は、例えば対象物23の上に位置する。
この組立体の各角度位置に関してセンサーによって捕集されたデータは、対象物の、X線発生装置−画像センサーの軸に沿った射影を表わす。
したがってX線発生装置とセンサーの組立体が完全に一回転し終わると、例えば、ビームを照射された対象物23の1つの射影をそれぞれが表わす画像信号の集合と、対象物の360通りの射影(1°回転するごとに撮影される場合)が得られる。
それぞれのアナログ画像信号は、センサーの画素マトリックスによって捕集され、そのセンサーによってアナログ電気信号に変換され、次いでディジタル信号に変換される。
これらの信号を得るのに用いるX線の線量を減らすには、読み取りのためにセンサーがマトリックスの画素をあらかじめ決めた数(例えば2または3)に従ってグループ化できることを利用するのが適切であることに注意されたい。
確かに、選択したグループ化に従って画素を2つまたは3つのグループによって読み取ることにより、マトリックスの読み取りの雑音が減ってセンサーの信号対雑音比が大きくなるため、X線の線量を少なくすることができる。
次のステップS4では、対象物の照射された部分の立体が、あらかじめ得られた画像信号の集合をもとにして再構成される。再構成されたこの立体は、高さが低い円柱150の形状である。倍率は別にして、この円柱の高さまたは厚さz1は、センサーの最も短い部分の長さ(短辺)に対応しているのに対し、この円柱の直径のほうは、センサーの最も長い部分の長さ(長辺)によって制限される。
例えば円柱の高さは、数ミクロンから数ミリメートルになる。
立体150を図7に示してある。この立体は、患者の歯列弓を包含している。
再構成されたこの立体150は、照射された対象物の形状の立体表示を提供する。この立体には、この対象物に特有の求めるデータを明らかにするのに十分な情報が含まれる。
対象物の立体表示は、興味の対象である領域の(軸Zに沿った)高さの中心に位置することに注意されたい。このように中心を決める操作は、X線発生装置−センサーの組立体を、その組立体を回転させる前に位置決めするとき(ステップS2)に実現される。ここで説明している例において興味の対象となる領域は、患者の顎の“噛み合わせ面”、すなわち歯と歯の接触面である。
次のステップS5では、このようにして再構成された立体から、興味の対象である対象物またはその一部を、すなわち特にここでは患者の歯列弓を明確にする。
そのためには、再構成された立体中のデータに対して“閾値化”または“セグメント化”と呼ばれる操作を行なう。
例えば閾値化によって歯とその周辺環境の間で密度の差を表わすグレーのレベルの差を分析することで、歯列弓の三次元形状を導出する。
歯列弓152の形状がこのようにして得られる。それを上から見た図として図8に示してある。この図では、再構成された立体150の包絡線も示してある。
歯列弓152の形状から水平断面を取り出すことにより、次のステップS6において、上から見たときに歯列弓の中でその歯列弓の互いに向かい合った辺の間を延伸する平均線154を決定する。
この平均線の決定は、“軌跡”を特定することに対応する。
より詳細には、この平均線154(図8)は、のちに装置がパノラマ撮影モードで動作するとき、X線発生装置とセンサーが対象物のパノラマ画像を得るためにたどる軌跡として利用されることになる。
馬蹄形のこの軌跡により、対象物に適合していて個人に合わせた状態で、パノラマ撮影装置10をプログラムすることができる。従来のパノラマ撮影装置は、標準的な歯列弓の形状をもとにして機能する。したがってその歯列弓はX線撮影する対象物に合っておらず、本発明とは異なってほとんど正確ではない。
閾値化のステップは、軌跡の決定の一部をなすことに注意されたい。
ステップS6で特定される軌跡は、さまざまな現象(歯の充填物などの金属アーチファクト(金属対象物の周囲に星状のノイズを生じさせる可能性がある)や、場の中に存在する他の対象物(例えば図8の脊柱156))によって乱されることがある。
ステップS6で得られた軌跡の精度を向上させるため、この軌跡を例えば平滑化によって修正する(オプションの)ステップS7が設けられている。
修正された軌跡が得られると、次のステップS8に移る。このステップでは、スリットは新たに90°軸回転し、Z軸(ここでは鉛直軸)に平行な向きに戻される。
同様に、スリット支持体22を移動させてスリット18eをX線発生装置のウインドウ18bの前に来させると、X線発生装置は第1の動作モードに戻る。センサーとX線発生装置のスリットのこの配置は、すでに説明した図2の配置である。
軸まわりのこの回転ステップの後、パノラマ撮影装置を新たにプログラムしてパノラマ撮影モードで動作させることができる。
この機会に、ステップS6で得られて場合によってはステップS7で変更された軌跡が利用され、コリメーション用スリットを有するX線発生装置とセンサーとが新たにZ軸に平行に配置された状態の組立体の移動がプログラムされる。
従来よりも合致した軌跡を利用して装置がパノラマ撮影モードで動作している間、X線発生装置とセンサーからなる組立体は、鉛直方向の回転軸のまわりを回転運動する。この回転軸は、命令を受け、図3に示したさまざまな駆動手段のおかげでこの軌跡に沿った移動もする。
この移動の間、鉛直方向に配置されたセンサーは、上に説明したTDIモードで動作し、X線を照射された対象物(ここでは歯列弓)の画像データを取得する。その画像データから、求めるパノラマ画像が生成される。
公知のように、歯列弓のパノラマ画像は、馬蹄形の軌跡に沿って移動している間にセンサーによって取得された画像データをもとにして得られる。
アーチ16の回転運動と、移動盤24の助けを借りたアーチの回転中心の移動と、センサーの画素のシフト(TDIモード)とを組み合わせることにより、鮮明領域の中に常に含まれる仮想的な回転点を再び作り出す。したがって鮮明領域の外に位置する解剖学的構造体は引きずりによるぼけとなって診断を損なうことはないのに対し、鮮明領域に含まれる構造体は鮮明に現われる。
図9は、本発明によって得られたパノラマ画像の概略図である。
このようにして得られたパノラマ画像は、従来から知られている方法と比べて最適化された品質を持つことに注意されたい。というのも、パノラマ画像は、ここでは、対象物、特にこの場合には患者の顎の形状に完全に合っているからである。
さらに、上に説明したばかりの方法では、オペレータが、不正確な結果をもたらす多数の操作をすることが回避される。
装置がCBCTモードで動作しているとき、このモードでは高品質の画像を得ようとしていないことに注意されたい。それが理由で、この動作モードではX線の線量を減らすことができる。

Claims (14)

  1. 歯科用放射線装置(10)であって、
    X線発生装置(18)と、その正面にあってそのX線発生装置から出るX線を受光するセンサー(20)とを備えていて、そのX線発生装置とそのセンサーで構成される組立体をある面(P)内の所定の軌跡に沿って移動させることによって対象物のパノラマ画像を生成させることができるもので、
    X線発生装置は、面(P)に垂直な軸(Z)に沿って延伸する少なくとも1つのコリメーション用スリット(18e、18f)を備えていて、
    第1の動作モードにおいて、この軸に沿って延伸するX線ビームを発生させ、
    センサーは画素マトリックスを備えていて、このビームに対応して軸(Z)に沿って延伸する構成にされているものにおいて、
    センサーを90°軸回転させて面(P)に平行な方向に延伸するようにする手段と、
    少なくとも1つのコリメーション用スリット(18e、18f)を備えるX線発生装置を第1の動作モードから第2の動作モードに移行させ、その第2の動作モードにおいて、センサーの方向に平行に延伸するX線ビームを発生させることで、このように配置されたセンサーがそのビームと常に対応しているようにする手段(22)とを備える、
    ことを特徴とする歯科用放射線装置。
  2. 第2の動作モードにあるX線発生装置と、面(P)に平行に配置されたセンサーとで構成される組立体を、軸(Z)に平行な固定軸のまわりを回転駆動させる手段(49)と、
    その回転運動の間にX線発生装置−センサーの組立体が取る複数の角度位置について、コリメートされたX線を照射された対象物の複数の画像信号を取得する手段と、
    取得した画像信号の集合をもとにして、照射された対象物の立体表示を得る手段と、
    このようにして得られた立体表示をもとにして、その対象物のパノラマ画像をのちに生成させるときにX線発生装置−センサーの組立体がたどらねばならない軌跡を特定する手段と、を備える、
    ことを特徴とする請求項1に記載の歯科用放射線装置。
  3. 複数の画像信号を取得する手段が、センサーの画素マトリックスによって捕集されたデータを読み取る手段を備えていて、
    その読み取り手段が、所定数の画素に従って画素をグループ化する手段を備えているため、このようにグループ化された画素が読み取られる、
    ことを特徴とする請求項2に記載の歯科用放射線装置。
  4. 得られた立体表示をもとにして軌跡を特定する手段が、この立体表示を構成するデータを閾値化またはセグメント化する手段を備える、
    ことを特徴とする、請求項2または3に記載の歯科用放射線装置。
  5. X線発生装置(18)が単一のコリメーション用スリットを備えているため、そのX線発生装置とそのスリットを90°軸回転させることによって面(P)に平行な方向に沿って延伸するX線ビームを生成させることができる、
    ことを特徴とする請求項1から4のいずれか1項に記載の歯科用放射線装置。
  6. X線発生装置が、互いに垂直な方向に沿って延伸する2つのコリメーション用スリット(18e、18f)を備えているため、それぞれが、命令によりそのX線発生装置の前を次々に通過し、軸(Z)に沿って延伸するX線ビームと、その軸(Z)に垂直な軸に沿って延伸するX線ビームをそれぞれ生成させることができる、
    ことを特徴とする請求項1から4のいずれか1項に記載の歯科用放射線装置。
  7. X線発生装置(18)が単一のコリメーション用スリットを備えていて、この歯科用放射線装置が、そのスリットの互いに垂直な方向に沿った長さを調節する手段(74、76、78、80、108、110、116、118)を備えている、
    ことを特徴とする請求項1から4のいずれか1項に記載の歯科用放射線装置。
  8. 調節手段が、それぞれの方向に独立であることを特徴とする、請求項7に記載の歯科用放射線装置。
  9. コリメーション用スリットが4つの辺(58、60、62、64)によって区画されていて、調節手段がその各辺を互いに独立に移動させることができることを特徴とする、請求項7または8に記載の歯科用放射線装置。
  10. 歯科用放射線装置をもとにして、対象物のパノラマ画像を生成させる方法であって、
    歯科用放射線装置が、
    X線発生装置(18)と、その正面にあってそのX線発生装置から出るX線を受光するセンサー(20)とを備えていて、
    そのX線発生装置は、面(P)に垂直な軸(Z)に沿って延伸する少なくとも1つのコリメーション用スリット(18e、18f)を備えていて、第1の動作モードにおいて、この軸に沿って延伸するX線ビームを発生させ、センサーは画素マトリックスを備えていて、このビームに対応して軸(Z)に沿って延伸する構成にされていて、
    この方法が、
    その対象物のパノラマ画像を生成させるためにX線発生装置−センサーの組立体が面(P)内をたどる軌跡を得るため、この歯科用放射線装置をコーン・ビーム断層撮影モードで動作させることを目的として、
    センサーを90°軸回転させて面(P)に平行な方向に延伸するようにするステップ(S1)と、
    少なくとも1つのコリメーション用スリット(18e、18f)を備えるX線発生装置を第1の動作モードから第2の動作モードに移行させ、その第2の動作モードにおいて、センサーの方向に平行に延伸するX線ビームを発生させることで、このように配置されたセンサーがそのビームと常に対応しているようにするステップ(S2)と、
    をあらかじめ含む、
    ことを特徴とする方法。
  11. 第2の動作モードにあるX線発生装置と、面(P)に平行に配置されたセンサーとで構成される組立体を、軸(Z)に平行な固定軸のまわりを回転駆動させるステップと、
    その回転運動の間にX線発生装置−センサーの組立体が取る複数の角度位置について、コリメートされたX線を照射された対象物の複数の画像信号を取得するステップ(S3)と、
    取得した画像信号の集合をもとにして、照射された対象物の立体表示を得るステップ(S4)と、
    このようにして得られた立体表示をもとにして、その対象物のパノラマ画像をのちに生成させるときにX線発生装置−センサーの組立体がたどらねばならない軌跡を特定するステップ(S6)と、を含む、
    ことを特徴とする請求項10に記載の方法。
  12. 複数の画像信号を取得するステップが、センサーの画素マトリックスによって捕集されたデータを読み取るステップを含んでいて、その読み取りステップが、所定数の画素に従って画素をグループ化する操作を含んでいるため、このようにグループ化された画素が読み取られる、
    ことを特徴とする請求項11に記載の方法。
  13. 得られた立体表示をもとにして軌跡を特定するステップが、この立体表示を構成するデータを閾値化またはセグメント化するステップ(S5)を含む、
    ことを特徴とする請求項11または12に記載の方法。
  14. センサーを90°軸回転させてそのセンサーを軸(Z)に平行な位置に戻すステップ(S8)と、
    少なくとも1つのコリメーション用スリットを有するX線発生装置を第2の動作モードから第1の動作モードに移行させるステップと、
    少なくとも1つのコリメーション用スリットを有するX線発生装置と、軸(Z)に平行に配置されたスリットとで構成される組立体を、あらかじめ特定された軌跡に沿って移動させる命令を、軸(Z)に平行な軸のまわりの回転運動と組み合わせるステップと、
    命令されたこの移動をセンサーの画素のシフトと組み合わせてパノラマ画像を取得するステップと、を含む、
    ことを特徴とする請求項11から13のいずれか1項に記載の方法。
JP2009193280A 2008-08-22 2009-08-24 歯科用放射線装置とその利用法 Expired - Fee Related JP5547443B2 (ja)

Applications Claiming Priority (2)

Application Number Priority Date Filing Date Title
FR0855685A FR2938183B1 (fr) 2008-08-22 2008-08-22 Appareil de radiologie dentaire panoramique et procede d'utilisation associe
FR0855685 2008-08-22

Publications (2)

Publication Number Publication Date
JP2010046486A true JP2010046486A (ja) 2010-03-04
JP5547443B2 JP5547443B2 (ja) 2014-07-16

Family

ID=40419086

Family Applications (1)

Application Number Title Priority Date Filing Date
JP2009193280A Expired - Fee Related JP5547443B2 (ja) 2008-08-22 2009-08-24 歯科用放射線装置とその利用法

Country Status (5)

Country Link
US (1) US8503604B2 (ja)
EP (1) EP2156792B1 (ja)
JP (1) JP5547443B2 (ja)
KR (1) KR101642987B1 (ja)
FR (1) FR2938183B1 (ja)

Cited By (5)

* Cited by examiner, † Cited by third party
Publication number Priority date Publication date Assignee Title
JP2012065779A (ja) * 2010-09-22 2012-04-05 Asahi Roentgen Kogyo Kk 医療用x線撮影装置
JP2013116318A (ja) * 2011-11-02 2013-06-13 Morita Mfg Co Ltd パノラマx線断層撮影装置および画像処理装置
JP2015516825A (ja) * 2012-03-12 2015-06-18 ジェノレイ カンパニー、リミテッド X線撮影装置
WO2016018002A1 (ko) * 2014-07-28 2016-02-04 주식회사바텍 엑스선 영상 촬영장치 및 엑스선 영상 촬영방법
JP2018532482A (ja) * 2015-10-09 2018-11-08 コーニンクレッカ フィリップス エヌ ヴェKoninklijke Philips N.V. 血管内デバイスのための操縦デバイスのための進化した制御機能並びに関連するシステム及び方法

Families Citing this family (16)

* Cited by examiner, † Cited by third party
Publication number Priority date Publication date Assignee Title
CN103458793B (zh) * 2010-12-22 2018-08-03 特罗菲公司 数字检测器
FR2982759B1 (fr) 2011-11-17 2013-11-29 Trophy Appareil de radiologie dentaire panoramique
FR2992877B1 (fr) * 2012-07-06 2015-07-03 Phenix Systems Procede de pilotage de faisceau laser pour fabrication d'objets tridimensionnels par couches superposees.
WO2014037770A1 (en) * 2012-09-07 2014-03-13 Trophy Apparatus for partial ct imaging
KR20150088679A (ko) * 2014-01-24 2015-08-03 주식회사바텍 Ct 촬영 장치
US9408581B2 (en) 2014-03-07 2016-08-09 Elwha Llc Systems, devices, and methods for lowering dental x-ray dosage including feedback sensors
CN103908288B (zh) * 2014-03-21 2016-03-02 北京工业大学 沿真实牙弓轨迹扫描的数字化牙科曲面断层全景x光机
US9888891B2 (en) 2014-06-26 2018-02-13 Palodex Group Oy X-ray imaging unit for medical imaging
CN105741239B (zh) * 2014-12-11 2018-11-30 合肥美亚光电技术股份有限公司 牙齿全景图像的生成方法、装置及用于拍摄牙齿的全景机
EP3272291B1 (en) * 2015-03-18 2021-01-27 Vatech Co., Ltd. Device and method for reconstructing medical image
US10049467B2 (en) * 2015-03-18 2018-08-14 Vatech Co., Ltd. Apparatus and method for reconstructing medical image
ITUA20162102A1 (it) * 2016-03-30 2017-09-30 Cefla S C Dispositivo di limitazione del fascio per apparecchiature radiografiche
JP6837400B2 (ja) * 2017-08-23 2021-03-03 株式会社モリタ製作所 X線撮影装置及びx線撮影方法
US11341609B2 (en) * 2017-09-28 2022-05-24 3Shape A/S Method and system for generating a panoramic image
KR102026716B1 (ko) 2017-11-15 2019-09-30 주식회사 에스엠디솔루션 엑스선 영상 촬영장치 및 이를 사용한 촬영방법
KR102026715B1 (ko) 2017-11-15 2019-09-30 주식회사 에스엠디솔루션 케이블 정렬장치, 상기 케이블 정렬장치를 포함하는 엑스선 영상 촬영장치 및 상기 엑스선 영상 촬영장치를 사용한 촬영방법

Citations (7)

* Cited by examiner, † Cited by third party
Publication number Priority date Publication date Assignee Title
JPH09122118A (ja) * 1995-11-06 1997-05-13 Morita Mfg Co Ltd 医療用x線断層撮影装置
US6224373B1 (en) * 1999-03-15 2001-05-01 Samsung Sds Co., Ltd. Simulation method for visualizing density of jawbone for dental implantation
JP2003175031A (ja) * 2001-10-02 2003-06-24 Morita Mfg Co Ltd デジタルx線パノラマ撮影装置
WO2007046372A1 (ja) * 2005-10-17 2007-04-26 J. Morita Manufacturing Corporation 医療用デジタルx線撮影装置及び医療用デジタルx線センサ
JP2007156706A (ja) * 2005-12-02 2007-06-21 Fujitsu Ltd 歯科治療を支援するシミュレーション方法
JP2007159635A (ja) * 2005-12-09 2007-06-28 Hitachi Medical Corp X線計測装置、x線計測方法およびx線計測プログラム
JP2007330687A (ja) * 2006-06-19 2007-12-27 Hitachi Medical Corp パノラマ断層像生成装置及びパノラマ断層像生成プログラム

Family Cites Families (22)

* Cited by examiner, † Cited by third party
Publication number Priority date Publication date Assignee Title
EP0340349B1 (en) * 1988-05-06 1998-10-21 Dentsply Research & Development Corp. Dental X-ray apparatus for panoramic tomography
JP3291406B2 (ja) * 1995-02-09 2002-06-10 株式会社モリタ製作所 パノラマx線撮影装置
JP3319905B2 (ja) * 1995-03-24 2002-09-03 株式会社モリタ製作所 デジタルx線撮影装置
US7136452B2 (en) * 1995-05-31 2006-11-14 Goldpower Limited Radiation imaging system, device and method for scan imaging
JP3807833B2 (ja) * 1996-12-10 2006-08-09 株式会社モリタ製作所 X線撮影装置
JP3743594B2 (ja) * 1998-03-11 2006-02-08 株式会社モリタ製作所 Ct撮影装置
JP3919048B2 (ja) * 1998-09-02 2007-05-23 株式会社モリタ製作所 局所照射x線ct撮影装置
WO2000057789A1 (fr) * 1999-03-25 2000-10-05 Nihon University Appareil et procede d'imagerie obtenue par tomographie informatisee (ct) aux rayons x, par rayonnement local
JP2001284210A (ja) * 2000-03-30 2001-10-12 Canon Inc 露光装置、デバイス製造方法、半導体製造工場および露光装置の保守方法
JP3926120B2 (ja) * 2001-02-16 2007-06-06 株式会社モリタ製作所 被写体のx線撮影位置設定手段、この手段を備えたx線撮影装置
WO2003084407A1 (fr) * 2002-04-11 2003-10-16 J. Morita Manufacturing Corporation Equipement de tomodensitometrie
JP2006061501A (ja) * 2004-08-27 2006-03-09 Morita Mfg Co Ltd X線撮影装置
FI118413B (fi) * 2005-04-11 2007-11-15 Planmeca Oy Tietokonetomografialaitteisto
JP4488948B2 (ja) * 2005-04-11 2010-06-23 株式会社モリタ製作所 X線ct撮影用ユニットおよびx線撮影装置
US7336763B2 (en) * 2005-05-02 2008-02-26 Oy Ajat Ltd Dental extra-oral x-ray imaging system and method
KR100707796B1 (ko) * 2005-08-08 2007-04-13 주식회사바텍 파노라마 및 씨티 겸용 엑스선 촬영장치
KR100794563B1 (ko) * 2005-08-08 2008-01-17 주식회사바텍 파노라마 및 씨티 겸용 엑스선 촬영장치
EP1815794B1 (en) * 2006-02-01 2015-11-04 Gendex Corporation Dental x-ray apparatus and method of positioning a patient therein
WO2008092009A2 (en) * 2007-01-24 2008-07-31 Imaging Sciences International Llc Adjustable scanner
JP2008229322A (ja) * 2007-02-22 2008-10-02 Morita Mfg Co Ltd 画像処理方法、画像表示方法、画像処理プログラム、記憶媒体、画像処理装置、x線撮影装置
US7715526B2 (en) * 2008-03-13 2010-05-11 Oy Ajat Limited Single sensor multi-functional dental extra-oral x-ray imaging system and method
FR2938182B1 (fr) * 2008-08-22 2010-11-19 Trophy Appareil de radiologie dentaire et procede d'utilisation associe

Patent Citations (7)

* Cited by examiner, † Cited by third party
Publication number Priority date Publication date Assignee Title
JPH09122118A (ja) * 1995-11-06 1997-05-13 Morita Mfg Co Ltd 医療用x線断層撮影装置
US6224373B1 (en) * 1999-03-15 2001-05-01 Samsung Sds Co., Ltd. Simulation method for visualizing density of jawbone for dental implantation
JP2003175031A (ja) * 2001-10-02 2003-06-24 Morita Mfg Co Ltd デジタルx線パノラマ撮影装置
WO2007046372A1 (ja) * 2005-10-17 2007-04-26 J. Morita Manufacturing Corporation 医療用デジタルx線撮影装置及び医療用デジタルx線センサ
JP2007156706A (ja) * 2005-12-02 2007-06-21 Fujitsu Ltd 歯科治療を支援するシミュレーション方法
JP2007159635A (ja) * 2005-12-09 2007-06-28 Hitachi Medical Corp X線計測装置、x線計測方法およびx線計測プログラム
JP2007330687A (ja) * 2006-06-19 2007-12-27 Hitachi Medical Corp パノラマ断層像生成装置及びパノラマ断層像生成プログラム

Cited By (6)

* Cited by examiner, † Cited by third party
Publication number Priority date Publication date Assignee Title
JP2012065779A (ja) * 2010-09-22 2012-04-05 Asahi Roentgen Kogyo Kk 医療用x線撮影装置
JP2013116318A (ja) * 2011-11-02 2013-06-13 Morita Mfg Co Ltd パノラマx線断層撮影装置および画像処理装置
JP2015516825A (ja) * 2012-03-12 2015-06-18 ジェノレイ カンパニー、リミテッド X線撮影装置
WO2016018002A1 (ko) * 2014-07-28 2016-02-04 주식회사바텍 엑스선 영상 촬영장치 및 엑스선 영상 촬영방법
US10405815B2 (en) 2014-07-28 2019-09-10 Vatech Co., Ltd. X-ray imaging device
JP2018532482A (ja) * 2015-10-09 2018-11-08 コーニンクレッカ フィリップス エヌ ヴェKoninklijke Philips N.V. 血管内デバイスのための操縦デバイスのための進化した制御機能並びに関連するシステム及び方法

Also Published As

Publication number Publication date
US20100074403A1 (en) 2010-03-25
US8503604B2 (en) 2013-08-06
EP2156792B1 (en) 2013-03-13
FR2938183A1 (fr) 2010-05-14
FR2938183B1 (fr) 2011-12-09
KR20100023785A (ko) 2010-03-04
JP5547443B2 (ja) 2014-07-16
KR101642987B1 (ko) 2016-07-26
EP2156792A1 (en) 2010-02-24

Similar Documents

Publication Publication Date Title
JP5547443B2 (ja) 歯科用放射線装置とその利用法
JP5519974B2 (ja) 歯科用放射線装置とその利用法
US7676022B2 (en) Extra-oral digital panoramic dental x-ray imaging system
CN108463170B (zh) X光图像显示设备和x光图像显示方法
JP5123702B2 (ja) 放射線ct装置
US10687768B2 (en) X-ray image forming device
KR20130018896A (ko) 방사선 촬상 장치 및 동장치에 이용하는 팬텀
EP3845130B1 (en) Dental imaging with photon-counting detector
JP6040502B2 (ja) 歯科用x線撮影装置
US9066687B2 (en) Panoramic dental x-ray unit
JP2019536605A (ja) 複数のx線画像から2d画像を再構築する方法
KR101941019B1 (ko) 엑스선 촬영 장치 및 방법
JP2007151849A (ja) X線ct撮影方法およびx線ct装置
KR20200037998A (ko) 파노라마 영상 생성 방법, 파노라마 영상 생성 장치 및 컴퓨터 판독 가능한 기록 매체
KR20170105756A (ko) 3차원 광차 엑스선 ct 촬영장치

Legal Events

Date Code Title Description
A621 Written request for application examination

Free format text: JAPANESE INTERMEDIATE CODE: A621

Effective date: 20120217

RD03 Notification of appointment of power of attorney

Free format text: JAPANESE INTERMEDIATE CODE: A7423

Effective date: 20130307

RD04 Notification of resignation of power of attorney

Free format text: JAPANESE INTERMEDIATE CODE: A7424

Effective date: 20130307

A977 Report on retrieval

Free format text: JAPANESE INTERMEDIATE CODE: A971007

Effective date: 20130425

A131 Notification of reasons for refusal

Free format text: JAPANESE INTERMEDIATE CODE: A131

Effective date: 20130501

A601 Written request for extension of time

Free format text: JAPANESE INTERMEDIATE CODE: A601

Effective date: 20130801

A602 Written permission of extension of time

Free format text: JAPANESE INTERMEDIATE CODE: A602

Effective date: 20130806

A521 Request for written amendment filed

Free format text: JAPANESE INTERMEDIATE CODE: A523

Effective date: 20131101

A131 Notification of reasons for refusal

Free format text: JAPANESE INTERMEDIATE CODE: A131

Effective date: 20131211

A521 Request for written amendment filed

Free format text: JAPANESE INTERMEDIATE CODE: A523

Effective date: 20140311

TRDD Decision of grant or rejection written
A01 Written decision to grant a patent or to grant a registration (utility model)

Free format text: JAPANESE INTERMEDIATE CODE: A01

Effective date: 20140421

A61 First payment of annual fees (during grant procedure)

Free format text: JAPANESE INTERMEDIATE CODE: A61

Effective date: 20140515

R150 Certificate of patent or registration of utility model

Ref document number: 5547443

Country of ref document: JP

Free format text: JAPANESE INTERMEDIATE CODE: R150

R250 Receipt of annual fees

Free format text: JAPANESE INTERMEDIATE CODE: R250

R250 Receipt of annual fees

Free format text: JAPANESE INTERMEDIATE CODE: R250

R250 Receipt of annual fees

Free format text: JAPANESE INTERMEDIATE CODE: R250

R250 Receipt of annual fees

Free format text: JAPANESE INTERMEDIATE CODE: R250

R250 Receipt of annual fees

Free format text: JAPANESE INTERMEDIATE CODE: R250

R250 Receipt of annual fees

Free format text: JAPANESE INTERMEDIATE CODE: R250

LAPS Cancellation because of no payment of annual fees