JP2010045463A - 表示素子・電子素子モジュールおよびその製造方法、電子情報機器 - Google Patents

表示素子・電子素子モジュールおよびその製造方法、電子情報機器 Download PDF

Info

Publication number
JP2010045463A
JP2010045463A JP2008206440A JP2008206440A JP2010045463A JP 2010045463 A JP2010045463 A JP 2010045463A JP 2008206440 A JP2008206440 A JP 2008206440A JP 2008206440 A JP2008206440 A JP 2008206440A JP 2010045463 A JP2010045463 A JP 2010045463A
Authority
JP
Japan
Prior art keywords
electronic element
display
resin
lens
support substrate
Prior art date
Legal status (The legal status is an assumption and is not a legal conclusion. Google has not performed a legal analysis and makes no representation as to the accuracy of the status listed.)
Granted
Application number
JP2008206440A
Other languages
English (en)
Other versions
JP5037450B2 (ja
Inventor
Yoshitaka Okita
悦崇 沖田
Shigekazu Takada
栄和 高田
Masahito Imanishi
雅人 今西
Kazuya Fujita
和弥 藤田
Current Assignee (The listed assignees may be inaccurate. Google has not performed a legal analysis and makes no representation or warranty as to the accuracy of the list.)
Sharp Corp
Original Assignee
Sharp Corp
Priority date (The priority date is an assumption and is not a legal conclusion. Google has not performed a legal analysis and makes no representation as to the accuracy of the date listed.)
Filing date
Publication date
Application filed by Sharp Corp filed Critical Sharp Corp
Priority to JP2008206440A priority Critical patent/JP5037450B2/ja
Priority to US12/462,525 priority patent/US8704961B2/en
Publication of JP2010045463A publication Critical patent/JP2010045463A/ja
Application granted granted Critical
Publication of JP5037450B2 publication Critical patent/JP5037450B2/ja
Expired - Fee Related legal-status Critical Current
Anticipated expiration legal-status Critical

Links

Images

Classifications

    • HELECTRICITY
    • H04ELECTRIC COMMUNICATION TECHNIQUE
    • H04NPICTORIAL COMMUNICATION, e.g. TELEVISION
    • H04N23/00Cameras or camera modules comprising electronic image sensors; Control thereof
    • H04N23/50Constructional details
    • H04N23/54Mounting of pick-up tubes, electronic image sensors, deviation or focusing coils
    • HELECTRICITY
    • H10SEMICONDUCTOR DEVICES; ELECTRIC SOLID-STATE DEVICES NOT OTHERWISE PROVIDED FOR
    • H10FINORGANIC SEMICONDUCTOR DEVICES SENSITIVE TO INFRARED RADIATION, LIGHT, ELECTROMAGNETIC RADIATION OF SHORTER WAVELENGTH OR CORPUSCULAR RADIATION
    • H10F39/00Integrated devices, or assemblies of multiple devices, comprising at least one element covered by group H10F30/00, e.g. radiation detectors comprising photodiode arrays
    • H10F39/80Constructional details of image sensors
    • HELECTRICITY
    • H10SEMICONDUCTOR DEVICES; ELECTRIC SOLID-STATE DEVICES NOT OTHERWISE PROVIDED FOR
    • H10FINORGANIC SEMICONDUCTOR DEVICES SENSITIVE TO INFRARED RADIATION, LIGHT, ELECTROMAGNETIC RADIATION OF SHORTER WAVELENGTH OR CORPUSCULAR RADIATION
    • H10F39/00Integrated devices, or assemblies of multiple devices, comprising at least one element covered by group H10F30/00, e.g. radiation detectors comprising photodiode arrays
    • H10F39/80Constructional details of image sensors
    • H10F39/806Optical elements or arrangements associated with the image sensors
    • GPHYSICS
    • G02OPTICS
    • G02FOPTICAL DEVICES OR ARRANGEMENTS FOR THE CONTROL OF LIGHT BY MODIFICATION OF THE OPTICAL PROPERTIES OF THE MEDIA OF THE ELEMENTS INVOLVED THEREIN; NON-LINEAR OPTICS; FREQUENCY-CHANGING OF LIGHT; OPTICAL LOGIC ELEMENTS; OPTICAL ANALOGUE/DIGITAL CONVERTERS
    • G02F1/00Devices or arrangements for the control of the intensity, colour, phase, polarisation or direction of light arriving from an independent light source, e.g. switching, gating or modulating; Non-linear optics
    • G02F1/01Devices or arrangements for the control of the intensity, colour, phase, polarisation or direction of light arriving from an independent light source, e.g. switching, gating or modulating; Non-linear optics for the control of the intensity, phase, polarisation or colour 
    • G02F1/13Devices or arrangements for the control of the intensity, colour, phase, polarisation or direction of light arriving from an independent light source, e.g. switching, gating or modulating; Non-linear optics for the control of the intensity, phase, polarisation or colour  based on liquid crystals, e.g. single liquid crystal display cells
    • G02F1/133Constructional arrangements; Operation of liquid crystal cells; Circuit arrangements
    • G02F1/1333Constructional arrangements; Manufacturing methods
    • G02F1/1335Structural association of cells with optical devices, e.g. polarisers or reflectors
    • G02F1/133526Lenses, e.g. microlenses or Fresnel lenses

Landscapes

  • Engineering & Computer Science (AREA)
  • Multimedia (AREA)
  • Signal Processing (AREA)
  • Devices For Indicating Variable Information By Combining Individual Elements (AREA)
  • Solid State Image Pick-Up Elements (AREA)
  • Color Television Image Signal Generators (AREA)
  • Studio Devices (AREA)

Abstract

【課題】表示素子が配置されたガラス基板上に撮像素子、さらにレンズをも一体化させた構造とすることにより、更なるいっそうの部品点数の削減、実装面積の削減、配線効率の向上による端末の小型・薄型化および低消費電力化を実現する。
【解決手段】表示素子が配置されたガラス基板上に受光素子を一体化させ、しかも、受光素子に用いるレンズをもガラス基板の一部から形成した構造とするため、更なるいっそうの部品点数の削減、実装面積の削減、配線効率の向上による端末の小型・薄型化および低消費電力化、さらにはコスト削減を実現する。
【選択図】図1

Description

本発明は、表示素子が配置された透明支持基板としてのガラス基板上に、被写体からの画像光を光電変換して撮像する半導体素子で構成された撮像素子を一体化させた受光素子一体型ディスプレイモジュールなどの表示素子・電子素子モジュールおよびその製造方法、この表示素子・電子素子モジュールを表示部および受光部に用いた例えばデジタルビデオカメラおよびデジタルスチルカメラなどのデジタルカメラや、画像入力カメラ、スキャナ、ファクシミリ、カメラ付き携帯電話装置、テレビジョン電話装置、テレビジョン装置や情報を表示する表示ユニットまたは表示装置などに搭載するディスプレイモジュールなどの電子情報機器に関する。
従来の液晶表示素子や従来の固体撮像素子と、これを駆動したり信号処理するための複数の電子部品との接続配線の簡略化について、特許文献1、2として、図43〜図46を用いて詳細に説明する。
図43は、従来の液晶表示装置およびこれを接続する樹脂基板を示す斜視図である。
図43において、液晶表示素子100とコネクタ接続部101とはフレキシブル配線基板102により折り曲げられて連結されている。このコネクタ接続部101は、コネクタ103に挿入されてコネクタ103を介して樹脂基板104のプリント配線に接続される。樹脂基板104には、コネクタ103と複数の電子部品105とが実装されてプリント配線に接続されている。また、フレキシブル配線基板102にはTCPボンデンィグ法によりドライブIC106が実装されて液晶表示素子100を駆動制御するようになっている。
このように、液晶表示素子100と樹脂基板104とを別体に形成し、これらをコネクタ接続部101とコネクタ103により接続していたため、部品点数が増大し、また大型化するという問題があった。このような問題を解決するために、同じガラス基板上に、液晶表示素子103と導電パターンを形成し、導電パターンにドライブ用などの電子部品を実装した事例として図44に示している。
図44は、従来の液晶表示素子と複数の電子部品を同じ樹脂基板上に実装した場合の断面図である。
図44において、ガラス基板200の上側と下側の両面の導電パターン201をつなぐために、ガラス基板200の側面に導電パターン201aが形成されている。ガラス基板200上に液晶表示素子202が配設されており、ガラス基板200の反対側の面には、液晶表示素子202に光照射するためのバックライトである発光部203が配設されている。
このように、同じガラス基板200上に、液晶表示素子202と導電パターン201を形成し、この導電パターン201にドライブ用などの電子部品204を実装したため、図43の従来例の場合と比較して、接続配線手段として用いられる部品点数を削減でき、小型化を図ることができる。特に、導電パターン201と液晶表示素子202の電極とを直接接続することにより、図43のコネクタ103が不要になるので、組立接続配線作業が不要になると共に、部品点数がさらに削減される。
また、液晶表示素子202の代わりにCCD撮像素子を用いた場合も同様である。これを図45に示している。
図45は、従来のCCD撮像素子と複数の電子部品を同じ樹脂基板上に実装した場合の断面図である。
図45では、スルーホールガラスプレス基板を用いて、ガラス基板300上に積層板300aを積層して多層構造にした例であり、ガラス基板300上にCCD撮像素子301が実装されると共にこれに接続される導体パターン302が設けられ、この積層板300aの導体パターン302上に電子部品303およびIC303aが実装されている。ガラス基板300の表面および裏面の各導体パターン302は、スルーホール304により接続されている。
一方、昨今のモバイル端末、例えばカメラ付携帯電話装置では、CMOSセンサまたはCCDセンサといった撮像素子とレンズを内蔵したカメラモジュール、表示装置である液晶パネルモジュール(または有機ELパネル)など、様々な半導体装置が携帯電話装置のCPU(中央演算処理装置)を介して接続されている。特に、折りたたみ式携帯電話装置では、表示面側端末からCPU(中央演算処理装置)が配置された本体側端末へ信号を引き渡すため、折りたたみヒンジ部に、FPC(Flexible Printed Circuit)などを介して信号線を配線する必要がある。表示面側端末にカメラモジュールを配置する場合は、液晶パネルモジュール(または有機ELパネル)などのFPC配線に加え、カメラモジュールのFPC配線も必要になり、配線に必要な面積、コストが高くなる。
さらに、端末製造側では、部品点数の増加に伴う開発期間TATの長期化が懸念され、カメラモジュール製造側でも、端末機種毎にFPC配線のカスタマイズが必要となり、開発期間TATが長期化する。
これを解決するために、表示素子が配置されたガラス基板上に撮像素子をも一体化させた構造が特許文献2に提案されている。
図46は、特許文献2に開示された従来の表示素子および撮像素子一体型構造を示す平面図である。
図46に示すように、従来のテレビ電話装置において、通話者の視線を一致させるために、透光性支持基板400上の中央部分に画像表示素子401が配設されており、画像表示素子401の周囲に固体撮像素子402と、ドライバーなどの駆動用半導体素子403とが配設されている。
特開平9−244007号公報 特開平5−14880号公報
上記特許文献2に開示された従来の表示素子および撮像素子一体型構造においても、更なるいっそうの部品点数の削減、実装面積の削減、配線効率の向上による端末の小型・薄型化および低消費電力化を実現することができない。
本発明は、上記従来の問題を解決するもので、表示素子が配置されたガラス基板上に撮像素子、さらにレンズをも一体化させた構造とすることにより、更なるいっそうの部品点数の削減、実装面積の削減、配線効率の向上による端末の小型・薄型化および低消費電力化を実現できる表示素子一体型撮像素子などの表示素子・電子素子モジュールおよびその製造方法、これを表示部および受光部に用いた例えばカメラ付き携帯電話装置などの電子情報機器を提供することを目的とする。
本発明の表示素子・電子素子モジュールは、ディスプレイが配置された透光性支持基板において、該ディスプレイの配置箇所以外の透光性支持基板の一部にレンズを形成し、該レンズに対して電子素子が配置されているものであり、そのことにより上記目的が達成される。
また、好ましくは、本発明の表示素子・電子素子モジュールにおける透光性支持基板に形成されたレンズの外周側に遮光層が設けられている。
さらに、好ましくは、本発明の表示素子・電子素子モジュールにおける遮光層で囲まれた透光性支持基板上で、前記レンズの光入射用中央部以外の透光性支持基板上に金属膜などの遮光膜が設けられている。
さらに、好ましくは、本発明の表示素子・電子素子モジュールにおける遮光層は、前記透光性支持基板上から形成された溝内に遮光材料が埋め込まれている。
さらに、好ましくは、本発明の表示素子・電子素子モジュールにおける遮光層は、2重または3重に平面視円形状または楕円形状、四角形状に形成された前記透光性支持基板上から形成された溝内に遮光材料が埋め込まれている。
さらに、好ましくは、本発明の表示素子・電子素子モジュールにおける2重の遮光層の一方は、前記透光性支持基板の一方面側から形成された溝内に遮光材料が埋め込まれ、該2重の遮光層の他方は、該透光性支持基板の他方面側から形成された溝内に遮光材料が埋め込まれている。
さらに、好ましくは、本発明の表示素子・電子素子モジュールにおける遮光用の金属膜上に絶縁膜を介して配線用の金属膜が設けられ、前記電子素子の各端子部は、該配線用の金属膜がパターニングされた配線層に接続されている。
さらに、好ましくは、本発明の表示素子・電子素子モジュールにおいて、前記電子素子と前記透光性支持基板の間が遮光材料で封止されている。
さらに、好ましくは、本発明の表示素子・電子素子モジュールにおける電子素子としての撮像素子からの画像データに基づいて前記ディスプレイに直接表示するべく、該ディスプレイが前記透光性支持基板上の金属膜の配線パターンにより該撮像素子と接続される配線経路が設けられている。
さらに、好ましくは、本発明の表示素子・電子素子モジュールにおけるレンズと前記電子素子としての受光素子の受光領域との間にIRカット材料が設けられている。
さらに、好ましくは、本発明の表示素子・電子素子モジュールにおけるIRカット材料は、前記レンズ曲面上、該レンズ曲面が形成される側とは反対の透光性支持基板面上および前記受光素子の受光領域の表面上のいずれかに設けられている。
さらに、好ましくは、本発明の表示素子・電子素子モジュールにおける透光性支持基板のレンズは、凹型レンズおよび凸型レンズのいずれかである。
さらに、好ましくは、本発明の表示素子・電子素子モジュールにおける電子素子には、素子領域を囲む周辺領域に一または複数の電極部が配設されており、ディスプレイを構成する透光性支持基板の配線部に該電極部上の導電突起を用いて該電子素子を接続する接続構造において、該透光性支持基板と該電子素子との間の該素子領域に対応する領域を避けるように、該透光性支持基板と該電子素子との間の少なくとも該接続構造が樹脂で固められた実装構造を有する。
さらに、好ましくは、本発明の表示素子・電子素子モジュールにおける透光性支持基板の配線部と前記電極部上の導電突起との間に異方性導電樹脂材料の導電粒子を介在させた接続部分を完全に覆うように前記樹脂で固められている。
さらに、好ましくは、本発明の表示素子・電子素子モジュールにおいて、前記透光性支持基板と前記電子素子との間の接続構造を含む周辺領域が前記樹脂で固められている。
さらに、好ましくは、本発明の表示素子・電子素子モジュールにおいて、前記素子領域に対応する領域に前記樹脂が広がるのを食い止めるための突状の段差部が、前記電子素子の周辺領域、および該周辺領域に対向する前記透光性支持基板の領域のうちの少なくともいずれかに設けられている。
さらに、好ましくは、本発明の表示素子・電子素子モジュールにおいて、前記樹脂が外側に広がるのを食い止めるための突状の段差部が、前記電子素子の周辺部、および前記透光性支持基板における該電子素子と対向する領域の周辺部のうちの少なくともいずれかに設けられている。
さらに、好ましくは、本発明の表示素子・電子素子モジュールにおいて、前記素子領域に対応する領域に前記樹脂が広がるのを食い止めるべく、該樹脂をはじく性質を有する材料が、前記電子素子の周辺領域、および該周辺領域に対向する前記透光性支持基板の領域のうちの少なくともいずれかに設けられている。
さらに、好ましくは、本発明の表示素子・電子素子モジュールにおいて、前記樹脂が外側に広がるのを食い止めるべく、該樹脂をはじく性質を有する材料が、前記電子素子の周辺部、および前記透光性支持基板における該電子素子と対向する領域の周辺部のうちの少なくともいずれかに設けられている。
さらに、好ましくは、本発明の表示素子・電子素子モジュールにおける電子素子の周辺部は、該電子素子の端部およびその外側近傍である。
さらに、好ましくは、本発明の表示素子・電子素子モジュールにおける外側近傍の更に周辺部に封止樹脂が設けられ、該封止樹脂により前記透光性支持基板と該電子素子との間を封止している。
さらに、好ましくは、本発明の表示素子・電子素子モジュールにおける封止樹脂は、該電子素子の側面と上面を覆っている。
さらに、好ましくは、本発明の表示素子・電子素子モジュールにおける突状の段差部の少なくとも表面部が、前記樹脂をはじく性質を有する材料で構成されている。
さらに、好ましくは、本発明の表示素子・電子素子モジュールにおける樹脂は、少なくとも前記接続構造の接続部分に導電粒子を含有する樹脂が設けられている。
さらに、好ましくは、本発明の表示素子・電子素子モジュールにおける導電粒子を含有する樹脂材料は異方性導電樹脂材料である。
さらに、好ましくは、本発明の表示素子・電子素子モジュールにおける樹脂は、非導電粒子を含有する樹脂を少なくとも一部に有する。
さらに、好ましくは、本発明の表示素子・電子素子モジュールにおける樹脂は、遮光性樹脂を少なくとも一部に有する。上記樹脂には封止樹脂も含まれる。封止樹脂の少なくとも一部に遮光性樹脂を含んでもよい。ただし、紫外線で硬化する場合は遮光性樹脂では硬化することが困難になることが多く、その場合は遮光性にしないほうが良い。
さらに、好ましくは、本発明の表示素子・電子素子モジュールにおける段差部は、前記ディスプレイを構成する材料と共通材料から構成されている。
さらに、好ましくは、本発明の表示素子・電子素子モジュールにおいて、前記樹脂をはじく材料は、前記ディスプレイを構成する材料と共通材料から構成されている。
さらに、好ましくは、本発明の表示素子・電子素子モジュールにおける段差部は、前記電子素子上の膜を構成する材料と共通材料から構成されている。
さらに、好ましくは、本発明の表示素子・電子素子モジュールにおける段差部は、電磁波により硬化する材料から構成されている。
さらに、好ましくは、本発明の表示素子・電子素子モジュールにおける透光性支持基板は、貫通配線または/および側面配線により接続された両面配線を有している。
さらに、好ましくは、本発明の表示素子・電子素子モジュールにおけるディスプレイが配設されている透光性支持基板の面とは反対側の面に前記電子素子が配設され、前記両面配線を用いて該ディスプレイと該電子素子とが電気的に接続されている。
さらに、好ましくは、本発明の表示素子・電子素子モジュールにおける電子素子は受光素子である。
さらに、好ましくは、本発明の表示素子・電子素子モジュールにおける電子素子は、入射光を光電変換して撮像する複数の受光部が設けられた撮像素子である。
さらに、好ましくは、本発明の表示素子・電子素子モジュールにおける透光性支持基板は、ガラス基板または樹脂基板のいずれかである。
本発明の表示素子・電子素子モジュールの製造方法は、本発明の上記表示素子・電子素子モジュールの製造方法であって、前記ディスプレイが配置された透光性支持基板において、該ディスプレイの配置箇所以外の透光性支持基板の一部にレンズを形成するレンズ形成工程と、該レンズに対して電子素子を配置する電子素子配置工程とを有するものであり、そのことにより上記目的が達成される。
また、好ましくは、本発明の表示素子・電子素子モジュールの製造方法におけるレンズ形成工程は、パターニングされたレジスト膜を熱処理した後のレジスト膜表面形状を、エッチングにより前記透光性支持基板に転写するかまたは、高温スタンパによる該透光性支持基板への押圧によってレンズ表面を形成する。
さらに、好ましくは、本発明の表示素子・電子素子モジュールの製造方法におけるレンズ形成工程は、前記透光性支持基板から形成されたレンズに対応するように一または複数のレンズがホルダに保持された状態で固定されている。
本発明の電子情報機器は、本発明の上記表示素子・電子素子モジュールを表示部および撮像部に用いたものであり、そのことにより上記目的が達成される。
本発明の電子情報機器は、本発明の上記表示素子・電子素子モジュールを表示部、発光部および受光部に用いたものであり、そのことにより上記目的が達成される。
上記構成により、以下、本発明の作用を説明する。
本発明においては、ディスプレイの配置箇所以外の透光性支持基板の一部にレンズを形成し、このレンズに対して電子素子が配置されている。このように、ディスプレイ(表示素子)が配置されたガラス基板などの透光性支持基板上に電子素子(撮像素子)、さらにレンズをも一体化させた構造としている。このため、更なるいっそうの部品点数の削減、実装面積の削減、配線効率の向上による端末の小型・薄型化および低消費電力化が実現可能となる。
以上により、本発明によれば、表示素子が配置されたガラス基板上に受光素子を一体化させ、しかも、受光素子に用いるレンズをもガラス基板の一部から形成した構造とするため、更なるいっそうの部品点数の削減、実装面積の削減、配線効率の向上による端末の小型・薄型化および低消費電力化、さらにはコスト削減を実現することができる。
以下に、本発明の表示素子・電子素子モジュールおよびその製造方法の実施形態1〜3として受光素子一体型液晶ディスプレイモジュールなどの表示素子・撮像素子モジュールおよびその製造方法に適用した場合および、この表示素子・撮像素子モジュールを表示部および、受光部としての撮像部に用いた例えばカメラ付き携帯電話装置などの電子情報機器の実施形態4について図面を参照しながら詳細に説明する。
(実施形態1)
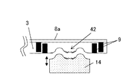
図1は、本発明の実施形態1に係る表示素子・撮像素子モジュールの要部構成例を示す縦断面図である。図2は、図1の撮像素子部分の拡大断面図である。
図1および図2において、本実施形態1の表示素子・撮像素子モジュール1は、表示素子一体型撮像素子(受光素子一体型ディスプレイモジュール)であり、ガラス基板3上に配置された表示装置2と、表示装置2が配置された面とは反対側の面にレンズ曲面が形成されたレンズ4と、このレンズ4の平面視外周側を遮光するための平面視2重円形状のレンズ遮光層9、9と、レンズ4に対して、表示装置2の搭載面と同じ面に受光面6aを対向させた状態で、遮光材料5でチップ周囲を封止して配置された撮像素子6と、ドライバーなどの各種電子部品であるその他の素子郡7とを有している。これらの表示装置2以外のレンズ4、遮光材料5、撮像素子6およびレンズ遮光層9、9により撮像素子モジュール20が構成されている。
即ち、表示装置2(表示素子として例えば液晶パネルや有機ELパネルなど)がガラス基板3上に配置され、表示装置2の周囲のガラス基板3の一部からレンズ4が形成されている。このレンズ4の形成面とは反対側のガラス基板1の表面に、そのレンズ4の位置と対応して、周囲が遮光材料5により封止された撮像素子6が搭載されている。この撮像素子6は、その他素子群7と共に、アルミニウムなどの遮光性のある後述する金属薄膜8c(金属配線パターン)で配線されている。その他素子群7としては、表示装置2を駆動するためのコントローラやドライバー、画像処理素子などの電子部品が挙げられるが、これらの素子群7は、ガラス基板3の外部に配置されていても構わない。
また、これに加えて、撮像素子6の受光面6aの前方に、不要な赤外領域の波長を入射光からカットするためのIRカット材料10を設けることもできる。図1および図2では、ガラス基板3のレンズ4の形成面とは反対側の面にIRカット材料10を薄膜状にコーティングしている。また、これに限らず、図3に示すように、レンズの形成面側をIRカット材料10で薄膜状にコーティングしてもよいし、図4に示すように、撮像素子6(CMOSセンサまたはCCDセンサ)の受光部6a上に直接、IRカット材料10を薄膜状にコーティングしてもよい。
上記構成の電子素子モジュール1の製造方法について以下に説明する。
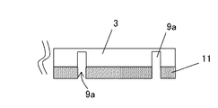
まず、レンズ遮光層9の形成工程について説明する。レンズ遮光層9の形成工程は、図5のようにガラス基板3の一方面(後でレンズが形成されるレンズ形成面)にレジスト材料を成膜し、このレジスト材料に遮光層形成用の円形線分パターン11a(円形線分部分がレジスト剥離されたレジストパターン、楕円形線分パターンでもよい)を形成してレジスト膜11とし、その後、このレジストパターンの円形線分パターン11aが形成されたレジスト膜11をマスクとして、RIE(Reactive Ion Etching)などにより異方性エッチングを行い、図6のようなガラス基板3に遮光用の溝9aを形成する。このレジスト材料は、ノボラック系ポリマーまたはスチレン系ポリマーを用いる。このスチレン系ポリマーは透明性がよく、イメージセンサのマイクロレンズにも用いられている。また、異方性エッチングは、CHF(三フッ化メタン)ガスによるドライエッチングによりガラスエッチングを行う。
その後、図7のように遮光材料9bによりガラス基板3の遮光用の溝9a内を埋め込む。ここで、遮光材料9bで遮光用の溝9aを埋める方法としては、例えば蒸着法が挙げられるが、この方法に限定されるものではなく、遮光材料9bにより遮光用の溝9aが埋まるかまたは、コーティングできればどの様な方法であっても構わない。
さらに、アセトンや硫酸過水などのレジスト剥離液により不要なレジスト材料を溶かしてレジスト膜11を除去し、さらに、例えばCMP(Chemical Mechanical Polishing)などの研磨方法により、不要な遮光材料9bを除去してレンズ遮光層9の形成面を平坦化し、図8のような平面視円形のレンズ遮光層9を得る。
前記した場合と同様の方法で、図9(a)のようにレンズ遮光層9の形成面とは反対側の面(後に撮像素子が配置される面)に、図8で説明したレンズ遮光層9よりも径が一回り大きな平面視円形のレンズ遮光層9を形成する。ここで、内側のレンズ遮光層9と外側の平面視円形状または楕円形状のレンズ遮光層9との間隔は遮光効率、ガラス基板強度などを勘案して最適な条件で形成すればよい。
なお、これらの2重のレンズ遮光層9、9の図9(a)の左下側には、図示しない液晶表示用のバックライトが配設されており、そのバックライトからの光をより確実に遮光する必要がある。このため、図9(b)に示すように、ガラス基板3の強度に影響しない浅い平面視円形状または楕円形状のレンズ遮光層9bが、外側のレンズ遮光層9の隙間を覆うように更に外周側に設けれている。また、図10(a)に示すように内側のレンズ遮光層9を外側に、外側のレンズ遮光層9を内側に入れ替えて配設することもできる。外側のレンズ遮光層9に比べて浅いレンズ遮光層9bを設ける場合には、図10(b)に示すように外側のレンズ遮光層9の隙間を覆うようにするために、レンズ曲面形成面とは反対側の面側から設けられる。
さらに、外側のレンズ遮光層9の形成面側のガラス基板3上に、図示しない金属薄膜8aを、遮光用として、図11に示すように少なくとも外側の円形または楕円形のレンズ遮光層9の内側上を覆うように形成し、内側および外側の2重のレンズ遮光層9、9および金属薄膜8aが形成されたガラス基板3を得る。なお、2重のレンズ遮光層9、9の形成方法および形状は、上記記載の平面視円形のものに限定するものではなく、レンズ外周からの光の入射、特に左下側のバックライトからの光を防止できれば、どの様な方法および形状(例えば平面視矩形状または正方形状)であっても構わない。また、以降の説明で、内側のレンズ遮光層9と外側のレンズ遮光層9とを区別する場合以外は、まとめてレンズ遮光層9として説明する。
また、ガラス基板3上への遮光用の金属薄膜8aの形成は、図12に示すように、その上の絶縁膜8bを介した配線用の金属薄膜8cのパターニングが必要となる工程の直前に形成しても構わない。むしろ、最初に金属薄膜8aを形成する場合、それ以降の工程で金属薄膜8aを熱や薬液から保護しなければならない工程が発生するため、金属薄膜8aの形成はその上の金属薄膜8cのパターニングが必要となる工程の直前に行う方が望ましいが、ここでは説明の便宜上、金属薄膜8aだけを最初に形成した場合について説明している。なお、金属薄膜8aの保護が必要な工程においても、ここでは、その説明を割愛するが、実際の工程では必要に応じて金属薄膜8aの保護を行えばよい。これらの金属薄膜8a、絶縁膜8bおよび金属薄膜8cからなる3層の金属多層膜8の膜厚は、図12では、説明を簡略化するために厚く図示しているが、実際は、図11の金属薄膜8aと図12の金属多層膜8の各膜厚が互いに同程度である。
次に、ガラス基板3の一方面にレンズ曲面形状を形成するレンズ形成工程について説明する。このレンズ形成工程は、レンズ4、ここでは凸型レンズの場合について説明する。図13(a)および図13(b)のように、金属薄膜8aの形成面(ガラス基板3の他方面)とは反対側の面に、レジスト材料を成膜し、これにレンズ形成用の円形線分パターン12a(楕円形線分パターンでもよい)を形成してレジスト膜12とする。このレジスト膜12には、円形線分パターン12aの円形線分部分がレジスト剥離されたレジストパターンが形成されており、内側のレンズ遮光層9よりも更に内側に円形線分パターン12aがパターニングされている。このレジスト材料は、ノボラック系ポリマーまたはスチレン系ポリマーを用いる。このスチレン系ポリマーは透明性がよく、イメージセンサのマイクロレンズにも用いられている。
その後の熱処理により、図14のように、円形線分パターン12aが形成されたレジスト膜12の端縁部分(角部分)に丸みを与えて、中央部分の平面視円形状のレジスト材料をその表面が球面状のレンズ形状4aに硬化させる。このレジスト材料の熱硬化条件は、例えば摂氏175度程度で数分間行う。
これに対して、レジスト材料とガラス基板3のエッチングレートが等しくなるエッチング条件でRIE(Reactive Ion Etching)による異方性エッチングを行う。異方性エッチングは、CHF(三フッ化メタン)ガスによるドライエッチングにより行う。
これによって、図15のように、ガラス基板3の一方面上にレジストパターンの表面形状が転写された凸型のレンズ4が形成されている。この熱硬化によるレジスト材料の球面形状加工(凸型レンズ面加工)は、レジスト材料の組成や熱処理温度(摂氏175度程度)・時間(数分間)を制御して最適な形状が得られるように調整する。
一方、レンズ4として、例えば図18に示すような凹型レンズ41を形成する場合には、図16(a)および図16(b)のようにガラス基板3上に積層された金属薄膜8a側の面とは反対側の面(下面)に、凹型レンズ41の中心光軸がレジスト材料によるレンズ形成用の円形パターン13a(円形部分がレジスト剥離液より剥離されたパターン、楕円形部分がレジスト剥離液より剥離されたパターンでもよい)の中心に位置するように円形パターン13aを形成してレジストパターン13とする。この円形パターン13aの中心は円形状のレンズ遮光層9の中心とも一致している。その後、図17のように、RIE(Reactive Ion Etching)またはウェットエッチングによりガラス基板3を等方性エッチングする。ウェットエッチングによる等方性エッチングは、BHF(バッファードフッ酸)により行う。
そのエッチング後に、図18に示すようにレジスト剥離液によりレジストパターン13を除去し、凹型レンズ41の形成が完了する。この凹型レンズ41の大きさは、レジストパターン13における円形パターン13aの直径、エッチング時間に比例するため、配置する撮像素子(CCDセンサまたはCMOSセンサ)の光学サイズに合せて、レジストパターン13における円形パターン13aの直径とエッチング時間を最適なエッチング条件に制御すればよい。
また、図19〜図21のように、高温スタンパ14を使用して、ガラス基板3の下面を押圧しても、高温スタンパ14のレンズ形状をガラス基板3の下面に転写することができる。この場合、高温スタンパ14の形状を任意に変えることにより、例えば図20のようなフレネルレンズのレンズ形状42を自由度高く形成することも可能となる。レンズ形成方法は、上記のエッチングや高温スタンパ14による方法に限定するものではなく、ガラス基板3を凹型または凸型、更にはフレネル形状などの所定のレンズ形状に形成できれば、どのようなレンズ形成方法であっても構わない。この場合の高温スタンパ14の温度はガラス屈伏点温度かまたはその付近の温度である。このガラス屈伏点温度は、ガラス材料の種類により異なっている。
さらに、レンズ遮光層9の形成工程と、レンズ4の形成工程とはその順序を限定するものではなく、順序の入れ替えや、工程の統合を行っても構わない。以降、本文において、レンズ形状を明確に区別するとき以外は単にレンズ4と記載する。また、説明図では、凸型のレンズ4で記載するが、これに限定するものではなく、凹型のレンズ形状41、さらには、フレネル形状のレンズ形状42であっても構わない。
次に、IRカット材料10をレンズ形成面側のガラス基板3にコーティングする場合は、図22のようにレンズ形成面側のガラス基板全体にIRカット材料10を薄膜状にコーティングし、必要に応じて、不要なIRカット材料10を除去する場合は、図23のようなレジストパターン15(IRカット材料10を除去する部分15aがレジスト剥離されたパターン)をレンズ4の形成面にパターニングし、レジストパターン15をマスクとして、IRカット材料10をガラス基板3から除去し、その後、レジスト剥離液によりレジスト材料を除去して、図24のようなIRカット材料10の形状を得る。
ここでは、便宜上、図24のようにIRカット材料10のパターニングを行ったが、IRカット材料10が不要な部分が無ければ、パターニングする必要はない。
また、レンズ形成面とは反対側の面(金属薄膜8aが積層されている面)にIRカット材料10をコーティングする場合は、図25(a)に示すように、撮像素子6の受光面6aよりも一回り大きなレジスト矩形パターン16aを形成し、レジスト矩形パターン16aが形成されたレジストパターン16をマスクとして、先ず、ガラス基板3上に積層された金属薄膜8aをエッチングし、次いで、図25(b)に示すようにIRカット材料10をコーティングする。その後、レジストパターン16を除去して、図26のようなIRカット材料10の形状を得る。撮像素子6の受光面6aとIRカット材料10のコーティング面の配置関係、形状の例は図28に示している。
このように、金属薄膜8aが積層されている面にIRカット材料10を薄膜状にコーティングする場合は、金属薄膜8a自体が赤外を含む入射光全体を遮光する役割を果たすため、レンズ4による集光後の光に対して、撮像素子6の受光面6aに入射する経路のみ、IRカット材料10を薄膜状にコーティングすればよいのに対して、レンズ4の形成面側にIRカット材料10を薄膜状にコーティングする場合は、レンズ集光後の光に赤外成分が混入しないように、レンズ遮光層9より内側に入射する光全体に対して赤外成分のカットを行うように、IRカット材料10をコーティングする必要があり、それぞれIRカット材料10を薄膜状にコーティングするガラス基板面に対して、最適なコーティングパターンを形成する。IRカット材料10をコーティングする方法は例えば蒸着法が挙げられるが、この方法に限定するものではなく、均一膜厚でIRカット材料10がコーティングできれば、どの様な方法であっても構わない。また、IRカット材料10のパターニングは前記方法および形状に限定するものではなく、撮像面に入射する赤外成分をカットできれば、どのような方法であっても構わない。なお、撮像素子6に直接、IRカット材料10をコーティングする場合はこの工程は省略される。
次に、図27に示すように、遮光用の金属薄膜8a上に絶縁膜8bを形成し、その上に配線用の金属薄膜8cを形成する。さらに、表示装置2と撮像素子6およびその他素子群7を配線するための金属薄膜8cの配線パターンを形成する。この配線パターン形成工程は、前記のレンズ形成またはIRカット材料コーティング工程と同じく、レジストパターニングとRIEまたはウェットエッチングなどにより金属薄膜8cを所定の配線パターンにパターニングする。エッチング方法は、これらに限定されるものではなく、金属薄膜8cの配線のパターニングができればどのような方法であっても構わない。
なお、前記のIRカット材料コーティング工程と金属配線パターニング工程はその順序を限定するものではなく、順序の入れ替えや、工程の統合を行っても構わない。
最後に、金属薄膜8cの配線パターンに合せて、各素子を接続し図1に示す撮像装置が完成する。
各素子の接続方法は例えば、FCB(Flip Chip Bond)などが挙げられるが、これに限定するものではなく、電気的に各素子と金属薄膜8cの配線パターンとを接続できればどの様な方法であっても構わない。ただし、撮像素子6(CMOSセンサまたはCCDセンサ)を接続する際には、図28のように、ガラス基板3と撮像素子6との間のギャップを遮光材料5で封止し、接続部側から光が入らないように遮光する。このギャップを封止する方法は、異方性導電接着材であるACP(AnisotropicConductive Paste)などの熱硬化樹脂による封止方法が考えられるが、これに限定されるものではなく、接続面の電気的接続を保持したまま、遮光できれば、どの様な方法であっても構わない。なお、レンズ遮光層9に使用する遮光材料と撮像素子6の封止に使用する遮光材料5とは、異なる素材を使用してもよいし、同じ素材を使用してもよく、本発明による撮像装置を形成する工程に合せて、それぞれ最適な材料を使用すればよい。
なお、上記実施形態1では、1枚のレンズ4を用いる場合について説明したが、これに限らず、光学性能に合せて、ガラス基板3のレンズ4に加えて、図29のように、別の一または複数のレンズ群、例えば2枚のレンズ群17Aをレンズ4に対向配置して組み合わせた構成とすることもできる。この場合、撮像素子モジュール20Aとして、一または複数のレンズ群、ここでは2枚のレンズ群17Aを円筒状で遮光性のあるレンズホルダー17B内に保持し、2枚のレンズ群17Aと共にレンズホルダー17Bをガラス基板3のレンズ4に対向させて配置する。この場合、レンズホルダー17Bの位置と、内側のレンズ遮光層9の位置とを一致させて遮光性を確保させる必要がある。また、レンズホルダー17B内に保持された2枚のレンズ群17Aに限らず、図30のように、撮像素子モジュール20Bとして、一または複数のレンズ群として、ここでは、他の種類の2枚のレンズ群18Aがそれぞれ、レンズ部の周囲のこば部を2枚重ね合わせ、レンズ4に対応させて各こば部を順次重ねて接着し、その上から遮光部材18B(遮光ホルダ)を被せて接着している。
(実施形態2)
上記実施形態1では、表示装置2の表示画面の向きと撮像素子モジュール20が撮像する向きとが逆の場合について説明したが、本実施形態2では、表示装置2の表示画面の向きと、後述する撮像素子モジュール20Cが入射光を取り込んで撮像する向きとが同じ場合について説明する。
図31は、本発明の実施形態2に係る表示素子・撮像素子モジュールの要部構成例を示す縦断面図である。
図31において、本実施形態2の表示素子・撮像素子モジュール1Aは、表示素子一体型撮像素子であり、ガラス基板3上に配置された表示装置2と、表示装置2が配置された面と同じ面にレンズ曲面が形成されたレンズ4と、このレンズ4の平面視外周側を遮光するための平面視2重円形状のレンズ遮光層9、9と、レンズ4に対して、表示装置2の搭載面とは反対側の面(下面)に受光面6aを対向させた状態で、遮光材料5でチップ周囲を封止して配置された撮像素子6と、撮像素子6が配置される側の面に搭載されたドライバーなどの各種電子部品であるその他の素子郡7とを有している。これらの表示装置2以外のレンズ4、遮光材料5、撮像素子6およびレンズ遮光層9、9により撮像素子モジュール20Cが構成されている。
即ち、表示装置2(表示素子として例えば液晶パネルや有機ELパネルなど)がガラス基板3上に配置され、表示装置2の周囲のガラス基板3の一部からレンズ4が形成されている。このレンズ4の形成面(上面)とは反対側のガラス基板1の下面に、そのレンズ4の位置と対応して、周囲が遮光材料5により封止された撮像素子6が搭載されている。この撮像素子6は、その他素子群7と共に、アルミニウムなどの遮光性のある後述する金属薄膜8aを含む多層配線パターン8で配線されている。その他素子群7としては、表示装置2を駆動するためのコントローラやドライバー、画像処理素子などの電子部品が挙げられるが、これらの素子群7は、ガラス基板3の外部に配置されていても構わない。
上記実施形態1,2によれば、表示装置2が配置されるガラス基板3上にレンズ4を形成し、このレンズ4のレンズ形成部に撮像素子6を配置することで、カメラモジュールである撮像素子モジュール20および20A〜20Cのいずれかの構成素子であるレンズ4、撮像素子6を表示装置2が配置されるガラス基板3上に一体化している。レンズ4は表示装置2のガラス基板3を兼用しているため、レンズ4の1枚分の材料費および高さ(嵩)を削減できる。また、撮像素子6をガラス基板3上の金属薄膜8の配線で接続して、表示装置2からの金属薄膜配線と、金属薄膜8cの配線とをまとめてガラス基板3上で一つの信号配線群にすることで、入出力用のFPCを1本化し、配線効率を高め、端末の小型化とコスト削減を実現できる。さらに、撮像素子6と表示装置2を一体化することにより、本体CPU(中央演算処理装置;制御部)を介さずに撮像素子6から表示装置2に直接表示させることも可能となり、表示装置2の表示画面上への高速描画と低消費電力化を実現できる。さらに、端末製造側では、カメラモジュールである撮像素子モジュール20および20A〜20Cのいずれかの実装工程が削減でき、TAT短縮が可能となる。また、カメラモジュール製造側では、ガラス基板3上のレンズ4のサイズ、配線パターンを変更するだけで様々な光学サイズの撮像素子6に対応でき、端末機種毎のFPC配線のカスタマイズから開放される。さらに、撮像素子6の端子位置を規格化することで、配線パターンの変更からも開放され、レンズ4のサイズの変更のみで済むようになる。
なお、遮光層9で囲まれた透光性支持基板上で、レンズの光入射用中央部以外の透光性支持基板上に遮光用の金属層として金属薄膜8aを設けたが、これに限らず、カーボンを含有した遮光用の導電薄膜であってもよいし、遮光性を有する絶縁膜であってもよく、遮光膜であればよい。
(実施形態3)
図32は、本発明の実施形態3に係る受光素子一体型液晶ディスプレイモジュールの構成例を示す要部断面図である。
図32において、表示素子・撮像素子モジュールとしての受光素子一体型液晶ディスプレイモジュール51は、ディスプレイ(表示装置)としての液晶ディスプレイ52の一部を構成する透光性支持基板53に、外部配線用の電極部としての電極パッド54を有する電子素子としての受光素子チップ55が搭載されている。この受光素子チップ55の各電極パッド54と、ガラス基板などの透光性支持基板53のランド部56aとを導電突起57を用いて電気的に接続している。透光性支持基板53と受光素子チップ55との接続部は、樹脂粒子の表面を導電膜、例えば金でコーティングした導電粒子58を介在させた状態で接着用の樹脂59で固め、この受光領域60の配置範囲を避けるようにして樹脂59が配設されている。受光素子チップ55の反対側の透光性支持基板53(裏面)には、受光素子チップ55の素子領域としての受光領域60(撮像領域)に入射光を集光させるためのレンズユニット61が設けられている。このレンズユニット61は、一または複数のレンズが遮光ホルダで保持された状態で光入射口以外の周りが遮光されている。
これらの透光性支持基板53の表面側に受光素子チップ55が樹脂59などの接着材で固定され、透光性支持基板53の裏面側に、受光素子チップ55の受光領域60に入射光を集光させるようにレンズユニット61が固定されて撮像モジュール20Dが構成されている。
一方、液晶ディスプレイ52は、2枚の透光性支持基板53および62を上下に重ね合わせ、これらの間に液晶材料63を封入して構成されている。透光性支持基板53および62としては、透明な種々のガラス材料や樹脂材料が用いられる。透光性支持基板53の一方面(上面)には基板配線が設けられ、この基板配線のランド部56aを除く配線部56bと少なくともその近傍位置が、保護膜としての絶縁膜64により覆われている。この絶縁膜64は、外部環境から基板配線のランド部56a周辺やそれ以外の配線部56bを化学的、物理的ダメージから保護している。
液晶ディスプレイ52の基板配線材料としては、アルミニュウム、タンタル、タンタルナイトライド、ニッケル、モリブデン、銅、金、白金、タングステン、チタンおよびITOなどの各種の材料膜が用いられる。この基板配線は、これらの材料の中から単層または複数層で用いられる。この基板配線材料は、必要に応じて、これらの中から選ばれ、使用箇所によって使い分けされる。本実施形態3では、液晶ディスプレイ52において、アルミニュウム、タンタルナイトライド、チタンおよびITOのいずれかを用い、受光素子チップ55の搭載領域に引き回す基板配線も、この中の全てまたはその一部の材料を用いることにより、液晶ディスプレイ52の場合と同様のプロセスで、受光素子チップ55の搭載領域への基板配線も製造可能となり、製造工程を複雑化しないで済む。
なお、一般的な液晶ディスプレイモジュールとしては、受光素子チップの搭載基板として、液晶ディスプレイの一部を構成する透光性支持基板とは別に基板を設け、液晶ディスプレイ用の透光性支持基板と受光素子チップの搭載基板とを互いに接続して用いられる。これに対して、本実施形態3では、液晶ディスプレイ52の一部を構成する透光性支持基板53に直接、受光素子チップ55が搭載されるため、別途、受光素子チップ55の搭載基板を準備する必要がなく、基板間を接続する手間も省かれる。また、透光性支持基板53に直接、受光素子チップ55を搭載するため、受光素子一体型液晶ディスプレイモジュール51を小型化することも可能となる。
受光素子チップ55の中央部分には、入射光を光電変換して撮像する複数の受光部が設けられた受光領域60が形成されており、この受光領域60の光入射面側には、集光能力を高める目的で微小レンズ65(マイクロレンズ)が設けられている。これは画素数の多いタイプの固体撮像素子(受光素子チップ55)においては、一つの画素が小さいため、画素当たりの集光能力が低くなるためである。微小レンズ65は、スチレン系またはアクリル系樹脂、シリコン窒化膜、シリコン酸化膜などの材料かまたは、これらが複数層で設けられる。受光領域60を取り囲む受光領域60の周辺領域(以降、受光周辺領域という)に電極部としての電極パッド54を有する。この電極パッド54は、例えば平面視4角形の形状である受光素子チップ55の4辺または4辺のうちの少なくとも1辺に存在する。1辺に存在する場合は、対向する辺などにスペーサを形成するとよい。このスペーサとしては、導電突起でもよいし非導電突起でもよい。電極パッド54は一般的にはアルミニュウム系または銅系の金属材料が用いられる。
受光素子チップ55の場合は表面の汚染を避けるために、電極パッド54上に設けられる導電突起57として、金属細線から形成するワイヤバンプを用いるとよい。金属細線としては金が一般的に用いられるが、他にアルミニュウムや銅などでもよい。本実施形態3では、この中で酸化の影響を受けにくく、形状が安定する金からなるワイヤバンプを用いている。電極パッド54が銅系の金属の場合は、最表面にアルミニュウム系の金属を設けることで対応できる。導電突起57はチップ個片状態で設けても良いし、チップ状態に個片化する前のウエハ状態で設けてもよい。製造上は後者の方が量産性に優れている。
電極パッド54に導電突起57を設けた受光素子チップ55は、基板配線(ランド部56aおよびそれ以外の配線部56b)が施された透光性支持基板53のランド部56aに、上記導電突起57が各々位置合わせされて搭載される。これらの電気的接続は、導電突起57とランド56aを直接接続してもよいし、導電突起57とランド56a間において、導電粒子58を介在させてもよい。このとき、上記接続方法によらず、受光素子チップ55の接続部は、樹脂59で固めることにより、受光素子チップ55と透光性支持基板53との接続部を保護することができる。導電粒子58を介して電気的に接合する場合は、ワイヤバンプの頂部をあらかじめ平坦化しておくと、導電粒子58の介在数が多くできるのでよい。その頂部のサイズは40μmから80μm程度とすると導電粒子58の介在数を確保できる。導電粒子58を含有する樹脂材料には、その例として異方性導電樹脂材料(導電させたい例えば加圧した縦方向のみ導電し、加圧しない横方向には導電しない導電接着材)であるACF(フィルム)やACP(ペイスト)がある。一方、導電粒子58を含まない樹脂材料には、その例としてNCP、アンダーフィル材などがある。これらACF、ACP、NCP、アンダーフィル材などの樹脂材料は非導電粒子を含有することができる。非導電粒子には、シリカやアルミナなどがある。これらの非導電粒子は、樹脂材料が一般的に、熱膨張係数が高いため、導電突起、ガラスやICチップなどに熱膨張係数を近づけるのに有効である。NCPやアンダーフィル材で受光素子チップ55の接続部を固める場合においては、導電突起57の頂部が尖った形状としておく方がよい。受光素子チップ55の接続の前に予め樹脂を塗布するNCPを用いる方法では、接続面へのNCP材料の巻き込みを防止できる。また、受光素子チップ55が導電突起57を介して接続された後に、樹脂59を注入して接続部を固める方法においても、頂部が尖った先端形状としておく方が、ボンディング圧力を小さく設定できるため、受光素子チップ55へのダメージを低減できる。特に、受光素子チップ55の厚さが0.3mm以下の場合に、受光素子チップ55の強度が弱くなるので有効である。いずれの樹脂59を用いる場合においても、受光素子チップ55の少なくとも接続部を固め、受光領域60の位置を避けるようにして形成することが重要である。このためには、樹脂59の量を調節して塗布(ACP(導電粒子があるタイプ)、NCP(導電粒子がないタイプ))、貼り付け(ACF)、注入(アンダーフィル材)などの作業を行う。
図32では、導電粒子58を含有する透明樹脂材料であるACPまたはACFを用いた例である。ACPの場合、導電粒子58は、その直径が2μm〜7μmを平均値とするとよい。さらには、2μm〜4μm程度とした方が含有比率をそのままで導電粒子58の数を増やすことができるので、一端子当たりの導電粒子58の介在数を増やすことができる。そのため、より確実に電気的接続ができる。これが極端に小さいと、技術的、コスト的に困難になってくる。含有比率は7〜18wtパーセント程度が良い。このことで、一端子当たりの導電粒子58が介在しない確率を減らし、隣り合う端子間でのショートを減らすことができる。非導電粒子を含有させると、熱膨張係数の差による、透光性支持基板53と樹脂59の接合面、または受光素子チップ55と樹脂59の接合面の剥離を抑制することができる。非導電粒子は、導電粒子58よりも小さな径のものを含有させて、導電粒子58による電気的接続を阻害しないようにする必要がある。例えば、非導電粒子径は、導電粒子径の30〜80パーセント程度とするとよい。即ち、導電粒子58の径が5μmのとき、非導電粒子の径は1.5μm〜4μm程度、導電粒子58の径が3μmのとき、非導電粒子の平均径は1μm〜2.4μm程度とするとよい。非導電粒子の含有比率は作業性を考慮した上で、できるだけ含有させた方が熱膨張係数を下げることができるためよい。これらのACP、NCP、アンダーフィル材においては20〜70wtパーセント程度がよい。
図33は、本発明の実施形態3に係る受光素子一体型液晶ディスプレイモジュールの他の構成例を示す要部断面図である。
図33では、受光素子一体型液晶ディスプレイモジュール51として、透光性支持基板3における受光素子チップ4の受光周辺領域に重なる領域に段差部71を設けている点が図33の場合と異なっている。
この段差部71は、少なくとも受光素子チップ55の接続部の少なくとも内側の領域に設けると、樹脂59の受光領域60への形成(広がり)を防ぐのでよい。例えば、受光素子チップ55における接続部が受光素子チップ55の平面視矩形または正方形の1辺に沿ってある場合は、その1辺と受光領域60との間に段差部71を設けるとよい。これと同様に、その接続部が受光素子チップ55の平面視矩形または正方形の2辺に存在する場合には、その2辺と受光領域60との間に段差部71を設け、接続部が3辺にある場合は、その3辺と受光領域60との間に段差部71(堰止め部;ダム部)を設け、接続部が4辺にある場合には、その4辺と受光領域60との間に段差部71を設けるとよい。ただし、各接続部の辺の数に関わらず、受光領域60を囲むように、4角形などの多角形や円形などのように全体的に略繋るように形成すると、より確実に樹脂59の受光領域60側への流れ込みを防止することができる。
この段差部71を設けるには、紫外線などの電磁波を照射することによって硬化する材料や、低温速硬化が可能な樹脂を描画法、印刷法、インクジェット法などを用いて設けるとよい。電磁波またはホットプレートによる硬化では、局部的な照射、加熱を行うことができるので、液晶ディスプレイ52のダメージを防ぐことができる。この段差部71の代わりに、受光領域60に対向する透光性支持基板53上の所定領域に、樹脂59をはじく性質を有する材料膜を設けてもよい。さらに、この段差部71の少なくとも側面または表面、もしくは側面と表面に樹脂59をはじく性質を持たせてもよく、これを実現するために、フッ素系ガスを用いたプラズマ処理を施すか、樹脂59をはじく性質の材料膜で覆ってもよい。プラズマ処理を行う場合には段差がなくてもよい。また、段差部71そのものが樹脂59をはじく材料であってもよい。テフロン(登録商標)樹脂やITO材料は、エポキシ系樹脂などの樹脂59をはじく性質を持つ。特にITO材料は、液晶ディスプレイ52の透明電極としても用いるため、透光性支持基板53に形成する場合には、液晶ディスプレイ52の製造プロセスと共通であるため、製造上の複雑化を避けることができるため更によい。
これらの段差部71または樹脂59をはじく材料、もしくは樹脂59をはじく表面処理の他に、図35のように、樹脂59をはじく段差部72を、透光性支持基板53における受光素子チップ55と重なる領域の外周部(外側)に設けてもよく、このことにより、受光素子チップ55の外周部における樹脂59の更に外周部への広がりを抑制することができる。このため、液晶ディスプレイ52などの他の部品にまで樹脂59が流れ込むことを防ぐことができる。この樹脂59をはじく段差部72は、少なくとも樹脂59の流れ込みを避けるべき部品との間に設けるとよい。受光素子チップ55の周辺全体に囲むように、受光素子チップ55の矩形または正方形状と略相似形状で全体が略繋がった形状にすると、受光素子チップ55の外周への樹脂59の広がりをより確実に制限することができるのでさらによい。
次に、これらの段差部71および/または段差部72、これらの代わりにまたはこれらと共に、樹脂59をはじく材料または樹脂59をはじく表面処理は、図34、図36および図37のように、透光性樹脂基板53側に限らず、受光素子チップ55側にあってもよく、透光性樹脂基板53と受光素子チップ55の両方であると更によい。
このように、段差部71、72が受光素子チップ55側にある場合については、以下のような効果がある。
受光領域60の周囲の受光周辺領域の段差部71、この代わりにまたはこれと共に、樹脂59をはじく材料または樹脂59をはじく表面処理は、受光領域60への直接的に樹脂59の流入を防ぐことができる。また、受光素子チップ55の周辺の段差部72、この代わりにまたはこれと共に、樹脂59をはじく材料または樹脂59をはじく表面処理は、ACP、NCPやACF材料のボンディング時のボンディングツールへの樹脂59の付着を防止することが可能である。特に、ペースト状であり塗布形状や塗布量にバラツキが生じやすいACP、NCPについては有効である。受光素子チップ55側への段差部71、72、これらの代わりにまたはこれらと共に、樹脂59をはじく材料または樹脂59をはじく表面処理は、紫外線などの電磁波を照射することによって硬化する樹脂材料や、低温速硬化が可能な樹脂材料を、描画法、印刷法、インクジェット法などを用いて塗布するとよい。また、フッ素系ガスによるプラズマ処理でもよい。透光性支持基板53または受光素子チップ55へのプラズマ処理を行う場合は、感光性レジストなどでパターニングしてマスクにすると、所望の領域において、樹脂59をはじく領域を容易かつ確実に形成することができる。
アクリル系などの樹脂を用いた微小レンズ65を有する受光素子チップ55では、微小レンズ65の熱による劣化、または反射防止膜を更に設ける場合は、反射防止膜のクラックを防ぐために、できるだけ高温とならないような摂氏220度以下での熱処理が必要である。また、受光素子チップ55の製造プロセスと共通にすると製造上の複雑化を防ぐことができる。例えばアクリル系の樹脂、シリコン酸化膜、シリコン窒化膜などのカバー膜66などを用いるとよい。特に、アクリル系樹脂からなる微小レンズ65の形成と同時に受光周辺領域および/または受光素子チップ55の周辺領域に段差部71を設けると、厚さを厚くできるのでよい。また、その段差部71、72の表面にシリコン酸化膜、シリコン窒化膜からなる表面保護膜などを追加で形成してもよい。
図38は、本発明の実施形態3に係る受光素子一体型液晶ディスプレイモジュールの更に他の構成例を示す要部断面図である。
図38では、受光素子チップ55の少なくとも接続部をACP樹脂である樹脂59で固めており、さらにその樹脂59の周辺を別の樹脂59Aで固めている。この別の樹脂59Aにより、受光素子チップ55を固定することができるため、携帯電話装置などで求められる落下衝撃などに対して、さらに強くなる。また、確実に、透光性支持基板53と受光素子チップ55の中央部分との間を気密にすることができるので、外部からの異物の浸入や水分の浸入を防ぐことができる。この別の樹脂59Aは、樹脂59と同様に導電性粒子58を含有する同じ樹脂材料であると、熱膨張率が同じであるため、樹脂59A、59の界面での剥離を防止できる。ただし、この場合には、コスト高になるので、シリカなどの非導電粒子のみを含有させるとよい。別の樹脂59Aにおける非導電粒子の含有量を、樹脂59における非導電粒子の含有量と同じ程度含有させるとよい。さらには、導電粒子58を含有する樹脂59と、別の樹脂59Aが略同じ熱膨張係数となるように、別の樹脂59Aの非導電粒子の含有率を調節するとよい。樹脂59別の樹脂59Aまたは、別の樹脂59Aと樹脂59は遮光性の物質を含有していると、受光素子チップ55の側面からの光の浸入を防ぐことができる。
図39は、本発明の実施形態3に係る受光素子一体型液晶ディスプレイモジュールの更に他の構成例を示す要部断面図である。
図39では、受光素子チップ55の裏面上を封止樹脂59Bで覆っており、この例では、受光素子チップ55の側面と裏面上に一体的に同じ樹脂材料で封止している点が他の構成例のものと異なっている。この封止樹脂59Bにおいても、樹脂59Aの場合と同様に、非導電粒子の含有量を、樹脂59における非導電粒子の含有量と同じ程度含有させるとよい。さらには、導電粒子58を含有する樹脂59と、封止樹脂59Bが略同じ熱膨張係数となるように樹脂59Aの非導電粒子の含有率を調節するとよい。樹脂59、封止樹脂59Bまたは、樹脂59と樹脂59Bが遮光性の物質を含有していると、さらに受光領域60に光が入らないのでよい。このことで、図38の構成における効果に加えて、外部からの物理的、化学的ダメージからの保護効果が向上し、受光素子チップ55の裏面からの光の浸入をより確実に防ぐことができる。特にチップ厚が薄い場合に有効である。
図40は、本発明の実施形態3に係る受光素子一体型液晶ディスプレイモジュールの更に他の構成例を示す要部断面図である。
図40では、図35において樹脂59が導電粒子58を用いた異方性導電樹脂材料のACFまたはACPを用いたことに対して、樹脂59Cは、導電粒子58を用いないNCPまたはアンダーフィル材料を用いた点が他の例のものと異なっている。
アンダーフィル材料を用いる場合は、導電突起57と、基板配線のランド部56a上の導電突起57Aとを直接接合する。導電突起57としては例えば金からなるワイヤバンプを形成し、ランド部56a上の導電突起57Aとしては例えばインジウム合金を形成しこれらを接続する。この接続後、アンダーフィル材料を注入するのである。この場合においても、透光性支持基板53上において、受光素子チップ55の受光周辺領域と重なる領域と、受光素子チップ55の周辺に、段差部71,72(堰止め部;ダム部)および/または、樹脂59Cをはじく材料または樹脂59Cをはじく表面処理を行っている。
したがって、この段差部71,72および/または、樹脂59Cをはじく材料または樹脂59Cをはじく表面処理によって、アンダーフィル材料は受光領域60への流入を防ぎ、受光素子チップ55の外周部において流れ出しを防いでいる。NCPを用いる場合は、予め透光性支持基板53に、NCPを描画、印刷などで施しておき、受光素子チップ55に導電突起57,57Aを介して熱圧着し、それを加圧したまま接続部を樹脂59Cで固める。この場合も、段差部71,72および/または、樹脂59Cをはじく材料または樹脂59Cをはじく表面処理によって、樹脂59Cは受光領域60への流入が防がれ、受光素子チップ55の外周部において樹脂59Cの流れ出しを防いでいる。NCPを用いる場合、導電突起57Aはなくてもよい。
図41は、本発明の実施形態3に係る受光素子一体型液晶ディスプレイモジュールの更に他の構成例を示す要部断面図である。
図41では、透光性支持基板53Aとして両面配線が施されている点が他の例と異なっている。両面配線間には透光性支持基板53Aを貫通孔を介して貫通する配線が施されるかまたは、透光性支持基板53の側面に配線を設けて両面の配線間を電気的に接続してもよい。両面配線が施された透光性支持基板53Aを用いることによって、図32〜図40の場合とは異なり、透光性支持基盤53の反対面側に受光素子チップ55を導電突起57を介して接続できる。なお、段差部71および/または、樹脂59をはじく材料または樹脂59をはじく表面処理は、種々の組み合わせの位置、材料、処理を組み合わせることができる。例えば図40の例において、受光素子チップ55上に設けてもよい。また、図32〜図41には、レンズユニット61が設けられている。さらに、透光性支持基板53上には、駆動用半導体素子などが設けられているとさらにコンパクトになる。受光素子チップ55は複数個搭載されていてもよく、透光性支持基板53の反対面同士に搭載されているとアウトカメラ、インカメラとして使えることも想定される。また、反対面同士に受光素子チップ55を設けなくても、一方の面に2個設けても、受光素子チップ55の向きによってアウトカメラ、インカメラとして使うことができる。
以上により、本実施形態3によれば、液晶ディスプレイ52の一部を構成する透光性支持基板53に、受光素子チップ55を搭載することにより、液晶ディスプレイ52と受光素子チップ55との距離を近づけることができる。このため、受光素子一体型液晶ディスプレイモジュール51の部品点数を削減でき、受光素子一体型液晶ディスプレイモジュール51がコンパクトになる。また、配線経路が短くすることができるため、処理速度を高めることができ、消費電力を抑えることができる。さらには、画像信号を双方向に通信するテレビジョン電話装置やテレビジョン電話機能を有する電子機器などにおいて、通話者同士の視線を合わせることを可能とする。このような受光素子一体型ディスプレイモジュール51において、集光能力に優れ、クリアに受光、撮像できる構造を提供することができる。
これによって、導電突起57を用いて受光素子チップ55の電極パッド54と透光性支持基板53であるガラス基板の配線部のランド部56aとを接続する接続部分を、受光領域60に対応する領域を避けるようにした状態で樹脂59で固めているため、画素の微細化に際しても、樹脂59と共に異物や気泡などが内部に入って起こる光学不良や、受光素子チップ55と透光性支持基板53間に封入され樹脂59との屈折率との関係で微小レンズ65の受光効率が低下することを防止することができる。
なお、本実施形態3における透光性支持基板53に対する受光素子チップ55の接続構成を、前述した実施形態1,2に組み合わせることができるが、上記実施形態1,2では、透光性支持基板53としてのガラス基板(または透明樹脂基板)に光学素子としてのレンズを作り込んだ場合について主に説明するので、上記実施形態1,2では、受光素子チップ55の接続構成については簡単に説明している。また、上記実施形態1,2の遮光構造も、本実施形態3に適用することができる。
また、本実施形態3において、例えば図32および図33などの保護膜Aのうち、受光領域60に対向した領域の保護膜Aはない方が光の利用効率がよくなる。
さらに、透光性支持基板53の基板配線におけるランド部56aと電極パッド54上の導電突起57との間に異方性導電樹脂材料の導電粒子58を介在させた接続部分をその周りから完全に覆うように樹脂59で固められているため、本実施形態3では特に説明しなかったが、樹脂59が硬化するときにちじんで寸法が縮小するため、電突起57とランド部56aとが導電粒子58を押圧する方向に作用するので接触安定性がよい。
(実施形態4)
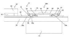
図42は、本発明の実施形態3として、本発明の実施形態1〜3の表示素子・撮像素子モジュールを表示部および撮像部に用いた電子情報機器の概略構成例を示すブロック図である。
図42において、本実施形態4の電子情報機器90は、上記実施形態1〜3の表示素子・撮像素子モジュールの撮像素子モジュール20A〜20Dのいずれかからの撮像信号を各種信号処理してカラー画像信号を得る固体撮像装置91と、この固体撮像装置91からのカラー画像信号を記録用に所定の信号処理した後にデータ記録可能とする記録メディアなどのメモリ部92と、この固体撮像装置91からのカラー画像信号を表示用に所定の信号処理した後に表示素子2の液晶表示画面上に表示可能とする液晶表示装置などの表示手段93と、この固体撮像装置91からのカラー画像信号を通信用に所定の信号処理をした後に通信処理可能とする送受信装置などの通信手段94と、この固体撮像装置91からのカラー画像信号を印刷用に所定の信号処理をした後に印刷処理可能とするプリンタなどの画像出力手段95とを有している。なお、この電子情報機器90として、これに限らず、固体撮像装置91の他に、メモリ部92と、表示手段93と、通信手段94と、プリンタなどの画像出力手段95とのうちの少なくともいずれかを有していてもよい。当然のことながら、通信手段94で受信したカラー画像信号を表示用に所定の信号処理した後に液晶表示装置などの表示素子2の表示画面上に表示可能とする
この電子情報機器90としては、前述したように例えばデジタルビデオカメラ、デジタルスチルカメラなどのデジタルカメラや、監視カメラ、ドアホンカメラ、車載用前方監視カメラ(ドライブレコーダ)などの車載用カメラおよびテレビジョン電話用カメラなどの画像入力カメラ、スキャナ装置、ファクシミリ装置、カメラ付き携帯電話装置および携帯端末装置(PDA)などの画像入力デバイスを有した電子機器が考えられる。
したがって、本実施形態4によれば、この固体撮像装置91からのカラー画像信号に基づいて、これを表示画面上に良好に表示したり、これを紙面にて画像出力装置95により良好にプリントアウト(印刷)したり、これを通信データとして有線または無線にて良好に通信したり、これをメモリ部92に所定のデータ圧縮処理を行って良好に記憶したり、各種データ処理を良好に行うことができる。
なお、上記実施形態4の電子情報機器90に限らず、本発明の表示素子・受光素子モジュールを情報記録再生部に用いた電子情報機器であってもよい。この場合の電子情報機器の光学素子としては、出射光を直進させて出射させると共に、入射光を曲げて所定方向に入射させる光学機能素子(例えばホログラム光学素子)である。また、電子情報機器の電子素子としては、出射光を発生させるための発光素子(例えば半導体レーザ素子またはレーザチップ)および入射光を受光するための受光素子(例えばフォトIC)を有している。
以上のように、本発明の好ましい実施形態1〜4を用いて本発明を例示してきたが、本発明は、この実施形態1〜4に限定して解釈されるべきものではない。本発明は、特許請求の範囲によってのみその範囲が解釈されるべきであることが理解される。当業者は、本発明の具体的な好ましい実施形態1〜4の記載から、本発明の記載および技術常識に基づいて等価な範囲を実施することができることが理解される。本明細書において引用した特許、特許出願および文献は、その内容自体が具体的に本明細書に記載されているのと同様にその内容が本明細書に対する参考として援用されるべきであることが理解される。
本発明は、表示素子が配置された透明支持基板としてのガラス基板上に、被写体からの画像光を光電変換して撮像する半導体素子で構成された撮像素子を一体化させた受光素子一体型ディスプレイモジュールなどの表示素子・電子素子モジュールおよびその製造方法、この表示素子・電子素子モジュールを表示部および受光部に用いた例えばデジタルビデオカメラおよびデジタルスチルカメラなどのデジタルカメラや、画像入力カメラ、スキャナ、ファクシミリ、カメラ付き携帯電話装置、テレビジョン電話装置、テレビジョン装置や情報を表示する表示ユニットまたは表示装置などに搭載するディスプレイモジュールなどの電子情報機器の分野において、表示素子が配置されたガラス基板上に撮像素子、さらにレンズをも一体化させた構造とすることにより、更なるいっそうの部品点数の削減、実装面積の削減、配線効率の向上による端末の小型・薄型化および低消費電力化を実現することができる。
本発明の実施形態1に係る表示素子・撮像素子モジュールの要部構成例を示す縦断面図である。 図1の撮像素子部分を拡大した要部断面図である。 不要な赤外領域の波長をカットするためのIRカット材料をレンズ表面に形成する場合の構成例を示す撮像素子部分の要部断面図である。 不要な赤外領域の波長をカットするためのIRカット材料を撮像素子表面に直接形成した場合の構成例を示す撮像素子部分の要部断面図である。 (a)は、図1のレンズ遮光層をガラス基板に形成するためのレジスト材料のパターニング例を示す要部断面図、(b)はその裏面図である。 図5のレジスト材料をマスクとして、ガラス基板を異方性エッチングしてガラス基板に溝を形成する工程を示す要部断面図である。 図6のガラス基板の溝を遮光材料で埋め込む工程を示す要部断面図である。 不要となったレジスト材料および余分な遮光材料を除去して形成された内側のレンズ遮光層を示す要部断面図である。 (a)は、図8のレンズ遮光層よりも一回り大きな外側のレンズ遮光層をレンズ遮光層形成面とは反対側の面から形成した場合の要部断面図、(b)は、(a)の変形例を示す要部断面図である。 (a)は、図9の内側のレンズ遮光層と外側のレンズ遮光層とを入れ替えた場合の要部断面図、(b)は、(a)の変形例を示す要部断面図である。 図1のレンズ形成面とは反対側の面に金属薄膜を形成した場合の要部断面図である。 図11の金属薄膜が多層金属膜で構成されていることを示す要部断面図である。 (a)は、図1のガラス基板に凸型のレンズを形成するためのレジスト材料のパタンーニング例を示す要部断面図、(b)は、(a)の裏面図である。 図1の凸型のレンズを形成するためのレジスト材料の熱硬化処理後の形状を示す要部断面図である。 図1の凸型のレンズを異方性エッチングによりレジスト材料の形状をガラス基板に転写した場合を示す要部断面図である。 (a)は、図1のガラス基板に凹型レンズを形成するためのレジスト材料のパターニング例を示す要部断面図、(b)は、(a)の裏面図である。 図16のレジスト材料をマスクとしてガラス基板の等方性エッチングを行った場合の要部断面図である。 図17で不要となったレジスト材料を除去した場合の要部断面図である。 図1の凸型のレンズを、別の方法として高温スタンパによるガラス基板への押圧により形成する場合の要部断面図である。 図1の凸型のレンズを、更に別の方法として高温スタンパでフレネルレンズ形状を形成する場合の要部断面図である。 図16の凹型レンズを、更に別の方法として高温スタンパによるガラス基板への押圧により形成する場合の要部断面図である。 IRカット材料をレンズ表面にコーティングするための工程を図示した要部断面図である。 (a)は、コーティングされたIRカット材料をパターニングするためのパターニング工程を図示した要部断面図であり、(b)は、その裏面図である。 図23のパターニング工程により、形成されたレンズ表面上のIRカット材料の形状を図示した要部断面図である。 (a)は、レジスト膜をマスクとして撮像素子の配置面側のガラス基板の表面にIRカット材料を形成するIRカット材料形成工程を図示した平面図であり、(b)はその要部断面図である。 図25のIRカット材料形成工程を経て形成されたIRカット材料の形状を図示した要部断面図である。 図1のガラス基板上に、表示装置、撮像素子およびその他素子群を接続するために金属薄膜の配線パターニングを行った状態を示す要部断面図である。 遮光材料によって封止してガラス基板に配置された撮像素子およびその他素子群が金属薄膜で形成された配線パターンで接続された配置例を示した要部平面図および断面図である。 図1のガラス基板上のレンズに加えて、他のレンズ群を追加した場合の一構成例を示した要部断面図である。 図1のガラス基板上のレンズに加えて、他のレンズ群を追加した場合の他の一構成例を示した要部断面図である。 本発明の実施形態2に係る表示素子・撮像素子モジュールの要部構成例を示す縦断面図である。 本発明の実施形態3に係る受光素子一体型液晶ディスプレイモジュールの構成例を示す要部断面図である。 本発明の実施形態3に係る受光素子一体型液晶ディスプレイモジュールの他の構成例を示す要部断面図である。 本発明の実施形態3に係る受光素子一体型液晶ディスプレイモジュールの更に他の構成例を示す要部断面図である。 本発明の実施形態3に係る受光素子一体型液晶ディスプレイモジュールの更に他の構成例を示す要部断面図である。 本発明の実施形態3に係る受光素子一体型液晶ディスプレイモジュールの更に他の構成例を示す要部断面図である。 本発明の実施形態3に係る受光素子一体型液晶ディスプレイモジュールの更に他の構成例を示す要部断面図である。 本発明の実施形態3に係る受光素子一体型液晶ディスプレイモジュールの更に他の構成例を示す要部断面図である。 本発明の実施形態3に係る受光素子一体型液晶ディスプレイモジュールの更に他の構成例を示す要部断面図である。 本発明の実施形態3に係る受光素子一体型液晶ディスプレイモジュールの更に他の構成例を示す要部断面図である。 本発明の実施形態3に係る受光素子一体型液晶ディスプレイモジュールの更に他の構成例を示す要部断面図である。 本発明の実施形態4として、本発明の実施形態1〜3の表示素子・撮像素子モジュールを表示部および撮像部に用いた電子情報機器の概略構成例を示すブロック図である。 従来の液晶表示装置およびこれを接続する樹脂基板を示す斜視図である。 従来の液晶表示素子と複数の電子部品を同じ樹脂基板上に実装した場合の断面図である。 従来のCCD撮像素子と複数の電子部品を同じ樹脂基板上に実装した場合の断面図である。 特許文献2に開示された従来の表示素子および撮像素子一体型構造を示す平面図である。
符号の説明
1、1A 表示素子・撮像素子モジュール
2 表示装置
3 ガラス基板
4 レンズ
4a 凸レンズのレンズ形状
41 凹型レンズ
42 フレネルレンズのレンズ形状
5 遮光材料
6 撮像素子
6a 受光面
7 その他素子郡
8 3層の金属多層膜
8a 遮光用の金属薄膜
8b 絶縁膜
8c 配線用の金属薄膜
9 レンズ遮光層
9a 溝
9b 浅いレンズ遮光層
10 IRカット材料
11、12、13 レジスト膜
11a 遮光層形成用の円形線分パターン
12a、13a レンズ形成用の円形線分パターン
14 高温スタンパ
15,16 レジストパターン
15a IRカット材料を除去する部分
16a レジスト矩形パターン
17A、18A 2枚のレンズ群
18B 遮光部材(遮光ホルダ)
20、20A〜20C 撮像素子モジュール
51 受光素子一体型液晶ディスプレイモジュール(表示素子・撮像素子モジュール)
52 液晶ディスプレイ
53 透光性支持基板
54 電極パッド
55 受光素子チップ
56a ランド部
56b 配線部
57,57A 導電突起
58 導電粒子
59、59A〜59C 樹脂(接着樹脂)
60 受光領域
61 レンズユニット
64 絶縁膜
65 微小レンズ
66 カバー膜
71〜74 段差部

Claims (41)

  1. ディスプレイが配置された透光性支持基板において、該ディスプレイの配置箇所以外の透光性支持基板の一部にレンズを形成し、該レンズに対して電子素子が配置されている表示素子・電子素子モジュール。
  2. 前記透光性支持基板に形成されたレンズの外周側に遮光層が設けられている請求項1に記載の表示素子・電子素子モジュール。
  3. 前記遮光層で囲まれた透光性支持基板上で、前記レンズの光入射用中央部以外の透光性支持基板上に遮光膜が設けられている請求項2に記載の表示素子・電子素子モジュール。
  4. 前記遮光層は、前記透光性支持基板上から形成された溝内に遮光材料が埋め込まれている請求項2または3に記載の表示素子・電子素子モジュール。
  5. 前記遮光層は、2重または3重に平面視円形状または楕円形状、四角形状に形成された前記透光性支持基板上から形成された溝内に遮光材料が埋め込まれている請求項2または3に記載の表示素子・電子素子モジュール。
  6. 前記2重の遮光層の一方は、前記透光性支持基板の一方面側から形成された溝内に遮光材料が埋め込まれ、該2重の遮光層の他方は、該透光性支持基板の他方面側から形成された溝内に遮光材料が埋め込まれている請求項5に記載の表示素子・電子素子モジュール。
  7. 前記遮光用の金属膜上に絶縁膜を介して配線用の金属膜が設けられ、前記電子素子の各端子部は、該配線用の金属膜がパターニングされた配線層に接続されている請求項3に記載の表示素子・電子素子モジュール。
  8. 前記電子素子と前記透光性支持基板の間が遮光材料で封止されている請求項1に記載の表示素子・電子素子モジュール。
  9. 前記電子素子としての撮像素子からの画像データに基づいて前記ディスプレイに直接表示するべく、該ディスプレイが前記透光性支持基板上の金属膜の配線パターンにより該撮像素子と接続される配線経路が設けられている請求項1に記載の表示素子・電子素子モジュール。
  10. 前記レンズと前記電子素子としての受光素子の受光領域との間にIRカット材料が設けられている請求項1に記載の表示素子・電子素子モジュール。
  11. 前記IRカット材料は、前記レンズ曲面上、該レンズ曲面が形成される側とは反対の透光性支持基板面上および前記受光素子の受光領域の表面上のいずれかに設けられている請求項10に記載の表示素子・電子素子モジュール。
  12. 前記透光性支持基板のレンズは、凹型レンズおよび凸型レンズのいずれかである請求項1に記載の表示素子・電子素子モジュール。
  13. 前記電子素子には、素子領域を囲む周辺領域に一または複数の電極部が配設されており、ディスプレイを構成する透光性支持基板の配線部に該電極部上の導電突起を用いて該電子素子を接続する接続構造において、該透光性支持基板と該電子素子との間の該素子領域に対応する領域を避けるように、該透光性支持基板と該電子素子との間の少なくとも該接続構造が樹脂で固められた実装構造を有する請求項1に記載の表示素子・電子素子モジュール。
  14. 前記透光性支持基板の配線部と前記電極部上の導電突起との間に異方性導電樹脂材料の導電粒子を介在させた接続部分を完全に覆うように前記樹脂で固められている請求項13に記載の表示素子・電子素子モジュール。
  15. 前記透光性支持基板と前記電子素子との間の接続構造を含む周辺領域が前記樹脂で固められている請求項13に記載の表示素子・電子素子モジュール。
  16. 前記素子領域に対応する領域に前記樹脂が広がるのを食い止めるための突状の段差部が、前記電子素子の周辺領域、および該周辺領域に対向する前記透光性支持基板の領域のうちの少なくともいずれかに設けられている請求項13〜15のいずれかに記載の表示素子・電子素子モジュール。
  17. 前記樹脂が外側に広がるのを食い止めるための突状の段差部が、前記電子素子の周辺部、および前記透光性支持基板における該電子素子と対向する領域の周辺部のうちの少なくともいずれかに設けられている請求項13〜16のいずれかに記載の表示素子・電子素子モジュール。
  18. 前記素子領域に対応する領域に前記樹脂が広がるのを食い止めるべく、該樹脂をはじく性質を有する材料が、前記電子素子の周辺領域、および該周辺領域に対向する前記透光性支持基板の領域のうちの少なくともいずれかに設けられている請求項13〜15のいずれかに記載の表示素子・電子素子モジュール。
  19. 前記樹脂が外側に広がるのを食い止めるべく、該樹脂をはじく性質を有する材料が、前記電子素子の周辺部、および前記透光性支持基板における該電子素子と対向する領域の周辺部のうちの少なくともいずれかに設けられている請求項13〜15および18のいずれかに記載の表示素子・電子素子モジュール。
  20. 前記電子素子の周辺部は、該電子素子の端部およびその外側近傍である請求項17または19に記載の表示素子・電子素子モジュール。
  21. 前記外側近傍の更に周辺部に封止樹脂が設けられ、該封止樹脂により前記透光性支持基板と該電子素子との間を封止している請求項20に記載の表示素子・電子素子モジュール。
  22. 前記封止樹脂は、該電子素子の側面と上面を覆っている請求項21に記載の表示素子・電子素子モジュール。
  23. 前記突状の段差部の少なくとも表面部が、前記樹脂をはじく性質を有する材料で構成されている請求項16または17に記載の表示素子・電子素子モジュール。
  24. 前記樹脂は、少なくとも前記接続構造の接続部分に導電粒子を含有する樹脂が設けられている請求項13または15に記載の表示素子・電子素子モジュール。
  25. 前記導電粒子を含有する樹脂材料は異方性導電樹脂材料である請求項13または15に記載の表示素子・電子素子モジュール。
  26. 前記樹脂は、非導電粒子を含有する樹脂を少なくとも一部に有する請求項13〜15、24および25のいずれかに記載の表示素子・電子素子モジュール。
  27. 前記樹脂は、遮光性樹脂を少なくとも一部に有する請求項13〜15、20〜22、24および26のいずれかに記載の表示素子・電子素子モジュール。
  28. 前記段差部は、前記ディスプレイを構成する材料と共通材料から構成されている請求項16、17および23のいずれかに記載の表示素子・電子素子モジュール。
  29. 前記樹脂をはじく材料は、前記ディスプレイを構成する材料と共通材料から構成されている請求項18、19および23のいずれかに記載の表示素子・電子素子モジュール。
  30. 前記段差部は、前記電子素子上の膜を構成する材料と共通材料から構成されている請求項16、17および23のいずれかに記載の表示素子・電子素子モジュール。
  31. 前記段差部は、電磁波により硬化する材料から構成されている請求項16、17および23のいずれかに記載の表示素子・電子素子モジュール。
  32. 前記透光性支持基板は、貫通配線または/および側面配線により接続された両面配線を有している請求項13〜15のいずれかに記載の表示素子・電子素子モジュール。
  33. 前記ディスプレイが配設されている透光性支持基板の面とは反対側の面に前記電子素子が配設され、前記両面配線を用いて該ディスプレイと該電子素子とが電気的に接続されている請求項32に記載の表示素子・電子素子モジュール。
  34. 前記電子素子は受光素子である請求項1または13に記載の表示素子・電子素子モジュール。
  35. 前記電子素子は、入射光を光電変換して撮像する複数の受光部が設けられた撮像素子である請求項1または13に記載の表示素子・電子素子モジュール。
  36. 前記透光性支持基板は、ガラス基板または樹脂基板のいずれかである請求項1または13に記載の表示素子・電子素子モジュール。
  37. 請求項1に記載の表示素子・電子素子モジュールの製造方法であって、前記ディスプレイが配置された透光性支持基板において、該ディスプレイの配置箇所以外の透光性支持基板の一部にレンズを形成するレンズ形成工程と、該レンズに対して電子素子を配置する電子素子配置工程とを有する表示素子・電子素子モジュールの製造方法。
  38. 前記レンズ形成工程は、パターニングされたレジスト膜を熱処理した後のレジスト膜表面形状を、エッチングにより前記透光性支持基板に転写するかまたは、高温スタンパによる該透光性支持基板への押圧によってレンズ表面を形成する請求項37に記載の表示素子・電子素子モジュールの製造方法。
  39. 前記レンズ形成工程は、前記透光性支持基板から形成されたレンズに対応するように一または複数のレンズがホルダに保持された状態で固定されている請求項37または38に記載の表示素子・電子素子モジュールの製造方法。
  40. 請求項1〜36のいずれかに記載の表示素子・電子素子モジュールを表示部および撮像部に用いた電子情報機器。
  41. 請求項1〜33および36のいずれかに記載の表示素子・電子素子モジュールを表示部、発光部および受光部に用いた電子情報機器。
JP2008206440A 2008-08-08 2008-08-08 表示素子・電子素子モジュールおよび電子情報機器 Expired - Fee Related JP5037450B2 (ja)

Priority Applications (2)

Application Number Priority Date Filing Date Title
JP2008206440A JP5037450B2 (ja) 2008-08-08 2008-08-08 表示素子・電子素子モジュールおよび電子情報機器
US12/462,525 US8704961B2 (en) 2008-08-08 2009-08-05 Display element having a lens being formed as part of a translucent support substrate having a display disposed thereon

Applications Claiming Priority (1)

Application Number Priority Date Filing Date Title
JP2008206440A JP5037450B2 (ja) 2008-08-08 2008-08-08 表示素子・電子素子モジュールおよび電子情報機器

Publications (2)

Publication Number Publication Date
JP2010045463A true JP2010045463A (ja) 2010-02-25
JP5037450B2 JP5037450B2 (ja) 2012-09-26

Family

ID=41652584

Family Applications (1)

Application Number Title Priority Date Filing Date
JP2008206440A Expired - Fee Related JP5037450B2 (ja) 2008-08-08 2008-08-08 表示素子・電子素子モジュールおよび電子情報機器

Country Status (2)

Country Link
US (1) US8704961B2 (ja)
JP (1) JP5037450B2 (ja)

Cited By (6)

* Cited by examiner, † Cited by third party
Publication number Priority date Publication date Assignee Title
JP2012098726A (ja) * 2010-10-29 2012-05-24 Apple Inc 電子機器用のカメラレンズ構造体およびディスプレイ構造体
JP2014057271A (ja) * 2012-09-13 2014-03-27 Sharp Corp カメラモジュールおよび表示装置
JP2017142497A (ja) * 2012-01-10 2017-08-17 アップル インコーポレイテッド 統合型カメラウィンドウ
WO2017203592A1 (ja) * 2016-05-24 2017-11-30 オリンパス株式会社 内視鏡用光学ユニット、内視鏡、および内視鏡用光学ユニットの製造方法
JP2019197886A (ja) * 2018-05-07 2019-11-14 キヤノン株式会社 プリント回路板の製造方法、プリント回路板、及び電子機器
WO2020080154A1 (ja) * 2018-10-15 2020-04-23 ソニーセミコンダクタソリューションズ株式会社 センサモジュールおよび電子機器

Families Citing this family (25)

* Cited by examiner, † Cited by third party
Publication number Priority date Publication date Assignee Title
US8743309B2 (en) 2009-11-10 2014-06-03 Apple Inc. Methods for fabricating display structures
TWI452550B (zh) * 2010-07-23 2014-09-11 Pixart Imaging Inc 顯示面板及其組裝方法
US8779452B2 (en) * 2010-09-02 2014-07-15 Tzu-Hsiang HUNG Chip package
US8467177B2 (en) 2010-10-29 2013-06-18 Apple Inc. Displays with polarizer windows and opaque masking layers for electronic devices
KR101285393B1 (ko) * 2011-12-01 2013-07-10 주식회사 팬택 카메라 모듈을 포함하는 이동통신 단말기
CN103021278B (zh) * 2012-12-07 2015-08-19 京东方科技集团股份有限公司 一种显示面板及显示装置
GB2509764B (en) * 2013-01-14 2018-09-12 Kaleido Tech Aps A lens array and a method of making a lens array
US9488891B2 (en) * 2013-04-22 2016-11-08 National University Of Singapore Thin-surface liquid crystal based voltage sensor
EP3087598A4 (en) * 2013-12-27 2017-09-20 Intel Corporation Optoelectronic packaging assemblies
KR101534992B1 (ko) * 2013-12-31 2015-07-07 현대자동차주식회사 렌즈 표면의 나노패턴 형성방법 및 나노패턴이 형성된 렌즈
CN105812632A (zh) * 2016-03-25 2016-07-27 信利光电股份有限公司 一种线路板及其摄像模组
JP6904338B2 (ja) * 2016-04-27 2021-07-14 Agc株式会社 窓部材および車両用窓ガラス
EP3471391B1 (en) * 2017-10-10 2020-08-12 Axis AB A camera
CN108196388B (zh) * 2018-02-12 2022-04-19 京东方科技集团股份有限公司 一种显示装置及其制造方法
US11282717B2 (en) * 2018-03-30 2022-03-22 Intel Corporation Micro-electronic package with substrate protrusion to facilitate dispense of underfill between a narrow die-to-die gap
CN110418032A (zh) * 2018-04-28 2019-11-05 南昌欧菲光电技术有限公司 摄像头模组和电子装置
US11382209B2 (en) * 2018-05-07 2022-07-05 Canon Kabushiki Kaisha Method for manufacturing printed circuit board, printed circuit board, and electronic device
JP2020013928A (ja) * 2018-07-19 2020-01-23 ソニーセミコンダクタソリューションズ株式会社 撮像素子および電子機器
WO2020183881A1 (ja) * 2019-03-12 2020-09-17 ソニーセミコンダクタソリューションズ株式会社 半導体装置
EP3964886A4 (en) * 2019-04-30 2022-11-23 Boe Technology Group Co., Ltd. INDICATOR
US11522983B2 (en) 2019-12-03 2022-12-06 Apple Inc. Handheld electronic device
US11637919B2 (en) 2019-12-03 2023-04-25 Apple Inc. Handheld electronic device
CN112969010A (zh) * 2021-02-02 2021-06-15 维沃移动通信有限公司 电子设备
US12003657B2 (en) 2021-03-02 2024-06-04 Apple Inc. Handheld electronic device
US12267449B2 (en) 2022-03-03 2025-04-01 Apple Inc. Handheld electronic device

Citations (1)

* Cited by examiner, † Cited by third party
Publication number Priority date Publication date Assignee Title
JPH11317894A (ja) * 1998-03-05 1999-11-16 Olympus Optical Co Ltd 光学装置

Family Cites Families (3)

* Cited by examiner, † Cited by third party
Publication number Priority date Publication date Assignee Title
JPH0514880A (ja) 1991-06-28 1993-01-22 Toshiba Corp テレビ電話
JPH09244007A (ja) 1996-03-11 1997-09-19 Matsushita Electric Ind Co Ltd 液晶表示装置,ccd撮像装置およびこれらの製造方法
KR20080035601A (ko) * 2005-08-08 2008-04-23 코니카 미놀타 옵토 인코포레이티드 촬상 장치 및 촬상 장치의 조립 방법

Patent Citations (1)

* Cited by examiner, † Cited by third party
Publication number Priority date Publication date Assignee Title
JPH11317894A (ja) * 1998-03-05 1999-11-16 Olympus Optical Co Ltd 光学装置

Cited By (10)

* Cited by examiner, † Cited by third party
Publication number Priority date Publication date Assignee Title
JP2012098726A (ja) * 2010-10-29 2012-05-24 Apple Inc 電子機器用のカメラレンズ構造体およびディスプレイ構造体
US9143668B2 (en) 2010-10-29 2015-09-22 Apple Inc. Camera lens structures and display structures for electronic devices
US10009525B2 (en) 2010-10-29 2018-06-26 Apple Inc. Camera lens structures and display structures for electronic devices
JP2017142497A (ja) * 2012-01-10 2017-08-17 アップル インコーポレイテッド 統合型カメラウィンドウ
JP2014057271A (ja) * 2012-09-13 2014-03-27 Sharp Corp カメラモジュールおよび表示装置
WO2017203592A1 (ja) * 2016-05-24 2017-11-30 オリンパス株式会社 内視鏡用光学ユニット、内視鏡、および内視鏡用光学ユニットの製造方法
US10742856B2 (en) 2016-05-24 2020-08-11 Olympus Corporation Optical unit for endoscope, endoscope and method for manufacturing optical unit for endoscope
JP2019197886A (ja) * 2018-05-07 2019-11-14 キヤノン株式会社 プリント回路板の製造方法、プリント回路板、及び電子機器
JP7362286B2 (ja) 2018-05-07 2023-10-17 キヤノン株式会社 プリント回路板の製造方法、プリント回路板、及び電子機器
WO2020080154A1 (ja) * 2018-10-15 2020-04-23 ソニーセミコンダクタソリューションズ株式会社 センサモジュールおよび電子機器

Also Published As

Publication number Publication date
JP5037450B2 (ja) 2012-09-26
US20100033647A1 (en) 2010-02-11
US8704961B2 (en) 2014-04-22

Similar Documents

Publication Publication Date Title
JP5037450B2 (ja) 表示素子・電子素子モジュールおよび電子情報機器
JP2010045082A (ja) 表示素子・電子素子モジュールおよびその製造方法、電子情報機器
US11043436B2 (en) Semiconductor device, manufacturing method, imaging device, and electronic apparatus for enabling component mounting with high flatness
US6784409B2 (en) Electronic device with encapsulant of photo-set resin and production process of same
US8194162B2 (en) Imaging device
JP2007073958A (ja) イメージセンサモジュール用ウエハーレベルチップサイズのパッケージ及びその製造方法
JP2005352314A (ja) 撮像装置および電子機器
US11929313B2 (en) Chip package structure and method for manufacturing the same, and module
CN102376731A (zh) 图像拾取模块和照相机
JP5392458B2 (ja) 半導体イメージセンサ
KR20200063102A (ko) 촬영 어셈블리 및 이의 패키징 방법, 렌즈 모듈, 전자 기기
JP2007012995A (ja) 超小型カメラモジュール及びその製造方法
JPWO2018047635A1 (ja) 固体撮像素子および製造方法、並びに電子機器
US7888157B2 (en) Image sensor chip package method
JP2010219948A (ja) 表示パネルおよびその製造方法
US20060138579A1 (en) Image sensor package, solid state imaging device, and fabrication methods thereof
KR20090073656A (ko) 카메라 모듈 및 그 제조 방법
JP4292383B2 (ja) 光デバイスの製造方法
KR20080005733A (ko) 이미지 센서 모듈과 카메라 모듈
KR20200063106A (ko) 촬영 어셈블리 및 이의 패키징 방법, 렌즈 모듈, 전자 기기
KR20040110294A (ko) 고체 촬상용 반도체 장치
JP4923967B2 (ja) 固体撮像装置及び電子機器
JP5599294B2 (ja) 撮像モジュールおよびその製造方法、並びに電子情報機器
JP2009295739A (ja) 半導体イメージセンサ
JP2009070876A (ja) 固体撮像装置およびその製造方法

Legal Events

Date Code Title Description
A621 Written request for application examination

Free format text: JAPANESE INTERMEDIATE CODE: A621

Effective date: 20100826

A977 Report on retrieval

Free format text: JAPANESE INTERMEDIATE CODE: A971007

Effective date: 20111213

A131 Notification of reasons for refusal

Free format text: JAPANESE INTERMEDIATE CODE: A131

Effective date: 20120105

A521 Request for written amendment filed

Free format text: JAPANESE INTERMEDIATE CODE: A523

Effective date: 20120126

TRDD Decision of grant or rejection written
A01 Written decision to grant a patent or to grant a registration (utility model)

Free format text: JAPANESE INTERMEDIATE CODE: A01

Effective date: 20120613

A01 Written decision to grant a patent or to grant a registration (utility model)

Free format text: JAPANESE INTERMEDIATE CODE: A01

A61 First payment of annual fees (during grant procedure)

Free format text: JAPANESE INTERMEDIATE CODE: A61

Effective date: 20120704

FPAY Renewal fee payment (event date is renewal date of database)

Free format text: PAYMENT UNTIL: 20150713

Year of fee payment: 3

R150 Certificate of patent or registration of utility model

Free format text: JAPANESE INTERMEDIATE CODE: R150

RD04 Notification of resignation of power of attorney

Free format text: JAPANESE INTERMEDIATE CODE: R3D04

LAPS Cancellation because of no payment of annual fees