JP2010045224A - 外部リード成形金型 - Google Patents

外部リード成形金型 Download PDF

Info

Publication number
JP2010045224A
JP2010045224A JP2008208707A JP2008208707A JP2010045224A JP 2010045224 A JP2010045224 A JP 2010045224A JP 2008208707 A JP2008208707 A JP 2008208707A JP 2008208707 A JP2008208707 A JP 2008208707A JP 2010045224 A JP2010045224 A JP 2010045224A
Authority
JP
Japan
Prior art keywords
rod
external lead
semiconductor device
pin
mold
Prior art date
Legal status (The legal status is an assumption and is not a legal conclusion. Google has not performed a legal analysis and makes no representation as to the accuracy of the status listed.)
Granted
Application number
JP2008208707A
Other languages
English (en)
Other versions
JP5079633B2 (ja
Inventor
Junzo Kusumoto
純三 楠本
Yoshito Takezaki
義人 竹崎
Current Assignee (The listed assignees may be inaccurate. Google has not performed a legal analysis and makes no representation or warranty as to the accuracy of the list.)
NISSEI DENSI KK
Original Assignee
NISSEI DENSI KK
Priority date (The priority date is an assumption and is not a legal conclusion. Google has not performed a legal analysis and makes no representation as to the accuracy of the date listed.)
Filing date
Publication date
Application filed by NISSEI DENSI KK filed Critical NISSEI DENSI KK
Priority to JP2008208707A priority Critical patent/JP5079633B2/ja
Publication of JP2010045224A publication Critical patent/JP2010045224A/ja
Application granted granted Critical
Publication of JP5079633B2 publication Critical patent/JP5079633B2/ja
Active legal-status Critical Current
Anticipated expiration legal-status Critical

Links

Images

Classifications

    • HELECTRICITY
    • H01ELECTRIC ELEMENTS
    • H01LSEMICONDUCTOR DEVICES NOT COVERED BY CLASS H10
    • H01L2924/00Indexing scheme for arrangements or methods for connecting or disconnecting semiconductor or solid-state bodies as covered by H01L24/00
    • H01L2924/0001Technical content checked by a classifier
    • H01L2924/0002Not covered by any one of groups H01L24/00, H01L24/00 and H01L2224/00

Landscapes

  • Lead Frames For Integrated Circuits (AREA)

Abstract

【課題】確実にそれぞれの外部リード下端の高さが均一になるように外部リードを折曲可能で、設備コストの上昇を抑えることが可能な半導体装置の外部リード成形金型を提供する
【解決手段】半導体装置を載置する下型と、半導体装置の外部リードを折曲する折曲パンチを有する上型とを備え、上型は、下型の上方に配置されて昇降自在のブロック体と、折曲パンチを備える上型本体と、前記上型本体中で上下方向に摺動可能な複数のロッドと、ロッドの下端が前記半導体装置の上面に当接した状態で前記ロッドの上昇を規制するロッドロック機構とを備え、ロッドロック機構は、各ロッドの中途から略水平方向に分岐するピンと、ピンの先端と対向配置されるとともにブロック体と一体に昇降する昇降体であって、上方に向かって前記ピン側に徐々に傾斜する傾斜面を有する昇降体とを備え、上型の下降の際に前記傾斜面がピンの先端に当接して前記ロッドの上昇を規制する。
【選択図】図2

Description

本発明は、半導体装置の製造工程で用いられる金型に関し、特に半導体装置のセラミックや樹脂製の封止体より突出する外部リードを折り曲げ成形するリード成形金型に関する。
半導体装置のリード成形では、半導体装置がプリント配線基板へ実装される時に接続不良を起こさないように、折曲後の各外部リード下端の高さが均一に折曲されることが望まれる。すなわち、折曲後の各外部リード下端の高さの均一性を確保する必要がある。
ところが、半導体装置を形成する半導体チップ、リードフレーム並びに樹脂等の熱膨張率が相違するため、例えば凹状の反りが封止体に発生することがある。その結果、例えば折曲パンチを押し下げて外部リードを折曲する際に、封止体から外方に突出する外部リードの根元を上型と下型で挟持することで、封止体の反りが矯正されてフラットになった状態でリード成形が行われる。
このように封止体がフラットな状態でリード成形が行われると、リード成形後に封止体が元の凹状に復元してしまい(いわゆるスプリングバックといわれる)、例えば封止体のコーナ部の外部リードの高さが、封止体の各辺の中央部の外部リードの高さより高くなる現象が発生する。そのため、折曲後の各外部リード下端の高さの均一性を確保できずに、半導体装置をプリント配線基板に精度よく半田付けできないという問題があった。
特に、近年の携帯電話、携帯コンピュータ等の電子機器の高機能化に伴い半導体チップが大きくなって封止体が大型化する反面、これらの電子機器の薄型化のために封止体の厚みは薄くなってきており、封止体の反りがますます大きくなって、上述したスプリングバックが生じやすい傾向になっている。
そこで、これらの問題を解決するために様々な提案されている。
例えば、昇降動作自在の上型と、この上型の下方に配設されると共に半導体装置が上面に載置される下型と、半導体装置の外部リードを折曲する昇降動作自在の折曲げ型とを備えた半導体装置のリードの折曲装置において、上下動自在に上型に収納されたピンの集合体と、これらのピンの下端が半導体装置の上面に当接した状態でこれらのピンの集合体を固定する固定手段とを備え、この固定手段が、圧縮空気により進退動作する押圧体をピンの集合体の側面に対向配置し、この押圧体でピンの集合体の側面を押圧してピンを固定しつつ折曲げ型を降下させてリードを折り曲げるものが知られている。(たとえば特許文献1)。
特開平10−313085号公報
しかし、特許文献1によれば、押圧体は、ピン集合体の側面を押圧してピンを固定するため、それぞれのピンを固定する力が不十分となるおそれがある。そのため、折曲げ型を降下させてリードを折曲する際に、例えば上型と下型の当接箇所を支点として封止体を持ち上げようとする力に抗しきれずにピンが上昇するおそれがある。その結果、上述したように封止体の反りが矯正された状態でリード成形がされてしまい、リード成形後にスプリングバックが発生し、折曲された各外部リード下端の高さの均一性を確保できないおそれがあるという問題があった。
また、特許文献1によれば、押圧体の動作のための圧縮空気を供給する例えばコンプレッサや圧縮空気用の配管並びにコンプレッサの制御装置等を必要とする。したがって、特許文献1によれば、リード成形装置の構造が複雑になって設備コストが上昇するおそれがあるという問題があった。
そこで、本発明は、上記従来の問題に鑑みてなされたものであり、その目的は、半導体装置の封止体に反りがあっても、確実にそれぞれの外部リード下端の高さが均一になるように外部リードを折曲可能であるとともに、設備コストの上昇を抑えることが可能な半導体装置の外部リード成形金型を提供することにある。
請求項1の発明は、半導体装置を載置する下型と、載置された前記半導体装置の外部リードを折曲する折曲パンチを有する上型とを備え、前記外部リードを成形する外部リード成形金型において、前記上型は、前記下型の上方に配置されて昇降自在のブロック体と、前記ブロック体から下方に突設されるとともに前記半導体装置の上方に配置され、前記折曲パンチを備える上型本体と、長手方向を略垂直方向にした状態で配置されるロッドであって、前記上型本体中で上下方向に摺動可能な複数のロッドと、前記ロッドの下端が前記半導体装置の上面に当接した状態で前記ロッドの上昇を規制するロッドロック機構とを備え、前記ロッドロック機構は、前記各ロッドの中途から略水平方向に分岐しつつ先端部分を前記上型本体から突出させるピンと、前記ピンの先端と対向配置されるとともに前記ブロック体と一体に昇降する昇降体であって、上方に向かって前記ピン側に徐々に傾斜する傾斜面を有する昇降体とを備え、前記傾斜面は前記ピンの先端の略上方に位置するように配置され、前記上型の下降の際に前記傾斜面が前記ピンの先端に当接して前記ロッドの上昇を規制する、外部リード成形金型である。
請求項2の発明は、請求項1に記載の発明において、前記昇降体は、上端部が上下方向に摺動可能に前記ブロック体と連結しつつ弾性体によって下方に付勢されることを特徴とする。
請求項3の発明は、請求項1又は2に記載の発明において、前記各ロッドは、下方に向かって付勢されることを特徴とする。
請求項4の発明は、請求項1〜3のいずれかに記載の発明において、前記各ロッドは、前記半導体装置の矩形状封止体の略四隅の上方及び前記矩形状封止体の各辺の略中央部の上方にそれぞれ配置されることを特徴とする。
請求項5の発明は、請求項4に記載の発明において、前記昇降体は、側面視略Y字状のプレート体を備え、前記封止体の各辺毎に配置されることを特徴とする。
請求項6の発明は、請求項2〜5のいずれかに記載の発明において、前記昇降体は、側面視略Y字状の棒体を備え、前記ロッド毎に配置されることを特徴とする。
本発明によれば、半導体装置を載置する下型と、載置された前記半導体装置の外部リードを折曲する折曲パンチを有する上型とを備え、前記外部リードを成形する外部リード成形金型において、前記上型は、前記下型の上方に配置されて昇降自在のブロック体と、前記ブロック体から下方に突設されるとともに前記半導体装置の上方に配置され、前記折曲パンチを備える上型本体と、長手方向を略垂直方向にした状態で配置されるロッドであって、前記上型本体中で上下方向に摺動可能な複数のロッドと、前記ロッドの下端が前記半導体装置の上面に当接した状態で前記ロッドの上昇を規制するロッドロック機構とを備え、前記ロッドロック機構は、前記各ロッドの中途から略水平方向に分岐しつつ先端部分を前記上型本体から突出させるピンと、前記ピンの先端と対向配置されるとともに前記ブロック体と一体に昇降する昇降体であって、上方に向かって前記ピン側に徐々に傾斜する傾斜面を有する昇降体とを備え、前記傾斜面は前記ピンの先端の略上方に位置するように配置され、前記上型の下降の際に前記傾斜面が前記ピンの先端に当接して前記ロッドの上昇を規制する構成であるから、例えば上型が下降しつつ折曲パンチで外部リードを押し曲げる際に封止体を上昇させる力が働いても、各ロッドの下端が反りに倣った状態を維持しつつ各ロッドの上昇を規制できるので、封止体の反りが矯正されることなく外部リードを折曲可能となる。したがって、それぞれの外部リード下端の高さが確実に均一になるように外部リードを折曲可能な外部リード成形金型を提供できる。また、本発明によれば、例えば特許文献1のような圧縮空気の供給源や配管等も不要になることで構造の簡略化を図ることができ、設備コストの上昇を抑えることが可能な外部リード成形金型を提供できる。
また、前記昇降体は、上端部が上下方向に摺動可能に前記ブロック体と連結しつつ弾性体によって下方に付勢される構成であるから、例えばロッドの下端が封止体の上面に当接するとともに傾斜面がピンの先端に当接した状態から更にブロック体が降下しても、弾性体が収縮することによって前記昇降体は下降しないので、ロッドの下端で封止体を更に押し下げて封止体の反りを矯正することもなく、またロッドの下端で封止体上面に傷等のダメージを与えることがない外部リード成形金型を提供できる。
また、前記各ロッドは、下方に向かって付勢される構成であるから、各ロッドの下端は、封止体の上面に確実に当接できるので、封止体の上面に各ロッドの下端がより倣った状態でロッドを固定することが可能となり、より確実にそれぞれの外部リード下端の高さが均一になるように外部リードを折曲可能な外部リード成形金型を提供できる。
また、前記各ロッドは、前記半導体装置の矩形状封止体の略四隅の上方及び前記矩形状封止体の各辺の略中央部の上方にそれぞれ配置される構成であるから、ロッドの下端が封止体の平面視中央部に当接しないので、封止体の平面視中央部に配置される半導体チップは上方から加圧されることもない。そのため、半導体チップが加圧されることによる半導体特性の変動も生じないので、半導体装置の品質を維持しつつ外部リードそれぞれの下端の高さが均一になるように外部リードを折曲可能な外部リード成形金型を提供できる。
また、前記昇降体は、側面視略Y字状のプレート体を備え、前記封止体の各辺毎に配置される構成であるから、簡単な構造で昇降体を形成できるとともに昇降体の部品点数を少なくすることができ、本発明の外部リード成形金型を安価に製作できる。
その際、前記昇降体は、側面視略Y字状の棒体を備え、前記ロッド毎に配置される構成であるから、ロッド毎の下端の位置に応じた状態で確実に各ロッドの上昇を規制可能な外部リード成形金型を提供できる。
以下、本発明の基本的な概念について図1を用いて説明する。図1は、本発明の基本的な概念の説明図である。より詳しくは、図1(a)は、半導体装置Wを下型Fに載置した状態の説明図であり、図1(b)は、上型Jが下降して外部リードKを折曲した状態の説明図であり、図1(c)は、外部リードKを成形後に上型Jが上昇した状態の説明図である。
本発明の外部リード成形金型は、図1(a)に示す様に、半導体装置Wを載置する下型Fと、半導体装置の外部リードKを折曲する折曲パンチDを有する上型Jとを備える。
上型Jは、図1(a)に示す様に、半導体装置Wの上方に配置され、前記折曲パンチDを備えて昇降可能な上型本体Lと、長手方向を略垂直方向にした状態で配置されるロッドであって、上型本体L中で上下方向に摺動可能な複数のロッドRと、ロッドRの下端Nが半導体装置の上面に当接した状態でロッドRの上昇を規制するロッドロック機構Mとを備える。ロッドロック機構Mは、各ロッドRの中途から略水平方向に分岐しつつ先端部分を上型本体Lから突出させるピンPと、ピンPの先端と対向配置されつつ昇降する昇降体であって、上方に向かってピンP側に徐々に傾斜する傾斜面Sを有する昇降体Eとを備える。その際、昇降体Eは、常時は傾斜面SがピンPの先端の略上方に位置するように配置される(図1(b)参照)。
そして、図1(b)に示すように、上型Jが下降して折曲パンチDで外部リードKを押し曲げる際に昇降体Eも下降し、傾斜面SがピンPの先端に当接してロッドRの上昇を規制する。したがって、折曲パンチDで外部リードKを押し曲げる際に半導体装置の封止体Gを上昇させる力が働いても、傾斜面SがピンPの先端に当接してロッドRの上昇を規制する。
このように、本発明の外部リード成形金型は、封止体Gに反りがあっても、外部リードKを折曲する際にその反りが矯正されることなく外部リードKを折曲可能とする。したがって、図1(c)に示すように、リード成形後もスプリングバックが生じることなく、それぞれの外部リード下端Tの高さを確実に均一に成形できるのである。
以下、本発明の好適な実施形態の例について図を用いて説明する。
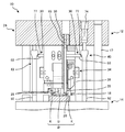
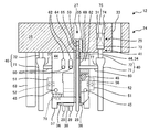
まず、本発明に係る第1実施形態の外部リード成形金型10について、図2〜図7を用いて説明する。図2は本実施形態の外部リード成形金型10の正面説明図である。図3は、本実施形態に係る上型12の一部を分解した正面説明図である。図4は、本実施形態における上型12の底面図である。図5は、図4のA−A´線断面図である。図6及び図7は、上型本体26の説明図である。
本実施形態において半導体装置Wは、QFP(Quad Flat Package)を前提として説明するが、例えばDIP(Dual Inline Package)等の表面実装型のパッケージであってもよい。そして、半導体装置Wは、半導体チップ(図示せず)をリードフレームのアイランド部(図示せず)に搭載した状態で樹脂封止してなる封止体Gと、封止体Gの側部に突設する外部リードKとを備える(図1参照)。以下説明の便宜のため封止体Gは、平面視略正方形状として説明するが、平面視略正方形状に限るものではなく、平面視長方形状であってもよい。
本実施形態の外部リード成形金型10は、図2に示すように、下型14と、上型12とを備える。
本実施形態の下型14は、金属台16と、半導体装置Wを載置する載置部18と、第1下降規制部91と、第2下降規制部92と、第3下降規制部93と、摺動ポスト17とを備える。
金属台16は、例えば封止体Gの辺の略6〜8倍程度の各辺を有する平面視長方形状の台で形成される。
次に、載置部18は、図2に示すように、金属ブロック19と、突出片20とを備える。金属ブロック19は、例えば封止体Gと略同じ平面視略正方形状の上面を有する直方体状ブロックで形成され、金属台16の中央部近傍に突設される。突出片20は、例えば略封止体Gの厚さの高さで金属台16の上面の各辺と略同じ長さを有する長方形状の薄板で形成され、金属ブロック19の上面の各辺に沿って前記金属ブロックの上面から上方に突出形成される。
そして、半導体装置Wは、突出片20で囲繞された領域に封止体Gを配置した状態で載置される(図8参照)。その際、封止体Gは、例えば凹状に反った封止体Gの凹面を上向きにした状態で配置される。
また、第1下降規制部91は、図2に示すように、例えば略円筒状のブロックで形成されるとともに金属台16の上面の所定位置に突設配置され、後述するストッパ63の下端と当接してストッパ63の下降を規制する。
また、第2下降規制部92は、図2に示すように、例えば略円筒状のブロックで形成されるとともに金属台16の上面の所定位置に突設配置され、後述する昇降体40の下端と当接して昇降体40の下降を規制する。なお、図2では、説明の便宜のため手前側の第2下降規制部92は取り外した図としている。
また、第3下降規制部93は、図2に示すように、例えば略円筒状のブロックで形成されるとともに金属台16の上面の所定位置に配置され、後述する摺動体38の脚部57下端と当接して摺動体38の下降を規制する。
また、摺動ポスト17は、例えば下型14の辺と略同じ長さの円柱部材で形成され、図2に示すように、金属台16の上面の所定位置に立設される。そして、後述するブロック体24が、摺動ポスト17に沿って自在に昇降する。
次に、本実施形態の上型12は、図2に示すように、ブロック体24と、複数のロッド28と、上型本体26と、ロッドロック機構30とを備える。
本実施形態のブロック体24は、図2〜図5に示すように、ブロック25と、ブロック25に設けられる嵌合孔27と、ブロック25と後述する昇降体40とが連結する連結部29と、ブロック25に設けられて摺動ポスト17を嵌挿させる嵌挿孔33と、ストッパ63とを備える。
まず、ブロック25は、図4に示すように、下型14と略同等の平面視長方形状で、所定の厚さを有する直方体状の金属ブロックで形成される。
また、嵌合孔27は、図3及び図5に示すように、例えば平面視で封止体Gよりある程度大きい略正方形状でブロック25を垂直方向に貫通する貫通孔で形成され、ブロック25の平面視中央近傍に配置される。そして、嵌合孔27は、後述する摺動体38の頭部55(図7参照)を嵌合させる。
次に、連結部29は、図5に示すように、摺動部31を備える。摺動部31は、例えば平面視でブロック25の辺の10分の1〜15分の1程度の直径を維持しつつ、ブロック25の上端からブロック25の厚さよりやや短い深さでブロック25に開口する有底状の円筒孔で形成される。本実施形態の摺動部31は、図5に示すように、後述するピン60の先端の上方位置に配置され、後述する昇降体40の上端部が摺動する。
そして、摺動部31は、図5に示すように、その底部分を掛止部41とし、後述する昇降体40の上端部、具体的には鍔部73を掛止する。なお、ブロック体24と昇降体40との連結態様については後述する。
次に、ストッパ63は、図2〜図4に示すように、例えば摺動ポスト17の3分の2程度の長さの円柱部材よりなり、ブロック25の下面の所定位置に垂下される。
このように形成されるブロック体24は、図2に示すように、下型14の上方に下型14と対向配置され、嵌挿孔33に上述した摺動ポスト17を嵌合させつつ摺動ポスト17に沿って自在に昇降する。そして、ストッパ63の下端が第1下降規制部91に当接する高さが、上型12の下死点となる。
このように、上型12は、下型14の上方に配置されて昇降自在のブロック体24を備える構成となっているのである。
次に、本実施形態のロッド28は、図4及び図5に示すように、例えばストッパ63と略同じ長さと、断面視矩形状で封止体Gの辺の略5分の1〜7分の1の各辺を有する四角柱棒よりなり、図5に示すように、長手方向を略垂直方向に向けた状態で配置される。具体的な、配置の様子については後述する。
次に、本実施形態の上型本体26は、図2、図3及び図5に示すように、折曲パンチ36と、折曲パンチ36を保持するパンチ保持部34と、パンチ保持部34と嵌合しつつ上下方向に摺動可能な摺動体38と、摺動体38を下方に付勢するC弾性体79とを備える。
本実施形態の折曲パンチ36は、図5及び図3に示すように、例えば略封止体Gの辺と略同じ幅で前記幅の略2〜3倍程度の縦辺を有する正面視長方形状で、その下端が側面視略三角形の頂点を有する金属ブロックで形成される。また、折曲パンチ36は、図3及び図5に示すように、上端部近傍に円柱状のローラ部48を備える。折曲パンチ36の動作については後述する。
次に、本実施形態のパンチ保持部34は、角筒体44と、折曲パンチ36を枢支する枢支ピン45と、折曲パンチ36の上端部を内側に常時付勢する付勢手段52とを備える。
まず、角筒体44について図6を用いて説明する。図6(a)は、角筒体44の平面図であり、図6(b)は、角筒体44の側面図である。
角筒体44は、図6に示すように、例えば上述した折曲パンチ36の幅の略2〜3倍の底辺とその底辺の略2倍の縦辺を有する直方体状の角筒で形成される。そして、角筒の中空部46は、例えば封止体Gと略同形・同サイズの平面視略正方形状の貫通孔で形成される(図6(a)参照)。また、角筒体44は、図6(b)に示すように、後述する折曲パンチ36の略幅で角筒体44の側部の中央部から下方に側壁49を切り欠いた切欠部47を備え、図3及び図5に示すように、切欠部47に折曲パンチ36を挟入状に配置する。
さらに、角筒体44は、図5及び図6(b)に示すように、側壁49を厚さ方向に貫通する楕円状の第1の通し孔62を備え、後述するピン60を貫通させる。より詳しくは、本実施形態において第1の通し孔62は、図6(b)に示すように、角筒体44のそれぞれの側面に各2個ずつ設けられる。
次に、枢支ピン45は、例えば折曲パンチ36の幅の略3分の1〜5分の1の直径と折曲パンチ36の幅よりやや長い長さを有する金属ピンで形成され、図3及び図6(b)に示すように、それぞれの切欠部47の下端近傍を横臥して配置される。そして、折曲パンチ36は、図5に示すように、縦方向の中央近傍において枢支ピン45を幅方向に貫通させつつ枢支ピン45に枢支される。なお、図6において、符号87は枢支ピン45の両端部分を嵌合させつつ枢支ピン45を支持する支持孔である。
次に、付勢手段52は、図2及び図5に示すように、バネ等の弾性片よりなる。弾性片は、図2及び図5に示すように、折曲パンチ36のローラ部48と枢支ピン45との中間部を内側に付勢する態様で配置される。図2及び図5において、符号51は、弾性片の一端を保持する保持板であり、角筒体44の側面にネジ等で固定される。
次に、本実施形態の摺動体38について図7を用いて説明する。図7(a)は摺動体38の側面図であり、図7(b)は、図7(a)のB−B´線端面図である。
摺動体38は、図7に示すように、底部53と、胴部54と、頭部55と、テーパ部56とを備える。
まず、底部53は、図4及び図7(a)に示すように、例えば封止体Gの略2〜3倍の大きさの略正方形のプレートと、その四隅からそれぞれ下方に突出する脚部57とを備え、略角テーブル状に形成される。
次に、胴部54は、図7に示すように、例えば平面視で封止体Gと略同形・同サイズの略正方形で、角筒体44の縦辺の略1.2倍〜1.5倍の縦辺を有する直方体状ブロックで形成される。そして、胴部54は、図5及び図7に示すように、垂直方向に貫通する複数の貫通孔58を備え、上述したロッド28を貫通させる。より詳しくは、貫通孔58は、図7(b)に示すように、略正方形の断面の四隅及び各辺の中央部をそれぞれ縦方向に貫通して形成される。そして胴部54は、図7(a)に示すように、底部53の平面視中央部にネジ等によって着脱可能に立設配置される。なお、底部53は、図5に示すように、貫通孔58に対応する所定位置に、ロッド28を貫通させる孔を有する。したがって、ロッド28は、貫通孔58に沿って上下方向に摺動可能な構成となっており、貫通孔58はロッド28の摺動部となる。
さらに、胴部54は、図7(a)に示すように、上述した第1の通し孔62と略同じ楕円状の第2の通し孔69を、胴部54の側部にそれぞれ備える。この第2の通し孔69は、貫通孔58に連通するとともに後述するピン60を貫通させる。
次に、頭部55は、図5及び図7(a)に示すように、例えば上述した嵌合孔27に嵌合可能な程度の大きさの直方体状ブロックで形成され、胴部54の上面にネジ等(図示せず)によって着脱可能に連結する。また、頭部55は、図5に示すように、各貫通孔58に対応する所定位置に、直方体状ブロックを上下方向に貫通する小孔64を備えている。すなわち、貫通孔58と小孔64とは連通する。そして、図5に示すように、小孔64の上端寄りに例えばネジ59を螺合固設して小孔64を閉鎖し、ネジ59とロッド28との間にバネ等のB弾性体65を収納する。このB弾性体65は、ネジ59とロッド28との間に圧縮状態で介在してロッド28を下方に付勢する。このように、各ロッド28は、下方に向かって付勢される構成となっているのである。
次に、テーパ部56は、図7(a)に示すように、正面視略長方形状で断面視略し字状の突出片で形成され、それぞれの胴部54の縦方向中央近傍に配置される。
これらのブロック体24、パンチ保持部34、摺動体38は、図5〜図7に示すように、パンチ保持部34の中空部46に摺動体38の胴部54が嵌合する。その際、摺動体38の頭部55は、図4及び図5に示すように、ブロック25の嵌合孔27に嵌合する。そして、ブロック25の底面にパンチ保持部34の上面、具体的には角筒体44の上面がネジ等で着脱可能に連結する。したがって、摺動体38の頭部55が、角筒体44の上面で支持される。
そして、図2に示すように、ブロック体24の嵌挿孔33に摺動ポスト17を嵌合させると、摺動体38は封止体Gの上方に配置される構成となっている。さらに、ロッド28は、8個の上述した貫通孔58にそれぞれ挿入配置される。
したがって、本実施形態のロッド28は、半導体装置Wの矩形状封止体の略四隅の上方及び矩形状封止体の各辺の略中央部の上方にそれぞれ配置される構成となっているのである。
なお、ロッド28の配置は、本実施形態のような8本の配置に限るものではなく、例えばDIPのように平面視長方形状の封止体の場合は、前記封止体の略四隅の上方及び前記封止体の長辺の略中央部の上方等にそれぞれ配置(合計6本)される等、半導体装置Wの封止体の形状に応じた配置としてもよい。
また、C弾性体79は、例えばバネ等の弾性体よりなり、図3に示すように、角筒体44の略底面と摺動体の脚部57の略上面との間に配置され、摺動体38を下方に付勢する。
このように、本実施形態の外部リード成形金型10は、ブロック体24から下方に突設されるとともに半導体装置Wの上方に配置され、折曲パンチ36を備える上型本体26と、長手方向を略垂直方向にした状態で配置されるロッドであって、上型本体26中で上下方向に摺動可能な複数のロッド28と、を備える構成となっているのである。
ここで折曲パンチ36の動作例について簡単に説明する。
ブロック体24が下降することにより、パンチ保持部34と摺動体38とが下降する。そして、折曲パンチ36の下端が外部リードKの上面に当接すると略同時に、脚部57の下端は第3下降規制部93に当接して、摺動体38は下降を規制される。
摺動体38が下降を規制された状態でブロック体24が更に下降すると、パンチ保持部34も更に下降する。その際、折曲パンチ36のローラ部48は、付勢手段52によってテーパ部56に押し付けられつつテーパ部56に沿って下降する。したがって、折曲パンチ36の下端は徐々に内側(封止体G側)に移動しながら、外部リードKを突出片20に押し付けつつ外部リードKを折曲する(図1及び図10参照)。
またその際、摺動体38はC弾性体79によって常時下方に付勢されているので、テーパ部56は一定の高さ位置を維持可能となり、折曲パンチ36の下端は一定の軌跡を描きながら外部リードKを折曲可能な構成となっている。すなわち、外部リードKを例えばガルウィング形状等の所定の形状に、再現性高く成形できる。
次に、本実施形態の要部であるロッドロック機構30について説明する。
本実施形態のロッドロック機構30は、ピン60と、昇降体40とを備える。
本実施形態のピン60は、図5に示すように、例えば上述したロッド28を略3分の1〜5分の1程度の長さにした円柱棒で形成され、長手方向を水平方向とした状態で各ロッド28の上端寄りにそれぞれ着脱可能に連結される。その際、ピン60は、上述した第2の通し孔69並びに第1の通し孔62を通過しつつ、その先端部分は上型本体26の側面から突出する。
このように、本実施形態のロッドロック機構30は、各ロッド28の中途から略水平方向に分岐しつつ先端部分を上型本体26から突出させるピン60を備える構成となっているのである。
次に、本実施形態の昇降体40は、図2及び図5に示すように、プレート体71と、ネジ体72とを備える。
プレート体71は、図2、図4及び図5に示すように、例えばロッド28と略同じ長さの長辺で、封止体Gと略同じ長さの短辺で、上述した摺動部31の略直径の厚みを有する長方形状の金属板と、当該金属板の上端に設けられて上方に向かって徐々に厚肉状となる肉厚部とを備え、側面視略Y字状に形成される。
したがって、図2に示すように、前記肉厚部の傾斜面77が、上方に向かってピン60側に徐々に傾斜する傾斜面77を構成するのである。
そして、プレート体71は、図4に示すように、封止体Gの各辺毎であってピン60の先端と対向配置される。すなわち、昇降体40は、側面視略Y字状のプレート体71を備え、封止体Gの各辺毎に配置される構成となっているのである。
その際、傾斜面77は、図2に示すように、上型12が上死点に位置する場合等の常時は上述したピン60の先端の略上方に位置するように配置される。
次に、ネジ体72は、図2及び図5に示すように、例えばプレート体71の上面に螺合可能な程度の大きさの雄ネジで形成され、上述した摺動部31と略同じ直径で円盤状の鍔部73を上端部に備える。そして、ネジ体72は、その下端側がプレート体71の上面中央部に螺合して連結する。このように、本実施形態のネジ体72は、昇降体40の上端部を構成する。
このように構成される昇降体40は、図5に示すように、上端部としてのネジ体72がブロック体24と連結する。
具体的な連結態様は、図5に示すように、ネジ体72の鍔部73がブロック体24の摺動部31内に挿入されつつネジ体72が掛止部41を貫通した状態で連結する。そして、昇降体40の上端部(ネジ体72)は、摺動部31に沿って上下方向に摺動可能となっている。また、鍔部73は掛止部41の上面で支持される。さらに、摺動部31の上端は、図5に示すように、例えば雄ネジ75によって閉鎖され、雄ネジ75と鍔部73との間にバネ等の弾性体74が配置される。この弾性体74は、雄ネジ75と鍔部73との間に圧縮状態で介在して昇降体40を下方に付勢する。すなわち、昇降体40は、上端部としてのネジ体72が上下方向に摺動可能にブロック体24と連結しつつ弾性体74によって下方に付勢される構成となっている。
ここで、弾性体74のバネ定数等の弾性係数は、折曲パンチ36が外部リードKを折曲する間に封止体Gを持ち上げる力がロッド28からピン60を介して傾斜面77に伝わって昇降体40を上昇させようとしても、これに抗することができる程度に設定される。
以上のように、ロッドロック機構30は、ピン60の先端と対向配置されるとともにブロック体24と一体に昇降する昇降体40であって、上方に向かってピン60側に徐々に傾斜する傾斜面77を有する昇降体とを備える構成となっているのである。
以下、本実施形態の外部リード成形金型10の動作について図8〜図10を用いて説明する。図8〜図9は、本実施形態の外部リード成形金型10の動作例を説明する図である。具体的には、図8は、半導体装置Wを下型14に載置した状態の説明図である。また図9は、各ロッド28の下端が封止体Gの上面に倣った状態の説明図である。また図10は、外部リードKの成形が完了した状態の説明図である。
以下、例えばプレス装置等の公知の動力装置(図示せず)によってブロック体24が昇降することで上型12全体が昇降するものとして説明する。
まず、図8に示すように、ブロック体24が略上死点に位置する時に半導体装置Wを載置部18に載置する。
次に、ブロック体24が下降するとロッド28も下降しロッド28の下端が封止体Gの上面に当接しつつ、封止体Gの反りに倣う(図9及び図1(b)参照)。その際、各ロッド28は、下方に向かって付勢されているので、各ロッド28の下端は、封止体Gの上面に確実に当接できる。
次に、さらにブロック体24が下降すると、図9に示すように、傾斜面77が下降してピン60の先端に当接してロッド28の上昇が規制される。そして、昇降体40の下端が第2下降規制部92に当接して昇降体40の下降が規制される。
次に、さらにブロック体24が下降し、摺動体38の脚部57が第3下降規制部93に当接して摺動体38の下降が規制される。
次に、図10に示すように、さらにブロック体24が下降してストッパ63が第1下降規制部91に当接するまでの間に上述のように折曲パンチ36が外部リードKを折曲する。この折曲パンチ36が外部リードKを折曲する間に、封止体Gを持ち上げる力が働いてロッド28を上昇させようとしても、図10に示すように、昇降体40が弾性体74によって下方に付勢されて傾斜面77が所定の高さを維持するのでピン60の上昇、すなわちロッド28の上昇は規制される。したがって、封止体Gの反りが矯正されることもない。
このように、本実施形態の外部リード成形金型10は、上型12の下降の際に傾斜面77がピン60の先端に当接してロッド28の上昇を規制する構成となっているのである。
なお、B弾性体65の弾性係数(バネ定数等)は、ロッド28の下端が封止体Gの表面に倣った状態で、B弾性体65を介してロッド28を下降させる力が働いても、B弾性体65が収縮することでロッド28をさらに下降させることがない程度に、設定されるとよい。
このようにB弾性体65の弾性係数を設定することにより、ロッド28の下端が封止体Gの表面に倣った状態からさらにロッド28を下降させる力が働いても、ロッド28の下端で封止体Gを押し下げて封止体Gの反りを矯正し、或いはロッド28の下端で封止体Gに傷等のダメージを与えることがないからである。
次に、本発明の第2実施形態について、図11を用いて説明する。
第2実施形態と第1実施形態との相違点は、昇降体は、上述したプレート体71に変えて側面視略Y字状の棒体を備え、前記各ロッド28毎に配置される点である。
図11は、第2実施形態に係る外部リード成形金型100の一部断面説明図である。
本実施形態において、昇降体111は、図11に示すように、棒体114と、ネジ体117とを備える。
棒体114は、図11に示すように、上方に向けてピン60側に徐々に傾斜する傾斜面112を有する側面視略Y字状で、断面視四角形状の棒部材で形成される。そして、棒体114は、図11に示すように、常時は傾斜面112がピン60の先端の略上方に位置するように配置されるとともに各ロッド毎に配置される。
次に、ネジ体117は、図11に示すように、例えば棒体114の上面に螺合可能な程度の大きさの雄ネジで形成され、上述した摺動部31と略同じ直径の鍔部73を上端部に備える。
このように構成される昇降体111は、図11に示すように、上端部としてのネジ体117が第1実施形態と同様にブロック体24と連結し、上下方向に摺動可能となっている。そして、図11に示すように、雄ネジ75と鍔部73との間に配置されるバネ等の弾性体74が介在して昇降体111を下方に付勢する
したがって、本実施形態によれば、ロッド毎の下端位置に応じて確実に各ロッドの上昇を規制可能な外部リード成形金型を提供できる。
これまで述べてきたように、本実施形態の外部リード成形金型10,100によれば、半導体装置の封止体Gに反りがあっても、確実にそれぞれの外部リード下端Tの高さが均一になるように外部リードKを折曲可能であるとともに、設備コストの上昇を抑えることが可能な半導体装置の外部リード成形金型を提供できる。
以上、本発明の実施形態のうちのいくつかを図面に基づいて詳細に説明したが、これらはあくまでも例示であり、当業者の知識に基づいて種々の変形、改良を施した他の形態で本発明を実施することが可能である。
本発明の基本的な概念の説明図である。 本発明の第1実施形態に係る外部リード成形金型の正面説明図である。 本発明の第1実施形態に係る上型の一部を分解した正面説明図である。 本発明の第1実施形態に係る上型の底面図である。 図5は、図4のA−A´線断面説明図である。 本発明の第1実施形態に係る上型本体の説明図である。 本発明の第1実施形態に係る上型本体の説明図である。 本発明の第1実施形態に係る外部リード成形金型の動作を説明する一部断面説明図である。 本発明の第1実施形態に係る外部リード成形金型の動作を説明する一部断面説明図である。 本発明の第1実施形態に係る外部リード成形金型の動作を説明する一部断面説明図である。 本発明の第2実施形態に係る外部リード成形金型の一部断面説明図である。
符号の説明
10、100 外部リード成形金型
12、J 上型
14、F 下型
24 ブロック体
26 上型本体
28、R ロッド
30、M ロッドロック機構
36、D 折曲パンチ
40、111、E 昇降体
60、P ピン
71 プレート体
77、112、S 傾斜面
114 棒体
G 封止体
K 外部リード
W 半導体装置

Claims (6)

  1. 半導体装置を載置する下型と、載置された前記半導体装置の外部リードを折曲する折曲パンチを有する上型とを備え、前記外部リードを成形する外部リード成形金型において、
    前記上型は、
    前記下型の上方に配置されて昇降自在のブロック体と、
    前記ブロック体から下方に突設されるとともに前記半導体装置の上方に配置され、前記折曲パンチを備える上型本体と、
    長手方向を略垂直方向にした状態で配置されるロッドであって、前記上型本体中で上下方向に摺動可能な複数のロッドと、
    前記ロッドの下端が前記半導体装置の上面に当接した状態で前記ロッドの上昇を規制するロッドロック機構とを備え、
    前記ロッドロック機構は、
    前記各ロッドの中途から略水平方向に分岐しつつ先端部分を前記上型本体から突出させるピンと、
    前記ピンの先端と対向配置されるとともに前記ブロック体と一体に昇降する昇降体であって、上方に向かって前記ピン側に徐々に傾斜する傾斜面を有する昇降体とを備え、
    前記傾斜面は前記ピンの先端の略上方に位置するように配置され、前記上型の下降の際に前記傾斜面が前記ピンの先端に当接して前記ロッドの上昇を規制することを特徴とする外部リード成形金型。
  2. 前記昇降体は、上端部が上下方向に摺動可能に前記ブロック体と連結しつつ弾性体によって下方に付勢されることを特徴とする請求項1に記載の外部リード成形金型。
  3. 前記各ロッドは、下方に向かって付勢されることを特徴とする請求項1又は2に記載の外部リード成形金型。
  4. 前記各ロッドは、前記半導体装置の矩形状封止体の略四隅の上方及び前記矩形状封止体の各辺の略中央部の上方にそれぞれ配置されることを特徴とする請求項1〜3のいずれかに記載の外部リード成形金型。
  5. 前記昇降体は、側面視略Y字状のプレート体を備え、前記封止体の各辺毎に配置されることを特徴とする請求項4に記載の外部リード成形金型。
  6. 前記昇降体は、側面視略Y字状の棒体を備え、前記ロッド毎に配置されることを特徴とする請求項2〜5のいずれかに記載の外部リード成形金型。
JP2008208707A 2008-08-13 2008-08-13 外部リード成形金型 Active JP5079633B2 (ja)

Priority Applications (1)

Application Number Priority Date Filing Date Title
JP2008208707A JP5079633B2 (ja) 2008-08-13 2008-08-13 外部リード成形金型

Applications Claiming Priority (1)

Application Number Priority Date Filing Date Title
JP2008208707A JP5079633B2 (ja) 2008-08-13 2008-08-13 外部リード成形金型

Publications (2)

Publication Number Publication Date
JP2010045224A true JP2010045224A (ja) 2010-02-25
JP5079633B2 JP5079633B2 (ja) 2012-11-21

Family

ID=42016364

Family Applications (1)

Application Number Title Priority Date Filing Date
JP2008208707A Active JP5079633B2 (ja) 2008-08-13 2008-08-13 外部リード成形金型

Country Status (1)

Country Link
JP (1) JP5079633B2 (ja)

Citations (2)

* Cited by examiner, † Cited by third party
Publication number Priority date Publication date Assignee Title
JPH0837263A (ja) * 1994-07-25 1996-02-06 Mitsubishi Electric Corp 半導体装置のリード成形方法および装置
JPH10125840A (ja) * 1996-10-24 1998-05-15 Nec Corp 半導体装置用リード加工機及びそれを用いた加工方法

Patent Citations (2)

* Cited by examiner, † Cited by third party
Publication number Priority date Publication date Assignee Title
JPH0837263A (ja) * 1994-07-25 1996-02-06 Mitsubishi Electric Corp 半導体装置のリード成形方法および装置
JPH10125840A (ja) * 1996-10-24 1998-05-15 Nec Corp 半導体装置用リード加工機及びそれを用いた加工方法

Also Published As

Publication number Publication date
JP5079633B2 (ja) 2012-11-21

Similar Documents

Publication Publication Date Title
JP2003086315A (ja) ソケット
CN101675350A (zh) 使用无插座测试板对组装级的电子装置的测试
EP2884827B1 (en) Socket
CN104588536A (zh) 一种芯片引脚成型工装
KR930004257B1 (ko) 전자부품의 외부리이드의 절곡 성형방법 및 성형장치
KR100294331B1 (ko) 반도체장치의측정용소켓
JP5079633B2 (ja) 外部リード成形金型
KR20040018918A (ko) 와이어본딩 방법, 와이어본딩 장치 및 와이어본딩 프로그램
JP2988798B2 (ja) 半導体パッケ−ジのアウタリ−ドの曲げ装置
JP2003078095A (ja) リード加工装置
JP2003086997A (ja) 部品装着方法及びその装置
US12544846B2 (en) Fixing apparatus
KR200445638Y1 (ko) 2열 프로그레시브 금형의 모재 가이드장치
JP3024951B2 (ja) 半導体パッケージのリードの折曲げ装置
JP4014961B2 (ja) Icソケット
JP2536411B2 (ja) リ―ド整形方法及びリ―ド整形装置
JP2003133022A (ja) Icソケット
KR100846853B1 (ko) 모재가이드장치
JPH02235400A (ja) 電子部品装着装置
JP2014041873A (ja) 基板支持装置およびその方法、並びに実装装置およびその方法
JPH0249670Y2 (ja)
KR101437097B1 (ko) 금형 로딩 장치 및 이를 포함하는 금형 수납 장치
JP2823328B2 (ja) 樹脂封止半導体装置の外部リード成形方法および外部リード成形装置
JP2002134992A (ja) 基板の下受け装置および下受け方法
CN207522920U (zh) 自适应模具组件

Legal Events

Date Code Title Description
A621 Written request for application examination

Free format text: JAPANESE INTERMEDIATE CODE: A621

Effective date: 20110809

A977 Report on retrieval

Free format text: JAPANESE INTERMEDIATE CODE: A971007

Effective date: 20120515

A131 Notification of reasons for refusal

Free format text: JAPANESE INTERMEDIATE CODE: A131

Effective date: 20120605

A521 Request for written amendment filed

Free format text: JAPANESE INTERMEDIATE CODE: A523

Effective date: 20120712

TRDD Decision of grant or rejection written
A01 Written decision to grant a patent or to grant a registration (utility model)

Free format text: JAPANESE INTERMEDIATE CODE: A01

Effective date: 20120807

A01 Written decision to grant a patent or to grant a registration (utility model)

Free format text: JAPANESE INTERMEDIATE CODE: A01

A61 First payment of annual fees (during grant procedure)

Free format text: JAPANESE INTERMEDIATE CODE: A61

Effective date: 20120829

FPAY Renewal fee payment (event date is renewal date of database)

Free format text: PAYMENT UNTIL: 20150907

Year of fee payment: 3

R150 Certificate of patent or registration of utility model

Ref document number: 5079633

Country of ref document: JP

Free format text: JAPANESE INTERMEDIATE CODE: R150

Free format text: JAPANESE INTERMEDIATE CODE: R150

R250 Receipt of annual fees

Free format text: JAPANESE INTERMEDIATE CODE: R250

R250 Receipt of annual fees

Free format text: JAPANESE INTERMEDIATE CODE: R250

R250 Receipt of annual fees

Free format text: JAPANESE INTERMEDIATE CODE: R250

R250 Receipt of annual fees

Free format text: JAPANESE INTERMEDIATE CODE: R250

R250 Receipt of annual fees

Free format text: JAPANESE INTERMEDIATE CODE: R250