JP2010044108A - 画像形成装置、画像情報生成方法及びコンピュータプログラム - Google Patents

画像形成装置、画像情報生成方法及びコンピュータプログラム Download PDF

Info

Publication number
JP2010044108A
JP2010044108A JP2008206071A JP2008206071A JP2010044108A JP 2010044108 A JP2010044108 A JP 2010044108A JP 2008206071 A JP2008206071 A JP 2008206071A JP 2008206071 A JP2008206071 A JP 2008206071A JP 2010044108 A JP2010044108 A JP 2010044108A
Authority
JP
Japan
Prior art keywords
image
toner
transfer material
forming apparatus
image forming
Prior art date
Legal status (The legal status is an assumption and is not a legal conclusion. Google has not performed a legal analysis and makes no representation as to the accuracy of the status listed.)
Granted
Application number
JP2008206071A
Other languages
English (en)
Other versions
JP4818331B2 (ja
Inventor
Kenichi Iida
健一 飯田
Hideo Nanataki
秀夫 七瀧
Keisuke Mihashi
慶輔 三橋
Current Assignee (The listed assignees may be inaccurate. Google has not performed a legal analysis and makes no representation or warranty as to the accuracy of the list.)
Canon Inc
Original Assignee
Canon Inc
Priority date (The priority date is an assumption and is not a legal conclusion. Google has not performed a legal analysis and makes no representation as to the accuracy of the date listed.)
Filing date
Publication date
Application filed by Canon Inc filed Critical Canon Inc
Priority to JP2008206071A priority Critical patent/JP4818331B2/ja
Priority to EP09805100.6A priority patent/EP2321705A4/en
Priority to CN200980130415.8A priority patent/CN102112930B/zh
Priority to US12/993,895 priority patent/US9134673B2/en
Priority to PCT/JP2009/064326 priority patent/WO2010016623A1/en
Priority to KR1020117004472A priority patent/KR101248649B1/ko
Publication of JP2010044108A publication Critical patent/JP2010044108A/ja
Application granted granted Critical
Publication of JP4818331B2 publication Critical patent/JP4818331B2/ja
Expired - Fee Related legal-status Critical Current
Anticipated expiration legal-status Critical

Links

Images

Classifications

    • GPHYSICS
    • G03PHOTOGRAPHY; CINEMATOGRAPHY; ANALOGOUS TECHNIQUES USING WAVES OTHER THAN OPTICAL WAVES; ELECTROGRAPHY; HOLOGRAPHY
    • G03GELECTROGRAPHY; ELECTROPHOTOGRAPHY; MAGNETOGRAPHY
    • G03G15/00Apparatus for electrographic processes using a charge pattern
    • G03G15/50Machine control of apparatus for electrographic processes using a charge pattern, e.g. regulating differents parts of the machine, multimode copiers, microprocessor control
    • G03G15/5095Matching the image with the size of the copy material, e.g. by calculating the magnification or selecting the adequate copy material size
    • GPHYSICS
    • G03PHOTOGRAPHY; CINEMATOGRAPHY; ANALOGOUS TECHNIQUES USING WAVES OTHER THAN OPTICAL WAVES; ELECTROGRAPHY; HOLOGRAPHY
    • G03GELECTROGRAPHY; ELECTROPHOTOGRAPHY; MAGNETOGRAPHY
    • G03G2215/00Apparatus for electrophotographic processes
    • G03G2215/00362Apparatus for electrophotographic processes relating to the copy medium handling
    • G03G2215/00535Stable handling of copy medium
    • G03G2215/00556Control of copy medium feeding
    • G03G2215/00594Varying registration in order to produce special effect, e.g. binding margin

Landscapes

  • Engineering & Computer Science (AREA)
  • Microelectronics & Electronic Packaging (AREA)
  • Physics & Mathematics (AREA)
  • General Physics & Mathematics (AREA)
  • Color Electrophotography (AREA)
  • Control Or Security For Electrophotography (AREA)

Abstract

【課題】余白無し印字時における定着性を良好にすることが可能な画像形成装置、画像情報生成方法及びコンピュータプログラムを提供することを目的とする。
【解決手段】転写材Pの端を挟む領域に対応する端部領域Ae、及び前記端部領域よりも内側の領域に対応する内部領域Aiからなるトナー像を像担持体11上に形成し、前記像担持体上に形成したトナー像に基づく転写材上への転写を行い、前記転写が行われた転写材を定着装置3に挿通させることにより余白無し画像を形成する画像形成手段を備える画像形成装置であって、前記像担持体上に形成される前記端部領域に対応するトナー像には、トナー量を増加させる為のトナー量アップ処理が行われており、前記画像形成手段は、前記端部領域において前記トナー量アップ処理が行われたトナー像を前記像担持体上に形成することを特徴とする画像形成装置。
【選択図】図8

Description

本発明は,電子写真方式にて像担持体上に形成したトナー像を転写材に転写し,その後定着することによって転写材上に定着画像を得る複写機、プリンタ等の画像形成装置、画像情報生成方法、及びコンピュータプログラムに関する。
像担持体表面に形成したトナー像を、紙等の転写材に転写する工程を含む周知の電子写真方式の画像形成装置がある。また、カラー画像形成装置としては、複数の感光体を一列に並べて、各感光体で順次トナー像を形成し、そのトナー像を転写材に直接あるいは中間転写体を介して転写する装置構成が一般的である。
近年のプリンタ需要の多様化から、特にカラー画像形成装置において、余白無し印字に対する要望が高まっている。従来から画像に対して一回り大きな転写材を用い、印字後にその余白を切断する方法が知られたいる。一方、この切断する作業を簡略化するため、予め転写材上の周囲に余白マージンを作らず、転写材全面に画像印字を行う、いわゆる余白無し印字の必要性が高まっている。
インクジェット方式の画像形成装置においては、既に、余白無し印字機能を備えた装置が市場投入され、例えば特許文献1等にその技術が開示されている。
特開平10−337886号公報
余白無し印字に対応している電子写真方式のフルカラー画像形成装置を実現しようとする際、以下の技術課題が生じる。
画像形成動作中に、トナー像の転写工程を終えた転写材上には、転写材表面のみならず、転写材を取り囲む周囲四辺部に位置する転写材端面の少なくとも何れかに対して、トナーが転写される場合がある。このとき、この転写材が定着器内に進入する際、転写材端部のトナーが定着ニップにおいて紙に定着せず定着不良を起こしてしまう。そして、定着フィルム及び加圧ローラ表面上にオフセットしてしまう現象が発生する場合がある。また、このオフセットが発生した場合、オフセットトナーが転写材表面及び裏面に再付着すると転写材のトナー汚れとなり、結果として画像不良が発生してしまう。
本発明は、以上の点に着目してなされたものであり、余白無し印字時における定着性を良好にすることが可能な画像形成装置、画像情報生成方法及びコンピュータプログラムを提供することを目的とする。
本発明は、上述の目的を達成するため、以下(1)〜(3)の構成を備えるものである。
(1)転写材の端を挟む領域に対応する端部領域、及び前記端部領域よりも内側の領域に対応する内部領域からなるトナー像を像担持体上に形成し、前記像担持体上に形成したトナー像に基づく転写材上への転写を行い、前記転写が行われた転写材を定着装置に挿通させることにより余白無し画像を形成する画像形成手段を備える画像形成装置であって、前記像担持体上に形成される前記端部領域に対応するトナー像には、トナー量を増加させる為のトナー量アップ処理が行われており、前記画像形成手段は、前記端部領域において前記トナー量アップ処理が行われたトナー像を前記像担持体上に形成することを特徴とする画像形成装置。
(2)画像形成装置において転写材の端を挟む領域に対応する端部領域、及び前記端部領域よりも内側の領域に対応する内部領域のトナー像を像担持体上に形成し、前記像担持体上に形成したトナー像に基づく転写材上への転写を行い、前記転写が行われた転写材を定着装置に挿通させることにより余白無し画像を形成する為の画像情報を生成する画像情報生成方法であって、前記端部領域に対応する画像情報について、前記像担持体に形成されるトナー像におけるトナー量を増加させる為のトナー量アップ処理を行う処理工程を有することを特徴とする画像情報生成方法。
(3)画像形成装置において転写材の端を挟む領域に対応する端部領域、及び前記端部領域よりも内側の領域に対応する内部領域のトナー像を像担持体上に形成し、前記像担持体上に形成したトナー像に基づく転写材上への転写を行い、前記転写が行われた転写材を定着装置に挿通させることにより余白無し画像を形成する為の画像情報を生成する処理をコンピュータに実行させる為のコンピュータプログラムであって、前記端部領域に対応する画像情報について、前記像担持体に形成されるトナー像におけるトナー量を増加させる為のトナー量アップ処理を行う処理工程をコンピュータに実行させることを特徴とするコンピュータプログラム。
本発明によれば、余白無し印字を行うことのできる電子写真方式の画像形成装置において、余白無し印字時における定着性を良好にできる。
以下、本発明を実施するための最良の形態を、実施例により詳しく説明する。ただし、この実施の形態に記載されている構成要素はあくまで例示であり、本発明の範囲をそれらのみに限定する趣旨のものではない。
以下、本発明に係る画像形成装置を図面に則して詳しく説明する。
[画像形成システム図]
図1は画像形成装置と画像送信装置の接続を示す画像形成システム図である。
本実施形態の画像形成装置100は、図1に示すように、画像送信装置としてのパソコン101とケーブル102を介して接続される。画像情報は、パソコン101からケーブル102を経由してコントローラ103に送信され、後述する画像データ処理を実施した後に、プリンタエンジン制御部104に送信される。
また、画像形成装置100は、転写材Pに対して、余白無し印字を行うための第一の画像形成モードである余白無し印字モードと、通常の余白有りの印字を行うための第二の画像形成モードである余白有り印字モードによる画像形成を実施する機能を備えている。ここで、余白無し印字とは、縁無し印刷などと呼ばれるものであり、転写材の全域において画像を形成する画像形成方式のことをいう。これに伴い、以下の説明において、前記転写材の全域において画像を形成する画像形成モードを余白無し印字モードという。また、前記転写材の周囲四辺部の所定領域を除く領域内において画像を形成する画像形成モードを余白有り印字モードという。
[画像形成装置の構成図]
図2は本実施例1における画像形成装置100を示す断面図である。本実施例の画像形成装置として、図2に示すように、4ドラム、中間転写方式のフルカラープリンタを用いて説明する。本画像形成装置は、イエロー(Y)、マゼンタ(M)、シアン(C)、ブラック(K)の4色の画像形成手段(画像形成ステーション10)10a〜10dを有し、更に中間転写体としての中間転写ベルト1を含む転写装置および定着器(定着装置)3を有する。なお、4色の画像形成装置に必ずしも限定されることはなく、例えば、薄シアン、薄マゼンタなどを更に加えた6色画像形成装置であっても良い。
各画像形成ステーション10a〜10dは画像形成ユニットとしてユニット化され、それぞれ像担持体である感光体(ドラム状電子写真感光体)11a〜11dが矢印方向に回転可能に設置される。感光体11a〜11dの外周表面上に、それぞれ感光体表面を一様に帯電する一次帯電ローラ12a〜12dが配置される。一次帯電ローラ12の感光体回転方向下流側には、画像情報に対応して変調されたレーザー光を感光体表面に発光(照射)し感光体表面を露光するレーザー露光器13a〜13dが配置される。さらにレーザー露光器13の下流側には、レーザー露光により形成された感光体表面上の各色の静電潜像を、対応する色のイエロー、マゼンタ、シアン、ブラックのトナーを用いて現像する現像器14a〜14dが配置される。
感光体11a〜11dの中間転写ベルト1を挟んだ位置(転写位置)には、感光体とともに一次転写部を形成する一次転写ローラ15a〜15dが対向設置される。この一次転写ローラ15a〜15dには、それぞれ一次転写電源16a〜16dが接続され、それぞれ可変な一次転写電圧Vy、Vm、Vc、Vkが印加される。
中間転写ベルト1は、駆動ローラ1a、テンションローラ1b、二次転写対向ローラ1cの3本のローラに張架して設置され、各画像形成ステーション10a〜10dを縦貫して、感光体11a〜11dに接触配置される。中間転写ベルト1は、駆動ローラ1aにより図の矢印方向に回転駆動される。感光体11a〜11dの一次転写ローラ15a〜15dの下流側には、ドラムクリーナ17a〜17dが設置される。また中間転写ベルト1の表面には、ベルトクリーナ4が配置される。
プリンタエンジン制御部104は、コントローラ103から受信した画像情報や各種指示に従い、プリンタエンジンの各部を制御する。なお、ここでのプリンタエンジンとは、概ね図2の画像形成装置100におけるコントローラ103、プリンタエンジン制御部104を除く画像形成に係る動作を行う部分を指す。
以上のように構成された画像形成装置の画像形成動作について、イエローの画像形成ステーション10aを例にして説明する。イエローステーション10aの感光体11aは、アルミニウムの円筒体表面に光導電層を形成してなっており、矢印方向へ回転する過程で一次帯電ローラ12aにより、表面を一様にマイナス帯電(帯電電位=−600V)される。
ついで、パソコン101より送られた画像情報を、後述の画像データ処理によりレーザー発光強度や時間に変換し、レーザー露光器13aにより画像露光が行われる(露光後の表面電位=−200V)。その結果、感光体11aの表面に元画像のイエロー画像成分に対応した静電潜像が形成される。この静電潜像は、現像器14aによりマイナス帯電したイエロートナーを用いて現像され、静電潜像がイエロートナー像として可視化される。
得られたイエロートナー像は、一次転写ローラ15aに一次転写電源16aから一次転写電圧を印加することによって、中間転写ベルト1上に一次転写される。転写後の感光体11aは、表面に付着している転写残トナーがドラムクリーナ17aによって除去され、次の画像形成に供される。
以上の画像形成動作を、各画像形成ステーション10a〜10dにおいて所定のタイミングを持って行い、感光体11a〜11d上のトナー像をそれぞれの一次転写部で中間転写ベルト1上に順次重ねて一次転写する。フルカラーモードの場合は、中間転写ベルト1に対してイエロー、マゼンタ、シアン、ブラックの順でトナー像を順次転写し、モノカラーモードの場合は、ブラックトナー像が上記と同じ順で転写される。その後、中間転写ベルト1上の4色のトナー像は、中間転写ベルト1の矢印方向の回動にともない、二次転写ローラ2が中間転写ベルト1を挟んで接地された二次転写対向ローラ1cと当接された二次転写ニップ部に移動される。そこに給送ローラ9により所定のタイミングをもって供給された転写材P上に接する二次転写ローラ2に、二次転写電源21から二次転写電圧を印加する。これによりトナー像は一括して転写材Pに二次転写される。二次転写後の中間転写ベルト1表面に付着している転写残トナーはベルトクリーナ4によって除去され、次の画像形成に供される。
二次転写ニップ部を通過した未定着トナー像を載せた転写材Pは、定着器3へと搬送され、加熱・加圧されて定着画像となる。また、定着装置3から排出された転写材Pは、装置外の排出トレイ8に排出される。
[転写材カセットについての説明]
図3により転写材カセット5を説明する。図3は転写材カセット5の斜視図である。
図3に示すように、転写材カセット5内にある一対の長手位置規制板52により、各回転体の長手中心に対して、長手中心が一致するように(走査方向の中心)転写材Pは整列され蓄積される。なお、ここでの回転体とは、感光体11a〜11d、中間転写ベルト1、定着フィルム30、加圧ローラ31である。
これにより、転写材カセット5から取り出された転写材Pは、感光体11a〜11d、中間転写ベルト1、定着フィルム30、加圧ローラ31と、長手中心が整列した状態で二次転写ニップ部、定着ニップ部に挿通される。つまり、本実施形態の画像形成装置はいわゆる中央基準構成となっている。ピックアップローラ対51により転写材カセット5から取り出された転写材Pは、給送装置6の搬送ローラ61と、給送ローラ9により、中間転写ベルト1上のトナー像に同期した所定のタイミングで二次転写ニップ部に挿通される。
[余白有り印字モードと余白無し印字モード時の画像形成領域について]
ここで、余白無し印字モード時の、転写材Pに対する画像形成拡大領域について、図4を用い説明する。
本画像形成装置において転写材Pに余白有り印字を行う場合、転写材Pのサイズに対する印字領域を規定するマスク領域Eは、図4(a)に示す領域である。つまり、転写材Pの先端、後端、左端、右端について各々2mm内側までの領域である。なお、マスク領域Eの内側のタイミングにおいて、レーザー露光器13は感光ドラム上にトナー像を可視化現像する為の静電潜像を形成すべく、画像データに従うレーザービーム発光を行う。
これに対し、転写材Pに余白無し印字を行う場合には、マスク領域Eが、余白有りの印字を行う場合に対して拡大され、図4(b)に示す領域となる。具体的には、転写材Pの先端、後端、左端、右端について各々2mmの幅を有する画像形成拡大領域Bの分だけ転写材Pよりも大きな領域となる。
なお、二次転写部における中間転写ベルト1と転写材Pとの接点においては、メカ的精度や転写効率の関係で移動速度差が生じており、たとえば、転写材Pの移動速度が中間転写ベルト1の移動速度よりも早い場合がある。この場合、転写材Pへの二次転写後の画像の移動方向長さは長くなることになる。従って、このような場合には、上述の画像形成拡大領域Bの先端、後端について、二次転写後に各々2mmの幅の画像形成拡大領域が形成されるように、感光体11a〜11上にトナー像(静電潜像)が形成される。
こうして、画像形成拡大領域Bの画像部分までを含めた画像が感光体上に形成され、中間転写ベルト1上に一次転写された後に、転写材P上に二次転写される。この二次転写工程において、中間転写ベルト上の画像と転写材Pとの間の位置関係に多少のずれが生じたとしても、上記画像形成拡大領域を設けた効果により、転写材P上には余白無し印字画像が確実に得られる。
なお、二次転写の際、転写材Pより外側の画像形成拡大領域におけるトナー像の一部は、二次転写ローラ2上に付着することになる。本トナーは、二次転写ローラ2に当接している二次転写ローラクリーナ22で除去される。
かくして、4色のトナー像が転写、定着された余白無しのフルカラー画像が転写材P上に得られる。
[オフセットについて]
本画像形成装置において、二次転写ニップ部において二次転写工程を終えた転写材P上には、表面のみならず転写材端面にもトナーが転写される。図5は転写材端面へ転写されたトナーの付着状態を示す斜視図である。なお「転写材端面」とは、図5に示したように転写材の側面を意味するものとする。
転写材Pが定着器3内に進入した際、定着ニップ部において転写材端面上のトナーが転写材Pに対して十分に定着せず、定着フィルム30及び加圧ローラ31の表面上にオフセットする現象が発生する。図6にトナーがオフセットする様子の一例を示す。本オフセットは、転写材Pの端面においてトナー像に過剰な熱が与えられ、トナーが過溶融状態となり、転写材P上へ定着せずに定着フィルム及び加圧ローラに転移する、いわゆるホットオフセット現象である。
転写材の端面においては、転写材内側の通常の表面部分と比較して、特に、ホットオフセットが発生し易い。その理由は以下の通りである。
つまり、転写材が定着フィルム30と加圧ローラ31で形成される定着ニップに挿通される際、転写材内側の部分においては、転写材表面が定着ニップ内の全体に亘って配置され、定着性確保に必要十分な量の熱量が均一に付与される。ところが、転写材端面及びその近傍部分においては、定着ニップ内に転写材及びトナー像が存在する部分としない部分とが共存する。つまり、転写材及びトナー像が存在する/しないの境界部分における転写材端面に対して、転写材及びトナー像が存在しない部分に対応する定着フィルム30からの熱が集中的に付与される。このため、熱供給過多によるホットオフセットが生じ易い。
本実施例におけるオフセットに起因する転写材のトナー汚れは、以下の特徴を有する。
(イ)転写材端部に転写された画像を形成する各色合計トナー量が少ない場合に、発生し易い。トナー像内の個々のトナーに与えられる熱量が増加し熱供給過多となり、ホットオフセットが生じるためである。
(ロ)転写材端部に転写された画像を形成するトナーの色によって、見かけ上の転写材のトナー汚れレベルが変化する。通常使用される白色の転写材上では、ブラックトナーが最も目立ち易く、次いで、マゼンダ、シアントナーの順に目立つ。イエロートナーは比較的目立ち難い。
なお、本実施例では上に述べた通りであるが、例えば上記(ロ)について必ずしもこれに限定される訳ではない。トナー特性や画像プロセス条件等が異なる場合には、例えばシアンの色についてオフセットによる汚れのレベルが一番大きい場合も想定される。この場合には、実施例におけるシアンをオフセットレベルが高いトナー量アップの対象となる注目色画像とし、それに対して相対的に視認性の低い例えばYのトナー量を増加させる画像処理を行えば良い。また、他の視認性の低いトナー色が画像形成装置本体に装着されている場合には、その視認性の低い他の色を用いてトナー量を増加させても良い。
[コントローラ103について]
図1において説明したコントローラ103について、図7を用いて更に詳細に説明する。
コントローラ103は、CPUバス10301を介して相互に接続されたホストインタフェース部10302、プリンタエンジンインタフェース部10303、ROM10304、RAM10305、及びCPU10306等の各デバイスを備えている。CPUバス10301は、アドレス、データ、コントロールバスを含む。
ホストインタフェース部10302は、ネットワークを介してパソコン等のデータ送信装置と双方向に通信接続する機能を有する。プリンタエンジンインタフェース部10303は、プリンタエンジン制御部104と双方向に通信接続する機能を有する。このプリンタエンジンインタフェース部10303を介してコントローラ103はプリンタエンジン制御部104に画像情報の送信や各種指示を行うのである。
ROM10304は、本発明に係る処理(後述する画像データ処理とトナー量UP処理)や、その他の処理を実行するための制御プログラムコードを保持する。RAM10305は、画像形成装置インタフェース部10303で受信した画像情報をレンダリング或いは色変換した結果のビットマップデータを保持したり、一次的なバッファエリアや各種処理ステータスを保持したりするためのメモリである。CPU10306は、ROM10304に保持された制御プログラムコードに基づいて、CPUバス10301に接続された各デバイスを制御する。
なお、以下の説明においては、CPU10306を処理の主体に説明を行っていくが、上に説明したコントローラ103の構成は一実施例を示すものであり、必ずしもこれに限定されるものではない。例えば特定用途向け集積回路(ASIC)やSOC(System On Chip)をコントローラ103に設け、ASICやSOCにCPUによる処理の一部或いは全てを行わせても良い。
[画像データ処理について]
本画像形成装置における画像データ処理を、図8に示すフローを用いて説明する。以下で説明する処理は、CPU10306によってROM10304に格納された制御プログラムがRAM10305にロードされて実行される。
まずステップS8001では、パソコン101からネットワーク等を介して送信されてくる画像情報、及び、紙サイズ、動作モード等の各種印字設定情報を受信する。なお、画像情報と各種印字設定情報とを印刷ジョブデータと呼ぶこともある。また、ここで動作モードには少なくとも図1において説明した「余白有り印字モード」と「余白無し印字モード」が含まれている。
画像情報がカラー画像に関するものである場合には、RGB(レッド、グリーン、ブルー)データによる色情報の形式となっており、ステップS801ではそれぞれの色情報が本装置で再現可能なデバイスRGBデータに割り付けられ、変換される。
続いてステップS802において画像情報の色情報は、デバイスRGBデータからデバイスYMCK(イエロー、マゼンダ、シアン及びブラック色)データに変換される。YMCKデータの各階調値は、各色画像形成ステーションのレーザーが全点灯した場合に転写材上に転写される単位面積当たりのトナー量に対する、トナー量の比を表すものと定義される(0〜100%)。たとえば50%のYのデータに従い感光体上にレーザーを照射すると、100%のデータで照射した場合の半分の重さのトナーが結果として転写材に転写されることとなる。
ステップS803で余白有り印字モードと判断された場合には、ステップS802の後にステップS805へと進む。なお、ステップS805へと進む前に、画像情報に対しては、従来から知られている、余白有り印字を想定したオフセットを軽減する為の画像処理等を行っても良い。或いは、オフセットを意識した画像処理は何も行わない様にしても良い。
ステップS805では、YMCKデータに対して、各色の露光量と実際に使用されるトナー量との関係を示す階調テーブルを用いて、YMCK各色の露光量が算出される。
次いで、ステップS806では、各ピクセルに対して、各色の露光量(レーザビーム発光量)を、実際に用いる露光パターン(発光パターン)に変換し、露光出力(発光出力)する(S807)。
[トナー量UP処理(S804)について]
一方、余白無し印字モードの場合には、図4で説明したように、転写材Pに対する画像形成拡大領域を設けて画像形成動作が行われる。この場合、ステップS803で余白無し印字モードと判断され、ステップS802の後にステップS804が行われた後に、ステップS805へと進む。
余白無し印字モード時は、図9(a)に示したように、マスク領域E内の全面に亘って感光ドラム上に形成される画像のうち、転写材Pの端部領域Ae内に含まれる画像情報について、トナー量UPのための処理が行われる。より具体的には、トナー量アップ処理は、端部領域に対応する部分の画像情報について、像担持体に形成されるトナー像におけるトナー量を増加させる為の画像処理である。なお、内部領域Aiについては、ステップS803でNOと判断した場合と同様の画像処理或いは対処が行われるものとする。
端部領域Aeは、先端部、後端部、左端部、右端部の4つの部分からなる。先端部、後端部、差端部、右端部については、図9(b)に示す通りである。図9(a)では、マスク領域E内における、転写材Pの先端、後端、左端、右端の各々に対する2mm内側の位置から2mm外側(マスク領域E)にかけての領域である。転写材の端を境に、外側と内側で夫々2mmずつを、トナー量UP処理の対象となる端部領域としているので、印字動作中に画像と転写材Pとの間の位置関係がずれた場合にも、トナー量UP処理が転写材多面に確実に作用する。
なおトナー量アップ処理の対象となる端部領域Aeの転写材の端と垂直方向の幅が、画像(トナー像)と転写材との位置関係がずれを生じていないときのトナー像の転写材からのはみ出し幅の2倍の長さであるときに、効率よく対応できる。つまり、画像と転写材Pとの間の位置関係のズレがどのような場合にも柔軟に対応でき、且つトナー消費を浪費しない。
一方、内部領域Aiとは、マスク領域E内のそれ以外の領域、つまり転写材P(画像)の中心部から、先端、後端、左端、右端の各々に対する2mm内側の位置までの領域である。
端部領域Aeでは、ステップS802で決定されたデバイスYMCKデータに対し、各色データの合計値を増加させ、端部領域Aeにおけるトナー量をアップするための処理が行われる。一方の内部領域Aiでは、この処理は行われない。
例えば、画像パターンとして図10に示す、画像部A、B、Cを有するようなパターン、つまり端部領域Aeと内部領域Aiの両者にまたがるような画像部を有するパターンで画像形成が行われる場合について説明する。このパターンは、図4(a)のマスク領域Eと(b)のマスク領域Eの間に画像部があると共に、転写材の内側にも画像部があるパターンである。この場合、各画像部を構成する画像ピクセルのうち、端部領域Ae内に含まれるピクセルの画像情報についてのみ、ステップS804が行われる。一方、内部領域Ai内に含まれるピクセルの画像情報については、ステップS804は行われない。
[トナー量UP処理の具体例1]
トナー量UPステップS804の例として、ステップS802で決定されたYMCKデータが、Y=M=C=0%、0≦K≦100%、つまりK単色系に属する色に対する処理について、図11(a)のグラフを用いて説明する。なお、YMCKデータの%の標記とはYMCKデータの階調値に対応するものであり、例えば8ビットで階調を表現する場合には、FFHが100%となる。以降では特にことわりを入れない限り色データの階調を”%”を用いて表記することとする。このことは他の実施例についても同様とする。また、実際の画像形成においては、Y=M=C=0%、0≦K≦100%以外の場合も想定されるが、常にKの画像情報に対して、図11(a)に示されるトナー量アップ処理を行っても良い。
図11(a)のグラフは、ステップS802で決定された元のKデータの階調をグラフ横軸に取り、ステップS804により新たに決定されたYMCKデータ、及び各色合計データの階調をグラフ縦軸に取り示したものである。
元のKデータが0〜40%の場合、Kデータがそのまま維持される。一方、元のKデータが40〜100%の場合、つまり元のKデータが閾値以上の階調を超えた場合に、元のKデータに加え、各色0〜45%程度のYMCデータがそれぞれ付加される。このときの各色合計データは、グラフに示した通りである。
例えば、各色(Y、M、C、K)データは、コントローラ103における処理上、それぞれ1バイトのデータとして扱われる。つまり、データ値0%は00hex、データ値100%はFFhex、その間の値は00hex〜FFhex内でリニアに補間された値とされる。例えば、元の画像データがKデータ80%である場合、同データはCChexとして扱われる。そして、処理S804により決定されるデータは、図11(a)の関係に基づき、Yデータが33hex(20%)、Mデータが2Bhex(17%)、Cデータが4Chex(30%)、KデータがCChex(80%)となる。
K単色系に属する色でも、Kデータが40〜100%程度の階調の色の画像が転写材端面にあると、ホットオフセットが発生し易い(Kデータが0〜40%程度ではトナーの量が少なく、オフセットが発生してもオフセットトナー量が少なく目立ちにくい)。また、トナー色がブラックであるため、オフセットが発生した際の転写材のトナー汚れも目立ち易い。
このように入力されたKデータの端部領域が40〜100%程度の場合に当該端部領域に対応させYMCデータを付加し各色合計データを増加させて印字すると、あらゆる階調の場合においてオフセットによる転写材Pのトナー汚れの発生を抑制することができる。
これは、転写材端面の画像を形成するトナーの総量を増量してホットオフセットの発生を抑制し、且つ増量するトナーにKトナーよりも転写材P上での視認性が相対的に低いYMCの混色トナーを用いて、オフセットが発生しても目立たちにくくできるからである。
なお本処理は、ブラック色に対して、互いに混色するとプロセスブラック色となるYMCトナーを付加するだけであるため、処理前の画像色に対する色味変化は低く抑制されている。
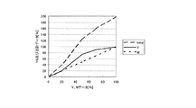
ここで、図11(b)を用いて、本トナー量UP処理による定着性向上によるオフセットトナー量の抑制効果を説明する。また図11(c)を用いて、本トナー量UP処理による定着性不良に起因するオフセット視認性の抑制効果を説明する。なお、上にも説明したが、図11は、YMCKデータが、Y=M=C=0%、0≦K≦100%の場合を想定していることをここで述べておく。
図11(b)は、グラフ横軸にKデータの階調を取ってある。また、グラフ縦軸にはオフセットトナー量を取ってある。
図11(b)では、トナー量UP処理前の元の画像情報に含まれるKデータにより印字を行った場合と、トナー量UP処理後のKデータを含む画像情報により印字を行った場合で、オフセットトナー量のピークがKデータのどの階調で発生するかを示している。
元のKデータによる印字では、Kデータが50%〜100%の階調(階調の幅Δ50%)においてオフセットトナー量が多くなっている。また最もオフセットトナー量が多くなるのは、Kデータが70%の階調の場合である。つまり、K単色で考えた場合に、トナー量UP処理前のKデータが70%の階調の場合のトナー量において、最もホットオフセットの発生が最も顕著となる。
一方、トナー量UP処理後のKデータによる印字では、元のKデータが45%〜60%の階調(階調の幅Δ15%)においてオフセットトナー量が多くなっている。また最もオフセットトナー量が多くなるのは、元のKデータが50%の階調の場合である。このときの各色合計データ量(総トナー量)は、トナー量UP処理前でホットオフセットの発生が最も顕著になる場合と略同じトナー量となっている。
つまり、トナー量UP処理により、最もオフセットトナー量が多くなる合計トナー量時におけるKデータの階調が低階調側にシフトしている(70%→50%)。従ってKデータの全トナー量に対する割合は、視認性の低い色のトナー量に基づき小さくなっており、Kデータの全トナー量に対する割合がより少ない状態でホットオフセットが発生することになる。言い換えれば、一番視認性の高いKのホットオフセット分が軽減されることになる。また、更に、オフセットトナー量が多くなる階調の幅が縮小されており(Δ50%→Δ15%)、階調全体に渡り、ホットオフセットの発生が抑制されていることが図11(b)から読み取れる。
また、図11(c)は、横軸に図11(b)と同じものを取り、グラフ縦軸にオフセット視認性レベルと取ってある。図11(c)では、元のKデータによる印字を行った場合と、トナー量UP処理後のKデータによる印字を行った場合におけるオフセット視認性レベルの対比が行われている。なお視認性レベルについては、既に知られている、様々な画像評価方法を採用することができ、それによって縦軸のパラメータは異なって来る。なお、ここでの詳しい説明は省略する。
元のKデータによる印字では、前記オフセットトナー量に対応して、Kデータが50%〜100%の階調においてオフセット視認性レベルが高くなる。最もオフセット視認性レベルが高くなるのは、Kデータが70%の階調である。
一方、トナー量UP処理後のKデータによる印字でも、前記オフセットトナー量に対応して、元のKデータが45%〜60%の階調においてオフセット視認性レベルが高くなる。最もオフセット視認性レベルが高くなるのは、元のKデータが50%の階調のときである。しかし、オフセットが大きい場合のKデータの全体に対する割合が少なくなっているので、元のKデータによる印字の場合と比べ、視認性のレベルは抑制されている。これは、トナー量UP処理により増量されたトナーがYMCトナーであるためである。
[トナー量UP処理の具体例2]
他の例として、ステップS802で決定されたデバイスYMCKデータが、Y=C=K=0%、0≦M≦100%、つまりM単色系に属する色の場合の処理について、図12のグラフを用いて説明する。なお、図12においても、ホットオフセットが発生した場合に目立ってくる注目色のMに対して、相対的に視認性の低いYによるトナー量UP処理を行うことにより、図11の場合と同様にオフセットトナー量の抑止効果が得られるが、ここでの詳しい説明は省略する。
図12のグラフは、ステップS802で決定された元のMデータの階調をグラフ横軸に取り、ステップS804により新たに決定されたYMデータ、及び各色合計データの階調をグラフ縦軸に取り、示したものである。
元のMデータが0〜40%の場合、Mデータがそのまま維持される。一方、元のMデータが40〜100%の場合、つまり元のMデータが閾値以上の階調を超えた場合に、元のMデータに加え、0〜40%程度のYデータが付加される。このときの各色合計データは、グラフに示した通りである。
M単色系に属する色でも、40〜100%程度のM色の画像が転写材端面にあると、ホットオフセットが発生し易い(Mデータが0〜40%程度ではトナーの量が少なく、オフセットが発生してもオフセットトナー量が少なく目立ちにくい)。また、トナー色がマゼンダであるため、ブラック程ではないものの、やはり、オフセットが発生した際の転写材のトナー汚れが目立ち易い。
このような単色系に属する色の画像情報に対しても、端部領域においてYデータを付加し、各色合計データを増加させて印字すると、あらゆる階調の場合においてオフセットによる転写材Pのトナー汚れの発生を抑制することができる。
これは、転写材端面の画像を形成するトナーの総量を増量することでホットオフセットの発生を抑制し、且つ増量するトナーにMトナーよりも転写材P上での視認性が相対的に低いYトナーを用い、オフセットが発生しても目立たちにくくできるからである。
本処理においても、マゼンダ色に対して、マゼンタ色に混色しても色味変化の比較的小さいYトナーを付加するだけであるため、処理前の画像色に対する色味変化は低く抑制されている。
[トナー量UP処理の具体例3]
更に他の例として、ステップS802で決定されたデバイスYMCKデータが、C=K=0%、0≦Y=M≦100%、つまり二次色Red系に属する色の場合の処理について、図13のグラフを用いて説明する。なお、図13においても、注目色のMに対して、相対的に視認性の低いYによるトナー量UP処理を行うことで、図11の場合と同様にオフセットトナー量の抑止効果が得られるが、ここでの詳しい説明は省略する。
図13のグラフは、ステップS802で決定された元のY及びMデータの階調をグラフ横軸に取り、ステップS804により新たに決定されたYMデータ、及び各色合計データの階調をグラフ縦軸に取り示したものである。元のY及びMデータがそれぞれ0〜20%の場合、Y及びMデータがそのまま維持される。一方、元のY及びMデータがそれぞれ20〜100%の場合、つまり元のY及びMデータが閾値以上の階調を超えた場合に、元のMデータがそのまま維持されると共に、Yデータが0〜25%程度増量される。このときの各色合計データは、グラフに示した通りである。
二次色Red系に属する色でも、YとMデータが20%以上の階調の色の画像が転写材端面にあると、ホットオフセットが発生し易い(Y及びMデータが0〜20%ではトナーの量が少なく、オフセットが発生してもオフセットトナー量が少なく目立ちにくい)。また、トナー色としてはマゼンダトナーが含まれるため、やはり、オフセットが発生した際の転写材のトナー汚れが目立ち易い。
このような色の画像に対しても、端部領域においてYデータを増量し、各色合計データを増加させて印字すると、あらゆる階調の場合においてオフセットによる転写材Pのトナー汚れの発生を抑制することができる。これは、転写材端面のトナー像を形成するトナーの総量を増量してホットオフセットの発生を抑制し、且つ増量するトナーにMトナーよりも転写材P上での視認性が相対的に低いYトナーを用いて、オフセットが発生しても目立たちにくくできるからである。
本処理においても、Red色に対して、Red色への混色量が増しても色味変化の比較的小さいYトナーを増量するだけであるため、処理前の画像色に対する色味変化は低く抑制されている。
[比較実験]
本実施例1の画像形成装置において余白無し印字モードで画像形成を行う際、トナー量UPステップS804を行った場合と行わなかった場合とについて、印字画像レベルを比較した結果を図14に示す。画像パターンとしては、前述したK単色系、M単色系、二次色Red系の代表色である色#1〜#9画像を、転写材Pの端部領域Ae内に配置したものを使用した。
実験No.1は、本実施例の構成による実験である。つまり、ステップS802で決定された元の画像情報に対してトナー量UPステップS804を実施し、端部領域における各色合計トナー量を増量させて余白無し印字が行われた。
この場合、オフセットによる転写材のトナー汚れの発生のない良好な印字画像を転写材P上に得ることができた。また、ステップS804の導入により懸念される領域Ae内と領域Ai内における色味の違いによる画像品位の低下も、ほぼ問題ないレベルに抑制することができた。
一方、実験No.2は、比較例の構成による実験である。つまり、トナー量UPステップS804を実行することなく、余白無し印字が行われた場合の結果を示す。この場合、色#1〜#9において、転写材端面に配置された画像のオフセットによる転写材のトナー汚れが、発生もしくは軽微に発生することが確認された。
以上説明したように、本実施例の画像形成装置では、余白無し印字を行うことのできる電子写真方式の画像形成装置において、余白無し印字時における定着性を良好にできる。
また、余白無し印字動作を行う際、端部領域と内部領域の夫々に同じ画像を形成するにしても、転写材の端部領域に配置される画像のトナー量を、内部領域に配置される場合に比べ増量して印字が行われる。従って、転写材の転写材端面に転写された画像が、定着器内でオフセットし転写材のトナー汚れとなることを良好に抑制した印字画像を得ることができる。
また、トナーの増量処理は、オフセットを発生した場合に目立ってくる注目色に対して相対的に視認性の低い色のトナー量を増加させているので、トナー量UP処理御に伴う色味変化を低く抑えることができる。よって、端部領域と内部領域との間の色再現性の違いによる画像品位の低下も抑制され、転写材の全域に渡る良好な印字画像が得られる。
本実施例2の装置は、実施例1の装置との対比において、図15、16に示すステップS804の色変換関係を除いて同じである。
本実施例の画像形成装置も、イエロー(Y)、マゼンタ(M)、シアン(C)、ブラック(K)の4色の画像形成手段を有し、さらに中間転写体としての中間転写ベルトを含む転写装置および定着器等を有するものとする。
実施例1により、転写材の端部領域に配置される画像のトナー量UP処理により、余白無し印字の際の転写材のトナー汚れが良好に抑制されることを説明した。しかし、転写材の種類として、普通紙だけでなく、コート紙、光沢紙、光沢フィルム等といった種類の転写材上に余白無し印字を行う場合までを含め、転写材のトナー汚れを良好に抑制するためには、更にオフセットレベルを改善することが望ましい。上記のような転写材は表面平滑性が良いため、定着フィルムや加圧ローラ上に転移したオフセットトナーが表面に再付着し易く、且つ、トナーが転写材上で潰れて面積が拡がり易く、微量のオフセットトナーであっても目立ってしまう。
本目的を達成するための構成について、以下に説明する。
[トナー量UP処理の具体例4]
本実施例におけるトナー量UPステップS804の例として、ステップS802で決定されたYMCKデータが、Y=M=C=0%、0≦K≦100%、つまりK単色系に属する色に対する処理について、図15(a)のグラフを用いて説明する。
図15(a)のグラフは、ステップS802で決定された元のKデータの階調をグラフ横軸に取り、ステップS804により新たに決定されたYMCKデータ、及び各色合計データの階調をグラフ縦軸に取り示したものである。
元のKデータの階調が0〜40%の場合、Kデータの階調はそのまま維持される。一方、元のKデータの階調が40〜100%の場合、つまり元のKデータが閾値以上の階調を超えた場合に、Kデータの階調が40%に抑制され固定値とされ、加えて各色0〜72%程度のYMCデータがそれぞれ付加される。このときの各色合計データの階調は、グラフ破線で示した通りである。このように、図15(a)のグラフによれば、閾値を超えたオフセットの発生し易い注目色のトナーを、相対的に視認性の低い色のトナーで置きかえることで、オフセットを目立たないようにしている。これは後述の図16についても同様である。
K単色系に属する色でも、40〜100%程度の階調のKデータによる画像が転写材端面にあると、ホットオフセットが発生し易い(Kデータの階調が0〜40%ではトナーの量が少ないので、オフセットが発生してもオフセットトナー量が少なく目立ちにくい)。また、トナー色がブラックであるため、オフセットが発生した際の転写材のトナー汚れも目立ち易い。
このように40〜100%程度の階調のKデータの場合にKデータの階調を小さくし、代わりにYMCデータを付加し、各色合計データを増加させて印字すると、何れの階調においても、オフセットによる転写材Pのトナー汚れの発生を、更に良好に抑制できる。
これは、転写材端面形成されるトナーの総量を増量することでホットオフセットを抑制し、且つ転写材P上での視認性が高いKトナーの割合を減らし、逆に視認性が相対的に低いYMCトナーを用いることで、オフセットが発生しても目立たないからである。なお本処理も、ブラック色に対して、互いに混色するとプロセスブラック色となるYMCトナーを付加するだけであるため、処理前の画像色に対する色味変化は最小限に抑制される。
ここで、本トナー量UP処理によるオフセットトナー量の抑制効果は、基本的に図11を用いて説明した場合と同様である。但し、図15(a)の場合では、Kデータについて閾値以上の階調を取る場合、注目色(K)のトナーを、相対的に視認性の低い色のトナー(CMY混色)で置きかえることで、トナー量UP処理が行われている。従って、Kデータがある閾値以上の階調を取る場合には、図11の場合などと比べてKデータに対応するトナー量が少ないので、よりオフセットを改善した画像形成物を得ることが出来る。その結果を図15(b)に示す。
図15(b)は、グラフ横軸にKデータの階調を取り、グラフ縦軸にはオフセット視認性レベルを取ってある。なお、画像評価方法、縦軸及び縦軸に何を割り当ててあるかについては図11と同じとする。そして図15(b)により、トナー量UP処理前のKデータによる印字を行った場合と、トナー量UP処理後のKデータによる印字を行った場合におけるオフセット視認性レベルの対比が行われている。
元のKデータによる印字では、オフセットトナー量に対応して、Kデータが50%〜100%の階調においてオフセット視認性レベルが高くなる。最もオフセット視認性レベルが高くなるのは、Kデータが70%の階調である。
一方、トナー量UP処理後のKデータによる印字でも、前記オフセットトナー量に対応して、元のKデータが45%〜60%の階調においてオフセット視認性レベルが高くなる。最もオフセット視認性レベルが高くなるのは、元のKデータが50%の階調である。しかしながら、元のKデータによる印字の場合と比べ、視認性のレベルは抑制されている。そして本抑制効果は、実施例1で図11(c)を用いて説明したものに対し、更に大きい。これは、トナー量UP処理によりYMCトナーが増量されただけでなく、Kトナーが減量されているためである。
[トナー量UP処理の具体例5]
他の例として、ステップS802で決定されたYMCKデータが、Y=M=0%、0≦C=K≦100%、つまりCとKの混色系(青味がかった黒色)に属する色に対する処理について、図16のグラフを用いて説明する。なお、図16においても、注目色のKに対して、相対的に視認性の低いCMY混色によるトナー量UP処理によっても、図15の場合と同様にオフセットトナー量の抑止効果が得られるが、ここでの詳しい説明は省略する。
図16のグラフは、ステップS802で決定された元のC及びKデータの階調をグラフ横軸にとり、ステップS804により新たに決定されたYMCKデータ、及び各色合計データの階調をグラフ縦軸にとり、示したものである。
元のC及びKデータがそれぞれ0〜20%の場合、C及びKデータがそのまま維持される。一方、元のC及びKデータがそれぞれ20〜100%の場合、つまり元のC及びKデータが閾値以上の階調を超えた場合に、Cデータがそのまま維持されるのに対し、Kデータは40%以下に抑制され、加えて各色0〜33%程度のYMデータが夫々付加される。このとき各色合計データは、グラフ破線で示した通りである。
CとKの混色系に属する色でも、CとKデータが20%以上の階調の色の画像が転写材端面にあると、ホットオフセットが発生し易い(CとKデータが0〜20%ではトナーの量が少ないので、オフセットが発生してもオフセットトナー量が少なく目立ちにくい)。また、トナー色としてブラックトナーが含まれるため、やはりオフセットが発生した際の転写材のトナー汚れが目立ち易い。
このような色に対しても、端部領域において、Kデータを減量した上で、YMデータを付加し、各色合計データの階調値を増加させて印字すると、あらゆる階調の場合においてオフセットによる転写材Pのトナー汚れの発生を抑制することができる。これは、転写材端面の画像を形成するトナーの総量を増量してホットオフセットの発生を抑制し、且つ、転写材P上での視認性が高いKトナーを減らし、逆に視認性が相対的に低いYMトナーを用いて、オフセットが発生しても目立ちにくくできるからである。なお本処理も、CとKの混色系の色に対して、さらに混色させても色味変化の比較的小さいYMトナーを付加するだけであるため、処理前の画像色に対する色味変化は低く抑制されている。
以上説明したように、本実施例の画像形成装置では、余白無し印字を行うことのできる電子写真方式の画像形成装置において、余白無し印字時における定着性を良好にできる。また図15、図16に示されるように、オフセット発生時の注目色であるブラックの割合を実施例1以上に低くできるので、更に良好にオフセットを目立たなくすることが出来る。
従って、普通紙のみならず、コート紙、光沢紙、光沢フィルム等の表面平滑性の良い転写材を用いて余白無し印字を行う場合まで含め、転写材端面に転写された画像が、定着器内でオフセットし、転写材のトナー汚れとなるのを抑制した印字画像を得ることができる。
また、実施例2では図15、図16に示される如く、実施例1に比べてトナー消費量が多くなっている。従って、普通紙或いは普通紙に対応する印時モードの場合には実施例1を実行し、コート紙、光沢紙、光沢フィルム等とった表面平滑性の良い転写材を用いる場合或いはそれに対応した印字モードの場合には実施例2を実行するようにしても良い。こうすることで、効率的にオフセット状態を良好にするとともにトナー消費量をより少なくすることができる、ユーザビリティーをより向上させることが出来る。
本実施例3の装置は、実施例1の装置との対比において、図17に示す端部領域Ae、及び内部領域Aiの配置関係を除いて同じである。
本実施例の画像形成装置も、イエロー(Y)、マゼンタ(M)、シアン(C)、ブラック(K)の4色の画像形成手段を有し、さらに中間転写体としての中間転写ベルトを含む転写装置および定着器等を有するものとする。
実施例1及び2により、転写材の端部領域に配置される画像のトナー量UP処理により、余白無し印字の際の転写材のトナー汚れを良好に抑制できることを説明した。しかし、印字動作中、中間転写ベルト上の画像と転写材Pとの間の位置関係に大きなずれが生じた場合には、トナー量UPされた画像部が転写材Pの転写材端面に配置されず、オフセット抑制効果が得られなくなり、転写材のトナー汚れが発生するケースがあり得る。
一方で、上記問題を回避するため、大きなずれが生じた場合でもトナー量UPされた画像部が転写材Pの転写材端面に確実に配置されるよう、端部領域の幅を十分に大きく取ることも考えられる。しかし、端部領域の幅を拡大させると、端部領域の画像と内部領域の画像との間に存在する僅かな色味差であっても視認できるようになり、画像品位の低下につながる。
上記問題を解決するためには、転写材に対してトナー量UPの処理を行う領域を、適正に設定する必要がある。以下、本目的を達成するための構成について、前記処理領域を任意に変更することが可能な、本実施例の画像形成装置を用いて説明する。
本実施例の画像形成装置では、トナー量UP処理が行われる端部領域Aeが、図17のように、マスク領域E内における、転写材Pの先端、後端、左端、右端のX[mm]内側の位置から2mm外側(マスク領域E)にかけての領域とされている。X(転写材内側のはみ出し幅)の値は、0〜10mmまでの任意値が取れるようにされている。一方、内部領域Aiとしては、マスク領域E内のそれ以外の領域、つまり転写材Pの中心部から、先端、後端、左端、右端の各々からXmm内側の位置までの領域とされている。
上記Xの値による画像レベルの変化を確認するため、各X値の設定で、印字画像レベルを比較する実験を行った。図18にその結果を示す。画像パターンとしては、前述の実施例1で説明したK単色系、M単色系、二次色Red系の各代表色を有する画像部を、転写材Pに対する端部領域Ae内に配置したものとした。
0mm≦X<1mmとした場合、領域Ae内と領域Ai内の画像の僅かな色味の違いは、領域Aeの面積が小さいために視認性が低く保たれた。一方、印字動作中に画像と転写材Pとの間の位置関係がずれた場合に、オフセットによる転写材のトナー汚れが発生した。領域Ae内で画像のトナー量UPが行われたのにも関わらず、転写材Pの転写材端面に配置されず、ホットオフセット抑制の効果が得られなくなった画像部分があった為である。
1mm≦X≦3mmとした場合、領域Ae内と領域Ai内の画像の僅かな色味の違いは、領域Aeの面積が小さいために依然として視認性が低く保たれた。また、印字動作中に画像と転写材Pとの間の位置関係がずれた場合にも、オフセットによる転写材のトナー汚れが発生することはなかった。
3mm<X≦5mmとした場合、領域Aeの面積がやや大きくなり、領域Ae内と領域Ai内の画像の僅かな色味の違いが視覚的に認識されるようになったものの、画像品位の大きな低下までには至らなかった。また、印字動作中に画像と転写材Pとの間の位置関係がずれた場合にも、オフセットによる転写材のトナー汚れが発生することはなかった。
X>5mmとした場合、領域Aeの面積が更に大きくなり、領域Ae内と領域Ai内の画像の色味の違いの視認性が上がり、画像品位の低下が見られるようになった。つまり、画像パターンとして前述の図10に示したようなパターンを印字した際にも、領域Ae内に含まれる画像部分の面積が増し、内部領域Ai内に含まれる画像部分との色味差が、視覚的に認識され易いものとなった。一方で、印字動作中に画像と転写材Pとの間の位置関係がずれた場合にオフセットによる転写材のトナー汚れが発生することはなかった。
ここで、本実施例3(及び実施例1、実施例2)における画像形成拡大領域Bの幅も、図4に示したように2mmである。これは、本画像形成装置における中間転写ベルト上の画像と転写材Pとの間の位置関係のずれが最大の場合を想定した場合にも、転写材P上には余白無し印字画像が確実に得られるようにするためである。また、画像形成拡大領域幅が必要十分な大きさに設定されるため、余白無し印字に伴うトナー消費量の増加も抑制される。
X値についてもこれと同じ2mmに設定することで、上記に加え、中間転写ベルト上の画像と転写材Pとの間の位置関係のずれに関する、同じ最大の場合を想定した場合にも、オフセットを確実に抑制できるようにすることができるようになる。
以上説明したように、本実施例の画像形成装置を用いた検討を行った結果、画像上でトナー量UP処理を行う領域を、転写材の周囲に対する1mm以上5mm以下の内側の位置から、転写材の外側へかけての領域とすることが望ましいことが分った。これにより、印字動作中に画像と転写材Pとの間の位置関係がずれた場合にも、トナー量UPされた画像部が転写材P端部の転写材端面に確実に配置されるため、オフセットによる転写材のトナー汚れが良好に抑制される。一方、転写材の端部領域に配置される画像と内部領域に配置される画像間の色味の違いについても、常に視認性が低く保たれ、画像品位の低下が抑制される。
上述の各実施例においては、トナー量UP処理を行う領域が、転写材Pの端部領域を構成する先端部、後端部、左端部、右端部(図9(b))の全ての領域とした。しかし、画像形成装置の特性に応じ、処理を実行する部分を、オフセットの発生し易い部分に限定することも可能である。
例えば、画像形成動作が開始されると同時に定着器の前回転動作が開始され、転写材が定着ニップに到達する前に、定着器内の定着フィルムや加圧ローラに余熱が蓄えられる構成の画像形成装置がある。このような画像形成装置では、転写材Pの先端部におけるオフセットの方が、後端部、左端部、右端部よりも発生し易い傾向にある。定着器に転写材Pの先端部が侵入し定着工程が開始されると、定着器から徐々に余熱が奪われるため、転写材Pの後端部、左端部、右端部では相対的にオフセットが発生しにくい傾向となる。このような画像形成装置では、先端部のみに対して、トナー量UP処理を適用すればよい。また、先端部のみならず、トナー量アップ処理は、オフセットが発生し易い先端部、後端部、右端部及び左端部の少なくとも何れか一つの領域に対応するトナー象について行うようにしても良い。
また、各実施例で説明した画像形成装置は、定着器として、定着フィルムを採用した「フィルム定着方式」のものを備えていた。なお、定着フィルムとしては、例えば、厚み50μmのポリイミド樹脂の表面に厚み10μmのフッ素樹脂を被覆した、直径24mmのフィルム体が用いられる。定着フィルム内部にはセラミックヒータが配置され、定着フィルムは対向配置された加圧ローラに対して、200〜400N程度の圧力で当接される。加圧ローラとしては、例えば、芯金の外周に厚み3mmのシリコンゴム層を設け、更にその表面に厚み15μmのフッ素樹脂層を被覆した、直径25mmのローラ体が用いられる。
一方、定着フィルムに代えて定着ローラを採用した、「ローラ定着方式」の定着器を有する画像形成装置がある。定着ローラとしては、例えば、外径46mm、厚み2mmの鉄の芯金上に、厚み2mmのシリコンゴム層を設け、更にその表面に厚み20μmのフッ素樹脂を設けたローラ体が用いられる。定着ローラ内部にはハロゲンヒータが配置され、定着ローラは対向配置された加圧ローラに対して、500〜800N程度の圧力で当接される。加圧ローラとしては、上記同様のものが用いられる。
一般に、前記「フィルム定着方式」の定着器は、短時間の温度立上げによりオンデマンドな定着動作が可能であること、前記「ローラ定着方式」の定着器は、高い当接圧により印字画像サンプル上の高い光沢性が得られること、がそれぞれ特徴的である。
勿論上で説明してきたトナー量UP処理は、上記二方式を含む、各種方式の定着器を有する画像形成装置において有効である。しかし本処理は、「フィルム定着方式」の定着器を有する画像形成装置において、より高い効果を発揮するといえる。これは以下の理由による。
「ローラ定着方式」等の定着器では、前述したように、「フィルム定着方式」の定着器に比べ、定着ニップ部における当接圧が高い。よって、オフセットとしては、本発明の実施例1で説明した熱的要因によるオフセット(ホットオフセット)に加え、圧力要因によるオフセット(機械的オフセット)が発生する。圧力要因によるオフセットとは、定着ニップ内の高い圧力の作用により、転写材上のトナーの一部が転写材表面に留まらず、転写材から物理的に引き離され、定着ローラ上に移動する現象である。一方、「フィルム定着方式」の定着器は、当接圧が低く、熱的要因によるオフセットが支配的である。従って、本発明のトナー量UP処理が、より高い効果を発揮する。
上述の各実施例では、画像形成装置100がトナー量アップ処理を行うよう説明をしてきた。しかし、この形態に必ずしも限定されるものではない。この画像形成装置100のトナー量UP処理を、画像形成装置と接続されたホストコンピュータ101に行わせるようにしても良い。これにより、画像形成装置100の構成をより簡略化でき、コストダウンにつなげることが出来る。
より具体的には、ホストコンピュータ101は、任意のアプリケーションで作成された画像データを、画像形成装置100が解釈できる画像情報に変換するプリンタドライバを備える。そして、このプリンタドライバが、任意のアプリケーションで作成された画像データをステップS800での入力画像データとして、ステップS804の処理でトナー量UP処理を行ったYMCKの画像情報を生成する。
プリンタドライバは更に、生成した画像情報をデータ圧縮し、圧縮後のデータをホストコンピュータ101内に予め宛先が画像形成装置に設定されたポートに出力する。ホストコンピュータ101はポートの設定に従ってポートに出力された圧縮後のデータを画像形成装置100に対して送信する。
そして、コントローラ103は、ホストコンピュータ101から送信されてきた圧縮後の画像データを受信し、圧縮を解凍し、解凍後の画像情報をプリンタエンジン側或いはプリンタエンジン制御部104に出力する。ここでプリンタエンジン側とは図2で説明したプリンタエンジン制御部104及びプリンタエンジンを指す。
このように実施例5のように、ホストコンピュータ101にトナー量UP処理としての画像処理を行わせることで、画像形成装置100の構成を簡易化できる。これにより、コストを抑えた画像形成装置で画像形成を行う場合でも、上述の実施例1乃至4と同様の効果を得ることができる。
上述の各実施例では、トナー量アップの対象となる注目色画像(例えばKの画像情報)に対して相対的に視認性の低い色(例えばCMY混色)のトナー量を増加させることでトナー量アップ処理を行うよう説明してきた。
しかし、余白無し印字を行うことのできる電子写真方式の画像形成装置において、余白無し印字時における定着性を良好にするという意味では、これに限定されるものではない。端部領域において、例えばKの色に対して、同じK色を用いてトナー量UP処理を行うようにしても良い。この場合でも、端部領域において、実施例1乃至5の場合と比べ、若干色味の変化が大きくなるが、オフセットが発生し易い総トナー量を避けることができ、定着性を良好にできるという効果を得ることができる。
[他の実施の形態]
以上、様々な実施形態を詳述したが、本発明は、複数の機器から構成されるシステムに適用してもよいし、また、一つの機器からなる装置に適用してもよい。例えば、プリンタ、ファクシミリ、PC、サーバとクライアントとを含むコンピュータシステムなどの如くである。
本発明は、前述した実施形態の各機能を実現するソフトウェアプログラムを、システム若しくは装置に対して直接または遠隔から供給し、そのシステム等に含まれるコンピュータが該供給されたプログラムコードを読み出して実行することによっても達成される。
従って、本発明の機能・処理をコンピュータで実現するために、該コンピュータにインストールされるプログラムコード自体も本発明を実現するものである。つまり、上記機能・処理を実現するためのコンピュータプログラム自体も本発明の一つである。
その場合、プログラムの機能を有していれば、オブジェクトコード、インタプリタにより実行されるプログラム、OSに供給するスクリプトデータ等、プログラムの形態を問わない。
プログラムを供給するための記録媒体としては、例えば、フレキシブルディスク、ハードディスク、光ディスク、光磁気ディスク、MO、CD−ROM、CD−R、CD−RWなどがある。また、記録媒体としては、磁気テープ、不揮発性のメモリカード、ROM、DVD(DVD−ROM,DVD−R)などもある。
また、プログラムは、クライアントコンピュータのブラウザを用いてインターネットのホームページからダウンロードしてもよい。すなわち、該ホームページから本発明のコンピュータプログラムそのもの、もしくは圧縮され自動インストール機能を含むファイルをハードディスク等の記録媒体にダウンロードしてもよいのである。また、本発明のプログラムを構成するプログラムコードを複数のファイルに分割し、それぞれのファイルを異なるホームページからダウンロードすることによっても実現可能である。つまり、本発明の機能処理をコンピュータで実現するためのプログラムファイルを複数のユーザに対してダウンロードさせるWWWサーバも、本発明の構成要件となる場合がある。
また、本発明のプログラムを暗号化してCD−ROM等の記憶媒体に格納してユーザに配布してもよい。この場合、所定条件をクリアしたユーザにのみ、インターネットを介してホームページから暗号化を解く鍵情報をダウンロードさせ、その鍵情報で暗号化されたプログラムを復号して実行し、プログラムをコンピュータにインストールしてもよい。
また、コンピュータが、読み出したプログラムを実行することによって、前述した実施形態の機能が実現されてもよい。なお、そのプログラムの指示に基づき、コンピュータ上で稼動しているOSなどが、実際の処理の一部または全部を行ってもよい。もちろん、この場合も、前述した実施形態の機能が実現され得る。
さらに、記録媒体から読み出されたプログラムが、コンピュータに挿入された機能拡張ボードやコンピュータに接続された機能拡張ユニットに備わるメモリに書き込まれてもよい。そのプログラムの指示に基づき、その機能拡張ボードや機能拡張ユニットに備わるCPUなどが実際の処理の一部または全部を行ってもよい。このようにして、前述した実施形態の機能が実現されることもある。
実施例1の画像形成システム図 実施例1の画像形成装置の構成図 実施例1の画像形成装置の転写材カセットの構成図 実施例1の画像形成装置における画像サイズと転写材サイズの関係図 転写材端面のトナーの付着状態を示す斜視図 トナーがオフセットする状態を示す斜視図 実施例1の画像形成装置に付属するコントローラの構成図 実施例1の画像形成装置における画像処理に関するフローチャート図 実施例1の画像形成装置における画像処理領域図 実施例1の画像形成装置における画像処理領域と画像パターンの関係図 実施例1の画像形成装置における画像処理の色変換関係図 実施例1の画像形成装置における画像処理の他の色変換関係図 実施例1の画像形成装置における画像処理の更に他の色変換関係図 実施例1に関する比較実験結果表 実施例2の画像形成装置における画像処理の色変換関係図 実施例2の画像形成装置における画像処理の他の色変換関係図 実施例3の画像形成装置における画像処理領域図 実施例3に関する比較実験結果表
符号の説明
1 中間転写ベルト
1a 駆動ローラ
1b テンションローラ
1c 二次転写対向ローラ
2 二次転写ローラ
3 定着器(定着装置に対応)
4 ベルトクリーナ
5 転写材カセット
6 給送装置
8 排出トレイ
9 給送ローラ
10 画像形成ステーション
11 感光体(像担持体に対応)
12 一次帯電ローラ
13 レーザー露光器
14 現像器
15 一次転写ローラ
16 一次転写電源
17 ドラムクリーナ
21 二次転写電源
22 二次転写ローラクリーナ
30 定着フィルム
31 加圧ローラ
51 ピックアップローラ対
52 長手位置規制板
61 搬送ローラ
100 画像形成装置
101 パソコン
102 ケーブル
103 コントローラ
B 画像形成拡大領域
Ae 端部領域
Ai 内部領域
P 転写材

Claims (13)

  1. 転写材の端を挟む領域に対応する端部領域、及び前記端部領域よりも内側の領域に対応する内部領域からなるトナー像を像担持体上に形成し、前記像担持体上に形成したトナー像に基づく転写材上への転写を行い、前記転写が行われた転写材を定着装置に挿通させることにより余白無し画像を形成する画像形成手段を備える画像形成装置であって、
    前記像担持体上に形成される前記端部領域に対応するトナー像には、トナー量を増加させる為のトナー量アップ処理が行われており、
    前記画像形成手段は、前記端部領域において前記トナー量アップ処理が行われたトナー像を前記像担持体上に形成することを特徴とする画像形成装置。
  2. 前記トナー像は、画像情報に基づき形成されるものであり、
    前記トナー量アップ処理として、前記端部領域に対応する部分の前記画像情報について、前記像担持体に形成されるトナー像におけるトナー量を増加させる為の画像処理を行う処理手段を有することを特徴とする請求項1に記載の画像形成装置。
  3. 前記トナー量アップ処理を行うか否かの閾値が設定されており、前記トナー量アップ処理は、前記端部領域のトナー像を形成する為の画像情報であって、かつ閾値以上の階調の画像情報に対して階調を増加させる画像処理であることを特徴とする請求項1または2に記載の画像形成装置。
  4. 階調の高い画像情報に対する前記トナー量アップ処理は、階調の低い画像情報に対するトナー量アップ処理よりも、より多くのトナーを用いてトナー像が形成されるようにする処理であることを特徴とする請求項1または2に記載の画像形成装置。
  5. 前記トナー量アップ処理の対象となる端部領域の前記転写材の端と垂直方向の幅は、前記トナー像が前記転写材からはみ出す幅の2倍の長さであることを特徴とする請求項1乃至4の何れか1項に記載の画像形成装置。
  6. 前記端部領域の転写材内側のはみ出し幅が、1mm以上5mm以下であることを特徴とする請求項1乃至5いずれか1項に記載の画像形成装置。
  7. 前記端部領域は、先端部、後端部、右端部及び左端部からなり、前記トナー量アップ処理は、前記先端部、後端部、右端部及び左端部の少なくとも何れか一つの領域に対応するトナー像について行われることを特徴とする請求項1乃至6の何れか1項に記載の画像形成装置。
  8. 前記端部領域のトナー像に対して施されている前記トナー量アップ処理は、前記トナー量アップの対象となる注目色に対して相対的に視認性の低い色のトナー量を増加させることで行われることを特徴とする請求項1乃至7の何れか1項に記載の画像形成装置。
  9. 前記注目色は、ブラック或いはマゼンタであり、前記相対的に視認性の低い色は、イエロー或いはイエロー及びマゼンタ及びシアンの混色であることを特徴とする請求項8に記載の画像形成装置。
  10. 画像不良が発生する際の前記注目色のトナー量の全トナー量に対する割合は、前記相対的に視認性の低い色のトナー量に基づくものであることを特徴とする請求項8又は9に記載の画像形成装置。
  11. 前記トナー量アップ処理は、閾値を超えた前記注目色のトナーを前記相対的に視認性の低い色のトナーで置きかえることで前記トナー量アップの対象となる注目色画像に対して相対的に視認性の低い色のトナー量を増加させることを特徴とする請求項8乃至10の何れか1項に記載の画像形成装置。
  12. 画像形成装置において転写材の端を挟む領域に対応する端部領域、及び前記端部領域よりも内側の領域に対応する内部領域のトナー像を像担持体上に形成し、前記像担持体上に形成したトナー像に基づく転写材上への転写を行い、前記転写が行われた転写材を定着装置に挿通させることにより余白無し画像を形成する為の画像情報を生成する画像情報生成方法であって、
    前記端部領域に対応する画像情報について、前記像担持体に形成されるトナー像におけるトナー量を増加させる為のトナー量アップ処理を行う処理工程を有することを特徴とする画像情報生成方法。
  13. 画像形成装置において転写材の端を挟む領域に対応する端部領域、及び前記端部領域よりも内側の領域に対応する内部領域のトナー像を像担持体上に形成し、前記像担持体上に形成したトナー像に基づく転写材上への転写を行い、前記転写が行われた転写材を定着装置に挿通させることにより余白無し画像を形成する為の画像情報を生成する処理をコンピュータに実行させる為のコンピュータプログラムであって、
    前記端部領域に対応する画像情報について、前記像担持体に形成されるトナー像におけるトナー量を増加させる為のトナー量アップ処理を行う処理工程をコンピュータに実行させることを特徴とするコンピュータプログラム。
JP2008206071A 2008-08-08 2008-08-08 画像形成装置、画像情報生成方法及びコンピュータプログラム Expired - Fee Related JP4818331B2 (ja)

Priority Applications (6)

Application Number Priority Date Filing Date Title
JP2008206071A JP4818331B2 (ja) 2008-08-08 2008-08-08 画像形成装置、画像情報生成方法及びコンピュータプログラム
EP09805100.6A EP2321705A4 (en) 2008-08-08 2009-08-07 IMAGE FORMING APPARATUS, IMAGE INFORMATION GENERATING METHOD, AND COMPUTER PROGRAM
CN200980130415.8A CN102112930B (zh) 2008-08-08 2009-08-07 图像形成装置、图像信息生成方法
US12/993,895 US9134673B2 (en) 2008-08-08 2009-08-07 Image forming apparatus, image information generation method, and computer program
PCT/JP2009/064326 WO2010016623A1 (en) 2008-08-08 2009-08-07 Image forming apparatus, image information generation method, and computer program
KR1020117004472A KR101248649B1 (ko) 2008-08-08 2009-08-07 화상 형성 장치, 화상 정보 발생 방법 및 컴퓨터 판독가능 기록매체

Applications Claiming Priority (1)

Application Number Priority Date Filing Date Title
JP2008206071A JP4818331B2 (ja) 2008-08-08 2008-08-08 画像形成装置、画像情報生成方法及びコンピュータプログラム

Publications (2)

Publication Number Publication Date
JP2010044108A true JP2010044108A (ja) 2010-02-25
JP4818331B2 JP4818331B2 (ja) 2011-11-16

Family

ID=41663829

Family Applications (1)

Application Number Title Priority Date Filing Date
JP2008206071A Expired - Fee Related JP4818331B2 (ja) 2008-08-08 2008-08-08 画像形成装置、画像情報生成方法及びコンピュータプログラム

Country Status (6)

Country Link
US (1) US9134673B2 (ja)
EP (1) EP2321705A4 (ja)
JP (1) JP4818331B2 (ja)
KR (1) KR101248649B1 (ja)
CN (1) CN102112930B (ja)
WO (1) WO2010016623A1 (ja)

Cited By (2)

* Cited by examiner, † Cited by third party
Publication number Priority date Publication date Assignee Title
WO2011108342A1 (ja) 2010-03-01 2011-09-09 新日鐵化学株式会社 金属微粒子複合体及びその製造方法
US8457510B2 (en) 2010-02-05 2013-06-04 Canon Kabushiki Kaisha Image forming apparatus, image information generation method, and computer program

Families Citing this family (3)

* Cited by examiner, † Cited by third party
Publication number Priority date Publication date Assignee Title
JP5864867B2 (ja) 2011-02-10 2016-02-17 キヤノン株式会社 画像形成装置
JP6115739B2 (ja) * 2015-02-09 2017-04-19 コニカミノルタ株式会社 画像形成装置および画像形成方法
US10350913B2 (en) * 2016-10-21 2019-07-16 Fuji Xerox Co., Ltd. Image forming apparatus and non-transitory computer readable medium for processing an instruction to use a borderless printing function

Citations (4)

* Cited by examiner, † Cited by third party
Publication number Priority date Publication date Assignee Title
JP2006221006A (ja) * 2005-02-14 2006-08-24 Canon Inc 画像形成装置
JP2007030192A (ja) * 2005-07-22 2007-02-08 Konica Minolta Business Technologies Inc 画像形成装置及びプログラム
JP2007065423A (ja) * 2005-08-31 2007-03-15 Canon Inc 画像形成装置
JP2008122512A (ja) * 2006-11-09 2008-05-29 Canon Inc 画像形成装置

Family Cites Families (12)

* Cited by examiner, † Cited by third party
Publication number Priority date Publication date Assignee Title
JPH10337886A (ja) 1997-06-10 1998-12-22 Canon Inc インクジェット記録装置
IL121875A (en) * 1997-09-30 2000-12-06 Scitex Corp Ltd Automated digital printing system and a method of automatic page bleed generation
JP2001235973A (ja) * 2000-02-22 2001-08-31 Canon Inc 画像形成装置
JP2001305895A (ja) * 2000-04-26 2001-11-02 Ricoh Co Ltd 画像形成装置
JP2005091767A (ja) 2003-09-17 2005-04-07 Fuji Xerox Co Ltd 画像形成装置
US7184678B2 (en) * 2003-12-19 2007-02-27 Ricoh Company, Limited Image forming apparatus with improved separatability of transfer material
JP4072532B2 (ja) 2004-11-16 2008-04-09 キヤノン株式会社 画像形成装置
JP2007008008A (ja) * 2005-06-30 2007-01-18 Konica Minolta Business Technologies Inc 画像形成装置及びプログラム
JP4924043B2 (ja) * 2007-01-12 2012-04-25 コニカミノルタビジネステクノロジーズ株式会社 画像形成装置および画像形成方法
JP5043611B2 (ja) * 2007-11-27 2012-10-10 キヤノン株式会社 画像形成装置
JP4989497B2 (ja) * 2008-01-18 2012-08-01 キヤノン株式会社 画像処理装置、画像処理方法及びそのプログラム
JP5116552B2 (ja) * 2008-04-25 2013-01-09 キヤノン株式会社 画像形成装置

Patent Citations (4)

* Cited by examiner, † Cited by third party
Publication number Priority date Publication date Assignee Title
JP2006221006A (ja) * 2005-02-14 2006-08-24 Canon Inc 画像形成装置
JP2007030192A (ja) * 2005-07-22 2007-02-08 Konica Minolta Business Technologies Inc 画像形成装置及びプログラム
JP2007065423A (ja) * 2005-08-31 2007-03-15 Canon Inc 画像形成装置
JP2008122512A (ja) * 2006-11-09 2008-05-29 Canon Inc 画像形成装置

Cited By (2)

* Cited by examiner, † Cited by third party
Publication number Priority date Publication date Assignee Title
US8457510B2 (en) 2010-02-05 2013-06-04 Canon Kabushiki Kaisha Image forming apparatus, image information generation method, and computer program
WO2011108342A1 (ja) 2010-03-01 2011-09-09 新日鐵化学株式会社 金属微粒子複合体及びその製造方法

Also Published As

Publication number Publication date
WO2010016623A1 (en) 2010-02-11
KR20110036134A (ko) 2011-04-06
JP4818331B2 (ja) 2011-11-16
CN102112930B (zh) 2014-02-19
US20110135332A1 (en) 2011-06-09
EP2321705A4 (en) 2013-08-14
KR101248649B1 (ko) 2013-04-01
CN102112930A (zh) 2011-06-29
US9134673B2 (en) 2015-09-15
EP2321705A1 (en) 2011-05-18

Similar Documents

Publication Publication Date Title
JP4550501B2 (ja) 画像形成装置
US9001174B2 (en) Image forming apparatus
JP4818331B2 (ja) 画像形成装置、画像情報生成方法及びコンピュータプログラム
JP2023110066A (ja) 画像形成装置
JP4146987B2 (ja) 画像形成装置
JP2009163103A (ja) 画像形成装置および画像形成方法
US8457510B2 (en) Image forming apparatus, image information generation method, and computer program
JP6306868B2 (ja) 画像形成装置およびその制御方法
JP5300304B2 (ja) 画像形成システム
US7796150B2 (en) Image forming apparatus with multi-color dot image formation
JP2016139086A (ja) 画像処理装置、画像処理方法、及びプログラム
JP5079065B2 (ja) カラー画像処理装置及びプログラム
JP7297469B2 (ja) 画像処理装置、画像処理方法、およびプログラム
JP2023178030A (ja) 画像形成装置
JP5200073B2 (ja) カラー画像処理装置及びプログラム
JP2006098473A (ja) 画像形成装置
JP2015169733A (ja) 画像形成装置、制御装置およびそれらの制御方法
JP4428009B2 (ja) 画像形成システム
JP2005331980A (ja) 画像形成装置
JP7143779B2 (ja) 画像形成装置
JP2008049694A (ja) 画像形成装置および画像形成方法
JP7110700B2 (ja) 情報処理装置及びプログラム
JP2025187467A (ja) 画像形成装置
JP5017994B2 (ja) 画像形成装置
JP2009177314A (ja) 画像形成装置、画像形成方法及びプログラム

Legal Events

Date Code Title Description
A621 Written request for application examination

Free format text: JAPANESE INTERMEDIATE CODE: A621

Effective date: 20110615

TRDD Decision of grant or rejection written
A01 Written decision to grant a patent or to grant a registration (utility model)

Free format text: JAPANESE INTERMEDIATE CODE: A01

Effective date: 20110802

A01 Written decision to grant a patent or to grant a registration (utility model)

Free format text: JAPANESE INTERMEDIATE CODE: A01

A61 First payment of annual fees (during grant procedure)

Free format text: JAPANESE INTERMEDIATE CODE: A61

Effective date: 20110830

FPAY Renewal fee payment (event date is renewal date of database)

Free format text: PAYMENT UNTIL: 20140909

Year of fee payment: 3

R151 Written notification of patent or utility model registration

Ref document number: 4818331

Country of ref document: JP

Free format text: JAPANESE INTERMEDIATE CODE: R151

FPAY Renewal fee payment (event date is renewal date of database)

Free format text: PAYMENT UNTIL: 20140909

Year of fee payment: 3

LAPS Cancellation because of no payment of annual fees