JP2010042699A - 産業用車両の操作レバーロック装置 - Google Patents

産業用車両の操作レバーロック装置 Download PDF

Info

Publication number
JP2010042699A
JP2010042699A JP2008206127A JP2008206127A JP2010042699A JP 2010042699 A JP2010042699 A JP 2010042699A JP 2008206127 A JP2008206127 A JP 2008206127A JP 2008206127 A JP2008206127 A JP 2008206127A JP 2010042699 A JP2010042699 A JP 2010042699A
Authority
JP
Japan
Prior art keywords
operation lever
guide groove
vehicle
lock plate
main body
Prior art date
Legal status (The legal status is an assumption and is not a legal conclusion. Google has not performed a legal analysis and makes no representation as to the accuracy of the status listed.)
Granted
Application number
JP2008206127A
Other languages
English (en)
Other versions
JP5279398B2 (ja
Inventor
Hitoshi Okamoto
斉 岡本
Atsushi Umetsu
敦 梅津
Kazufumi Kimura
和史 木村
Current Assignee (The listed assignees may be inaccurate. Google has not performed a legal analysis and makes no representation or warranty as to the accuracy of the list.)
Shinmaywa Industries Ltd
Original Assignee
Shinmaywa Industries Ltd
Priority date (The priority date is an assumption and is not a legal conclusion. Google has not performed a legal analysis and makes no representation as to the accuracy of the date listed.)
Filing date
Publication date
Application filed by Shinmaywa Industries Ltd filed Critical Shinmaywa Industries Ltd
Priority to JP2008206127A priority Critical patent/JP5279398B2/ja
Publication of JP2010042699A publication Critical patent/JP2010042699A/ja
Application granted granted Critical
Publication of JP5279398B2 publication Critical patent/JP5279398B2/ja
Active legal-status Critical Current
Anticipated expiration legal-status Critical

Links

Images

Landscapes

  • Mechanical Control Devices (AREA)

Abstract

【課題】 操作レバーのロック状態を外部から容易に視認することができ、上記操作レバーの誤操作を確実に防止することができると共に、簡便で操作の安全性を高める。
【解決手段】 車両1の運転席1aにおける前面に立設されて上面に所定方向へ延びる長溝からなるガイド溝14を形成してなる装置本体11と、上記ガイド溝に案内されて回動可能に上記装置本体に装着されると共に上記車両に搭載された油圧シリンダ4を駆動する操作レバー12と、上記装置本体に回動可能に装着されて上記操作レバーの回動を規制する切欠部13hを持ったロックプレート13とを備え、上記ロックプレートは、上記ガイド溝の長辺に平行な回動軸18のまわりに回動可能に支持され、上記ガイド溝を開放した操作レバーのロック解除位置と、上記ガイド溝の所定個所を閉塞して上記操作レバーを上記切欠部にロック保持させるロック位置とに回動可能に構成した。
【選択図】 図4

Description

本発明は、例えばダンプ車両、コンテナ運搬車両、及びリフト車両等の産業用車両の運転席に設けられて、車両に搭載された油圧シリンダを駆動する操作レバーの誤操作を防止するための産業用車両の操作レバーロック装置に関するものである。
産業用車両として、例えばダンプ車両は、車体上に荷箱が油圧シリンダにより傾動自在に搭載され、また、コンテナ運搬車両は、コンテナを積込み、積降し等を行うコンテナ装着積載手段を車体上の油圧シリンダにより傾動自在に備え、さらに、リフト車両は、先端部にショベルを有するリフトアームを車体上の油圧シリンダにより傾動自在に備えて構成されている。
従来、前記ダンプ車両としては、例えば特許文献1及び特許文献2に開示されているように、車両の運転席に設けられた操作レバーを回動操作し、ワイヤやエア系統を介して油圧装置を駆動制御し、油圧ポンプから圧油を油圧シリンダに供給及び排出することにより、この油圧シリンダを伸縮させて車体上に搭載された荷箱を傾動させるように構成したものが知られている。
一般に、ダンプ車両は、図13で示すように、例えば特許文献3に開示されているような筒状の操作レバー100を運転席横に上下方向へ回動可能に設定し、上記操作レバー100を下方回動位置bから先端部における把持部に装着された押ボタン101を押しながら、上記操作レバー100を上方回動位置aにロックした場合には、車体上の荷箱を油圧シリンダ(図略)で傾動保持するように構成したものが知られている。
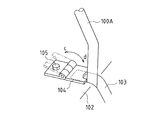
また、他のダンプ車両は、図14で示すように、筒状の操作レバー100Aを運転席のハンドル横に前後方向へ回動可能に設定し、上記操作レバー100Aの先端部の把持部を後方へ回動させた後方回動位置dであるロック位置から、上記操作レバー100Aの先端把持部を前方へ回動させた前方回動位置cにロックした場合には、車体上の荷箱を油圧シリンダ(図略)で傾動させるように構成されている。
図15は、特許文献4に開示されている操作レバー100Aのロック装置の一例を示し、基台102に前後方向へ延びて形成された長溝からなるガイド溝103に上記操作レバー100Aの基端部を挿入して回動可能に支持すると共に、上記ガイド溝103の前方に位置して、上記操作レバー100Aの前方回動位置cへの回動操作を規制する蝶板状のロックプレート104をボルト105にて固定したものが知られている。
上記ロックプレート104は、通常、後方回動位置dに配置してガイド溝103の前端部を閉塞することにより、操作レバー100Aの前方への回動を規制することができる。
これに対し、上記ロックプレート104を前方へ折り畳んで、ガイド溝103の前端部を開放した場合には、車体上の荷箱を油圧シリンダで傾動可能に構成されている。
特開2001−280304号公報 特開2006−97838号公報 実開昭63−61019号公報 特開平10−331201号公報
前述した図13で示すロック装置によれば、押ボタン101を操作レバー100の軸線方向へ押し込んで、上記操作レバー100の内部に軸線方向へ同軸状に収納された不図示のロッドを介してロック機構を操作し、上記操作レバー100を上下回動位置a、bにロックできるように構成されているけれども、上記ロック機構のロック状態を外部から視認することができないために、上記操作レバー100がロックされているのか否かを容易に確認することができず、誤操作のおそれがある。
また、図15で示すロック装置によれば、ロックプレート104のロック及びロック解除状態を外部から視認することができるけれども、操作レバー100Aの回動操作方向c、dと、ガイド溝103に対するロックプレート104の開閉方向c、dとが同一方向であるから、例えば運転者が不測の事態で前傾姿勢となって、操作レバー100Aの押込力でもって、ロックプレート104が前方回動位置cに折り畳まれた場合、上記操作レバー100Aがロック解除されて誤操作のおそれがある。
また、上記ロックプレート104は、操作レバー100Aの下方で、しかも、運転席に対して操作レバー100Aの裏側に配置されているために、運転席からのロックプレート104の視認性が悪く、操作レバー100Aの誤操作のおそれがある。
本発明は、上記課題を解消するためになされたもので、操作レバーのロック状態を外部から容易に視認することができ、上記操作レバーの誤操作を確実に防止することができると共に、簡便で安全性の高い産業用車両の操作レバーロック装置を提供することを目的とする。
本発明に係る産業用車両の操作レバーロック装置は、車両の運転席における前面に立設されて上面に所定方向へ延びる長溝からなるガイド溝を形成してなる装置本体と、上記ガイド溝に案内されて回動可能に上記装置本体に装着されると共に上記車両に搭載された油圧シリンダを駆動する操作レバーと、上記装置本体に回動可能に装着されて上記操作レバーの回動を規制する切欠部を持ったロックプレートとを備え、上記ロックプレートは、上記ガイド溝の長辺に平行な回動軸のまわりに回動可能に支持され、上記ガイド溝を開放した操作レバーのロック解除位置と、上記ガイド溝の所定個所を閉塞して上記操作レバーを上記切欠部にロック保持させるロック位置とに回動可能に構成されていることを特徴とする。
前記車両は、車体上に荷箱を搭載したダンプ車両からなり、前記ロックプレートは、前記ガイド溝の所定個所を閉塞する表面パネルと、前記表面パネルの両端部に下方へ延びて突設された1対の支持片と、前記表面パネルの所定個所に上方へ延びて突設された把持片と、前記各支持片を前記装置本体の両側板に回動可能に軸支する締付部材からなる回動軸支とを備える。
前記ロックプレートは、1対の前記支持片を互いに近接する方向へ撓ませて、前記締付部材により装置本体の両側板に回動可能に軸支されている。
前記ロックプレートは、前記荷箱を上げ位置、下げ位置、及びその中間の中立位置にそれぞれロック保持する切欠部を前記表面パネルに形成して構成されている。
本発明の構成によれば、運転席の前面にガイド溝の所定個所を開閉するロックプレートを配置し、ガイド溝を開放した操作レバーのロック解除位置と、ガイド溝を閉塞した操作レバーのロック位置とに回動保持する構成としたから、ロックプレートのロック及びロック解除状態を外部から容易に視認することができ、上記操作レバーの誤操作を確実に防止することができる。
また、上記ロックプレートは、上記ガイド溝の長辺に平行な回動軸のまわりに回動可能に支持されて、操作レバーの回動操作方向と、ガイド溝に対するロックプレートの開閉方向とが直交しているから、例えば運転者が不測の事態で前傾姿勢となって、操作レバーがロックプレートを折り畳もうとする押込力が作用しても、操作レバーのロック解除のおそれがなく、簡便で安全性を高めることができる。
以下、本発明の実施の形態を図面を参照して説明する。
図1は、本発明による産業用車両の全体構成をダンプ車両について示す概略的な側面図である。
図1において、ダンプ車両1は、車体2に荷箱3を油圧シリンダ4により後部ヒンジ5の周りに傾動自在に搭載して構成され、荷箱3は、運転席1aに設けられた、後述する操作レバーを回動操作することにより、油圧シリンダ4を伸縮させて傾動させるように構成されている。
図2は、図1で示すダンプ車両1の運転席1aに搭載された操作レバーロック装置10の概略的な斜視図である。
図2において、操作レバーロック装置10は、運転席1aの前面に立設された装置本体11に操作レバー12を回動可能に装着すると共に、ロックプレート13を上記装置本体11に回動可能に装着して構成されている。
すなわち、装置本体11は、合成樹脂、アルミニウム合金、及び鉄合金等の1種または複数種からなる平板材料を箱体に構成し、図4及び図5で示す上面板11aに運転席1aの前面における左右方向eへ延びる長溝からなるガイド溝14を形成して構成されている。
前記操作レバー12は、図6及び図7で示すように、装置本体11の内部に設けられた回動軸15に支持され、先端部に設けられた把持部12aを左右方向eへ回動操作して、基端部に設けられたリンク12bを回動させてワイヤ(図略)を牽引し、操作レバー12を「上げ」位置fに回動させた場合には、油圧シリンダ4に圧油を供給してダンプ車両1の車体2に搭載された荷箱3を「上げ」位置に傾動保持させるように駆動する構成とされている。
また、操作レバー12を「中立」位置gに回動させた場合には、ダンプ車両1の車体2に搭載された荷箱3を「中立」位置に傾動保持させる構成とされている。
さらに、操作レバー12を「下げ」位置hに回動させた場合には、ダンプ車両1の車体2に搭載された荷箱3を「下げ」位置に保持させる構成とされている。
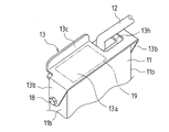
上記ロックプレート13は、合成樹脂、アルミニウム合金、及び鉄合金などの1種または複数種からなる平板材料を逆U字状に折曲して形成され、上面が平坦な表面パネル13aと、この表面パネル13aの両端部に下方へ延びて一体形成された逆3角形状の1対の支持片13bと、上記表面パネル13aの一端部に上方へ延びて一体形成された平板状突起からなる把持片13cとを備える。
上記ロックプレート13は、図8で示すように、1対の支持片13bの下端部に形成された取付孔13dにボルト16を挿入し、ナット17をねじ込んでなる締付部材18でもって、図9で示すように、装置本体11の両側板11bに回動可能に固定されている。
上記固定に際し、ロックプレート13は、図9で示すように、1対の支持片13bの下端部が互いに近接する方向へ撓ませることにより、上記支持片13bと締付部材18との間にばね力が作用して、摩擦抵抗の増加で不用意に回動する恐れがない。
つまり、上記ロック部材13は、表面パネル13aの両端部に形成された1対の支持片13bの下端部を互いに近接する方向へ上記表面パネル13aに対して折曲することにより、上記支持片13bのボルト16及びナット17に対するばね力を付勢し、装置本体11の両側板11bに安定性をもってかつ堅固に回動可能に固定することができる。
また、上記ロックプレート13の表面パネル13aには、操作レバー12を図6で示す「下げ」位置hに回動させた場合、図4及び図5で示す前記操作レバー12をロック保持する切欠部13hが形成されている。
上記ロックプレート13は、図10で示すように、表面パネル13aの両端部に形成された1対の支持片13bの上端部と、装置本体11の両側板11bとに跨がってばね部材20を張設し、装置本体11の上面に形成されたガイド溝14を閉塞する図10で示す閉塞位置と、前記ガイド溝14を開放する図11で示す開放位置とに安定性をもって回動保持する構成としてもよい。
なお、上記ロックプレート13の表面パネル13aの上面には、図2及び図3で示すように、操作レバーロック装置10の操作方法や注意事項などの説明書きであるラベルシール19が貼着される。
つぎに、上記構成の動作について説明する。
操作レバー12を図6で示す「下げ」位置hに保持した状態で、ロックプレート13の把持片13cを摘んで、図2及び図3で示すように、運転席の前面に立設された装置本体11の上面にロックプレート13の表面パネル13aを配置し、この表面パネル13aでもって、図6で示す操作レバー12の「上げ」位置f及び「中立」位置gに対応させて、図2及び図3で示すようにガイド溝14を閉塞すると、上記操作レバー12がロックプレート13の表面パネル13aに形成された切欠部13hに収納されてロック保持され、ダンプ車両1の車体2に搭載された荷箱3を「下げ」位置に保持することができる。
これに対し、図4及び図5で示すように、ロックプレート13を矢印j方向へ回動させた場合には、前記ガイド溝14が開放されて、操作レバー12は、図6で示す「上げ」位置f及び「中立」位置gに回動させることができ、ダンプ車両1の車体2に搭載された荷箱3を傾動及び中立位置に保持させることができる。
上記構成によれば、運転席の前面にガイド溝14を開閉するロックプレート13を配置し、ガイド溝14を開放した操作レバー12のロック解除位置と、ガイド溝14を閉塞した操作レバー12のロック位置とに回動保持する構成としたから、ロックプレート13のロック及びロック解除状態を外部から容易に視認することができ、上記操作レバー12の誤操作を確実に防止することができる。
また、上記ロックプレート13は、上記ガイド溝14の長辺に平行な回動軸である締付部材18のまわりに回動可能に支持されて、操作レバー12の回動操作方向eと、ガイド溝14に対するロックプレート13の開閉方向jとが直交しているから、例えば運転者が不測の事態で前傾姿勢となって、操作レバー12がロックプレート13を折り畳もうとする押込力が作用しても、操作レバー12のロック解除のおそれがなく、簡便で安全性を高めることができる。
前記実施例において、ロックプレート13は、荷箱3の下げ位置hに配置された操作レバー12をロック保持するための切欠部13hを表面パネル13aに形成した場合について説明したけれども、図12で示すように、前記ロックプレート13は、荷箱の上げ位置f、中立位置g、及び下げ位置hにそれぞれ回動された操作レバー12をロック保持するための切欠部13f、13g、及び13hを前記表面パネル13aに形成することにより、操作レバー12の前記各位置でのロック解除のおそれがなく、簡便で安全性を一層高めることができる。
また、前記実施例において、操作レバーロック装置10は、運転席1aの前面に立設された装置本体11に形成されたガイド溝14を左右方向eへ延びて配置したけれども、前記ガイド溝14を前後方向Kへ延びて配置し、前記操作レバー12を前後方向へ回動させるように設置してもよい。
本発明は、前記ダンプ車両のみならず、コンテナ運搬車両及びリフト車両等の他の産業用車両に適用することができる。
本発明による産業用車両の全体構成をダンプ車両について示す概略的な側面図である。 本発明による産業用車両の操作レバーロック装置の概略的な斜視図である。 操作レバーロック装置の動作を説明する要部を拡大して示す斜視図である。 操作レバーロック装置の動作を説明する概略的な斜視図である。 操作レバーロック装置の動作を説明する概略的な斜視図である。 操作レバーロック装置の動作を説明する概略的な正面図である。 操作レバーロック装置の要部を示す側面図である。 操作レバーロック装置の要部を分解して示す概略的な正面図である。 操作レバーロック装置の概略的な組立正面図である。 操作レバーロック装置の他の例を示す要部の側面図である。 操作レバーロック装置の他の例の動作を説明する要部の側面図である。 操作レバーロック装置の異なる他の例を説明する平面図である。 従来の操作レバーロック装置の動作を説明する要部の斜視図である。 従来の操作レバーロック装置の動作を説明する要部の斜視図である。 従来の操作レバーロック装置の動作を説明する要部の斜視図である。
符号の説明
1 車両
1a 運転席
4 油圧シリンダ
10 操作レバーロック装置
11 装置本体
11a 装置本体の上面板
11b 装置本体の両側板
12 操作レバー
13 ロックプレート
13a 表面パネル
13b 支持片
13c 把持片
13f、13g、13h 切欠部
14 ガイド溝
18 回動軸(締付部材)

Claims (4)

  1. 車両の運転席における前面に立設されて上面に所定方向へ延びる長溝からなるガイド溝を形成してなる装置本体と、
    上記ガイド溝に案内されて回動可能に上記装置本体に装着されると共に上記車両に搭載された油圧シリンダを駆動する操作レバーと、
    上記装置本体に回動可能に装着されて上記操作レバーの回動を規制する切欠部を持ったロックプレートとを備え、
    上記ロックプレートは、上記ガイド溝の長辺に平行な回動軸のまわりに回動可能に支持され、上記ガイド溝を開放した操作レバーのロック解除位置と、上記ガイド溝の所定個所を閉塞して上記操作レバーを上記切欠部にロック保持させるロック位置とに回動可能に構成されていることを特徴とする産業用車両の操作レバーロック装置。
  2. 前記車両は、車体上に荷箱を搭載したダンプ車両からなり、
    前記ロックプレートは、
    前記ガイド溝の所定個所を閉塞する表面パネルと、前記表面パネルの両端部に下方へ延びて突設された1対の支持片と、前記各支持片を前記装置本体の両側板に回動可能に軸支する締付部材からなる回動軸支とを備えたことを特徴とする請求項1に記載の産業用車両の操作レバーロック装置。
  3. 前記ロックプレートは、1対の前記支持片を互いに近接する方向へ撓ませて、前記締付部材により装置本体の両側板に回動可能に軸支されていることを特徴とする請求項2に記載の産業用車両の操作レバーロック装置。
  4. 前記ロックプレートの切欠部は、前記荷箱を上げ位置、下げ位置、及びその間の中立位置に駆動操作する前記操作レバーが、前記各3位置でそれぞれ個別にロック保持される構成であることを特徴とする請求項2または請求項3に記載の産業用車両の操作レバーロック装置。
JP2008206127A 2008-08-08 2008-08-08 産業用車両の操作レバーロック装置 Active JP5279398B2 (ja)

Priority Applications (1)

Application Number Priority Date Filing Date Title
JP2008206127A JP5279398B2 (ja) 2008-08-08 2008-08-08 産業用車両の操作レバーロック装置

Applications Claiming Priority (1)

Application Number Priority Date Filing Date Title
JP2008206127A JP5279398B2 (ja) 2008-08-08 2008-08-08 産業用車両の操作レバーロック装置

Publications (2)

Publication Number Publication Date
JP2010042699A true JP2010042699A (ja) 2010-02-25
JP5279398B2 JP5279398B2 (ja) 2013-09-04

Family

ID=42014450

Family Applications (1)

Application Number Title Priority Date Filing Date
JP2008206127A Active JP5279398B2 (ja) 2008-08-08 2008-08-08 産業用車両の操作レバーロック装置

Country Status (1)

Country Link
JP (1) JP5279398B2 (ja)

Cited By (2)

* Cited by examiner, † Cited by third party
Publication number Priority date Publication date Assignee Title
JP2015137535A (ja) * 2014-01-24 2015-07-30 日立建機株式会社 建設機械
US9534354B2 (en) 2014-01-24 2017-01-03 Hitachi Construction Machinery Co., Ltd. Construction machine

Citations (13)

* Cited by examiner, † Cited by third party
Publication number Priority date Publication date Assignee Title
JPS53102506U (ja) * 1977-01-24 1978-08-18
JPS5591010A (en) * 1978-12-28 1980-07-10 Kyokuto Kaihatsu Kogyo Co Ltd Lever operating unit
JPS5695716U (ja) * 1979-12-20 1981-07-29
JPS56127516U (ja) * 1980-02-28 1981-09-28
JPS5774224U (ja) * 1980-10-23 1982-05-07
JPS57162286U (ja) * 1981-04-02 1982-10-13
JPS57168316A (en) * 1981-04-09 1982-10-16 Mitsubishi Agricult Mach Co Ltd Operation lever fixing device
JPS58107708U (ja) * 1982-01-20 1983-07-22 三菱農機株式会社 移動農機における油圧レバ−ロツク装置
JPS60140122U (ja) * 1984-02-28 1985-09-17 いすゞ自動車株式会社 ダンプ等の操作レバロツク装置
JPS6231171U (ja) * 1985-08-07 1987-02-24
JPS62182837U (ja) * 1986-05-13 1987-11-20
JPH01132310A (ja) * 1987-11-18 1989-05-24 Mitsubishi Agricult Mach Co Ltd 前処理部操作レバーロック方法
JP2008094179A (ja) * 2006-10-10 2008-04-24 Kubota Corp 作業車の運転部構造

Patent Citations (13)

* Cited by examiner, † Cited by third party
Publication number Priority date Publication date Assignee Title
JPS53102506U (ja) * 1977-01-24 1978-08-18
JPS5591010A (en) * 1978-12-28 1980-07-10 Kyokuto Kaihatsu Kogyo Co Ltd Lever operating unit
JPS5695716U (ja) * 1979-12-20 1981-07-29
JPS56127516U (ja) * 1980-02-28 1981-09-28
JPS5774224U (ja) * 1980-10-23 1982-05-07
JPS57162286U (ja) * 1981-04-02 1982-10-13
JPS57168316A (en) * 1981-04-09 1982-10-16 Mitsubishi Agricult Mach Co Ltd Operation lever fixing device
JPS58107708U (ja) * 1982-01-20 1983-07-22 三菱農機株式会社 移動農機における油圧レバ−ロツク装置
JPS60140122U (ja) * 1984-02-28 1985-09-17 いすゞ自動車株式会社 ダンプ等の操作レバロツク装置
JPS6231171U (ja) * 1985-08-07 1987-02-24
JPS62182837U (ja) * 1986-05-13 1987-11-20
JPH01132310A (ja) * 1987-11-18 1989-05-24 Mitsubishi Agricult Mach Co Ltd 前処理部操作レバーロック方法
JP2008094179A (ja) * 2006-10-10 2008-04-24 Kubota Corp 作業車の運転部構造

Cited By (2)

* Cited by examiner, † Cited by third party
Publication number Priority date Publication date Assignee Title
JP2015137535A (ja) * 2014-01-24 2015-07-30 日立建機株式会社 建設機械
US9534354B2 (en) 2014-01-24 2017-01-03 Hitachi Construction Machinery Co., Ltd. Construction machine

Also Published As

Publication number Publication date
JP5279398B2 (ja) 2013-09-04

Similar Documents

Publication Publication Date Title
JP4085675B2 (ja) 産業車両
JP4852912B2 (ja) 産業車両
US6352298B1 (en) Luggage panel opening and closing device
JP4658582B2 (ja) フードラッチアセンブリのセーフティレバー作動構造
US9091102B2 (en) Dual hood latch assembly
US7261363B2 (en) Device for covering a trunk of a motor vehicle
JP2004034956A5 (ja)
JP5279398B2 (ja) 産業用車両の操作レバーロック装置
CN103895545A (zh) 多用途车辆
JP2008285886A (ja) 建設機械のヘッドガード装置
JP5244766B2 (ja) 車両用折り畳み幌のロック装置
JP4397778B2 (ja) コンテナ荷役車輌の荷役アーム固縛装置
JP4691837B2 (ja) 産業車両用のフードの開閉構造
CN101547806B (zh) 用于可分开地翻开的车辆尾盖的悬挂装置
JP2009519155A (ja) 車両の可動構成要素の駆動装置
JP2009046932A (ja) 産業車両用キャビンドア開閉装置
JP4839732B2 (ja) 車両のフード構造
JP3141384U (ja) ダンプカーにおけるリアバンパ収納装置
JP2009513425A (ja) コンバーチブルの折畳式トップコンパートメントカバー用ロック機構
JP3697952B2 (ja) 産業車両のエンジンフード開閉装置
KR102673011B1 (ko) 트럭의 캡 틸트 장치
JPS60144431A (ja) スキツドステアロ−ダ−における荷役作業用ペダルの誤操作防止機構
JP4815954B2 (ja) 車両のフード支持構造
JP4467073B2 (ja) ダイブイン格納シート構造
JP6252180B2 (ja) 車両用ドア構造

Legal Events

Date Code Title Description
A621 Written request for application examination

Free format text: JAPANESE INTERMEDIATE CODE: A621

Effective date: 20110329

A977 Report on retrieval

Free format text: JAPANESE INTERMEDIATE CODE: A971007

Effective date: 20120913

A131 Notification of reasons for refusal

Free format text: JAPANESE INTERMEDIATE CODE: A131

Effective date: 20120918

A521 Request for written amendment filed

Free format text: JAPANESE INTERMEDIATE CODE: A523

Effective date: 20121114

RD02 Notification of acceptance of power of attorney

Free format text: JAPANESE INTERMEDIATE CODE: A7422

Effective date: 20121114

TRDD Decision of grant or rejection written
A01 Written decision to grant a patent or to grant a registration (utility model)

Free format text: JAPANESE INTERMEDIATE CODE: A01

Effective date: 20130521

A61 First payment of annual fees (during grant procedure)

Free format text: JAPANESE INTERMEDIATE CODE: A61

Effective date: 20130521

R150 Certificate of patent or registration of utility model

Free format text: JAPANESE INTERMEDIATE CODE: R150

Ref document number: 5279398

Country of ref document: JP

Free format text: JAPANESE INTERMEDIATE CODE: R150

R250 Receipt of annual fees

Free format text: JAPANESE INTERMEDIATE CODE: R250

R250 Receipt of annual fees

Free format text: JAPANESE INTERMEDIATE CODE: R250

R250 Receipt of annual fees

Free format text: JAPANESE INTERMEDIATE CODE: R250

R250 Receipt of annual fees

Free format text: JAPANESE INTERMEDIATE CODE: R250

R250 Receipt of annual fees

Free format text: JAPANESE INTERMEDIATE CODE: R250

R250 Receipt of annual fees

Free format text: JAPANESE INTERMEDIATE CODE: R250

R250 Receipt of annual fees

Free format text: JAPANESE INTERMEDIATE CODE: R250

R250 Receipt of annual fees

Free format text: JAPANESE INTERMEDIATE CODE: R250

R250 Receipt of annual fees

Free format text: JAPANESE INTERMEDIATE CODE: R250

R250 Receipt of annual fees

Free format text: JAPANESE INTERMEDIATE CODE: R250