JP2010042618A - 繰り返し記載可能なシート - Google Patents
繰り返し記載可能なシート Download PDFInfo
- Publication number
- JP2010042618A JP2010042618A JP2008208865A JP2008208865A JP2010042618A JP 2010042618 A JP2010042618 A JP 2010042618A JP 2008208865 A JP2008208865 A JP 2008208865A JP 2008208865 A JP2008208865 A JP 2008208865A JP 2010042618 A JP2010042618 A JP 2010042618A
- Authority
- JP
- Japan
- Prior art keywords
- film
- mount
- sheet
- adhesive layer
- pressure
- Prior art date
- Legal status (The legal status is an assumption and is not a legal conclusion. Google has not performed a legal analysis and makes no representation as to the accuracy of the status listed.)
- Granted
Links
Images
Landscapes
- Toys (AREA)
Abstract
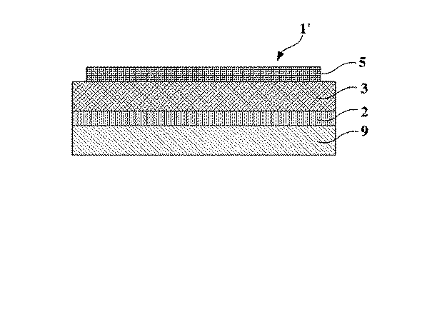
【解決手段】片面に粘着剤層を形成したフィルムと、台紙とを少なくとも具備し、フィルムの粘着剤層と台紙とが対向するように積層して構成し、フィルムの他方の面の少なくとも一部にはインキを印刷してインキ層を形成し、粘着剤層は粘着力を0.5〜70mN/25mmとし、また、台紙は少なくともフィルムのインキ層に相当する部分の平滑度を25秒以上とする。
【選択図】図1
Description
フィルムとして、東洋紡績株式会社製のポリエステルフィルムE5107を用い、このフィルムの片面に粘着剤としてウレタン樹脂系の粘着剤を用い、粘着力が70mN/25mmとなるように調整された粘着剤層を形成し、また他方の面に白色のインキを用いて白色のインキ層を形成した。
また、台紙として、表面の平滑度が50秒であり、紺色である市販のコートボール紙を用いた。
◎:すべての種類の文字が鮮明である。
○:文字の一部ににじみがあるが、画数の多い漢字でも読める。
△:画数の多い漢字は読みづらい。
×:文字の認識が出来ない。
◎:簡単に剥がせる。
○:剥がすのに軽い抵抗があるが、問題ないレベル。
△:剥がすのに抵抗があり、幼児には剥がしにくいレベル。
×:剥がすことが出来ない、又は剥がすときに台紙が破損する。
2 粘着剤層
3 フィルム
4 台紙
5 インキ層
8 切り込み線
9 剥離紙
Claims (4)
- 片面に粘着剤が塗布されて粘着剤層が形成されたフィルムと、該粘着剤層を被覆する剥離紙とを少なくとも具備して成り、
前記フィルムの他方の面の少なくとも一部にはインキが印刷されてインキ層が形成されており、
また、前記粘着剤層の粘着力は0.5〜70mN/25mmであることを特徴とする繰り返し記載可能なシート。 - 片面に粘着剤が塗布されて粘着剤層が形成されたフィルムと、台紙とを少なくとも具備し、前記フィルムの前記粘着剤層と前記台紙とが対向するように積層して構成され、
前記フィルムの他方の面の少なくとも一部にはインキが印刷されてインキ層が形成されており、
前記粘着剤層は粘着力が0.5〜70mN/25mmであり、
また、前記台紙は、少なくとも前記フィルムの前記インキ層に相当する部分の平滑度が25秒以上であることを特徴とする繰り返し記載可能なシート。 - 前記フィルムと前記台紙との間に、前記粘着剤層を被覆する剥離紙が設けられていることを特徴とする請求項2に記載の繰り返し記載可能なシート。
- 前記インキ層と、前記台紙の少なくとも前記インキ層に相当する部分の色差ΔEが10.0以上であることを特徴とする請求項2又は請求項3に記載の繰り返し記載可能なシート。
Priority Applications (1)
| Application Number | Priority Date | Filing Date | Title |
|---|---|---|---|
| JP2008208865A JP5030889B2 (ja) | 2008-08-14 | 2008-08-14 | 繰り返し記載可能なシート |
Applications Claiming Priority (1)
| Application Number | Priority Date | Filing Date | Title |
|---|---|---|---|
| JP2008208865A JP5030889B2 (ja) | 2008-08-14 | 2008-08-14 | 繰り返し記載可能なシート |
Publications (2)
| Publication Number | Publication Date |
|---|---|
| JP2010042618A true JP2010042618A (ja) | 2010-02-25 |
| JP5030889B2 JP5030889B2 (ja) | 2012-09-19 |
Family
ID=42014389
Family Applications (1)
| Application Number | Title | Priority Date | Filing Date |
|---|---|---|---|
| JP2008208865A Active JP5030889B2 (ja) | 2008-08-14 | 2008-08-14 | 繰り返し記載可能なシート |
Country Status (1)
| Country | Link |
|---|---|
| JP (1) | JP5030889B2 (ja) |
Cited By (3)
| Publication number | Priority date | Publication date | Assignee | Title |
|---|---|---|---|---|
| WO2019131272A1 (ja) * | 2017-12-27 | 2019-07-04 | 株式会社パイロットコーポレーション | 筆記シート |
| WO2020218303A1 (ja) * | 2019-04-26 | 2020-10-29 | 株式会社パイロットコーポレーション | 筆記シートにおける画像の消去方法及び筆記シート |
| JP2020183107A (ja) * | 2019-04-26 | 2020-11-12 | 株式会社パイロットコーポレーション | 筆記シートにおける画像の消去方法 |
-
2008
- 2008-08-14 JP JP2008208865A patent/JP5030889B2/ja active Active
Cited By (6)
| Publication number | Priority date | Publication date | Assignee | Title |
|---|---|---|---|---|
| WO2019131272A1 (ja) * | 2017-12-27 | 2019-07-04 | 株式会社パイロットコーポレーション | 筆記シート |
| JP2019116040A (ja) * | 2017-12-27 | 2019-07-18 | 株式会社パイロットコーポレーション | 筆記シート |
| JP7175607B2 (ja) | 2017-12-27 | 2022-11-21 | 株式会社パイロットコーポレーション | 筆記シート |
| WO2020218303A1 (ja) * | 2019-04-26 | 2020-10-29 | 株式会社パイロットコーポレーション | 筆記シートにおける画像の消去方法及び筆記シート |
| JP2020183107A (ja) * | 2019-04-26 | 2020-11-12 | 株式会社パイロットコーポレーション | 筆記シートにおける画像の消去方法 |
| JP7412168B2 (ja) | 2019-04-26 | 2024-01-12 | 株式会社パイロットコーポレーション | 筆記シートにおける画像の消去方法 |
Also Published As
| Publication number | Publication date |
|---|---|
| JP5030889B2 (ja) | 2012-09-19 |
Similar Documents
| Publication | Publication Date | Title |
|---|---|---|
| US6481127B1 (en) | Erasable product | |
| RU2627410C2 (ru) | Многослойная пленка | |
| JP5030889B2 (ja) | 繰り返し記載可能なシート | |
| US20080233324A1 (en) | Sheet Structure and Method for Adhesive Image Transfer | |
| JP3230925U (ja) | ボトル商品貼付用popシール | |
| WO2004087432A1 (ja) | インクジェット被記録材料、それを用いた印刷物積層体及び印刷物貼着体の製造方法 | |
| JP2005007618A (ja) | フィルムシート | |
| US20150104591A1 (en) | Removable adherent sheet with polyurethane adherent coating that provides air displacing adhesion properties onto various surfaces and an inkjet, laser or digital press printing receptive top coat for graphic signage and the application thereof | |
| JP2007168388A (ja) | スタンプ印、スタンプ用台木およびスタンプ印セット | |
| JP2011232687A (ja) | ラベル | |
| JP3216783U (ja) | オリジナル筆記シート | |
| KR20100136664A (ko) | 메시지 보호 스티커 | |
| JP2003066850A (ja) | ステッカー用粘着シート及びこれを用いたステッカー | |
| JP3184133B2 (ja) | 被着体 | |
| JP2005082741A (ja) | 粘着加工シート及びこの粘着加工シートを用いた製品 | |
| KR200221328Y1 (ko) | 함수소거 메모펜용 접착형 메모판 | |
| JP3223379U (ja) | ブラックシート | |
| JP5064327B2 (ja) | 擬似接着ラベル | |
| JP3188826U (ja) | 展示または掲示パネル用台板および展示または掲示パネル | |
| JP2018043373A (ja) | メモ用シートおよびメモ用シート積層体 | |
| JP3144827U (ja) | 両面印刷用基材及び両面ステッカー | |
| JPH0333512Y2 (ja) | ||
| JP5824627B2 (ja) | ノートブック用背部材及びそれを用いたノートブック | |
| KR200348866Y1 (ko) | 보드용 물펜 필기용 기판 시트 | |
| JP3164148U (ja) | クリアフォルダー |
Legal Events
| Date | Code | Title | Description |
|---|---|---|---|
| A621 | Written request for application examination |
Free format text: JAPANESE INTERMEDIATE CODE: A621 Effective date: 20091029 |
|
| A977 | Report on retrieval |
Free format text: JAPANESE INTERMEDIATE CODE: A971007 Effective date: 20110630 |
|
| A131 | Notification of reasons for refusal |
Free format text: JAPANESE INTERMEDIATE CODE: A131 Effective date: 20111115 |
|
| A521 | Request for written amendment filed |
Free format text: JAPANESE INTERMEDIATE CODE: A523 Effective date: 20120113 |
|
| A521 | Request for written amendment filed |
Free format text: JAPANESE INTERMEDIATE CODE: A523 Effective date: 20120113 |
|
| TRDD | Decision of grant or rejection written | ||
| A01 | Written decision to grant a patent or to grant a registration (utility model) |
Free format text: JAPANESE INTERMEDIATE CODE: A01 Effective date: 20120605 |
|
| A01 | Written decision to grant a patent or to grant a registration (utility model) |
Free format text: JAPANESE INTERMEDIATE CODE: A01 |
|
| A61 | First payment of annual fees (during grant procedure) |
Free format text: JAPANESE INTERMEDIATE CODE: A61 Effective date: 20120626 |
|
| R150 | Certificate of patent or registration of utility model |
Ref document number: 5030889 Country of ref document: JP Free format text: JAPANESE INTERMEDIATE CODE: R150 Free format text: JAPANESE INTERMEDIATE CODE: R150 |
|
| FPAY | Renewal fee payment (event date is renewal date of database) |
Free format text: PAYMENT UNTIL: 20150706 Year of fee payment: 3 |
|
| R250 | Receipt of annual fees |
Free format text: JAPANESE INTERMEDIATE CODE: R250 |
|
| R250 | Receipt of annual fees |
Free format text: JAPANESE INTERMEDIATE CODE: R250 |
|
| R250 | Receipt of annual fees |
Free format text: JAPANESE INTERMEDIATE CODE: R250 |
|
| R250 | Receipt of annual fees |
Free format text: JAPANESE INTERMEDIATE CODE: R250 |
|
| R250 | Receipt of annual fees |
Free format text: JAPANESE INTERMEDIATE CODE: R250 |
|
| R250 | Receipt of annual fees |
Free format text: JAPANESE INTERMEDIATE CODE: R250 |
|
| R250 | Receipt of annual fees |
Free format text: JAPANESE INTERMEDIATE CODE: R250 |
|
| R250 | Receipt of annual fees |
Free format text: JAPANESE INTERMEDIATE CODE: R250 |
|
| R250 | Receipt of annual fees |
Free format text: JAPANESE INTERMEDIATE CODE: R250 |
|
| R250 | Receipt of annual fees |
Free format text: JAPANESE INTERMEDIATE CODE: R250 |
|
| R250 | Receipt of annual fees |
Free format text: JAPANESE INTERMEDIATE CODE: R250 |
