JP2010040475A - コネクタ - Google Patents

コネクタ Download PDF

Info

Publication number
JP2010040475A
JP2010040475A JP2008205503A JP2008205503A JP2010040475A JP 2010040475 A JP2010040475 A JP 2010040475A JP 2008205503 A JP2008205503 A JP 2008205503A JP 2008205503 A JP2008205503 A JP 2008205503A JP 2010040475 A JP2010040475 A JP 2010040475A
Authority
JP
Japan
Prior art keywords
electric wire
housing
cavity
rubber plug
restricting portion
Prior art date
Legal status (The legal status is an assumption and is not a legal conclusion. Google has not performed a legal analysis and makes no representation as to the accuracy of the status listed.)
Granted
Application number
JP2008205503A
Other languages
English (en)
Other versions
JP5104639B2 (ja
Inventor
Yutaka Noro
豊 野呂
Current Assignee (The listed assignees may be inaccurate. Google has not performed a legal analysis and makes no representation or warranty as to the accuracy of the list.)
Sumitomo Wiring Systems Ltd
Original Assignee
Sumitomo Wiring Systems Ltd
Priority date (The priority date is an assumption and is not a legal conclusion. Google has not performed a legal analysis and makes no representation as to the accuracy of the date listed.)
Filing date
Publication date
Application filed by Sumitomo Wiring Systems Ltd filed Critical Sumitomo Wiring Systems Ltd
Priority to JP2008205503A priority Critical patent/JP5104639B2/ja
Publication of JP2010040475A publication Critical patent/JP2010040475A/ja
Application granted granted Critical
Publication of JP5104639B2 publication Critical patent/JP5104639B2/ja
Expired - Fee Related legal-status Critical Current
Anticipated expiration legal-status Critical

Links

Images

Landscapes

  • Connector Housings Or Holding Contact Members (AREA)

Abstract

【課題】電線がハウジングからの導出方向と交差する方向へ変位することに起因してゴム栓が不正に変形するのを防止する。
【解決手段】ハウジング10の後面には、キャビティ11の後端部内周に対して略直角に且つ直接的に連なる形態であって、キャビティ11に対するゴム栓25の挿入深さが適正か否かを判別するための基準面13が形成され、基準面13よりも後方には、電線26のうちハウジング10から後方へ導出した部分を当接させることにより、電線26がその導出方向と交差する方向へ変位するのを規制可能な規制部14が設けられている。
【選択図】図1

Description

本発明は、コネクタに関するものである。
特許文献1には、ゴム栓を用いて防水を図るようにしたコネクタが開示されている。このコネクタでは、端子金具に接続されて後方へ導出された電線に、筒状のゴム栓を外嵌し、この端子金具とゴム栓を後方からハウジング内のキャビティに挿入しており、キャビティの後端部においては、電線の外周とキャビティの内周との隙間がゴム栓によって液密状にシールされている。
特開2006−344475公報
一般的な電線では、導体として比較的剛性の低い銅が用いられているが、導体として銅よりも剛性の高い材料(例えば、アルミニウム)を用いたり、銅よりも導電率の低い材料(例えば、アルミニウム)を用いたことに伴って導体を太くしたために結果的に導体の剛性が高まってしまうことがある。このような場合、ハウジングの後方へ導出されている電線が曲げ力を受けて導出方向と交差する後方へ変位すると、電線の剛性によってゴム栓が不正に変形させられる虞がある。ゴム栓が不正に変形すると、シール性能が低下することになる。
尚、電線が導出方向と交差する方向へ変位するのを防止する手段としては、キャビティを後方へ延長し、電線を、キャビティの後端の開口縁に当接させる構造が考えられる。しかし、このような構造にすると、ゴム栓を、キャビティの後端の開口よりも奥まった位置に取り付けることになるため、ゴム栓が正しい位置に取り付けられているか否かを目視で確認することが難しいという問題が生じることになる。
本発明は上記のような事情に基づいて完成されたものであって、電線がハウジングからの導出方向と交差する方向へ変位することに起因してゴム栓が不正に変形するのを防止することを目的とする。
上記の目的を達成するための手段として、請求項1の発明は、内部にキャビティが形成されたハウジングと、前記ハウジングの後方から前記キャビティ内に挿入された端子金具と、前記端子金具に接続されて前記ハウジングの後方へ導出された電線と、前記電線に外嵌された状態で前記キャビティ内に挿入され、前記電線の外周と前記キャビティの内周との隙間をシールするゴム栓とを備え、前記ハウジングの後面には、前記キャビティの後端部内周に対して略直角に且つ直接的に連なる形態であって、前記キャビティに対する前記ゴム栓の挿入深さが適正か否かを判別するための基準面が形成され、前記基準面よりも後方には、前記電線のうち前記ハウジングから後方へ導出した部分を当接させることにより、前記電線がその導出方向と交差する方向へ変位するのを規制可能な規制部が設けられているところに特徴を有する。
請求項2の発明は、請求項1に記載のものにおいて、前記ハウジングには、複数の前記キャビティが並ぶように配置されており、前記規制部が、前記複数のキャビティの並び方向に沿った壁状をなしているところに特徴を有する。
請求項3の発明は、請求項1または請求項2に記載のものにおいて、前記ハウジングには、前記基準面の後方において前記端子金具、ゴム栓及び前記電線が貫通することを許容する貫通孔を備えた可動部材が、挿入許容位置と前記挿入許容位置よりも後方の変位規制位置との間での前後移動を可能に設けられており、前記可動部材が前記挿入許容位置にあるときには、前記貫通孔が前記ハウジングの後面に接近することにより、前記基準面が前記貫通孔の開口領域内において後方からの目視可能に露出し、前記可動部材が前記変位規制位置にあるときには、前記貫通孔の開口縁が前記規制部として機能することにより、前記電線の導出方向と交差する方向への変位が規制されるようになっているところに特徴を有する。
<請求項1の発明>
電線は、規制部に当接することにより導出方向と交差する方向へ変位するのを規制されるので、電線が導出方向と交差することに起因してゴム栓が不正に変形する虞はない。また、ハウジングの後面に、キャビティの後端部内周に対して略直角に且つ直接的に連なる形態の基準面を形成したことにより、キャビティに対するゴム栓の挿入深さが適正か否かを目視によって判別することができる。
<請求項2の発明>
ハウジングから導出された電線が、キャビティの並び方向とほぼ同じ方向へ変位しようとしたときには、その電線に隣接する電線に当接することにより、電線の変位が規制される。一方、電線がキャビティの並び方向と交差する方向へ変位しようとしたときには、規制部への当接によって電線の変位が規制される。
<請求項3の発明>
端子金具と電線とゴム栓をキャビティ内に挿入する際には、可動部材を挿入許容位置へ移動させておけば、基準面が後方から目視できる状態となるので、ゴム栓の挿入深さが適正であるか否かを判別できる。また、このとき、規制部として機能する貫通孔は、ハウジングの後面に接近した位置にあるので、端子金具、電線及びゴム栓を挿入するときに、規制部が邪魔になることがない。
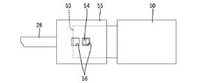
<実施形態1>
以下、本発明を具体化した実施形態1を図1及び図2を参照して説明する。本実施形態のコネクタは、合成樹脂製のハウジング10内に複数のキャビティ11を形成し、各キャビティ11内に後方から端子金具20を挿入したものである。キャビティ11は、前後方向に細長く、ハウジング10の前後両端に開口している。キャビティ11の後端部は、その長さ方向と直角な横断面形状が円形となっていて、ハウジング10の後面において挿入口12として円形に開口している。複数のキャビティ11は、上下2段に別れて左右に一定ピッチで並列するように配置されている。
ハウジング10の後面のうち、各キャビティ11の挿入口12(開口)を囲む領域は、キャビティ11内に挿入されるゴム栓25の深さが適正であるか否かを目視で確認するための基準面13となっている。この基準面13は、キャビティ11の後端部内周面に対して、直角に且つ直接的に連なっている。つまり、基準面13と挿入口12との間には、凹凸等の部位は介在しておらず、キャビティ11の後端部内に挿入されたゴム栓25の位置と、基準面13とを近い位置で比較できるようになっている。
ハウジング10には、その後面から略直角に後方(ハウジング10からの電線26の導出方向と同じ方向)へ突出した壁状の規制部14が一体に形成されている。規制部14は、上段と下段に並ぶ全てのキャビティ11の挿入口12を一括して包囲する周壁15と、周壁15を構成する左右両側壁16の間に差し渡された形態の仕切壁17とから構成されている。
周壁15は、上面壁18と下面壁19と左右両側壁16を横長の方形に連ねた形態である。上面壁18は、上段に並ぶ複数のキャビティ11の挿入口12の上方に位置し、この上段のキャビティ11の並び方向(左右方向)に直線的に沿った形態となっている。下面壁19は、下段に並ぶ複数のキャビティ11の挿入口12の下方に位置し、この下段のキャビティ11の並び方向(左右方向)に直線的に沿った形態となっている。
仕切壁17は、上段に並ぶ複数のキャビティ11の挿入口12の形成領域と、下段に並ぶ複数のキャビティ11の挿入口12とを区画するように配置され、上段のキャビティ11の並び方向及び下段のキャビティ11の並び方向に沿った形態となっている。
また、規制部14の壁面と挿入口12の内周面とは直接的に連なってはおらず、規制部14と挿入口12との間には上記基準面13が介在している。この基準面13は、挿入口12の開口縁の全周に亘って直角な且つ直接的に連なるような領域に配置されている。
端子金具20は、所定形状に打ち抜いた金属板材に曲げ加工等を施すことによって形成された雌形のものであり、前端側領域は角筒状をなす端子接続部21となっており、後端側領域はオープンバレル状の電線圧着部22となっている。端子接続部21は、雄形の相手端子に形成されている細長いタブ(図示せず)との接続手段として機能する周知形態のものである。
電線圧着部22は、その前端側領域のワイヤバレル部23と、後端側領域のインシュレーションバレル部24とを備えて構成されている。ワイヤバレル部23には、電線26の導体27が導通可能に圧着により接続されている。導体27の材料としては、銅や、銅よりも剛性が高い材料(例えば、アルミニウム)や、銅よりも導電率の低い材料(例えば、アルミニウム)が用いられる。インシュレーションバレル部24には、電線26のうち絶縁被覆28で覆われた部分と電線26に外嵌したゴム栓25の前端部とが、一緒に圧着により固着されている。
ゴム栓25は、円筒形をなし、内周には電線26の外周に体して液密状に密着する内周側リップ部(図示せず)が形成され、外周には、キャビティ11の後端部内周に液密状に密着する外周側リップ部が形成されている。かかるゴム栓25は、端子金具20の後端よりも更に後方へ延出した形態となっている。
電線26とゴム栓25が取り付けられた端子金具20は、後方からキャビティ11内に挿入される。端子金具20が正規挿入された状態では、ゴム栓25の全体がキャビティ11内に収容され、ゴム栓25の後端面がハウジング10の後面(基準面13)よりも僅かに前方に位置し、このゴム栓25の後端面の位置(即ち、前後方向における基準面13との位置関係)は、後方から目視によって確認することができる。ハウジング10の後面には規制部14が突出形成されているのであるが、基準面13は、挿入口12の開口縁の全周に亘って包囲するように配置されているので、規制部14が目視確認の妨げになることはない。
端子金具20を挿入した状態では、電線26がハウジング10の後面から後方へ導出される。この導出された電線26が、規制部14の後端よりも後方において導出方向と交差する方向(即ち、上下方向又は左右方向)へ引っ張られると、電線26は僅かに変位したところで、規制部14の後端縁に当接し、それ以上の変位動作を規制される。これにより、ゴム栓25の後端から規制部14の後端までの領域では、電線26は、上下又は左右方向に大きく変位して姿勢を傾けることがなく、ハウジング10の後面と概ね直角な向きに保持される。したがって、電線26の姿勢の傾き動作が原因となってゴム栓25が不正な弾性変形を生じる、ということがなく、ゴム栓25の不正な弾性変形に起因するシール性能の低下が回避される。
また、ハウジング10には、複数のキャビティ11が左右に並ぶように配置されているのであるが、この点に鑑み、規制部14を構成する周壁15の上面壁18と下面壁19、及び仕切壁17が、複数のキャビティ11の並び方向(左右方向)に沿った壁状に形成されている。ハウジング10から導出された電線26が、キャビティ11の並び方向とほぼ同じ左右方向へ変位しようとしたときには、その電線26に隣接する電線26に当接することにより、電線26の変位が規制される。一方、電線26がキャビティ11の並び方向と交差する上下方向へ変位しようとしたときには、上面壁18、下面壁19、仕切壁17のいずれかに当接することによって電線26の変位が規制される。
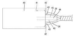
<実施形態2>
次に、本発明を具体化した実施形態2を図3及び図4を参照して説明する。本実施形態2は、規制部44を上記実施形態1とは異なる構成としたものである。その他の構成については上記実施形態1と同じであるため、同じ構成については、同一符号を付し、構造、作用及び効果の説明は省略する。
本実施形態2の規制部44は、上記実施形態1の規制部14における仕切壁17と同様に、上段に並ぶ複数のキャビティ41の挿入口42と、下段に並ぶ複数のキャビティ41の挿入口42との間を仕切るように配置され、ハウジング40の後面から略直角に後方へ壁状に延出した形態である。また、本実施形態2の規制部44は、上記実施形態1における上面壁18、下面壁19及び側面壁16に相当する壁部は有していない。
規制部44の正面と下面には、夫々、各キャビティ41の挿入口42と対応する位置決め溝45が形成されている。位置決め溝45は、挿入口42の内周面のうち周方向における一部の領域に対し面一状に連続している。したがって、ハウジング40の後面のうち、規制部44よりも上方の領域と規制部44よりも下方の領域が、基準面43となっている。各挿入口42から後方へ導出された電線26は、位置決め溝45の後端縁に当接又は接近させた状態され、粘着テープ46により左右方向に長い帯状に束ねられた形態で固定されている。
この電線26の束のうち規制部44よりも後方の領域に対して上下方向の外力が作用しても、電線26は規制部44の後端に当接しているで、電線26の束が上下に変位することはない。また、電線26における規制部44よりも後方の領域に左右方向の外力が作用しても、電線26が位置決め溝45に係止されているので、電線26の束が左右方向に変位することはない。これにより、電線26の変位に起因してゴム栓25が不正に変形する、ということがなく、高いシール性能が保たれる。
<実施形態3>
次に、本発明を具体化した実施形態3を図5乃至図8を参照して説明する。本実施形態3は、ハウジング50と規制部58を上記実施形態1とは異なる構成としたものである。その他の構成については上記実施形態1と同じであるため、同じ構成については、同一符号を付し、構造、作用及び効果の説明は省略する。
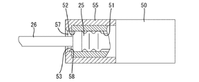
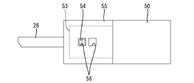
本実施形態3のハウジング50には、複数のキャビティ51が左右に一列に並ぶように形成されており、ハウジング50の後面は、各キャビティ51の挿入口52を全周に亘って包囲する基準面53となっている。また、ハウジング50の左右両外側面には、一対の係止突起54が形成されている。
規制部58は、ハウジング50とは別体の部品の可動部材55に形成されている。可動部材55は、前面が全体に亘って開放された箱状をなし、ハウジング50に対し後方から被せるようにして組み付けられており、図6及び図8に示す挿入許容位置と、挿入許容位置よりも後方であって図5及び図7に示す変位規制位置との間で移動可能とされている。可動部材55の左右両側面壁には前後一対ずつの係止孔56が形成され、可動部材55は、後側の係止孔56をハウジング50の係止突起54に係止させることにより挿入許容位置に保持され、前側の係止孔56をハウジング50の係止突起54に係止させることにより変位規制位置に保持されるようになっている。
可動部材55の後面壁には、基準面53の後方において端子金具20とゴム栓25と電線26を後方から挿通させることを許容する貫通孔57が前後に貫通する形態で形成されている。この貫通孔57は、複数のキャビティ51と対応するうに1つだけ形成され、横長に開口している。この貫通孔57の開口縁は規制部58として機能することができる。
可動部材55が挿入許容位置にある状態では、貫通孔57がハウジング50の後面に当接又は接近するように位置し、この貫通孔57の開口領域内では、基準面53のうち隣り合う挿入口52の間の領域が後方(可動部材55の外部)から目視できるように露出する。これにより、後方から端子金具20とゴム栓25をキャビティ51内に挿入したときには、ゴム栓25が正規の位置まで挿入されているか否かを目視で確認することができる。
また、このとき、規制部58として機能する貫通孔57は、ハウジング50の後面に接近した位置にあるので、端子金具20、電線26及びゴム栓25を貫通孔57に差し入れてキャビティ51に挿入するときには、規制部58が挿入動作の邪魔になることがない。
また、可動部材55が変位規制位置にあるときには、貫通孔57は基準面53よりも後方に離間した位置にあり、貫通孔57の開口縁が規制部58として機能する。電線26のうち可動部材55よりも後方の領域に対して上下方向の外力が作用すると、電線26は、貫通孔57の上縁又は下縁の規制部58に当接することによって変位が規制され、電線26が上下方向に変位してゴム栓25が不正な変形を生じることに起因するシール性能の低下が防止される。
左端に位置する電線26に対して左方への外力が作用したときには、貫通孔57の左縁の規制部58に当接することにより、電線26の変位が規制される。同様に、右端に位置する電線26に対して右方への外力が作用したときには、貫通孔57の右縁の規制部58に当接することにより、電線26の変位が規制される。左端の電線26が右方への外力を受けた場合、右端の電線26が左方への外力を受けた場合、及び左右両端の電線26の間に位置する電線26に対して左右方向の外力が作用した場合には、外力を受けた電線26が、これと隣り合う電線26に当接することによって変位を抑制される。
<他の実施形態>
本発明は上記記述及び図面によって説明した実施形態に限定されるものではなく、例えば次のような実施態様も本発明の技術的範囲に含まれる。
(1)上記実施形態1及び2では1つの規制部が複数のキャビティと対応するようになっているが、1つのキャビティ毎に個別に規制部を1つずつ設けてもよい。
(2)上記実施形態1及び3では基準面がキャビティの開口を全周に亘って包囲する形態となっているが、本発明によれば、基準面は、キャビティの開口のうち一部のみと直角に且つ直接的に連なる形態としてもよい。
(3)上記実施形態1及び2では規制部をハウジングの後面から壁状に突出する形態としたが、本発明によれば、規制部が、ハウジングと一体であって、ハウジングの後面から後方へ離間した位置に配された形態であってもよい。
実施形態1の断面図 ハウジングの背面図 実施形態2のハウジングの背面図 側面図 実施形態3において可動部材が変位規制位置にある状態をあらわす断面図 可動部材が挿入許容位置にある状態をあらわす断面図 可動部材が変位規制位置にある状態をあらわす側面図 可動部材が挿入許容位置にある状態をあらわす側面図
符号の説明
10…ハウジング
11…キャビティ
13…基準面
14…規制部
20…端子金具
25…ゴム栓
26…電線
40,50…ハウジング
41,51…キャビティ
43,53…基準面
44,58…規制部
55…可動部材
57…貫通孔

Claims (3)

  1. 内部にキャビティが形成されたハウジングと、
    前記ハウジングの後方から前記キャビティ内に挿入された端子金具と、
    前記端子金具に接続されて前記ハウジングの後方へ導出された電線と、
    前記電線に外嵌された状態で前記キャビティ内に挿入され、前記電線の外周と前記キャビティの内周との隙間をシールするゴム栓とを備え、
    前記ハウジングの後面には、前記キャビティの後端部内周に対して略直角に且つ直接的に連なる形態であって、前記キャビティに対する前記ゴム栓の挿入深さが適正か否かを判別するための基準面が形成され、
    前記基準面よりも後方には、前記電線のうち前記ハウジングから後方へ導出した部分を当接させることにより、前記電線がその導出方向と交差する方向へ変位するのを規制可能な規制部が設けられていることを特徴とするコネクタ。
  2. 前記ハウジングには、複数の前記キャビティが並ぶように配置されており、
    前記規制部が、前記複数のキャビティの並び方向に沿った壁状をなしていることを特徴とする請求項1記載のコネクタ。
  3. 前記ハウジングには、前記基準面の後方において前記端子金具、ゴム栓及び前記電線が貫通することを許容する貫通孔を備えた可動部材が、挿入許容位置と前記挿入許容位置よりも後方の変位規制位置との間での前後移動を可能に設けられており、
    前記可動部材が前記挿入許容位置にあるときには、前記貫通孔が前記ハウジングの後面に接近することにより、前記基準面が前記貫通孔の開口領域内において後方からの目視可能に露出し、
    前記可動部材が前記変位規制位置にあるときには、前記貫通孔の開口縁が前記規制部として機能することにより、前記電線の導出方向と交差する方向への変位が規制されるようになっていることを特徴とする請求項1又は請求項2記載のコネクタ。
JP2008205503A 2008-08-08 2008-08-08 コネクタ Expired - Fee Related JP5104639B2 (ja)

Priority Applications (1)

Application Number Priority Date Filing Date Title
JP2008205503A JP5104639B2 (ja) 2008-08-08 2008-08-08 コネクタ

Applications Claiming Priority (1)

Application Number Priority Date Filing Date Title
JP2008205503A JP5104639B2 (ja) 2008-08-08 2008-08-08 コネクタ

Publications (2)

Publication Number Publication Date
JP2010040475A true JP2010040475A (ja) 2010-02-18
JP5104639B2 JP5104639B2 (ja) 2012-12-19

Family

ID=42012779

Family Applications (1)

Application Number Title Priority Date Filing Date
JP2008205503A Expired - Fee Related JP5104639B2 (ja) 2008-08-08 2008-08-08 コネクタ

Country Status (1)

Country Link
JP (1) JP5104639B2 (ja)

Cited By (3)

* Cited by examiner, † Cited by third party
Publication number Priority date Publication date Assignee Title
JP2012119085A (ja) * 2010-11-29 2012-06-21 Sumitomo Wiring Syst Ltd 防水コネクタ
CN104682026A (zh) * 2013-11-28 2015-06-03 住友电装株式会社 连接器
WO2021187034A1 (ja) * 2020-03-16 2021-09-23 株式会社オートネットワーク技術研究所 コネクタハウジング及びコネクタ付き電線

Citations (2)

* Cited by examiner, † Cited by third party
Publication number Priority date Publication date Assignee Title
JP2001155818A (ja) * 1999-11-30 2001-06-08 Sumitomo Wiring Syst Ltd 端子金具の防水カバー
JP2006344475A (ja) * 2005-06-08 2006-12-21 Sumitomo Wiring Syst Ltd 防水コネクタ

Patent Citations (2)

* Cited by examiner, † Cited by third party
Publication number Priority date Publication date Assignee Title
JP2001155818A (ja) * 1999-11-30 2001-06-08 Sumitomo Wiring Syst Ltd 端子金具の防水カバー
JP2006344475A (ja) * 2005-06-08 2006-12-21 Sumitomo Wiring Syst Ltd 防水コネクタ

Cited By (6)

* Cited by examiner, † Cited by third party
Publication number Priority date Publication date Assignee Title
JP2012119085A (ja) * 2010-11-29 2012-06-21 Sumitomo Wiring Syst Ltd 防水コネクタ
CN104682026A (zh) * 2013-11-28 2015-06-03 住友电装株式会社 连接器
WO2021187034A1 (ja) * 2020-03-16 2021-09-23 株式会社オートネットワーク技術研究所 コネクタハウジング及びコネクタ付き電線
JP2021150009A (ja) * 2020-03-16 2021-09-27 株式会社オートネットワーク技術研究所 コネクタハウジング及びコネクタ付き電線
JP7409175B2 (ja) 2020-03-16 2024-01-09 株式会社オートネットワーク技術研究所 コネクタ付き電線
US12237611B2 (en) 2020-03-16 2025-02-25 Autonetworks Technologies, Ltd. Connector housing and connector-equipped electric wire

Also Published As

Publication number Publication date
JP5104639B2 (ja) 2012-12-19

Similar Documents

Publication Publication Date Title
US9509076B2 (en) Connector with front backlash preventing portions and rear backlash preventing portion that are offset circumferentially with respect to the front backlash preventing portions
US9570899B2 (en) Connector with rubber plug, retainer for retaining rubber plug and a guide formed on a rear part of the retainer for accommodating bending of wires
JP2010257759A (ja) 端子金具
WO2018163788A1 (ja) シールド端子及びシールドコネクタ
US20170170593A1 (en) Terminal fitting and connector
US20140051276A1 (en) Waterproof connector
JP6856605B2 (ja) コネクタ
US9979125B2 (en) Fitting structure of connector
JP2013101760A (ja) コネクタ
JP4992659B2 (ja) コネクタ
WO2018168368A1 (ja) 端子ユニット及びコネクタ
WO2014038543A1 (ja) コネクタ
JP2006024435A (ja) コネクタ
JP2009146768A (ja) 電線ホルダ
WO2017217208A9 (ja) コネクタ
JP5104639B2 (ja) コネクタ
JP5083012B2 (ja) 防水コネクタ
JP2015090843A (ja) コネクタの止水構造
CN108604749A (zh) 端子零件
JP2017212099A (ja) コネクタカバー
JP2006147353A (ja) コネクタ
JP5557035B2 (ja) 防水コネクタ
JP7381320B2 (ja) コネクタ
JP2017174575A (ja) コネクタ
JP5104651B2 (ja) コネクタ

Legal Events

Date Code Title Description
A621 Written request for application examination

Free format text: JAPANESE INTERMEDIATE CODE: A621

Effective date: 20110308

A977 Report on retrieval

Free format text: JAPANESE INTERMEDIATE CODE: A971007

Effective date: 20120621

A131 Notification of reasons for refusal

Free format text: JAPANESE INTERMEDIATE CODE: A131

Effective date: 20120703

A521 Written amendment

Free format text: JAPANESE INTERMEDIATE CODE: A523

Effective date: 20120810

TRDD Decision of grant or rejection written
A01 Written decision to grant a patent or to grant a registration (utility model)

Free format text: JAPANESE INTERMEDIATE CODE: A01

Effective date: 20120904

A01 Written decision to grant a patent or to grant a registration (utility model)

Free format text: JAPANESE INTERMEDIATE CODE: A01

A61 First payment of annual fees (during grant procedure)

Free format text: JAPANESE INTERMEDIATE CODE: A61

Effective date: 20120917

R150 Certificate of patent or registration of utility model

Free format text: JAPANESE INTERMEDIATE CODE: R150

FPAY Renewal fee payment (event date is renewal date of database)

Free format text: PAYMENT UNTIL: 20151012

Year of fee payment: 3

LAPS Cancellation because of no payment of annual fees