JP2010040454A - コネクタ - Google Patents

コネクタ Download PDF

Info

Publication number
JP2010040454A
JP2010040454A JP2008204864A JP2008204864A JP2010040454A JP 2010040454 A JP2010040454 A JP 2010040454A JP 2008204864 A JP2008204864 A JP 2008204864A JP 2008204864 A JP2008204864 A JP 2008204864A JP 2010040454 A JP2010040454 A JP 2010040454A
Authority
JP
Japan
Prior art keywords
electric wire
tiltable
housing
cavity
rubber plug
Prior art date
Legal status (The legal status is an assumption and is not a legal conclusion. Google has not performed a legal analysis and makes no representation as to the accuracy of the status listed.)
Granted
Application number
JP2008204864A
Other languages
English (en)
Other versions
JP5056663B2 (ja
Inventor
Yutaka Kobayashi
豊 小林
Current Assignee (The listed assignees may be inaccurate. Google has not performed a legal analysis and makes no representation or warranty as to the accuracy of the list.)
Sumitomo Wiring Systems Ltd
Original Assignee
Sumitomo Wiring Systems Ltd
Priority date (The priority date is an assumption and is not a legal conclusion. Google has not performed a legal analysis and makes no representation as to the accuracy of the date listed.)
Filing date
Publication date
Application filed by Sumitomo Wiring Systems Ltd filed Critical Sumitomo Wiring Systems Ltd
Priority to JP2008204864A priority Critical patent/JP5056663B2/ja
Publication of JP2010040454A publication Critical patent/JP2010040454A/ja
Application granted granted Critical
Publication of JP5056663B2 publication Critical patent/JP5056663B2/ja
Expired - Fee Related legal-status Critical Current
Anticipated expiration legal-status Critical

Links

Images

Landscapes

  • Connector Housings Or Holding Contact Members (AREA)

Abstract

【課題】電線がハウジングからの導出方向と交差する向きの外力を受けたことに起因してゴム栓が不正に変形するのを防止する。
【解決手段】キャビティ11に端子金具15が挿入され、端子金具15に接続した電線18がハウジング10の後方へ導出され、ゴム栓19は、端子金具15の後方に位置して電線18に外嵌された状態でキャビティ11の後端部に挿入されている。ハウジング10のうちゴム栓19が挿入される領域は、ゴム栓19と一体となって傾動可能な傾動可能部12となっている。電線18に導出方向と交差する方向の外力が作用すると、電線18とゴム栓19と傾動可能部12とが一体となって傾動するので、電線18の変位に起因してゴム栓19が不正な変形を来すことがない。
【選択図】図1

Description

本発明は、コネクタに関するものである。
特許文献1には、ゴム栓を用いて防水を図るようにしたコネクタが開示されている。このコネクタでは、端子金具に接続されて後方へ導出された電線に、筒状のゴム栓を外嵌し、この端子金具とゴム栓を後方からハウジング内のキャビティに挿入しており、キャビティの後端部においては、電線の外周とキャビティの内周との隙間がゴム栓によって液密状にシールされている。
特開2006−344475公報
一般的な電線では、導体として比較的剛性の低い銅が用いられているが、導体として銅よりも剛性の高い材料(例えば、アルミニウム)を用いたり、銅よりも導電率の低い材料(例えば、アルミニウム)を用いたことに伴って導体を太くしたために結果的に導体の剛性が高まってしまうことがある。このような場合、ハウジングの後方へ導出されている電線が曲げ方向の外力を受けて導出方向と交差する後方へ変位すると、電線の剛性によってゴム栓が不正に変形させられる虞がある。ゴム栓が不正に変形すると、シール性能が低下することになる。
本発明は上記のような事情に基づいて完成されたものであって、電線がハウジングからの導出方向と交差する向きの外力を受けたことに起因してゴム栓が不正に変形するのを防止することを目的とする。
上記の目的を達成するための手段として、請求項1の発明は、内部にキャビティが形成されたハウジングと、前記ハウジングの後方から前記キャビティ内に挿入された端子金具と、前記端子金具に接続されて前記ハウジングの後方へ導出された電線と、前記端子金具の後方に位置して前記電線に外嵌された状態で前記キャビティの後端部に挿入され、前記電線の外周と前記キャビティの内周との隙間をシールするゴム栓とを備えたコネクタにおいて、前記ハウジングのうち前記ゴム栓が挿入される領域は、前記ゴム栓と一体となって傾動可能な傾動可能部となっているところに特徴を有する。
請求項2の発明は、請求項1に記載のものにおいて、前記傾動可能部は、前記ゴム栓を個別に包囲する筒状をなしているところに特徴を有する。
請求項3の発明は、請求項2に記載のものにおいて、前記傾動可能部は、その前端部に周方向の肉薄部を有しており、前記肉薄部を支点として傾動するようになっているところに特徴を有する。
<請求項1の発明>
電線におけるハウジングからの導出部分に対して導出方向と交差する方向の外力が作用すると、電線とゴム栓と傾動可能部とが一体となって傾動するので、電線の変位に起因してゴム栓が不正な変形を来すことがない。
<請求項2の発明>
複数のゴム栓が挿入されている領域が一体となって傾動する形態の傾動可能部に比べると、本発明の傾動可能部は、ゴム栓を個別に包囲する筒状をなしているので剛性が低く、傾動し易くなっている。これにより、ゴム栓の不正な変形を、より確実に防止することができる。
<請求項3の発明>
傾動可能部は肉薄部を支点として傾動するようになっているので、傾動時にゴム栓を包囲している部分が湾曲変形せずに済み、ゴム栓によるシール性能が低下することはない。
<実施形態1>
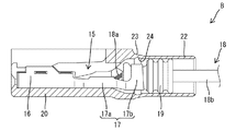
以下、本発明を具体化した実施形態1を図1を参照して説明する。本実施形態のコネクタAは、合成樹脂製のハウジング10内に複数のキャビティ11を形成し、各キャビティ11内に後方から端子金具15を挿入したものである。キャビティ11は、前後方向に細長く、ハウジング10の前後両端に開口している。キャビティ11の後端部は、その長さ方向と直角な横断面形状が円形となっていて、ハウジング10の後面において挿入口として円形に開口している。複数のキャビティ11は、左右方向に一定ピッチで一列に並んで配置されている。
ハウジング10の後端部は、各キャビティ11毎に個別に後方へ円筒状に突出した形態の傾動可能部12となっている。この傾動可能部12の内部空間は、キャビティ11の後端部を構成しており、この傾動可能部12内にはゴム栓19が収容されるようになっている。各傾動可能部12の前端部には、周方向の肉薄部13が全周に亘って連続して形成されている。この肉薄部13は、傾動可能部12の外周面に形成した周方向の溝部14と、内周面に形成した溝部14とによって構成されている。この外周側の溝部14と内周側の溝部14は、前後方向において対応するように位置する。この肉薄部13が変形することにより、傾動可能部12が前後方向(キャビティ11に対する端子金具15の挿入方向と平行方向)に対して斜め方向となるように傾動し得るようになっている。この傾動動作の際には、傾動可能部12自体は、肉薄部13を除いて湾曲などの変形は生じないようになっている。
端子金具15は、所定形状に打ち抜いた金属板材に曲げ加工等を施すことによって形成された雌形のものであり、前端側領域は角筒状をなす端子接続部16となっており、後端側領域はオープンバレル状の電線圧着部17となっている。端子接続部16は、雄形の相手端子に形成されている細長いタブ(図示せず)との接続手段として機能する周知形態のものである。
電線圧着部17は、その前端側領域のワイヤバレル部17aと、後端側領域のインシュレーションバレル部17bとを備えて構成されている。ワイヤバレル部17aには、電線18の導体18aが導通可能に圧着により接続されている。導体18aの材料としては、銅や、銅よりも剛性が高い材料(例えば、アルミニウム)や、銅よりも導電率の低い材料(例えば、アルミニウム)が用いられる。インシュレーションバレル部17bには、電線18のうち絶縁被覆18bで覆われた部分と電線18に外嵌したゴム栓19の前端部とが、一緒に圧着により固着されている。
ゴム栓19は、円筒形をなし、内周には電線18の外周に対して液密状に密着する内周側リップ部(図示せず)が形成され、外周には、キャビティ11の後端部内周に液密状に密着する外周側リップ部が形成されている。かかるゴム栓19は、端子金具15の後端よりも更に後方へ延出するように位置している。
電線18とゴム栓19が取り付けられた端子金具15は、後方からキャビティ11内に挿入される。端子金具15が正規挿入された状態では、ゴム栓19の全体がキャビティ11のうち傾動可能部12内に収容される。また、端子金具15の大部分(後端部を除いた部分)は、キャビティ11のうち傾動可能部12よりも前方の領域内に収容される。端子金具15の後端部は、傾動可能部12内に収容されるが、傾動可能部12の内周面とは非接触である。
端子金具15を挿入した状態では、電線18がハウジング10の後面から後方へ導出される。この導出された電線18が、ハウジング10の後方において導出方向と交差する方向(即ち、上下方向又は左右方向)への外力(例えば、引張力)を受けると、電線18のうち端子金具15よりも後方の領域が斜めに姿勢を変化させる。これに伴い、電線18と一体となってゴム栓19と傾動可能部12が、端子金具15及びハウジング10のうち傾動可能部12よりも前方の領域に対して傾くように変位する。つまり、電線18からゴム栓19に作用する押圧力が、傾動可能部12の傾動変位によって吸収されるので、ゴム栓19は不正な変形を生じることがない。したがって、ゴム栓19の不正な弾性変形に起因するシール性能の低下が回避される。
また、複数のゴム栓が挿入されている領域が一体となって傾動する形態の傾動可能部に比べると、本実施形態の傾動可能部12は、ゴム栓19を個別に包囲する筒状をなしているので剛性が低く、傾動し易くなっている。これにより、ゴム栓19の不正な変形を、より確実に防止することができる。
また、傾動可能部12は肉薄部13を支点として傾動するようになっているので、傾動時には、ゴム栓19を包囲している部分(傾動可能部12自体)が湾曲変形せずに済む。したがって、ゴム栓19によるシール性能が低下することはない。
<実施形態2>
次に、本発明を具体化した実施形態2を図2を参照して説明する。本実施形態2のコネクタBは、ハウジング20と傾動可能部22を上記実施形態1とは異なる構成としたものである。その他の構成については上記実施形態1と同じであるため、同じ構成については、同一符号を付し、構造、作用及び効果の説明は省略する。
本実施形態2の傾動可能部22は、実施形態1の傾動可能部12に比べると、肉厚が全長に亘って薄くなっていて、傾動可能部22が全体的に傾動するだけでなく、傾動可能部22自体が湾曲するような変形を生じ得るようになっている。また、傾動可能部22の前端には、その内周面のみに溝部24を形成することによって肉薄部23が形成され、傾動可能部22は、この肉薄部23を支点として傾動し得るようになっている。
<実施形態3>
次に、本発明を具体化した実施形態3を図3及び図4を参照して説明する。本実施形態3のコネクタCは、ハウジング30と傾動可能部32を上記実施形態1とは異なる構成としたものである。その他の構成については上記実施形態1と同じであるため、同じ構成については、同一符号を付し、構造、作用及び効果の説明は省略する。
本実施形態3のハウジング30には、複数のキャビティ31が、上下2段に分かれて左右方向に並列した状態で形成されている。ハウジング30の後端部においては、各キャビティ31と対応するように円筒状をなす傾動可能部32が形成されている。傾動可能部32の前端部には、その外周面のみに溝部34を形成することによって肉薄部33が形成されている。また、傾動可能部32は、実施形態2と同じく全長に亘って比較的肉薄となっていて、傾動可能部32は、肉薄部33を支点として傾動するとともに、傾動可能部32自体が湾曲するように変形し得るようになっている。
<実施形態4>
次に、本発明を具体化した実施形態4を図5を参照して説明する。本実施形態4のコネクタDは、ハウジング40と傾動可能部42を上記実施形態1とは異なる構成としたものである。その他の構成については上記実施形態1と同じであるため、同じ構成については、同一符号を付し、構造、作用及び効果の説明は省略する。
本実施形態4のハウジング40には、実施形態3と同様、複数のキャビティ41が、上下2段に分かれて左右方向に並列した状態で形成されている。ハウジング40の後端部においては、各キャビティ41と対応するように円筒状をなす傾動可能部42が形成されている。傾動可能部42の前端部には、上記実施形態1〜3のような肉薄部は形成されていないが、傾動可能部42は、実施形態2及び3と同じく全長に亘って肉薄となっている。傾動可能部42は、その前端部を支点として傾動するとともに、傾動可能部42自体が湾曲するように変形し得るようになっている。
<他の実施形態>
本発明は上記記述及び図面によって説明した実施形態に限定されるものではなく、例えば次のような実施態様も本発明の技術的範囲に含まれる。
(1)上記実施形態1〜4では傾動可能部が1つのゴム栓を個別に包囲する筒状である場合について説明したが、傾動可能部は、複数のゴム栓が挿入されている領域を一体に傾動させる形態であってもよい。
(2)上記実施形態1〜3では傾動可能部が肉薄部を支点として傾動するようにしたが、傾動可能部は、その前後方向における全領域に亘って湾曲することによって傾動する形態であってもよい。
(3)上記実施形態1では肉薄部を形成する手段として、傾動可能部の内周面と外周面の両方に溝部を形成したが、これに替えて、内周面と外周面のうちいずれか一方の周面のみに溝部を形成してもよい。
(4)上記実施形態2では肉薄部を形成する手段として、傾動可能部の内周面のみに溝部を形成したが、これに替えて、内周面と外周面の両方に溝部を形成してもよく、外周面のみに溝部を形成してもよい。
(5)上記実施形態3では肉薄部を形成する手段として、傾動可能部の外周面のみに溝部を形成したが、これに替えて、内周面と外周面の両方に溝部を形成してもよく、内周面のみに溝部を形成してもよい。
(6)上記実施形態1〜4において、傾動可能部の前端部に蛇腹部を形成し、この蛇腹部を変形させることによって傾動可能部を傾動させるようにしてもよい。
実施形態1の断面図 実施形態2の断面図 実施形態3の一部切欠側面図 実施形態3のハウジングの背面図 実施形態4の一部切欠側面図
符号の説明
A…コネクタ
10…ハウジング
11…キャビティ
12…傾動可能部
13…肉薄部
15…端子金具
18…電線
19…ゴム栓
B,C,D…コネクタ
20,30,40…ハウジング
22,32,42…傾動可能部
23,33…肉薄部
31,41…キャビティ

Claims (3)

  1. 内部にキャビティが形成されたハウジングと、
    前記ハウジングの後方から前記キャビティ内に挿入された端子金具と、
    前記端子金具に接続されて前記ハウジングの後方へ導出された電線と、
    前記端子金具の後方に位置して前記電線に外嵌された状態で前記キャビティの後端部に挿入され、前記電線の外周と前記キャビティの内周との隙間をシールするゴム栓とを備えたコネクタにおいて、
    前記ハウジングのうち前記ゴム栓が挿入される領域は、前記ゴム栓と一体となって傾動可能な傾動可能部となっていることを特徴とするコネクタ。
  2. 前記傾動可能部は、前記ゴム栓を個別に包囲する筒状をなしていることを特徴とする請求項1記載のコネクタ。
  3. 前記傾動可能部は、その前端部に周方向の肉薄部を有しており、前記肉薄部を支点として傾動するようになっていることを特徴とする請求項2記載のコネクタ。
JP2008204864A 2008-08-07 2008-08-07 コネクタ Expired - Fee Related JP5056663B2 (ja)

Priority Applications (1)

Application Number Priority Date Filing Date Title
JP2008204864A JP5056663B2 (ja) 2008-08-07 2008-08-07 コネクタ

Applications Claiming Priority (1)

Application Number Priority Date Filing Date Title
JP2008204864A JP5056663B2 (ja) 2008-08-07 2008-08-07 コネクタ

Publications (2)

Publication Number Publication Date
JP2010040454A true JP2010040454A (ja) 2010-02-18
JP5056663B2 JP5056663B2 (ja) 2012-10-24

Family

ID=42012762

Family Applications (1)

Application Number Title Priority Date Filing Date
JP2008204864A Expired - Fee Related JP5056663B2 (ja) 2008-08-07 2008-08-07 コネクタ

Country Status (1)

Country Link
JP (1) JP5056663B2 (ja)

Citations (2)

* Cited by examiner, † Cited by third party
Publication number Priority date Publication date Assignee Title
JPH07263075A (ja) * 1994-03-24 1995-10-13 Yazaki Corp 防水コネクタ
JP2006344475A (ja) * 2005-06-08 2006-12-21 Sumitomo Wiring Syst Ltd 防水コネクタ

Patent Citations (2)

* Cited by examiner, † Cited by third party
Publication number Priority date Publication date Assignee Title
JPH07263075A (ja) * 1994-03-24 1995-10-13 Yazaki Corp 防水コネクタ
JP2006344475A (ja) * 2005-06-08 2006-12-21 Sumitomo Wiring Syst Ltd 防水コネクタ

Also Published As

Publication number Publication date
JP5056663B2 (ja) 2012-10-24

Similar Documents

Publication Publication Date Title
US9287655B2 (en) Crimped terminal attached aluminum electric wire
JP5233822B2 (ja) 端子金具
JP2010073664A (ja) 防水コネクタ及びゴム栓
JP2010040361A (ja) 端子金具及びワイヤーハーネス
EP2073319B1 (en) Connector assembly and method for assembling it
JPWO2010029803A1 (ja) 端子金具及び端子金具付き電線
JP5077150B2 (ja) 端子金具
CN118970506A (zh) 具有引入的绝缘压接
JP2015090843A (ja) コネクタの止水構造
JP2010186692A (ja) 接続端子
JP5131134B2 (ja) ゴム栓及び防水コネクタ
JP5109880B2 (ja) ゴム栓及び防水コネクタ
JP5056663B2 (ja) コネクタ
CN105024217A (zh) 橡胶塞固定结构
JP5104639B2 (ja) コネクタ
US7789715B2 (en) Terminal fitting with posture correcting edge and inclination restricting portion and a connector provided therewith
JP2003346958A (ja) 雌端子金具
JP2011018551A (ja) コネクタの防水構造及び一括ゴム栓
JP2010067370A (ja) コネクタ
JP2013243011A (ja) 端子金具
JP2010140847A (ja) 防水コネクタ
JP2012123963A (ja) ゴム栓及び防水コネクタ
JP2013062059A (ja) ゴム栓
JP2008192419A (ja) 端子金具およびコネクタ
JP2009272253A (ja) 防水コネクタ

Legal Events

Date Code Title Description
A621 Written request for application examination

Free format text: JAPANESE INTERMEDIATE CODE: A621

Effective date: 20110308

A977 Report on retrieval

Free format text: JAPANESE INTERMEDIATE CODE: A971007

Effective date: 20120621

TRDD Decision of grant or rejection written
A01 Written decision to grant a patent or to grant a registration (utility model)

Free format text: JAPANESE INTERMEDIATE CODE: A01

Effective date: 20120703

A01 Written decision to grant a patent or to grant a registration (utility model)

Free format text: JAPANESE INTERMEDIATE CODE: A01

A61 First payment of annual fees (during grant procedure)

Free format text: JAPANESE INTERMEDIATE CODE: A61

Effective date: 20120716

FPAY Renewal fee payment (prs date is renewal date of database)

Free format text: PAYMENT UNTIL: 20150810

Year of fee payment: 3

R150 Certificate of patent (=grant) or registration of utility model

Free format text: JAPANESE INTERMEDIATE CODE: R150

LAPS Cancellation because of no payment of annual fees