JP2010040410A - コネクタ - Google Patents

コネクタ Download PDF

Info

Publication number
JP2010040410A
JP2010040410A JP2008203954A JP2008203954A JP2010040410A JP 2010040410 A JP2010040410 A JP 2010040410A JP 2008203954 A JP2008203954 A JP 2008203954A JP 2008203954 A JP2008203954 A JP 2008203954A JP 2010040410 A JP2010040410 A JP 2010040410A
Authority
JP
Japan
Prior art keywords
terminal
press
terminal insertion
insertion hole
connector
Prior art date
Legal status (The legal status is an assumption and is not a legal conclusion. Google has not performed a legal analysis and makes no representation as to the accuracy of the status listed.)
Granted
Application number
JP2008203954A
Other languages
English (en)
Other versions
JP4877633B2 (ja
Inventor
Makoto Sasaki
良 佐々木
Current Assignee (The listed assignees may be inaccurate. Google has not performed a legal analysis and makes no representation or warranty as to the accuracy of the list.)
SMK Corp
Original Assignee
SMK Corp
Priority date (The priority date is an assumption and is not a legal conclusion. Google has not performed a legal analysis and makes no representation as to the accuracy of the date listed.)
Filing date
Publication date
Application filed by SMK Corp filed Critical SMK Corp
Priority to JP2008203954A priority Critical patent/JP4877633B2/ja
Priority to CN 200910164819 priority patent/CN101645559B/zh
Publication of JP2010040410A publication Critical patent/JP2010040410A/ja
Application granted granted Critical
Publication of JP4877633B2 publication Critical patent/JP4877633B2/ja
Expired - Fee Related legal-status Critical Current
Anticipated expiration legal-status Critical

Links

Images

Landscapes

  • Connector Housings Or Holding Contact Members (AREA)
  • Manufacturing Of Electrical Connectors (AREA)

Abstract

【課題】ランス構造にして連なった端子をハウジングに固定する際に生じる、残留応力を無くす構造にしてコネクタの変形を抑制するコネクタを提供する。
【解決手段】コネクタは、複数の端子挿入穴が設けられたハウジングに、導電性金属で形成され前記端子挿入穴の幅よりも広い圧入部が設けられた端子を圧入により固定するコネクタであって、前記圧入部にバネ性を持たせ、前記端子挿入穴に前記バネ性を持たせた圧入部が係合係止する係合係止部を備えたことである。
【選択図】 図1

Description

本発明は、コネクタに関し、詳しくは固定端子型コネクタに関するもので、一列、千鳥など連なった端子をハウジングに圧入固定する際に生じる、残留応力を無くすことにより、初期・リフロー耐熱時に発生するコネクタ変形を抑制するコネクタに関する。
従来技術におけるコネクタに関して、所謂、連なった端子の固定方法として圧入固定方法が存在する。
この圧入固定方法は、図9に示すように、合成樹脂にて成型された複数の端子挿入穴112が設けられたハウジング111に、導電性金属にて形成され、端子挿入穴112の幅よりも広い圧入部122が設けられた端子115を圧入により固定する。
端子115を端子挿入穴112に挿入する際に、図10に示すように、端子挿入穴112の幅よりも広く形成された圧入部122が穴の側面壁に食い付くように密接に圧接して端子挿入穴112に固定される。そのため、圧入固定された端子から残留応力が絶えず発生することになり、その残留応力がハウジング111に加えられる。
特開2003−32017号公報
しかし、従来技術で説明した、圧入固定による端子を固定する手法において、端子を固定する相手側のハウジングに応力が残留する結果、ハウジングが脆弱(薄型)の場合は、残留応力によりハウジング自体が変形してしまうという問題がある。
従って、連なった端子をハウジングに固定する際に生じる、残留応力が発生しない構造にしてコネクタの変形を抑制することに解決しなければならない課題を有する。
上記課題を解決するために、本願発明のコネクタは、次に示す構成にしたことである。
(1)コネクタは、複数の端子挿入穴が設けられたハウジングに、導電性金属で形成され前記端子挿入穴の幅よりも広い圧入部が設けられた端子を圧入により固定するコネクタであって、前記圧入部にバネ性を持たせ、前記端子挿入穴に連通し、前記圧入部が係合係止する係合係止部を設けたことである。
(2)前記バネ性を持たせた圧入部は、ランス構造に形成したことを特徴とする(1)に記載のコネクタ。
(3)前記ランス構造に形成された圧入部は、矩形状のフレーム構造に形成したことを特徴とする(2)に記載のコネクタ。
(4)前記ランス構造に形成された圧入部は、前記端子挿入穴に対して一定のクリアランスを有する構造としたことを特徴とする(2)に記載のコネクタ。
(5)コネクタは、複数の端子挿入穴が設けられたハウジングに、導電性金属で形成され前記端子挿入穴の幅よりも広い圧入部が設けられ且つ電気的に接触する弾性接触部を備えた端子を圧入により固定するコネクタであって、前記弾性接触部の基端から前記弾性接触部を囲う様に配置された矩形状のフレーム構造とした保持部を備え、そのフレーム構造とした保持部の両側の弾性変形する片に外方向に突出形成したランス状の圧入部を設け、前記端子挿入穴の端子挿入位置に前記弾性変形する片に設けた圧入部が係合係止する係合係止部を備えたことである。
(6)前記保持部の幅方向の広さと前記端子挿入穴の幅方向の広さとの間に一定のクリアランスを有する(5)に記載のコネクタ。
本提案によれば、連鎖状態の端子固定にランス構造を採用することで、圧入固定時に発生していた残留応力を無くし、脆弱(薄型)なハウジングの変形を抑制することができる。
次に、本願発明に係るコネクタの実施形態について、図面を参照して以下説明する。
本願発明のコネクタは、図1乃至図4に示すように、連鎖状態で圧入固定するための導電性金属で形成されている端子(第1の端子及び第2の端子)に根本的な改良を加えて、圧入固定して組み込むための脆弱(薄型)なハウジングに対して残留応力による変形といった不具合を無くした構造の端子及びハウジングを提供する。
このコネクタの構造は、先ず、ハウジングに設けた端子を挿入して固定する端子挿入穴が従来のように単に端子を圧入固定する構造と異なり、端子を収納する端子挿入穴は、端子挿入方向に伸び、その端子挿入方向の軸周りにある側面壁に、端子にバネ性を具える凸状に形成された圧入部が係合係止可能な凹形状の係合係止部を備えた構造、すなわちランス形状を採用している。
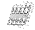
ハウジング11は、図1及び図3に示すように、絶縁性樹脂で、略四角平板形状に形成され、図において背面側に複数の第1の端子15を並列状態で収納するための端子挿入穴12を設け、図において正面側に複数の第2の端子31を並列状態で収納するための端子挿入穴26を設けた構造となっている。
第1の端子15を収納する端子挿入穴12は、上方(平面側)及び下方(底面側)に開口しない溝14a、14bを形成し、この溝14a、14bは、後述する保持部19の厚みと同じもしくは若干大きい高さ(上下方向の高さ)を有する。端子挿入穴12の端子挿入方向の手前の開口(背面側の開口)寄りの位置に第1の端子15の弾性接触部18の先端を臨ませるための接点窓14cを形成し、溝14a、14bの側面壁を更に外方に凹陥させた係合係止部13a、13bを備えた構造となっている。端子挿入穴12の上方の開口の幅は、少なくとも弾性接触部18の先端が通過でき、後述する保持部19が抜けないだけの幅を持って端子挿入穴12の上方が開口している。
このコネクタの構造は、先ず、ハウジング11に設けた端子を挿入して固定する端子挿入穴12が従来のように単に端子を圧入固定する構造と異なり、端子を収納する端子挿入穴12は、端子挿入方向に伸び、その端子挿入方向の軸周りにある側面壁に、バネ性を具える凸状に端子に形成された圧入部が係合係止可能な凹形状の係合係止部13a、13bを備えた構造、すなわちランス形状を採用している。
第2の端子31を収納する端子挿入穴26は、上方(平面側)及び下方(底面側)に開口しない溝28a、28bを形成し、この溝28a、28bは、後述する各々の保持部34a、34bの厚みと同じもしくは若干大きい高さ(上下方向の高さ)を有する。端子挿入穴26の端子挿入方向の手前の開口(正面側の開口)寄りの位置に第2の端子31の弾性接触部33の先端を臨ませるための接点窓28cを形成し、溝28a、28bの側面壁を外方に凹ませて、端子挿入穴26の側面から外方に屈曲した面である係合係止部27a、27bを備えた構造となっている。端子挿入穴26の上方の開口の幅は、少なくとも弾性接触部33の先端が通過でき、後述する保持部34a、34bが抜けないだけの幅を持って端子挿入穴26の上方が開口している。
第1の端子15は、板部材を長方形の形状に形成し、基端部17より先の自由端部側をコ字状に切り欠くことで保持部19に連設して弾性を持たせた弾性接触部18を形成し、その弾性接触部18を囲う様に配置された矩形状のフレーム構造とした保持部19を備え、保持部19の両側にある両持ちバネ形状の片21a、21bの略中間位置に側方の外方向に更に側方に突出形成したランス状の圧入部22a、22bを設けた構造となっている。弾性接触部18は、装着した相手側コネクタのコンタクトに接触可能になっている。
圧入部22a、22bを設けた保持部19の片21a、21bは、所謂、弾性変形するバネ性を持たせた構造となっており、圧入部22a、22bを外側から押せば圧入部22a、22bが設けられた部位が内側方向に弾性変形する。
第2の端子31は、長方形状の弾性接触部33の基端部両端から腕状に延ばした保持部34a、34bを備え、この腕状に延ばした保持部34a、34bの先端に外方向に突出して形成された圧入部35a、35bを備えた構成になっている。この保持部34a、34bは先端に備えた圧入部35a、35bが第1の端子15と同様に内側方向に弾性変形する。
このような構成からなるハウジング11の端子挿入穴12に第1の端子15を端子挿入穴26に第2の端子31を、各々圧入してハウジング11に組み込む様子を説明する。
先ず、図4に示すように、ハウジング11の端子挿入穴12に第1の端子15の自由端側から挿入する。すると挿入されている第1の端子15の圧入部22a、22bが端子挿入穴12の溝14a、14bの側面壁に当たり、内側方向に押された状態となり保持部19の圧入部22a、22bを設けた片21a、21bが内側方向に弾性変形する。この状態でさらに端子15を押し込むと、内側方向に弾性変形している片21a、21bの圧入部22a、22bが、端子挿入穴12の一対の側面が各々外方に屈曲した部位に臨んで圧入部22a、22bが溝14a、14bの側面壁によって付勢されなくなり、弾性変形している保持部19の状態が自らの弾性によって元の状態に復帰し、第1の端子15挿入方向である端子挿入方向に直交する係合係止部13a、13bと当接可能となって、第1の端子15自体が端子挿入穴12に固定される。
このように、当初差し込むときには圧入部22a、22bの突出分だけ内側に弾性変形させ、端子挿入穴12の溝14a、14bの側面壁と圧入部22a、22bの摩擦に反して圧入し、端子挿入穴12の一対の側面が各々外方に屈曲した部位に臨んで圧入部22a、22bが溝14a、14bの側面壁によって付勢されなくなると、弾性変形してある保持部19は自らの弾性によって元の状態に復帰し、弾性接触部18の先端が接点窓14cに臨ませ、第1の端子15の挿入が完了するようにしている。従って、第1の端子15を挿入するときのみハウジング11の端子挿入穴12の溝14a、14bの側面壁に応力を加えるが、第1の端子15の挿入が完了すると、第1の端子15で圧入した応力は何処にも存在しないから、従来の端子の圧入固定によるハウジング11への応力の影響は大幅に軽減される。
次に、ハウジング25の端子挿入穴26に第2の端子31の保持部34a、34bの自由端側から挿入する。すると挿入されている第2の端子31の圧入部35a、35bが端子挿入穴26の溝28a、28bの側面壁にあたり内側方向に押された状態となり保持部34a、34bが内側方向に弾性変形する。この状態でさらに第2の端子31を押し込むと、側方から内側に弾性変形している圧入部35a、35bが、端子挿入穴26の一対の側面から各々外方に屈曲した部位に臨んで圧入部35a、35bが溝28a、28bの側面壁によって付勢されなくなり、弾性変形している保持部34a、34bの状態が自らの弾性によってもとの状態に復帰し、第2の端子31の挿入方向である端子挿入方向に直交する係合係止部27a、27bと当接可能となって、第2の端子31自体が端子挿入穴26に固定される。
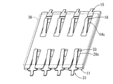
このようにして、図2に示すように、第1の端子15及び第2の端子31は端子挿入穴12、26に挿入され、弾性接触部18、33は上方向を向いた状態で、接点窓14c、28cに臨んだ位置に配置される。そして、この配置された第1の端子15及び第2の端子31に対して、ハウジング11と、ハウジング11の上方から弾性接触部18、33を覆う様にハウジング11に固定されたシールドカバー36によって囲われた空間に、電極(図示せず)を有するメモリカード等を挿抜可能に収納して弾性接触部18、33が電極(図示せず)に弾性接触して電気的な接続状態を得ることができるのである。
次に、第1の端子のみによるコネクタの変形例について説明する。
第1の端子15のみによるコネクタは、図5及び図6に示すように、連鎖状態で圧入固定するための導電性金属で形成されている第1の端子15に根本的な改良を加えて、圧入固定して組み込むための脆弱(薄型)なハウジング11に対して残留応力による変形といった不具合を無くした構造の端子を提供するものである。
第1の端子15を収納する端子挿入穴12は、上方(平面側)及び下方(底面側)に開口しない溝14a、14bを形成し、この溝14a、14bは、後述する保持部19の厚みと同じもしくは若干大きい高さ(上下方向の高さ)を有する。端子挿入穴12の端子挿入方向の手前の開口寄りの位置に第1の端子15の弾性接触部18の先端を臨ませるための接点窓14cを形成し、溝14a、14bの側面壁を更に外方に凹陥させた係合係止部13a、13bを備えた構造となっている。端子挿入穴12の上方の開口の幅は、少なくとも弾性接触部18の先端が通過でき、後述する保持部19が抜けないだけの幅を持って端子挿入穴12の上方が開口している。
このコネクタの構造は、先ず、ハウジング11に設けた端子を挿入して固定する端子挿入穴12が従来のように単に端子を圧入固定する構造と異なり、端子を収納する端子挿入穴12は、端子挿入方向に伸び、その端子挿入方向の軸周りにある側面壁に、バネ性を具える凸状の第1の端子15に形成された圧入部22a、22bが係合係止可能な凹形状の係合係止部13a、13bを備えた構造、すなわちランス形状を採用している。
一方、第1の端子15側は、圧入固定した後に除去する連鎖部16で一列に整頓された状態で第1の端子15が配列されており、各々の第1の端子15は、板部材を長方形の形状に形成し、基端部17より先の自由端部側をコ字状に切り欠くことで保持部19に連設して弾性を持たせた弾性接触部18を形成し、その弾性接触部18を囲う様に配置された矩形状のフレーム構造とした保持部19を備え、保持部19の両側にある両持ちバネ形状の片21a、21bの略中間位置に外方向に更に側方に突出形成したランス状の圧入部22a、22bを設けた構造となっている。弾性接触部18は、装着した相手側コネクタのコンタクトに接触可能になっている。
圧入部22a、22bを設けた保持部19の片21a、21bは、所謂、弾性変形するバネ性を持たせた構造となっており、圧入部22a、22bを外側から押せば圧入部22a、22bが設けられた部位が内側方向に弾性変形する。
又、端子挿入穴12の幅方向の広さと、保持部19の幅方向の広さは、保持部19の幅方向の広さを幾分狭くするか、又は端子挿入穴12の幅方向の広さを幾分広くすること(図5において、W1>W2の関係)が可能で、その分保持部19の幅と端子挿入穴12の幅とに一定のクリアランスを有する構造とすることが可能になる。
一定のクリアランスが発生したとしても、固定するのは、ランス構造の端子挿入穴12の側面に設けた係合係止部13a、13bに圧入部22a、22bが係合することにより固定され、保持部19の幅方向での圧入固定するわけではないので、端子挿入穴12の幅方向の広さと保持部19の幅方向の広さとの間に一定のクリアランスが発生しても固定するのには直接関係がない構造となっている。
このような構成からなるハウジング11の端子挿入穴12に第1の端子15を、各々圧入してハウジング11に組み込む様子を説明する。
先ず、ハウジング11の端子挿入穴12に連鎖部16に接続されている第1の端子15の自由端側から挿入する。すると挿入されている第1の端子15の圧入部22a、22bが端子挿入穴12の側面壁にあたり内側方向に押された状態となり保持部19の圧入部22a、22bを設けた片21a、21bが内側方向に弾性変形する。この状態でさらに第1の端子15を押し込むと、内側方向に弾性変形している片21a、21bの圧入部22a、22bが、端子挿入穴12の一対の側面が各々外方に屈曲した部位に臨んで圧入部22a、22bが溝14a、14bの側面壁によって付勢されなくなり、弾性変形している保持部19の状態が自らの弾性によって元の状態に復帰し、第1の端子15挿入方向である端子挿入方向に直交する係合係止部13a、13bと当接可能となって、第1の端子15自体が端子挿入穴12に固定される。
以上のようにして、当初差し込むときには圧入部22a、22bの突出分だけ内側に弾性変形させ、端子挿入穴12の溝14a、14bの側面壁と圧入部22a、22bの摩擦に反して圧入し、端子挿入穴12の一対の側面が各々外方に屈曲した部位に臨んで圧入部22a、22bが溝14a、14bの側面壁によって付勢されなくなると、弾性変形してある保持部19は自らの弾性によって元の状態に復帰し、弾性接触部18の先端が接点窓14cに臨ませ、第1の端子15の挿入が完了するようにしている。従って、端子15を挿入するときのみハウジング11の端子挿入穴12の溝14a、14bの側面壁に応力が加えるが第1の端子15の挿入が完了すると、第1の端子15で圧入した応力は何処にも存在しないから、従来の端子の圧入固定によるハウジング11への応力の影響は大幅に軽減される。
次に、第2の端子のみによるコネクタの変形例を図面を参照して説明する。
第2の端子31のみによるコネクタの変形例は、図7及び図8に示すように、第2の端子31側の保持部34a、34bをフレーム状の構成ではなく、弾性接触部33の基端部両端から腕状に延ばした保持部34a、34bの先端に外方向に突出して形成された圧入部35a、35bを設けた構造となっている。この保持部34a、34bは先端に備えた圧入部35a、35bが第1の端子15と同様に内側方向に弾性変形する。
このコネクタの構造は、先ず、ハウジング25に設けた端子を挿入して固定する端子挿入穴26が端子を収納する端子挿入穴で両側面壁に第2の端子31の保持部34a、34bに設けた圧入部35a、35bと係合係止する係合係止部27a、27bを備えた構造、即ち、ランス構造となっている。
第2の端子31を収納する端子挿入穴26は、上方(平面側)及び下方(底面側)に開口しない溝28a、28bを形成し、この溝28a、28bは、後述する各々の保持部34a、34bの厚みと同じもしくは若干大きい高さ(上下方向の高さ)を有する。端子挿入穴26の端子挿入方向の手前の開口寄りの位置に第2の端子31の弾性接触部33の先端を臨ませるための接点窓28cを形成し、溝28a、28bの側面壁を外方に凹ませて、端子挿入穴26の側面から外方に屈曲した面である係合係止部27a、27bを備えた構造となっている。端子挿入穴26の上方の開口の幅は、少なくとも弾性接触部33の先端が通過でき、後述する保持部34a、34bが抜けないだけの幅を持って端子挿入穴26の上方が開口している。
一方、第2の端子31側は、圧入固定した後に除去する連鎖部32で一列に整頓された状態で第2の端子31が配列されており、各々の第2の端子31は、長方形状の弾性接触部33の基端部両端から腕状に延ばした保持部34a、34bを備え、この腕状に延ばした保持部34a、34bの先端に外方向に突出して形成された圧入部35a、35bを備えた構成になっている。この保持部34a、34bは先端に備えた圧入部35a、35bが内側方向に弾性変形する。
このような構成からなるハウジング25の端子挿入穴26に第2の端子31を、各々圧入してハウジング11に9組み込む様子を説明する。
先ず、ハウジング25の端子挿入穴26に連鎖部32に接続されている第2の端子31の保持部34a、34bの自由端側から挿入する。すると挿入されている第2の端子31の圧入部35a、35bが端子挿入穴26の側面壁にあたり内側方向に押された状態となり保持部34a、34bが内側方向に弾性変形する。この状態でさらに第2の端子31を押し込むと、側方から内側に弾性変形している圧入部35a、35bが、端子挿入穴26の一対の側面から各々外方に屈曲した部位に臨んで圧入部35a、35bが溝28a、28bの側面壁によって付勢されなくなり、弾性変形している保持部34a、34bの状態が自らの弾性によってもとの状態に復帰し、第2の端子31の挿入方向である端子挿入方向に直交する係合係止部27a、27bと当接可能となって、第2の端子31自体が端子挿入穴26に固定される。
第2の端子31をハウジングに固定した際は圧入部35a、35bが係合係止部27a、27bに収納され、保持部34a、34bが溝28a、28bに沿って平行に収納されているので、保持部34a、34aがハウジングに対するコンタクトの平面方向の位置決めの補完的役割を担っている。
以上、端子側にバネ性を持たせた保持部を設け、圧入部を端子挿入穴の端子挿に設けた係合係止部に係合させることで端子を圧入固定する構造のコネクタを説明したが、バネ性を持たせた保持部が端子の幅方向に設けた構造に限定されることなく、例えば端子の板厚方向にバネ性を持たせた保持部を設けた構造でもよい。
更に、バネ性を持たせた保持部を設けた端子にすると、端子と端子挿入穴との間に一定のクリアランスを持たせた構造の端子にすることが可能となり、端子の幅方向の寸法精度を緩やかな構造にすることができる。
連鎖状態の端子固定にランス構造を採用することで、圧入固定時に発生していた残留応力を無くし、脆弱なハウジングの変形を抑制することができるコネクタを提供する。
本願発明に係るコネクタを構成するハウジング及び第1の端子、第2の端子の構造を示した正面−平面−右側面斜視図である。 同、ハウジングに第1の端子、第2の端子を組み込み、シールドカバーを被せた様子を示す正面−平面−右側面斜視図である。 同、本願発明のハウジングの溝の中央を底面に平行に切った正面−平面−右側面斜視図である。 同、第1の端子、第2の端子を組み込んだ状態で、ハウジングのみを溝の中央を底面に平行に切った正面−平面−右側面斜視図である。 本願発明に係る第1の端子をハウジングに組み込む様子を示したもので、ハウジングのみを溝の中央を底面に平行に切った平面図である。 同、ハウジングに第1の端子が組み込まれて固定されている状態を示したもので、ハウジングのみを溝の中央を底面に平行に切った平面図である。 本願発明の第2の端子のみをハウジングに組み込む様子を示したもので、ハウジングのみを溝の中央を底面に平行に切った平面図である。 同、ハウジングに第2の端子が組み込まれて固定されている状態を示したもので、ハウジングのみを溝の中央を底面に平行に切った平面図である。 従来技術における端子を圧入固定した様子を示したもので、ハウジングのみを端子挿入孔の中央を底面に平行に切った正面−平面−右側面斜視図である。 図9における圧入固定した様子を示す部分拡大図である。
符号の説明
11 ハウジング
12 端子挿入穴
13a 係合係止部
13b 係合係止部
14a 溝
14b 溝
14c 溝
15 第1の端子
16 連鎖部
17 基端部
18 弾性接触部
19 保持部
21a 片
21b 片
22a 圧入部
22b 圧入部
25 ハウジング
26 端子挿入穴
27a 係合係止部
27b 係合係止部
28a 溝
28b 溝
28c 溝
31 第2の端子
32 連鎖部
33 弾性接触部
34a 保持部
34b 保持部
35a 圧入部
35b 圧入部
36 シールドカバー

Claims (6)

  1. 複数の端子挿入穴が設けられたハウジングに、導電性金属で形成され前記端子挿入穴の幅よりも広い圧入部が設けられた端子を圧入により固定するコネクタであって、
    前記圧入部にバネ性を持たせ、前記端子挿入穴に連通し、前記圧入部が係合係止する係合係止部を設けたことを特徴とするコネクタ。
  2. 前記バネ性を持たせた圧入部は、ランス構造に形成したことを特徴とする請求項1に記載のコネクタ。
  3. 前記圧入部は、矩形状のフレーム構造に形成したことを特徴とする請求項2に記載のコネクタ。
  4. 前記圧入部は、前記端子挿入穴に対して一定のクリアランスを有する構造としたことを特徴とする請求項2に記載のコネクタ。
  5. 複数の端子挿入穴が設けられたハウジングに、導電性金属で形成され前記端子挿入穴の幅よりも広い圧入部が設けられ且つ電気的に接触する弾性接触部を備えた端子を圧入により固定するコネクタであって、
    前記弾性接触部の基端から前記弾性接触部を囲う様に配置された矩形状のフレーム構造とした保持部を備え、そのフレーム構造とした保持部の両側の弾性変形する片に外方向に突出形成したランス状の圧入部を設け、前記端子挿入穴の端子挿入位置に前記弾性変形する片に設けた圧入部が係合係止する係合係止部を備えたことを特徴とするコネクタ。
  6. 前記保持部の幅方向の広さと前記端子挿入穴の幅方向の広さとの間に一定のクリアランスを有する請求項5に記載のコネクタ。
JP2008203954A 2008-08-07 2008-08-07 コネクタ Expired - Fee Related JP4877633B2 (ja)

Priority Applications (2)

Application Number Priority Date Filing Date Title
JP2008203954A JP4877633B2 (ja) 2008-08-07 2008-08-07 コネクタ
CN 200910164819 CN101645559B (zh) 2008-08-07 2009-08-07 连接器

Applications Claiming Priority (1)

Application Number Priority Date Filing Date Title
JP2008203954A JP4877633B2 (ja) 2008-08-07 2008-08-07 コネクタ

Publications (2)

Publication Number Publication Date
JP2010040410A true JP2010040410A (ja) 2010-02-18
JP4877633B2 JP4877633B2 (ja) 2012-02-15

Family

ID=41657318

Family Applications (1)

Application Number Title Priority Date Filing Date
JP2008203954A Expired - Fee Related JP4877633B2 (ja) 2008-08-07 2008-08-07 コネクタ

Country Status (2)

Country Link
JP (1) JP4877633B2 (ja)
CN (1) CN101645559B (ja)

Cited By (4)

* Cited by examiner, † Cited by third party
Publication number Priority date Publication date Assignee Title
CN105165132A (zh) * 2013-04-15 2015-12-16 矢崎总业株式会社 电子元件的装配构造及电气接线箱
CN109155482A (zh) * 2016-05-25 2019-01-04 史陶比尔电子连接器股份公司 接触元件
CN114243379A (zh) * 2021-12-10 2022-03-25 南京康尼科技实业有限公司 一种具有机械连锁的电连接器
CN119944342A (zh) * 2025-04-08 2025-05-06 温州意华接插件股份有限公司 一种导电端子组件

Families Citing this family (1)

* Cited by examiner, † Cited by third party
Publication number Priority date Publication date Assignee Title
JP5382629B2 (ja) * 2012-06-12 2014-01-08 Smk株式会社 コネクタ、及び、その製造方法

Citations (2)

* Cited by examiner, † Cited by third party
Publication number Priority date Publication date Assignee Title
JPH10247541A (ja) * 1997-03-05 1998-09-14 Sumitomo Wiring Syst Ltd 圧入端子
JPH11260505A (ja) * 1998-03-13 1999-09-24 Matsushita Electric Works Ltd コネクタ

Family Cites Families (2)

* Cited by examiner, † Cited by third party
Publication number Priority date Publication date Assignee Title
JP2004214091A (ja) * 2003-01-07 2004-07-29 Jst Mfg Co Ltd 可動型コネクタ用コンタクトおよびそれを用いた可動型コネクタ
JP4030954B2 (ja) * 2003-11-28 2008-01-09 ヒロセ電機株式会社 レセプタクル電気コネクタ

Patent Citations (2)

* Cited by examiner, † Cited by third party
Publication number Priority date Publication date Assignee Title
JPH10247541A (ja) * 1997-03-05 1998-09-14 Sumitomo Wiring Syst Ltd 圧入端子
JPH11260505A (ja) * 1998-03-13 1999-09-24 Matsushita Electric Works Ltd コネクタ

Cited By (6)

* Cited by examiner, † Cited by third party
Publication number Priority date Publication date Assignee Title
CN105165132A (zh) * 2013-04-15 2015-12-16 矢崎总业株式会社 电子元件的装配构造及电气接线箱
CN105165132B (zh) * 2013-04-15 2017-11-28 矢崎总业株式会社 电子元件的装配构造及电气接线箱
CN109155482A (zh) * 2016-05-25 2019-01-04 史陶比尔电子连接器股份公司 接触元件
CN114243379A (zh) * 2021-12-10 2022-03-25 南京康尼科技实业有限公司 一种具有机械连锁的电连接器
CN114243379B (zh) * 2021-12-10 2023-05-26 南京康尼科技实业有限公司 一种具有机械连锁的电连接器
CN119944342A (zh) * 2025-04-08 2025-05-06 温州意华接插件股份有限公司 一种导电端子组件

Also Published As

Publication number Publication date
JP4877633B2 (ja) 2012-02-15
CN101645559B (zh) 2013-04-24
CN101645559A (zh) 2010-02-10

Similar Documents

Publication Publication Date Title
JP5059571B2 (ja) 基板用雌端子金具
JP4665674B2 (ja) コネクタ
CN102157858B (zh) 电连接器
EP2613412B1 (en) Circuit-board mounting type connector
JP4368897B2 (ja) コネクタ
JP7653557B2 (ja) 可動コネクタ、及びシールドの製造方法
JP2007165194A (ja) コネクタ
KR20160009491A (ko) 회로 기판용 전기 커넥터
TW201401660A (zh) 電連接器組裝體及插座連接器
US7766697B2 (en) Connector
JP4877633B2 (ja) コネクタ
JP6085527B2 (ja) 雌端子
JP2006202656A (ja) 電気コネクタ
WO2012153472A1 (ja) コネクタ端子及びこのコネクタ端子を含むカードエッジ型コネクタ
JP4482568B2 (ja) 電気コネクタ
CN111903017A (zh) 连接器
JP5155116B2 (ja) 二重係止コネクタ
JP4774956B2 (ja) コネクタ、及びコネクタ用レセプタクル
JP2012243676A (ja) コネクタ
JP2007172907A (ja) 複合型コネクタ
JP2012243562A (ja) コネクタ端子及びこのコネクタ端子を含むカードエッジ型コネクタ
JP7348030B2 (ja) コネクタ
JP2013016359A (ja) 端子金具
CN101361232A (zh) 电连接器
JP4353932B2 (ja) グランド板付電気コネクタ

Legal Events

Date Code Title Description
A977 Report on retrieval

Free format text: JAPANESE INTERMEDIATE CODE: A971007

Effective date: 20100524

A131 Notification of reasons for refusal

Free format text: JAPANESE INTERMEDIATE CODE: A131

Effective date: 20100603

A521 Written amendment

Free format text: JAPANESE INTERMEDIATE CODE: A523

Effective date: 20100621

A521 Written amendment

Free format text: JAPANESE INTERMEDIATE CODE: A523

Effective date: 20100802

A02 Decision of refusal

Free format text: JAPANESE INTERMEDIATE CODE: A02

Effective date: 20110317

A521 Written amendment

Free format text: JAPANESE INTERMEDIATE CODE: A523

Effective date: 20110614

A911 Transfer of reconsideration by examiner before appeal (zenchi)

Free format text: JAPANESE INTERMEDIATE CODE: A911

Effective date: 20110808

TRDD Decision of grant or rejection written
A01 Written decision to grant a patent or to grant a registration (utility model)

Free format text: JAPANESE INTERMEDIATE CODE: A01

Effective date: 20111115

A01 Written decision to grant a patent or to grant a registration (utility model)

Free format text: JAPANESE INTERMEDIATE CODE: A01

A61 First payment of annual fees (during grant procedure)

Free format text: JAPANESE INTERMEDIATE CODE: A61

Effective date: 20111118

R150 Certificate of patent or registration of utility model

Free format text: JAPANESE INTERMEDIATE CODE: R150

FPAY Renewal fee payment (event date is renewal date of database)

Free format text: PAYMENT UNTIL: 20141209

Year of fee payment: 3

LAPS Cancellation because of no payment of annual fees