JP2010039764A - イジェクト機構及び電子機器 - Google Patents

イジェクト機構及び電子機器 Download PDF

Info

Publication number
JP2010039764A
JP2010039764A JP2008202028A JP2008202028A JP2010039764A JP 2010039764 A JP2010039764 A JP 2010039764A JP 2008202028 A JP2008202028 A JP 2008202028A JP 2008202028 A JP2008202028 A JP 2008202028A JP 2010039764 A JP2010039764 A JP 2010039764A
Authority
JP
Japan
Prior art keywords
ejection
lock
eject
ejection mechanism
locked
Prior art date
Legal status (The legal status is an assumption and is not a legal conclusion. Google has not performed a legal analysis and makes no representation as to the accuracy of the status listed.)
Granted
Application number
JP2008202028A
Other languages
English (en)
Other versions
JP4885176B2 (ja
Inventor
Keisuke Nakamura
恵介 中村
Current Assignee (The listed assignees may be inaccurate. Google has not performed a legal analysis and makes no representation or warranty as to the accuracy of the list.)
Japan Aviation Electronics Industry Ltd
Original Assignee
Japan Aviation Electronics Industry Ltd
Priority date (The priority date is an assumption and is not a legal conclusion. Google has not performed a legal analysis and makes no representation as to the accuracy of the date listed.)
Filing date
Publication date
Application filed by Japan Aviation Electronics Industry Ltd filed Critical Japan Aviation Electronics Industry Ltd
Priority to JP2008202028A priority Critical patent/JP4885176B2/ja
Priority to US12/456,887 priority patent/US20100033927A1/en
Priority to CN2009101602765A priority patent/CN101644289B/zh
Priority to DE102009036097A priority patent/DE102009036097A1/de
Publication of JP2010039764A publication Critical patent/JP2010039764A/ja
Application granted granted Critical
Publication of JP4885176B2 publication Critical patent/JP4885176B2/ja
Expired - Fee Related legal-status Critical Current
Anticipated expiration legal-status Critical

Links

Images

Classifications

    • GPHYSICS
    • G06COMPUTING OR CALCULATING; COUNTING
    • G06FELECTRIC DIGITAL DATA PROCESSING
    • G06F1/00Details not covered by groups G06F3/00 - G06F13/00 and G06F21/00
    • G06F1/16Constructional details or arrangements
    • G06F1/18Packaging or power distribution
    • G06F1/183Internal mounting support structures, e.g. for printed circuit boards, internal connecting means
    • G06F1/187Mounting of fixed and removable disk drives
    • GPHYSICS
    • G06COMPUTING OR CALCULATING; COUNTING
    • G06KGRAPHICAL DATA READING; PRESENTATION OF DATA; RECORD CARRIERS; HANDLING RECORD CARRIERS
    • G06K13/00Conveying record carriers from one station to another, e.g. from stack to punching mechanism
    • G06K13/02Conveying record carriers from one station to another, e.g. from stack to punching mechanism the record carrier having longitudinal dimension comparable with transverse dimension, e.g. punched card
    • G06K13/08Feeding or discharging cards
    • G06K13/0806Feeding or discharging cards using an arrangement for ejection of an inserted card
    • GPHYSICS
    • G11INFORMATION STORAGE
    • G11BINFORMATION STORAGE BASED ON RELATIVE MOVEMENT BETWEEN RECORD CARRIER AND TRANSDUCER
    • G11B33/00Constructional parts, details or accessories not provided for in the other groups of this subclass
    • G11B33/12Disposition of constructional parts in the apparatus, e.g. of power supply, of modules
    • G11B33/121Disposition of constructional parts in the apparatus, e.g. of power supply, of modules the apparatus comprising a single recording/reproducing device
    • G11B33/123Mounting arrangements of constructional parts onto a chassis
    • G11B33/124Mounting arrangements of constructional parts onto a chassis of the single recording/reproducing device, e.g. disk drive, onto a chassis

Landscapes

  • Engineering & Computer Science (AREA)
  • Theoretical Computer Science (AREA)
  • Physics & Mathematics (AREA)
  • General Physics & Mathematics (AREA)
  • Computer Hardware Design (AREA)
  • Power Engineering (AREA)
  • Human Computer Interaction (AREA)
  • General Engineering & Computer Science (AREA)
  • Details Of Connecting Devices For Male And Female Coupling (AREA)
  • Coupling Device And Connection With Printed Circuit (AREA)

Abstract

【課題】誤操作しにくいイジェクト機構を提供すること。
【解決手段】イジェクト機構200は、被押圧部112を有する対象部材100をイジェクト方向(X方向)に沿ってイジェクトするためのものであり、対象部材100をX方向にイジェクトさせるために被押圧部112を押圧する押圧部410を有するイジェクト部材400と、イジェクト部材400による対象部材100のイジェクトを妨げるロック部材500と、X方向に移動させることによりロック部材500によるイジェクトの妨げを解除するロック解除手段(700,800)とを備えている。
【選択図】図2

Description

本発明は、カードやドライブベイなどの対象物体をイジェクトするための機構及びその機構を含む電子機器に関する。
従来、カードなどの対象物体を押すことによりカードをイジェクトさせるイジェクト機構が知られている(例えば、特許文献1参照)。
特開2006−38170号公報
しかしながら、特許文献1記載のイジェクト機構においては、対象物体に予期せぬ力が加わることにより、対象物体が誤ってイジェクトされてしまうといった問題が生じる恐れがある。
そこで、本発明は、誤操作しにくいイジェクト機構及びそれを備えた電子機器を提供することを目的とする。
本発明によれば、第1のイジェクト機構として、
被押圧部を有する対象部材をイジェクト方向に沿ってイジェクトするイジェクト機構であって、
ベース部材と、
イジェクト位置と非イジェクト位置との間で移動可能となるように前記ベース部材に支持されたイジェクト部材であって、前記非イジェクト位置から前記イジェクト位置まで移動する際に前記被押圧部を前記イジェクト方向に向けて押圧する押圧部を有するイジェクト部材と、
該イジェクト部材を前記イジェクト方向に向けて付勢するイジェクト部材付勢手段と、
ロック位置とアンロック位置との間で移動可能となるように前記ベース部材に支持されたロック部材であって、前記ロック位置にいるときは前記イジェクト部材による前記対象部材のイジェクトを妨げるロック部材と、
前記イジェクト方向に向けて移動させることの可能な操作部材と、
該操作部材を前記イジェクト方向に向けて移動させた際に、当該操作部材の移動を前記ロック部材に伝達して、前記ロック部材を前記ロック位置から前記アンロック位置に移動させる伝達部材と
を備えるイジェクト機構が得られる。
また、本発明によれば、第2のイジェクト機構として、第1のイジェクト機構であって、
前記対象部材は、被ロック部を更に備えるものであり、
前記ロック部材は、前記ロック位置にいる場合に、前記被ロック部をロックするロック部を備えている
イジェクト機構が得られる。
また、本発明によれば、第3のイジェクト機構として、第2のイジェクト機構であって、
前記対象部材は、前記被押圧部及び前記被ロック部を有し且つ前記イジェクト方向と直交する方向に張り出した張出部を備えており、
前記ロック部材が前記ロック位置にいる場合、前記被押圧部、前記被ロック部、前記押圧部及び前記ロック部は、前記イジェクト方向に沿って一直線に並んでいる
イジェクト機構が得られる
また、本発明によれば、第4のイジェクト機構として、第1のイジェクト機構であって、
前記イジェクト部材は、被ロック部を更に備えており、
前記ロック部材は、前記ロック位置にいる場合に、前記被ロック部をロックするロック部を有している
イジェクト機構が得られる。
また、本発明によれば、第5のイジェクト機構として、第4のイジェクト機構であって、
前記ロック部材が前記ロック位置にいる場合、前記被ロック部及び前記ロック部のペアは、前記イジェクト方向と直交する方向において、前記被押圧部及び前記押圧部のペアよりも前記対象部材から離れた位置に位置している
イジェクト機構が得られる。
また、本発明によれば、第6のイジェクト機構として、第2乃至第5のイジェクト機構のいずれかであって、
前記ロック部材が前記ロック位置と前記アンロック位置との間で移動する際、前記ロック部は、前記イジェクトと直交する方向に移動する
イジェクト機構が得られる。
また、本発明によれば、第7のイジェクト機構として、第1乃至第6のイジェクト機構のいずれかであって、
前記ロック部材を前記ロック位置に向けて付勢するロック部材付勢手段を更に備える
イジェクト機構が得られる。
また、本発明によれば、第8のイジェクト機構として、第7のイジェクト機構であって、
前記伝達部材は、前記イジェクト方向に沿って移動可能となるように、前記ベース部に取り付けられており、
前記伝達部材には、カム面が形成されており、
前記ロック部材には、前記ロック部材付勢手段による付勢によって前記カム面に押し付けられカムフォロワとして機能する突起が形成されており、
前記伝達部材の前記イジェクト方向における移動に応じて前記突起が前記カム面をフォローすることにより、前記ロック部材が前記ロック位置と前記アンロック位置との間で移動する
イジェクト機構が得られる。
また、本発明によれば、第9のイジェクト機構として、第8のイジェクト機構であって、
前記伝達部材を前記イジェクト方向の反対方向に向けて付勢する伝達部材付勢手段を更に備えている
イジェクト機構が得られる。
また、本発明によれば、第10のイジェクト機構として、第1乃至第9のイジェクト機構のいずれかであって、
前記操作部材は、ねじりコイルばねとピンを用いて前記伝達部材に取り付けられたプルタブであり、常時は前記ねじりコイルばねにより前記伝達部材の端部近傍に位置しており、操作される際に前記ねじりコイルばねに抗って前記イジェクト方向に向けられる
イジェクト機構が得られる。
また、本発明によれば、第11のイジェクト機構として、第1乃至第10のイジェクト機構のいずれかであって、
前記ロック部材が前記ロック位置にあるか前記アンロック位置にあるかを検出するための検出スイッチを更に備える
イジェクト機構が得られる。
また、本発明によれば、第12のイジェクト機構として、第11のイジェクト機構であって、
前記検出スイッチは、第1及び第2配線部と、前記ロック部材に取り付けられた接続部とを備えており、
前記接続部は、前記ロック部材が前記ロック位置にあるときには前記第1及び第2配線部の少なくともいずれか一方と導通していない状態を保ち、前記ロック部材が前記アンロック位置に移動した際に前記第1及び第2配線部の間を導通するものである
イジェクト機構が得られる。
更に、本発明によれば、第1乃至第12のイジェクト機構のいずれか一つを備えた電子機器が得られる。
本発明によれば、操作部材をイジェクト方向に移動させない限り、イジェクト機構がイジェクト動作をすることがないので、誤操作によるイジェクトの発生の可能性を極めて低いものとすることができる。
以下、本発明に実施の形態によるイジェクト機構について図面を参照して詳細に説明する。
(第1の実施の形態)
図1乃至図3に示されるように、本発明の第1の実施の形態にかかるイジェクト機構200は、ドライブベイ(対象部材)100をイジェクト方向(X方向)に沿ってイジェクトするためのものである。本実施の形態におけるドライブベイ100は、被押圧部112及び被ロック部114を有し且つイジェクト方向と直交する方向(Y方向)に張り出した張出部110を備えている。図示されたイジェクト機構200は、ベース部材300、ドライブベイ100をイジェクトするためのイジェクト部材400、イジェクト部材400によるドライブベイ100のイジェクトを妨げるロック部材500、ロック部材500の位置によりドライブベイ100のイジェクトを検出する検出スイッチ600、イジェクト方向に移動させることによりロック部材500によるドライブベイ100のイジェクトの妨げを解除する伝達部材700及び操作部材800の操作によりロックを解除するロック解除手段、並びにそれらを覆うカバー900を備えている。
図1、図4乃至図6に示されるように、ベース部材300は、イジェクト部材400、ロック部材500、検出スイッチ600の一部、及び伝達部材700を支持するためのものであり、それぞれの支持のために特殊な形状を有している。詳しくは、ベース部材300は、イジェクト部材400の支持のために、裏面に形成されたガイド溝(ガイドレール)310、表面の挿入方向(−X方向)奥側に形成されたガイド穴312、及び表面の挿入方向手前側から上側に向かって突出するように形成されたバネ係止突起316を備えている。また、ベース部材300は、ロック部材500の支持のため、表面から上側に向かって突出するように形成された軸部320、ベース部材300の短手方向(Y方向)において軸部320と対向する位置において下側にスペース324を有するようにして且つX方向に延びるようにして形成された梁部322、及び裏面の梁部322近傍から下側に向かって突出するようにして形成されたバネ係止突起326を備えている。また、ベース部材300は、伝達部材700の支持のため、表面の挿入方向手前側に形成されたガイド部330、ガイド部330の挿入方向奥側においてベース部材300を上下方向に貫通し且つイジェクト・挿入方向に延びる溝部332、及び裏面の溝部332の奥側端部近傍に形成されたバネ係止突起334を備えている。更には、ベース部材300は、検出スイッチ600の一部を保持するため、表面上に2つの配線保持部351,352と配線収容部353を有するとともに、各配線保持部351,352と裏面との間に形成された被圧入部354,355を有している。
図7及び図8に示されるように、イジェクト部材400は、ドライブベイ100の被押圧部112をイジェクト方向に押圧するための押圧部410、ベース部材300のガイド溝310によりガイドされる被ガイド部420、ベース部材300のガイド穴312によりガイドされる被ガイド部430、及び下側に向かって突出したバネ係止突起440を備えている。イジェクト部材400は、ベース部材300のガイド溝310及びガイド穴312による被ガイド部420及び被ガイド部430によって、X方向に移動可能に保持されている。本実施の形態においては、イジェクト部材400の位置のうち挿入方向において最も手前の位置をイジェクト位置とし、最も奥側の位置を非イジェクト位置とする。図5、図7及び図8から理解されるように、本実施の形態においては、イジェクト部材400が、非イジェクト位置にあるとき、イジェクト部材400の当接面432とベース部材300の当接面314とが当接している。本実施の形態におけるイジェクト部材400は、上記のようにしてベース部材300に取り付けられた状態で、更に図4に示されるように、引張りコイルばね450の一端をバネ係止突起440に係止し、他端をバネ係止突起316に係止することで、イジェクト方向(X方向)に向かって付勢されている。即ち、引張りコイルばね450は、イジェクト部材400をイジェクト方向に付勢するイジェクト部材付勢手段として機能している。
図9及び図10に示されるように、ロック部材500は、ドライブベイ100の被ロック部114を受けることでドライブベイ100のイジェクトをロックするロック部510、表面に形成された突起520、ベース部材300の軸部320を挿入される軸孔530、軸孔530の形成されている部位から横方向に延びるアーム部540、及びアーム部540の先端から下側に向かって突出したバネ係止突起550を備えている。図5、図9及び図10から理解されるように、バネ係止突起550を梁部322の下のスペース324に位置させるようにして、軸孔530に軸部320を挿入することにより、ロック部材500はベース部材300に回動可能に支持される。但し、回動範囲は狭い。従って、ロック部材500の回動に伴い、ロック部材500の突起520は実質的にY方向に沿って移動することになり、また、バネ係止突起550は実質的にX方向に沿って移動することになる。本実施の形態においては、ロック部材500の位置のうち、バネ係止突起550が挿入方向において最も手前に位置しているときのロック部材500の位置をアンロック位置とし、バネ係止突起550が挿入方向において最も奥側に位置しているときのロック部材500の位置をロック位置とする。本実施の形態におけるロック部材500は、上記のようにしてベース部材300に取り付けられた状態で、更に、図4に示されるように、引張りコイルばね560の一端をバネ係止突起550に係止し、他端をバネ係止突起326に係止することにより、ロック位置に付勢されている。即ち、引張りコイルばね560は、ロック部材500をロック位置に付勢するロック部材付勢手段として機能している。なお、突起520は、後述するカムシステムにおいてカムフォロワとして機能するものである。また、ロック部510及び突起部520よりも先端側には接続部保持部570が形成されている。
図11に示されるように、検出スイッチ600は、第1配線部610、第2配線部620及び接続部630を備えている。第1配線部610及び第2配線部620は、それぞれ、略L字形状を有しており、一部をベース部材300の配線収容部353に収容された状態で、配線保持部351及び配線保持部352に保持される。第1配線部610及び第2配線部620の角部には、下側に向かって突出した圧入部612及び圧入部622が形成されており、これらをベース部材300の被圧入部354及び被圧入部355に圧入することにより、第1配線部610及び第2配線部620がベース部材300に取り付けられる。これら第1配線部610及び第2配線部620は、ベース部材300に取り付けられた状態において、導通しないように互いに離されている。接続部630は、このような第1配線部610及び第2配線部620を導通させる役割を果たすものであり、ロック部材500の接続部保持部570に保持されている。これにより、ロック部材500がロック位置にある場合には、接続部630が第1配線部610及び第2配線部620のいずれか一方と導通していない状態に保たれるが、ロック部材500がアンロック位置にある場合には、接続部630が第1配線部610と第2配線部62の間を導通させることになる。従って、この検出スイッチ600により、ロック部材500がロック位置にあるかアンロック位置にあるかを検出することができる。
図12及び図13に示されるように、伝達部材700は、伝達部材700をZ方向に貫通したカム孔710、操作部材800を取り付ける操作部材取付部720、裏面に形成された被ガイド部730、及び被ガイド部730の挿入方向奥側の位置に形成されたバネ係止突起740を有している。この伝達部材700は、ロック部材500の突起520をカム孔710内に収容し、且つ、被ガイド部730をベース部材300のガイド部330にガイドさせた状態で、ベース部材300に取り付けられる。この際、伝達部材700のバネ係止突起740は、ベース部材300に形成された溝部332内に位置している。このようにして、伝達部材700は、挿入・イジェクト方向に沿って移動可能な状態で、ベース部材300に支持される。また、伝達部材700は、上記のようにしてベース部材300に取り付けられた状態で、更に図4に示されるように、引張りコイルばね750の一端をバネ係止突起740に係止し、他端をバネ係止突起334に係止することで、挿入方向(即ち、イジェクト方向とは逆方向)に向けて付勢されている。このことから理解されるように、引張りコイルばね750は、伝達部材700を付勢する伝達部材付勢手段として機能している。
図12及び図13に示されるように、カム孔710の側面のうち、ドライブベイ100側の側面は、Y方向において平坦ではない面であり、カム面712として機能する。本実施の形態においては、ロック部材500が引張りコイルばね560によりロック位置に付勢されていることから、ロック部材500の突起520は常にカム面712に押し付けられている。この状態で、伝達部材700がX方向に移動すると、突起520はカム面712をフォローするカムフォロワ―として機能する。即ち、X方向に移動する伝達部材700によって、突起520は実質的にY方向に移動させられる。このように、本実施の形態においては、伝達部材700をX方向に移動させることによって、ロック部材500をロック位置からアンロック位置に移動させることができる。
図14に示されるように、操作部材800は、主部材たるプルタブ810、ピン820及びねじりコイルばね830を備えており、図12に示されるように、伝達部材700の操作部材取付部720もそれにあわせた構造を備えている。伝達部材700の操作部材取付部720には、ピン820を通すための軸孔722と、ねじりコイルばね830の一端832が当接させられる当接部724と、ねじりコイルばね830の他端834を保持する保持部726が形成されている。かかる構造によれば、ねじりコイルばね830の一端832を当接部724に当接させた状態で他端834を保持部726に保持させるようにして、ねじりコイルばね830を操作部材取付部720に取り付けた後、プルタブ810の軸孔812,814がねじりコイルばね830の孔と一致するように、プルタブ810を操作部材取付部720に取り付け、更にピン820を軸孔812、ねじりコイルばね830、軸孔722及び軸孔812に通すことにより、操作部材800が操作部材取付部720に取り付けられる
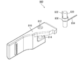
図1及び図15に示されるように、本実施の形態におけるカバー900には、窓910が形成されており、イジェクト部材400の押圧部410及びロック部材500のロック部510が窓910を通じてドライブベイ100側に突出することができるようになっている。従って、イジェクト部材400やロック部材500、及び伝達部材700などをカバー900で覆ったとしても、それぞれ、上述したような動きを行うことができる。
ここで、上述した構成を備えるイジェクト機構200について、簡単に動作を説明する。図1に示されるように、イジェクト機構200において、操作部材800のプルタブ810は、常時は、伝達部材700の挿入方向の後端(即ち、イジェクト方向の先端)と平行(y方向)となっている。図2及び図3に示されるように、イジェクト動作をさせる際には、この操作部材800(プルタブ810)をイジェクト方向に突出するように起こした後、その操作部材800をイジェクト方向に引っ張る。操作部材800をイジェクト方向に引っ張ると、それに伴って伝達部材700もイジェクト方向に移動することとなり、その動きが突起520を通じてロック部材500に伝達される。それにより、ロック部材500は、ロック位置からアンロック位置に移動させられる。イジェクト部材400はドライブベイ100を常時イジェクト方向に付勢しているので、ロック部材500がアンロック位置に移動すると、ドライブベイ100はイジェクト部材400によりイジェクトされる。このように、本実施の形態においては、操作部材800をイジェクト方向に引っ張ることにより、ドライブベイ100のイジェクトを行わせているので、誤操作が生じにくくなっている。
(第2の実施の形態)
本発明の第2の実施の形態によるイジェクト機構は、上述した第1の実施の形態によるイジェクト機構200の変形例であり、以下においては、本実施の形態における特徴的な部分についてのみ説明し、その他の部分についての説明は省略することとする。概説すると、上述した第1の実施の形態においては、ロック部材500のロック部510によってロックされる部位である被ロック部114がドライブベイ100に設けられていたが、本実施の形態においては、イジェクト部材に設けられている点で、両者は異なっている。
図16に示されるように、本実施の形態におけるイジェクト部材400aは、第1の実施の形態と同様に押圧部410aなどを有していることに加え、表面上に形成された被ロック部460aを有している。本実施の形態における被ロック部460は、イジェクト部材400aの主部を下側に凹ませたような凹部であって側部にも通じているような凹部である。
一方、図17に示されるように、本実施の形態におけるロック部材500aは、第1の実施の形態と同様に軸孔530aなどを有していることに加え、裏面から下側に向かって盛り上がったロック部580aを有している。
かかる構成によれば、図18に示されるように、ロック部材500aがロック位置にあるとき、ロック部580aは被ロック部460aに収容され、それによってイジェクト部材400aのイジェクト方向への移動を直接的にロックしている。なお、本実施の形態においては、第1の実施の形態においてロック部として機能していた部位510a(図17参照)は、ドライブベイ100の張出部110には当接しておらず、従ってロック部としては機能していない。
一方、図19に示されるように、ロック部材500aがアンロック位置に移動すると、ロック部580aはX方向に沿って被ロック部460aの外部に移動し、それによってロック部材500aによるイジェクト部材400aのロックが解除され、イジェクト部材400aは、図示されたようにイジェクト方向に移動する。
本実施の形態においても、上述したイジェクト動作のトリガとなるのは操作部材をイジェクト方向へ引く動作であり、かかる動作は偶然に行われる確率は極めて低いため、誤操作を防止することが可能となる。
本発明の第1の実施の形態によるイジェクト機構を示す斜視図である。 図1のイジェクト機構を示す斜視図である。ここでは、カバーが省略されている。また、プルタブが引き起こされているが、イジェクト部材はまだ非イジェクト位置に位置している。 図1のイジェクト機構を示す斜視図である。ここでは、カバーが省略されている。また、プルタブがイジェクト方向に引かれ、イジェクト部材がイジェクト位置に位置している。 図1のイジェクト機構を底面側から見た場合の斜視図である。ここで、イジェクト部材は非イジェクト位置に位置している。 図1のイジェクト機構に含まれるベース部材を示す斜視図である。 図5のベース部材を裏側から見た場合の斜視図である。 図1のイジェクト機構に含まれるイジェクト部材を示す斜視図である。 図7のイジェクト部材を裏側から見た場合の斜視図である。 図1のイジェクト機構に含まれるロック部材を示す斜視図である。 図10のロック部材を示す斜視図である。 図10のロック部材と検出スイッチを示す斜視図である。 図1のイジェクト機構に含まれる伝達部材を示す斜視図である。 図12の伝達部材を裏側から見た場合の斜視図である。 図1のイジェクト機構に含まれる操作部材を示す斜視図である。 図1のイジェクト機構に含まれるカバーを示す斜視図である。 本発明の第2の実施の形態によるイジェクト機構に含まれるイジェクト部材を示す斜視図である。 図16のイジェクト部材に対応するロック部材を示す斜視図である。 図17のロック部材による図16のイジェクト部材のロック状態を示す斜視図である。 図17のロック部材による図16のイジェクト部材のアンロック状態を示す斜視図である。
符号の説明
100 ドライブベイ
110 張出部
112 被押圧部
114 被ロック部
200 イジェクト機構
300 ベース部材
310 ガイド溝
312 ガイド穴
314 当接面
316 バネ係止突起
320 軸部
322 梁部
324 スペース
326 バネ係止突起
330 ガイド部
332 溝部
334 バネ係止突起
351 配線保持部
352 配線保持部
353 配線収容部
354 被圧入部
355 被圧入部
400 イジェクト部材
400a イジェクト部材
410 押圧部
410a 押圧部
420 被ガイド部
430 被ガイド部
432 当接面
440 バネ係止突起
450 引張りコイルばね(イジェクト部材付勢手段)
460a 被ロック部
500 ロック部材
500a ロック部材
510 ロック部
510a 部位
520 突起(カムフォロワ)
530 軸孔
530a 軸孔
540 アーム部
550 バネ係止突起
560 引張りコイルばね(ロック部材付勢手段)
570 接続部保持部
580a ロック部
600 検出スイッチ
610 第1配線部
612 圧入部
622 圧入部
620 第2配線部
630 接続部
700 伝達部材
710 カム孔
712 カム面
720 操作部材取付部
722 軸孔
724 当接部
726 保持部
730 被ガイド部
740 バネ係止突起
750 引張りコイルばね(伝達部材付勢手段)
800 操作部材
810 プルタブ
812 軸孔
814 軸孔
820 ピン
830 ねじりコイルばね
832 一端
834 他端
900 カバー
910 窓

Claims (14)

  1. 被押圧部を有する対象部材をイジェクト方向に沿ってイジェクトするイジェクト機構であって、
    ベース部材と、
    イジェクト位置と非イジェクト位置との間で移動可能となるように前記ベース部材に支持されたイジェクト部材であって、前記非イジェクト位置から前記イジェクト位置まで移動する際に前記被押圧部を前記イジェクト方向に向けて押圧する押圧部を有するイジェクト部材と、
    該イジェクト部材を前記イジェクト方向に向けて付勢するイジェクト部材付勢手段と、
    ロック位置とアンロック位置との間で移動可能となるように前記ベース部材に支持されたロック部材であって、前記ロック位置にいるときは前記イジェクト部材による前記対象部材のイジェクトを妨げるロック部材と、
    前記イジェクト方向に向けて移動させることの可能な操作部材と、
    該操作部材を前記イジェクト方向に向けて移動させた際に、当該操作部材の移動を前記ロック部材に伝達して、前記ロック部材を前記ロック位置から前記アンロック位置に移動させる伝達部材と
    を備えるイジェクト機構。
  2. 請求項1記載のイジェクト機構であって、
    前記対象部材は、被ロック部を更に備えるものであり、
    前記ロック部材は、前記ロック位置にいる場合に、前記被ロック部をロックするロック部を備えている
    イジェクト機構。
  3. 請求項2記載のイジェクト機構であって、
    前記対象部材は、前記被押圧部及び前記被ロック部を有し且つ前記イジェクト方向と直交する方向に張り出した張出部を備えており、
    前記ロック部材が前記ロック位置にいる場合、前記被押圧部、前記被ロック部、前記押圧部及び前記ロック部は、前記イジェクト方向に沿って一直線に並んでいる
    イジェクト機構。
  4. 請求項1記載のイジェクト機構であって、
    前記イジェクト部材は、被ロック部を更に備えており、
    前記ロック部材は、前記ロック位置にいる場合に、前記被ロック部をロックするロック部を有している
    イジェクト機構。
  5. 請求項4記載のイジェクト機構であって、
    前記ロック部材が前記ロック位置にいる場合、前記被ロック部及び前記ロック部のペアは、前記イジェクト方向と直交する方向において、前記被押圧部及び前記押圧部のペアよりも前記対象部材から離れた位置に位置している
    イジェクト機構。
  6. 請求項2乃至請求項5のいずれかに記載のイジェクト機構であって、
    前記ロック部材が前記ロック位置と前記アンロック位置との間で移動する際、前記ロック部は、前記イジェクトと直交する方向に移動する
    イジェクト機構。
  7. 請求項1乃至請求項6のいずれかに記載のイジェクト機構であって、
    前記ロック部材を前記ロック位置に向けて付勢するロック部材付勢手段を更に備える
    イジェクト機構。
  8. 請求項7記載のイジェクト機構であって、
    前記伝達部材は、前記イジェクト方向に沿って移動可能となるように、前記ベース部に取り付けられており、
    前記伝達部材には、カム面が形成されており、
    前記ロック部材には、前記ロック部材付勢手段による付勢によって前記カム面に押し付けられカムフォロワとして機能する突起が形成されており、
    前記伝達部材の前記イジェクト方向における移動に応じて前記突起が前記カム面をフォローすることにより、前記ロック部材が前記ロック位置と前記アンロック位置との間で移動する
    イジェクト機構。
  9. 請求項8記載のイジェクト機構であって、
    前記伝達部材を前記イジェクト方向の反対方向に向けて付勢する伝達部材付勢手段を更に備えている
    イジェクト機構。
  10. 請求項1乃至請求項9のいずれかに記載のイジェクト機構であって、
    前記操作部材は、ねじりコイルばねとピンを用いて前記伝達部材に取り付けられたプルタブであり、常時は前記ねじりコイルばねにより前記伝達部材の端部近傍に位置しており、操作される際に前記ねじりコイルばねに抗って前記イジェクト方向に向けられる
    イジェクト機構。
  11. 請求項1乃至請求項10のいずれかに記載のイジェクト機構であって、
    前記ロック部材が前記ロック位置にあるか前記アンロック位置にあるかを検出するための検出スイッチを更に備える
    イジェクト機構。
  12. 請求項11記載のイジェクト機構であって、
    前記検出スイッチは、第1及び第2配線部と、前記ロック部材に取り付けられた接続部とを備えており、
    前記接続部は、前記ロック部材が前記ロック位置にあるときには前記第1及び第2配線部の少なくともいずれか一方と導通していない状態を保ち、前記ロック部材が前記アンロック位置に移動した際に前記第1及び第2配線部の間を導通するものである
    イジェクト機構。
  13. 請求項1乃至請求項12のいずれかに記載のイジェクト機構を備えた電子機器。
  14. 被押圧部を有する対象部材をイジェクト方向に沿ってイジェクトするイジェクト機構であって、
    前記対象部材を前記イジェクト方向にイジェクトさせるために前記被押圧部を押圧する押圧部を有するイジェクト部材と、
    前記イジェクト部材による前記イジェクトを妨げるロック部材と、
    前記イジェクト方向に移動させることにより前記ロック部材による前記イジェクトの妨げを解除するロック解除手段と
    を備えるイジェクト機構。
JP2008202028A 2008-08-05 2008-08-05 イジェクト機構及び電子機器 Expired - Fee Related JP4885176B2 (ja)

Priority Applications (4)

Application Number Priority Date Filing Date Title
JP2008202028A JP4885176B2 (ja) 2008-08-05 2008-08-05 イジェクト機構及び電子機器
US12/456,887 US20100033927A1 (en) 2008-08-05 2009-06-24 Eject mechanism and electrical apparatus comprising the same
CN2009101602765A CN101644289B (zh) 2008-08-05 2009-07-31 弹出机构和包括弹出机构的电子设备
DE102009036097A DE102009036097A1 (de) 2008-08-05 2009-08-04 Auswerfermechanismus und elektrisches Gerät, das diesen aufweist

Applications Claiming Priority (1)

Application Number Priority Date Filing Date Title
JP2008202028A JP4885176B2 (ja) 2008-08-05 2008-08-05 イジェクト機構及び電子機器

Publications (2)

Publication Number Publication Date
JP2010039764A true JP2010039764A (ja) 2010-02-18
JP4885176B2 JP4885176B2 (ja) 2012-02-29

Family

ID=41652751

Family Applications (1)

Application Number Title Priority Date Filing Date
JP2008202028A Expired - Fee Related JP4885176B2 (ja) 2008-08-05 2008-08-05 イジェクト機構及び電子機器

Country Status (4)

Country Link
US (1) US20100033927A1 (ja)
JP (1) JP4885176B2 (ja)
CN (1) CN101644289B (ja)
DE (1) DE102009036097A1 (ja)

Families Citing this family (4)

* Cited by examiner, † Cited by third party
Publication number Priority date Publication date Assignee Title
CN110149778B (zh) * 2019-05-30 2021-06-15 中国科学院长春光学精密机械与物理研究所 一种弹出机构以及电子设备
CN112033101B (zh) * 2020-09-11 2021-08-27 南京幸庄科技创新产业园管理有限公司 一种建筑瓷砖制备干燥处理方法
TWI806513B (zh) * 2022-03-23 2023-06-21 緯創資通股份有限公司 殼體組件與包括其之電子裝置
CN120035075B (zh) * 2025-03-27 2025-09-16 西安荣耀终端有限公司 一种电子设备及按压式弹出锁定组件

Citations (5)

* Cited by examiner, † Cited by third party
Publication number Priority date Publication date Assignee Title
JPS6353779A (ja) * 1986-08-25 1988-03-08 Canon Inc 電子機器
JP2000183553A (ja) * 1998-12-11 2000-06-30 Nec Shizuoka Ltd デバイスベイユニットの装着構造
JP2001067146A (ja) * 1999-08-31 2001-03-16 Fujitsu Ltd コンピューター用拡張ユニットのロック装置
JP2004119140A (ja) * 2002-09-25 2004-04-15 Sony Corp 電子機器及び制御方法
JP2005332355A (ja) * 2004-05-18 2005-12-02 Tatung Co カートリッジ式保存装置のつかみ取り装置

Family Cites Families (14)

* Cited by examiner, † Cited by third party
Publication number Priority date Publication date Assignee Title
JPS59221884A (ja) * 1983-05-31 1984-12-13 Toshiba Corp フロツピ−磁気デイスク装置
US5225293A (en) * 1992-01-24 1993-07-06 Compaq Computer Corporation Dual action battery latch for a notebook computer
KR970022658A (ko) * 1995-10-30 1997-05-30 김광호 주변 기기의 분리 장착이 용이한 컴퓨터
US5793614A (en) * 1996-09-03 1998-08-11 Tektronix, Inc. Injector/ejector for electronic module housing
JP3566045B2 (ja) * 1997-10-02 2004-09-15 アルプス電気株式会社 記録媒体の装着装置
US6774808B1 (en) * 2000-05-17 2004-08-10 Dell Products L.P. Electromechanical lock for components
TW484047B (en) * 2000-12-13 2002-04-21 Acer Inc Computer module carrier
JP3742564B2 (ja) * 2001-04-05 2006-02-08 本多通信工業株式会社 ポップアップ機構及びそれを備えたpcカード
US6667879B2 (en) * 2001-12-13 2003-12-23 Hewlett-Packard Development Company, L.P. System for latching and ejecting a modular component from an electronic device
JP3946717B2 (ja) 2004-07-29 2007-07-18 日本航空電子工業株式会社 ラッチ装置
JP4334438B2 (ja) * 2004-08-20 2009-09-30 富士通株式会社 着脱装置、ユニット及びそれを有する電子機器
US7261574B2 (en) * 2004-09-13 2007-08-28 Hewlett-Packard Development Company, L.P. Latch for connecting a component to a device
KR100647254B1 (ko) * 2004-11-05 2006-11-23 엘지전자 주식회사 휴대용 컴퓨터의 기기교환장치
TWI341452B (en) * 2008-07-31 2011-05-01 Inventec Corp A host with a removable device

Patent Citations (5)

* Cited by examiner, † Cited by third party
Publication number Priority date Publication date Assignee Title
JPS6353779A (ja) * 1986-08-25 1988-03-08 Canon Inc 電子機器
JP2000183553A (ja) * 1998-12-11 2000-06-30 Nec Shizuoka Ltd デバイスベイユニットの装着構造
JP2001067146A (ja) * 1999-08-31 2001-03-16 Fujitsu Ltd コンピューター用拡張ユニットのロック装置
JP2004119140A (ja) * 2002-09-25 2004-04-15 Sony Corp 電子機器及び制御方法
JP2005332355A (ja) * 2004-05-18 2005-12-02 Tatung Co カートリッジ式保存装置のつかみ取り装置

Also Published As

Publication number Publication date
US20100033927A1 (en) 2010-02-11
CN101644289A (zh) 2010-02-10
JP4885176B2 (ja) 2012-02-29
DE102009036097A1 (de) 2010-03-25
CN101644289B (zh) 2012-09-05

Similar Documents

Publication Publication Date Title
KR100916383B1 (ko) 잠금 장치 및 그것을 구비한 커넥터 장치
JP3729696B2 (ja) Icカード用コネクタ
US8240176B2 (en) Steering lock device
US8811025B2 (en) Connector
CN101964483B (zh) 连接器组装体
JP5688257B2 (ja) バックル装置
EP2330000B1 (en) Steering lock device
JP3729697B2 (ja) Icカード用コネクタ
JP3909923B2 (ja) カードコネクタ
JP4885176B2 (ja) イジェクト機構及び電子機器
US8925416B2 (en) Steering lock device
JP5801347B2 (ja) コネクタ装置及びそれを備える電子機器
US20110232052A1 (en) Switch-equipped buckle device
JP5510681B2 (ja) カードコネクタ
JP5491967B2 (ja) ステアリングロック装置
US20060166533A1 (en) Card connector
KR101359745B1 (ko) 전기 커넥터
JP5287468B2 (ja) 挿抜機構及びブレードサーバ
JP4474355B2 (ja) カード用コネクタ装置
JP2012028337A5 (ja)
JP5070623B2 (ja) ソレノイド式施錠・解錠機構
KR20040108549A (ko) 카드커넥터
JP4582788B2 (ja) 錠装置
JP4023394B2 (ja) メモリカード用ソケット
JP2011171141A (ja) カード用コネクタ

Legal Events

Date Code Title Description
A977 Report on retrieval

Free format text: JAPANESE INTERMEDIATE CODE: A971007

Effective date: 20100701

A131 Notification of reasons for refusal

Free format text: JAPANESE INTERMEDIATE CODE: A131

Effective date: 20100729

A521 Request for written amendment filed

Free format text: JAPANESE INTERMEDIATE CODE: A523

Effective date: 20100921

A02 Decision of refusal

Free format text: JAPANESE INTERMEDIATE CODE: A02

Effective date: 20101014

A521 Request for written amendment filed

Free format text: JAPANESE INTERMEDIATE CODE: A523

Effective date: 20111104

A01 Written decision to grant a patent or to grant a registration (utility model)

Free format text: JAPANESE INTERMEDIATE CODE: A01

A61 First payment of annual fees (during grant procedure)

Free format text: JAPANESE INTERMEDIATE CODE: A61

Effective date: 20111207

FPAY Renewal fee payment (event date is renewal date of database)

Free format text: PAYMENT UNTIL: 20141216

Year of fee payment: 3

R150 Certificate of patent or registration of utility model

Free format text: JAPANESE INTERMEDIATE CODE: R150

R250 Receipt of annual fees

Free format text: JAPANESE INTERMEDIATE CODE: R250

R250 Receipt of annual fees

Free format text: JAPANESE INTERMEDIATE CODE: R250

LAPS Cancellation because of no payment of annual fees