JP2010038952A - 画像形成装置 - Google Patents

画像形成装置 Download PDF

Info

Publication number
JP2010038952A
JP2010038952A JP2008198283A JP2008198283A JP2010038952A JP 2010038952 A JP2010038952 A JP 2010038952A JP 2008198283 A JP2008198283 A JP 2008198283A JP 2008198283 A JP2008198283 A JP 2008198283A JP 2010038952 A JP2010038952 A JP 2010038952A
Authority
JP
Japan
Prior art keywords
opening
recording material
pressure
image forming
closing member
Prior art date
Legal status (The legal status is an assumption and is not a legal conclusion. Google has not performed a legal analysis and makes no representation as to the accuracy of the status listed.)
Granted
Application number
JP2008198283A
Other languages
English (en)
Other versions
JP5247285B2 (ja
JP2010038952A5 (ja
Inventor
Yuji Nakayashiki
雄司 中屋敷
Current Assignee (The listed assignees may be inaccurate. Google has not performed a legal analysis and makes no representation or warranty as to the accuracy of the list.)
Canon Inc
Original Assignee
Canon Inc
Priority date (The priority date is an assumption and is not a legal conclusion. Google has not performed a legal analysis and makes no representation as to the accuracy of the date listed.)
Filing date
Publication date
Application filed by Canon Inc filed Critical Canon Inc
Priority to JP2008198283A priority Critical patent/JP5247285B2/ja
Publication of JP2010038952A publication Critical patent/JP2010038952A/ja
Publication of JP2010038952A5 publication Critical patent/JP2010038952A5/ja
Application granted granted Critical
Publication of JP5247285B2 publication Critical patent/JP5247285B2/ja
Active legal-status Critical Current
Anticipated expiration legal-status Critical

Links

Images

Landscapes

  • Fixing For Electrophotography (AREA)
  • Electrophotography Configuration And Component (AREA)
  • Control Or Security For Electrophotography (AREA)

Abstract

【課題】記録材のいかなる部分が定着ニップ部に挟持されている場合においても、ジャム処理作業時に定着ニップ部の圧力をより確実に解除し、記録材の破損を防止し、定着手段の構成部材にもダメージを与えること無くジャム処理作業が行える画像形成装置を提供する。
【解決手段】装置の前側後側にそれぞれ開閉可能に装置前側開閉部32及び装置後側開閉部33が設けられ、それぞれの開閉部に対して、開閉部の開閉状態を検知する検知手段、定着ニップ部の加圧力を解除する圧解除手段、及び、開閉部と圧解除手段とを連動させる連動手段が設けられ、装置前側開閉部32及び装置後側開閉部33のうち少なくともいずれか一方の開閉部材の開動作が行われた場合、前記開動作に連動して定着ニップ部の加圧力が解除されるとともに、制御部により画像形成動作が規制される。
【選択図】図7

Description

本発明は、シート等の記録材上に画像を形成する機能を備えた、例えば、複写機、プリンタ、ファクシミリなどの画像形成装置に関するものである。
従来、複写機・プリンタ・ファクシミリなどの画像形成装置においては、電子写真・静電記録・磁気記録等の作像プロセス手段により記録材に転写方式または直接方式で未定着可視像を形成する。そして、記録材上の未定着可視像を定着手段で永久固着像として記録材を画像形成物として出力する。
定着手段としては、記録材を定着ニップで挟持搬送して記録材を加熱・加圧することにより、可視像を記録材に定着させる、熱ローラ方式、フィルム加熱方式等の接触加熱方式の定着装置が広く用いられている。
これらの接触加熱方式の定着装置を用いた画像形成装置では、この定着装置内で記録材のジャムが発生した場合には、画像形成装置本体に対して開閉可能で定着装置部分を開放するよう、定着装置近傍に設けられた開閉部を開き、詰まった記録材の除去を行う。
この時、定着ニップ部には加圧力がかかっている為、不用意に記録材を除去しようとすると、記録材を破損させ、破損した記録材片が装置内に残留し、定着装置の部品にダメージを与える可能性があった。
そこで、特許文献1,2では、定着装置用紙搬送方向下流側近傍に設けられた開閉部の開閉動作と連動して定着ニップ部の加圧力を解除するような機構が開示されている。また、特許文献3では定着装置へのアクセスが画像形成装置前方からに限られた構成の場合に、作像プロセス手段の脱着に連動して定着ニップ圧を解除、セットする機構が開示されている。
特開2002−29648号公報 特開2007−33897号公報 特開平8−129318号公報
しかしながら、上記のような従来の構成では、ジャムした記録材の位置によっては記録材を除去し難い場合がある。
例えば、定着ニップ部に記録材先端が挟持された状態でジャムが検知された場合、記録材搬送方向後方に設けられた開閉部から記録材を除去しようとした場合、定着ニップ圧が解除されていても、記録材先端をつかみ記録材搬送方向へ引き抜くことは困難である。これは、安全面の問題から作業者が定着ニップ部近傍を直接触れられない様に構成されているためである。
従って作業者は、後方の開閉部を開き、定着ニップ部の圧力を解除した後に画像形成装置前側の開閉部を開き、記録材の後端をつかみ記録材搬送方向とは逆方向に引き抜いて記録材を除去する必要がある。
また、定着装置へのアクセスが装置前方方向からに限られる場合も、記録材後端が定着
ニップ部に挟持された状態でジャムが検知された場合には、次のようにして記録材を引き抜く必要がある。すなわち、画像形成装置前方の開閉部材を開け、作像プロセス部を画像形成装置から取り外し、定着ニップ部の圧力を解除した後に、排出口から記録材搬送方向に記録材を引き抜く必要がある。
本発明は上記したような事情に鑑みてなされたものであり、次に示す画像形成装置を提供することを目的とする。それは、記録材のいかなる部分が定着ニップ部に挟持されている場合においても、ジャム処理作業時に定着ニップ部の圧力をより確実に解除し、記録材の破損を防止し、定着手段の構成部材にもダメージを与えること無くジャム処理作業が行える画像形成装置である。
上記目的を達成するために本発明にあっては、
記録材に未定着画像を形成する画像形成手段と、
未定着画像が形成された記録材を、圧付与手段により加圧力が付与されたニップ部で挟持搬送して前記未定着画像を前記記録材に定着させる定着手段と、
を備えた画像形成装置において、
前記ニップ部で挟持搬送される記録材の搬送方向に対して交差する装置本体の2つの側面のうち一方の側面に設けられ、装置本体に対して開閉可能な第1開閉部材と、
前記2つの側面のうち他方の側面に設けられ、装置本体に対して開閉可能な第2開閉部材と、
前記ニップ部の加圧力を解除する第1圧解除手段と、
前記ニップ部の加圧力を解除する第2圧解除手段と、
前記第1開閉部材の開動作と前記第1圧解除手段の圧解除動作とを連動させる第1連動手段と、
前記第2開閉部材の開動作と前記第2圧解除手段の圧解除動作とを連動させる第2連動手段と、
前記第1開閉部材の開閉状態を検知する第1検知手段と、
前記第2開閉部材の開閉状態を検知する第2検知手段と、
前記第1検知手段及び前記第2検知手段のうち少なくともいずれか一方の検知手段により、前記第1開閉部材及び前記第2開閉部材のうち少なくともいずれか一方の開閉部材が開状態にあると検知された場合に、前記画像形成手段による画像形成動作を規制する制御手段と、
を備え、
前記第1開閉部材及び前記第2開閉部材のうち少なくともいずれか一方の開閉部材の開動作が行われた場合、前記開動作に連動して前記ニップ部の加圧力が解除されるとともに、前記制御手段により前記画像形成動作が規制されることを特徴とする。
本発明によれば、記録材のいかなる部分が定着ニップ部に挟持されている場合でも、ジャム処理作業時に定着ニップ部の圧力をより確実に解除し、記録材の破損を防止し、定着手段の構成部材にもダメージを与えること無くジャム処理作業が行うことが可能となる。
以下に図面を参照して、この発明を実施するための最良の形態を例示的に詳しく説明する。ただし、この実施の形態に記載されている構成部品の寸法、材質、形状それらの相対配置などは、発明が適用される装置の構成や各種条件により適宜変更されるべきものであり、この発明の範囲を以下の実施の形態に限定する趣旨のものではない。
本発明は、記録材に未定着画像を形成し、その未定着画像を定着手段のニップ部で挟持
搬送することにより加熱、加圧することにより、記録材に定着させ機外へ排出する、プリンタ、複写機、ファクシミリ等の画像形成装置に関するものである。
以下、本発明の実施例1を図面に基づいて説明する。
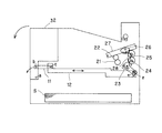
図1は、本発明の実施例1に係る画像形成装置の概略構成を示す断面図である。本実施例の画像形成装置は転写式電子写真方式のレーザビームプリンタである。
まず、図1を用いて本実施例の画像形成装置の全体的な構成について説明する。
プリント開始の信号が装置に入力されると、レーザスキャナ31が画像情報に応じたレーザ光を、図1において反時計回りに回転している感光ドラムDの表面上に照射し、感光ドラムDの表面上に静電潜像が形成される。この静電潜像は現像部30によりトナー現像される。なお、以下の説明では、図1に示す断面の状態において、反時計回り、時計回りをいうものとする。
また、プリント開始の信号が画像形成装置に入力されると、図示しない記録材積載部に収納されている記録材Sが時計回りに回転する給送ローラR1によって最上位の記録材から順に繰り出される。
繰り出された記録材Sは、搬送ローラ対R2,R3によって感光ドラムDと転写ローラTRの間の転写部に送られる。転写部を通過する記録材Sには感光ドラムDの表面上に形成されたトナー像が転写ローラによって転写されていく。転写部を通過することで未定着のトナー像(未定着画像)が形成された記録材Sは定着手段としての定着装置へと送られる。ここで、感光ドラムD、現像部30及び転写ローラTRは、画像形成手段に相当する。
定着装置で記録材Sは加圧ローラ21と加熱ユニット22で形成される定着ニップ部(ニップ部)で挟持され、加熱加圧されることにより、転写されたトナー像が記録材表面に定着される。定着装置を通過した記録材Sは作業者(操作者)により選択された排出部から排出される。
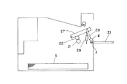
図2は、本実施例の画像形成装置の装置前側に設けられた装置前側開閉部32と、定着ニップ部の圧解除手段との連動部を示している。図3は、本実施例において、装置前側開閉部32の開状態における圧解除手段の連動部を示している。ここで、装置前側開閉部32は、定着ニップ部で挟持搬送される記録材の搬送方向に対して交差する装置本体の2つの側面のうち一方の側面に設けられ、装置本体に対して開閉可能に設けられた第1開閉部材に相当する。
定着部の加熱ユニット22が、圧付与手段としての加圧板27及び加圧バネ28により加圧ローラ21に押圧されることで、定着ニップ部には加圧力が付与されている。装置前側開閉部32は、画像形成装置に対して支点(支持部)aを中心に反時計回りに回動するように配設されており、リンクアーム小11、リンクアーム大12、リンクギア23、アイドラギア24、アイドラギア25を介して圧解除カム26に連結されている。ここで、リンクアーム小11、リンクアーム大12、リンクギア23、アイドラギア24、アイドラギア25は、装置前側開閉部32の開動作と、圧解除カム26の圧解除動作を連動させる第1連動手段に相当する。また、圧解除カム26は、第1圧解除手段に相当する。
リンクアーム小11は装置前側開閉部32と連結部bで、リンクアーム大12とは連結
部cで回動可能に連結されている。また、リンクアーム大12は、図示しない保持部材によって水平方向にだけ往復移動可能に保持されている。
リンクギア23は、支点dを中心に回動可能に連結部eによってリンクアーム大12と連結されている。リンクギア23の扇形部は歯車歯型を有しており、アイドラギア24、アイドラギア25に回転モーメントを伝達する。また、圧解除カム26の扇形部は歯車歯型を有しており、アイドラギア25と連結されている。
装置前側開閉部32を反時計回りに回転させると、各伝達部材を介して圧解除カム26が反時計回りに回転することで加圧板27と当接し、さらに加圧板27を押し上げることで(図3に示す点線の位置から実線の位置に移動)、定着ニップ部の圧力が解除される。ここで、装置前側開閉部32の開動作によって圧解除カム26が加圧板27を押し上げる場合、加圧バネ28により定着ニップ部に付与された加圧力が、開放された装置前側開閉部32にかかる力(支点aに作用する力)の反力(抗力)として作用することとなる。
装置前側開閉部32と画像形成装置本体との間には、レーザスキャナからのレーザ光漏れや、動作中の駆動歯車へのユーザアクセス防止等の安全面への配慮から、第1検知手段として図示しないインターロックスイッチ機構の安全装置が設けられている。
このことにより、装置前側開閉部32が開放された場合にはプリント動作(画像形成動作)が規制(禁止)され、装置前側開閉部32が閉じられない限り、プリント待機状態、及びプリント動作が再開されることは無い。この為、定着ニップ部の圧力が解除されたままの状態でプリント動作が開始することはない。
図4は、本実施例の画像形成装置の装置後側に設けられた装置後側開閉部33と定着ニップ部の圧解除手段との連動部を示している。図5は、本実施例において、装置後側開閉部33の開状態における圧解除手段の連動部を示している。ここで、装置後側開閉部33は、定着ニップ部で挟持搬送される記録材の搬送方向に対して交差する装置本体の2つの側面のうち他方の側面に設けられ、装置本体に対して開閉可能に設けられた第2開閉部材に相当する。
装置後側開閉部33は、支点fを中心に時計回りに回動するように配設されている。圧解除アーム29は、図示しない保持部材によりh方向にだけ往復移動可能に保持されている。
装置後側開閉部33を時計回りに回転させると、装置後側開閉部33のカム形状gが圧解除アーム29と当接し、圧解除アーム29をh方向に押し上げる。押し上げられた圧解除アーム29は加圧板27と当接し、さらに加圧板27を押し上げることで、定着ニップ部の圧力が解除される。ここで、装置後側開閉部33の開動作によって圧解除アーム29が加圧板27を押し上げる場合、加圧バネ28により定着ニップ部に付与された加圧力が、開放された装置後側開閉部33にかかる力(支点fに作用する力)の反力として作用することとなる。装置後側開閉部33のカム形状gは、装置後側開閉部33の開動作と、圧解除アーム29の圧解除動作とを連動させる第2連動手段に相当する。また、圧解除アーム29は、第2圧解除手段に相当する。
図6は、装置後側開閉部33と装置後側開閉検知手段との連動部を示す概略図であり、(a)は装置後側開閉部33の閉状態を示し、(b)は装置後側開閉部33の開状態をしめしている。
本実施例においては、装置後側開閉検知手段(第2検知手段)として、定着部出口(下
流側)に配設された排出センサを用いている。排出センサは、フォトインタラプタ42、斜光フラグ43、定着排出ガイド44aと図示しないセンサバネにより構成されており、記録材搬送経路を搬送される記録材を検知する記録材検知手段に相当する。
フォトインタラプタ42は、定着排出ガイド44aの下部に配置されている。斜光フラグ43は記録材幅方向に伸びた軸部を中心として回動可能に定着排出ガイド44aに保持されており、図示しないバネの押圧力により、待機中は斜光フラグ43の斜光部がフォトインタラプタ42の発光部と受光部を遮蔽する姿勢で保持されている。ここで、記録材幅方向とは、記録材の搬送方向に対して略直交する記録材の幅方向をいう。
記録材が定着ニップ部を通過すると、記録材先端が斜光フラグ43と接触し、斜光フラグ43は定着排出ガイド44aと係合された軸を中心に時計回りに回転し、斜光フラグ43の斜光部が移動する。このことで、フォトインタラプタ42の発光部と受光部との間で信号の受け渡しが行われ、その信号が画像形成装置の制御手段としての制御部に入力される。
何らかの原因でジャムが発生し、記録材が定着部に滞留した場合、斜光フラグ43は回転した位置に保持され、フォトインタラプタ42からは連続して制御部に信号が入力される。この信号が一定時間以上出力された場合には、制御部はプリント動作を停止する。
センサリンク40は定着排出ガイド44aに支点jを中心に回動可能かつ、定着排出ガイド44aに設けられた爪部44bとセンサリンク40の爪部とに両端を係合されたセンサリンクバネ41により、引っ張り方向の力を受けた状態で保持されている。ここで、センサリンク40は、装置後側開閉部33の開動作と、排出センサの検知動作とを連動させる第3連動手段に相当する。
装置後側開閉部33が閉じた状態では、図6(a)に示すように、センサリンク40と装置後側開閉部33とは当接しており、斜光フラグ43は定着ニップ部を通過した記録材を検知可能な姿勢で保持される。
装置後側開閉部33が開いた状態においては、図6(b)に示すように、センサリンク40と装置後側開閉部33が離間するため、センサリンク40はセンサリンクバネ41の引っ張り力により、図6(b)に示す矢印方向に回動し斜光フラグ43に当接する。
センサリンク40から回転モーメントを受けた斜光フラグ43は、定着排出ガイド44aに係合された軸を中心に時計回りに回転することで、斜光フラグ43の斜光部が移動し、フォトインタラプタ42の発光部と受光部の間で信号の受け渡しが行われる。この信号が一定時間以上出力された場合には、制御部はプリント動作を停止する。
このように構成することにより、作業者が装置後側開閉部33を開き、定着部に滞留した記録材を除去した場合にも、画像形成装置は動作停止状態が維持されるため、定着ニップ部の圧力が解除された状態でプリント動作が再開されることはない。
したがって、記録材のいかなる部分が定着ニップ部に挟持されている場合においても、作業者のジャム処理作業時に確実に定着ニップ部の圧力を解除し、記録材の破損を予防し、定着装置の構成部材にもダメージを与えること無くジャム処理作業が行える。
また、近年、画像形成装置の小型化が進み、装置前側開閉部32は装置外装、マルチサイズ給送ユニット、記録材搬送ガイド等の複数の部材からなる場合も多々ある。そのため、部品自重により、装置前側開閉部32の支点aに負荷がかかることが懸念される。ここ
で、マルチサイズ給送ユニットは、記録材を収容可能に設けられ画像形成手段に記録材を給送する給送ユニットに相当する。また、記録材搬送ガイドは、記録材搬送経路に沿って設けられ記録材をガイドする記録材ガイド部材に相当する。
そこで、装置前側開閉部32を開けた際の定着ニップ圧解除量P1と、装置後側開閉部33を開けた際の定着ニップ圧解除量P2が、P1>P2となるように圧解除カム26の回動量と圧解除アーム29の移動量を設定するとよい。
このように設定することで、前後どちらの開閉部を先に開けた場合においても、定着ニップ部の加圧力が、装置前側開閉部32を開けた際に装置前側開閉部32の支点aに係る回転モーメントの反力となりダンパ効果を得ることが可能となる。
このように、圧解除カム26の回動量(圧解除量)と圧解除アーム29の移動量(圧解除量)とは、次に示すような開閉部材に対応する圧解除手段の圧解除量の方が大きくなるように設定されているとよい。それは、装置前側開閉部32を開けた際に装置前側開閉部32にかかる力(支点aに作用する力)と、装置後側開閉部33を開けた際に装置後側開閉部33に係る力(支点fに作用する力)とのうち大きな力がかかる開閉部材である。
なお、本実施例においては、装置前側開閉部32と画像形成装置本体との間には、インターロックスイッチ機構の安全装置を設けることで、装置前側開閉部32の開閉状態を検知していたが、これに限るものではない。すなわち、装置後側開閉部33の開閉検知同様、記録材搬送経路を搬送される記録材を検知する記録材検知手段を用いる(利用する、兼用する)ものであってもよい。
次に、本発明の実施例2について説明する。
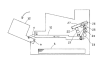
図7は、本実施例において、装置前側開閉部32及び装置後側開閉部33と、定着ニップ部の圧解除手段との連動部を示した図であり、
る。図8は、装置後側開閉部を開けた際に発生する回転モーメントを装置前側開閉部との連動部への伝達を遮断する構成を説明するための図であって、前側伝達ギア24a、後側伝達ギア24bの概略構成を説明するための図である。また、図8において、(a)は、前側伝達ギア24a側(図7に示す図面の手前側)から見た斜視図であり、(b)は圧縮バネ24c側から見た斜視図である。なお、本実施例の画像形成装置の基本構成は、実施例1と同様のため、本実施例においては、実施例1に対して異なる構成部分について述べることとし、実施例1と同様の構成部分については、その説明を省略する。
装置前側開閉部32は、画像形成装置に対して支点aを中心に反時計回りに回動するように配設されている。そして、装置前側開閉部32は、リンクアーム小11、リンクアーム大12、リンクギア23、前側伝達ギア24a、後側伝達ギア24b、アイドラギア25を介して圧解除カム26に連結されている。ここで、リンクアーム小11、リンクアーム大12、リンクギア23、前側伝達ギア24a、後側伝達ギア24b、アイドラギア25は、装置前側開閉部32の開動作と、圧解除カム26の圧解除動作とを連動させる第1連動手段に相当する。
リンクアーム小11は装置前側開閉部32と連結部bで、リンクアーム大12とは連結部cで回動可能に連結されている。また、リンクアーム大12は、図示しない保持部材によって水平方向にだけ往復移動可能に保持されている。
リンクギア23は、支点dを中心に回動可能に連結部eによってリンクアーム大12と
連結されている。リンクギア23の扇形部は歯車歯型を有しており、前側伝達ギア24aに回転モーメントを伝達する。
前側伝達ギア24aと後側伝達ギア24bは、互いに接する接触面(軸方向に略直交する面)に、前側伝達ギア24aから後側伝達ギア24bに反時計回りの回転モーメントのみが伝達されるように係合凹部24a1、係合凸部24b1がそれぞれ設けられている。
係合凹部24a1は、周方向に対して略垂直をなす平面部24a2と、平面部24a2から周方向に延びて、接触面まで傾斜して設けられた傾斜部24a3とから構成されている。
係合凸部24b1は、周方向に対して略垂直をなす平面部24b2と、平面部24b2から周方向に延びて、接触面まで傾斜して設けられた傾斜部24b3とから構成されている。
そして、前側伝達ギア24aと後側伝達ギア24bは、圧縮バネ24cにより、係合凹部24a1と係合凸部24b1とが互いに係合する方向に押圧されている。
前側伝達ギア24aに反時計回りの回転モーメントが作用した場合、係合凹部24a1の平面部24a2と、係合凸部24b1の平面部24b2とが係合する(噛み合う)ことにより、前側伝達ギア24aから後側伝達ギア24bに回転モーメントが伝達される。
ここで、前側伝達ギア24aに時計回りの回転モーメントが作用した場合、又は、後側伝達ギア24bに反時計回りの回転モーメントが作用した場合、係合凹部24a1と係合凸部24b1とは、互いに滑り、一方が回転しながら当接離間を繰り返すこととなる。この場合、圧縮バネ24cの押圧力に抗して係合状態が解除される方向、すなわち回転軸方向であって、互いに離間する方向に前側伝達ギア24a又は後側伝達ギア24bが移動(スライド)する。この為、前側伝達ギア24aと後側伝達ギア24bとの間で、回転モーメントの伝達が行われることはない。
また、圧解除カム26の扇形部は歯車歯型を有しており、アイドラギア25と連結されている。装置前側開閉部32を反時計回りに回転させると、各伝達部材を介して圧解除カム26が反時計回りに回転することで加圧板27と当接し、さらに加圧板27を押し上げることで、定着ニップ部の圧力が解除される。
装置後側開閉部33は、支点fを中心に時計回りに回動するよう配設されており、扇形部には歯車歯型を有している。
装置後側開閉部33を時計回りに回転させると、装置後側開閉部33の歯車歯型部もともに支点fを中心に回転し、後側伝達ギア24bと噛合うこととなる。
これにより、後側伝達ギア24bに反時計回りの方向の回転モーメントが付与され、アイドラギア25を介して圧解除カム26が反時計回りに回転することで加圧板27と当接し、さらに加圧板27を押し上げることで、定着ニップ部の圧力が解除される。
この時、前側伝達ギア24aと、後側伝達ギア24bの伝達面の斜面同士、すなわち、係合凹部24a1と係合凸部24b1とは、上述したように互いに滑ることとなる。この場合、圧縮バネ24cの押圧力に抗して係合状態が解除される方向、すなわち回転軸方向に後側伝達ギア24bが移動する為、前側伝達ギア24aには回転モーメントが付与されない。
ここで、後側伝達ギア24b及びアイドラギア25は、装置後側開閉部33の開動作と、圧解除カム26の圧解除動作とを連動させる第2連動手段に相当する。
本実施例では、上述したように、装置前側開閉部32の開動作と圧解除動作とを連動させる第1連動手段は、装置後側開閉部33の開動作と圧解除動作とを連動させる第2連動手段を含んでいる。このような構成は、装置後側開閉部33が、装置前側開閉部32よりも定着装置から近い位置に配設されることで容易に実現可能となる。
このように構成することで、単一(同一)の圧解除手段で、装置前側後側両方の開閉部材の開動作に連動して定着ニップ部の加圧力を解除可能となる。
したがって、本実施例の画像形成装置においては、実施例1の画像形成装置の構成よりも簡単な構成で、実施例1と同様の効果を得ることが可能となる。
実施例1における画像形成装置の概略構成を示す断面図。 実施例1における装置前側開閉部と圧解除手段との連動部を示す概略図。 実施例1において、装置前側開閉部の開状態における圧解除手段の連動部を示す概略図。 実施例1における装置後側開閉部と圧解除手段との連動部を示す概略図。 実施例1において、装置後側開閉部の開状態における圧解除手段の連動部を示す概略図。 実施例1における装置後側開閉部と開閉検知手段との連動部を示す概略図。 実施例2における装置前側開閉部及び装置後側開閉部と、圧解除手段との連動部を示す概略図。 実施例2における前側伝達ギア、後側伝達ギアの概略構成を説明するための図。
符号の説明
11 リンクアーム小
12 リンクアーム大
21 加圧ローラ
22 加熱ユニット
23 リンクギア、
24 アイドラギア
25 アイドラギア
26 圧解除カム
28 加圧板27及び加圧バネ
29 圧解除アーム
30 現像部
32 装置前側開閉部
33 装置後側開閉部
42 フォトインタラプタ
43 斜光フラグ
44a 定着排出ガイド
g カム形状
D 感光ドラム
S 記録材
TR 転写ローラ

Claims (6)

  1. 記録材に未定着画像を形成する画像形成手段と、
    未定着画像が形成された記録材を、圧付与手段により加圧力が付与されたニップ部で挟持搬送して前記未定着画像を前記記録材に定着させる定着手段と、
    を備えた画像形成装置において、
    前記ニップ部で挟持搬送される記録材の搬送方向に対して交差する装置本体の2つの側面のうち一方の側面に設けられ、装置本体に対して開閉可能な第1開閉部材と、
    前記2つの側面のうち他方の側面に設けられ、装置本体に対して開閉可能な第2開閉部材と、
    前記ニップ部の加圧力を解除する第1圧解除手段と、
    前記ニップ部の加圧力を解除する第2圧解除手段と、
    前記第1開閉部材の開動作と前記第1圧解除手段の圧解除動作とを連動させる第1連動手段と、
    前記第2開閉部材の開動作と前記第2圧解除手段の圧解除動作とを連動させる第2連動手段と、
    前記第1開閉部材の開閉状態を検知する第1検知手段と、
    前記第2開閉部材の開閉状態を検知する第2検知手段と、
    前記第1検知手段及び前記第2検知手段のうち少なくともいずれか一方の検知手段により、前記第1開閉部材及び前記第2開閉部材のうち少なくともいずれか一方の開閉部材が開状態にあると検知された場合に、前記画像形成手段による画像形成動作を規制する制御手段と、
    を備え、
    前記第1開閉部材及び前記第2開閉部材のうち少なくともいずれか一方の開閉部材の開動作が行われた場合、前記開動作に連動して前記ニップ部の加圧力が解除されるとともに、前記制御手段により前記画像形成動作が規制されることを特徴とする画像形成装置。
  2. 前記第1検知手段及び前記第2検知手段のうち少なくともいずれか一方の検知手段は、記録材搬送経路を搬送される記録材を検知する記録材検知手段、及び、前記一方の検知手段に対応する開閉部材の開動作と前記記録材検知手段の検知動作とを連動させる第3連動手段により構成されていることを特徴とする請求項1に記載の画像形成装置。
  3. 前記圧付与手段により前記ニップ部に付与された加圧力は、前記第1開閉部材及び前記第2開閉部材のうち少なくともいずれか一方が開放された際に、開放された開閉部材にかかる力の反力として作用することを特徴とする請求項1又は2に記載の画像形成装置。
  4. 前記第1圧解除手段の圧解除量と前記第2圧解除手段の圧解除量とは、前記第1開閉部材が開放された場合に前記第1開閉部材にかかる力と、前記第2開閉部材が開放された場合に前記第2開閉部材にかかる力とのうち大きな力がかかる開閉部材に対応する圧解除手段の圧解除量の方が大きくなるように設けられていることを特徴とする請求項1乃至3のいずれか1項に記載の画像形成装置。
  5. 前記第1開閉部材は、装置本体の外装と、記録材を収容可能に設けられ前記画像形成手段に記録材を給送する給送ユニットと、記録材搬送経路に沿って設けられ記録材をガイドする記録材ガイド部材とを含み、
    前記第2開閉部材は、装置本体の外装と、記録材搬送経路に沿って設けられ記録材をガイドする記録材ガイド部材とを含み、
    前記第1圧解除手段の圧解除量の大きさは、前記第2圧解除手段の圧解除量の大きさよりも大きくなるように設けられていることを特徴とする請求項1乃至4のいずれか1項に記載の画像形成装置。
  6. 前記第1圧解除手段と前記第2圧解除手段とは、同一の手段であり、
    前記第1連動手段は、前記第2連動手段を含むことを特徴とする請求項1乃至5のいずれか1項に記載の画像形成装置。
JP2008198283A 2008-07-31 2008-07-31 画像形成装置 Active JP5247285B2 (ja)

Priority Applications (1)

Application Number Priority Date Filing Date Title
JP2008198283A JP5247285B2 (ja) 2008-07-31 2008-07-31 画像形成装置

Applications Claiming Priority (1)

Application Number Priority Date Filing Date Title
JP2008198283A JP5247285B2 (ja) 2008-07-31 2008-07-31 画像形成装置

Publications (3)

Publication Number Publication Date
JP2010038952A true JP2010038952A (ja) 2010-02-18
JP2010038952A5 JP2010038952A5 (ja) 2011-09-22
JP5247285B2 JP5247285B2 (ja) 2013-07-24

Family

ID=42011620

Family Applications (1)

Application Number Title Priority Date Filing Date
JP2008198283A Active JP5247285B2 (ja) 2008-07-31 2008-07-31 画像形成装置

Country Status (1)

Country Link
JP (1) JP5247285B2 (ja)

Cited By (6)

* Cited by examiner, † Cited by third party
Publication number Priority date Publication date Assignee Title
JP2012058454A (ja) * 2010-09-08 2012-03-22 Canon Inc 画像形成装置
JP2012093700A (ja) * 2010-09-30 2012-05-17 Brother Ind Ltd 画像形成装置
EP2444858A3 (en) * 2010-09-30 2013-11-13 Brother Kogyo Kabushiki Kaisha Image forming apparatus
JP2014167613A (ja) * 2013-01-31 2014-09-11 Canon Inc 画像形成装置
JP2015055741A (ja) * 2013-09-11 2015-03-23 京セラドキュメントソリューションズ株式会社 定着装置及び画像形成装置
JP2019207378A (ja) * 2018-05-30 2019-12-05 キヤノン株式会社 画像形成装置

Citations (4)

* Cited by examiner, † Cited by third party
Publication number Priority date Publication date Assignee Title
JPH0517047A (ja) * 1991-07-11 1993-01-26 Canon Inc 検知装置
JPH08137181A (ja) * 1994-11-11 1996-05-31 Minolta Co Ltd 画像形成装置
JP2000137419A (ja) * 1998-11-02 2000-05-16 Canon Inc 画像形成装置
JP2001022236A (ja) * 1999-07-12 2001-01-26 Matsushita Graphic Communication Systems Inc 画像形成装置

Patent Citations (4)

* Cited by examiner, † Cited by third party
Publication number Priority date Publication date Assignee Title
JPH0517047A (ja) * 1991-07-11 1993-01-26 Canon Inc 検知装置
JPH08137181A (ja) * 1994-11-11 1996-05-31 Minolta Co Ltd 画像形成装置
JP2000137419A (ja) * 1998-11-02 2000-05-16 Canon Inc 画像形成装置
JP2001022236A (ja) * 1999-07-12 2001-01-26 Matsushita Graphic Communication Systems Inc 画像形成装置

Cited By (9)

* Cited by examiner, † Cited by third party
Publication number Priority date Publication date Assignee Title
JP2012058454A (ja) * 2010-09-08 2012-03-22 Canon Inc 画像形成装置
JP2012093700A (ja) * 2010-09-30 2012-05-17 Brother Ind Ltd 画像形成装置
US8509654B2 (en) 2010-09-30 2013-08-13 Brother Kogyo Kabushiki Kaisha Image forming apparatus having mechanism for placing fixing unit in nip relaxed state
EP2444858A3 (en) * 2010-09-30 2013-11-13 Brother Kogyo Kabushiki Kaisha Image forming apparatus
US8693918B2 (en) 2010-09-30 2014-04-08 Brother Kogyo Kabushiki Kaisha Image forming apparatus having mechanism for placing fixing unit in nip relaxed state
JP2014167613A (ja) * 2013-01-31 2014-09-11 Canon Inc 画像形成装置
JP2015055741A (ja) * 2013-09-11 2015-03-23 京セラドキュメントソリューションズ株式会社 定着装置及び画像形成装置
JP2019207378A (ja) * 2018-05-30 2019-12-05 キヤノン株式会社 画像形成装置
JP7102232B2 (ja) 2018-05-30 2022-07-19 キヤノン株式会社 画像形成装置

Also Published As

Publication number Publication date
JP5247285B2 (ja) 2013-07-24

Similar Documents

Publication Publication Date Title
JP5587038B2 (ja) 画像形成装置
JP4514239B2 (ja) カラー電子写真画像形成装置
JP5554981B2 (ja) 定着装置および画像形成装置
JP4916557B2 (ja) カラー電子写真画像形成装置
US9377748B2 (en) Image forming apparatus
JP4873487B2 (ja) 画像形成装置
JP5247285B2 (ja) 画像形成装置
CN104076663B (zh) 定影装置以及具备其的图像形成装置
JP6866076B2 (ja) 画像形成装置及びシート搬送装置
JP6323377B2 (ja) シート搬送装置、およびこれを備えた画像形成装置
US10254688B2 (en) Image forming apparatus with pivoting fixing device
JP4636927B2 (ja) 画像形成装置
JP4958467B2 (ja) 画像形成装置
JP5914400B2 (ja) 画像形成装置
JP5321625B2 (ja) 画像形成装置
JP2010256809A (ja) 画像形成装置
JP4974286B2 (ja) 画像形成装置の定着部構造
US12339611B2 (en) Image forming apparatus
JP5049511B2 (ja) ロック装置及び画像形成装置
JP2015141252A (ja) 画像形成装置
JP6173144B2 (ja) カバー開閉装置及び画像形成装置
JP7474417B2 (ja) シート搬送装置及び画像形成装置
JP7471786B2 (ja) 位置保持機構及び画像形成装置
JP2016142908A (ja) 画像形成装置
JP2026025365A (ja) シート搬送装置

Legal Events

Date Code Title Description
A621 Written request for application examination

Free format text: JAPANESE INTERMEDIATE CODE: A621

Effective date: 20110801

A521 Written amendment

Free format text: JAPANESE INTERMEDIATE CODE: A523

Effective date: 20110810

A977 Report on retrieval

Free format text: JAPANESE INTERMEDIATE CODE: A971007

Effective date: 20121114

A131 Notification of reasons for refusal

Free format text: JAPANESE INTERMEDIATE CODE: A131

Effective date: 20121120

A521 Written amendment

Free format text: JAPANESE INTERMEDIATE CODE: A523

Effective date: 20130118

TRDD Decision of grant or rejection written
A01 Written decision to grant a patent or to grant a registration (utility model)

Free format text: JAPANESE INTERMEDIATE CODE: A01

Effective date: 20130312

A61 First payment of annual fees (during grant procedure)

Free format text: JAPANESE INTERMEDIATE CODE: A61

Effective date: 20130409

R151 Written notification of patent or utility model registration

Ref document number: 5247285

Country of ref document: JP

Free format text: JAPANESE INTERMEDIATE CODE: R151

FPAY Renewal fee payment (event date is renewal date of database)

Free format text: PAYMENT UNTIL: 20160419

Year of fee payment: 3