JP2010038076A - エンジン制御方法及びエンジン制御装置 - Google Patents

エンジン制御方法及びエンジン制御装置 Download PDF

Info

Publication number
JP2010038076A
JP2010038076A JP2008203405A JP2008203405A JP2010038076A JP 2010038076 A JP2010038076 A JP 2010038076A JP 2008203405 A JP2008203405 A JP 2008203405A JP 2008203405 A JP2008203405 A JP 2008203405A JP 2010038076 A JP2010038076 A JP 2010038076A
Authority
JP
Japan
Prior art keywords
fuel
operation mode
engine
purge
determination threshold
Prior art date
Legal status (The legal status is an assumption and is not a legal conclusion. Google has not performed a legal analysis and makes no representation as to the accuracy of the status listed.)
Granted
Application number
JP2008203405A
Other languages
English (en)
Other versions
JP5240511B2 (ja
Inventor
Kazuyasu Dosono
一保 堂園
Current Assignee (The listed assignees may be inaccurate. Google has not performed a legal analysis and makes no representation or warranty as to the accuracy of the list.)
Mazda Motor Corp
Original Assignee
Mazda Motor Corp
Priority date (The priority date is an assumption and is not a legal conclusion. Google has not performed a legal analysis and makes no representation as to the accuracy of the date listed.)
Filing date
Publication date
Application filed by Mazda Motor Corp filed Critical Mazda Motor Corp
Priority to JP2008203405A priority Critical patent/JP5240511B2/ja
Publication of JP2010038076A publication Critical patent/JP2010038076A/ja
Application granted granted Critical
Publication of JP5240511B2 publication Critical patent/JP5240511B2/ja
Active legal-status Critical Current
Anticipated expiration legal-status Critical

Links

Images

Classifications

    • YGENERAL TAGGING OF NEW TECHNOLOGICAL DEVELOPMENTS; GENERAL TAGGING OF CROSS-SECTIONAL TECHNOLOGIES SPANNING OVER SEVERAL SECTIONS OF THE IPC; TECHNICAL SUBJECTS COVERED BY FORMER USPC CROSS-REFERENCE ART COLLECTIONS [XRACs] AND DIGESTS
    • Y02TECHNOLOGIES OR APPLICATIONS FOR MITIGATION OR ADAPTATION AGAINST CLIMATE CHANGE
    • Y02TCLIMATE CHANGE MITIGATION TECHNOLOGIES RELATED TO TRANSPORTATION
    • Y02T10/00Road transport of goods or passengers
    • Y02T10/10Internal combustion engine [ICE] based vehicles
    • Y02T10/30Use of alternative fuels, e.g. biofuels

Landscapes

  • Hybrid Electric Vehicles (AREA)
  • Output Control And Ontrol Of Special Type Engine (AREA)
  • Control Of Vehicle Engines Or Engines For Specific Uses (AREA)
  • Supplying Secondary Fuel Or The Like To Fuel, Air Or Fuel-Air Mixtures (AREA)
  • Electrical Control Of Air Or Fuel Supplied To Internal-Combustion Engine (AREA)

Abstract

【課題】エンジン運転中、全体として蒸発燃料のパージに起因する排気エミッション(特に、HC)の排出量を抑制する。
【解決手段】第1燃料(例えば水素ガス)運転モードと第2燃料(例えばガソリン)運転モードのいずれか一方で運転するデュアルフューエルエンジンと、他の駆動源と、を備えたハイブリッド車両におけるエンジンの制御方法であって、選択した運転モードでエンジンを制御するエンジン制御ステップと、エンジンを運転中に、パージ実施条件が成立したか否かを判定するパージ実施条件判定ステップと、パージ実行ステップとを備え、パージ実施条件判定ステップは、第1燃料による運転モードよりも第2燃料による運転モードでパージ実施条件が成立し易くするように、第1燃料による運転モードにおける判定閾値と、第2燃料による運転モードにおける判定閾値とを異なった値に設定する判定閾値変更ステップを含む。
【選択図】図5

Description

本発明は、エンジン制御方法及びエンジン制御装置に係り、特に第1燃料と第2燃料を用いてエンジンを運転可能なデュアルフューエルエンジンにおいて蒸発燃料のパージを実行するためのエンジン制御方法及びエンジン制御装置に関する。
従来、気体燃料による運転と液体燃料による運転を選択可能なデュアルフューエルエンジンが知られている(例えば、特許文献1参照)。特許文献1に記載のデュアルフューエルエンジンは、水素ガスによる運転モードとガソリンによる運転モードを選択可能である。このエンジンでは、ガソリンタンクからの蒸発燃料をキャニスタでトラップし、水素ガス運転モードとガソリン運転モードで所定のパージ条件が成立した場合に、トラップした蒸発燃料をエンジンに供給するようになっている。これにより、液体燃料からの蒸発燃料が大気中へ蒸散するのを防止することができる。
そして、特許文献1に記載のデュアルフューエルエンジンでは、ガソリン運転モード中に、所定のパージ条件が成立して蒸発燃料がエンジンに供給されると、蒸発燃料も燃焼し、エンジンから排気通路に排出された排気ガスは、浄化装置(触媒コンバータ)によって浄化される。
また、特許文献1に記載のデュアルフューエルエンジンでは、水素ガス運転モード中に水素ガスの着火性の良さ及び燃費向上のためリーン燃焼が行われると、エンジンの燃焼温度が低く、これにより排気温度も低くなり、触媒が活性化温度に達していない状況が生じる。しかしながら、水素ガス運転でのリーン燃焼では、排気エミッション(NOx等)となる有害物質の排出量が低いので、触媒が活性化していなくても車外に排出される排気エミッションも低減されたものとなる。
特開2007−162632号公報
しかしながら、特許文献1等に記載のデュアルフューエルエンジンでは、水素ガス運転モードにおいて、燃焼温度が低く、触媒が活性化温度に達していない場合には、キャニスタのパージにより蒸発燃料が供給されると、蒸発燃料が燃焼せず、また、排気ガスが触媒により浄化されないので、蒸発燃料に起因した排気エミッション(特に、HC)の排出量が多くなってしまうという問題があった。
すなわち、特許文献1に記載のエンジンでは、水素ガス運転モードにおいても、ガソリン運転モードと同様に蒸発燃料のパージがおこなわれるため、エンジン運転中、全体として排気エミッション(特に、HC)の排出量が多くなるおそれがあるという問題があった。
また、デュアルフューエルエンジンと他の駆動源を搭載したハイブリッド車両の場合、エンジンを運転しない時間的割合が増加するため、水素ガス運転モードにおいて、触媒温度が活性化温度に達していない状態でパージが行われるおそれがより高くなり、排気エミッションが増大してしまうという問題が生じる。
本発明は、このような課題を解決するためになされたものであり、燃焼時の熱量が低い非炭化水素系の第1燃料(例えば、水素ガス)で運転する運転モードと第1燃料に対し燃焼時の熱量が高い炭化水素系の第2燃料(例えば、ガソリン)で運転する運転モードのいずれか一方で運転するデュアルフューエルエンジンにおいて、エンジン運転中、全体として蒸発燃料のパージに起因する排気エミッション(特に、HC)の排出量を抑制することが可能なエンジン制御方法及びエンジン制御装置を提供することを目的としている。
上記の目的を達成するために、本発明のエンジンの制御方法は、燃焼時の熱量が低い非炭化水素系の第1燃料で運転する運転モードと第1燃料に対し燃焼時の熱量が高い炭化水素系の第2燃料で運転する運転モードのいずれか一方で運転するデュアルフューエルエンジンと、他の駆動源と、を備えたハイブリッド車両におけるエンジンの制御方法であって、運転者の要求に応じて、第1燃料又は第2燃料の内の一方による運転モードを選択し、選択した運転モードでエンジンを制御するエンジン制御ステップと、第1燃料又は第2燃料による運転モードでエンジンを運転中に、第2燃料の蒸発燃料をエンジンに供給するためのパージ実施条件が成立したか否かを判定するパージ実施条件判定ステップと、パージ実施条件が成立した場合に、蒸発燃料をエンジンに供給するパージ実行ステップと、を備え、パージ実施条件判定ステップは、所定の判定値が判定閾値に達した場合に、パージ実施条件が成立したと判定するものであって、第1燃料による運転モードよりも第2燃料による運転モードでパージ実施条件が成立し易くするように、第1燃料による運転モードにおける判定閾値と、第2燃料による運転モードにおける判定閾値とを異なった値に設定する判定閾値変更ステップを含むことを特徴としている。
第2燃料運転モード中に、第2燃料の蒸発燃料をパージすると、この蒸発燃料は燃焼される。また、第2燃料運転モードでは、第1燃料運転モードよりも燃焼温度が高く、排気ガス温度も高くなるので、排気通路に配設される触媒を活性化温度以上とし、活性化状態とすることができる。これにより、第2燃焼モードでは、排気エミッション(特に、HC)を抑制することができる。
一方、第1燃料運転モードでは、燃焼温度がそれほど高くない場合があり、第2燃料の蒸発燃料をパージしても未燃焼となるおそれがあり、さらに触媒が非活性化状態となっているおそれがあるので、排気エミッション(特に、HC)が増加してしまうおそれがある。
しかしながら、上述のように構成された本発明によれば、燃焼時の熱量が高い第2燃料運転モード時の方が、燃焼時の熱量が低い第1燃料運転モードよりもパージ実施条件が成立し易いので、第2燃料運転モードにおいて第1燃料運転モードよりも頻繁にパージが実行される。したがって、本発明では、蒸発燃料をパージする頻度を、第1燃料運転モードよりも第2燃料運転モードで高く設定することにより、第1燃料運転モードにおける排気エミッション(特に、HC)の排出量を抑制し、全体として排気エミッションを低減することが可能となる。
また、本発明において好ましくは、判定値が、エンジン回転数であって、判定閾値変更ステップは、第1燃料による運転モードにおける判定閾値よりも、第2燃料による運転モードにおける判定閾値を小さな値に設定する。このように構成された本発明によれば、第2燃料運転モードでは、低回転領域からパージを行うことによってパージ実施頻度を高め、燃料供給系に蓄積する蒸発燃料を低減することができる。また、第1燃料運転モードでは、第2燃料運転モードよりも高回転領域でパージが実施されるので、パージ実施頻度を低減することができる。これにより、第1燃料運転モードでの排気エミッション(特に、HC)の排出量を抑制することができる。
また、本発明において好ましくは、判定値が、蒸発燃料濃度に関する値であって、判定閾値変更ステップは、第1燃料による運転モードにおける判定閾値よりも、第2燃料による運転モードにおける判定閾値を小さな値に設定する。このように構成された本発明によれば、第2燃料運転モードでは、より低い濃度状態でもパージを行うことによってパージ実施頻度を高め、燃料供給系に蓄積する蒸発燃料を低減することができる。また、第1燃料運転モードでは、第2燃料運転モードよりも高濃度状態でパージが実施されるので、パージ実施頻度を低減することができる。これにより、第1燃料運転モードでの排気エミッション(特に、HC)の排出量を抑制することができる。
また、本発明において好ましくは、判定値が、蒸発燃料が非供給状態となってからの経過時間であって、判定閾値変更ステップは、第1燃料による運転モードにおける判定閾値よりも、第2燃料による運転モードにおける判定閾値を小さな値に設定する。このように構成された本発明によれば、このように構成された本発明によれば、第2燃料運転モードでは、非パージ期間を短くすることによってパージ実施頻度を高め、燃料供給系に蓄積する蒸発燃料を低減することができる。また、第1燃料運転モードでは、第2燃料運転モードよりも長い非パージ期間を設定するので、パージ実施頻度を低減することができる。これにより、第1燃料運転モードでの排気エミッション(特に、HC)の排出量を抑制することができる。
また、上記の目的を達成するために、本発明のエンジンの制御方法は、燃焼時の熱量が低い非炭化水素系の第1燃料で運転する運転モードと第1燃料に対し燃焼時の熱量が高い炭化水素系の第2燃料で運転する運転モードのいずれか一方で運転するデュアルフューエルエンジンと、他の駆動源と、を備えたハイブリッド車両におけるエンジンの制御方法であって、運転者の要求に応じて、第1燃料又は第2燃料の内の一方による運転モードを選択する運転モード選択ステップと、エンジンを用いて車両運転する運転条件を規定する第1運転領域と、この第1運転領域以外の運転領域であって、他の駆動源を用いて車両運転する運転条件を規定する第2運転領域と、が設定された運転領域データに基づいて、現在の運転条件から、駆動源としてエンジン又は他の駆動源を選択する駆動源選択ステップと、エンジンが駆動源として選択されているときに、第2燃料の蒸発燃料をエンジンに供給するためのパージを実行するパージ実行ステップと、を備え、駆動源選択ステップは、第2燃料による運転モードが選択されているときの第1運転領域を、第1燃料による運転モードが選択されているときの第1運転領域よりも拡大して設定する運転領域拡大ステップを含むことを特徴としている。
このように構成された本発明によれば、第1燃料運転モードが選択されているときよりも、第2燃料運転モードが選択されているときの方が、駆動源としてエンジンを選択するための運転条件を規定する運転領域を拡大する。これにより、第1燃料運転モード選択時には、エンジン運転される時間的割合が増加するので、エンジン運転において蒸発燃料のパージ実施頻度が増大される。一方、第2燃料運転モード選択時には、第1燃料運転モード選択時よりも、エンジン運転される時間的割合が少ないので、エンジン運転において蒸発燃料のパージ実施頻度が抑制される。これにより、第1燃料運転モードでの排気エミッション(特に、HC)の排出量を抑制することができる。
また、本発明において好ましくは、運転領域拡大ステップは、蒸発燃料濃度に関する値が所定の判定閾値に達したことを判定する判定ステップを含み、この判定ステップで、蒸発燃料濃度に関する値が判定閾値に達したと判定された場合に、第2燃料による運転モードが選択されているときの第1運転領域を、第1燃料による運転モードが選択されているときの第1運転領域よりも拡大して設定する。このように構成された本発明によれば、第2燃料運転モードにおいて、蒸発燃料濃度に応じてパージ実行頻度を優先させた制御、及びエンジン運転領域を拡大しない運転領域データに基づいた駆動効率を優先させた制御が可能になる。
また、上記の目的を達成するために、本発明のエンジンの制御装置は、燃焼時の熱量が低い非炭化水素系の第1燃料で運転する運転モードと第1燃料に対し燃焼時の熱量が高い炭化水素系の第2燃料で運転する運転モードのいずれか一方で運転するデュアルフューエルエンジンと、他の駆動源と、を備えたハイブリッド車両におけるエンジンの制御装置であって、運転者の要求に応じて、第1燃料又は第2燃料の内の一方による運転モードを選択し、選択した運転モードでエンジンを制御するエンジン制御手段と、第1燃料又は第2燃料による運転モードでエンジンを運転中に、第2燃料の蒸発燃料をエンジンに供給するためのパージ実施条件が成立したか否かを判定するパージ実施条件判定手段と、パージ実施条件が成立した場合に、蒸発燃料をエンジンに供給するパージ実行手段と、を備え、パージ実施条件判定手段は、所定の判定値が判定閾値に達した場合に、パージ実施条件が成立したと判定するものであって、第1燃料による運転モードよりも第2燃料による運転モードでパージ実施条件が成立し易くするように、第1燃料による運転モードにおける判定閾値と、第2燃料による運転モードにおける判定閾値とを異なった値に設定することを特徴としている。
また、本発明において好ましくは、判定値が、エンジン回転数であって、パージ実施条件判定手段は、第1燃料による運転モードにおける判定閾値よりも、第2燃料による運転モードにおける判定閾値を小さな値に設定する。
また、本発明において好ましくは、判定値が、蒸発燃料濃度に関する値であって、パージ実施条件判定手段は、第1燃料による運転モードにおける判定閾値よりも、第2燃料による運転モードにおける判定閾値を小さな値に設定する。
また、本発明において好ましくは、判定値が、蒸発燃料が非供給状態となってからの経過時間であって、パージ実施条件判定手段は、第1燃料による運転モードにおける判定閾値よりも、第2燃料による運転モードにおける判定閾値を小さな値に設定する。
また、上記の目的を達成するために、本発明のエンジンの制御装置は、燃焼時の熱量が低い非炭化水素系の第1燃料で運転する運転モードと第1燃料に対し燃焼時の熱量が高い炭化水素系の第2燃料で運転する運転モードのいずれか一方で運転するデュアルフューエルエンジンと、他の駆動源と、を備えたハイブリッド車両におけるエンジンの制御装置であって、運転者の要求に応じて、第1燃料又は第2燃料の内の一方による運転モードを選択する運転モード選択手段と、エンジンを用いて車両運転する運転条件を規定する第1運転領域と、この第1運転領域以外の運転領域であって、他の駆動源を用いて車両運転する運転条件を規定する第2運転領域と、が設定された運転領域データに基づいて、現在の運転条件から、駆動源としてエンジン又は他の駆動源を選択する駆動源選択手段と、エンジンが駆動源として選択されているときに、第2燃料の蒸発燃料をエンジンに供給するためのパージを実行するパージ実行手段と、を備え、駆動源選択手段は、第2燃料による運転モードが選択されているときの第1運転領域を、第1燃料による運転モードが選択されているときの第1運転領域よりも拡大して設定することを特徴としている。
また、本発明において好ましくは、駆動源選択手段は、蒸発燃料濃度に関する値が所定の判定閾値に達したことを判定し、この判定により、蒸発燃料濃度に関する値が判定閾値に達したと判定された場合に、第2燃料による運転モードが選択されているときの第1運転領域を、第1燃料による運転モードが選択されているときの第1運転領域よりも拡大して設定する。
本発明のエンジン制御方法及びエンジン制御装置によれば、燃焼時の熱量が低い非炭化水素系の第1燃料で運転する運転モードと第1燃料に対し燃焼時の熱量が高い炭化水素系の第2燃料で運転する運転モードのいずれか一方で運転するデュアルフューエルエンジンにおいて、エンジン運転中、全体として蒸発燃料のパージに起因する排気エミッション(特に、HC)の排出量を抑制することができる。
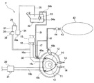
以下、図1乃至図6を参照して、本発明の第1実施形態について説明する。図1はハイブリッド車両の構成図、図2はデュアルフューエルエンジンの構成図、図3はハイブリッド車両の電気ブロック図、図4はハイブリッド車両の運転領域を表すマップデータ、図5はパージ実行制御処理の説明図、図6はパージ実行制御処理のフローチャートである。
図1は、本発明の実施形態に係るデュアルフューエルエンジン2を搭載したハイブリッド車両1の構成図である。この車両1は、エンジン2と、ジェネレータ(発電機)3と、AC−DCコンバータ4と、高電圧バッテリ5と、DC−ACコンバータ6と、モータ7と、これらを制御するためのECU50(図3参照)を備えている。
この車両1では、エンジン2は、コントローラ20からの制御信号によって作動し、エンジン2の回転出力によってジェネレータ3を駆動する。これにより、ジェネレータ3は、交流電力を発電し、AC−DCコンバータ4に交流電力を供給する。
AC−DCコンバータ4は、供給された交流電力を直流電力に変換し、直流電力を高電圧バッテリ5及びDC−ACコンバータ6に供給する。これにより、高電圧バッテリ5は、AC−DCコンバータ4から供給される直流電力によって充電されると共に、所定の運転状態において、DC−ACコンバータ6へ直流電力を供給する。
DC−ACコンバータ6は、運転状態に応じて、高電圧バッテリ5及びAC−DCコンバータ4の少なくとも一方から供給される直流電力を交流電力に変換する。モータ7は、DC−ACコンバータ6から供給される交流電力によって駆動され、回転出力をディファレンシャルギア8に伝達する。そして、このモータ出力は、ディファレンシャルギア8を介して駆動輪9に伝達され、これにより、車両1が走行するようになっている。
このように、本実施形態の車両1は、シリーズ方式のハイブリッド車両であり、モータ7がエンジン2と高電圧バッテリ5を駆動源とする電力によって駆動され、モータ7の回転出力によって駆動輪9を駆動するように構成されている。
本実施形態の車両1は、シリーズ方式のハイブリッド車両であるが、これに限らず、パラレル方式又はスプリット方式のハイブリッド車両であってもよい。なお、この場合は、駆動輪をモータの回転出力又はエンジンの回転出力が直接、機械的接続を介して駆動輪を駆動するので、エンジンとモータが駆動源となる。
本実施形態のデュアルフューエルエンジン2は、燃焼時の熱量が低い非炭化水素系の第1燃料である水素ガスと、第1燃料に対し燃焼時の熱量が高い炭化水素系の第2燃料であるガソリンを使用燃料としている。体積当りではガソリンの方が水素ガスよりも燃焼時の熱量が高く、本実施形態では、ガソリン運転モードの方が水素ガス運転モードよりも燃焼時の熱量が高い運転が行われ、このエンジン2では、同じエンジン回転数(rpm)及びスロットル開度でのエンジントルクは、ガソリン運転の方が水素ガス運転よりも大きくなる。
図2に示すように、エンジン2は、トロコイド内周面を有するロータハウジングとその両側に配置されたサイドハウジングとからなるハウジング10と、ハウジング10内に形成されたロータ収容室(以下、「気筒」という)11に配置された概略三角形状のロータ12とを備えたロータリーエンジンである。
このエンジン2は、2つのロータハウジングを3つのサイドハウジングの間に挟みこむようにして一体化し、その間に形成される2つの気筒11にそれぞれロータ12を収容した2ロータタイプであり、図2では、一方の気筒11のみを示している。
ロータ12は、エキセントリックシャフト13に支持されており、このエキセントリックシャフト13と共に、偏心回転するように構成されている。ロータ12は、外周の3つの頂部にそれぞれ配設されたシール部がロータハウジングのトロコイド内周面に当接した状態で偏心回転を行う。気筒11内には、ロータ12の外周側に3つの作動室が区画される。この作動室の容積は、ロータ12の偏心回転により変化する。そして、作動室における吸気,圧縮,膨張(燃焼)及び排気の一連の工程により、ロータ12及びエキセントリックシャフト13が回転し、この回転出力がジェネレータ3側に伝達される。
以下の説明において、各ロータ12に対するスロットル弁17下流側の構成は同様である。
ハウジング10には、各気筒11に2つの点火プラグ14が設けられている。また、ハウジング10には、吸気ポート15a及び排気ポート15bが形成されており、吸気ポート15aには吸気通路16aが接続され、排気ポート15bには排気通路16bが接続されている。吸気通路16aを介して、吸気工程にある作動室に空気が導入され、排気通路16bを介して、排気工程にある作動室から排気ガスが排出される。
また、吸気通路16aの上流側には電磁弁であるスロットル弁17が配設され、さらに上流側にはエアクリーナ19が配設されている。スロットル弁17には、開度を検出するスロットル開度センサ18が設けられている。
さらに、吸気通路16aの最下流側の吸気ポート15a近傍には、ガソリンを噴射して空気とガソリンとの混合気を作動室内に供給するガソリンインジェクタ30と、水素ガスを噴射して水素ガスと空気との混合気を作動室内に供給するポート噴射式の水素ガスインジェクタ40aが配設されている。
ガソリンインジェクタ30は、ガソリン供給通路31を介してガソリンタンク32に接続されている。ガソリンタンク32は、所定容量のガソリンを貯留する本体部に、ガソリンポンプ33,タンク温度センサ34a,タンク圧力センサ34b等が配設されて構成されている。
ガソリンポンプ33は、ガソリン供給通路31を介してガソリンインジェクタ30にガソリンを圧送するように構成されている。
また、ガソリンタンク32は、蒸発燃料通路35によってキャニスタ36と接続されており、ガソリンタンク32内で蒸発したガソリン(蒸発燃料ガス)は、蒸発燃料通路35を介してキャニスタ36に導入され、キャニスタ36で吸着されトラップされるようになっている。
キャニスタ36は、活性炭等の吸着剤を内部に収容する本体部を有し、本体部には内部に連通する大気取入口36aが設けられている。また、キャニスタ36には、蒸発燃料通路35に加えて、パージ通路37が接続されている。
キャニスタ36は、パージ通路37を介して、スロットル弁17の下流側の吸気通路16aに接続されている。パージ通路37には、キャニスタ36と吸気通路16aとの間に蒸発燃料濃度センサ29及びパージ制御弁38が配設されている。また、パージ制御弁38には、開度を検出するパージ制御弁開度センサ39が設けられている。蒸発燃料濃度センサ29は、パージ通路37内の蒸発燃料濃度を検出してECU50へ出力するように構成されている。パージ制御弁38は、その開閉動作が後述するようにECU50によって電磁式に制御される。キャニスタ36で吸着された蒸発燃料は、パージ制御弁38の開度に応じて、キャニスタ36からパージされる。脱離された蒸発燃料は、開度に応じた単位時間当りの蒸発燃料供給量(供給速度)で、吸気通路16aを介して気筒11内に供給される。
また、排気通路16bには、排気ガス中のHC,CO,NOx等の有害物質を浄化するための三元触媒を用いた排気浄化装置(触媒コンバータ)20が配設されている。この排気浄化装置20には、触媒温度を検出する触媒温度センサ21が付設されている。触媒温度センサ21は、熱電対やサーミスタ等から構成され、排気浄化装置20内を通過する排気ガス温度を触媒温度として検出すると共に、その検出信号をECU50へ出力する。
なお、以下の説明において、排気浄化装置20通過後の排気ガス中に含まれる上記有害物質を排気エミッションと呼ぶ。
また、本実施形態においては、触媒温度センサ21により、排気浄化装置20内を通過する排気ガス温度を触媒温度として検出しているが、これに限らず、触媒の温度を直接検出するように構成してもよい。
また、ハウジング10には、水素ガスを作動室内に直接噴射する直噴式の水素ガスインジェクタ40bが配設されている。水素ガスインジェクタ40a,40bは、途中で合流する水素ガス供給通路41を介して水素高圧ガスタンク42に接続され、この水素高圧ガスタンク42から水素ガスが供給される。
水素高圧ガスタンク42の排出口には、タンクから水素ガス供給通路41への水素ガスの供給を制御するための停止弁43が設けられ、さらに下流側には、水素ガスインジェクタ40a,40bへの水素ガス供給量(供給圧力)を制御する制御弁44が配設されている。インジェクタ30,40a,40bは、ECU50からの制御信号に基づいて、所定の噴射タイミングで、所定量のガソリン又は水素ガスを噴射するように構成されている。
ECU50は、周知のマイクロコンピュータをベースとするコントローラであって、エンジン制御方法を記憶したプログラムを実行する中央演算処理装置(CPU)と、例えばRAMやROMにより構成されてプログラム及びデータを格納するメモリと、電気信号の入出力をする入出力(I/O)バス等を備えている。
図3に示すように、エンジン制御装置としてのECU50は、ジェネレータ3,AC−DCコンバータ4,DC−ACコンバータ6,点火プラグ14,スロットル弁17,スロットル開度センサ18,触媒温度センサ21,蒸発燃料濃度センサ29,ガソリンインジェクタ30,タンク温度センサ34a,タンク圧力センサ34b,水素ガスインジェクタ40a及び40b,パージ制御弁38,パージ制御弁開度センサ39,運転モード選択スイッチ60,アクセル開度センサ61,車速センサ62,エンジン回転数センサ63等に接続され、これらのうち検出センサから検出信号を受け取り、制御対象に制御信号を出力することにより動作制御を行う。
本実施形態の車両1では、ECU50は、運転条件に応じて、駆動源を切り替えてモータ7を駆動する制御を行う。すなわち、ECU50は、エンジン2を運転して、これにより発電した電力でモータ7を駆動するか、高電圧バッテリ5からの電力によってモータ7を駆動するかを決定する。
具体的には、ECU50は、アクセル開度センサ61及び車速センサ62からのアクセル及び車速を表す検出信号に基づいて、エンジン2の運転要求の有無、つまりエンジン2を運転させる必要があるか否かを判定する。
この判定のために、ECU50は、エンジン2と高電圧バッテリ5のいずれを使用してモータ7を駆動するのかを、アクセル開度と車速との関係に応じて決定するための運転領域データとしてのマップデータを記憶している(図4参照)。図4に示すように、このマップデータは、アクセル開度及び車速が小さい領域(モータ7に要求される出力トルクが小さい領域)がバッテリ駆動領域に設定されており、一方、アクセル開度及び車速の少なくとも一方が大きい領域(モータ要求トルクが大きい領域)がエンジン駆動領域に設定されている。ECU50は、このマップデータを用いて、アクセル開度及び車速の関係がバッテリ駆動領域に含まれる場合には、駆動源を高電圧バッテリ5に選択して、モータ7を駆動するように制御を行い、一方、アクセル開度及び車速の関係がエンジン駆動領域に含まれる場合には、駆動源をエンジン2に選択して、モータ7を駆動するように制御を行う。
したがって、ECU50は、要求トルクが低い低トルク運転時や車両始動時には、高電圧バッテリ5から供給される電力によりモータ7を駆動するように制御を行う。また、ECU50は、中トルク運転時には、エンジン2により駆動されるジェネレータ3から供給される電力によりモータ7を駆動するように制御を行う。ただし、急加速時等の要求トルクが高い高トルク運転時には、ECU50は、ジェネレータ3及び高電圧バッテリ5の双方から供給される電力によってモータ7を駆動するように制御を行う。
このように、エンジン2は、常時、運転状態にあるわけではなく、例えば低トルク時等には、停止した状態となる。
また、ECU50は、高電圧バッテリ5の蓄電量が少ないときには、要求トルクに応じたモータ7の駆動のために必要な電力に加えて、高電圧バッテリ5を充電するために必要な電力を余分にジェネレータ3で発生させるようにエンジン2を運転させて、モータ7を駆動すると共に、高電圧バッテリ5の充電を行うようにエンジン2の制御を行う。
また、本実施形態では、車両1には、運転者により選択可能な運転モード選択スイッチ60が設けられている。運転者は、この運転モード選択スイッチ60を操作することにより、エンジン2の運転モードを、水素ガスによる第1運転モードと、ガソリンによる第2運転モードとの間で択一的に選択可能となっている。エンジン制御手段としてのECU50は、運転モード選択スイッチ60の操作により出力される運転モード選択信号を受け取り、運転モード選択信号で選択されている運転モードでエンジン2を運転するように、点火時期,使用燃料,スロットル開度等を制御するエンジン制御処理を行う。
なお、本実施形態では、運転者が運転モード選択スイッチ60を手動で操作することにより、運転モードが選択されるように構成されているが、これに限らず、要求トルク等に基づく運転状態や水素ガス残量等に応じて、ECU50が、水素ガス運転モードとガソリン運転モードの間で運転モードを自動的に切り替えるように構成してもよい。
また、本実施形態では、ECU50は、第1運転モード及び第2運転モードでのエンジン運転中に、所定のタイミングでパージ制御弁38の開度を制御するパージ実行制御処理を行う。このため、ECU50は、キャニスタ36内の蒸発燃料のトラップ量(蓄積量)を算出(推定)する処理を行う。この処理は、例えば、エンジン回転数,ガソリンタンク32の温度,ガソリンタンク32内の圧力,蒸発燃料濃度,パージ制御弁38を閉じてからの経過時間等に基づいて公知の手法により行われる。
すなわち、エンジン回転数センサ63の検出エンジン回転数が所定回転数以上である場合や、タンク温度センサ34aの検出温度が所定温度以上である場合や、タンク圧力センサ34bの検出圧力が所定圧力以上である場合や、パージ通路37に設けられた蒸発燃料濃度センサ29の検出濃度が所定濃度以上である場合や、パージ制御弁38を閉じてから所定時間以上経過した場合に、ECU50は、キャニスタ36のパージが必要、すなわち「パージ要求」有りと判定する。そして、パージが必要であるとの判定に基づいて、ECU50は、パージ制御弁38を所定開度で開く処理を行う。
次に、図5に基づいて、本実施形態のパージ実行制御の概略についてさらに説明する。
上述のように、ガソリン運転モード中に蒸発燃料のパージを実行すると、蒸発燃料は燃焼され、気筒11から排気通路16bに排出された排気ガスは、活性化状態の触媒によって浄化されるので、車外に排出される排気エミッションを低減することができる。
これに対し、水素ガス運転モード中に蒸発燃料のパージを実行すると、燃焼温度が低い場合には供給された蒸発燃料は燃焼せずに、未燃焼のまま気筒11から排気通路16bに排出される。また、水素ガス運転モードにおいて、排気ガス温度が低い場合には触媒が非活性状態になっており、触媒で浄化されなかった排気エミッションを含む排気ガスが車外に排出されてしまう。したがって、水素ガス運転モード中にパージを頻繁に行うと、エンジン運転中に全体として車外に排出される排気エミッションが増大してしまうおそれがある。
本実施形態のパージ実行制御では、このような排気エミッションの増加を抑制するため、エンジン運転時にパージを行う際に、ガソリン運転モード中にパージをより頻繁に行い、水素ガス運転モード中に実施するパージ実施頻度を低減し、これにより排気エミッションの排出総量を抑制するように構成されている。
このように、蒸発燃料のパージ実施頻度を、ガソリン運転モード中に高く、水素ガス運転モード中に低くするため、本実施形態では、水素ガス運転モードよりもガソリン運転モードの方が、パージ実施条件が成立し易いように構成されている。
図5に示す本実施形態では、エンジン回転数Nが、パージ判定閾値(NH,NG)に達した場合に、パージ実施条件が成立したものと判定され、パージが実行されるように構成されている。図5(A)は、運転モードの選択状態の時間変化を示している。この例では、運転者が運転モード選択スイッチ60を操作することにより、時間t0から時間t1までは継続して、ガソリン運転モードが選択されており、時間t1に運転モード選択スイッチ60が切り替えられ、時間t1以降は、水素ガス運転モードが選択されている。
本実施形態では、ガソリン運転モードが選択されているときと、水素ガス運転モードが選択されているときとで、図5(B)に示すように異なるパージ判定閾値(NH,NG)が設定されるように構成されている。具体的には、ガソリン運転モードではパージ判定閾値NGが設定され、水素ガス運転モードではパージ判定閾値NHが設定される。ただし、パージ判定閾値NGの方が、パージ判定閾値NHよりも小さな値に設定されている(NG<NH)。すなわち、ガソリン運転モードの方が水素ガス運転モードよりもパージ判定閾値が、よりパージが行われ易い値に設定されている(又は、水素ガス運転モードの方がガソリン運転モードよりもパージ判定閾値が、よりパージが行われ難い値に設定されている)。
したがって、ガソリン運転モードでは、低いエンジン回転数(NG)でパージ実施条件が成立し、水素ガス運転モードでは、より高いエンジン回転数(NH)でパージ実施条件が成立するので、ガソリン運転モードの方が水素ガス運転モードよりも頻繁にパージが実施される。
また、本実施形態では、ガソリン運転モード中に、より頻繁にパージを行って、キャニスタ36内の蒸発燃料の蓄積量を常時低減した状態にしておくことで、水素ガス運転モードに切り替えられたときに、パージすべき蒸発燃料の総量を予め低減しておくことができる。
ガソリン運転モード中は、パージ実施頻度が高いので、図5(C)に示すように、時間的に平均すると、気筒11から排出される排気ガス中に含まれるHC排出量がより多くなる。しかしながら、この排気ガスは、ガソリン運転モード中は触媒で浄化されるので、車外へは排気エミッション(特に、HC)の少ない排気ガスを排出することができる。
一方、水素ガス運転モード切り替え後は、パージ実施頻度が低いので、図5(C)に示すように、気筒11から排出される排気ガス中に含まれるHC排出量を減少させることができる。このように、HC排出量が抑制されているので、この排気ガスが触媒で浄化されなかったとしても、車外へ排出されるHC排出量を抑制することができる。
図6は、具体的なパージ実行制御処理のフローチャートを示している。
この処理では、ECU50は、まず車速センサ62,アクセル開度センサ61,エンジン回転数センサ63から受け取った車速,アクセル開度,エンジン回転数Nを読み込む(ステップS1)。そして、読み込んだ車速及びアクセル開度と、マップデータ(図4)に基づいて、現在のトルク要求状態がエンジン駆動領域であるか否かを判定する(ステップS2)。
現在の運転条件がエンジン駆動領域でない場合(ステップS2;No)、ステップS1の処理に戻る。一方、現在の運転条件がエンジン駆動領域である場合(ステップS2;Yes)、ECU50は、運転モード選択スイッチ60の選択に基づいて受け取っている運転モード選択信号を読み込む(ステップS3)。
次いで、ECU50は、読み込んだ運転モード選択信号が、ガソリン運転モードを表しているものであるか否かを判定する(ステップS4)。運転モード選択信号がガソリン運転モードを表していない場合(ステップS4;No)、すなわち水素ガス運転モードを表している場合、エンジン制御手段としてのECU50は、水素ガス運転モードを選択し、エンジン2を水素ガスで運転する制御を行う(ステップS5;エンジン制御ステップ)。そして、パージ実施条件判定手段としてのECU50は、パージ判定閾値に閾値NHを設定する(ステップS6;判定閾値変更ステップ)。
一方、運転モード選択信号がガソリン運転モードを表している場合(ステップS4;Yes)、エンジン制御手段としてのECU50は、ガソリン運転モードを選択し、エンジン2をガソリンで運転する制御を行う(ステップS9;エンジン制御ステップ)。そして、パージ実施条件判定手段としてのECU50は、パージ判定閾値に閾値NGを設定する(ステップS10;判定閾値変更ステップ)。
そして、パージ判定閾値を閾値NHに設定後、パージ実施条件判定手段としてのECU50は、読み込んだエンジン回転数Nが、パージ判定閾値NH以上であるか否かを判定する(ステップS7;パージ実施条件判定ステップ)。エンジン回転数Nがパージ判定閾値NH以上である場合(ステップS7;Yes)、パージ実施条件が成立しパージ要求が有ると判定して、パージ実行手段としてのECU50は、パージ制御弁38を開状態としてパージ処理を実行し(ステップS8;パージ実行ステップ)、処理を終了して、再びステップS1の処理に戻る。なお、このステップS8の処理では、パージ中でなかった場合は、パージ制御弁38が開けられ、パージ中であった場合は、パージ制御弁38は開状態のままに保持される。
一方、エンジン回転数Nがパージ判定閾値NH以上でない場合(ステップS7;No)、ECU50は、パージ実施条件が成立せずパージ要求が無いと判定して、パージ制御弁38を閉状態とし(ステップS12)、処理を終了して、再びステップS1の処理に戻る。なお、このステップS12の処理では、パージ中であった場合は、パージ制御弁38が閉じられ、パージ中でなかった場合は、パージ制御弁38は閉状態のままに保持される。
また、パージ判定閾値を閾値NGに設定後、パージ実施条件判定手段としてのECU50は、読み込んだエンジン回転数Nが、パージ判定閾値NG以上であるか否かを判定する(ステップS11;パージ実施条件判定ステップ)。エンジン回転数Nがパージ判定閾値NG以上である場合(ステップS11;Yes)、パージ実施条件が成立しパージ要求が有ると判定して、パージ実行手段としてのECU50は、パージ制御弁38を開状態としてパージ処理を実行し(ステップS8;パージ実行ステップ)、処理を終了して、再びステップS1の処理に戻る。
一方、エンジン回転数Nがパージ判定閾値NG以上でない場合(ステップS11;No)、ECU50は、パージ要求が無いと判定して、パージ制御弁38を開状態とし(ステップS12)、処理を終了して、再びステップS1の処理に戻る。
このように、本実施形態では、ガソリン運転モードの方が水素ガス運転モードよりも、エンジン回転数についてのパージ判定閾値を小さく設定することで、ガソリン運転モードの方が水素ガス運転モードよりもパージ実施頻度が高くなるように構成されている。これにより、エンジン運転時における排気エミッション(特に、HC)の排出量を低減することができる。
次に、図7に基づいて、本発明の第2実施形態について説明する。
第2実施形態では、蒸発燃料濃度に関する値(ガソリンタンク温度,ガソリンタンク内圧力,蒸発燃料濃度)が、パージ判定閾値に設定された例である。ガソリンタンク温度,ガソリンタンク内圧力,蒸発燃料濃度には、それぞれタンク温度センサ34a,タンク圧力センサ34b,蒸発燃料濃度センサ29の検出値が用いられる。これらは、蒸発燃料濃度に直接又は間接的に関連している。ガソリンタンク温度やガソリンタンク圧は、これらの値が蒸発燃料濃度と相関しており、これらの値が大きくなると蒸発燃料濃度が高くなる。
また、第2実施形態も上記実施形態と同様に、ガソリン運転モードが選択されているときと、水素ガス運転モードが選択されているときとで、異なるパージ判定閾値が設定されるように構成されている。
具体的には、ガソリンタンク温度については、ガソリン運転モードではパージ判定閾値TG(以下、「タンク温度判定閾値TG」という)が設定され、水素ガス運転モードではパージ判定閾値TH(以下、「タンク温度判定閾値TH」という)が設定される(ただし、TG<TH)。
また、ガソリンタンク圧については、ガソリン運転モードではパージ判定閾値PG(以下、「タンク圧判定閾値PG」という)が設定され、水素ガス運転モードではパージ判定閾値PH(以下、「タンク圧判定閾値PH」という)が設定される(ただし、PG<PH)。
また、蒸発燃料濃度については、ガソリン運転モードではパージ判定閾値EG(以下、「蒸発燃料濃度判定閾値EG」という)が設定され、水素ガス運転モードではパージ判定閾値EH(以下、「蒸発燃料濃度判定閾値EH」という)が設定される(ただし、EG<EH)。
このように、ガソリンタンク温度,ガソリンタンク圧,蒸発燃料濃度に関するパージ判定閾値は、ガソリン運転モードの方が水素ガス運転モードよりもパージが行われ易い値に設定されている(又は、水素ガス運転モードの方がガソリン運転モードよりもパージが行われ難い値に設定されている)。
図7は、第2実施形態によるパージ実行制御処理のフローチャートを示している。
この処理では、ECU50は、まず車速センサ62,アクセル開度センサ61から受け取った車速,アクセル開度を読み込む(ステップS21)。また、ECU50は、タンク温度センサ34a,タンク圧力センサ34b,蒸発燃料濃度センサ29から受け取ったタンク温度T,タンク圧P,蒸発燃料濃度Eを読み込む(ステップS22)。そして、ECU50は、読み込んだ車速及びアクセル開度と、マップデータ(図4)に基づいて、現在のトルク要求状態がエンジン駆動領域であるか否かを判定する(ステップS23)。
現在の運転条件がエンジン駆動領域でない場合(ステップS23;No)、ステップS21の処理に戻る。一方、現在の運転条件がエンジン駆動領域である場合(ステップS23;Yes)、ECU50は、運転モード選択スイッチ60の選択に基づいて受け取っている運転モード選択信号を読み込む(ステップS24)。
次いで、ECU50は、読み込んだ運転モード選択信号が、ガソリン運転モードを表しているものであるか否かを判定する(ステップS25)。運転モード選択信号がガソリン運転モードを表していない場合(ステップS25;No)、すなわち水素ガス運転モードを表している場合、エンジン制御手段としてのECU50は、水素ガス運転モードを選択し、エンジン2を水素ガスで運転する制御を行う(ステップS26;エンジン制御ステップ)。そして、パージ実施条件判定手段としてのECU50は、タンク温度判定閾値に閾値THを設定し(ステップS27;判定閾値変更ステップ)、タンク圧判定閾値に閾値PHを設定し(ステップS28;判定閾値変更ステップ)、蒸発燃料濃度判定閾値に閾値EHを設定する(ステップS29;判定閾値変更ステップ)。
一方、運転モード選択信号がガソリン運転モードを表している場合(ステップS25;Yes)、エンジン制御手段としてのECU50は、ガソリン運転モードを選択し、エンジン2をガソリンで運転する制御を行う(ステップS34;エンジン制御ステップ)。そして、パージ実施条件判定手段としてのECU50は、タンク温度判定閾値に閾値TGを設定し(ステップS35;判定閾値変更ステップ)、タンク圧判定閾値に閾値PGを設定し(ステップS36;判定閾値変更ステップ)、蒸発燃料濃度判定閾値に閾値EGを設定する(ステップS37;判定閾値変更ステップ)。
そして、パージ判定閾値を閾値TH,PH,EHに設定後(S27−S29)、パージ実施条件判定手段としてのECU50は、読み込んだタンク温度Tが、タンク温度判定閾値TH以上であるか否かを判定する(ステップS30;パージ実施条件判定ステップ)。タンク温度Tがタンク温度判定閾値TH以上である場合(ステップS30;Yes)、パージ実施条件が成立しパージ要求が有ると判定して、パージ実行手段としてのECU50は、パージ制御弁38を開状態としてパージ処理を実行し(ステップS33;パージ実行ステップ)、処理を終了して、再びステップS21の処理に戻る。なお、このステップS33の処理では、パージ中でなかった場合は、パージ制御弁38が開けられ、パージ中であった場合は、パージ制御弁38は開状態のままに保持される。
一方、タンク温度Tがタンク温度判定閾値TH以上でない場合(ステップS30;No)、ECU50は、読み込んだタンク圧Pが、タンク圧判定閾値PH以上であるか否かを判定する(ステップS31;パージ実施条件判定ステップ)。タンク圧Pがタンク圧判定閾値PH以上である場合(ステップS31;Yes)、パージ実行手段としてのECU50はパージ処理を実行し(ステップS33;パージ実行ステップ)、処理を終了して、再びステップS21の処理に戻る。
一方、タンク圧Pがタンク圧判定閾値PH以上でない場合(ステップS31;No)、ECU50は、読み込んだ蒸発燃料濃度Eが、蒸発燃料濃度判定閾値EH以上であるか否かを判定する(ステップS32;パージ実施条件判定ステップ)。蒸発燃料濃度Eが蒸発燃料濃度判定閾値EH以上である場合(ステップS32;Yes)、パージ実行手段としてのECU50はパージ処理を実行し(ステップS33;パージ実行ステップ)、処理を終了して、再びステップS21の処理に戻る。
一方、蒸発燃料濃度Eが蒸発燃料濃度判定閾値EH以上でない場合(ステップS32;No)、ECU50は、パージ実施条件が成立せずパージ要求が無いと判定して、パージ制御弁38を閉状態とし(ステップS41)、処理を終了して、再びステップS21の処理に戻る。なお、このステップS41の処理では、パージ中であった場合は、パージ制御弁38が閉じられ、パージ中でなかった場合は、パージ制御弁38は閉状態のままに保持される。
また、パージ判定閾値を閾値TG,PG,EGに設定後(S35−S37)、パージ実施条件判定手段としてのECU50は、読み込んだタンク温度Tが、タンク温度判定閾値TG以上であるか否かを判定する(ステップS38;パージ実施条件判定ステップ)。タンク温度Tがタンク温度判定閾値TG以上である場合(ステップS38;Yes)、パージ実施条件が成立しパージ要求が有ると判定して、パージ実行手段としてのECU50は、パージ制御弁38を開成してパージ処理を実行し(ステップS33;パージ実行ステップ)、処理を終了して、再びステップS21の処理に戻る。
一方、タンク温度Tがタンク温度判定閾値TG以上でない場合(ステップS38;No)、ECU50は、読み込んだタンク圧Pが、タンク圧判定閾値PG以上であるか否かを判定する(ステップS39;パージ実施条件判定ステップ)。タンク圧Pがタンク圧判定閾値PG以上である場合(ステップS39;Yes)、パージ実行手段としてのECU50はパージ処理を実行し(ステップS33;パージ実行ステップ)、処理を終了して、再びステップS21の処理に戻る。
一方、タンク圧Pがタンク圧判定閾値PG以上でない場合(ステップS39;No)、ECU50は、読み込んだ蒸発燃料濃度Eが、蒸発燃料濃度判定閾値EG以上であるか否かを判定する(ステップS40;パージ実施条件判定ステップ)。蒸発燃料濃度Eが蒸発燃料濃度判定閾値EG以上である場合(ステップS40;Yes)、パージ実行手段としてのECU50はパージ処理を実行し(ステップS33;パージ実行ステップ)、処理を終了して、再びステップS21の処理に戻る。
一方、蒸発燃料濃度Eが蒸発燃料濃度判定閾値EG以上でない場合(ステップS40;No)、ECU50は、パージ実施条件が成立せずパージ要求が無いと判定して、パージ制御弁38を閉状態とし(ステップS41)、処理を終了して、再びステップS21の処理に戻る。
このように、第2実施形態では、ガソリン運転モードの方が水素ガス運転モードよりも、蒸発燃料濃度に関するタンク温度判定閾値,タンク圧判定閾値,蒸発燃料濃度判定閾値を小さく設定することで、ガソリン運転モードの方が水素ガス運転モードよりもパージ実施頻度が高くなるように構成されている。これにより、第2実施形態においても、エンジン運転時における排気エミッション(特に、HC)の排出量を低減することができる。
次に、図8及び図9に基づいて、本発明の第3実施形態について説明する。
第3実施形態では、前回のパージが終了してからの経過時間(以下、「非供給経過時間」という)が、パージ判定閾値に設定された例である。すなわち、本実施形態では、非供給経過時間がパージ判定閾値で設定された指定時間に達した場合に、パージ条件が成立する。
第3実施形態も上記実施形態と同様に、ガソリン運転モードが選択されているときと、水素ガス運転モードが選択されているときとで、異なるパージ判定閾値が設定されるように構成されている。
具体的には、非供給経過時間について、ガソリン運転モードではパージ判定閾値SG(以下、「パージ間隔判定閾値SG」という)が設定され、水素ガス運転モードではパージ判定閾値SH(以下、「パージ間隔判定閾値SH」という)が設定される(ただし、SG<SH)。
このように、非供給経過時間についてのパージ判定閾値は、ガソリン運転モードの方が水素ガス運転モードよりもパージが行われ易い値に設定されている(又は、水素ガス運転モードの方がガソリン運転モードよりもパージが行われ難い値に設定されている)。
図8及び図9は、第3実施形態によるパージ実行制御処理のフローチャートを示している。このうち、図8はパージ判定閾値設定処理のフローチャートであり、図9はパージ実行処理のフローチャートである。
図8の処理ステップ中、ステップS51−S55及びS57は、図6の例のステップS1−S5,S9と同じであるので説明を省略する。
水素ガス運転モードが選択されている場合、ステップS56が実行され、この処理では、パージ実施条件判定手段としてのECU50は、パージ間隔判定閾値に閾値SHを設定し、処理を終了する(判定閾値変更ステップ)。また、ガソリン運転モードが選択されている場合、ステップS58が実行され、この処理では、パージ実施条件判定手段としてのECU50は、パージ間隔判定閾値に閾値SGを設定し、処理を終了する(判定閾値変更ステップ)。
また、図9の処理フローでは、ECU50は、前回実施したパージ終了からの非供給経過時間(パージ間隔)が、設定されているパージ間隔判定閾値以上であるか否か、すなわち、前回のパージ終了からパージ間隔判定閾値で設定された時間以上経過したか否か、を判定する(ステップS61;パージ実施条件判定ステップ)。
なお、パージ終了とは、パージ制御弁38が開状態となった後に閉状態となった時点を指している。
パージ間隔がパージ間隔判定閾値以上でない場合(ステップS61;No)、ECU50は、パージ実施条件が成立していないので、パージ制御弁38を閉状態とし(ステップS64)、処理を終了して、再びステップS61の処理に戻る。
一方、パージ間隔がパージ間隔判定閾値以上である場合(ステップS61;Yes)、パージ実行手段としてのECU50は、パージ実施条件が成立しているので、パージ処理を実行する(ステップS62;パージ実行ステップ)。そして、ECU50は、パージ間隔が、パージ間隔判定閾値と所定のパージ実行時間を加算した時間以上であるか否か、すなわち、パージ開始から所定のパージ実行時間が経過したか否かを判定する(ステップS63)。
パージ間隔がパージ間隔判定閾値と所定のパージ実行時間を加算した時間以上でない場合(ステップS63;No)、すなわち、まだパージ中であり所定のパージ実行時間だけパージが実施されていない場合、再びステップS61の処理に戻る。一方、パージ間隔がパージ間隔判定閾値と所定のパージ実行時間を加算した時間以上である場合(ステップS63;Yes)、所定のパージ実行時間だけパージが実施されたので、パージ制御弁38を閉状態とし(ステップS64)、再びステップS61の処理に戻る。なお、ステップS64の実施時点が、パージ終了に設定される。
このように、第3実施形態では、ガソリン運転モードの方が水素ガス運転モードよりも、非供給経過時間に関するパージ判定閾値を短く設定することで、ガソリン運転モードの方が水素ガス運転モードよりもパージ実施頻度が高くなるように構成されている。これにより、第3実施形態においても、エンジン運転時における排気エミッション(特に、HC)の排出量を低減することができる。
次に、図10及び図11に基づいて、本発明の第4実施形態について説明する。
第4実施形態は、ガソリン運転モード選択時にエンジン運転が行われ易くするように、図4に示したマップデータを変更することで、ガソリン運転モード中のパージ量を増加させ、水素ガス運転モード中のパージ量をその分減少させるように構成されている。これにより、排気エミッション(特に、HC)の排出量を低減することができる。
図10は、第4実施形態で用いられるマップデータを示している。
同図(A)に示す第1マップデータは、図4に示したマップデータと同じものであり、車速とアクセル開度をパラメータとした運転領域が、モータ7を効率よく駆動するためにエンジン駆動領域とバッテリ駆動領域に分割されたものである。
一方、同図(B)に示す第2マップデータは、エンジン駆動領域が、車速及びアクセル開度の比較的小さな領域まで拡大され、その分、バッテリ駆動領域が狭くなっている。このため、第2マップデータが選択されると、エンジン2を駆動源として運転される時間的割合が増加し、高電圧バッテリ5を駆動源として運転される時間的割合が減少する。
図11は、第4実施形態によるパージ実行制御処理のフローチャートを示している。
この処理では、ECU50は、まず車速センサ62,アクセル開度センサ61から受け取った車速,アクセル開度を読み込み(ステップS71)、運転モード選択スイッチ60の選択に基づいて受け取っている運転モード選択信号を読み込み(ステップS72)、さらに、蒸発燃料濃度センサ29から受け取った蒸発燃料濃度Eを読み込む(ステップS73)。
なお、本実施形態では、蒸発燃料濃度センサ29から蒸発燃料濃度を読み込んでいるが、これに限らず、タンク温度センサ34a,タンク圧力センサ34bからの検出値に基づいて、蒸発燃料濃度を計算により算出してもよい。
次いで、ECU50は、読み込んだ運転モード選択信号が、水素ガス運転モードを表しているものであるか否かを判定する(ステップS74;運転モード選択ステップ)。運転モード選択信号が水素ガス運転モードを表している場合(ステップS74;Yes)、運転モード選択手段としてのECU50は、水素ガス運転モードを選択し、さらに第1マップデータを選択する(ステップS75)。
そして、駆動源選択手段としてのECU50は、読み込んだ車速及びアクセル開度と、選択した第1マップデータに基づいて、現在のトルク要求状態がエンジン駆動領域であるか否かを判定する(ステップS76;駆動源選択ステップ)。
現在の運転条件がエンジン駆動領域でない場合(ステップS76;No)、すなわちバッテリ駆動される場合、パージは行われないため、ECU50は、パージ制御弁38を閉状態とし(ステップS81)、処理を終了して、再びステップS71の処理に戻る。
一方、現在の運転条件がエンジン駆動領域である場合(ステップS76;Yes)、ECU50は、現在パージが行われているか否かを判定する(ステップS77)。
現在パージが行われていない場合(ステップS77;No)、パージ実行手段としてのECU50は、読み込んだ蒸発燃料濃度Eが、パージ判定閾値である濃度E3以上であるか否かを判定し(ステップS78)、蒸発燃料濃度Eが、濃度E3以上である場合(ステップS78;Yes)、パージ実施条件が成立しているので、パージ処理を実行し(ステップS79;パージ実行ステップ)、処理を終了して、再びステップS71の処理に戻る。
一方、蒸発燃料濃度Eが、濃度E3以上でない場合(ステップS78;No)、パージ実施条件が成立しておらず、まだパージを開始するほど蒸発燃料濃度が高くないので、ECU50は、パージ制御弁38を閉状態に保持し(ステップS81)、処理を終了して、再びステップS71の処理に戻る。
また、現在既にパージが行われている場合(ステップS77;Yes)、読み込んだ蒸発燃料濃度Eが、所定の濃度E33以上あるか否かを判定する(ステップS80)。この濃度E33は、パージ判定閾値濃度E3よりも小さい値に設定されており(E3>E33)、パージを停止するための値を規定している。
蒸発燃料濃度Eが濃度E33以上である場合(ステップS80;Yes)、蒸発燃料濃度は依然高い状態であるので、パージ実行手段としてのECU50は、引き続きパージ制御弁38を開状態としてパージ処理を実行し(ステップS79;パージ実行ステップ)、処理を終了して、再びステップS71の処理に戻る。
一方、蒸発燃料濃度Eが、濃度E33以上でない場合(ステップS80;No)、すなわち、パージ実行により蒸発燃料濃度が濃度E33未満となった場合、パージ実施条件が不成立になったと判断して、ECU50は、パージ制御弁38を閉状態とし(ステップS81)、処理を終了して、再びステップS71の処理に戻る。
このように、運転モードに水素ガス運転モードが選択されている場合、エンジン運転すべき運転条件では水素ガス運転モードとなるが、このとき、通常のマップデータ(図10(A))を用いて、エンジン運転すべきかバッテリ運転すべきかが決定される。また、ECU50は、蒸発燃料濃度Eがパージ判定閾値濃度E3以上となった場合にパージを開始し、蒸発燃料濃度Eがパージ停止濃度である濃度E33未満となった場合にパージを停止する。
そして、本実施形態では、パージ判定閾値濃度E3をかなり高い濃度に設定することで、水素ガス運転モードにおけるパージ実施頻度を低くしており、さらに、パージ停止濃度E33も比較的高い濃度に設定することで、パージが実施されてもパージ総量がそれほど多くならないようにしている。
また、運転モード選択信号が水素ガス運転モードを表していない場合(ステップS74;No)、すなわちガソリン運転モードを表している場合、運転モード選択手段としてのECU50は、ガソリン運転モードを選択し、さらに現在既にパージが実施されているか否かを判定する(ステップS82)。
現在パージ中でない場合(ステップS82;No)、ECU50は、読み込んだ蒸発燃料濃度Eが、パージ判定閾値である濃度E2以上であるか否かを判定し(ステップS83;判定ステップ)、蒸発燃料濃度Eが濃度E2以上である場合(ステップS83;Yes)、蒸発燃料濃度が中程度に高いので、図10(B)に示すエンジン駆動領域が拡大された第2マップデータを選択する(ステップS84;運転領域拡大ステップ)。ただし、E3>E2である。
そして、駆動源選択手段としてのECU50は、読み込んだ車速及びアクセル開度と、選択した第2マップデータに基づいて、現在のトルク要求状態がエンジン駆動領域であるか否かを判定し(ステップS85;駆動源選択ステップ)、現在の運転条件がエンジン駆動領域である場合(ステップS85;Yes)、パージ実行手段としてのECU50は、パージを実行し(ステップS79;パージ実行ステップ)、処理を終了して、再びステップS71の処理に戻る。一方、現在の運転条件がエンジン駆動領域でない場合(ステップS85;No)、ECU50は、パージを実行できないので、パージ制御弁38を閉状態とし(ステップS81)、処理を終了して、再びステップS71の処理に戻る。
また、現在パージ中である場合(ステップS82;Yes)、ECU50は、第2マップデータが選択されているか否かを判定する(ステップS86)。第2マップデータが選択されている場合(ステップS86;Yes)、すなわち蒸発燃料濃度が中程度でパージが開始された場合、駆動源選択手段としてのECU50は、読み込んだ車速及びアクセル開度と、選択されている第2マップデータに基づいて、現在のトルク要求状態がエンジン駆動領域であるか否かを判定する(ステップS87;駆動源選択ステップ)。
現在のトルク要求状態がエンジン駆動領域でない場合(ステップS87;No)、ECU50は、パージできないので、パージを停止して(ステップS81)、処理を終了し、再びステップS71の処理に戻る。
一方、現在のトルク要求状態がエンジン駆動領域である場合(ステップS87;Yes)、ECU50は、読み込んだ蒸発燃料濃度Eが、パージ停止濃度である濃度E22以上であるか否かを判定する(ステップS88)。この濃度E22は、パージ判定閾値濃度E2よりも小さい値に設定されており(E2>E22)、パージを停止するための値を規定している。
蒸発燃料濃度Eが、濃度E22以上である場合(ステップS83;Yes)、蒸発燃料濃度が依然として中程度に高いので、パージ実行手段としてのECU50は、パージを継続し(ステップS79;パージ実行ステップ)、処理を終了して、再びステップS71の処理に戻る。一方、蒸発燃料濃度Eが、濃度E22以上でない場合(ステップS83;No)、蒸発燃料濃度がパージ停止濃度未満となったので、パージを停止し(ステップS81)、処理を終了して、再びステップS71の処理に戻る。
そして、本実施形態では、パージ判定閾値濃度E2をパージ判定閾値濃度E3よりも低い(E2<E3)、中程度の値に設定することで、ガソリン運転モードにおいてパージ実施頻度を高くしている。そして、パージが開始されると、低濃度に設定されたパージ停止濃度E22までパージが行われる。さらに、ガソリン運転モードでは、原則的に、エンジン駆動領域が拡大された第2マップデータが選択されるので、エンジン運転される時間的割合が増加し、よりパージ実施頻度を高くすることができる。
また、ステップS83において、蒸発燃料濃度Eが、濃度E2以上でない場合(ステップS83;No)、蒸発燃料濃度が低濃度であるので、ECU50は、図10(A)に示す通常の第1マップデータを選択する(ステップS89)。これにより、ガソリン運転モード選択時、蒸発燃料濃度が低い場合には、通常の第1マップデータが選択され、エンジン駆動とバッテリ駆動との切り替えに基づく、モータ7の良好な駆動効率を優先させることができる。
そして、駆動源選択手段としてのECU50は、読み込んだ車速及びアクセル開度と、選択した第1マップデータに基づいて、現在のトルク要求状態がエンジン駆動領域であるか否かを判定する(ステップS90;駆動源選択ステップ)。
現在のトルク要求状態がエンジン駆動領域でない場合(ステップS90;No)、ECU50は、パージを実行できないので、パージ制御弁38を閉状態のままとして(ステップS81)、処理を終了して、再びステップS71の処理に戻る。
一方、現在のトルク要求状態がエンジン駆動領域である場合(ステップS90;Yes)、ECU50は、読み込んだ蒸発燃料濃度Eが、パージ判定閾値である濃度E1以上であるか否かを判定し(ステップS91)、蒸発燃料濃度Eが、濃度E1以上である場合(ステップS91;Yes)、蒸発燃料濃度が中程度に近い低濃度であるので、パージ実行手段としてのECU50は、パージを実行し(ステップS79;パージ実行ステップ)、処理を終了して、再びステップS71の処理に戻る。
また、ステップS86で第2マップデータが選択されていない場合(ステップS86;No)、すなわち蒸発燃料濃度が低程度でパージが開始された場合、ECU50は、読み込んだ車速及びアクセル開度と、選択されている第1マップデータに基づいて、現在のトルク要求状態がエンジン駆動領域であるか否かを判定する(ステップS92;駆動源選択ステップ)。
現在のトルク要求状態がエンジン駆動領域でない場合(ステップS92;No)、パージできないので、ECU50はパージを停止し(ステップS81)、処理を終了して、再びステップS71の処理に戻る。
一方、現在のトルク要求状態がエンジン駆動領域である場合(ステップS92;Yes)は、ECU50は、読み込んだ蒸発燃料濃度Eが、パージ停止濃度である濃度E11以上であるか否かを判定する(ステップS88)。この濃度E11は、パージ判定閾値濃度E1よりも小さい値に設定されており(E1>E11)、パージを停止するための値を規定している。この場合、濃度E11は、極めて低濃度に設定されている。
したがって、ガソリン運転モードで、第1マップデータが選択されている場合は、蒸発燃料濃度が低濃度に保持され、一旦、パージが開始されると、極めて低濃度となるまでパージが継続される。
このように、第4実施形態では、ガソリン運転モードで蒸発燃料濃度が中程度である場合(E≧E2)には、エンジン駆動領域が拡大された第2マップデータを選択し、エンジン駆動の時間的割合を増加させることで、パージ頻度を増加させている。一方、水素ガス運転モード及びガソリン運転モードで蒸発燃料が低程度である場合(E<E2)には、エンジン駆動とバッテリ駆動とを最適な効率で行う通常の第1マップデータを選択し、水素ガス運転モードではパージ頻度を抑制し、ガソリン運転モードではモータ駆動効率を優先させた制御を行っている。これにより、第4実施形態においても、エンジン運転時における排気エミッション(特に、HC)の排出量を低減することができる。
本発明の実施形態によるハイブリッド車両の構成図である。 本発明の実施形態によるデュアルフューエルエンジンの構成図である。 本発明の実施形態によるハイブリッド車両の電気ブロック図である。 本発明の実施形態によるハイブリッド車両の運転領域を表すマップデータである。 本発明の実施形態によるパージ実行制御処理の説明図である。 本発明の実施形態によるパージ実行制御処理のフローチャートである。 本発明の第2実施形態によるパージ実行制御処理のフローチャートである。 本発明の第3実施形態によるパージ実行制御処理のフローチャートである。 本発明の第3実施形態によるパージ実行制御処理のフローチャートである。 本発明の第4実施形態によるハイブリッド車両の運転領域を表すマップデータである。 本発明の第4実施形態によるパージ実行制御処理のフローチャートである。
符号の説明
1 ハイブリッド車両
2 デュアルフューエルエンジン
5 高電圧バッテリ
7 モータ
11 気筒
12 ロータ
16a 吸気通路
16b 排気通路
20 排気浄化装置
21 触媒温度センサ
29 蒸発燃料濃度センサ
32 ガソリンタンク
34a タンク温度センサ
34b タンク圧力センサ
35 蒸発燃料通路
36 キャニスタ
37 パージ通路
38 パージ制御弁
39 パージ制御弁開度センサ
60 運転モード選択スイッチ
61 アクセル開度センサ
62 車速センサ
63 エンジン回転数センサ

Claims (12)

  1. 燃焼時の熱量が低い非炭化水素系の第1燃料で運転する運転モードと第1燃料に対し燃焼時の熱量が高い炭化水素系の第2燃料で運転する運転モードのいずれか一方で運転するデュアルフューエルエンジンと、他の駆動源と、を備えたハイブリッド車両におけるエンジンの制御方法であって、
    運転者の要求に応じて、第1燃料又は第2燃料の内の一方による運転モードを選択し、選択した運転モードでエンジンを制御するエンジン制御ステップと、
    第1燃料又は第2燃料による運転モードでエンジンを運転中に、第2燃料の蒸発燃料をエンジンに供給するためのパージ実施条件が成立したか否かを判定するパージ実施条件判定ステップと、
    前記パージ実施条件が成立した場合に、蒸発燃料をエンジンに供給するパージ実行ステップと、を備え、
    前記パージ実施条件判定ステップは、所定の判定値が判定閾値に達した場合に、パージ実施条件が成立したと判定するものであって、第1燃料による運転モードよりも第2燃料による運転モードでパージ実施条件が成立し易くするように、第1燃料による運転モードにおける判定閾値と、第2燃料による運転モードにおける判定閾値とを異なった値に設定する判定閾値変更ステップを含むことを特徴とするエンジンの制御方法。
  2. 前記判定値が、エンジン回転数であって、
    前記判定閾値変更ステップは、第1燃料による運転モードにおける判定閾値よりも、第2燃料による運転モードにおける判定閾値を小さな値に設定することを特徴とする請求項1に記載のエンジンの制御方法。
  3. 前記判定値が、蒸発燃料濃度に関する値であって、
    前記判定閾値変更ステップは、第1燃料による運転モードにおける判定閾値よりも、第2燃料による運転モードにおける判定閾値を小さな値に設定することを特徴とする請求項1に記載のエンジンの制御方法。
  4. 前記判定値が、蒸発燃料が非供給状態となってからの経過時間であって、
    前記判定閾値変更ステップは、第1燃料による運転モードにおける判定閾値よりも、第2燃料による運転モードにおける判定閾値を小さな値に設定することを特徴とする請求項1に記載のエンジンの制御方法。
  5. 燃焼時の熱量が低い非炭化水素系の第1燃料で運転する運転モードと第1燃料に対し燃焼時の熱量が高い炭化水素系の第2燃料で運転する運転モードのいずれか一方で運転するデュアルフューエルエンジンと、他の駆動源と、を備えたハイブリッド車両におけるエンジンの制御方法であって、
    運転者の要求に応じて、第1燃料又は第2燃料の内の一方による運転モードを選択する運転モード選択ステップと、
    エンジンを用いて車両運転する運転条件を規定する第1運転領域と、この第1運転領域以外の運転領域であって、前記他の駆動源を用いて車両運転する運転条件を規定する第2運転領域と、が設定された運転領域データに基づいて、現在の運転条件から、駆動源としてエンジン又は前記他の駆動源を選択する駆動源選択ステップと、
    エンジンが駆動源として選択されているときに、第2燃料の蒸発燃料をエンジンに供給するためのパージを実行するパージ実行ステップと、を備え、
    前記駆動源選択ステップは、第2燃料による運転モードが選択されているときの第1運転領域を、第1燃料による運転モードが選択されているときの第1運転領域よりも拡大して設定する運転領域拡大ステップを含むことを特徴とするエンジンの制御方法。
  6. 前記運転領域拡大ステップは、蒸発燃料濃度に関する値が所定の判定閾値に達したことを判定する判定ステップを含み、この判定ステップで、蒸発燃料濃度に関する値が前記判定閾値に達したと判定された場合に、第2燃料による運転モードが選択されているときの第1運転領域を、第1燃料による運転モードが選択されているときの第1運転領域よりも拡大して設定することを特徴とする請求項5に記載のエンジンの制御方法。
  7. 燃焼時の熱量が低い非炭化水素系の第1燃料で運転する運転モードと第1燃料に対し燃焼時の熱量が高い炭化水素系の第2燃料で運転する運転モードのいずれか一方で運転するデュアルフューエルエンジンと、他の駆動源と、を備えたハイブリッド車両におけるエンジンの制御装置であって、
    運転者の要求に応じて、第1燃料又は第2燃料の内の一方による運転モードを選択し、選択した運転モードでエンジンを制御するエンジン制御手段と、
    第1燃料又は第2燃料による運転モードでエンジンを運転中に、第2燃料の蒸発燃料をエンジンに供給するためのパージ実施条件が成立したか否かを判定するパージ実施条件判定手段と、
    前記パージ実施条件が成立した場合に、蒸発燃料をエンジンに供給するパージ実行手段と、を備え、
    前記パージ実施条件判定手段は、所定の判定値が判定閾値に達した場合に、パージ実施条件が成立したと判定するものであって、第1燃料による運転モードよりも第2燃料による運転モードでパージ実施条件が成立し易くするように、第1燃料による運転モードにおける判定閾値と、第2燃料による運転モードにおける判定閾値とを異なった値に設定することを特徴とするエンジンの制御装置。
  8. 前記判定値が、エンジン回転数であって、
    前記パージ実施条件判定手段は、第1燃料による運転モードにおける判定閾値よりも、第2燃料による運転モードにおける判定閾値を小さな値に設定することを特徴とする請求項7に記載のエンジンの制御装置。
  9. 前記判定値が、蒸発燃料濃度に関する値であって、
    前記パージ実施条件判定手段は、第1燃料による運転モードにおける判定閾値よりも、第2燃料による運転モードにおける判定閾値を小さな値に設定することを特徴とする請求項7に記載のエンジンの制御装置。
  10. 前記判定値が、蒸発燃料が非供給状態となってからの経過時間であって、
    前記パージ実施条件判定手段は、第1燃料による運転モードにおける判定閾値よりも、第2燃料による運転モードにおける判定閾値を小さな値に設定することを特徴とする請求項7に記載のエンジンの制御装置。
  11. 燃焼時の熱量が低い非炭化水素系の第1燃料で運転する運転モードと第1燃料に対し燃焼時の熱量が高い炭化水素系の第2燃料で運転する運転モードのいずれか一方で運転するデュアルフューエルエンジンと、他の駆動源と、を備えたハイブリッド車両におけるエンジンの制御装置であって、
    運転者の要求に応じて、第1燃料又は第2燃料の内の一方による運転モードを選択する運転モード選択手段と、
    エンジンを用いて車両運転する運転条件を規定する第1運転領域と、この第1運転領域以外の運転領域であって、前記他の駆動源を用いて車両運転する運転条件を規定する第2運転領域と、が設定された運転領域データに基づいて、現在の運転条件から、駆動源としてエンジン又は前記他の駆動源を選択する駆動源選択手段と、
    エンジンが駆動源として選択されているときに、第2燃料の蒸発燃料をエンジンに供給するためのパージを実行するパージ実行手段と、を備え、
    前記駆動源選択手段は、第2燃料による運転モードが選択されているときの第1運転領域を、第1燃料による運転モードが選択されているときの第1運転領域よりも拡大して設定することを特徴とするエンジンの制御方法。
  12. 前記駆動源選択手段は、蒸発燃料濃度に関する値が所定の判定閾値に達したことを判定し、この判定により、蒸発燃料濃度に関する値が前記判定閾値に達したと判定された場合に、第2燃料による運転モードが選択されているときの第1運転領域を、第1燃料による運転モードが選択されているときの第1運転領域よりも拡大して設定することを特徴とする請求項11に記載のエンジンの制御装置。
JP2008203405A 2008-08-06 2008-08-06 エンジン制御方法及びエンジン制御装置 Active JP5240511B2 (ja)

Priority Applications (1)

Application Number Priority Date Filing Date Title
JP2008203405A JP5240511B2 (ja) 2008-08-06 2008-08-06 エンジン制御方法及びエンジン制御装置

Applications Claiming Priority (1)

Application Number Priority Date Filing Date Title
JP2008203405A JP5240511B2 (ja) 2008-08-06 2008-08-06 エンジン制御方法及びエンジン制御装置

Publications (2)

Publication Number Publication Date
JP2010038076A true JP2010038076A (ja) 2010-02-18
JP5240511B2 JP5240511B2 (ja) 2013-07-17

Family

ID=42010875

Family Applications (1)

Application Number Title Priority Date Filing Date
JP2008203405A Active JP5240511B2 (ja) 2008-08-06 2008-08-06 エンジン制御方法及びエンジン制御装置

Country Status (1)

Country Link
JP (1) JP5240511B2 (ja)

Cited By (2)

* Cited by examiner, † Cited by third party
Publication number Priority date Publication date Assignee Title
JP2010095191A (ja) * 2008-10-17 2010-04-30 Toyota Motor Corp ハイブリッド車両の制御装置
JP2015178360A (ja) * 2015-06-17 2015-10-08 トヨタ自動車株式会社 車両用ハイブリッド駆動装置

Families Citing this family (1)

* Cited by examiner, † Cited by third party
Publication number Priority date Publication date Assignee Title
JPH07119453B2 (ja) 1991-07-08 1995-12-20 正照 新村 浮消波装置

Citations (5)

* Cited by examiner, † Cited by third party
Publication number Priority date Publication date Assignee Title
JP2005083280A (ja) * 2003-09-09 2005-03-31 Toyota Motor Corp 内燃機関の制御装置
JP2005220802A (ja) * 2004-02-05 2005-08-18 Toyota Motor Corp バイフューエルエンジン及びバイフューエルエンジンにおける液体燃料の蒸発成分パージ方法
JP2007162632A (ja) * 2005-12-15 2007-06-28 Mazda Motor Corp デュアルフューエルエンジンの蒸発燃料制御装置
JP2008038608A (ja) * 2006-08-01 2008-02-21 Mazda Motor Corp デュアルフューエルエンジンの制御装置
JP2008100570A (ja) * 2006-10-18 2008-05-01 Mazda Motor Corp デュアルフューエルエンジンを備えたハイブリッド車両の制御装置

Patent Citations (5)

* Cited by examiner, † Cited by third party
Publication number Priority date Publication date Assignee Title
JP2005083280A (ja) * 2003-09-09 2005-03-31 Toyota Motor Corp 内燃機関の制御装置
JP2005220802A (ja) * 2004-02-05 2005-08-18 Toyota Motor Corp バイフューエルエンジン及びバイフューエルエンジンにおける液体燃料の蒸発成分パージ方法
JP2007162632A (ja) * 2005-12-15 2007-06-28 Mazda Motor Corp デュアルフューエルエンジンの蒸発燃料制御装置
JP2008038608A (ja) * 2006-08-01 2008-02-21 Mazda Motor Corp デュアルフューエルエンジンの制御装置
JP2008100570A (ja) * 2006-10-18 2008-05-01 Mazda Motor Corp デュアルフューエルエンジンを備えたハイブリッド車両の制御装置

Cited By (2)

* Cited by examiner, † Cited by third party
Publication number Priority date Publication date Assignee Title
JP2010095191A (ja) * 2008-10-17 2010-04-30 Toyota Motor Corp ハイブリッド車両の制御装置
JP2015178360A (ja) * 2015-06-17 2015-10-08 トヨタ自動車株式会社 車両用ハイブリッド駆動装置

Also Published As

Publication number Publication date
JP5240511B2 (ja) 2013-07-17

Similar Documents

Publication Publication Date Title
JP4702407B2 (ja) デュアルフューエルエンジンの制御方法及びその装置
US20170120756A1 (en) Vehicle equipped with engine for driving a generator
JP5233447B2 (ja) ハイブリッド自動車の制御方法及びその装置
JP5240511B2 (ja) エンジン制御方法及びエンジン制御装置
JP6319239B2 (ja) 気体燃料エンジンの制御装置
WO2009122254A2 (en) Hybrid vehicle control device and control method
JP2008274823A (ja) 内燃機関の酸素センサ故障診断装置
JP5071889B2 (ja) デュアルフューエルエンジンの制御方法及びその装置
JP5519331B2 (ja) 車両の制御装置
JP2009083541A (ja) ハイブリッド車両の制御装置
JP5246486B2 (ja) エンジン制御方法及びエンジン制御装置
JP5884289B2 (ja) ハイブリッド車両の制御装置
JP4412194B2 (ja) 直噴式水素エンジンの制御装置
JP5018435B2 (ja) 車両および内燃機関の制御方法
JP2010030458A (ja) エンジン制御方法及びエンジン制御装置
JP2005002867A (ja) 内燃機関の排気浄化システム
JP2012225231A (ja) 燃料蒸発ガス処理装置
JP6003220B2 (ja) 内燃機関の排気ガス浄化方法及び装置
JP2011202607A (ja) 内燃機関の制御装置
JP2007113420A (ja) 内燃機関の制御装置
JP5677666B2 (ja) 車両の制御装置
JP2007064150A (ja) 水素エンジンの制御装置
JP6036248B2 (ja) ハイブリッド車両の制御装置
JP5310113B2 (ja) 内燃機関
JP2013237372A (ja) 内燃機関の排気ガス浄化装置及び制御方法

Legal Events

Date Code Title Description
A621 Written request for application examination

Free format text: JAPANESE INTERMEDIATE CODE: A621

Effective date: 20110620

A521 Written amendment

Free format text: JAPANESE INTERMEDIATE CODE: A523

Effective date: 20120329

A131 Notification of reasons for refusal

Free format text: JAPANESE INTERMEDIATE CODE: A131

Effective date: 20120816

A521 Written amendment

Free format text: JAPANESE INTERMEDIATE CODE: A523

Effective date: 20121005

TRDD Decision of grant or rejection written
A01 Written decision to grant a patent or to grant a registration (utility model)

Free format text: JAPANESE INTERMEDIATE CODE: A01

Effective date: 20130307

A61 First payment of annual fees (during grant procedure)

Free format text: JAPANESE INTERMEDIATE CODE: A61

Effective date: 20130320

FPAY Renewal fee payment (event date is renewal date of database)

Free format text: PAYMENT UNTIL: 20160412

Year of fee payment: 3

R150 Certificate of patent or registration of utility model

Free format text: JAPANESE INTERMEDIATE CODE: R150