JP2010036776A - 車両用バッテリの充電制御方法及び充電制御装置 - Google Patents

車両用バッテリの充電制御方法及び充電制御装置 Download PDF

Info

Publication number
JP2010036776A
JP2010036776A JP2008203406A JP2008203406A JP2010036776A JP 2010036776 A JP2010036776 A JP 2010036776A JP 2008203406 A JP2008203406 A JP 2008203406A JP 2008203406 A JP2008203406 A JP 2008203406A JP 2010036776 A JP2010036776 A JP 2010036776A
Authority
JP
Japan
Prior art keywords
battery
engine
fuel
charging
vehicle
Prior art date
Legal status (The legal status is an assumption and is not a legal conclusion. Google has not performed a legal analysis and makes no representation as to the accuracy of the status listed.)
Granted
Application number
JP2008203406A
Other languages
English (en)
Other versions
JP5218832B2 (ja
Inventor
Kazuyasu Dosono
一保 堂園
Masanori Matsushita
正典 松下
Takuji Kawada
卓二 川田
Keihei Wakayama
敬平 若山
Current Assignee (The listed assignees may be inaccurate. Google has not performed a legal analysis and makes no representation or warranty as to the accuracy of the list.)
Mazda Motor Corp
Original Assignee
Mazda Motor Corp
Priority date (The priority date is an assumption and is not a legal conclusion. Google has not performed a legal analysis and makes no representation as to the accuracy of the date listed.)
Filing date
Publication date
Application filed by Mazda Motor Corp filed Critical Mazda Motor Corp
Priority to JP2008203406A priority Critical patent/JP5218832B2/ja
Publication of JP2010036776A publication Critical patent/JP2010036776A/ja
Application granted granted Critical
Publication of JP5218832B2 publication Critical patent/JP5218832B2/ja
Expired - Fee Related legal-status Critical Current
Anticipated expiration legal-status Critical

Links

Images

Classifications

    • BPERFORMING OPERATIONS; TRANSPORTING
    • B60VEHICLES IN GENERAL
    • B60LPROPULSION OF ELECTRICALLY-PROPELLED VEHICLES; SUPPLYING ELECTRIC POWER FOR AUXILIARY EQUIPMENT OF ELECTRICALLY-PROPELLED VEHICLES; ELECTRODYNAMIC BRAKE SYSTEMS FOR VEHICLES IN GENERAL; MAGNETIC SUSPENSION OR LEVITATION FOR VEHICLES; MONITORING OPERATING VARIABLES OF ELECTRICALLY-PROPELLED VEHICLES; ELECTRIC SAFETY DEVICES FOR ELECTRICALLY-PROPELLED VEHICLES
    • B60L15/00Methods, circuits, or devices for controlling the traction-motor speed of electrically-propelled vehicles
    • B60L15/20Methods, circuits, or devices for controlling the traction-motor speed of electrically-propelled vehicles for control of the vehicle or its driving motor to achieve a desired performance, e.g. speed, torque, programmed variation of speed
    • BPERFORMING OPERATIONS; TRANSPORTING
    • B60VEHICLES IN GENERAL
    • B60LPROPULSION OF ELECTRICALLY-PROPELLED VEHICLES; SUPPLYING ELECTRIC POWER FOR AUXILIARY EQUIPMENT OF ELECTRICALLY-PROPELLED VEHICLES; ELECTRODYNAMIC BRAKE SYSTEMS FOR VEHICLES IN GENERAL; MAGNETIC SUSPENSION OR LEVITATION FOR VEHICLES; MONITORING OPERATING VARIABLES OF ELECTRICALLY-PROPELLED VEHICLES; ELECTRIC SAFETY DEVICES FOR ELECTRICALLY-PROPELLED VEHICLES
    • B60L2210/00Converter types
    • B60L2210/30AC to DC converters
    • BPERFORMING OPERATIONS; TRANSPORTING
    • B60VEHICLES IN GENERAL
    • B60LPROPULSION OF ELECTRICALLY-PROPELLED VEHICLES; SUPPLYING ELECTRIC POWER FOR AUXILIARY EQUIPMENT OF ELECTRICALLY-PROPELLED VEHICLES; ELECTRODYNAMIC BRAKE SYSTEMS FOR VEHICLES IN GENERAL; MAGNETIC SUSPENSION OR LEVITATION FOR VEHICLES; MONITORING OPERATING VARIABLES OF ELECTRICALLY-PROPELLED VEHICLES; ELECTRIC SAFETY DEVICES FOR ELECTRICALLY-PROPELLED VEHICLES
    • B60L2210/00Converter types
    • B60L2210/40DC to AC converters
    • BPERFORMING OPERATIONS; TRANSPORTING
    • B60VEHICLES IN GENERAL
    • B60LPROPULSION OF ELECTRICALLY-PROPELLED VEHICLES; SUPPLYING ELECTRIC POWER FOR AUXILIARY EQUIPMENT OF ELECTRICALLY-PROPELLED VEHICLES; ELECTRODYNAMIC BRAKE SYSTEMS FOR VEHICLES IN GENERAL; MAGNETIC SUSPENSION OR LEVITATION FOR VEHICLES; MONITORING OPERATING VARIABLES OF ELECTRICALLY-PROPELLED VEHICLES; ELECTRIC SAFETY DEVICES FOR ELECTRICALLY-PROPELLED VEHICLES
    • B60L2240/00Control parameters of input or output; Target parameters
    • B60L2240/10Vehicle control parameters
    • B60L2240/12Speed
    • BPERFORMING OPERATIONS; TRANSPORTING
    • B60VEHICLES IN GENERAL
    • B60LPROPULSION OF ELECTRICALLY-PROPELLED VEHICLES; SUPPLYING ELECTRIC POWER FOR AUXILIARY EQUIPMENT OF ELECTRICALLY-PROPELLED VEHICLES; ELECTRODYNAMIC BRAKE SYSTEMS FOR VEHICLES IN GENERAL; MAGNETIC SUSPENSION OR LEVITATION FOR VEHICLES; MONITORING OPERATING VARIABLES OF ELECTRICALLY-PROPELLED VEHICLES; ELECTRIC SAFETY DEVICES FOR ELECTRICALLY-PROPELLED VEHICLES
    • B60L2240/00Control parameters of input or output; Target parameters
    • B60L2240/10Vehicle control parameters
    • B60L2240/36Temperature of vehicle components or parts
    • BPERFORMING OPERATIONS; TRANSPORTING
    • B60VEHICLES IN GENERAL
    • B60LPROPULSION OF ELECTRICALLY-PROPELLED VEHICLES; SUPPLYING ELECTRIC POWER FOR AUXILIARY EQUIPMENT OF ELECTRICALLY-PROPELLED VEHICLES; ELECTRODYNAMIC BRAKE SYSTEMS FOR VEHICLES IN GENERAL; MAGNETIC SUSPENSION OR LEVITATION FOR VEHICLES; MONITORING OPERATING VARIABLES OF ELECTRICALLY-PROPELLED VEHICLES; ELECTRIC SAFETY DEVICES FOR ELECTRICALLY-PROPELLED VEHICLES
    • B60L2240/00Control parameters of input or output; Target parameters
    • B60L2240/40Drive Train control parameters
    • B60L2240/42Drive Train control parameters related to electric machines
    • B60L2240/423Torque
    • BPERFORMING OPERATIONS; TRANSPORTING
    • B60VEHICLES IN GENERAL
    • B60LPROPULSION OF ELECTRICALLY-PROPELLED VEHICLES; SUPPLYING ELECTRIC POWER FOR AUXILIARY EQUIPMENT OF ELECTRICALLY-PROPELLED VEHICLES; ELECTRODYNAMIC BRAKE SYSTEMS FOR VEHICLES IN GENERAL; MAGNETIC SUSPENSION OR LEVITATION FOR VEHICLES; MONITORING OPERATING VARIABLES OF ELECTRICALLY-PROPELLED VEHICLES; ELECTRIC SAFETY DEVICES FOR ELECTRICALLY-PROPELLED VEHICLES
    • B60L2240/00Control parameters of input or output; Target parameters
    • B60L2240/40Drive Train control parameters
    • B60L2240/44Drive Train control parameters related to combustion engines
    • B60L2240/441Speed
    • BPERFORMING OPERATIONS; TRANSPORTING
    • B60VEHICLES IN GENERAL
    • B60LPROPULSION OF ELECTRICALLY-PROPELLED VEHICLES; SUPPLYING ELECTRIC POWER FOR AUXILIARY EQUIPMENT OF ELECTRICALLY-PROPELLED VEHICLES; ELECTRODYNAMIC BRAKE SYSTEMS FOR VEHICLES IN GENERAL; MAGNETIC SUSPENSION OR LEVITATION FOR VEHICLES; MONITORING OPERATING VARIABLES OF ELECTRICALLY-PROPELLED VEHICLES; ELECTRIC SAFETY DEVICES FOR ELECTRICALLY-PROPELLED VEHICLES
    • B60L2240/00Control parameters of input or output; Target parameters
    • B60L2240/40Drive Train control parameters
    • B60L2240/44Drive Train control parameters related to combustion engines
    • B60L2240/443Torque
    • BPERFORMING OPERATIONS; TRANSPORTING
    • B60VEHICLES IN GENERAL
    • B60LPROPULSION OF ELECTRICALLY-PROPELLED VEHICLES; SUPPLYING ELECTRIC POWER FOR AUXILIARY EQUIPMENT OF ELECTRICALLY-PROPELLED VEHICLES; ELECTRODYNAMIC BRAKE SYSTEMS FOR VEHICLES IN GENERAL; MAGNETIC SUSPENSION OR LEVITATION FOR VEHICLES; MONITORING OPERATING VARIABLES OF ELECTRICALLY-PROPELLED VEHICLES; ELECTRIC SAFETY DEVICES FOR ELECTRICALLY-PROPELLED VEHICLES
    • B60L2240/00Control parameters of input or output; Target parameters
    • B60L2240/40Drive Train control parameters
    • B60L2240/44Drive Train control parameters related to combustion engines
    • B60L2240/445Temperature
    • BPERFORMING OPERATIONS; TRANSPORTING
    • B60VEHICLES IN GENERAL
    • B60LPROPULSION OF ELECTRICALLY-PROPELLED VEHICLES; SUPPLYING ELECTRIC POWER FOR AUXILIARY EQUIPMENT OF ELECTRICALLY-PROPELLED VEHICLES; ELECTRODYNAMIC BRAKE SYSTEMS FOR VEHICLES IN GENERAL; MAGNETIC SUSPENSION OR LEVITATION FOR VEHICLES; MONITORING OPERATING VARIABLES OF ELECTRICALLY-PROPELLED VEHICLES; ELECTRIC SAFETY DEVICES FOR ELECTRICALLY-PROPELLED VEHICLES
    • B60L2250/00Driver interactions
    • B60L2250/10Driver interactions by alarm
    • BPERFORMING OPERATIONS; TRANSPORTING
    • B60VEHICLES IN GENERAL
    • B60LPROPULSION OF ELECTRICALLY-PROPELLED VEHICLES; SUPPLYING ELECTRIC POWER FOR AUXILIARY EQUIPMENT OF ELECTRICALLY-PROPELLED VEHICLES; ELECTRODYNAMIC BRAKE SYSTEMS FOR VEHICLES IN GENERAL; MAGNETIC SUSPENSION OR LEVITATION FOR VEHICLES; MONITORING OPERATING VARIABLES OF ELECTRICALLY-PROPELLED VEHICLES; ELECTRIC SAFETY DEVICES FOR ELECTRICALLY-PROPELLED VEHICLES
    • B60L2270/00Problem solutions or means not otherwise provided for
    • B60L2270/10Emission reduction
    • B60L2270/12Emission reduction of exhaust
    • YGENERAL TAGGING OF NEW TECHNOLOGICAL DEVELOPMENTS; GENERAL TAGGING OF CROSS-SECTIONAL TECHNOLOGIES SPANNING OVER SEVERAL SECTIONS OF THE IPC; TECHNICAL SUBJECTS COVERED BY FORMER USPC CROSS-REFERENCE ART COLLECTIONS [XRACs] AND DIGESTS
    • Y02TECHNOLOGIES OR APPLICATIONS FOR MITIGATION OR ADAPTATION AGAINST CLIMATE CHANGE
    • Y02TCLIMATE CHANGE MITIGATION TECHNOLOGIES RELATED TO TRANSPORTATION
    • Y02T10/00Road transport of goods or passengers
    • Y02T10/60Other road transportation technologies with climate change mitigation effect
    • Y02T10/64Electric machine technologies in electromobility
    • YGENERAL TAGGING OF NEW TECHNOLOGICAL DEVELOPMENTS; GENERAL TAGGING OF CROSS-SECTIONAL TECHNOLOGIES SPANNING OVER SEVERAL SECTIONS OF THE IPC; TECHNICAL SUBJECTS COVERED BY FORMER USPC CROSS-REFERENCE ART COLLECTIONS [XRACs] AND DIGESTS
    • Y02TECHNOLOGIES OR APPLICATIONS FOR MITIGATION OR ADAPTATION AGAINST CLIMATE CHANGE
    • Y02TCLIMATE CHANGE MITIGATION TECHNOLOGIES RELATED TO TRANSPORTATION
    • Y02T10/00Road transport of goods or passengers
    • Y02T10/60Other road transportation technologies with climate change mitigation effect
    • Y02T10/72Electric energy management in electromobility

Landscapes

  • Engineering & Computer Science (AREA)
  • Power Engineering (AREA)
  • Transportation (AREA)
  • Mechanical Engineering (AREA)
  • Hybrid Electric Vehicles (AREA)
  • Control Of Vehicle Engines Or Engines For Specific Uses (AREA)
  • Control Of Charge By Means Of Generators (AREA)
  • Electric Propulsion And Braking For Vehicles (AREA)

Abstract

【課題】燃焼時の熱量が低い第1燃料と燃焼時の熱量が高い第2燃料を使用燃料とするデュアルフューエルエンジンを備えたハイブリッド車両において、高電圧バッテリの充電時に、第1燃料運転時のエンジン回転数の高回転化を抑制することが可能な車両用バッテリの充電制御方法及び充電制御装置を提供する。
【解決手段】デュアルフューエルエンジンと、このエンジンの駆動力により発電する発電機と、バッテリと、車両駆動するモータと、を備えたハイブリッド車両における車両用バッテリの充電制御方法であって、エンジン2により発電機3を駆動し、これにより発電した電力でバッテリ5を充電する充電ステップと、車両1に対する加速要求の有無を判定する加速要求判定ステップと、第1燃料によるエンジン運転中において、加速要求が有ると判定されたとき、充電を抑制する充電抑制ステップとを備えた。
【選択図】図6

Description

本発明は、車両用バッテリの充電制御方法及び充電制御装置に係り、特に車両走行のための駆動力を出力するモータに電力を供給する車両用バッテリの充電制御方法及び充電制御装置に関する。
従来、使用燃料をガソリンと水素ガスとの間で切り替え可能なデュアルフューエルエンジンを備えたハイブリッド車両が知られている(例えば、特許文献1参照)。特許文献1に記載の車両は、エンジンによって駆動された発電機による発電電力と、高電圧バッテリからの供給電力とにより、モータを駆動し、これによって車両に駆動力を与えるように構成されている。
そして、この車両では、エンジン駆動に用いる使用燃料が運転者によって選択可能であり、車両への要求出力に応じて、エンジン(又はエンジン駆動される発電機)又は高電圧バッテリの少なくとも一方が、モータへの供給電力源、すなわち車両の駆動源に選択されるように構成されている。
また、このようなハイブリッド車両の高電圧バッテリでは、その蓄電量(SOC)の使用範囲に下限値と上限値が設定され、この使用範囲内で充電制御が行われる。すなわち、蓄電量が下限値を下回ると充電要求が生じて充電が行われ、蓄電量が上限値に達すると充電要求が無くなり充電が停止されるように構成される。
このような充電制御では、主に発電機の発生電力が充電用の電力となる。充電要求が有る場合、エンジンは、車両に対する要求出力に応じたエンジン回転数よりも増大され、これにより発電機で要求出力以上の電力を発電する。そして、要求出力分の電力は、モータへ供給され、余剰分の電力は、バッテリ充電のために使用される。また、充電により、高電圧バッテリの蓄電量が上限値に達すると、充電要求が無くなり、エンジン回転数が減速され、充電が停止される。これにより、高電圧バッテリは、所定の蓄電量(SOC)の範囲内に保持され、過放電や満充電が回避される。
特開2008−100570号公報
しかしながら、特許文献1に記載のようなデュアルフューエルエンジンを備えたハイブリッド車両では、同じエンジン回転数で比較すると、ガソリン運転よりも水素ガス運転の方が、エンジン出力が高い。このため、同じエンジン出力を得ようとすると、ガソリン運転よりも水素ガス運転の方が、エンジン回転数が高くなる。また、ガソリン運転では、要求されたトルクに対して出力に余裕があるため、負荷が大きくなってもエンジン回転数にそれほど影響がでないようになっている。
したがって、特に、運転者がアクセルを踏み込むことにより車両に対して加速要求が生じ、且つ、充電要求が有るような場合には、水素ガス運転時には、ガソリン運転時と比べてエンジン回転数がかなり高くなってしまう。このため、運転者は、加速感やエンジンからの騒音等について、水素ガス運転時とガソリン運転時とで大きな差異を感じ、これにより運転者に不快感を与えるおそれがあるという問題があった。
本発明は、このような課題を解決するためになされたものであり、燃焼時の熱量が低い第1燃料(例えば、水素ガス)と第1燃料に対し燃焼時の熱量が高い第2燃料(例えば、ガソリン)を使用燃料とするデュアルフューエルエンジンを備えたハイブリッド車両において、第1燃料運転と第2燃料運転とでエンジン回転数に生じる差異を低減するように、高電圧バッテリへの充電要求があるときに、第1燃料運転時のエンジン回転数の高回転化を抑制することが可能な車両用バッテリの充電制御方法及び充電制御装置を提供することを目的としている。
上記の目的を達成するために、本発明の車両用バッテリの充電制御方法は、燃焼時の熱量が低い第1燃料と第1燃料に対し燃焼時の熱量が高い第2燃料のいずれか一方を選択的に使用して運転するデュアルフューエルエンジンと、このエンジンの駆動力により発電する発電機と、この発電機により充電可能なバッテリと、発電機及びバッテリからの電力により車両駆動可能なモータと、を備えたハイブリッド車両における車両用バッテリの充電制御方法であって、エンジンにより発電機を駆動し、これにより発電した電力でバッテリを充電する充電ステップと、車両に対する所定以上の加速要求の有無を判定する加速要求判定ステップと、第1燃料によるエンジン運転中において、加速要求判定ステップで加速要求が有ると判定されたとき、充電ステップにおける充電を抑制する充電抑制ステップと、を備えたことを特徴としている。
このように構成された本発明によれば、燃焼時の熱量が低い第1燃料によるエンジン運転中に、エンジンで駆動した発電機によりバッテリを充電するときに、加速要求があった場合に、充電が抑制されるように構成されている。第1燃料は第2燃料よりも燃焼時の熱量が小さいため、エンジン出力が小さくなるため、同じエンジン出力を得るためには、第1燃料によるエンジン運転の方が、第2燃料によるエンジン運転よりも、エンジン回転数が高くなる。このため、加速要求がある状態で充電を行うと、第1燃料によるエンジン運転では、エンジン回転数が高回転化してしまう。しかしながら、本発明では、第1燃料によるエンジン運転では、バッテリの充電中に加速要求がある場合には、加速要求を優先させ、バッテリの充電を抑制する制御が行われるため、加速要求時におけるエンジン回転数の高回転化を抑制することができる。これにより、第1燃料によるエンジン運転において、エンジン騒音等を抑制することが可能となる。
また、本発明において好ましくは、バッテリの蓄電量が所定閾値未満であるか否かを判定する蓄電量判定ステップをさらに備え、充電ステップは、蓄電量判定ステップでバッテリの蓄電量が所定の閾値未満であると判定された場合に実行されるものであって、蓄電量判定ステップにおいて、第1燃料によるエンジン運転時の閾値は、第2燃料によるエンジン運転時の閾値よりも、大きな値に設定される。このように構成された本発明によれば、第1燃料によるエンジン運転での充電頻度を高め、バッテリのSOCを常時高い状態に保持することができる。これにより、第1燃料によるエンジン運転で、充電要求があるにもかかわらず、加速要求があって充電制御が抑制された場合であっても、バッテリが過放電されてしまうおそれを低減することができる。
また、本発明において好ましくは、エンジンの回転数が所定値に到達したか否かを判定するエンジン回転数判定ステップをさらに備え、充電抑制ステップは、加速要求判定ステップで加速要求が有ると判定され、且つ、エンジン回転数判定ステップでエンジン回転数が所定値に到達したと判定されたときに実行される。このように構成された本発明によれば、加速要求が有る場合には、エンジン回転数が所定値に到達したと判定されたときに充電が抑制されるので、エンジン回転数の高回転化を防止しつつ、所定のバッテリ充電が可能となる。
また、上記の目的を達成するために、本発明の車両用バッテリの充電制御装置は、燃焼時の熱量が低い第1燃料と第1燃料に対し燃焼時の熱量が高い第2燃料のいずれか一方を選択的に使用して運転するデュアルフューエルエンジンと、このエンジンの駆動力により発電する発電機と、この発電機により充電可能なバッテリと、発電機及びバッテリからの電力により車両駆動可能なモータと、を備えたハイブリッド車両における車両用バッテリの充電制御装置であって、エンジンにより発電機を駆動し、これにより発電した電力でバッテリを充電する制御を行う充電制御手段と、車両に対する所定以上の加速要求の有無を判定する加速要求判定手段と、第1燃料による運転中において、加速要求判定手段により加速要求が有ると判定されたとき、充電制御手段による充電制御を抑制する制御を行う充電抑制制御手段と、を備えたことを特徴としている。
また、本発明において好ましくは、バッテリの蓄電量が所定閾値未満であるか否かを判定する蓄電量判定手段をさらに備え、充電制御手段は、蓄電量判定手段によりバッテリの蓄電量が所定の閾値未満であると判定された場合に、バッテリを充電する制御を行うものであって、蓄電量判定手段は、第1燃料によるエンジン運転時の閾値を、第2燃料によるエンジン運転時の閾値よりも、大きな値に設定する。
また、本発明において好ましくは、エンジンの回転数が所定値に到達したか否かを判定するエンジン回転数判定手段をさらに備え、充電抑制制御手段は、加速要求判定手段により加速要求が有ると判定され、且つ、エンジン回転数判定手段によりエンジン回転数が所定値に到達したと判定されたときに、充電制御手段による充電制御を抑制する制御を行う。
本発明の車両用バッテリの充電制御方法及び充電制御装置によれば、燃焼時の熱量が低い第1燃料と第1燃料に対し燃焼時の熱量が高い第2燃料を使用燃料とするデュアルフューエルエンジンを備えたハイブリッド車両において、第1燃料運転と第2燃料運転とでエンジン回転数に生じる差異を低減するように、高電圧バッテリへの充電要求があるときに、第1燃料運転時のエンジン回転数の高回転化を抑制することができる。
以下、添付図面を参照して本発明の実施形態について説明する。図1はハイブリッド車両の構成図、図2はデュアルフューエルエンジンの構成図、図3はハイブリッド車両の電気ブロック図、図4はアクセル開度と要求出力との関係を表すマップデータ、図5はエンジン回転数とエンジン出力との関係を表すマップデータ、図6は充電制御のタイミングチャート、図7は充電抑制制御のフローチャートである。
図1は、本発明の実施形態に係るデュアルフューエルエンジン2を搭載したハイブリッド車両1の構成図である。この車両1は、エンジン2と、ジェネレータ(発電機)3と、AC−DCコンバータ4と、高電圧バッテリ5と、DC−ACコンバータ6と、モータ7と、これらを制御するためのコントローラ20(図3参照)を備えている。
この車両1では、エンジン2は、コントローラ20からの制御信号によって作動し、エンジン2の回転出力によってジェネレータ3を駆動する。これにより、ジェネレータ3は、交流電力を発電し、AC−DCコンバータ4に交流電力を供給する。
AC−DCコンバータ4は、供給された交流電力を直流電力に変換し、直流電力を高電圧バッテリ5及びDC−ACコンバータ6に供給する。これにより、高電圧バッテリ5は、AC−DCコンバータ4から供給される直流電力によって充電されると共に、所定の運転状態において、DC−ACコンバータ6へ直流電力を供給する。
DC−ACコンバータ6は、運転状態に応じて、高電圧バッテリ5及びAC−DCコンバータ4の少なくとも一方から供給される直流電力を交流電力に変換する。モータ7は、DC−ACコンバータ6から供給される交流電力によって駆動され、回転出力をディファレンシャルギア8に伝達する。そして、このモータ出力は、ディファレンシャルギア8を介して駆動輪9に伝達され、これにより、車両1が走行するようになっている。
このように、本実施形態の車両1は、シリーズ方式のハイブリッド車両であり、モータ7がエンジン2と高電圧バッテリ5を駆動源とする電力によって駆動され、モータ7の回転出力によって駆動輪9を駆動するように構成されている。
本実施形態の車両1は、シリーズ方式のハイブリッド車両であるが、これに限らず、パラレル方式又はスプリット方式のハイブリッド車両であってもよい。なお、この場合は、駆動輪をモータの回転出力又はエンジンの回転出力が直接、機械的接続を介して駆動輪を駆動するので、エンジンとモータが駆動源となる。
本実施形態のデュアルフューエルエンジン2は、燃焼時の熱量が低い非炭化水素系の第1燃料である水素ガスと、第1燃料に対し燃焼時の熱量が高い炭化水素系の第2燃料であるガソリンを使用燃料としている。体積当りではガソリンの方が水素ガスよりも燃焼時の熱量が高く、本実施形態では、ガソリン運転モードの方が水素ガス運転モードよりも燃焼時の熱量が高い運転が行われ、このエンジン2では、同じエンジン回転数(rpm)及びスロットル開度でのエンジントルクは、ガソリン運転の方が水素ガス運転よりも大きくなる。
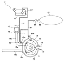
図2に示すように、エンジン2は、トロコイド内周面を有するロータハウジングとその両側に配置されたサイドハウジングとからなるハウジング10と、ハウジング10内に形成されたロータ収容室(以下、「気筒」という)11に配置された概略三角形状のロータ12とを備えたロータリーエンジンである。
このエンジン2は、2つのロータハウジングを3つのサイドハウジングの間に挟みこむようにして一体化し、その間に形成される2つの気筒11にそれぞれロータ12を収容した2ロータタイプであり、図2では、一方の気筒11のみを示している。
ロータ12は、エキセントリックシャフト13に支持されており、このエキセントリックシャフト13と共に、偏心回転するように構成されている。ロータ12は、外周の3つの頂部にそれぞれ配設されたシール部がロータハウジングのトロコイド内周面に当接した状態で偏心回転を行う。気筒11内には、ロータ12の外周側に3つの作動室が区画される。この作動室の容積は、ロータ12の偏心回転により変化する。そして、作動室における吸気,圧縮,膨張(燃焼)及び排気の一連の工程により、ロータ12及びエキセントリックシャフト13が回転し、この回転出力がジェネレータ3側に伝達される。
以下の説明において、各ロータ12に対するスロットル弁17下流側の構成は同様である。
ハウジング10には、各気筒11に2つの点火プラグ14が設けられている。また、ハウジング10には、吸気ポート15a及び排気ポート15bが形成されており、吸気ポート15aには吸気通路16aが接続され、排気ポート15bには排気通路16bが接続されている。吸気通路16aを介して、吸気工程にある作動室に空気が導入され、排気通路16bを介して、排気工程にある作動室から排気ガスが排出される。
また、吸気通路16aの上流側には電磁弁であるスロットル弁17が配設され、さらに上流側にはエアクリーナ19が配設されている。スロットル弁17には、開度を検出するスロットル開度センサ18が設けられている。
さらに、吸気通路16aの最下流側の吸気ポート15a近傍には、ガソリンを噴射して空気とガソリンとの混合気を作動室内に供給するガソリンインジェクタ30と、水素ガスを噴射して水素ガスと空気との混合気を作動室内に供給するポート噴射式の水素ガスインジェクタ40aが配設されている。
ガソリンインジェクタ30は、ガソリン供給通路31を介してガソリンタンク32に接続されている。ガソリンタンク32は、所定容量のガソリンを貯留する本体部に、ガソリンポンプ33等が配設されて構成されている。
ガソリンポンプ33は、ガソリン供給通路31を介してガソリンインジェクタ30にガソリンを圧送するように構成されている。
また、ハウジング10には、水素ガスを作動室内に直接噴射する直噴式の水素ガスインジェクタ40bが配設されている。水素ガスインジェクタ40a,40bは、途中で合流する水素ガス供給通路41を介して水素高圧ガスタンク42に接続され、この水素高圧ガスタンク42から水素ガスが供給される。
水素高圧ガスタンク42の排出口には、タンクから水素ガス供給通路41への水素ガスの供給を制御するための停止弁43が設けられ、さらに下流側には、水素ガスインジェクタ40a,40bへの水素ガス供給量(供給圧力)を制御する制御弁44が配設されている。インジェクタ30,40a,40bは、コントローラ20からの制御信号に基づいて、所定の噴射タイミングで、所定量のガソリン又は水素ガスを噴射するように構成されている。
コントローラ20は、周知のマイクロコンピュータをベースとする制御装置であって、エンジン制御方法を記憶したプログラムを実行する中央演算処理装置(CPU)と、例えばRAMやROMにより構成されてプログラム及びデータを格納するメモリと、電気信号の入出力をする入出力(I/O)バス等を備えている。
図3に示すように、コントローラ20は、ジェネレータ3,AC−DCコンバータ4,DC−ACコンバータ6,モータ7,点火プラグ14,スロットル弁17,スロットル開度センサ18,ガソリンインジェクタ30,水素ガスインジェクタ40a及び40b,運転モード選択スイッチ60,アクセル開度センサ61,車速センサ62,エンジン回転数センサ63,バッテリ電圧センサ23,バッテリ電流センサ24等に接続され、これらのうち検出センサから検出信号を受け取り、制御対象に制御信号を出力することにより動作制御を行う。
コントローラ20は、バッテリコントローラ21と、HEVコントローラ22とを有している。なお、バッテリコントローラ21の機能をHEVコントローラ22に組み込んで、コントローラ20をHEVコントローラ22のみに一体化した構成としてもよい。また、以下に説明するバッテリコントローラ21とHEVコントローラ22の各機能の分担をコントローラ20内で変更してもよい。コントローラ20は、後述するセンサ等を含んで本発明の車両用バッテリの充電制御装置を構成する。
バッテリコントローラ21は、SOC制御を行うように構成されている。すなわち、バッテリコントローラ21は、バッテリ5の蓄電量(SOC)を使用範囲(充放電範囲)内に保持するように充電要求信号をHEVコントローラ22に出力する。SOCは、バッテリの電気容量に対して充電している電気量を比率で表したものである。本明細書では、蓄電量をSOCと同義で使用する。
本実施形態では、バッテリ5のSOCの通常の使用範囲は、上限値が60%,下限値が40%に規定されている。この使用範囲は、SOC50%を中心として上限方向及び下限方向にそれぞれ10%の幅を有し、全体として使用範囲幅が20%となるように設定されている。これにより、バッテリ5の過放電及び満充電を抑制すると共に、バッテリ5によるモータ7の駆動範囲を比較的大きく設定して、バッテリ走行を増やし、エンジン運転を抑制して、燃費向上を図ることができる。
また、バッテリコントローラ21は、所定条件でバッテリ5のSOCの使用範囲の下限値を上限値より小さい値の範囲で引き上げる処理を行う。この処理は、後述するように、水素ガス運転モードにおけるSOCの下限値を、ガソリン運転モードにおけるSOCの下限値よりも引き上げる処理である。
バッテリコントローラ21は、バッテリ電圧センサ23,バッテリ電流センサ24等と接続されている。
バッテリ電圧センサ23,バッテリ電流センサ24は、それぞれバッテリ5の電圧,電流を検出してバッテリコントローラ21に出力している。バッテリコントローラ21は、これらの電圧,電流検出値等に基づいてバッテリ5のSOCを算出する。具体的には、バッテリコントローラ21は、電流検出値を積算して電流の入力及び出力の合計から、SOCの変動分を計算し、さらに電圧検出値等とSOCとの対応関係を示す内部データを加味して補正することにより、現在のSOCを算出する。
そして、蓄電量判定手段としてのバッテリコントローラ21は、算出した現在のSOCが使用範囲の下限値を下回ると、HEVコントローラ22に充電要求信号を出力し、充電要求信号を出力後、原則的に、SOCが使用範囲の上限値に到達するまで充電要求信号を出力し続ける。HEVコントローラ22は、この充電要求信号を受けている間、充電制御を行う。
また、HEVコントローラ22は、アクセル開度に応じて要求された駆動力をモータ7から駆動輪9に出力するように、エンジン2,ジェネレータ3,AC−DCコンバータ4,DC−ACコンバータ6及びモータ7等を制御するものである。
本実施形態では、HEVコントローラ22は、運転条件に応じて、駆動源を切り替えてモータ7を駆動する制御を行う。すなわち、HEVコントローラ22は、エンジン2を運転して、これにより発電した電力でモータ7を駆動するか、高電圧バッテリ5からの電力によってモータ7を駆動するかを決定する。
具体的には、HEVコントローラ22は、アクセル開度センサ61及び車速センサ62からのアクセル及び車速を表す検出信号に基づいて、エンジン2の運転要求の有無、つまりエンジン2を運転させる必要があるか否かを判定する。
この判定のために、HEVコントローラ22は、エンジン2と高電圧バッテリ5のいずれを使用してモータ7を駆動するのかを、アクセル開度と車速との関係に応じて決定するためのマップデータ(図示せず)を記憶している。このマップデータに基づいて、HEVコントローラ22は、要求トルクが低い低トルク運転時や車両始動時には、高電圧バッテリ5から供給される電力によりモータ7を駆動するように制御を行う。また、HEVコントローラ22は、中トルク運転時には、エンジン2により駆動されるジェネレータ3から供給される電力によりモータ7を駆動するように制御を行う。さらに、HEVコントローラ22は、要求トルクが高い高トルク運転時には、ジェネレータ3及び高電圧バッテリ5の双方から供給される電力によってモータ7を駆動するように制御を行う。
また、本実施形態では、HEVコントローラ22は、バッテリコントローラ21から充電要求信号を受け取り、これに基づいてバッテリ5の充電制御を行う。すなわち、HEVコントローラ22は、高電圧バッテリ5の蓄電量が少なくなり、バッテリコントローラ21から充電要求信号を受け取ると、要求出力に応じたモータ7の駆動のために必要な電力に加えて、高電圧バッテリ5を充電するために必要な電力を余分にジェネレータ3で発生させるようにエンジン2を運転して、モータ7を駆動すると共に、高電圧バッテリ5の充電を行うようにエンジン2の制御を行う。
このとき、HEVコントローラ22は、モータ7を駆動するために必要な電力以上の発電量が得られるように、モータ駆動分の電力を発電するために必要なエンジン回転数よりも増大したエンジン回転数となるようにエンジン2を制御する。
また、本実施形態では、車両1には、運転者により選択可能な運転モード選択スイッチ60が設けられている。運転者は、この運転モード選択スイッチ60を操作することにより、エンジン2の運転モードを、水素ガスによる第1運転モードと、ガソリンによる第2運転モードとの間で択一的に選択可能となっている。HEVコントローラ22は、運転モード選択スイッチ60の操作により出力される運転モード選択信号を受け取り、運転モード選択信号で選択されている運転モードでエンジン2を運転するように、点火時期,使用燃料,スロットル開度等を制御するエンジン制御処理を行う。
なお、本実施形態では、運転者が運転モード選択スイッチ60を手動で操作することにより、運転モードが選択されるように構成されているが、これに限らず、要求トルク等に基づく運転状態や水素ガス残量等に応じて、コントローラ20が、水素ガス運転モードとガソリン運転モードの間で運転モードを自動的に切り替えるように構成してもよい。
次に、本実施形態によるエンジン制御の概略について説明する。
図4は、アクセル開度とモータ7への要求出力との関係を表したマップデータである。HEVコントローラ22は、運転者がアクセルを操作することにより変動するアクセル開度αを表す信号をアクセル開度センサ61から受け取り、図4のマップデータに基づいて、要求出力を算出する。
また、図5は、定常状態におけるエンジン回転数(rpm)とエンジン出力(kW)との関係を表したマップデータである。なお、図5中、実線Aはガソリン運転モードを表し、破線Bは水素ガス運転モードを表している。これらは、最大エンジン回転数Nmaxで最大エンジン出力Pmaxが得られるように、チューニングされている。
ガソリン運転モードでは、実線Aのような関係が得られるように、HEVコントローラ22は、少なくとも高回転域においてスロットル開度がアクセル開度に比べて絞られるように制御を行う。一方、水素ガス運転モードでは、HEVコントローラ22は、常時、スロットル開度を全開位置に保持し、目標とするエンジン回転数を達成するように、ジェネレータ3側の負荷を調整する制御を行う。
HEVコントローラ22は、アクセル開度αに基づいて算出した要求出力を達成するエンジン回転数を、図5のマップデータに基づいて算出する。そして、HEVコントローラ22は、このエンジン回転数を達成するように、ガソリン運転及び水素ガス運転モードともに主にジェネレータ3による動力吸収を弱めたり強めたりする制御を行う。
次に、図6及び図7に基づいて、本実施形態のコントローラ20の充電制御の概略を説明する。
図6は、充電制御のタイミングチャートであり、同図(A)は運転モード選択スイッチ60で選択された運転モードの時間変化を示し、同図(B)はアクセル開度αの時間変化を示し、同図(C)は充電処理実施の有無の時間変化を示し、同図(D)はバッテリ5のSOCの時間変化を示し、同図(E)はバッテリ5からモータ7への電力供給の有無の時間変化を示し、同図(F)はジェネレータ3を介したエンジン2からモータ7への電力供給の有無の時間変化を示している。
運転者は、運転モード選択スイッチ60により、時間t0から時間t6までは継続してガソリン運転モードを運転モードに選択し、時間t6に運転モードを水素ガス運転モードに切り替え、時間t6以降は水素ガス運転モードを運転モードに選択している。
また、運転者は、時間t0から時間t2まではアクセルを一定に保持し、時間t2から時間t5までの間にアクセルを一旦踏み込んで再び戻している。その後、運転者は、時間t5から時間t8まではアクセルを一定に保持し、時間t8から時間10の間にアクセルを一旦踏み込んで再び戻し、それ以降アクセルを一定に保持している。
時間t0から時間t1までは、エンジン2が駆動されず、バッテリ5のみからモータ7へ電力が供給されている。これにより、時間t1に、バッテリ5のSOCが通常の下限値である40%まで減少している。
バッテリ5のSOCが下限値に到達したことにより、バッテリコントローラ21は、HEVコントローラ22に充電要求信号を出力する。これにより、充電制御手段としてのHEVコントローラ22は、停止状態のエンジン2を駆動すると共に、バッテリ5からモータ7への電力供給を停止する。そして、HEVコントローラ22は、エンジン2からジェネレータ3を介して、モータ7に駆動電力を供給すると共に、バッテリ5に充電電力を供給する。
ジェネレータ3によりバッテリ5を充電することにより、時間t1以降、バッテリ5のSOCは上昇していき、時間t3に上限値である60%に到達する。これにより、バッテリコントローラ21は、充電要求信号の出力を停止し、時間t3に充電が終了する。
また、時間t2以降の所定期間、アクセルが踏み込まれ、アクセル開度αの時間変化率が正又は所定値より大きくなるので、加速要求判定手段としてのHEVコントローラ22は、加速要求有りと判断する。これにより、モータ7の要求出力が増加するので、HEVコントローラ22は、要求出力増加分に応じてエンジン回転数を増大させる。
時間t3に充電が終了した後、HEVコントローラ22は、時間t4に、ジェネレータ3に加えて、バッテリ5からモータ7へ電力を供給する制御を行う。これにより、時間t4以降は、バッテリ5のSOCが減少していく。
時間t5に、アクセルが戻された状態で一定に保持されると、車両1は定常運転に移行する。これに伴い、HEVコントローラ22は、エンジン2を停止し、バッテリ5のみからモータ7へ電力を供給する制御を行う。これにより、継続的にバッテリ5のSOCが減少していく。
時間t6に、運転モードが水素ガス運転モードに切り替えられると、バッテリコントローラ21は、HEVコントローラ22を介して水素ガス運転モードを表す運転モード選択信号を受け取り、SOCの下限値を45%に引き上げる処理を行う。
時間t7に、バッテリ5のSOCが、引き上げられた下限値である45%まで低下すると、HEVコントローラ22は、エンジン2を駆動すると共に、バッテリ5からモータ7への電力供給を停止する。そして、HEVコントローラ22は、エンジン2からジェネレータ3を介して、モータ7へ駆動電力を供給すると共に、バッテリ5へ充電電力を供給する。これにより、バッテリ5のSOCは上昇し始める。
ところが、時間t8に、アクセルが踏み込まれ、アクセル開度αの時間変化率が正又は所定値より大きくなると、HEVコントローラ22は、加速要求有りと判断する。これにより、モータ7の要求出力が増加する。充電抑制制御手段としてのHEVコントローラ22は、水素ガス運転モードでは、加速要求が生じると、充電要求が有る場合であっても、充電を抑制する制御を行う。
上述のように、水素ガス運転モードでは、同じエンジン出力を供給するのに、ガソリン運転モードと比べてエンジン回転数が高くなる。また、ガソリン運転では、要求されたトルクに対して出力に余裕があるため、負荷が大きくなってもエンジン回転数がそれほど増速されない。そして、加速要求が有る場合には、さらにエンジン回転数が高くなるが、これに加えて充電要求があると、さらにエンジン回転数が高くなってしまう。これにより、ガソリン運転モードと比べて、水素ガス運転モードでは、運転者に与えるエンジンからの騒音が大きくなり、また、エンジン回転数やエンジン音の割りに加速感が低下しているような印象を運転者に与えるおそれがある。
このため本実施形態では、水素ガス運転モード時には、充電要求があっても、加速要求が生じた場合には、加速要求を優先させて、充電を抑制するように構成されている。したがって、HEVコントローラ22は、充電のためにエンジン回転数を増大させることなく、加速要求に応じたエンジン回転数でエンジン2を制御する。これにより、水素ガス運転モードにおいて、エンジン回転数の高回転化を抑制することができる。
なお、本実施形態の充電抑制制御処理では、充電が完全に停止されるが、これに限らず、充電量を低下させるように、充電分に相当するエンジン回転数の増加量を所定回転数に低下させるようにしてもよい。
また、本実施形態では、水素ガス運転モードでは、充電要求があっても加速要求が生じた場合は、バッテリ5の充電が抑制されるため、バッテリ5が充電される期間が少なくなる。したがって、バッテリ5が過放電されてしまうおそれがある。
しかしながら、本実施形態では、ガソリン運転モードよりも水素ガス運転モードでは、バッテリ5のSOCの下限値、すなわち充電開始電圧が引き上げられているので、加速要求がない状態では、バッテリ5のSOCを高めに保持することができる。これにより、加速要求が生じたときに、バッテリ5が過放電されるおそれを低減することが可能となる。
時間t8に充電が停止されると、このときバッテリ5はモータ7を駆動するために用いられていないので、バッテリ5のSOCは一定に保持される。そして、時間t9に、HEVコントローラ22が、ジェネレータ3に加えて、バッテリ5からの電力をモータ7へ供給するように制御を行うと、バッテリ5のSOCが減少していく。
時間t10に、アクセルが戻された状態で一定に保持され、車両1は定常運転に移行する。そして、時間t11に、バッテリ5のSOCが、引き上げられた下限値である45%まで再び低下すると、HEVコントローラ22は、バッテリ5からモータ7への電力供給を停止し、モータ7への要求出力と充電分を満足するようにエンジン回転数を増大させる制御を行う。これにより、バッテリ5のSOCは、時間t11から増加し始め、時間t12に上限値である60%に到達する。
バッテリ5のSOCが上限値に到達すると、バッテリコントローラ21は充電要求信号の出力を停止し、時間t12に、HEVコントローラ22は充電を終了する。
時間t12以降は、エンジン2が停止され、バッテリ5からモータ7へ電力供給がされる。これにより、バッテリ5のSOCは、時間と共に低減していく。
なお、本実施形態では、水素ガス運転モードで加速要求が有った場合、充電が中止されるように構成されているが、これに限らず、加速要求が生じると充電を一旦停止し、その後加速要求が無くなったときに充電を再開するように構成してもよい。
図7は、本実施形態の充電抑制制御のフローチャートである。
この制御フローは、エンジン2が始動されることに開始され、まず、コントローラ20(HEVコントローラ22)は、運転モード選択スイッチ60から受け取っている運転モード選択信号を読み込む(ステップS1)。次いで、HEVコントローラ22は、バッテリコントローラ21から受け取っているバッテリ5のSOCを表す信号から、現在のSOCを読み込む(ステップS2)。
次いで、HEVコントローラ22は、読み込んだ運転モード選択信号が水素運転モードを表しているか否かを判定する(ステップS3)。
読み込んだ運転モード選択信号が水素運転モードを表している場合(ステップS3;Yes)、水素ガス運転モードが選択されており、コントローラ20(バッテリコントローラ21)は、読み込んだバッテリ5のSOCが、選択されている水素ガス運転モードに対応して、ガソリン運転モード時よりも引き上げて設定したバッテリ5のSOCの下限値である45%を下回るか否かを判定する(ステップS4;蓄電量判定ステップ)。
読み込んだバッテリ5のSOCが引き上げられた下限値(45%)を下回っている場合(ステップS4;Yes)、バッテリコントローラ21は、充電要求信号を出力し、ステップS6へ移行する。
一方、バッテリ5のSOCが引き上げられた下限値(45%)を下回っていない場合(ステップS4;No)、コントローラ20(HEVコントローラ22)は、現在が充電中であるか否かを判定する(ステップS5)。この場合、既に、HEVコントローラ22が、バッテリコントローラ21から充電要求信号を受け取り、この充電要求信号に基づいて、バッテリ5への充電制御を行っている場合に、充電中であると判定する。
現在が充電中である場合(ステップS5;Yes)、現在のSOCが下限値以上であるが上限値まで到達していないので、バッテリコントローラ21は引き続き充電要求信号を出力し、ステップS6へ移行する。
一方、現在が充電中でない場合(ステップS5;No)、充電中でなくバッテリ5のSOCが使用範囲内(45%〜60%)に維持されているので、処理を終了して、再びステップS1へ戻る。
ステップS6では、コントローラ20(HEVコントローラ22)は、アクセル開度センサ61から読み込んだアクセル開度αに基づいて、運転者から車両1に対して加速要求が有るか否かを判定する(ステップS6;加速要求判定ステップ)。すなわち、ステップS6では、アクセル開度αの時間変化が正であるか否か、又は所定の正の閾値α0よりも大きいか否かが判定され、直近のアクセル開度αの時間変化Δαが正、又は閾値α0よりも大きければ、アクセルが運転者によって踏み込まれ、加速要求があると判定される。
加速要求が有る場合(ステップS6;Yes)、水素ガス運転モード中に、充電要求があり且つ加速要求があるので、充電要求に応じて充電を行うと、エンジン回転数が大きくなり過ぎてしまうので、充電制御を抑制すべく、充電制御を停止して(ステップS9;充電抑制ステップ)、再びしステップS1へ戻る。このように、加速要求が有ると判定された場合は、充電要求が新たに生じたとき及び既に充電要求に応じて充電中であるときに関わらず、充電制御が抑制される。
一方、加速要求がない場合(ステップS6;No)、水素ガス運転モード中に、加速要求がない状態で充電要求が生じているので、コントローラ20(HEVコントローラ22)は、充電要求が新たに生じたときには充電制御を開始し、既に充電要求に応じて充電中であるときには引き続き充電制御を継続する(ステップS7;充電ステップ)。充電制御では、HEVコントローラ22は、モータ7への出力要求とバッテリ5を充電するために必要な出力とを加味したエンジン回転数でエンジン2を駆動し、これによりジェネレータ3を駆動して発電し、余剰電力でバッテリ5を充電する。この場合、例えば、エンジン回転数は、1000rpm程度増速される。
次いで、コントローラ20(HEVコントローラ22)は、バッテリ5の現在のSOCが上限値(60%)に到達しているか否かを判定する(ステップS8)。
バッテリ5の現在のSOCが上限値(60%)に到達している場合(ステップS8;Yes)、HEVコントローラ22は、充電制御を停止し、処理を終了して、再びステップS1へ戻る。
一方、バッテリ5の現在のSOCが上限値(60%)に到達していない場合(ステップS8;No)、HEVコントローラ22は、充電制御を停止することなく、充電制御を継続すべく、再びステップS1に戻る。
一方、読み込んだ運転モード選択信号が水素運転モードを表していない場合(ステップS3;No)、すなわちガソリン運転モードが選択されている場合、コントローラ20(バッテリコントローラ21)は、読み込んだバッテリ5のSOCが、選択されているガソリン運転モードに対応して設定したバッテリ5のSOCの下限値(40%)を下回るか否かを判定する(ステップS10;蓄電量判定ステップ)。
読み込んだバッテリ5のSOCが通常の下限値(40%)を下回っている場合(ステップS10;Yes)、バッテリコントローラ21は充電要求信号を出力し、HEVコントローラ22は、ステップS7〜S9で上述のようにSOCの上限値の範囲内で充電制御を行う。
一方、バッテリ5のSOCが通常の下限値(40%)を下回っていない場合(ステップS10;No)、コントローラ20(HEVコントローラ22)は、現在が充電中であるか否かを判定する(ステップS11)。
現在が充電中である場合(ステップS11;Yes)、現在のSOCが下限値以上であるが上限値まで到達していないので、バッテリコントローラ21は引き続き充電要求信号を出力し、HEVコントローラ22は、ステップS7〜S9で上述のようにSOCの上限値の範囲内で充電制御を行う。
一方、現在が充電中でない場合(ステップS11;No)、充電中でなくバッテリ5のSOCが使用範囲内に維持されているので、処理を終了して、再びステップS1へ戻る。
以上のように、本実施形態では、ガソリン運転モードでは、バッテリ5のSOCが下限値(40%)を下回ると、モータ7に対する要求出力以上の電力を発生させるように、エンジン2の回転数を増大させる。そして、これによりジェネレータ3によって余剰電力を発電し、モータ7を駆動すると共に、この余剰電力によりバッテリ5を充電する充電制御を行う。この場合、この充電制御は、車両1への加速要求の有無に関わらず行われるように構成されている。
一方、水素ガス運転モードでは、バッテリ5のSOCの下限値(45%)を下回ると、ガソリン運転モードと同様に、モータ7に対する要求出力以上の電力を発生させるように、エンジン2の回転数を増大させる。そして、これによりジェネレータ3によって余剰電力を発電し、モータ7を駆動すると共に、この余剰電力によりバッテリ5を充電する充電制御を行う。
しかしながら、水素ガス運転モードの場合、この充電制御は、車両1への加速要求が有る場合には、抑制されるように構成されている。したがって、水素ガス運転モードでは、充電要求があっても、さらに加速要求が存在する場合には、加速要求を優先させて、充電制御は行われない。これにより、加速要求時には、必要以上にエンジン回転数が高速化されることを抑制することができる。
また、本実施形態では、水素ガス運転モードでは、充電要求があっても充電制御が抑制される場合があるので、バッテリ5のSOCの下限値を、ガソリン運転モードにおける下限値よりも5%引き上げる処理を行っている。これにより、水素ガス運転モードでは、バッテリ5のSOCがガソリン運転モード時よりも高めに保持されるので、充電制御が抑制されたときに、過放電となってしまうことを防止することができる。
次に、図8に基づいて本発明の他の実施形態について説明する。
第2実施形態では、水素ガス運転モードでは、加速要求が有っても、エンジン回転数Nを所定のエンジン回転数Nlimitまでの範囲で増大させて、増大させたことにより生じる余剰電力でバッテリ5を充電するように構成されている。
図8は、他の実施形態における充電抑制制御のフローチャートである。なお、図7の制御フローと共通の処理については、説明を省略する。
この制御フローは、図7の制御フローと同様に、エンジン2が始動されることに開始される。ステップS21及びS22は、図7のステップS1及びS2と同様である。
次いで、ステップS22に引き続いて、コントローラ20(HEVコントローラ22)は、アクセル開度センサ61から受け取ったアクセル開度αを表す信号からアクセル開度αを読み込み(ステップS3)、エンジン回転数センサ63から受け取ったエンジン回転数Nを表す信号からエンジン回転数Nを読み込む(ステップS24)。
ステップS25〜S31,S36及びS37は、図7のステップS3〜S9,S10及びS11と同様である。
ステップS28で加速要求が有る場合(ステップS28;Yes)、ステップS32へ移行する。
ステップS32では、エンジン回転数判定手段としてのコントローラ20(HEVコントローラ22)は、読み込んだエンジン回転数Nが、所定のエンジン回転数Nlimitと等しいか否かを判定する(ステップS32;エンジン回転数判定ステップ)。本実施形態では、このエンジン回転数Nlimitは、最大エンジン回転数Nmaxであり、エンジン回転数Nは、このエンジン回転数Nlimit以下に制限される。
エンジン回転数Nが、所定のエンジン回転数Nlimitと等しくない場合(ステップS32;Yes)、すなわちエンジン回転数Nがエンジン回転数Nlimitよりも小さい場合、HEVコントローラ22は、現在のエンジン回転数Nが、モータ7に対する出力要求に応じた電力を発生させるのに必要なエンジン回転数から所定回転数(例えば、500rpm)だけ回転数を引き上げられたものであるか否かを判定する(ステップS34)。
現在のエンジン回転数Nが、所定回転数だけ回転数を引き上げられたものでない場合(ステップS34;No)、HEVコントローラ22は、現在のエンジン回転数から、制限を受けるエンジン回転数Nlimitまでにまだ余裕があるので、所定回転数の範囲内で、且つ、エンジン回転数Nlimitを超えない範囲で、エンジン回転数Nを徐々に引き上げる制御を行う(ステップS35)。
例えば、エンジン回転数Nlimitが6000rpmであり、現在のエンジン回転数Nが5000rpmである場合は、引き上げる最大の回転数を500rpmに設定しているので、エンジン回転数Nを5500rpmまで引き上げられる。
一方、現在のエンジン回転数Nが5600rpmである場合は、所定の回転数(500rpm)だけ回転数を増大させると、エンジン回転数Nlimitを超えてしまうので、超えない範囲の400rpmに増大する回転数が抑制される。これにより、エンジン回転数Nを6000rpmまで引き上げられる。
すなわち、本実施形態では、所定の回転数分だけエンジン回転数Nを増大させるように、ステップS32〜S34の処理を繰り返していった場合に、途中でエンジン回転数Nがエンジン回転数Nlimitに到達すると(ステップS32;Yes)、エンジン回転数の増大が制限される(充電抑制ステップ)。
このように、エンジン回転数Nを最大エンジン回転数まで高速化することにより、余剰の電力を発生させることができ、この余剰電力によりバッテリ5を充電することが可能となる。
一方、現在のエンジン回転数Nが、所定回転数の範囲内で回転数を引き上げられたものである場合(ステップS34;Yes)、エンジン回転数Nは既に余剰電力を発生させるべく引き上げられているので、HEVコントローラ22は、増大されたエンジン回転数分で発電される余剰電力により、バッテリ5をSOCの上限値の範囲内で充電する制御を行う(ステップS29〜S31)。
エンジン回転数Nが、所定のエンジン回転数Nlimitと等しい場合(ステップS32;Yes)、HEVコントローラ22は、充電中であるか否かを判定する(ステップS33)。
充電中でない場合(ステップS33;No)、水素ガス運転モードにおいて、モータ7への出力要求により、エンジン2が制限を受ける最大のエンジン回転数Nlimitで運転しているので、HEVコントローラ22は、充電制御のために、エンジン回転数Nをこれ以上高速化することができないので、処理を終了して、再びステップS21へ戻る。
一方、充電中である場合(ステップS33;Yes)、水素ガス運転モードにおいて、後述する処理によって、充電制御のためにエンジン回転数Nが、制限を受ける最大のエンジン回転数Nlimitまで増大されているので、HEVコントローラ22は、増大されたエンジン回転数分で発電される余剰電力により、バッテリ5をSOCの上限値の範囲内で充電する制御を行う(ステップS29〜S31)。
なお、本実施形態では、所定のエンジン回転数Nlimitが、許容可能な最大のエンジン回転数Nmaxに設定されているが、これに限らず、比較的高回転のエンジン回転数に設定してもよい。このように設定することにより、水素ガス運転モードにおいて、充電中に、エンジン回転数Nを、この設定回転数以下に制限しつつ、充電制御を抑制することができる。
本発明の実施形態によるハイブリッド車両の構成図である。 本発明の実施形態によるデュアルフューエルエンジンの構成図である。 本発明の実施形態によるハイブリッド車両の電気ブロック図である。 本発明の実施形態によるアクセル開度と要求出力との関係を表すマップデータである。 本発明の実施形態によるエンジン回転数とエンジン出力との関係を表すマップデータである。 本発明の実施形態による充電制御のタイミングチャートである。 本発明の実施形態による充電抑制制御のフローチャートである。 本発明の他の実施形態による充電抑制制御のフローチャートである。
符号の説明
1 ハイブリッド車両
2 デュアルフューエルエンジン
5 高電圧バッテリ
7 モータ
20 コントローラ
21 バッテリコントローラ
22 HEVコントローラ
60 運転モード選択スイッチ

Claims (6)

  1. 燃焼時の熱量が低い第1燃料と第1燃料に対し燃焼時の熱量が高い第2燃料のいずれか一方を選択的に使用して運転するデュアルフューエルエンジンと、このエンジンの駆動力により発電する発電機と、この発電機により充電可能なバッテリと、前記発電機及び前記バッテリからの電力により車両駆動可能なモータと、を備えたハイブリッド車両における車両用バッテリの充電制御方法であって、
    前記エンジンにより前記発電機を駆動し、これにより発電した電力で前記バッテリを充電する充電ステップと、
    車両に対する所定以上の加速要求の有無を判定する加速要求判定ステップと、
    第1燃料によるエンジン運転中において、前記加速要求判定ステップで加速要求が有ると判定されたとき、前記充電ステップにおける充電を抑制する充電抑制ステップと、
    を備えたことを特徴とする車両用バッテリの充電制御方法。
  2. 前記バッテリの蓄電量が所定閾値未満であるか否かを判定する蓄電量判定ステップをさらに備え、
    前記充電ステップは、前記蓄電量判定ステップでバッテリの蓄電量が所定の閾値未満であると判定された場合に実行されるものであって、
    前記蓄電量判定ステップにおいて、第1燃料によるエンジン運転時の閾値は、第2燃料によるエンジン運転時の閾値よりも、大きな値に設定されることを特徴とする請求項1に記載の車両用バッテリの充電制御方法。
  3. 前記エンジンの回転数が所定値に到達したか否かを判定するエンジン回転数判定ステップをさらに備え、
    前記充電抑制ステップは、前記加速要求判定ステップで加速要求が有ると判定され、且つ、前記エンジン回転数判定ステップでエンジン回転数が所定値に到達したと判定されたときに実行されることを特徴とする請求項1又は2に記載の車両用バッテリの充電制御方法。
  4. 燃焼時の熱量が低い第1燃料と第1燃料に対し燃焼時の熱量が高い第2燃料のいずれか一方を選択的に使用して運転するデュアルフューエルエンジンと、このエンジンの駆動力により発電する発電機と、この発電機により充電可能なバッテリと、前記発電機及び前記バッテリからの電力により車両駆動可能なモータと、を備えたハイブリッド車両における車両用バッテリの充電制御装置であって、
    前記エンジンにより前記発電機を駆動し、これにより発電した電力で前記バッテリを充電する制御を行う充電制御手段と、
    車両に対する所定以上の加速要求の有無を判定する加速要求判定手段と、
    第1燃料による運転中において、前記加速要求判定手段により加速要求が有ると判定されたとき、前記充電制御手段による充電制御を抑制する制御を行う充電抑制制御手段と、を備えたことを特徴とする車両用バッテリの充電制御装置。
  5. 前記バッテリの蓄電量が所定閾値未満であるか否かを判定する蓄電量判定手段をさらに備え、
    前記充電制御手段は、前記蓄電量判定手段によりバッテリの蓄電量が所定の閾値未満であると判定された場合に、前記バッテリを充電する制御を行うものであって、
    前記蓄電量判定手段は、第1燃料によるエンジン運転時の閾値を、第2燃料によるエンジン運転時の閾値よりも、大きな値に設定することを特徴とする請求項4に記載の車両用バッテリの充電制御装置。
  6. 前記エンジンの回転数が所定値に到達したか否かを判定するエンジン回転数判定手段をさらに備え、
    前記充電抑制制御手段は、前記加速要求判定手段により加速要求が有ると判定され、且つ、前記エンジン回転数判定手段によりエンジン回転数が所定値に到達したと判定されたときに、前記充電制御手段による充電制御を抑制する制御を行うことを特徴とする請求項4又は5に記載の車両用バッテリの充電制御装置。
JP2008203406A 2008-08-06 2008-08-06 車両用バッテリの充電制御方法及び充電制御装置 Expired - Fee Related JP5218832B2 (ja)

Priority Applications (1)

Application Number Priority Date Filing Date Title
JP2008203406A JP5218832B2 (ja) 2008-08-06 2008-08-06 車両用バッテリの充電制御方法及び充電制御装置

Applications Claiming Priority (1)

Application Number Priority Date Filing Date Title
JP2008203406A JP5218832B2 (ja) 2008-08-06 2008-08-06 車両用バッテリの充電制御方法及び充電制御装置

Publications (2)

Publication Number Publication Date
JP2010036776A true JP2010036776A (ja) 2010-02-18
JP5218832B2 JP5218832B2 (ja) 2013-06-26

Family

ID=42009763

Family Applications (1)

Application Number Title Priority Date Filing Date
JP2008203406A Expired - Fee Related JP5218832B2 (ja) 2008-08-06 2008-08-06 車両用バッテリの充電制御方法及び充電制御装置

Country Status (1)

Country Link
JP (1) JP5218832B2 (ja)

Cited By (2)

* Cited by examiner, † Cited by third party
Publication number Priority date Publication date Assignee Title
KR20180049412A (ko) * 2016-11-01 2018-05-11 한국생산기술연구원 방제용 전기 차량 및 이의 충전 방법
JP2024071076A (ja) * 2022-11-14 2024-05-24 トヨタ自動車株式会社 駆動モータ搭載車両

Citations (5)

* Cited by examiner, † Cited by third party
Publication number Priority date Publication date Assignee Title
JPS5715652U (ja) * 1980-06-30 1982-01-27
JP2000184509A (ja) * 1998-12-18 2000-06-30 Honda Motor Co Ltd ハイブリッド車両の制御装置
JP2002159101A (ja) * 2000-11-16 2002-05-31 Mazda Motor Corp 車両用駆動装置
JP2002218603A (ja) * 2001-01-18 2002-08-02 Toyota Motor Corp 車両の発電、充電制御装置
JP2008101526A (ja) * 2006-10-18 2008-05-01 Mazda Motor Corp ハイブリッド車両の制御装置

Patent Citations (5)

* Cited by examiner, † Cited by third party
Publication number Priority date Publication date Assignee Title
JPS5715652U (ja) * 1980-06-30 1982-01-27
JP2000184509A (ja) * 1998-12-18 2000-06-30 Honda Motor Co Ltd ハイブリッド車両の制御装置
JP2002159101A (ja) * 2000-11-16 2002-05-31 Mazda Motor Corp 車両用駆動装置
JP2002218603A (ja) * 2001-01-18 2002-08-02 Toyota Motor Corp 車両の発電、充電制御装置
JP2008101526A (ja) * 2006-10-18 2008-05-01 Mazda Motor Corp ハイブリッド車両の制御装置

Cited By (3)

* Cited by examiner, † Cited by third party
Publication number Priority date Publication date Assignee Title
KR20180049412A (ko) * 2016-11-01 2018-05-11 한국생산기술연구원 방제용 전기 차량 및 이의 충전 방법
KR101925188B1 (ko) * 2016-11-01 2019-02-28 한국생산기술연구원 방제용 전기 차량 및 이의 충전 방법
JP2024071076A (ja) * 2022-11-14 2024-05-24 トヨタ自動車株式会社 駆動モータ搭載車両

Also Published As

Publication number Publication date
JP5218832B2 (ja) 2013-06-26

Similar Documents

Publication Publication Date Title
JP4135727B2 (ja) 動力出力装置、これを搭載する自動車及び動力出力装置の制御方法
US8886380B2 (en) Hybrid motor vehicle
JP5734339B2 (ja) シリーズハイブリッド車両
CN107415934B (zh) 用于混合动力车辆的控制装置及控制方法
JP2014172540A (ja) ハイブリッド車の制御装置
CN102026836B (zh) 用于混合动力车的电力驱动模式选择
JP4449917B2 (ja) 動力出力装置、その制御方法及び動力出力装置を搭載した車両
JP2007224848A (ja) 内燃機関の制御装置
CN112046464B (zh) 混合动力车辆及混合动力车辆的控制方法
JP5218832B2 (ja) 車両用バッテリの充電制御方法及び充電制御装置
JP4853223B2 (ja) ハイブリッド車両の制御装置
JP2016040146A (ja) ハイブリッド車両の制御装置
JP6160490B2 (ja) ハイブリッド車
JP6361611B2 (ja) ハイブリッド車両の制御装置
JP2015074342A (ja) ハイブリッド車の制御装置
JPWO2012104962A1 (ja) ハイブリッド車両
JP2013071580A (ja) ハイブリッド自動車
JP4844417B2 (ja) 制御装置
JP7714914B2 (ja) 電動自動車の制御装置
JP2011025740A (ja) ハイブリッド車両の駆動制御装置
JP7415361B2 (ja) エンジンの発電制御装置
JP6354711B2 (ja) シリーズハイブリッド車両のエンジン制御装置
JP5104440B2 (ja) エンジンの燃料供給方法および供給装置
JP2008038608A (ja) デュアルフューエルエンジンの制御装置
JP2013230718A (ja) 内燃機関の排気ガス浄化装置及び制御方法

Legal Events

Date Code Title Description
A621 Written request for application examination

Free format text: JAPANESE INTERMEDIATE CODE: A621

Effective date: 20110620

A521 Written amendment

Free format text: JAPANESE INTERMEDIATE CODE: A523

Effective date: 20120329

A977 Report on retrieval

Free format text: JAPANESE INTERMEDIATE CODE: A971007

Effective date: 20121112

A131 Notification of reasons for refusal

Free format text: JAPANESE INTERMEDIATE CODE: A131

Effective date: 20121115

A521 Written amendment

Free format text: JAPANESE INTERMEDIATE CODE: A523

Effective date: 20130108

TRDD Decision of grant or rejection written
A01 Written decision to grant a patent or to grant a registration (utility model)

Free format text: JAPANESE INTERMEDIATE CODE: A01

Effective date: 20130207

A61 First payment of annual fees (during grant procedure)

Free format text: JAPANESE INTERMEDIATE CODE: A61

Effective date: 20130220

FPAY Renewal fee payment (event date is renewal date of database)

Free format text: PAYMENT UNTIL: 20160315

Year of fee payment: 3

R150 Certificate of patent or registration of utility model

Ref document number: 5218832

Country of ref document: JP

Free format text: JAPANESE INTERMEDIATE CODE: R150

Free format text: JAPANESE INTERMEDIATE CODE: R150

LAPS Cancellation because of no payment of annual fees