JP2010036302A - 治具 - Google Patents

治具 Download PDF

Info

Publication number
JP2010036302A
JP2010036302A JP2008202128A JP2008202128A JP2010036302A JP 2010036302 A JP2010036302 A JP 2010036302A JP 2008202128 A JP2008202128 A JP 2008202128A JP 2008202128 A JP2008202128 A JP 2008202128A JP 2010036302 A JP2010036302 A JP 2010036302A
Authority
JP
Japan
Prior art keywords
workpiece
base walls
base
portions
support portions
Prior art date
Legal status (The legal status is an assumption and is not a legal conclusion. Google has not performed a legal analysis and makes no representation as to the accuracy of the status listed.)
Granted
Application number
JP2008202128A
Other languages
English (en)
Other versions
JP4885919B2 (ja
Inventor
Kenji Mura
謙次 村
Current Assignee (The listed assignees may be inaccurate. Google has not performed a legal analysis and makes no representation or warranty as to the accuracy of the list.)
MURA SEISAKUSHO KK
Original Assignee
MURA SEISAKUSHO KK
Priority date (The priority date is an assumption and is not a legal conclusion. Google has not performed a legal analysis and makes no representation as to the accuracy of the date listed.)
Filing date
Publication date
Application filed by MURA SEISAKUSHO KK filed Critical MURA SEISAKUSHO KK
Priority to JP2008202128A priority Critical patent/JP4885919B2/ja
Publication of JP2010036302A publication Critical patent/JP2010036302A/ja
Application granted granted Critical
Publication of JP4885919B2 publication Critical patent/JP4885919B2/ja
Active legal-status Critical Current
Anticipated expiration legal-status Critical

Links

Images

Landscapes

  • Jigs For Machine Tools (AREA)

Abstract

【課題】 大型のワークやピン形状のワークを傾斜させて固定可能であり、作業性が良好な治具を提供する。
【解決手段】 一対の基壁1,2と、各基壁1,2の一方の面に設けた支持部11,21と、各基壁1,2の他方の面に設けた凹凸部12,22と、両基壁1,2を連結するガイドポスト3とを備え、支持部11,21は、ワーク載置面13,23を有し、水平方向の回転軸15,25周りに回動自在であり、凹凸部12,22は、垂直方向に形成した突条14,24を水平方向に複数並べてあり、ガイドポスト3は、各基壁1,2の一方の面同士が向き合うように連結することも、他方の面同士が向き合うように連結することも可能であり、一方の面同士が向き合う際には、両支持部11,21の回転軸15,25が一致し、ワーク載置面13,23を常に同一平面上に位置させることができ、他方の面同士が向き合う際には、凹凸部12,22同士が互いに嵌め合う。
【選択図】 図1

Description

本発明は、工作機械の加工テーブルにワークを固定するための治具に関する。
フライス盤などの工作機械の加工テーブルにワークを固定するには、加工テーブルに設置したバイスでワークを挟持する方法が一般的である。ここで、加工テーブル面に対してワークを傾斜させて固定したい場合、所定の傾斜角を有するアングルプレートの上にワークを載せてバイスで挟持していた。しかしながら、この方法では、望みの傾斜角を得るために複数のアングルプレートを重ねる必要があり、ワークの挟持位置が高くなりすぎることが問題であった。そこで、文献1において、治具本体の側面にワーク支持台を所定角度で支持する角度割り出し治具が提案されている。また、文献2において、保持具本体に角度板を回転可能に軸装した保持具が提案されている。
特開2003−220529号公報 特開2002−283156号公報
しかしながら、いずれの発明も、ワーク支持台(角度板)の幅と同程度の大きさのブロック形状(直方体形状)のワークを対象とするものであり、大型のワークや、ブロック形状以外の例えばピン形状(細長い円柱形状)のワークを直接挟持することは困難であった。また、文献2の保持具は、ワークを固定するために多数のボルトを締め付ける必要があり、作業性が悪いと考えられる。
本発明は、上記事情を鑑みたものであり、大型のワークやピン形状のワークを傾斜させて固定可能であり、作業性が良好な治具を提供することを目的とする。
本発明のうち請求項1の発明は、一対の基壁と、各基壁の一方の面に設けた支持部と、各基壁の他方の面に設けた凹凸部と、両基壁を連結するガイドポストとを備え、前記支持部は、ワーク載置面を有し、水平方向の回転軸周りに回動自在であり、前記凹凸部は、垂直方向に形成した突条を水平方向に複数並べてあり、前記ガイドポストは、各基壁の一方の面同士が向き合うように連結することも、他方の面同士が向き合うように連結することも可能であり、一方の面同士が向き合う際には、両支持部の回転軸が一致し、ワーク載置面を常に同一平面上に位置させることができ、他方の面同士が向き合う際には、凹凸部同士が互いに嵌め合うことを特徴とする。
本発明のうち請求項2の発明は、各基壁の他方の面に、水平方向に形成した溝部を有することを特徴とする。
本発明のうち請求項1の発明によれば、一方の面同士が向き合うように連結した際には、ワークを両支持部に載せ、両基壁で挟持することにより、大型のワークでも自在な傾斜角度で固定することができる。また、他方の面同士が向き合うように連結した際には、ワークを両凹凸部により挟持し、支持部を傾斜させて平行な台に載せることで、ピン形状のワークでも自在な傾斜角度で固定することができる。そしていずれの使用方法においても、支持部の角度の設定と基壁同士の連結のみを行えばよいので、作業性が良好である。
本発明のうち請求項2の発明によれば、凹凸部によりピン形状のワークを挟持する際、ワークが鍔部を有していても、溝部に鍔部を嵌め込むことで問題なく挟持することができる。
本発明の治具の具体的な構成について、各図面に基づいて説明する。図1は治具の斜視図、図2は三面図および断面図であり、本治具は一対の基壁1,2を有し、基壁1,2同士が平行を保つように二本のガイドポスト3で連結されている。以下においては、図1(a)および図2において基壁1,2の互いに向き合う面を各基壁1,2の一方面、その反対側の面を他方面とする。
基壁1,2の一方面には、支持部11,21が設けてある。支持部11,21は、その上面にワーク載置面13,23を有し、水平方向の回転軸15,25により回動自在に支持されている。基壁1,2には回転軸15,25を中心とする円弧状の規制溝17,27が形成されている。規制溝17,27は、その幅が一方面側において狭く、他方面側において広くなっており、中間に段部17a,27aが形成されている。他方面側から固定ボルト18,28を挿入すると、固定ボルト18,28の頭部が段部17a,27aに係合し、支持部11,21に螺合することで支持部11,21を所定の角度で固定できる。支持部11,21は回転軸15,25側(根元接地部11a,21a)と先端側(先端接地部11b,21b)の二箇所で接地し、両接地部11a,21a,11b,21bは断面円弧状に形成されている。よって、先端接地部11b,21bの下に台座を挿入して支持部11,21を傾斜させても、両接地部11a,21a,11b,21bの接地点間の距離(図2(d)中のL)は一定になるので、所望の傾斜角を得る際に必要な台座の高さを計算により求めることができる。
基壁1,2の他方面には、垂直方向に形成した突条14,24を水平方向に複数並べた凹凸部12,22が形成されている。突条14,24は水平方向断面が三角形で、一方の基壁1には七本、他方の基壁2には六本設けられている。また、両基壁1,2の他方面の同じ高さ位置には、水平方向に断面矩形の溝部16,26が形成されている。
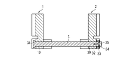
ガイドポスト3は、両基壁1,2を連結するもので、両基壁1,2の平行を保ったまま、ガイドポスト3の長さの範囲内で相互間の距離を自由に設定できる。図3に示すように、ガイドポスト3は断面円形の棒状で、一端に係合鍔31を有し、他端にネジ孔32を有する。基壁1,2には貫通孔19,29が形成され、ガイドポスト3はこの貫通孔19,29に通してあり、係合鍔31が一方の基壁1に係合する。ガイドポスト3の他端は他方の基壁2から突出し、この突出した他端に円筒状のスリーブ33を被せ、さらにワッシャ34を介してネジ孔32にボルト35を螺合することで、両基壁1,2を連結する。なお、スリーブ33の長さを適宜変更することで、両基壁1,2間の距離を調整することができる(長いスリーブ33を用いれば、両基壁1,2間の距離は短くなる)。
このようなガイドポスト3により、各基壁1,2の一方面同士が向き合うように連結(図1(a))することも、他方面同士が向き合うように連結(図1(b))することも可能である。一方面同士が向き合う際には、両支持部11,21の回転軸15,25が一致し、ワーク載置面13,23を常に同一平面上に位置させることができる。また、他方面同士が向き合う際には、凹凸部12,22同士が互いに嵌め合う。
次に、本治具により大型のブロック形状のワークW1を固定する場合について説明する。この場合、図4に示すように、各基壁1,2の一方面同士を向き合わせて、支持部11,21の上にワークW1を載せて基壁1,2で挟み込む。具体的な手順としては、まず所望の支持部11,21の傾斜角度から、先端接地部11b,21bの下に挿入すべき台座4の高さを求め、当該台座4を挿入し、固定ボルト18,28により支持部11,21を固定する。続いてガイドポスト3を基壁1,2の貫通孔に挿入し、ワークW1を支持部11,21のワーク載置面13,23に載せ、両基壁1,2でワークW1を挟み込む。そして基壁2から突出したガイドポスト3にスリーブ33を被せ、ワッシャ34を介してボルト35を螺合することで、ワークW1を固定する。このように、本治具によれば、大型のブロック形状のワークであっても、支持部の角度の設定と基壁同士の連結のみで傾斜して支持できるので、作業性が良好である。この状態の治具をフライス盤などの工作機械の加工テーブルに設置し、バイスで挟み込めば、加工テーブル面に対してワークが傾斜して固定され、ワークに対して傾斜した孔加工や溝加工を施すことが可能である。
次に、本治具によりピン形状のワークW2を固定する場合について説明する。この場合、図5に示すように、各基壁1,2の他方面同士を向き合わせて、凹凸部12,22でワークW2を挟み込む。具体的な手順としては、まず、ブロック形状のワークW1を固定する場合と同様にして、支持部11,21を所望の傾斜角度で固定する。続いてガイドポスト3を基壁1,2の貫通孔に挿入し、ワークW2を両凹凸部12,22で挟み込む(図5(b))。この際、ワークW2が鍔部W2aを有していても、鍔部W2aを溝部16,26に嵌め込むことで、問題なく挟み込むことができる(図5(c))。そして基壁2から突出したガイドポスト3にスリーブ33を被せ、ワッシャ34を介してボルト35を螺合することで、ワークW2を固定する。この状態で、支持部11,21を上面と下面が平行な平行台5に載せると、基壁1,2が所望の角度で傾斜した状態で支持される。この場合、平行台5は基壁1,2が設置面に接触しないだけの高さが必要である。このように、本治具によれば、ピン形状のワークであっても、支持部の角度の設定と基壁同士の連結のみで傾斜して支持できるので、作業性が良好である。そして、平行台5に載せた状態の治具をフライス盤などの工作機械の加工テーブルに設置し、バイスで挟み込めば、加工テーブル面に対してワークが傾斜して固定され、ピン形状のワークの先端に対して傾斜した穴を開けたり、ワークの先端を斜めに研削したりする加工を施すことが可能である。
本発明の治具は、上記の実施例に限定されない。例えば、規制溝の代わりに所定の間隔の複数の孔を形成し、各孔に固定ボルトを挿入することで所定の傾斜角を得られるようにしてもよい。また、凹凸部の断面形状は、三角形に限られず、対象とするワークの形状に合わせて適宜設定すればよい。
本発明の治具の斜視図であり、(a)は一方面側同士が向き合う場合、(b)は他方面側同士が向き合う場合である。 (a)、(b)、(c)は治具の三面図、(d)は(b)のA−A線断面図である。 図2(a)のB−B線断面図で、ガイドポストの説明図である。 治具によりブロック形状のワークを固定した状態を示す斜視図である。 (a)は治具によりピン形状のワークを固定した状態を示す斜視図、(b)は凹凸部によるワークの把持の説明図、(c)は(b)のC−C線断面図である。
符号の説明
1,2 基壁
3 ガイドポスト
11,21 支持部
12,22 凹凸部
13,23 ワーク載置面
14,24 突条
15,25 回転軸
16,26 溝部

Claims (2)

  1. 一対の基壁(1,2)と、各基壁(1,2)の一方の面に設けた支持部(11,21)と、各基壁(1,2)の他方の面に設けた凹凸部(12,22)と、両基壁(1,2)を連結するガイドポスト(3)とを備え、
    前記支持部(11,21)は、ワーク載置面(13,23)を有し、水平方向の回転軸(15,25)周りに回動自在であり、
    前記凹凸部(12,22)は、垂直方向に形成した突条(14,24)を水平方向に複数並べてあり、
    前記ガイドポスト(3)は、各基壁(1,2)の一方の面同士が向き合うように連結することも、他方の面同士が向き合うように連結することも可能であり、
    一方の面同士が向き合う際には、両支持部(11,21)の回転軸(15,25)が一致し、ワーク載置面(13,23)を常に同一平面上に位置させることができ、
    他方の面同士が向き合う際には、凹凸部(12,22)同士が互いに嵌め合うことを特徴とする治具。
  2. 各基壁(1,2)の他方の面に、水平方向に形成した溝部(16,26)を有することを特徴とする請求項1記載の治具。
JP2008202128A 2008-08-05 2008-08-05 治具 Active JP4885919B2 (ja)

Priority Applications (1)

Application Number Priority Date Filing Date Title
JP2008202128A JP4885919B2 (ja) 2008-08-05 2008-08-05 治具

Applications Claiming Priority (1)

Application Number Priority Date Filing Date Title
JP2008202128A JP4885919B2 (ja) 2008-08-05 2008-08-05 治具

Publications (2)

Publication Number Publication Date
JP2010036302A true JP2010036302A (ja) 2010-02-18
JP4885919B2 JP4885919B2 (ja) 2012-02-29

Family

ID=42009376

Family Applications (1)

Application Number Title Priority Date Filing Date
JP2008202128A Active JP4885919B2 (ja) 2008-08-05 2008-08-05 治具

Country Status (1)

Country Link
JP (1) JP4885919B2 (ja)

Cited By (5)

* Cited by examiner, † Cited by third party
Publication number Priority date Publication date Assignee Title
CN102407456A (zh) * 2011-12-05 2012-04-11 常州市新特力工具有限公司 手动快速夹持装置
KR101587777B1 (ko) * 2014-07-25 2016-01-21 (주)솔텍 공작물의 각도 변환 고정장치
CN109701832A (zh) * 2019-01-24 2019-05-03 深圳市奥松自动化设备有限公司 七轴点胶机
CN112170615A (zh) * 2020-09-17 2021-01-05 江阴天田真空设备制造有限公司 一种用于中心孔加工的新型工作台
CN114559368A (zh) * 2021-12-16 2022-05-31 杭州大和热磁电子有限公司 一种多功能快装平磨工装

Citations (9)

* Cited by examiner, † Cited by third party
Publication number Priority date Publication date Assignee Title
JPS54147785A (en) * 1978-05-11 1979-11-19 Toshiba Corp Semiconductor integrated circuit device
JPS63172537A (ja) * 1987-01-12 1988-07-16 Tokyo Electric Co Ltd Pos端末機のインライン異常検出回路
JPH0326437A (ja) * 1989-06-10 1991-02-05 Erowa Ag 工作物を固定するクランプ装置、及び該クランプ装置で使用されるように構成されたクランプバー
JPH03213235A (ja) * 1990-01-17 1991-09-18 Yoshino Kogyosho Co Ltd 割り出し装置
JPH0451336A (ja) * 1990-06-19 1992-02-19 Fujitsu Ltd ネットワーク通信網に繋がれたコンピュータにおけるファイルの管理処理方式
US5419540A (en) * 1994-03-14 1995-05-30 Teafatiller; Orvell L. Workpiece support for use in a machine tool vise
US6170813B1 (en) * 1999-07-21 2001-01-09 Jerald A. Bowers Vise with adjustable jaw inserts
JP2002283156A (ja) * 2001-03-23 2002-10-03 Nippon Koshuha Steel Co Ltd 保持具
JP2003220529A (ja) * 2002-01-23 2003-08-05 Shunji Kaneoka 角度割り出し治具

Patent Citations (9)

* Cited by examiner, † Cited by third party
Publication number Priority date Publication date Assignee Title
JPS54147785A (en) * 1978-05-11 1979-11-19 Toshiba Corp Semiconductor integrated circuit device
JPS63172537A (ja) * 1987-01-12 1988-07-16 Tokyo Electric Co Ltd Pos端末機のインライン異常検出回路
JPH0326437A (ja) * 1989-06-10 1991-02-05 Erowa Ag 工作物を固定するクランプ装置、及び該クランプ装置で使用されるように構成されたクランプバー
JPH03213235A (ja) * 1990-01-17 1991-09-18 Yoshino Kogyosho Co Ltd 割り出し装置
JPH0451336A (ja) * 1990-06-19 1992-02-19 Fujitsu Ltd ネットワーク通信網に繋がれたコンピュータにおけるファイルの管理処理方式
US5419540A (en) * 1994-03-14 1995-05-30 Teafatiller; Orvell L. Workpiece support for use in a machine tool vise
US6170813B1 (en) * 1999-07-21 2001-01-09 Jerald A. Bowers Vise with adjustable jaw inserts
JP2002283156A (ja) * 2001-03-23 2002-10-03 Nippon Koshuha Steel Co Ltd 保持具
JP2003220529A (ja) * 2002-01-23 2003-08-05 Shunji Kaneoka 角度割り出し治具

Cited By (6)

* Cited by examiner, † Cited by third party
Publication number Priority date Publication date Assignee Title
CN102407456A (zh) * 2011-12-05 2012-04-11 常州市新特力工具有限公司 手动快速夹持装置
KR101587777B1 (ko) * 2014-07-25 2016-01-21 (주)솔텍 공작물의 각도 변환 고정장치
CN109701832A (zh) * 2019-01-24 2019-05-03 深圳市奥松自动化设备有限公司 七轴点胶机
CN109701832B (zh) * 2019-01-24 2023-11-10 深圳市奥松自动化设备有限公司 七轴点胶机
CN112170615A (zh) * 2020-09-17 2021-01-05 江阴天田真空设备制造有限公司 一种用于中心孔加工的新型工作台
CN114559368A (zh) * 2021-12-16 2022-05-31 杭州大和热磁电子有限公司 一种多功能快装平磨工装

Also Published As

Publication number Publication date
JP4885919B2 (ja) 2012-02-29

Similar Documents

Publication Publication Date Title
JP4885919B2 (ja) 治具
JP6482468B2 (ja) ワークピース保持装置およびワークピース保持装置にワークピースを取り付ける方法
JP2005169537A (ja) ワークの位置決め固定冶具
KR101035668B1 (ko) 가공물 고정용 지그
CN214519798U (zh) 通用夹具
JP4837364B2 (ja) 小物ワークの固定ジグ
CN104999301A (zh) 一种具有长条型工件专用夹具的机床加工中心
JP2000198037A (ja) ワ―ク固定治具
CN105904249A (zh) 钻床及机用夹紧钳
JP4891165B2 (ja) 仕口組立台
JP2002283156A (ja) 保持具
JP2003260613A (ja) 切削装置
CN105817926A (zh) 钻床及机用夹紧钳
JP2009023071A (ja) 工作機械におけるワーク位置決め装置
CN108340171B (zh) 用于加工回转体工件上的倾斜孔的夹具
CN103659634A (zh) 夹持机构以及具有此夹持机构的夹具
CN216028962U (zh) 一种旋转焊接夹具
JP2017094405A (ja) ローディング装置の軸合わせ構造
US12263550B1 (en) Flexible and precise fixture for micromachining
CN211890539U (zh) 一种电力机车异型绝缘零件专用夹具
CN213645901U (zh) 一种多功能加工中心工作台专用夹具
CN114425707A (zh) 一种端盖钻孔攻丝固定装置
CN206169727U (zh) 一种万向固定工装
CA2778020A1 (en) Wrench stabilizing system
CN217316984U (zh) 一种组合式定位工装夹具

Legal Events

Date Code Title Description
A621 Written request for application examination

Free format text: JAPANESE INTERMEDIATE CODE: A621

Effective date: 20100326

A977 Report on retrieval

Free format text: JAPANESE INTERMEDIATE CODE: A971007

Effective date: 20111122

TRDD Decision of grant or rejection written
A01 Written decision to grant a patent or to grant a registration (utility model)

Free format text: JAPANESE INTERMEDIATE CODE: A01

Effective date: 20111129

A01 Written decision to grant a patent or to grant a registration (utility model)

Free format text: JAPANESE INTERMEDIATE CODE: A01

A61 First payment of annual fees (during grant procedure)

Free format text: JAPANESE INTERMEDIATE CODE: A61

Effective date: 20111208

FPAY Renewal fee payment (event date is renewal date of database)

Free format text: PAYMENT UNTIL: 20141216

Year of fee payment: 3

R150 Certificate of patent or registration of utility model

Ref document number: 4885919

Country of ref document: JP

Free format text: JAPANESE INTERMEDIATE CODE: R150

Free format text: JAPANESE INTERMEDIATE CODE: R150

R250 Receipt of annual fees

Free format text: JAPANESE INTERMEDIATE CODE: R250

R250 Receipt of annual fees

Free format text: JAPANESE INTERMEDIATE CODE: R250

R250 Receipt of annual fees

Free format text: JAPANESE INTERMEDIATE CODE: R250

R250 Receipt of annual fees

Free format text: JAPANESE INTERMEDIATE CODE: R250

R250 Receipt of annual fees

Free format text: JAPANESE INTERMEDIATE CODE: R250

R250 Receipt of annual fees

Free format text: JAPANESE INTERMEDIATE CODE: R250

R250 Receipt of annual fees

Free format text: JAPANESE INTERMEDIATE CODE: R250