JP2010036196A - レーザスクライブ方法および装置 - Google Patents
レーザスクライブ方法および装置 Download PDFInfo
- Publication number
- JP2010036196A JP2010036196A JP2008198966A JP2008198966A JP2010036196A JP 2010036196 A JP2010036196 A JP 2010036196A JP 2008198966 A JP2008198966 A JP 2008198966A JP 2008198966 A JP2008198966 A JP 2008198966A JP 2010036196 A JP2010036196 A JP 2010036196A
- Authority
- JP
- Japan
- Prior art keywords
- laser
- workpiece
- scribe
- laser beams
- bundles
- Prior art date
- Legal status (The legal status is an assumption and is not a legal conclusion. Google has not performed a legal analysis and makes no representation as to the accuracy of the status listed.)
- Granted
Links
- 238000000034 method Methods 0.000 title claims abstract description 24
- 230000003287 optical effect Effects 0.000 claims description 18
- 230000010287 polarization Effects 0.000 claims description 16
- 238000000926 separation method Methods 0.000 claims description 13
- 239000010453 quartz Substances 0.000 claims description 12
- VYPSYNLAJGMNEJ-UHFFFAOYSA-N silicon dioxide Inorganic materials O=[Si]=O VYPSYNLAJGMNEJ-UHFFFAOYSA-N 0.000 claims description 12
- 230000007246 mechanism Effects 0.000 claims description 6
- 238000010521 absorption reaction Methods 0.000 description 7
- 239000013078 crystal Substances 0.000 description 6
- 239000000463 material Substances 0.000 description 6
- 238000005259 measurement Methods 0.000 description 5
- 239000000919 ceramic Substances 0.000 description 4
- 230000001678 irradiating effect Effects 0.000 description 4
- 230000010355 oscillation Effects 0.000 description 4
- 238000012545 processing Methods 0.000 description 4
- 230000007423 decrease Effects 0.000 description 2
- 230000003247 decreasing effect Effects 0.000 description 2
- 210000001747 pupil Anatomy 0.000 description 2
- 229910052594 sapphire Inorganic materials 0.000 description 2
- 239000010980 sapphire Substances 0.000 description 2
- 239000004065 semiconductor Substances 0.000 description 2
- 229910052710 silicon Inorganic materials 0.000 description 2
- 239000010703 silicon Substances 0.000 description 2
- 238000001228 spectrum Methods 0.000 description 2
- PNEYBMLMFCGWSK-UHFFFAOYSA-N aluminium oxide Inorganic materials [O-2].[O-2].[O-2].[Al+3].[Al+3] PNEYBMLMFCGWSK-UHFFFAOYSA-N 0.000 description 1
- 230000008901 benefit Effects 0.000 description 1
- 230000015572 biosynthetic process Effects 0.000 description 1
- 230000000903 blocking effect Effects 0.000 description 1
- 230000008859 change Effects 0.000 description 1
- 238000012733 comparative method Methods 0.000 description 1
- 238000007796 conventional method Methods 0.000 description 1
- 230000000694 effects Effects 0.000 description 1
- 239000000835 fiber Substances 0.000 description 1
- 230000006870 function Effects 0.000 description 1
- 230000031700 light absorption Effects 0.000 description 1
- 230000008569 process Effects 0.000 description 1
- 239000000758 substrate Substances 0.000 description 1
Images
Landscapes
- Laser Beam Processing (AREA)
Abstract
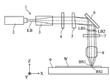
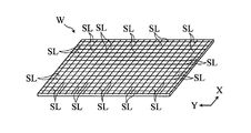
【解決手段】スクライブ方向に並ぶ複数のビームスポットBS1,BS2を、互いに分離された状態でワークWに対して形成するとともに、複数のビームスポットBS1、BS2をスクライブ方向に移動させてワークWにライン状のスクライブ溝SLを形成するレーザスクライブ方法に関する。複数のビームスポットBS1,BS2は、単一束のレーザ光LBから得られるものである。
【選択図】図2
Description
2 レーザ光源
4 複屈折素子(水晶素子)
8 集光レンズ
9 ステージ(光走査手段)
LB (単一束の)レーザ光
LB1,LB2 (複数束の)レーザ光
BS1,BS2 ビームスポット
SL スクライブ溝
W ワーク
Claims (18)
- スクライブ方向に並ぶ複数のビームスポットを、互いに分離された状態でワークに対して形成するとともに、前記複数のビームスポットを前記スクライブ方向に移動させて前記ワークにライン状のスクライブ溝を形成するレーザスクライブ方法であって、
前記複数のビームスポットは、単一束のレーザ光から得られるものであることを特徴とする、レーザスクライブ方法。 - 前記複数のビームスポットは、前記単一束のレーザ光を複数束のレーザ光に分離するとともに、前記複数束のレーザ光のそれぞれを集束して得られる、請求項1に記載のレーザスクライブ方法。
- 前記単一束のレーザ光は、複屈折素子よって前記複数束のレーザ光に分離される、請求項2に記載のレーザスクライブ方法。
- 前記複屈折素子は、ウエッジ付の水晶板である、請求項3に記載のレーザスクライブ方法。
- 前記複屈折素子は、複像プリズムである、請求項3に記載のレーザスクライブ方法。
- 前記単一束のレーザ光は、前記複屈折素子によって互いに偏光方向が直交する常光成分と異常光成分に分離される、請求項4または5に記載のレーザスクライブ方法。
- 前記単一束のレーザ光の分離方向は、前記複数のレーザスポットの移動方向に分離される、請求項3ないし6のいずれかに記載のレーザスクライブ方法。
- 前記複数のレーザスポットの分離方向は、前記複屈折素子を回転させることにより選択される、請求項7に記載のレーザスクライブ方法。
- ワークに対してライン状のスクライブ溝を形成するための装置であって、
単一束のレーザ光を出射するためのレーザ光源と、
前記単一束のレーザ光をスクライブ方向に沿って複数束のレーザ光に分離するための分離手段と、
前記複数束のレーザ光のそれぞれを集光するための集光手段と、
前記複数束のレーザ光とワークを相対移動させる光走査手段と、
を備えたことを特徴とする、レーザスクライブ装置。 - 前記分離手段は、複屈折素子である、請求項9に記載のレーザスクライブ装置。
- 前記複屈折素子は、ウエッジ付の水晶板である、請求項10に記載のレーザスクライブ装置。
- 前記複屈折素子は、複像プリズムである、請求項10に記載のレーザスクライブ装置。
- 前記分離手段を光軸周りに回転させる機構をさらに備えている、請求項9ないし12のいずれかに記載のレーザスクライブ装置。
- 前記レーザ光源は、直線偏光のレーザ光を出射可能なものであり、
前記レーザ光に対して偏光方向を光軸に対して回転させるための1/2波長板をさらに備えている、請求項9ないし13のいずれかに記載のレーザスクライブ装置。 - 前記複数束のレーザ光のそれぞれを、直線偏光から円偏光に変えるための1/4波長板をさらに備えている、請求項14に記載のレーザスクライブ装置。
- 前記1/4波長板を光軸周りの回転させる機構をさらに備えている、請求項15に記載のレーザスクライブ装置。
- 前記レーザ光源は、円偏光またはランダム偏光のレーザ光を出射可能なものである、請求項9ないし13のいずれかに記載のレーザスクライブ装置。
- 前記集光手段は、前記複数束のレーザ光のそれぞれにおけるビームスポットが前記ワークにおいて互いに分離された状態で形成されるように選定された焦点距離を持つ、請求項9ないし17のいずれかに記載のレーザスクライブ装置。
Priority Applications (1)
| Application Number | Priority Date | Filing Date | Title |
|---|---|---|---|
| JP2008198966A JP5536319B2 (ja) | 2008-07-31 | 2008-07-31 | レーザスクライブ方法および装置 |
Applications Claiming Priority (1)
| Application Number | Priority Date | Filing Date | Title |
|---|---|---|---|
| JP2008198966A JP5536319B2 (ja) | 2008-07-31 | 2008-07-31 | レーザスクライブ方法および装置 |
Publications (2)
| Publication Number | Publication Date |
|---|---|
| JP2010036196A true JP2010036196A (ja) | 2010-02-18 |
| JP5536319B2 JP5536319B2 (ja) | 2014-07-02 |
Family
ID=42009279
Family Applications (1)
| Application Number | Title | Priority Date | Filing Date |
|---|---|---|---|
| JP2008198966A Active JP5536319B2 (ja) | 2008-07-31 | 2008-07-31 | レーザスクライブ方法および装置 |
Country Status (1)
| Country | Link |
|---|---|
| JP (1) | JP5536319B2 (ja) |
Cited By (12)
| Publication number | Priority date | Publication date | Assignee | Title |
|---|---|---|---|---|
| JP2012016726A (ja) * | 2010-07-08 | 2012-01-26 | Mitsubishi Chemicals Corp | 窒化物材料の加工方法、半導体機能素子の製造方法、半導体発光素子の製造方法、半導体発光素子アレイ、半導体発光素子およびレーザ加工装置 |
| KR101212527B1 (ko) * | 2010-10-15 | 2012-12-14 | 한국과학기술원 | 편광 레이저 빔 간의 간섭을 이용한 레이저 가공장치 및 가공방법 |
| JP2013063468A (ja) * | 2012-11-19 | 2013-04-11 | Laser System:Kk | レーザ加工装置 |
| JP2013173171A (ja) * | 2012-02-27 | 2013-09-05 | Opt-I Co Ltd | 光制御装置と光制御方法及びレーザ加工システムとレーザ加工システムによる加工方法 |
| JP2015530251A (ja) * | 2012-08-09 | 2015-10-15 | ロフィン−ラザーク アクチエンゲゼルシャフトRofin−Lasagag | レーザビームを用いた被加工物の加工装置 |
| WO2019082310A1 (ja) * | 2017-10-25 | 2019-05-02 | 株式会社ニコン | 加工装置、及び、移動体の製造方法 |
| WO2019082309A1 (ja) * | 2017-10-25 | 2019-05-02 | 株式会社ニコン | 加工装置、塗料、加工方法、及び、移動体の製造方法 |
| JP2019096884A (ja) * | 2017-11-22 | 2019-06-20 | エーエスエム・テクノロジー・シンガポール・ピーティーイー・リミテッド | 選択的偏光を使用したレーザ切削 |
| CN112004633A (zh) * | 2018-04-12 | 2020-11-27 | 通快机床两合公司 | 用于加工工件的设备、激光加工机和方法 |
| JP2021009274A (ja) * | 2018-07-09 | 2021-01-28 | レーザーテック株式会社 | 光源、検査装置、euv光の生成方法及び検査方法 |
| JP2024533564A (ja) * | 2021-09-15 | 2024-09-12 | イーオー テクニックス カンパニー, リミテッド | 溝形成装置 |
| JP7674012B1 (ja) | 2024-06-25 | 2025-05-09 | 西進商事株式会社 | レーザダイシング装置および基板の製造方法 |
Citations (13)
| Publication number | Priority date | Publication date | Assignee | Title |
|---|---|---|---|---|
| JPS49126694U (ja) * | 1973-02-26 | 1974-10-30 | ||
| JPH026095A (ja) * | 1988-06-24 | 1990-01-10 | Hitachi Ltd | レーザマーカ装置 |
| JPH09108878A (ja) * | 1995-10-23 | 1997-04-28 | Alps Electric Co Ltd | レーザ加工機 |
| JP2000246475A (ja) * | 1999-02-25 | 2000-09-12 | Seiko Epson Corp | レーザ光による加工方法 |
| JP2001121281A (ja) * | 1999-10-22 | 2001-05-08 | Nec Corp | レーザ加工用出射光学部 |
| JP2004087917A (ja) * | 2002-08-28 | 2004-03-18 | Topcon Corp | 半導体レーザ装置及びレーザ加工機及びレーザ治療機 |
| JP2004198560A (ja) * | 2002-12-17 | 2004-07-15 | Mitsumi Electric Co Ltd | 可変光減衰器 |
| JP2005014059A (ja) * | 2003-06-26 | 2005-01-20 | Ricoh Co Ltd | 超短パルスレーザ加工法及び加工装置並びに構造体 |
| WO2005084874A1 (ja) * | 2004-03-05 | 2005-09-15 | Olympus Corporation | レーザ加工装置 |
| JP2006000888A (ja) * | 2004-06-17 | 2006-01-05 | Laser Solutions Co Ltd | レーザ光によるライン加工方法およびレーザ加工装置。 |
| JP2007000931A (ja) * | 2005-05-24 | 2007-01-11 | Disco Abrasive Syst Ltd | レーザー加工装置 |
| JP2007129225A (ja) * | 2005-10-31 | 2007-05-24 | Advanced Laser Separation Internatl Bv | 基板の表面内に一つもしくはそれ以上の離間した切断溝を形成するための装置および方法 |
| JP2008137028A (ja) * | 2006-11-30 | 2008-06-19 | Sunx Ltd | レーザ加工装置及びレーザ装置 |
-
2008
- 2008-07-31 JP JP2008198966A patent/JP5536319B2/ja active Active
Patent Citations (13)
| Publication number | Priority date | Publication date | Assignee | Title |
|---|---|---|---|---|
| JPS49126694U (ja) * | 1973-02-26 | 1974-10-30 | ||
| JPH026095A (ja) * | 1988-06-24 | 1990-01-10 | Hitachi Ltd | レーザマーカ装置 |
| JPH09108878A (ja) * | 1995-10-23 | 1997-04-28 | Alps Electric Co Ltd | レーザ加工機 |
| JP2000246475A (ja) * | 1999-02-25 | 2000-09-12 | Seiko Epson Corp | レーザ光による加工方法 |
| JP2001121281A (ja) * | 1999-10-22 | 2001-05-08 | Nec Corp | レーザ加工用出射光学部 |
| JP2004087917A (ja) * | 2002-08-28 | 2004-03-18 | Topcon Corp | 半導体レーザ装置及びレーザ加工機及びレーザ治療機 |
| JP2004198560A (ja) * | 2002-12-17 | 2004-07-15 | Mitsumi Electric Co Ltd | 可変光減衰器 |
| JP2005014059A (ja) * | 2003-06-26 | 2005-01-20 | Ricoh Co Ltd | 超短パルスレーザ加工法及び加工装置並びに構造体 |
| WO2005084874A1 (ja) * | 2004-03-05 | 2005-09-15 | Olympus Corporation | レーザ加工装置 |
| JP2006000888A (ja) * | 2004-06-17 | 2006-01-05 | Laser Solutions Co Ltd | レーザ光によるライン加工方法およびレーザ加工装置。 |
| JP2007000931A (ja) * | 2005-05-24 | 2007-01-11 | Disco Abrasive Syst Ltd | レーザー加工装置 |
| JP2007129225A (ja) * | 2005-10-31 | 2007-05-24 | Advanced Laser Separation Internatl Bv | 基板の表面内に一つもしくはそれ以上の離間した切断溝を形成するための装置および方法 |
| JP2008137028A (ja) * | 2006-11-30 | 2008-06-19 | Sunx Ltd | レーザ加工装置及びレーザ装置 |
Cited By (20)
| Publication number | Priority date | Publication date | Assignee | Title |
|---|---|---|---|---|
| JP2012016726A (ja) * | 2010-07-08 | 2012-01-26 | Mitsubishi Chemicals Corp | 窒化物材料の加工方法、半導体機能素子の製造方法、半導体発光素子の製造方法、半導体発光素子アレイ、半導体発光素子およびレーザ加工装置 |
| KR101212527B1 (ko) * | 2010-10-15 | 2012-12-14 | 한국과학기술원 | 편광 레이저 빔 간의 간섭을 이용한 레이저 가공장치 및 가공방법 |
| JP2013173171A (ja) * | 2012-02-27 | 2013-09-05 | Opt-I Co Ltd | 光制御装置と光制御方法及びレーザ加工システムとレーザ加工システムによる加工方法 |
| JP2015530251A (ja) * | 2012-08-09 | 2015-10-15 | ロフィン−ラザーク アクチエンゲゼルシャフトRofin−Lasagag | レーザビームを用いた被加工物の加工装置 |
| JP2013063468A (ja) * | 2012-11-19 | 2013-04-11 | Laser System:Kk | レーザ加工装置 |
| JPWO2019082310A1 (ja) * | 2017-10-25 | 2020-11-19 | 株式会社ニコン | 加工装置、及び、移動体の製造方法 |
| JPWO2019082309A1 (ja) * | 2017-10-25 | 2020-11-19 | 株式会社ニコン | 加工装置、塗料、加工方法、及び、移動体の製造方法 |
| WO2019082310A1 (ja) * | 2017-10-25 | 2019-05-02 | 株式会社ニコン | 加工装置、及び、移動体の製造方法 |
| WO2019082309A1 (ja) * | 2017-10-25 | 2019-05-02 | 株式会社ニコン | 加工装置、塗料、加工方法、及び、移動体の製造方法 |
| JP7238781B2 (ja) | 2017-10-25 | 2023-03-14 | 株式会社ニコン | 加工装置、及び、移動体の製造方法 |
| US12383981B2 (en) | 2017-10-25 | 2025-08-12 | Nikon Corporation | Processing apparatus, and manufacturing method of movable body |
| US12304002B2 (en) | 2017-11-22 | 2025-05-20 | Asmpt Singapore Pte. Ltd. | Laser-cutting using selective polarization |
| JP2019096884A (ja) * | 2017-11-22 | 2019-06-20 | エーエスエム・テクノロジー・シンガポール・ピーティーイー・リミテッド | 選択的偏光を使用したレーザ切削 |
| TWI693979B (zh) * | 2017-11-22 | 2020-05-21 | 新加坡商先進科技新加坡有限公司 | 切割半導體晶片的方法及鐳射切割設備 |
| CN112004633A (zh) * | 2018-04-12 | 2020-11-27 | 通快机床两合公司 | 用于加工工件的设备、激光加工机和方法 |
| JP2021519215A (ja) * | 2018-04-12 | 2021-08-10 | トルンプフ ヴェルクツォイクマシーネン ゲゼルシャフト ミット ベシュレンクテル ハフツング ウント コンパニー コマンディートゲゼルシャフトTrumpf Werkzeugmaschinen GmbH + Co. KG | ワークピースを加工するための装置、レーザー加工機および方法 |
| JP2021009274A (ja) * | 2018-07-09 | 2021-01-28 | レーザーテック株式会社 | 光源、検査装置、euv光の生成方法及び検査方法 |
| JP2024533564A (ja) * | 2021-09-15 | 2024-09-12 | イーオー テクニックス カンパニー, リミテッド | 溝形成装置 |
| JP7674012B1 (ja) | 2024-06-25 | 2025-05-09 | 西進商事株式会社 | レーザダイシング装置および基板の製造方法 |
| JP2026003972A (ja) * | 2024-06-25 | 2026-01-14 | 西進商事株式会社 | レーザダイシング装置および基板の製造方法 |
Also Published As
| Publication number | Publication date |
|---|---|
| JP5536319B2 (ja) | 2014-07-02 |
Similar Documents
| Publication | Publication Date | Title |
|---|---|---|
| JP5536319B2 (ja) | レーザスクライブ方法および装置 | |
| TWI392552B (zh) | Laser irradiation device and laser processing method | |
| JP5670647B2 (ja) | 加工対象物切断方法 | |
| US10556293B2 (en) | Laser machining device and laser machining method | |
| JP5379384B2 (ja) | レーザによる透明基板の加工方法および装置 | |
| JP4459530B2 (ja) | レーザ加工装置 | |
| US7880117B2 (en) | Method and apparatus of drilling high density submicron cavities using parallel laser beams | |
| US9415466B2 (en) | Cutting tool and method and apparatus for manufacturing the same | |
| JP4651731B2 (ja) | レーザースクライブ加工方法 | |
| US8450638B2 (en) | Laser scribing method and apparatus | |
| JP5308431B2 (ja) | レーザ光によるライン加工方法およびレーザ加工装置 | |
| WO2010116917A1 (ja) | レーザ加工装置及びレーザ加工方法 | |
| CN102139484B (zh) | 激光划线方法以及装置 | |
| CN102271858A (zh) | 在聚合物层表面上开槽的方法和设备 | |
| JP2010534140A (ja) | レーザビーム分割を利用したレーザ加工装置及び方法 | |
| JP4736633B2 (ja) | レーザ照射装置 | |
| JP2006000888A (ja) | レーザ光によるライン加工方法およびレーザ加工装置。 | |
| JP2013193081A (ja) | レーザー加工装置 | |
| JP2004306101A (ja) | レーザ加工装置及びレーザ加工方法 | |
| JP5902281B2 (ja) | レーザー加工装置 | |
| TWI409121B (zh) | Method and device for mine clearance | |
| KR101098259B1 (ko) | 레이저 스크라이브 방법 및 장치 | |
| KR100843411B1 (ko) | 레이저가공 장치 및 기판 절단 방법 | |
| KR101850365B1 (ko) | 레이저 가공 장치, 이를 이용한 레이저 가공 방법 및 이에 사용되는 레이저 조사 유닛 | |
| JP2020049491A (ja) | レーザー加工装置及びレーザー加工方法 |
Legal Events
| Date | Code | Title | Description |
|---|---|---|---|
| RD04 | Notification of resignation of power of attorney |
Free format text: JAPANESE INTERMEDIATE CODE: A7424 Effective date: 20091130 |
|
| A977 | Report on retrieval |
Free format text: JAPANESE INTERMEDIATE CODE: A971007 Effective date: 20110825 |
|
| A131 | Notification of reasons for refusal |
Free format text: JAPANESE INTERMEDIATE CODE: A131 Effective date: 20120131 |
|
| A521 | Request for written amendment filed |
Free format text: JAPANESE INTERMEDIATE CODE: A523 Effective date: 20120328 |
|
| A131 | Notification of reasons for refusal |
Free format text: JAPANESE INTERMEDIATE CODE: A131 Effective date: 20120904 |
|
| A521 | Request for written amendment filed |
Free format text: JAPANESE INTERMEDIATE CODE: A523 Effective date: 20121102 |
|
| A02 | Decision of refusal |
Free format text: JAPANESE INTERMEDIATE CODE: A02 Effective date: 20130312 |
|
| A521 | Request for written amendment filed |
Free format text: JAPANESE INTERMEDIATE CODE: A523 Effective date: 20130418 |
|
| A911 | Transfer to examiner for re-examination before appeal (zenchi) |
Free format text: JAPANESE INTERMEDIATE CODE: A911 Effective date: 20130514 |
|
| A912 | Re-examination (zenchi) completed and case transferred to appeal board |
Free format text: JAPANESE INTERMEDIATE CODE: A912 Effective date: 20130628 |
|
| A521 | Request for written amendment filed |
Free format text: JAPANESE INTERMEDIATE CODE: A523 Effective date: 20140124 |
|
| A61 | First payment of annual fees (during grant procedure) |
Free format text: JAPANESE INTERMEDIATE CODE: A61 Effective date: 20140424 |
|
| R150 | Certificate of patent or registration of utility model |
Ref document number: 5536319 Country of ref document: JP Free format text: JAPANESE INTERMEDIATE CODE: R150 |
|
| R250 | Receipt of annual fees |
Free format text: JAPANESE INTERMEDIATE CODE: R250 |
|
| R250 | Receipt of annual fees |
Free format text: JAPANESE INTERMEDIATE CODE: R250 |
|
| R250 | Receipt of annual fees |
Free format text: JAPANESE INTERMEDIATE CODE: R250 |
|
| R250 | Receipt of annual fees |
Free format text: JAPANESE INTERMEDIATE CODE: R250 |
|
| R250 | Receipt of annual fees |
Free format text: JAPANESE INTERMEDIATE CODE: R250 |
|
| R250 | Receipt of annual fees |
Free format text: JAPANESE INTERMEDIATE CODE: R250 |
|
| R250 | Receipt of annual fees |
Free format text: JAPANESE INTERMEDIATE CODE: R250 |
