JP2010032544A - 走査過程に及ぼす機械振動の騒乱効果を補償するラスタモード走査装置 - Google Patents

走査過程に及ぼす機械振動の騒乱効果を補償するラスタモード走査装置 Download PDF

Info

Publication number
JP2010032544A
JP2010032544A JP2009256181A JP2009256181A JP2010032544A JP 2010032544 A JP2010032544 A JP 2010032544A JP 2009256181 A JP2009256181 A JP 2009256181A JP 2009256181 A JP2009256181 A JP 2009256181A JP 2010032544 A JP2010032544 A JP 2010032544A
Authority
JP
Japan
Prior art keywords
sensor
signal
specimen
scanning
filter
Prior art date
Legal status (The legal status is an assumption and is not a legal conclusion. Google has not performed a legal analysis and makes no representation as to the accuracy of the status listed.)
Granted
Application number
JP2009256181A
Other languages
English (en)
Other versions
JP4833329B2 (ja
Inventor
Peter Heiland
ハイラント ペーター
Current Assignee (The listed assignees may be inaccurate. Google has not performed a legal analysis and makes no representation or warranty as to the accuracy of the list.)
Individual
Original Assignee
Individual
Priority date (The priority date is an assumption and is not a legal conclusion. Google has not performed a legal analysis and makes no representation as to the accuracy of the date listed.)
Filing date
Publication date
Application filed by Individual filed Critical Individual
Publication of JP2010032544A publication Critical patent/JP2010032544A/ja
Application granted granted Critical
Publication of JP4833329B2 publication Critical patent/JP4833329B2/ja
Anticipated expiration legal-status Critical
Expired - Fee Related legal-status Critical Current

Links

Images

Classifications

    • GPHYSICS
    • G01MEASURING; TESTING
    • G01QSCANNING-PROBE TECHNIQUES OR APPARATUS; APPLICATIONS OF SCANNING-PROBE TECHNIQUES, e.g. SCANNING PROBE MICROSCOPY [SPM]
    • G01Q10/00Scanning or positioning arrangements, i.e. arrangements for actively controlling the movement or position of the probe
    • G01Q10/04Fine scanning or positioning
    • G01Q10/06Circuits or algorithms therefor
    • HELECTRICITY
    • H01ELECTRIC ELEMENTS
    • H01JELECTRIC DISCHARGE TUBES OR DISCHARGE LAMPS
    • H01J37/00Discharge tubes with provision for introducing objects or material to be exposed to the discharge, e.g. for the purpose of examination or processing thereof
    • H01J37/02Details
    • H01J37/04Arrangements of electrodes and associated parts for generating or controlling the discharge, e.g. electron-optical arrangement or ion-optical arrangement
    • GPHYSICS
    • G01MEASURING; TESTING
    • G01QSCANNING-PROBE TECHNIQUES OR APPARATUS; APPLICATIONS OF SCANNING-PROBE TECHNIQUES, e.g. SCANNING PROBE MICROSCOPY [SPM]
    • G01Q30/00Auxiliary means serving to assist or improve the scanning probe techniques or apparatus, e.g. display or data processing devices
    • G01Q30/18Means for protecting or isolating the interior of a sample chamber from external environmental conditions or influences, e.g. vibrations or electromagnetic fields
    • GPHYSICS
    • G01MEASURING; TESTING
    • G01QSCANNING-PROBE TECHNIQUES OR APPARATUS; APPLICATIONS OF SCANNING-PROBE TECHNIQUES, e.g. SCANNING PROBE MICROSCOPY [SPM]
    • G01Q70/00General aspects of SPM probes, their manufacture or their related instrumentation, insofar as they are not specially adapted to a single SPM technique covered by group G01Q60/00
    • G01Q70/02Probe holders
    • G01Q70/04Probe holders with compensation for temperature or vibration induced errors
    • HELECTRICITY
    • H01ELECTRIC ELEMENTS
    • H01JELECTRIC DISCHARGE TUBES OR DISCHARGE LAMPS
    • H01J2237/00Discharge tubes exposing object to beam, e.g. for analysis treatment, etching, imaging
    • H01J2237/02Details
    • H01J2237/0216Means for avoiding or correcting vibration effects
    • HELECTRICITY
    • H01ELECTRIC ELEMENTS
    • H01JELECTRIC DISCHARGE TUBES OR DISCHARGE LAMPS
    • H01J2237/00Discharge tubes exposing object to beam, e.g. for analysis treatment, etching, imaging
    • H01J2237/26Electron or ion microscopes
    • H01J2237/28Scanning microscopes
    • HELECTRICITY
    • H01ELECTRIC ELEMENTS
    • H01JELECTRIC DISCHARGE TUBES OR DISCHARGE LAMPS
    • H01J2237/00Discharge tubes exposing object to beam, e.g. for analysis treatment, etching, imaging
    • H01J2237/30Electron or ion beam tubes for processing objects
    • H01J2237/304Controlling tubes
    • H01J2237/30472Controlling the beam
    • H01J2237/30483Scanning
    • YGENERAL TAGGING OF NEW TECHNOLOGICAL DEVELOPMENTS; GENERAL TAGGING OF CROSS-SECTIONAL TECHNOLOGIES SPANNING OVER SEVERAL SECTIONS OF THE IPC; TECHNICAL SUBJECTS COVERED BY FORMER USPC CROSS-REFERENCE ART COLLECTIONS [XRACs] AND DIGESTS
    • Y10TECHNICAL SUBJECTS COVERED BY FORMER USPC
    • Y10STECHNICAL SUBJECTS COVERED BY FORMER USPC CROSS-REFERENCE ART COLLECTIONS [XRACs] AND DIGESTS
    • Y10S977/00Nanotechnology
    • Y10S977/84Manufacture, treatment, or detection of nanostructure
    • Y10S977/849Manufacture, treatment, or detection of nanostructure with scanning probe
    • Y10S977/85Scanning probe control process
    • Y10S977/851Particular movement or positioning of scanning tip

Landscapes

  • Physics & Mathematics (AREA)
  • Health & Medical Sciences (AREA)
  • General Health & Medical Sciences (AREA)
  • General Physics & Mathematics (AREA)
  • Nuclear Medicine, Radiotherapy & Molecular Imaging (AREA)
  • Radiology & Medical Imaging (AREA)
  • Electromagnetism (AREA)
  • Chemical & Material Sciences (AREA)
  • Analytical Chemistry (AREA)
  • Length Measuring Devices With Unspecified Measuring Means (AREA)
  • Feedback Control In General (AREA)
  • Microscoopes, Condenser (AREA)

Abstract

【課題】ラスタモードで走査する装置、とくにラスタ顕微鏡において、走査過程に及ぼす機械振動の騒乱効果を迅速かつ安い費用で補償する
【解決手段】装置は、機械振動を感知する、かつその出力を、z信号の発生装置の出力と一緒に、加算器に接続するフィルタを駆動するセンサを含み、加算器の出力は標本とセンサの間の距離を変える装置を駆動する。
【選択図】図1

Description

本発明は、ラスタモード(raster mode)で走査する装置に関わり、特に請求 項1の前段部に記載するように、走査過程に及ぼす機械振動の騒乱効果を保障する、ラスタ顕微鏡に関する。
標本をラスタ走査過程において走査する装置は近年、特に標本の高い分解能精査において、とりわけ変位装置の改良、例えば非常に正確なピエゾ並進装置と、センサおよび感知要素(実施形態としてはトンネル電流を受ける、あるいは力の作用を示す感知要素)の製造の高度な発展とによって非常に重要になって来ている。標本の形態・形状(topography)を容易に概観することができ、また例えば高分子の局部的に解像された結合状態を明らかにすることができる。この場合、ナノメートルとサブナノメートル範囲以下の分解能が得られる。このような理由により、かかる装置の実際の分解能は周囲からの外的効果に強く依存する。ここで大きな役割を演ずるのが、機械振動、例えば空気の振動、または、例えば建物の運動によってつくられる物体的振動である。このようにして発生する騒乱運動(あるいは撹乱的、妨害的運動)、例えば標本を支える顕微鏡台の運動のオーダは、容易に、数マイクロメートルとなり、これは10−3より小さい信号/ノイズ比(S/N比)に相当する。従って、装置の高い分解能は、騒乱効果がふさわしい装置によって減少するときにしか、使用できない。
現行の技術では、例えば、積極的または消極的な、振動減衰または振動絶縁装置が使用される。しかし、このような装置は非常に高価である。さらに、とくに、例えば建物の振動から生じるような非常に低い騒乱周波数では、これらの装置は限定的な保護しか与えない。さらに、このようなシステムは、その固有の振動特性のために非常に遅い。
従って、本発明の目的は、先行技術による装置の不利点を持たない装置を提供することである。
ラスタモードで走査を行う装置は、機械振動を感知し、かつその出力が調節信号発生装置の出力と一緒に加算器に接続されるフィルタを駆動するセンサを含む。加算器の出力によって標本とセンサの間の距離を変化させる装置を制御し、走査過程に及ぼす機械振動の騒乱効果を実質的に補償(補正)する。
本発明による装置の、とくに機械振動の騒乱効果を除去することに関しての金銭的コストは、先行技術による装置と比較して最小である。機械振動を感知するセンサのほかに使用されるのは電気的な構成要素だけであるから、外部騒乱への応答は非常に速く、さらに、他の機械装置の固有振動特性によって制限されない。
フィルタが調節自在であり、かつ加算器の出力をフィルタの制御入力に接続するとき、加算器の出力信号は、フィルタを調節(適合化)することによって、このフィードバックにより経時的にほぼ一定に保持され、かつこのようにして走査過程に及ぼす機械振動の効果は自動的に補償される。測定信号に及ぼす騒乱効果を、標本上の別の測定点が「到来」することによる測定値の現実の変化から区別するために、変位装置が活動せずかつ標本の対応する点への測定過程を終了したいくつかの時点で、フィルタの適合化即ち調整を行う。
フィルタの適合化を簡単にするために、フィルタをディジタル的に構成できる。機械振動を感知するためのセンサの配置は、それぞれの構成に対して最適化され、また例えば、センサをラスタモードで走査する装置が支えられる顕微鏡台上に取り付け、センサは標本に隣接して配置されて機械振動を感知する。しかし、場合によって、このセンサを、遠隔の場所、例えば、顕微鏡台を支える床上に配置することもできる。
機械振動を感知するためのセンサは、必要に応じて関連振動の変位および/または加速度を検出できる。加速度の感知は、騒乱への、システムのより迅速な反応を可能にする。
必要とされる補償の程度により、機械振動を感知するための振動センサは、変位の平面にほぼ垂直に延在される。しかし、3軸内の振動を感知する振動センサも使用される。これは、例えば、変位の平面内での標本とセンサの相互の相対的な位置変化をもたらす騒乱を感知可能にする。これは、とくに、例えば装置それ自身によって、例えば標本の上方でセンサを動かす変位装置によってつくられる騒乱振動に関係する。
三軸振動センサの三つの出力をそれぞれフィルタ入力に接続し、かつフィルタ出力を加算器に接続すると、測定信号の騒乱を考慮した、三つの全空間方向に対する補償をおこなうことができる。すべてのフィルタがそれぞれ調節自在であり、かつ加算器の出力をそれぞれフィルタの制御入力に接続するとき、個々のフィルタを適合させることにより、加算器の出力での信号は効果的に経時的にほぼ一定となり、かつ振動がもたらす騒乱はすべて実質的に補償される。
本発明による装置は、ラスタモードで走査するすべての装置に対して使用できる。これはとくに、力顕微鏡(force microscope) 、例えば「原子力」顕微鏡または「ファンデルワールス」顕微鏡および電子と光走査式トンネル顕微鏡に関係する。
さらに、本発明によりラスタモードで走査する現行装置を修正したり、本発明による装置を機械振動減衰かつ絶縁装置と組み合わせたりすることができる。
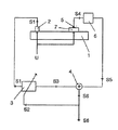
本発明による装置の略図である。
本発明を、添付の図面を参照して、以下で二三の実施例の記述によって説明する。
図1に示す本発明による装置は、走査過程へ及ぼす機械振動の騒乱効果を補償してラスタモードで走査し、かつ顕微鏡台1上に支えられる標本7へのセンサの距離に依存する測定信号S4を感知するためのセンサ5を含む。
測定信号S4は、標本上のそれぞれの測定領域またはそれぞれの測定点とセンサとの距離の変更のために調節信号S5を発生する電子回路6へ供給される。しかし、調節信号S5は、先行技術による装置のように標本とセンサの間の距離を変更する装置へ直接には供給されず、加算器4へ供給される。さらに、本発明による装置は、機械振動を感知するセンサ2を含み、該センサの出力信号S1はフィルタ3(その出力も加算器4に接続される)の入力を駆動する。このように、加算器4はフィルタからの信号S3と調節信号発生装置からの信号S5を加算し、信号S6を与える。フィルタの調整は、時間にほぼ無関係、従って騒乱にほぼ無関係な結果信号S6を与える。標本は、実施形態に応じて標本7および/またはセンサ5を、ラスタモードでの変位させる変位装置を駆動することによって変位し、それによって、形態・形状を追跡する。
本発明の一つの態様では顕微鏡台にほぼ平行である平面内で、標本とセンサの相対位置が変化した後、標本上の新たな点が感知され、そしてある実施例においては、上述の平面にほぼ垂直に標本とセンサの相対距離を互いに変化させることによって一定の測定信号S4の設定を再度行う。試料とセンサの距離の相対変化は、標本上での二つの隣接する測定点の高さの差に対する絶対測度である。
本発明の一つの態様で、フィルタ3は調節自在に構成され、加算器4の出力はフィルタの制御入力に接続される。このように、和信号S6は調節式フィルタ3のパラメータ設定についての誤差信号としても作用する。このフィードバックは純電気的に行われるから、フィルタは、機械的フィードバックシステムと比較してより迅速に、信号S6が機器の変位装置が活動しない時間にわたってほぼ一定となるように、調節される。フィルタ3は、発明の実施の態様に応じて、アナログまたはディジタル・フィルタとして構成される。
機械振動を感知するためのセンサ2は標本の近傍に配置する。正確な位置はあまり重要ではない。しかし、それぞれの場合、騒乱Uは標本とセンサ5の間の相対位置と、センサ2の信号との両方に影響しなければならない。振動センサ2は、具体的には、並進運動センサおよび加速度センサの両方としてつくってもよい。本発明の特殊な態様では、振動センサは三軸構造であって、変位の平面内そしてそれに垂直な方向においても振動を感知する。三つのセンサ出力はそれぞれフィルタの入力に接続され、フィルタの出力はすべて、加算器4に接続される。標本7とセンサ5の間の距離を設定する信号S6は、上述に達成されるように、各フィルタの設定によって経時的にほぼ一定にされる。三つの空間方向での機械振動がもたらす騒乱であって、かつそれぞれ標本とセンサ5の間の相対距離に及ぼす、従って測定信号S4に及ぼす影響を持つ騒乱は、三つのフィルタが調節自在でありかつ加算器の出力をそれぞれフィルタの制御入力に接続する本発明の特殊な態様で、効果的に自動補償される。三つのディジタルフィルタのパラメータの自動的調節によって、変位装置が活動していない各時点で、信号S6は実質的に時間と共に変動しないことが保証される。
本発明による装置は、本態様による力顕微鏡、例えば「原子力」顕微鏡または「ファンデルワールス」顕微鏡、さもなくばラスタトンネル顕微鏡、例えば電子走査トンネル顕微鏡または光学的ラスタトンネル顕微鏡である。「原子力」顕微鏡の場合、センサ5は、振動されるレバーアーム上に感知要素を含む。標本点と感知要素の距離は、走査時に水平方向内での標本とセンサとの相互の相対変位に起因して変動しうる。結果として、この距離変化は、振動レバーアームの同調逸脱(detuning) を伴い、これによって、再び、感知要素と標本表面上の測定点の間の垂直距離の変化によるフィードバックがつくられる。
例えば、標本の形態・形状を決定するために、感知要素によって検知され感知要素に対する標本上の個々の測定点の距離に依存する測定信号S4は、標本の走査中一定に保持される。これは、感知要素に対して新しい測定点の「到来」後、そのときどきの測定点と感知要素の間の距離を、測定信号が特定の前もって定められる値を有するように、変更することで達成される。前もって定められる測定信号S4は標本上の測定点からの、センサの所与の距離に相当するから、このようにして装置はつねに個々の測定点からの、センサの固定の距離に制御される。新しい測定点の「到来」後の今、センサと新しい測定点の間の距離がある経路長変化するとき、これは古い測定点に対して相対的に、新しい測定点がそれぞれ、Z方向内で正確にこの経路長分だけ、以前の測定点より高く、または低くにあることを意味する。センサ5と標本7の間の距離を変化させる調節信号の発生装置は、この目的に対して、機械振動によって時間とともに変化する成分を有するz信号S5を発生する。上述したように、この信号S5はフィルタ3からの信号S3と一緒に加算器4内に加えられ、このなかでセンサ5と標本7の間の距離を変化させる調節信号S6がつくられ、これは経時的にほぼ一定である。フィルタ3の理想的な調整によって、フィルタは入力信号S1から、信号S5の時間的変動部分に量的に等しいが逆符号を有する信号S3をつくるから、両成分は正確に相殺する。機械振動がもたらす、標本表面上の感知場所からの感知要素の距離内の騒乱は、この方法で、本発明によりほぼ補償される。
フィルタ3の調整は、本発明の実施例では各測定点で、または前もって定められる時間間隔で実施される。走査過程それ自身の間、すなわち、z方向にほぼ垂直な平面内でセンサ5に相対的な標本の変位の間は、フィルタ3の設定のために前もって確立されたパラメータが維持される。
1 顕微鏡台
2 振動感知センサ
3 フィルタ
4 加算器
5 センサ
6 電子回路
7 標本
S1 センサ2からの信号
S2 フィルタ3への信号
S3 フィルタからの信号
S4 測定信号
S5 調節信号
S6 結果信号
U 騒乱

Claims (1)

  1. 顕微鏡台(1)上の標本(7)について、ラスタモードによる走査を実行する走査顕微鏡であって、
    該標本(7)から所定の距離に配置される第1のセンサ(5)であって、該標本(7)から該第1のセンサ(5)への距離に依存する測定信号(S4)を感知する第1のセンサ(5)と、
    前記ラスタモードによる走査を実行する際に、該標本(7)を有する該顕微鏡台(1)と該第1のセンサ(5)とを互いに変位させて、該走査において、該標本(7)と該第1のセンサ(5)との間の前記距離を一定に保つ変位装置と、
    該変位装置には直接的には接続されない電子回路(6)であって、該電子回路(6)は該第1のセンサが感知した該測定信号(S4)を処理して、該標本(7)と該第1のセンサ(5)との間の前記距離に関する調整信号(S5)を発生させる電子回路(6)と、
    該走査の進行中に発生している該顕微鏡台(1)における機械的な振動であって、該顕微鏡台にほぼ平行な平面内での相対位置が変化する振動を感知して、振動指標信号(S1)を発生する第2のセンサ(2)と、
    該第2のセンサ(2)に接続され、該振動指標信号(S1)を処理してフィルター信号(S3)を得るフィルタ(3)と、
    該電子回路(6) と該フィルタ(3)とに接続され、該調節信号(S5)と該フィルター信号(S3)とを加算することによって、該標本(7)と該第1のセンサ(5)との間の前記距離を一定に保つ該変位装置を制御するための最終調整信号(S6)を獲得する加算器とを備え、
    該変位装置は、前記ラスタモードによる走査を実行する際に、該フィルタ信号(S3)の設定によって該最終調整信号(S6)が一定となるように調整して、前記該顕微鏡にほぼ平行な平面内で該標本(7)と該第1のセンサ(5)との間の前記距離を一定に保つ第1の機器を備えることを特徴とする走査顕微鏡。
JP2009256181A 1997-12-10 2009-11-09 走査過程に及ぼす機械振動の騒乱効果を補償するラスタモード走査装置 Expired - Fee Related JP4833329B2 (ja)

Applications Claiming Priority (2)

Application Number Priority Date Filing Date Title
DE19754681.1 1997-12-10
DE19754681A DE19754681A1 (de) 1997-12-10 1997-12-10 In einem Rastermodus abtastende Vorrichtung mit einer Kompensation des Störeinflusses vonmechanischen Schwingungen auf dem Abtastvorgang

Related Parent Applications (1)

Application Number Title Priority Date Filing Date
JP10349435A Division JPH11264834A (ja) 1997-12-10 1998-12-09 走査過程に及ぼす機械振動の騒乱効果を補償するラスタモード走査装置

Publications (2)

Publication Number Publication Date
JP2010032544A true JP2010032544A (ja) 2010-02-12
JP4833329B2 JP4833329B2 (ja) 2011-12-07

Family

ID=7851289

Family Applications (2)

Application Number Title Priority Date Filing Date
JP10349435A Pending JPH11264834A (ja) 1997-12-10 1998-12-09 走査過程に及ぼす機械振動の騒乱効果を補償するラスタモード走査装置
JP2009256181A Expired - Fee Related JP4833329B2 (ja) 1997-12-10 2009-11-09 走査過程に及ぼす機械振動の騒乱効果を補償するラスタモード走査装置

Family Applications Before (1)

Application Number Title Priority Date Filing Date
JP10349435A Pending JPH11264834A (ja) 1997-12-10 1998-12-09 走査過程に及ぼす機械振動の騒乱効果を補償するラスタモード走査装置

Country Status (6)

Country Link
US (1) US6308557B1 (ja)
EP (1) EP0922929B1 (ja)
JP (2) JPH11264834A (ja)
KR (1) KR100567860B1 (ja)
DE (2) DE19754681A1 (ja)
TW (1) TW457479B (ja)

Families Citing this family (10)

* Cited by examiner, † Cited by third party
Publication number Priority date Publication date Assignee Title
JPS58102538A (ja) * 1981-12-14 1983-06-18 Fujitsu Ltd 半導体装置の製造方法
DE10356561A1 (de) * 2003-12-04 2005-06-30 Carl Zeiss Smt Ag Vorrichtung zur Positionierung einer Stelleinrichtung
US7249002B1 (en) 2004-08-30 2007-07-24 Kla-Tencor Technologies Corporation Direct relative motion measurement for vibration induced noise and drift cancellation
DE102011055945A1 (de) * 2011-12-01 2013-06-06 Leica Microsystems Cms Gmbh Verfahren und Vorrichtung zum Untersuchen einer Probe
DE102014117474A1 (de) * 2014-11-27 2016-06-02 Märzhäuser Wetzlar GmbH & Co. KG Scanning-Tisch
WO2016143052A1 (ja) * 2015-03-10 2016-09-15 株式会社島津製作所 走査型プローブ顕微鏡
CN106653538A (zh) * 2016-11-28 2017-05-10 聚束科技(北京)有限公司 一种扫描带电粒子显微镜系统及振动补偿方法
DE102019116471B4 (de) * 2019-06-18 2021-06-10 Bruker Nano Gmbh Messvorrichtung für ein Rastersondenmikroskop und Verfahren zum rastersondenmikroskopischen Untersuchen einer Messprobe mit einem Rastersondenmikroskop
DE102019131421A1 (de) * 2019-11-21 2021-05-27 Bruker Nano Gmbh Messvorrichtung für ein Rastersondenmikroskop und Verfahren zum rastersondenmikroskopischen Untersuchen einer Messprobe mit einem Rastersondenmikroskop
DE102022202996A1 (de) 2022-03-28 2023-01-12 Carl Zeiss Smt Gmbh Messverfahren und Messvorrichtung zur Messung der Oberflächenrauheit

Citations (5)

* Cited by examiner, † Cited by third party
Publication number Priority date Publication date Assignee Title
JPH0312503A (ja) * 1989-06-09 1991-01-21 Hitachi Ltd 表面顕微鏡
JPH03231110A (ja) * 1990-02-07 1991-10-15 Hitachi Ltd 表面顕微鏡および表面顕微法
JPH0579811A (ja) * 1991-09-19 1993-03-30 Nikon Corp 走査型顕微鏡
JPH06752A (ja) * 1992-06-23 1994-01-11 Agency Of Ind Science & Technol 位置決め制御方法及び装置
JPH06273428A (ja) * 1993-03-24 1994-09-30 Ricoh Co Ltd 物理量測定センサ

Family Cites Families (7)

* Cited by examiner, † Cited by third party
Publication number Priority date Publication date Assignee Title
JP2896794B2 (ja) * 1988-09-30 1999-05-31 キヤノン株式会社 走査型トンネル電流検出装置,走査型トンネル顕微鏡,及び記録再生装置
US5049745A (en) * 1988-11-14 1991-09-17 Amray, Inc. Phase-compensating vibration cancellation system for scanning electron microscopes
US5206702A (en) * 1989-10-09 1993-04-27 Olympus Optical Co., Ltd. Technique for canceling the effect of external vibration on an atomic force microscope
JPH06162982A (ja) * 1992-11-26 1994-06-10 Hitachi Ltd 走査電子顕微鏡
JPH08321274A (ja) * 1995-05-25 1996-12-03 Hitachi Ltd 電子顕微鏡のアクティブ除振装置
US5652374A (en) * 1995-07-10 1997-07-29 Delco Electronics Corp. Method and apparatus for detecting failure in vibrating sensors
DE19718799A1 (de) * 1997-05-03 1998-11-05 Peter Heiland Abbildende und/oder in einem Rastermodus abtastende Vorrichtung mit einer Einrichtung zur Kompensation von Abbildungsverschlechterungen, die durch Umgebungseinflüsse verursacht werden

Patent Citations (5)

* Cited by examiner, † Cited by third party
Publication number Priority date Publication date Assignee Title
JPH0312503A (ja) * 1989-06-09 1991-01-21 Hitachi Ltd 表面顕微鏡
JPH03231110A (ja) * 1990-02-07 1991-10-15 Hitachi Ltd 表面顕微鏡および表面顕微法
JPH0579811A (ja) * 1991-09-19 1993-03-30 Nikon Corp 走査型顕微鏡
JPH06752A (ja) * 1992-06-23 1994-01-11 Agency Of Ind Science & Technol 位置決め制御方法及び装置
JPH06273428A (ja) * 1993-03-24 1994-09-30 Ricoh Co Ltd 物理量測定センサ

Also Published As

Publication number Publication date
JP4833329B2 (ja) 2011-12-07
KR100567860B1 (ko) 2006-06-13
DE59811323D1 (de) 2004-06-09
EP0922929A1 (de) 1999-06-16
EP0922929B1 (de) 2004-05-06
DE19754681A1 (de) 1999-06-17
TW457479B (en) 2001-10-01
KR19990062925A (ko) 1999-07-26
JPH11264834A (ja) 1999-09-28
US6308557B1 (en) 2001-10-30

Similar Documents

Publication Publication Date Title
JP4833329B2 (ja) 走査過程に及ぼす機械振動の騒乱効果を補償するラスタモード走査装置
KR100909700B1 (ko) 탐침위치 제어장치 및 방법
US7282655B2 (en) Electronic balance having a position control mechanism
US7041963B2 (en) Height calibration of scanning probe microscope actuators
US4948971A (en) Vibration cancellation system for scanning electron microscopes
JP5662464B2 (ja) 動的撓曲部配列を組み込んだ支持台を有する走査型プローブ顕微鏡
US5729015A (en) Position control system for scanning probe microscope
US6509969B1 (en) System for inspecting and/or processing a sample
US7249002B1 (en) Direct relative motion measurement for vibration induced noise and drift cancellation
US11664187B2 (en) Beam steering correction for attenuating the degradation of positional accuracy of charged particle and laser light beams caused by mechanical vibrations
TWI888739B (zh) 使用即時漂移修正的afm成像
US20110247107A1 (en) Method for processing output of scanning type probe microscope, and scanning type probe microscope
JP2005308406A (ja) 走査型プローブ顕微鏡
JPH08321274A (ja) 電子顕微鏡のアクティブ除振装置
KR102915601B1 (ko) 시료 지지대의 위치 설정 동안 간섭 변수 보상을 위한 방법 및 장치
KR100814141B1 (ko) 전자 빔 측정 툴을 위한 진동 절연 방법 및 진동 절연 장치
JP2005520281A (ja) 顕微鏡のひずみの影響を低減するためのデバイス
CN112824907A (zh) 扫描探针显微镜的测量装置和利用扫描探针显微镜对测量样品进行扫描探针显微测试的方法
JP3167495B2 (ja) スキャナーシステム、及びそれを具備した走査型プローブ顕微鏡
JP7763861B2 (ja) クリープ補正を備えるafmイメージング
RU2703607C1 (ru) Устройство компенсации собственных колебаний иглы зонда сканирующего микроскопа
WO2005098869A1 (en) Scanning probe microscope with integrated calibration
JPH08201402A (ja) 走査型プローブ顕微鏡の位置制御システム
JPH116965A (ja) 走査型プローブ顕微鏡、その制御方法及びその操作方法
JPH08262037A (ja) 走査型プローブ顕微鏡

Legal Events

Date Code Title Description
A621 Written request for application examination

Free format text: JAPANESE INTERMEDIATE CODE: A621

Effective date: 20091209

A131 Notification of reasons for refusal

Free format text: JAPANESE INTERMEDIATE CODE: A131

Effective date: 20100317

A601 Written request for extension of time

Free format text: JAPANESE INTERMEDIATE CODE: A601

Effective date: 20100617

A602 Written permission of extension of time

Free format text: JAPANESE INTERMEDIATE CODE: A602

Effective date: 20100622

A521 Request for written amendment filed

Free format text: JAPANESE INTERMEDIATE CODE: A523

Effective date: 20100917

A131 Notification of reasons for refusal

Free format text: JAPANESE INTERMEDIATE CODE: A131

Effective date: 20110124

A601 Written request for extension of time

Free format text: JAPANESE INTERMEDIATE CODE: A601

Effective date: 20110422

A602 Written permission of extension of time

Free format text: JAPANESE INTERMEDIATE CODE: A602

Effective date: 20110427

A521 Request for written amendment filed

Free format text: JAPANESE INTERMEDIATE CODE: A523

Effective date: 20110725

TRDD Decision of grant or rejection written
A01 Written decision to grant a patent or to grant a registration (utility model)

Free format text: JAPANESE INTERMEDIATE CODE: A01

Effective date: 20110829

A01 Written decision to grant a patent or to grant a registration (utility model)

Free format text: JAPANESE INTERMEDIATE CODE: A01

A61 First payment of annual fees (during grant procedure)

Free format text: JAPANESE INTERMEDIATE CODE: A61

Effective date: 20110921

R150 Certificate of patent or registration of utility model

Free format text: JAPANESE INTERMEDIATE CODE: R150

FPAY Renewal fee payment (event date is renewal date of database)

Free format text: PAYMENT UNTIL: 20140930

Year of fee payment: 3

R250 Receipt of annual fees

Free format text: JAPANESE INTERMEDIATE CODE: R250

R250 Receipt of annual fees

Free format text: JAPANESE INTERMEDIATE CODE: R250

R250 Receipt of annual fees

Free format text: JAPANESE INTERMEDIATE CODE: R250

LAPS Cancellation because of no payment of annual fees