JP2010031474A - 木造軸組耐力壁、木造軸組建築物及びその施工方法 - Google Patents
木造軸組耐力壁、木造軸組建築物及びその施工方法 Download PDFInfo
- Publication number
- JP2010031474A JP2010031474A JP2008192328A JP2008192328A JP2010031474A JP 2010031474 A JP2010031474 A JP 2010031474A JP 2008192328 A JP2008192328 A JP 2008192328A JP 2008192328 A JP2008192328 A JP 2008192328A JP 2010031474 A JP2010031474 A JP 2010031474A
- Authority
- JP
- Japan
- Prior art keywords
- side plate
- plate portion
- base
- column
- corner
- Prior art date
- Legal status (The legal status is an assumption and is not a legal conclusion. Google has not performed a legal analysis and makes no representation as to the accuracy of the status listed.)
- Granted
Links
- 238000010276 construction Methods 0.000 title abstract description 20
- 239000002184 metal Substances 0.000 claims description 76
- 229910052751 metal Inorganic materials 0.000 claims description 76
- 230000003014 reinforcing effect Effects 0.000 claims description 49
- 238000000034 method Methods 0.000 claims description 18
- 230000008569 process Effects 0.000 claims description 12
- 230000000149 penetrating effect Effects 0.000 claims description 5
- 238000005304 joining Methods 0.000 abstract description 8
- 238000009420 retrofitting Methods 0.000 abstract description 2
- 239000000463 material Substances 0.000 description 34
- 229910000831 Steel Inorganic materials 0.000 description 15
- 239000004744 fabric Substances 0.000 description 15
- 239000010959 steel Substances 0.000 description 15
- 230000002787 reinforcement Effects 0.000 description 14
- 238000007747 plating Methods 0.000 description 10
- 230000009467 reduction Effects 0.000 description 8
- 239000011120 plywood Substances 0.000 description 6
- 239000002023 wood Substances 0.000 description 6
- 238000005246 galvanizing Methods 0.000 description 5
- 230000002265 prevention Effects 0.000 description 4
- ZCDOYSPFYFSLEW-UHFFFAOYSA-N chromate(2-) Chemical compound [O-][Cr]([O-])(=O)=O ZCDOYSPFYFSLEW-UHFFFAOYSA-N 0.000 description 3
- 238000010586 diagram Methods 0.000 description 3
- 230000008439 repair process Effects 0.000 description 3
- 238000004381 surface treatment Methods 0.000 description 3
- RYGMFSIKBFXOCR-UHFFFAOYSA-N Copper Chemical compound [Cu] RYGMFSIKBFXOCR-UHFFFAOYSA-N 0.000 description 2
- 229910052802 copper Inorganic materials 0.000 description 2
- 239000010949 copper Substances 0.000 description 2
- 238000005520 cutting process Methods 0.000 description 2
- 210000003746 feather Anatomy 0.000 description 2
- 238000011900 installation process Methods 0.000 description 2
- 238000012986 modification Methods 0.000 description 2
- 230000004048 modification Effects 0.000 description 2
- 239000011150 reinforced concrete Substances 0.000 description 2
- 238000009423 ventilation Methods 0.000 description 2
- 241000218645 Cedrus Species 0.000 description 1
- 230000015572 biosynthetic process Effects 0.000 description 1
- 239000000470 constituent Substances 0.000 description 1
- 230000000694 effects Effects 0.000 description 1
- 230000006872 improvement Effects 0.000 description 1
- 239000011810 insulating material Substances 0.000 description 1
- 238000003754 machining Methods 0.000 description 1
- 238000002360 preparation method Methods 0.000 description 1
- 102200082816 rs34868397 Human genes 0.000 description 1
- 230000000087 stabilizing effect Effects 0.000 description 1
- 239000003351 stiffener Substances 0.000 description 1
- 239000010902 straw Substances 0.000 description 1
Images
Classifications
-
- E—FIXED CONSTRUCTIONS
- E04—BUILDING
- E04B—GENERAL BUILDING CONSTRUCTIONS; WALLS, e.g. PARTITIONS; ROOFS; FLOORS; CEILINGS; INSULATION OR OTHER PROTECTION OF BUILDINGS
- E04B1/00—Constructions in general; Structures which are not restricted either to walls, e.g. partitions, or floors or ceilings or roofs
- E04B1/18—Structures comprising elongated load-supporting parts, e.g. columns, girders, skeletons
- E04B1/26—Structures comprising elongated load-supporting parts, e.g. columns, girders, skeletons the supporting parts consisting of wood
- E04B2001/2696—Shear bracing
Landscapes
- Joining Of Building Structures In Genera (AREA)
Abstract
【解決手段】土台(506)及び梁(514)と、土台と梁との間に立設した柱(508、510)と、土台又は梁と柱とが成す角隅部に設置される隅金物(520、522、524、526)と、この隅金物に固定される筋交い(530、532)とを備える木造軸組耐力壁及びその工法であって、隅金物に土台又は梁又は柱を挟んで固定される座金付きボルト(528)を備え、座金付きボルトが隅金物の側板部に対向する座金部(554)を備え、これにボルト(556)を一体に固定しており、隅金物に、少なくとも柱の側面部側に設置される側板部を備えており、斯かる構成を備えたことにより、柱と土台又は梁との接合強度を高め、以て木造軸組耐力壁の耐震性を向上させるとともに、施工性や耐震改修工事の容易性を実現している。
【選択図】図1
Description
。
この工程では、フラット面を成す枠体518(図1)の土台506、柱508、510及び梁514には、断熱材等を配置した後、図示しない構造用合板等を設置する。
ターンバックルボルト用丸棒鋼:SNR400B(JISG3138)
ターンバックルボルト用平鋼:SN400B(JISG3136)
ターンバックル銅:SNR400A(JISG3138)
〔めっき〕
溶融亜鉛めっき(JISH8641)
〔種類〕
HDZ55
SS400(JIS G 3101)
〔めっき〕
電気亜鉛めっき2級(JIS H8610)
2種2級 Ep−Fe/Zn5
クロメート皮膜CM2C(JIS H8625)
高力ボルトF8T:M16×45
M16ボルト 強度区分F8T SBR22(国住指 第302号 MBLT−9026)
〔めっき〕
溶融亜鉛めっき 2種 HDZ55(JIS H8641)
〔寸法許容差〕 ねじ部長さ +5 0
頭の高さ ±0.8
二面幅 0 −0.8
頭部偏心最大 0.8
底面及び側面の傾き最大 座面1° 側面2°
寸法は、表面処理前のものとする。ボルトの仕上程度は並ねじの等級F8T−8とする。
M16ナット 強度区分F10 SS490(国住指 第302号 MBLT−9026)
〔めっき〕
溶融亜鉛めっき 2種 HDZ55(JIS H8641)
〔寸法許容差〕 ナットの高さ ±0.35
二面幅 0 −0.8
ねじ穴の偏心最大 0.8
底面及び側面の傾き最大 座面1° 側面2°
寸法は、表面処理前のものとする。ナットの仕上程度は並ねじの等級F8T−8とする。
M16座金 強度区分F35 S45C(国住指 第302号 MBLT−9026)
〔めっき〕
溶融亜鉛めっき 2種 HDZ55(JIS H8641)
〔寸法許容差〕 外径 0 −1
板厚 ±0.5
穴径 + 0.7 0
板厚は原板の厚さとする。
ボルト JISB1180 呼び径六角ボルト M16×155−4.6
JISB1180 呼び径六角ボルト M16×176−4.6
JISB1180 呼び径六角ボルト M16×215−4.6
めっき 電気亜鉛めっき2級 (JIS8610)
2種2級Ep−Fe/Zn5
クロメート皮膜CM2C(JISH8625)
(7) ナット(図16のC、D)
〔材料〕
銅板 SPHC(JISG3131)
〔めっき〕 電気 Ep−Fe/Zn5(JISH8610)
〔寸法許容差〕長さ、幅 0 −0.3
板厚 ±0.45
穴径 +0.5 −0.2
板厚は原板の厚さとする。
めっき:溶融亜鉛めっき(JISH8641)
種類 HDZ35
当該筋かいは、軸組の柱、横架材の側面に取り付け、概ね軸組内に収まり、一般的な外壁側の施工では防水紙及びその他の仕上げ材で被覆され、直接的に風雨等にさらされるような状況にはない。しかし、土台においては、座金(厚9×幅80×長250〔mm〕は基礎面に隣接して設置されるため、これらの状況を考慮して、用途に対する低減係数α1=0.95とする。
短期許容せん断耐力Pa=P0×α=10.87×0.90=9.78kN
倍率=Pa/(壁長×1.96)
=9.78/(0.91×1.96)=5.4
504 布基礎
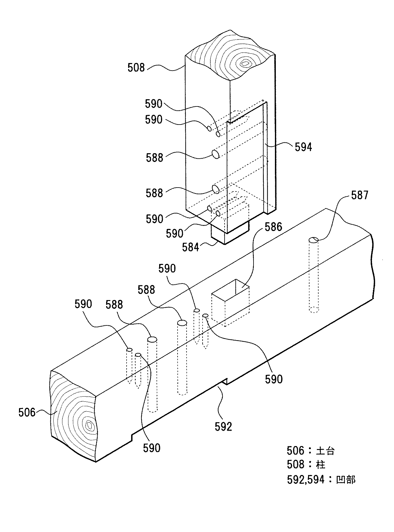
506 土台
508、510 柱
512 間柱
514 梁
516 アンカーボルト
518 枠体
520、522 第1の隅金物
524、526 第2の隅金物
528 座金付きボルト
530、532 筋交い
534 凹部
536、538 ターンバックル丸鋼
540 ターンバックル胴
542 羽子板部
546 第1の側板部として水平側板部
548 第2の側板部として垂直側板部
550 第3の側板部として補強片
552 三角補強部
554 座金部
556 ボルト
558 ねじ部
560 ワッシャ
562 ナット
564 貫通孔
566 六角コーチボルト
568 貫通孔
570 ねじ部
572 六角頭部
574、576 貫通孔
578 ボルト
580 ワッシャ
582 ナット
584、596 ほぞ
586、598 ほぞ穴
587、588 貫通孔
590 固定孔
592、594 凹部
600 凹部
602 座金
604 ボルト
606、608 補強片
Claims (6)
- 土台及び梁と、前記土台と前記梁との間に立設した柱と、前記土台又は前記梁と前記柱とが成す角隅部に設置される隅金物と、この隅金物に固定される筋交いとを備える木造軸組耐力壁であって、
前記隅金物に前記土台又は前記梁又は前記柱を挟んで固定される座金付きボルトを備え、
前記隅金物は、前記土台又は前記梁に当てられる第1の側板部、この第1の側板部と一体に形成されて前記柱の一面部に当てられる第2の側板部、この第2の側板部と一体に形成されて前記柱の他の面部に当てられる第3の側板部、前記第1の側板部と前記第2の側板部とに固定され、前記筋交いが固定される補強部を備え、
前記座金付きボルトは、前記土台又は前記梁を挟んで前記第1の側板部と対向し、又は前記柱を挟んで前記第2の側板部と対向する座金部と、この座金部に固定されて前記土台又は前記梁及び前記第1の側板部、又は前記柱及び前記第2の側板部を貫通させるボルトとを備えることを特徴とする木造軸組耐力壁。
- 土台及び梁と、前記土台と前記梁との間に立設した柱と、前記土台又は前記梁と前記柱とが成す角隅部に設置される隅金物と、この隅金物に固定される筋交いとを備える木造軸組耐力壁であって、
前記土台と前記柱とが成す角隅部に設置された第1の隅金物と、
前記第1の隅金物と対角線上であって、前記梁と前記柱とが成す角隅部に設置された第2の隅金物と、
前記第1の隅金物又は前記第2の隅金物と、前記土台又は前記梁又は前記柱を挟んで固定される座金付きボルトとを備え、
前記第1の隅金物は、前記土台に当てられる第1の側板部、この第1の側板部と一体に形成されて前記柱の一面部に当てられる第2の側板部、この第2の側板部と一体に形成されて前記柱の他の面部に当てられる第3の側板部、前記第1の側板部と前記第2の側板部とに固定され、前記筋交いが固定される補強部を備え、
前記第2の隅金物は、前記梁に当てられる第1の側板部、この第1の側板部と一体に形成されて前記柱の一面部に当てられる第2の側板部、この第2の側板部と一体に形成されて前記柱の他の面部に当てられる第3の側板部、前記第1の側板部と前記第2の側板部とに固定され、前記筋交いが固定される補強部を備え、
前記座金付きボルトは、前記土台又は前記梁を挟んで前記第1の側板部と対向し、又は前記柱を挟んで前記第2の側板部と対向する座金部と、この座金部に固定されて前記土台又は前記梁及び前記第1の側板部、又は前記柱及び前記第2の側板部を貫通させるボルトとを備えることを特徴とする木造軸組耐力壁。
- 請求項1又は2記載の木造軸組耐力壁において、
前記土台又は前記梁に当てられる前記第1の側板部が前記土台又は前記梁にコーチボルトで固定され、又は前記柱側に当てられる前記第2の側板部が前記柱にコーチボルトで固定されたことを特徴とする木造軸組耐力壁。
- 請求項1、2又は3記載の木造軸組耐力壁において、
前記第1の側板部と一体に形成されて前記土台又は前記梁の他の面部に当てられる第4の側板部を備え、又は、この第4の側板部及び前記第3の側板部が一体の側板で形成されたことを特徴とする木造軸組耐力壁。
- 請求項1、2、3又は4記載の木造軸組耐力壁を備えることを特徴とする木造軸組建築物。
- 土台及び梁と、前記土台と前記梁との間に立設した柱とを設置する工程と、
前記土台又は前記梁に当てられる第1の側板部、この第1の側板部と一体に形成されて前記柱の一面部に当てられる第2の側板部、この第2の側板部と一体に形成されて前記柱の他の面部に当てられる第3の側板部、前記第1の側板部と前記第2の側板部とに固定された補強部を備える隅金物を前記土台又は前記梁と前記柱とが成す角隅部に設置する工程と、
前記土台又は前記梁を挟んで前記第1の側板部と対向し、又は前記柱を挟んで前記第2の側板部と対向する座金部と、この座金部に固定されて前記土台又は前記梁及び前記第1の側板部、又は前記柱及び前記第2の側板部を貫通させるボルトとを備える座金付きボルトを前記土台又は前記梁又は前記柱を挟んで前記隅金物に固定する工程と、
対角線上に配置された前記隅金物の前記補強部に前記筋交いを固定する工程と、
を含むことを特徴とする、木造軸組建築物の施工方法。
Priority Applications (1)
| Application Number | Priority Date | Filing Date | Title |
|---|---|---|---|
| JP2008192328A JP4727699B2 (ja) | 2008-07-25 | 2008-07-25 | 木造軸組耐力壁、木造軸組建築物及びその施工方法 |
Applications Claiming Priority (1)
| Application Number | Priority Date | Filing Date | Title |
|---|---|---|---|
| JP2008192328A JP4727699B2 (ja) | 2008-07-25 | 2008-07-25 | 木造軸組耐力壁、木造軸組建築物及びその施工方法 |
Publications (2)
| Publication Number | Publication Date |
|---|---|
| JP2010031474A true JP2010031474A (ja) | 2010-02-12 |
| JP4727699B2 JP4727699B2 (ja) | 2011-07-20 |
Family
ID=41736266
Family Applications (1)
| Application Number | Title | Priority Date | Filing Date |
|---|---|---|---|
| JP2008192328A Expired - Fee Related JP4727699B2 (ja) | 2008-07-25 | 2008-07-25 | 木造軸組耐力壁、木造軸組建築物及びその施工方法 |
Country Status (1)
| Country | Link |
|---|---|
| JP (1) | JP4727699B2 (ja) |
Cited By (5)
| Publication number | Priority date | Publication date | Assignee | Title |
|---|---|---|---|---|
| JP2012127136A (ja) * | 2010-12-16 | 2012-07-05 | Okabe Co Ltd | 木造建物用ブレース取付金物 |
| JP2013188171A (ja) * | 2012-03-14 | 2013-09-26 | West Nippon Expressway Engineering Shikoku Co Ltd | 防草シートの留め具 |
| JP2017172139A (ja) * | 2016-03-22 | 2017-09-28 | 旭化成ホームズ株式会社 | 耐震構造及び耐震補強方法 |
| JP2020105880A (ja) * | 2018-12-28 | 2020-07-09 | 株式会社森林経済工学研究所 | 構造体の補強装置及び構造体の補強方法 |
| JP2023073553A (ja) * | 2021-11-16 | 2023-05-26 | 大成建設株式会社 | 制振構造 |
Citations (2)
| Publication number | Priority date | Publication date | Assignee | Title |
|---|---|---|---|---|
| JPH09256466A (ja) * | 1996-01-17 | 1997-09-30 | Sakaki Kogyo:Kk | 伸縮許容型筋違 |
| JP2001295375A (ja) * | 2000-04-17 | 2001-10-26 | Yutaka Tanaka | 柱と横架材との接合構造、接合金物、座付きボルト |
-
2008
- 2008-07-25 JP JP2008192328A patent/JP4727699B2/ja not_active Expired - Fee Related
Patent Citations (2)
| Publication number | Priority date | Publication date | Assignee | Title |
|---|---|---|---|---|
| JPH09256466A (ja) * | 1996-01-17 | 1997-09-30 | Sakaki Kogyo:Kk | 伸縮許容型筋違 |
| JP2001295375A (ja) * | 2000-04-17 | 2001-10-26 | Yutaka Tanaka | 柱と横架材との接合構造、接合金物、座付きボルト |
Cited By (7)
| Publication number | Priority date | Publication date | Assignee | Title |
|---|---|---|---|---|
| JP2012127136A (ja) * | 2010-12-16 | 2012-07-05 | Okabe Co Ltd | 木造建物用ブレース取付金物 |
| JP2013188171A (ja) * | 2012-03-14 | 2013-09-26 | West Nippon Expressway Engineering Shikoku Co Ltd | 防草シートの留め具 |
| JP2017172139A (ja) * | 2016-03-22 | 2017-09-28 | 旭化成ホームズ株式会社 | 耐震構造及び耐震補強方法 |
| JP2020105880A (ja) * | 2018-12-28 | 2020-07-09 | 株式会社森林経済工学研究所 | 構造体の補強装置及び構造体の補強方法 |
| JP7217454B2 (ja) | 2018-12-28 | 2023-02-03 | 株式会社森林経済工学研究所 | 構造体の補強装置及び構造体の補強方法 |
| JP2023073553A (ja) * | 2021-11-16 | 2023-05-26 | 大成建設株式会社 | 制振構造 |
| JP7671683B2 (ja) | 2021-11-16 | 2025-05-02 | 大成建設株式会社 | 制振構造 |
Also Published As
| Publication number | Publication date |
|---|---|
| JP4727699B2 (ja) | 2011-07-20 |
Similar Documents
| Publication | Publication Date | Title |
|---|---|---|
| US6298612B1 (en) | Wall strengthening component | |
| JP2010519433A (ja) | 断熱・防音されているモジュール式の建築物フレーム | |
| JP4727699B2 (ja) | 木造軸組耐力壁、木造軸組建築物及びその施工方法 | |
| JP3041271B2 (ja) | 木造接合工法 | |
| JP2025148572A (ja) | 木構造建築物の石膏系耐力面材、耐力壁構造及び耐力壁施工方法 | |
| JP7171915B2 (ja) | 組立式構造システム及びその応用 | |
| JP2009250004A (ja) | 天井板取付用横材の支持金具および天井板の取付構造 | |
| JP4270380B2 (ja) | 木造軸組住宅の耐震補強構造及び方法 | |
| JP2008308820A (ja) | 在来軸組木造建築物の耐力壁構造 | |
| RU2233367C1 (ru) | Домокомплект сборного каркасно-панельного здания | |
| JP3122159U (ja) | 建築物の耐震補強構造 | |
| JP2016204864A (ja) | ハイブリッドフレームと合板又はclt板等の組合せ構造 | |
| JP5690771B2 (ja) | 胴縁ブレース耐震壁 | |
| JP2005133323A (ja) | 建築工法およびそれに利用する門型ラーメン構造体 | |
| JP2948716B2 (ja) | 木造軸組パネル構造 | |
| JP3126638U (ja) | 木造住宅用連結金具 | |
| JP2001090191A (ja) | 耐震補強構造 | |
| JP4279846B2 (ja) | 木造軸組建築物の補強構造 | |
| JPH10338968A (ja) | 木質軸組み部材用接合金具 | |
| JP7143205B2 (ja) | 耐震補強壁構造 | |
| JP2004270446A (ja) | 構造材の結合構造 | |
| Roshan et al. | Research on Cold Formed Steel Stud Walls | |
| JPH10238136A (ja) | 木造住宅等の耐震補強法 | |
| JP2025165372A (ja) | S3rc鋼板鉄骨造の建築構造 | |
| JP5681442B2 (ja) | 胴縁ブレース耐震壁 |
Legal Events
| Date | Code | Title | Description |
|---|---|---|---|
| A977 | Report on retrieval |
Free format text: JAPANESE INTERMEDIATE CODE: A971007 Effective date: 20101104 |
|
| A131 | Notification of reasons for refusal |
Free format text: JAPANESE INTERMEDIATE CODE: A131 Effective date: 20101116 |
|
| A521 | Written amendment |
Free format text: JAPANESE INTERMEDIATE CODE: A523 Effective date: 20110117 |
|
| A521 | Written amendment |
Free format text: JAPANESE INTERMEDIATE CODE: A821 Effective date: 20110118 |
|
| A01 | Written decision to grant a patent or to grant a registration (utility model) |
Free format text: JAPANESE INTERMEDIATE CODE: A01 Effective date: 20110329 |
|
| A61 | First payment of annual fees (during grant procedure) |
Free format text: JAPANESE INTERMEDIATE CODE: A61 Effective date: 20110413 |
|
| R150 | Certificate of patent (=grant) or registration of utility model |
Free format text: JAPANESE INTERMEDIATE CODE: R150 |
|
| FPAY | Renewal fee payment (prs date is renewal date of database) |
Free format text: PAYMENT UNTIL: 20140422 Year of fee payment: 3 |
|
| LAPS | Cancellation because of no payment of annual fees |
