JP2010030643A - 容器蓋の製造方法 - Google Patents

容器蓋の製造方法 Download PDF

Info

Publication number
JP2010030643A
JP2010030643A JP2008196037A JP2008196037A JP2010030643A JP 2010030643 A JP2010030643 A JP 2010030643A JP 2008196037 A JP2008196037 A JP 2008196037A JP 2008196037 A JP2008196037 A JP 2008196037A JP 2010030643 A JP2010030643 A JP 2010030643A
Authority
JP
Japan
Prior art keywords
thermoplastic resin
container lid
packing
heating step
fitting groove
Prior art date
Legal status (The legal status is an assumption and is not a legal conclusion. Google has not performed a legal analysis and makes no representation as to the accuracy of the status listed.)
Granted
Application number
JP2008196037A
Other languages
English (en)
Other versions
JP4896095B2 (ja
Inventor
Yukio Tsuchiya
行雄 土屋
Current Assignee (The listed assignees may be inaccurate. Google has not performed a legal analysis and makes no representation or warranty as to the accuracy of the list.)
Individual
Original Assignee
Individual
Priority date (The priority date is an assumption and is not a legal conclusion. Google has not performed a legal analysis and makes no representation as to the accuracy of the date listed.)
Filing date
Publication date
Application filed by Individual filed Critical Individual
Priority to JP2008196037A priority Critical patent/JP4896095B2/ja
Publication of JP2010030643A publication Critical patent/JP2010030643A/ja
Application granted granted Critical
Publication of JP4896095B2 publication Critical patent/JP4896095B2/ja
Expired - Fee Related legal-status Critical Current
Anticipated expiration legal-status Critical

Links

Images

Landscapes

  • Rigid Containers With Two Or More Constituent Elements (AREA)
  • Closures For Containers (AREA)
  • Casting Or Compression Moulding Of Plastics Or The Like (AREA)

Abstract

【課題】パッキンの復元力を長時間に亘り発揮させるとともに、閉蓋すべき収納缶との密着性を向上させ、しかも任意の断面形状に容易に成形可能な容器蓋の製造方法を提供する。
【解決手段】ペール缶又はドラム缶用の容器蓋の製造方法において、周縁に形成された嵌合溝11に熱可塑性樹脂が充填された容器蓋について、嵌合溝11の底面から熱可塑性樹脂の融点以上で加熱する底面加熱工程と、熱可塑性樹脂を金型19により上から押圧するとともに、当該金型19を介して熱可塑性樹脂の融点以上で加熱する上面加熱工程とを有し、底面加熱工程と上面加熱工程とは、何れか一方から順次実行するか、又は同時に実行する。
【選択図】図5

Description

本発明は、ペール缶又はドラム缶用の容器蓋であって、特に周縁に形成された嵌合溝に熱可塑性樹脂からなるパッキンが充填された容器蓋の製造方法、容器蓋に関する。
ペール缶やドラム缶等の収納缶が従来から広く用いられている。この収納缶は、薬品や塗料、オイル等をはじめとした各種液体の保管や運搬等の用途に利用される。また、この収納缶は、通常断面円形状に構成されてなるとともに上部に開口部を有し、当該開口部を円形の容器蓋によって密閉可能とされている。
ちなみに、この容器蓋には、収納缶本体を嵌め込むための嵌合溝が円環状に形成されてなり、この嵌合溝には、容器内部の気密性や液密性を維持するために樹脂製及びゴム製のパッキンが設けられている場合が多い。このような容器蓋のパッキンは、通常、予め線状に成形した成形体の両端を接続することにより環状にされた上で、容器蓋に設けられた嵌合溝に手作業により嵌め込まれていた。このため、容器蓋を大量に生産する過程において、特にパッキンの嵌め込みに関する労力負担が増大し、製造期間の短縮化への障壁となっていた。このため、パッキン付きの容器蓋の製造コストの抑制が困難になるという問題点があった。
従来においては、容器蓋に設けられた嵌合溝にパッキンを容易に形成でき、しかも製造設備の省スペース化や省エネルギー化も実現可能なパッキン付き容器蓋の製造方法が提案されている(例えば、特許文献1参照。)。
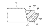
この特許文献1に開示されている容器蓋では、発泡剤を添加した熱可塑性樹脂を押出機の内部で加熱溶融し、加熱溶融された熱可塑性樹脂をノズルから吐出した直後に発泡させ、図11に示すようにパッキン120を構成する発泡体を嵌合溝111に充填するものである。
特開2008−100452号公報
しかしながら、この特許文献1に開示されている容器蓋101では、パッキン120を構成する発泡体を構成するミクロな空隙122が多数に亘って表面120aに露出する構成となっている。このため、このようなミクロな空隙122に液体が入り込んでしまう虞もあることから、特に液体を封入するこの収納缶において液漏れの原因を引き起こす可能性があった。
またパッキン120の表面120aにおいてミクロな空隙122が多数に亘って露出する構成では、この表面120aに露出した空隙122が内部の空隙124と微視的には連結しているため、その空隙122を介して内部の空気が排出してしまう。特にこのパッキン120は、弾性変形可能でしかも押圧に対する復元性を発揮することで、その所期の機能を実現できるが、かかる復元性は、発泡体を構成する各空隙124に含まれる空気の弾性収縮に基づくものである。このためパッキン120の内部に空気を閉じ込めて外部に排出しない構成とすることで、その復元性を長期間に亘り発揮させる必要性もあった。特にこの容器蓋101により密閉した収納缶を複数段に亘って重ね、長期間に亘り保存する場合に、このパッキン120に対しても長期間に亘り押圧力が負荷されることから、内部の空気が表面に露出した空隙122を介して排出してしまい、復元力が喪失してしまうのを防止する必要性もあった。
更に、この特許文献1の開示技術は、表面120aに空隙122が露出した構成とされているため、表面120aに凹凸が多数に亘り形成された形状となり、平滑度が低い。このため、このようなパッキン120を介して収納缶の開口を密閉しようとしても、かかる低い平滑度により、パッキン120と収納缶との間に隙間が生じ、互いの密着性を向上させることによる完全な密閉性を確保することが困難になるという問題点があった。
また、このパッキン120の断面形状は、図11に示すような略円形のみならず、断面半円形や断面三日月形等、様々な形状で成形したい場合もあるが、かかる断面形状の成形容易性を向上させる必要性もあった。
そこで、本発明は、上述した問題点に鑑みて案出されたものであり、パッキンの復元力を長時間に亘り発揮させるとともに、閉蓋すべき収納缶との密着性を向上させ、しかも任意の断面形状に容易に成形可能な容器蓋の製造方法及び容器蓋を提供することを目的とする。
本発明を適用した容器蓋の製造方法は、ペール缶又はドラム缶用の容器蓋の製造方法において、周縁に形成された嵌合溝に熱可塑性樹脂が充填された容器蓋について、上記嵌合溝の底面から上記熱可塑性樹脂の融点以上で加熱する底面加熱工程と、上記熱可塑性樹脂を金型により上から押圧するとともに、当該金型を介して上記熱可塑性樹脂の融点以上で加熱する上面加熱工程とを有し、上記底面加熱工程と上記上面加熱工程とは、何れか一方から順次実行するか、又は同時に実行することを特徴とする。
また、本発明を適用した容器蓋は、ペール缶又はドラム缶用の容器蓋において、周縁に形成された嵌合溝に熱可塑性樹脂からなるパッキンが充填され、当該パッキンは、少なくとも断面内部に形成された発泡層と、上記発泡層の外周に形成されてなり、表面を平滑化させた平滑層とを有することを特徴とする。
上述した構成からなる本発明では、パッキンを構成する発泡層の周囲を覆うように平滑層を形成することが可能となる。その結果、発泡層を構成するミクロな空隙に液体が入り込むのを防止することが可能となる。特にこのペール缶は、液体を封入するケースが多いことから、このパッキンを介した液漏れをより強固に防止することが可能となる。
また、本発明を適用した容器蓋の製造方法では、発泡層に含まれる空気が外部に排出してしまうのを防止することが可能となる。このため、発泡層の各空隙に含まれる空気を閉じ込めて外部に排出しない構成とすることで、その空気の弾性収縮に基づく復元性を長期間に亘り発揮させることが可能となる。仮に特にこの容器蓋により密閉したペール缶を複数段に亘って重ね、長期間に亘り内容物を保存する場合には、このパッキンに対しても長期間に亘り押圧力が負荷されることになるが、かかる場合においても、平滑層には空隙が形成されていないことから、内部の空気がパッキン表面から排出することがなくなり、ひいては復元力が喪失してしまうのを防止することが可能となる。
また、本発明では、パッキンの表面を平滑層により覆うことが可能となるため、表面凹凸を無くすことにより、平滑度を高く構成することが可能となる。このため、容器蓋によりペール缶を閉蓋しようとするときに、ペール缶における最上部に位置する固定縁部と、パッキンとの間で隙間が生じることなく、互いの密着性を向上させることが可能となる。その結果、このペール缶の閉蓋時におけるより完全な密閉性を確保することが可能となる。
更に本発明では、金型により押圧すると同時に熱可塑性樹脂の融点以上の温度まで加熱を行うため、パッキンの平滑層の表面形状を、金型における押圧面の形状に応じて成形することが可能となる。このため、パッキンの平滑層を所望の形状にしたい場合に、予めその所望の形状に応じて金型における押圧面を作製しておくことにより、これを実現することが可能となる。
このため、パッキンの断面形状は、互いに曲率半径の異なる曲線により囲まれた、いわゆる三日月形状とする以外に、例えば断面略円形状、断面半円状等で構成したい場合においても、金型における押圧面の形状をこれに応じて予め作製しておくことにより、これを実現することが可能となる。
以下、本発明を実施するための最良の形態として、ペール缶又はドラム缶用の容器蓋及びその製造方法について、図面を参照しながら詳細に説明する。
図1に本発明を適用した容器蓋1並びにこの容器蓋1により閉蓋されるペール缶2を示す。ペール缶2は、断面円形状に構成されてなるとともに上部に開口部を有し、当該開口部を円形の容器蓋1によって密閉可能とされている。ペール缶2は、薬品や塗料、オイル等をはじめとした各種液体の保管や運搬等の用途に利用され、最上部に位置する開口部外側に形成された固定縁部21と、固定縁部21の下段において外側に突出形成された湾曲形状のビード22とを備え、缶底部には地板23が巻き締められて構成されている。
固定縁部21は、図2に示すように外側に巻き込み突出形成されてなり、湾曲形状を有する。ビード22も同様に湾曲形状を有する。このペール缶2は、表面において防食用の塗装が被覆されており、例えばエポキシ内面コート等が施されている。
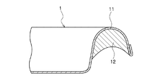
また容器蓋1は、図3に示すように、ペール缶2本体に嵌め込むための嵌合溝11が円環状に形成されてなり、この嵌合溝11には、容器内部の気密性や液密性を維持するために樹脂製のパッキン12が設けられている。
図4は、かかる嵌合溝11、パッキン12の拡大断面図を示している。嵌合溝11は、容器蓋1を構成する鉄板を湾曲形状に折り曲げることにより構成されてなる。またパッキン12は、嵌合溝11に対して密着して充填されてなる。パッキン12の断面形状は、互いに曲率半径の異なる曲線により囲まれた、いわゆる三日月形状で構成されている場合を例にとり説明をするが、これに限定されるものではなく、例えば断面略円形状、断面半円状等、いかなる形状で構成されていてもよい。パッキン12の材料は、熱可塑性樹脂からなる。このパッキン12に使用される熱可塑性樹脂としては、いかなる種類のもので構成されていてもよいが、例えば、ポリオレフィン、ポリ塩化ビニル、ポリ酢酸ビニル、ポリエステル、ポリアミド等であってもよい。また、このパッキン12の材料は、熱可塑性エラストマーも使用することができ、ポリウレタン系、ポリオレフィン系、ポリスチレン系、ポリエステル系、ポリアミド系などの各種の熱可塑性エラストマーを用いることも可能である。このパッキン12の材料としては、特にポリオレフィンを適用することが望ましい。ポリオレフィンは、一般に柔軟性、耐薬品性及び成形性に優れ、低コストであり、廃棄に際して焼却する場合にも有害ガスを発生しないためである。
なお、このパッキン12を構成する熱可塑性樹脂には、更に発泡剤が添加されていてもよい。この発泡剤としては、粉末状とされている、例えばアゾジカルボン酸アミドのような有機系化学発泡剤や、重炭酸塩のような無機系化学発泡剤を用いてもよい。
次に、上述した構成からなる容器蓋1の製造方法について説明をする。
先ず、図5(a)に示すように、容器蓋1の周縁に形成された嵌合溝11にパッキン12を充填する。ちなみにこの充填時には、嵌合溝11における湾曲形状に折り曲げられた底面11aが下側となるように載置した上で、溶融した熱可塑性樹脂をこの嵌合溝11に流し込み、これを冷却固化させることにより充填するようにしてもよい。また、この充填時には、予め線状に成形した熱可塑性樹脂をこの嵌合溝11に嵌め込むことにより充填するようにしてもよい。
次に、この嵌合溝11における底面11aからパッキン12を構成する熱可塑性樹脂の融点以上の温度まで加熱を行う。その結果、パッキン12における嵌合溝11の底面11aに対する接触部分については、熱可塑性樹脂の融点以上まで加熱されることにより一度溶融し、その後冷却固化することになる。パッキン12を構成する熱可塑性樹脂としてポリオレフィンを使用する場合には、100℃以上まで加熱することになる。そして、このプロセスを通じてパッキン12における底面11aに対する接触部分において、図5(b)に示すように平滑層15aが形成されることになる。
次に図5(c)に示すように、パッキン12を金型19により押圧面19aを介して上から押圧する。また、これとともに、金型19を介してパッキン12を加熱する。このときの加熱温度も同様に、パッキン12を構成する熱可塑性樹脂の融点以上まで加熱を行う。その結果、パッキン12における金型19に対する接触部分については、熱可塑性樹脂の融点以上まで加熱されることにより一度溶融し、その後冷却固化することになる。その後、この押圧していた金型19を離間させて、プロセスが終了することになる。このプロセスを通じてパッキン12における金型19に対する接触部分において、図5(d)に示すように平滑層15bが形成されることになる。
その結果、このパッキン12は、断面内部に形成された発泡層16と、この発泡層16の外周に形成された平滑層15a、15bの2層により構成されることになる。ちなみに、この発泡層16は、多数の小さな泡により形成されてなり、空気を含む空隙で構成されている。また、平滑層15a、15bは、非常に手触りも滑らかで、表面凹凸が少なく、また発泡層16に存在するような空隙は、溶融、固化の過程で全て消滅している。平滑層15a、15bは、この発泡層16に含まれている空気が外部に排出されてしまうのを防止できるように、この発泡層16の周囲を覆うように形成されている。即ち、熱処理後のパッキン12の表面は、全て平滑層15により構成されており、発泡層16は直接表面に露出しない構成となっている。換言すれば、この空隙が存在する発泡層16の周囲を、空気が通過不能な平滑層15によりシールしている構成とされている。
実際にこの発泡層16の完全なシーリングを実現するためには、少なくとも平滑層15a、15bが互いに連結するように、嵌合溝11の底面11aの形状や、金型19における押圧面19aの形状が予め調整されていることが望ましい。ちなみに、押圧面19aの形状は、下凸状の曲面からなる場合を想定しているが、これに限定されるものではなく、いかなる形状で構成してもよい。
このように、本発明を適用した容器蓋1の製造方法では、パッキン12を構成する発泡層16の周囲を覆うように平滑層15を形成することが可能となる。その結果、発泡層16を構成するミクロな空隙に液体が入り込むのを防止することが可能となる。特にこのペール缶2は、液体を封入するケースが多いことから、このパッキン12を介した液漏れをより強固に防止することが可能となる。
特にこの平滑層15aを設けることにより、嵌合溝11に対してパッキン12を隙間無く密着させることが可能となり、液漏れを強固に防止することができ、更には、パッキン12における抜けを防止することが可能となる。特に本発明では、この液漏れの防止とパッキン12からの抜けを防止するという二つの目的を達成する上で接着剤が不要となり、より低コストで実現可能となる。
また、本発明を適用した容器蓋1の製造方法では、発泡層16に含まれる空気が外部に排出してしまうのを防止することが可能となる。このため、発泡層16の各空隙に含まれる空気を閉じ込めて外部に排出しない構成とすることで、その空気の弾性収縮に基づく復元性を長期間に亘り発揮させることが可能となる。仮に特にこの容器蓋1により密閉したペール缶2を複数段に亘って重ね、長期間に亘り内容物を保存する場合には、このパッキン12に対しても長期間に亘り押圧力が負荷されることになるが、かかる場合においても、平滑層15には空隙が形成されていないことから、内部の空気がパッキン12表面から排出することがなくなり、ひいては復元力が喪失してしまうのを防止することが可能となる。
また、本発明では、パッキン12の表面を平滑層15により覆うことが可能となるため、表面凹凸を無くすことにより、平滑度を高く構成することが可能となる。このため、容器蓋1によりペール缶2を閉蓋しようとするときに、ペール缶2における最上部に位置する固定縁部21と、パッキン12との間で隙間が生じることなく、互いの密着性を向上させることが可能となる。その結果、このペール缶2の閉蓋時におけるより完全な密閉性を確保することが可能となる。
更に本発明では、金型19により押圧すると同時に熱可塑性樹脂の融点以上の温度まで加熱を行うため、パッキン12の平滑層15bの表面形状を、金型19における押圧面19aの形状に応じて成形することが可能となる。このため、パッキン12の平滑層15bを所望の形状にしたい場合に、予めその所望の形状に応じて金型19における押圧面19aを作製しておくことにより、これを実現することが可能となる。
このため、パッキン12の断面形状は、互いに曲率半径の異なる曲線により囲まれた、いわゆる三日月形状とする以外に、例えば断面略円形状、断面半円状等で構成したい場合においても、金型19における押圧面19aの形状をこれに応じて予め作製しておくことにより、これを実現することが可能となる。
図6は、パッキン12の断面形状の一例を示している。互いに曲率半径の異なる平滑層15a、15bに加えて、略水平な上面15cが形成されるように、パッキン12の断面形状を制御したものである。パッキン12をこのような断面形状とすることにより、この曲率半径が小径の平滑層15bにより固定縁部21との面接触性を向上させることができる。また、平滑層15bに固定縁部21を押圧させることにより、図中α方向に向けて平滑層15bが撓むことになるが、これに伴って上面15cを構成する部分が図中β方向に向けて変形することになる。この上面15cのβ方向への撓みが、平滑層15bに接触する固定縁部21を押圧することとなり、ひいてはパッキン12と固定縁部21との密着性をより向上させることが可能となる。
なお本発明を適用した容器蓋1の製造方法は、上述した実施の形態に限定されるものではない。図7は、熱処理のタイムチャートの例を示している。図7(a)は、上述したように、底面11aからパッキン12を構成する熱可塑性樹脂の融点以上の温度まで加熱する、底面加熱を最初に行う。次にこのパッキン12に対して、金型19により上から押圧する。また、これとともに、金型19を介してパッキン12を加熱する、いわゆる上面加熱を行う。ちなみに、この押圧と上面加熱のタイミングは何れを先行して行ってもよく、少なくとも上面加熱において熱可塑性樹脂の融点以上に熱せられている間に押圧が行われていればよい。
また、図7(b)は上面加熱並びに押圧と底面加熱を同時に行う場合のタイムチャートを示している。また図7(c)は、上面加熱並びに押圧を先行して行い、その後底面加熱を順次実行するものである。
このように、本発明では、底面加熱と、上面加熱並びに押圧とを何れか一方から順次実行するようにしてもよいし、又は同時に実行するようにしてもよい。いずれの順により実行しても、上述と同様の効果を奏することになる。
また本発明では、例えば図8に示すように、開口部外側に巻き込み突出形成された湾曲形状の固定縁部21上に対して、パッキン12の少なくとも一部が面接触可能な曲面を有するように成形されていることが望ましい。この面接触を実現することができれば、より密着性を向上させることができ、ペール缶2内部の気密性を確保し、液漏れを強固に防止することが可能となる。実際にパッキン12の断面形状を固定縁部21に面接触可能な形状とするためには、金型19における押圧面19aを構成する曲面の形状を、固定縁部21と少なくとも一部が面接触可能な形状に予め成形しておく必要がある。
ちなみに、本発明では、図5(c)に示すように、金型19を冷却後あるいは冷却不十分の場合、パッキン12から離間させようとすると、この金型19にパッキンが付着してしまう場合もあり、製造上の歩留まりを低下させる要因にもなる。このため、金型にシリコンやテフロン(登録商標)等の離型剤をコーティングする対策を施すようにしてもよい。更に金型19によりパッキン12を押圧する際においてこの金型19とパッキン12との間に熱伝導性の高い材料を挟み込むようにしてもよい。この熱伝導性の高い材料の例としては、薄くて変形しやすい材料を選定することが望ましく、例えばアルミや銅等で構成される金属箔あるいは金属薄板等で構成することが望ましい。かかる場合には、かかる金属箔あるいは金属薄板等について金型と同じ形状となるように予め作り込んでおくことが必要となる。これにより、金属箔あるいは金属薄板等を同じ形状で繰り返し使用する際に好適となる。
これにより、押圧していた金型19から金属箔あるいは金属薄板を通してパッキン12が加熱成型される。この金型19を冷却せず、金属箔あるいは金属薄板から離間できる。この金型は繰り返し使用が可能で熱効率、作業効率を向上させることができる。金属箔あるいは金属薄板を冷却後あるいは冷却不十分の場合にパッキン12から離間させようとすると、この金属箔あるいは金属薄板にパッキンがくっついてしまう場合もあり、製造上の歩留まりの低下させる要因になる。このため、金属箔あるいは金属薄板とパッキン12の接触面にシリコンやテフロン(登録商標)等の離型剤をコーティングする対策も好適である。
更に本発明を適用した容器蓋1は、ペール缶2を閉蓋する場合に限定されるものではなく、ドラム缶を閉蓋する際に用いるようにしてもよい。
また本発明は、特許文献1の開示技術を経て作製されたパッキンを熱処理するものであってもよい。この特許文献1の開示技術では、例えば図9に示すように、熱可塑性樹脂40をノズル30から線状に押出して容器蓋1に設けられた嵌合溝11に流し込むことにより、嵌合溝11に沿ってパッキン12を一体的に形成するものである。熱可塑性樹脂40は、ペレットの状態で熱可塑性樹脂投入部31に投入され、押出機32の内部で加熱溶融される。押出機32の内部で加熱溶融された熱可塑性樹脂40には、気体又は液体の発泡剤41が添加される。発泡剤41の添加は、発泡剤圧入部34から押出機32の内部に発泡剤41を圧入することによって行われる。
押出機32の内部で加熱溶融されて発泡剤41が添加された熱可塑性樹脂40は、ノズル30から吐出され、容器蓋1の嵌合溝11に流し込まれる。熱可塑性樹脂40の溶融温度は、通常、150〜300℃である。このとき、ノズル30から吐出された直後に熱可塑性樹脂40に添加された発泡剤41が発泡するために、熱可塑性樹脂40は発泡体となって嵌合溝11に充填された状態となりパッキン12を形成する。本実施態様において、嵌合溝11への熱可塑性樹脂40の流し込みは、容器蓋移動手段60によって、容器蓋1を嵌合溝11の中心軸周りに回転させながら行う。
このようにして樹脂を嵌合溝11へ充填する工程を経た後に、上述した熱処理を実行していくことになる。特に上述した特許文献1の工程を経て充填されたパッキン12は、例えば図10に示すように、嵌合溝11を1周させて円環状に充填した熱可塑性樹脂40の両端が重なり、これが冷却固化した後に隆起部48が形成されてしまう。この隆起部48が形成されてしまうと、実際にこの容器蓋1によりペール缶2を安定した状態で閉蓋することができなくなる。しかしながら、本発明を適用した容器蓋1の製造方法では、上面加熱並びに押圧と底面加熱を行う過程において、この隆起部48が溶融することになるため、これを除去することが可能となる。
このように本発明を適用した容器蓋1の製造方法は、特にその前段階において上述した特許文献1の開示技術に記載の樹脂充填工程を組み合わせる際において、隆起部48を効果的に除去することができる点において有用となる。
本発明を適用した容器蓋並びに閉蓋されるペール缶を示す図である。 外側に巻き込み突出形成されてなり、湾曲形状を有する固定縁部の詳細について示す図である。 嵌合溝が円環状に形成されてなる容器蓋を斜視図である。 嵌合溝並びにパッキンの拡大断面図である。 本発明を適用した容器蓋の製造方法について説明するための図である。 パッキンの断面形状の一例を示す図である。 熱処理のタイムチャートの例を示す図である。 固定縁部上にパッキンを面接触させる例を示す図である。 特許文献1の開示技術について説明するための図である。 パッキンに形成される隆起部を示す図である。 従来技術の問題点について説明するための図である。
符号の説明
1 容器蓋
2 ペール缶
11 嵌合溝
12 パッキン
15 平滑層
16 発泡層
19 金型
21 固定縁部
22 ビード
23 地板
30 ノズル
31 熱可塑性樹脂投入部
32 押出機
34 発泡剤圧入部
40 熱可塑性樹脂
41 発泡
48 隆起部

Claims (7)

  1. ペール缶又はドラム缶用の容器蓋の製造方法において、
    周縁に形成された嵌合溝に熱可塑性樹脂が充填された容器蓋について、上記嵌合溝の底面から上記熱可塑性樹脂の融点以上で加熱する底面加熱工程と、
    上記熱可塑性樹脂を金型により上から押圧するとともに、当該金型を介して上記熱可塑性樹脂の融点以上で加熱する上面加熱工程とを有し、
    上記底面加熱工程と上記上面加熱工程とは、何れか一方から順次実行するか、又は同時に実行すること
    を特徴とする容器蓋の製造方法。
  2. 上記底面加熱工程並びに上記上面加熱工程では、上記熱可塑性樹脂としてポリオレフィンが充填された容器蓋について、そのポリオレフィンの融点以上で加熱すること
    を特徴とする請求項1記載の容器蓋の製造方法。
  3. 上記上面加熱工程では、上記熱可塑性樹脂への押圧面が下凸状の曲面からなる上記金型を押圧すること
    を特徴とする請求項1又は2記載の容器蓋の製造方法。
  4. 上記上面加熱工程では、閉蓋すべきペール缶又はドラム缶の最上部に位置する開口部外側に巻き込み突出形成された湾曲形状の固定縁部と少なくとも一部が面接触可能な上記曲面からなる上記金型を押圧すること
    を特徴とする請求項3記載の容器蓋の製造方法。
  5. 上記底面加熱工程並びに上記上面加熱工程を通じて上記熱可塑性樹脂の断面外周を溶融させ、これを冷却固化させることにより表面を平滑化させた平滑層を発泡層の周囲に形成させること
    を特徴とする請求項1〜4のうち何れか1項記載の容器蓋の製造方法。
  6. 上記嵌合溝に熱可塑性樹脂を充填させる樹脂充填工程をさらに有し、
    上記樹脂充填工程は、
    押出機で加熱溶融された熱可塑性樹脂をノズルから線状に押出して上記嵌合溝に流し込むことにより、当該嵌合溝に沿ってパッキンを一体的に形成する工程であり、発泡剤を添加した熱可塑性樹脂を上記押出機の内部で加熱溶融し、加熱溶融された熱可塑性樹脂をノズルから吐出した直後に発泡させて、容器蓋の全体を加熱することなく発泡体を前記嵌合溝に充填すること
    を特徴とする請求項1〜5のうち何れか1項記載の容器蓋の製造方法。
  7. ペール缶又はドラム缶用の容器蓋において、
    周縁に形成された嵌合溝に熱可塑性樹脂からなるパッキンが充填され、
    当該パッキンは、少なくとも断面内部に形成された発泡層と、
    上記発泡層の外周に形成されてなり、表面を平滑化させた平滑層とを有すること
    を特徴とする容器蓋。
JP2008196037A 2008-07-30 2008-07-30 容器蓋の製造方法 Expired - Fee Related JP4896095B2 (ja)

Priority Applications (1)

Application Number Priority Date Filing Date Title
JP2008196037A JP4896095B2 (ja) 2008-07-30 2008-07-30 容器蓋の製造方法

Applications Claiming Priority (1)

Application Number Priority Date Filing Date Title
JP2008196037A JP4896095B2 (ja) 2008-07-30 2008-07-30 容器蓋の製造方法

Publications (2)

Publication Number Publication Date
JP2010030643A true JP2010030643A (ja) 2010-02-12
JP4896095B2 JP4896095B2 (ja) 2012-03-14

Family

ID=41735646

Family Applications (1)

Application Number Title Priority Date Filing Date
JP2008196037A Expired - Fee Related JP4896095B2 (ja) 2008-07-30 2008-07-30 容器蓋の製造方法

Country Status (1)

Country Link
JP (1) JP4896095B2 (ja)

Cited By (4)

* Cited by examiner, † Cited by third party
Publication number Priority date Publication date Assignee Title
JP2017007685A (ja) * 2015-06-18 2017-01-12 新邦工業株式会社 収納容器
JP2018205053A (ja) * 2017-06-01 2018-12-27 株式会社ジャパンペール ラグ天板検査装置、ペール缶製造システム、及びペール缶製造方法
JP2020189656A (ja) * 2019-05-21 2020-11-26 新邦工業株式会社 蓋付きペール缶及びペール缶の製造方法
JP2020189655A (ja) * 2019-05-21 2020-11-26 新邦工業株式会社 ペール缶用リングパッキン及びその製造方法

Citations (8)

* Cited by examiner, † Cited by third party
Publication number Priority date Publication date Assignee Title
JPS5131770A (ja) * 1974-09-13 1976-03-18 Haishiito Kogyo Kk
JPS56111647A (en) * 1980-02-08 1981-09-03 Uchiyama Mfg Corp Manufacture of cap and crown cap attached with foamy polyethylene liner
JPS59171631A (ja) * 1983-03-18 1984-09-28 Dainichi Nippon Cables Ltd シ−ルリングのノツチ加工方法
JPH0789569A (ja) * 1993-09-16 1995-04-04 Sekisui Chem Co Ltd パッキング材
US5686040A (en) * 1993-10-28 1997-11-11 White Cap, Inc. Method for producing closure gaskets
JP2005014214A (ja) * 2003-06-23 2005-01-20 Yuniiku Kk 耐薬品性特に耐溶剤性に優れたパッキングの製造方法
JP2007091263A (ja) * 2005-09-28 2007-04-12 Dainippon Ink & Chem Inc 容器蓋およびその製造方法
JP2008100452A (ja) * 2006-10-20 2008-05-01 Yukio Tsuchiya パッキン付き製造蓋の製造方法及び製造装置

Patent Citations (8)

* Cited by examiner, † Cited by third party
Publication number Priority date Publication date Assignee Title
JPS5131770A (ja) * 1974-09-13 1976-03-18 Haishiito Kogyo Kk
JPS56111647A (en) * 1980-02-08 1981-09-03 Uchiyama Mfg Corp Manufacture of cap and crown cap attached with foamy polyethylene liner
JPS59171631A (ja) * 1983-03-18 1984-09-28 Dainichi Nippon Cables Ltd シ−ルリングのノツチ加工方法
JPH0789569A (ja) * 1993-09-16 1995-04-04 Sekisui Chem Co Ltd パッキング材
US5686040A (en) * 1993-10-28 1997-11-11 White Cap, Inc. Method for producing closure gaskets
JP2005014214A (ja) * 2003-06-23 2005-01-20 Yuniiku Kk 耐薬品性特に耐溶剤性に優れたパッキングの製造方法
JP2007091263A (ja) * 2005-09-28 2007-04-12 Dainippon Ink & Chem Inc 容器蓋およびその製造方法
JP2008100452A (ja) * 2006-10-20 2008-05-01 Yukio Tsuchiya パッキン付き製造蓋の製造方法及び製造装置

Cited By (4)

* Cited by examiner, † Cited by third party
Publication number Priority date Publication date Assignee Title
JP2017007685A (ja) * 2015-06-18 2017-01-12 新邦工業株式会社 収納容器
JP2018205053A (ja) * 2017-06-01 2018-12-27 株式会社ジャパンペール ラグ天板検査装置、ペール缶製造システム、及びペール缶製造方法
JP2020189656A (ja) * 2019-05-21 2020-11-26 新邦工業株式会社 蓋付きペール缶及びペール缶の製造方法
JP2020189655A (ja) * 2019-05-21 2020-11-26 新邦工業株式会社 ペール缶用リングパッキン及びその製造方法

Also Published As

Publication number Publication date
JP4896095B2 (ja) 2012-03-14

Similar Documents

Publication Publication Date Title
JP4896095B2 (ja) 容器蓋の製造方法
US9827730B2 (en) Methods for fabricating lids for vessels
US9067347B2 (en) Method for manufacturing a package
JP6204456B2 (ja) レトルト可能な容器
KR20070045190A (ko) 배리어 단부 패널을 갖는 복합 마개
KR970014644A (ko) 합성수지제 단열 이중벽 용기 및 합성수지제 단열 이중벽 덮개
CN103347798A (zh) 具有盖密封系统的包装
WO2015052348A1 (en) Container and lid with improved seal
KR20180015149A (ko) 개스킷 및 그 제조방법
JPWO2018079143A1 (ja) ガスケット及びその製造方法
JPWO2007088593A1 (ja) 圧力容器のシール構造
GB0701980D0 (en) Wadless closure
JP4201662B2 (ja) 容器入り食品の製造方法及び容器入り食品
JP2006026899A (ja) 管継手の製造方法
JP2006273361A (ja) 容器用蓋
CN105658407B (zh) 用于附件的足部和容器附件、容器制造方法
JP5971468B2 (ja) 密閉型電気化学デバイス用封口体
JPH03175014A (ja) 構造的、断熱成形体を製造する方法およびその方法によって製造された成形体
JP2013538759A (ja) シュリンクラップを保持する容器
JPS61192543A (ja) チユ−ブ容器の製造方法
JP2012111524A (ja) 耐圧容器
JP2016069032A (ja) パウチ容器及びその製造方法
JP4989691B2 (ja) 容器蓋の製造方法
JP2014017458A5 (ja)
JP6607547B1 (ja) ペール缶用リングパッキン及びその製造方法

Legal Events

Date Code Title Description
A621 Written request for application examination

Free format text: JAPANESE INTERMEDIATE CODE: A621

Effective date: 20110621

A871 Explanation of circumstances concerning accelerated examination

Free format text: JAPANESE INTERMEDIATE CODE: A871

Effective date: 20110621

A975 Report on accelerated examination

Free format text: JAPANESE INTERMEDIATE CODE: A971005

Effective date: 20110706

A977 Report on retrieval

Free format text: JAPANESE INTERMEDIATE CODE: A971007

Effective date: 20111111

TRDD Decision of grant or rejection written
A01 Written decision to grant a patent or to grant a registration (utility model)

Free format text: JAPANESE INTERMEDIATE CODE: A01

Effective date: 20111122

A01 Written decision to grant a patent or to grant a registration (utility model)

Free format text: JAPANESE INTERMEDIATE CODE: A01

A61 First payment of annual fees (during grant procedure)

Free format text: JAPANESE INTERMEDIATE CODE: A61

Effective date: 20111220

R150 Certificate of patent or registration of utility model

Ref document number: 4896095

Country of ref document: JP

Free format text: JAPANESE INTERMEDIATE CODE: R150

Free format text: JAPANESE INTERMEDIATE CODE: R150

FPAY Renewal fee payment (event date is renewal date of database)

Free format text: PAYMENT UNTIL: 20150106

Year of fee payment: 3

R250 Receipt of annual fees

Free format text: JAPANESE INTERMEDIATE CODE: R250

R250 Receipt of annual fees

Free format text: JAPANESE INTERMEDIATE CODE: R250

R250 Receipt of annual fees

Free format text: JAPANESE INTERMEDIATE CODE: R250

R250 Receipt of annual fees

Free format text: JAPANESE INTERMEDIATE CODE: R250

R250 Receipt of annual fees

Free format text: JAPANESE INTERMEDIATE CODE: R250

R250 Receipt of annual fees

Free format text: JAPANESE INTERMEDIATE CODE: R250

LAPS Cancellation because of no payment of annual fees