JP2010027435A - コネクタ - Google Patents

コネクタ Download PDF

Info

Publication number
JP2010027435A
JP2010027435A JP2008188448A JP2008188448A JP2010027435A JP 2010027435 A JP2010027435 A JP 2010027435A JP 2008188448 A JP2008188448 A JP 2008188448A JP 2008188448 A JP2008188448 A JP 2008188448A JP 2010027435 A JP2010027435 A JP 2010027435A
Authority
JP
Japan
Prior art keywords
terminal
terminal fittings
wires
electric
portions
Prior art date
Legal status (The legal status is an assumption and is not a legal conclusion. Google has not performed a legal analysis and makes no representation as to the accuracy of the status listed.)
Granted
Application number
JP2008188448A
Other languages
English (en)
Other versions
JP5087487B2 (ja
Inventor
Isao Kameyama
勲 亀山
Current Assignee (The listed assignees may be inaccurate. Google has not performed a legal analysis and makes no representation or warranty as to the accuracy of the list.)
Yazaki Corp
Original Assignee
Yazaki Corp
Priority date (The priority date is an assumption and is not a legal conclusion. Google has not performed a legal analysis and makes no representation as to the accuracy of the date listed.)
Filing date
Publication date
Application filed by Yazaki Corp filed Critical Yazaki Corp
Priority to JP2008188448A priority Critical patent/JP5087487B2/ja
Priority to EP09800397.3A priority patent/EP2306601B1/en
Priority to US13/055,082 priority patent/US8192222B2/en
Priority to CN200980129040.3A priority patent/CN102106049B/zh
Priority to PCT/JP2009/063082 priority patent/WO2010010883A1/ja
Publication of JP2010027435A publication Critical patent/JP2010027435A/ja
Application granted granted Critical
Publication of JP5087487B2 publication Critical patent/JP5087487B2/ja
Expired - Fee Related legal-status Critical Current
Anticipated expiration legal-status Critical

Links

Images

Classifications

    • HELECTRICITY
    • H01ELECTRIC ELEMENTS
    • H01RELECTRICALLY-CONDUCTIVE CONNECTIONS; STRUCTURAL ASSOCIATIONS OF A PLURALITY OF MUTUALLY-INSULATED ELECTRICAL CONNECTING ELEMENTS; COUPLING DEVICES; CURRENT COLLECTORS
    • H01R9/00Structural associations of a plurality of mutually-insulated electrical connecting elements, e.g. terminal strips or terminal blocks; Terminals or binding posts mounted upon a base or in a case; Bases therefor
    • H01R9/03Connectors arranged to contact a plurality of the conductors of a multiconductor cable, e.g. tapping connections
    • HELECTRICITY
    • H01ELECTRIC ELEMENTS
    • H01RELECTRICALLY-CONDUCTIVE CONNECTIONS; STRUCTURAL ASSOCIATIONS OF A PLURALITY OF MUTUALLY-INSULATED ELECTRICAL CONNECTING ELEMENTS; COUPLING DEVICES; CURRENT COLLECTORS
    • H01R24/00Two-part coupling devices, or either of their cooperating parts, characterised by their overall structure
    • H01R24/60Contacts spaced along planar side wall transverse to longitudinal axis of engagement
    • HELECTRICITY
    • H01ELECTRIC ELEMENTS
    • H01RELECTRICALLY-CONDUCTIVE CONNECTIONS; STRUCTURAL ASSOCIATIONS OF A PLURALITY OF MUTUALLY-INSULATED ELECTRICAL CONNECTING ELEMENTS; COUPLING DEVICES; CURRENT COLLECTORS
    • H01R2107/00Four or more poles

Landscapes

  • Coupling Device And Connection With Printed Circuit (AREA)
  • Manufacturing Of Electrical Connectors (AREA)
  • Connector Housings Or Holding Contact Members (AREA)
  • Insulated Conductors (AREA)
  • Multi-Conductor Connections (AREA)
  • Connections Effected By Soldering, Adhesion, Or Permanent Deformation (AREA)

Abstract

【課題】複数の端子金具と複数の電線との接続を容易に行えるコネクタを提供する。
【解決手段】コネクタ1は、複数の端子金具7と、該複数の端子金具7を保持する端子ホルダ8と、複数の電線10を保持して端子ホルダ8に取り付けられる電線ホルダ9とを備えている。複数の端子金具7はそれぞれ電気接触部24と電線接続部25とを一体に備えている。端子ホルダ8は、複数の端子金具7の電線接続部25が重ねられる平板部30と、複数の端子金具7の電気接触部24をそれぞれ収容する複数の端子収容部33を有する収容部32と、平板部30と収容部32とを連結する連結部34とを備えている。電線ホルダ9には、複数の端子金具7の間隔と等しい間隔で複数の電線10の端部10aを保持し且つ複数の端子金具7の長手方向に間隔をあけて並設された第1及び第2の壁40,42と、複数の電線10の芯線12の露出部分12aを露出する空間47とが設けられている。
【選択図】図1

Description

本発明は、電線の接続等に使用されるコネクタに関し、特に複数の被覆電線を撚り合わせたツイストペアケーブルの接続等に使用されるコネクタに関する。
近年、小型軽量化や高機能化等が急速に進展する電子機器において、電子機器内の電子部品同士を接続する際に使用する電気ケーブルについても細線化、省スペース化等が求められている。このため、前記電気ケーブルとしては、例えば、断面形状が矩形状の導体を複数並設したFFC(フレキシブル・フラット・ケーブル)やFPC(フレキシブル・プリント・サーキット)等の薄型の所謂フラットケーブルが用いられる。そして、これらの電子機器とフラットケーブルとは、それぞれが備えたコネクタ同士が嵌合することにより接続されている。
前述したコネクタとして、例えば、複数の端子金具と、該複数の端子金具を収容するコネクタハウジングなどを備えたコネクタが用いられ、このコネクタをフラットケーブルの末端に取り付ける方法として、コネクタの複数の端子金具とフラットケーブルの絶縁体、シールド体及びシースを除去して露出させた複数の導体とを、レーザ等を用いて電気的に接続して組み立てられるコネクタが提案されている(例えば、特許文献1参照。)。
前述した特許文献1に開示されたコネクタは、絶縁性の材料から構成されており、複数の端子金具とを備えている。複数の端子金具は、それぞれ、導電性の板金などからなり、帯板状に形成されている。複数の端子金具は、互いに間隔をあけ且つ平行にコネクタに並設されている。
前述したコネクタが取り付けられるフラットケーブルは、導電性の金属からなる複数の導体と、該導体を被覆する絶縁体と、該絶縁体の外側を覆う導電性のシールド体と、該シールド体の外側を被覆する絶縁性のシースとを備えた扁平な帯状に形成されている。フラットケーブルは、絶縁体、シールド体及びシースを所定の長さ除去して露出させた複数の芯線の端末が、樹脂又は紙等からなるフィルム状のばらけ防止部によって、複数の芯線が互いに平行な状態で固定されている。
前述したコネクタは、複数の端子金具にフラットケーブルのばらけ防止部で固定された複数の芯線を当接させて、複数の端子金具及び複数の芯線にレーザを照射することで、これらを溶着して、これら複数の端子金具と複数の芯線とをそれぞれ接続する。こうして、コネクタとフラットケーブルとが電気的に接続される。
特開2006−120364号公報
前述した特許文献1に開示されたコネクタは、複数の端子金具にフラットケーブルの互いに平行な複数の芯線を当接させて、レーザ溶着により複数の端子金具とフラットケーブルの複数の芯線とを接続して、コネクタとフラットケーブルとを電気的に接続していた。
しかしながら、前述したコネクタを複数の電線が撚り合わされて構成されたツイストペア電線に接続する場合、複数の電線の撚りを解いて被覆部等を皮むきして芯線を露出させた状態では撚り跡がついており、複数の電線の芯線は互いに平行に配されないため、複数の電線の芯線をそれぞれコネクタの複数の端子金具に当接させた状態でレーザを照射することが困難であった。このため、コネクタの複数の端子金具と複数の電線との接続作業に手間が掛かるという問題があった。
したがって、本発明は、複数の端子金具と複数の電線との接続を容易に行うことができるコネクタを提供することを目的とする。
前記課題を解決し目的を達成するために、請求項1に記載された発明は、複数の端子金具と、前記複数の端子金具を保持する端子保持部材と、複数の電線の端部を保持して前記端子保持部材に取り付けられる電線保持部材と、を備え、前記複数の端子金具と前記複数の電線の芯線の前記端部で露出した部分とが溶接されるコネクタにおいて、前記電線保持部材には、前記複数の端子金具の間隔と等しい間隔で前記複数の電線の前記端部を保持するとともに前記複数の端子金具の長手方向に間隔をあけて並設された複数の電線保持部と、前記芯線の前記露出した部分を露出する空間と、が設けられていることを特徴とするコネクタである。
請求項2に記載された発明は、請求項1に記載の発明において、前記端子保持部材と前記電線保持部材とは、それぞれに設けられた係止部同士が係合することで、前記複数の端子金具の長手方向の一端部に前記複数の電線の前記芯線の前記露出した部分がそれぞれ当接した状態で互いに固定されることを特徴とするものある。
請求項3に記載された発明は、請求項2に記載の発明において、前記複数の端子金具それぞれの前記一端部には、当該一端部から前記芯線に向かって突出するとともに、前記複数の端子金具の長手方向に沿った長さが前記芯線の前記露出した部分と重ねられる寸法に形成された当接部が設けられていることを特徴とするものある。
請求項1に記載された発明によれば、電線保持部材に、複数の端子金具の間隔と等しい間隔で複数の電線の端部を保持し且つ複数の端子金具の長手方向に間隔をあけて並設された複数の電線保持部と、複数の電線の芯線の該複数の電線の端部で露出した部分を露出する空間とが設けられているので、電線保持部材を端子保持部材に取り付けることで、複数の端子金具に複数の電線の端部をそれぞれ位置決めすることができるとともに、複数の端子金具それぞれに位置決めされた複数の電線の芯線の該複数の電線の端部で露出した部分を電線保持部材の空間から露出させることができる。
請求項2に記載された発明によれば、端子保持部材と電線保持部材とは、それぞれに設けられた係止部同士が係合することで、複数の端子金具の長手方向の一端部に複数の電線の芯線の該複数の電線の端部で露出した部分がそれぞれ当接した状態で互いに固定されるので、端子保持部材と電線保持部材とを固定することで、複数の端子金具の一端部と複数の電線の芯線の該複数の電線の端部で露出した部分とがそれぞれ当接した状態を保持することができる。
請求項3に記載された発明によれば、複数の端子金具それぞれの一端部には、当該一端部から芯線に向かって突出するとともに、複数の端子金具の長手方向に沿った長さが芯線の複数の電線の端部で露出した部分と重ねられる寸法に形成された当接部が設けられているので、端子保持部材と電線保持部材とを固定した際に、複数の端子金具の一端部と複数の電線の芯線の該複数の電線の端部で露出した部分とをそれぞれ確実に当接させることができる。
以上説明したように、請求項1に記載の本発明は、電線保持部材を端子保持部材に取り付けることで、複数の端子金具に複数の電線の端部をそれぞれ位置決めすることができるとともに、複数の端子金具それぞれに位置決めされた複数の電線の芯線の該複数の電線の端部で露出した部分を電線保持部材の空間から露出させることができるので、複数の端子金具と複数の電線の端部との位置決めが容易であるとともに、複数の端子金具と複数の電線の芯線の該複数の電線の端部で露出した部分とをそれぞれレーザ溶着などで容易に溶着することができる。このため、複数の端子金具と複数の電線との接続を容易に行うことができる。
請求項2に記載の本発明は、端子保持部材と電線保持部材とを固定することで、複数の端子金具の一端部と複数の電線の芯線の該複数の電線の端部で露出した部分とがそれぞれ当接した状態を保持することができるので、複数の電線の芯線の該複数の電線の端部で露出した部分を、複数の端子金具の一端部にそれぞれ当接させた状態で電線保持部材の空間から露出させることができ、よって、複数の端子金具と複数の電線の芯線の該複数の電線の端部で露出した部分とをそれぞれレーザ溶着などで確実に溶着することができる。このため、複数の端子金具と複数の電線との接続を確実に行うことができる。
請求項3に記載の本発明は、端子保持部材と電線保持部材とを固定した際に、複数の端子金具の一端部と複数の電線の芯線の該複数の電線の端部で露出した部分とをそれぞれ確実に当接させることができるので、複数の電線の芯線の該複数の電線の端部で露出した部分を、複数の端子金具の一端部にそれぞれ確実に当接させた状態で電線保持部材の空間から露出させることができる。このため、複数の端子金具と複数の電線の芯線の該複数の電線の端部で露出した部分とをレーザ溶着などでより確実に溶着することができる。
以下、本発明の第一の実施形態にかかるコネクタを図1乃至図6を参照して説明する。本発明の第一の実施形態にかかるコネクタ1は、図示しない電子機器内の電子部品同士を接続する際に使用する電気ケーブル2の複数の電線10が接続されて、図示しない相手側のコネクタと嵌合して、前記電子部品同士を接続する。
電気ケーブル2は、図1に示すように、複数のツイストペア線3と、該複数のツイストペア線3の外周を被覆する導電性の編組線4と、該編組線4の外周を覆うシース5とを備えている。
複数のツイストペア線3は、図1に示すように、図示例では2本設けられており、互いに平行(即ち並行)に束ねられている。複数のツイストペア線3は、それぞれ、互いに撚り合わされた複数の電線10と、該複数の電線10の外周を覆う被覆部材11とを備えている。
複数の電線10は、それぞれ、芯線12と、該芯線12を被覆する被覆部13とを有した断面丸型に形成されている。芯線12は、銅又は銅合金などの導電性を有する金属で構成されており、一本の導線又は複数の導線が撚られて断面丸型に形成されている。被覆部13は、絶縁性を有する合成樹脂からなり、芯線12を絶縁状態に保って被覆している。
被覆部材11は、例えば銅やアルミニウム等を含んだ導電性を有する金属からなる導体層と、該導体層に積層され且つ絶縁性の合成樹脂からなる薄い樹脂フィルムとを有して、膜状で且つ帯状に形成されている。樹脂フィルムは、導体層の補強の目的で設けられている。そして、被覆部材11は、導体層が前述した複数の電線10の被覆部13と接触する向きで、該複数の電線10の外周に巻き寿司状に巻き付けられている。
編組線4は、導電性の金属材料等で構成される素線が編まれる等して、全体として筒状(袋状)に形成されている。編組線4は、複数のツイストペア線3の外周を覆っている。
シース5は、例えば、ポリ塩化ビニル(Polyvinylchloride:PVC)等の絶縁性を有する合成樹脂で構成されている。シース5は、複数のツイストペア線3の外周を覆った編組線4の外周に押出し成形によって形成されて、該編組線4の外周を覆っている。
前述した構成の電気ケーブル2は、図1又は図6に示すように、シース5を所定の長さ除去して露出させた編組線4を折り返して、この折り返された編組線4の外周にリング状の固定部材14を取り付けて該編組線4を固定することで、複数のツイストペア線3の端末を露出する。
さらに、前記電気ケーブル2は、複数のツイストペア線3の各被覆部材11を所定長さ除去し且つ各電線10の撚りを解いて、これら各電線10の端部10aを露出した後、該各電線10の先端から所定長さ離れた箇所の被覆部13を所定の長さ除去して、各電線10の端部10aで該各電線10の芯線12を所定の長さ露出する。
そして、電気ケーブル2は、複数のツイストペア線3各々の複数の電線10の端部10aで該複数の電線10の芯線12が所定の長さ露出した状態で、これら複数の電線10の端部10aがそれぞれ電線ホルダ9に取り付けられる。
なお、本実施形態において、電気ケーブル2の複数のツイストペア線3の各被覆部材11を所定長さ除去して露出させた、複数の電線10の「端部10a」は、特許請求の範囲に記載の複数の電線の「端部」に相当する。そして、複数のツイストペア線3各々の複数の電線10の端部10aで芯線12が所定の長さ露出した「露出部分」(以下、符号12aを付して示す)は、特許請求の範囲に記載の「露出した部分」に相当する。
また、本実施形態において、電気ケーブル2の複数のツイストペア線3各々の複数の電線10の端部10aで該複数の電線10の芯線12が所定の長さ露出した露出部分12aは、各電線10の先端から所定長さ離れた箇所の被覆部13を所定の長さ除去して形成されているが、本発明はこれに限定するものではなく、例えば、複数の電線10の芯線12の露出部分12aが、各電線10の先端の被覆部13を所定の長さ除去して形成されていても良い。
コネクタ1は、図1に示すように、コネクタハウジング6と、複数の端子金具7と、該複数の端子金具7を保持する端子保持部材としての端子ホルダ8と、前述した複数の電線10の端部10aを保持する電線保持部材としての電線ホルダ9とを備えている。
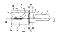
コネクタハウジング6は、絶縁性の合成樹脂で構成されており、図1に示すように、ハウジング本体15と、ケーブル挿通部20とを備えている。ハウジング本体15は、複数の周壁16を備えて角筒状に形成されている。ハウジング本体15は、図5又は図6に示すように、内側に端子ホルダ8及び電線ホルダ9を収容する。また、ハウジング本体15には、図示しない相手方のコネクタのコネクタハウジングに対するロック突起18と、端子ホルダ8に対する係止突起19とが設けられている。
ロック突起18は、図1、図2及び図6に示すように、ハウジング本体15の図中上方に位置する一つの周壁16の内面から当該ハウジング本体15の内側に突出して形成されている。ロック突起18は、コネクタハウジング6と前述した相手方のコネクタのコネクタハウジング(図示せず)とが嵌合した際に、該相手方のコネクタハウジングに係合して、これらコネクタハウジング6及び相手方のコネクタハウジング同士の嵌合を保持する。
また、ロック突起18が設けられたハウジング本体15の前記一つの周壁16には、図1又は図3に示すように、当該一つの周壁16がロック突起18を互いの間に挟む格好で直線状に切り欠かれた一対の切欠部17が設けられている。これら一対の切欠部17が設けられることによって、前記一つの周壁16の一対の切欠部17の間の部分16cがハウジング本体15の外側に撓んで、ロック突起18をハウジング本体15の外側へ変位させる。
係止突起19は、図6に示すように、ハウジング本体15の前述した一つの周壁16と相対する他の周壁16(図中下方に位置する)の内面から当該ハウジング本体15の内側に突出して形成され且つハウジング本体15の周壁16の内面に近づくように弾性変形自在に設けられている。係止突起19は、端子ホルダ8に係止することで、該端子ホルダ8がハウジング本体15内から抜け出ることを規制する。
ケーブル挿通部20は、ハウジング本体15の周壁16の相手方のコネクタ(図示せず)から離れた側の一端部16aに連接されるとともに、ハウジング本体15の相手方のコネクタとの嵌合方向と直交する幅方向(図3中上下方向)に相対して一対設けられている。
一対のケーブル挿通部20は、それぞれ、帯板状で且つハウジング本体15の外方向に向かって凸の半円弧状に形成された挿通部本体21と、ハウジング本体15の周壁16の一端部16aに連なり且つハウジング本体15の周壁16と挿通部本体21とを連結する連結部22とを備えている。連結部22は、ハウジング本体15の周壁16の一端部16aから該ハウジング本体15の内側に向かって突出して形成されている。そして、一対のケーブル挿通部20は、図3又は図4に示すように、互いの間に前述した電気ケーブル2を通す。
複数の端子金具7は、それぞれ、導電性の金属等で構成されており、図示例では4つ設けられている。複数の端子金具7は、それぞれ、棒状に形成されており、電気接触部24と電線接続部25とを一体に備えている。電気接触部24は、角柱状に形成されており、図示しない相手方のコネクタの端子金具と電気的に接続する。
電線接続部25は、前記電気接触部24に連なり且つ角柱状に形成されている。また、電線接続部25は、当該電線接続部25の電気接触部24から離れた側の一端部26に、前述した各電線10の芯線12の該各電線10の端部10aで露出された露出部分12aが当接される当接部26aが設けられている。
当接部26aは、電線接続部25の一端部26から突出し且つ矩形状に形成されている。当接部26aは、端子金具7の長手方向に沿った長さが、前述した各電線10の芯線12の露出部分12aの長さと略等しく形成されている。なお、当接部26aの端子金具7の長手方向に沿った長さについては、これに限定されるものではなく、前述した各電線10の芯線12の露出部分12aと重ねられる寸法であれば良い。
端子ホルダ8は、絶縁性の合成樹脂で構成されており、図1に示すように、複数の端子金具7の電線接続部25が重ねられる平板部30と、複数の端子金具7の電気接触部24を収容する収容部32と、これら平板部30と収容部32とを連結する連結部34とを備えている。
平板部30は、平面が略矩形の平板状に形成されている。平板部30には、表面30aから凸の複数の凸部31が設けられている。複数の凸部31は、端子ホルダ8に複数の端子金具7が取り付けられた際に、該複数の端子金具7の当接部26aがそれぞれ位置付けられる。そして、複数の凸部31は、図2又は図6に示すように、端子ホルダ8に電線ホルダ9が取り付けられた際に、複数の端子金具7の当接部26aを複数の電線10の芯線12の露出部分12aにそれぞれ当接させた状態で保持する。
収容部32は、平面が略矩形の平板状に形成されており、底面32b(図5又は図6に示す)が前述した平板部30の凸部31の表面と略同一平面上となるように配されている。収容部32には、複数の端子金具7の電気接触部24をそれぞれ収容する複数の端子収容部33が設けられている。これら複数の端子収容部33は、収容部32を貫通した直線状の細長い孔状に形成されている。複数の端子収容部33は、互いに間隔をあけ且つ平行に配されている。
連結部34は、ブロック状に形成されており、平板部30と収容部32との間に配されて、これらの平板部30と収容部32とを連結している。連結部34には、複数の端子金具7の電気接触部24を挿通するための複数の貫通孔35が設けられている。複数の貫通孔35は、互いに間隔をあけて配されている。複数の貫通孔35は、それぞれ、前述した収容部32の各端子収容部33と連なっている。
また、連結部34には、平板部30側の面をコ字状に切り欠いて形成された凹部36が設けられている。この凹部36は、複数の電線10の端部10aを保持した電線ホルダ9が端子ホルダ8に取り付けられた際に、複数の電線10の先端部分が位置付けられる。
前述した構成の端子ホルダ8は、複数の端子金具7の電気接触部24を連結部34の複数の貫通孔35にそれぞれ挿通し且つ収容部32の複数の端子収容部33内にそれぞれ収容して、平板部30に複数の端子金具7の電線接続部25を重ねるとともに該複数の端子金具7の当接部26aを平板部30の凸部31上に位置づけて、当該端子ホルダ8が複数の端子金具7を互いに平行な状態で保持する。
電線ホルダ9は、絶縁性の合成樹脂で構成され、図1に示すように、第1の壁40と、該第1の壁40と前述した複数の端子金具7の長手方向に沿って間隔をあけた第2の壁42と、これらの第1の壁40及び第2の壁42を連結する連結部46とを備えている。
第1の壁40は、略矩形の平板状に形成されており、長手方向が前述した複数の端子金具7の並ぶ方向と平行に配されている。第1の壁40には、前述した複数の電線10をそれぞれ挿通する複数の電線挿通孔41が設けられている。
複数の電線挿通孔41は、第1の壁40を貫通して形成されているとともに、第1の壁40の長手方向に沿って互いに間隔をあけて配されている。複数の電線挿通孔41の間の距離は、前述した複数の端子金具7の間の距離と等しく形成されている。そして、複数の電線挿通孔41は、内側に複数の電線10の端部10aをそれぞれ通して、該複数の電線10の端部10aの該端部10aで露出した芯線12の露出部分12aより被覆部材11側の部分、即ち複数の電線10の端部10aを保持する。
前述した構成の第1の壁40は、複数の電線挿通孔41内に複数の電線10の端部10aをそれぞれ挿通することで、複数の電線10の端部10aを複数の端子金具7の間隔と等しい間隔で保持する。そして、前記第1の壁40は、特許請求の範囲に記載の電線保持部を成している。
第2の壁42は、略矩形の平板状に形成された本体部43と、該本体部43の長手方向の両端部43a,43bから前述した端子ホルダ8に向かって立設した一対の立設部44とを備えて、コ字状に形成されている。本体部43は、長手方向が前述した複数の端子金具7の並ぶ方向と平行に配されている。また、本体部43には、複数の電線収容溝45が設けられている。
複数の電線収容溝45は、それぞれ、本体部43の端子ホルダ8に相対する面から該端子ホルダ8から離れる方向に当該本体部43を円弧状に切り欠いて形成されている。複数の電線収容溝45は、本体部43の長手方向に沿って互いに間隔をあけて配されている。複数の電線収容溝45の間の距離は、前述した複数の端子金具7の間の距離と等しく形成されている。複数の電線収容溝45は、それぞれ、前述した複数の電線挿通孔41それぞれと同軸に配されている。
また、複数の電線収容溝45の径は、それぞれ、電線10の径よりも若干小さく形成されている。そして、複数の電線収容溝45は、内側に複数の電線10の先端部分をそれぞれ通して、該複数の電線10の先端部分を保持する。
前述した構成の第2の壁42は、本体部43に設けられた複数の電線収容溝45内に複数の電線10の先端部分、即ち複数の電線10の端部10aをそれぞれ挿通することで、複数の電線10の端部10aを複数の端子金具7の間隔と等しい間隔で保持する。そして、前記第2の壁42は、特許請求の範囲に記載の電線保持部を成している。
連結部46は、図1に示すように、ブロック状に形成されており、第1の壁40及び第2の壁42の本体部43の長手方向の両端部40a,40b,43a,43b同士を連結して一対設けられている。そして、一対の連結部46が第1の壁40及び第2の壁42の本体部43の両端部40a,40b,43a,43b同士を連結することで、これら第1の壁40と第2の壁42の本体部43との間に空間47を形成している。
前述した構成の電線ホルダ9は、複数の電線10の端部10aを第1の壁40の複数の電線挿通孔41内にそれぞれ挿通し且つ第2の壁42の複数の電線収容溝45の内側にそれぞれ通して保持することで、複数の電線10の端部10aを前述した複数の端子金具7の間隔と等しい間隔で且つ互いに平行に保持するとともに、空間47によって複数の電線10の端部10aで露出した該複数の電線10の芯線12の露出部分12aを外部に露出する。
また、前述した端子ホルダ8と電線ホルダ9とには、互いに係合する係止部38,49が設けられている。
係止部38は、端子ホルダ8に設けられており、平板部30の幅方向即ち複数の端子金具7が並ぶ方向の両縁部をコ字状に切り欠いて形成されている。即ち、係止部38は、端子ホルダ8の平板部30の幅方向の両縁部に互いに相対する格好で一対設けられている。
係止部49は、電線ホルダ9に設けられており、一対の連結部46それぞれの端子ホルダ8側の端部から該端子ホルダ8に向かって突出して形成されている。即ち、係止部49は、電線ホルダ9の一対の連結部46に互いに相対する格好で一対設けられている。一対の係止部49は、先端が互いに近づく方向に向かって突出して断面フック状に形成されている。
そして、電線ホルダ9が端子ホルダ8に取り付けられた際に、係止部49のフック状に形成された先端が係止部38の電線ホルダ9から離れた側に位置付けられて、これらの係止部38,49が互いに係合して、複数の端子金具7の当接部26aに複数の電線10の芯線12の露出部分12aがそれぞれ当接した状態で、端子ホルダ8と電線ホルダ9とを互いに固定する。
前述した構成のコネクタ1は、以下のように組み立てられる。まず、予めシース5を所定の長さ除去し且つ編組線4を折り返して固定部材14で固定することで複数のツイストペア線3の端末を露出した電気ケーブル2を、コネクタハウジング6のハウジング本体15内及び一対のケーブル挿通部20の間に通す。
そして、電気ケーブル2の複数のツイストペア線3の各被覆部材11を所定長さ除去し且つ各電線10の撚りを解いて、各電線10の端部10aを露出した後、これら各電線10の先端から所定長さ離れた箇所の被覆部13にレーザを照射し且つレーザ照射箇所をブラシなどで擦り、該被覆部13を所定長さ除去することで、各電線10の端部10aで芯線12が所定の長さ露出した露出部分12aを形成する。
次に、図2に示すように、複数の電線10の端部10aを、第1の壁40の複数の電線挿通孔41内にそれぞれ挿通し且つ第2の壁42の複数の電線収容溝45の内側にそれぞれ通して保持することで、電線ホルダ9が複数の電線10の端部10aを複数の端子金具7の間隔と等しい間隔で且つ互いに平行に保持するとともに、複数の電線10の芯線12の露出部分12aを空間47に位置付けて該露出部分12aを外部に露出する。
続いて、図2に示すように、複数の端子金具7の電気接触部24を連結部34の複数の貫通孔35にそれぞれ挿通し且つ収容部32の複数の端子収容部33内にそれぞれ収容して、平板部30に複数の端子金具7の電線接続部25を重ねるとともに該複数の端子金具7の当接部26aを平板部30の凸部31上に位置付けることで、端子ホルダ8が複数の端子金具7を互いに平行な状態で保持する。
さらに続いて、複数の端子金具7を保持した端子ホルダ8の平板部30上に、複数の電線10の端部10aを保持した電線ホルダ9を重ねるように取り付けて、端子ホルダ8の係止部38と電線ホルダ9の係止部49とを互いに係止することで、複数の端子金具7の当接部26aに複数の電線10の芯線12の露出部分12aがそれぞれ当接した状態で、これら端子ホルダ8と電線ホルダ9とを互いに固定する。
そして、電線ホルダ9の空間47から露出する互いに当接した状態の複数の電線10の芯線12の露出部分12aと複数の端子金具7の当接部26aとにレーザを照射して、これら複数の電線10の芯線12の露出部分12aと複数の端子金具7の当接部26aとをそれぞれ溶着することで、複数の電線10と複数の端子金具7とを接続する。
最後に、コネクタハウジング6のハウジング本体15内に端子ホルダ8及び電線ホルダ9を挿入して、図6に示すように、ハウジング本体15の係止突起19が端子ホルダ8に係止することで、該端子ホルダ8のハウジング本体15内から抜け出ることを規制して、コネクタハウジング6のハウジング本体15内に端子ホルダ8及び電線ホルダ9を収容する。こうして、コネクタ1が組み立てられる。
本実施形態によれば、電線ホルダ9に、複数の端子金具7の間隔と等しい間隔で複数の電線10の端部10aを保持し且つ複数の端子金具7の長手方向に間隔をあけて並設された第1及び第2の壁40,42と、複数の電線10の端部10aで露出した該複数の電線10の芯線12の露出部分12aを露出する空間47とが設けられている。
このため、電線ホルダ9を端子ホルダ8に取り付けることで、複数の端子金具7に複数の電線10の端部10aをそれぞれ位置決めすることができるとともに、複数の端子金具7それぞれに位置決めされた複数の電線10の端部10aで露出した該複数の電線10の芯線12の露出部分12aを電線ホルダ9の空間47から露出させることができる。
したがって、複数の端子金具7と複数の電線10の端部10aとの位置決めが容易であるとともに、複数の端子金具7と複数の電線10の芯線12の該複数の電線10の端部10aで露出した露出部分12aとをそれぞれレーザ溶着などで容易に溶着することができ、よって、複数の端子金具7と複数の電線10との接続を容易に行うことができる。
また、端子ホルダ8と電線ホルダ9とは、それぞれに設けられた係止部38,49同士が係合することで、複数の端子金具7の長手方向の一端部26に複数の電線10の端部10aで露出した該複数の電線10の芯線12の露出部分12aがそれぞれ当接した状態で互いに固定される。
このため、端子ホルダ8と電線ホルダ9とを固定することで、複数の端子金具7の一端部26と複数の電線10の端部10aで露出した該複数の電線10の芯線12の露出部分12aとがそれぞれ当接した状態を保持することができるので、複数の電線10の芯線12の該複数の電線10の端部10aで露出した露出部分12aを、複数の端子金具7の一端部26にそれぞれ当接させた状態で電線ホルダ9の空間47から露出させることができる。
したがって、複数の端子金具7と複数の電線10の芯線12の該複数の電線10の端部10aで露出した露出部分12aとをそれぞれレーザ溶着などで確実に溶着することができ、よって、複数の端子金具7と複数の電線10との接続を確実に行うことができる。
さらに、複数の端子金具7それぞれの一端部26には、当該一端部26から芯線12に向かって突出するとともに、複数の端子金具7の長手方向に沿った長さが芯線12の複数の電線10の端部10aで露出した露出部分12aと重ねられる寸法に形成された当接部26aが設けられている。
このため、端子ホルダ8と電線ホルダ9とを固定した際に、複数の端子金具7の一端部26と複数の電線10の芯線12の該複数の電線10の端部10aで露出した露出部分12aとをそれぞれ確実に当接させることができるので、複数の電線10の芯線12の該複数の電線10の端部10aで露出した露出部分12aを、複数の端子金具7の一端部26にそれぞれ確実に当接させた状態で電線ホルダ9の空間47から露出させることができる。
したがって、複数の端子金具7と複数の電線10の芯線12の該複数の電線10の端部10aで露出した露出部分12aとをレーザ溶着などでより確実に溶着することができる。
また、本発明のコネクタ1は、家屋などで用いられる電子機器(テレビやパソコン、監視モニター等)の電子部品同士の接続以外にも用いることができ、例えば、自動車に搭載されるワイヤハーネスやビルのネットワーク等に用いることができる。
なお、前述した実施形態は本発明の代表的な形態を示したに過ぎず、本発明は、実施形態に限定されるものではない。即ち、本発明の骨子を逸脱しない範囲で種々変形して実施することができる。
本発明の実施形態にかかるコネクタを示す分解斜視図である。 図1に示されたコネクタの端子保持部材に端子が取り付けられ且つ電線保持部材に電線の端部が保持された状態を示す斜視図である。 図1に示されたコネクタが組み付けられた状態を示す平面図である。 図3に示されたコネクタの側面図である。 図3に示されたコネクタの正面図である。 図3中のVI−VI線に沿う断面図である。
符号の説明
1 コネクタ
7 端子金具
8 端子ホルダ(端子保持部材)
9 電線ホルダ(電線保持部材)
10 電線
10a 端部
12 芯線
12a 露出部分(露出した部分)
26 一端部
26a 当接部
38 係止部
40 第1の壁(電線保持部)
41 電線挿通孔
42 第2の壁(電線保持部)
45 電線収容溝
47 空間
49 係止部

Claims (3)

  1. 複数の端子金具と、前記複数の端子金具を保持する端子保持部材と、複数の電線の端部を保持して前記端子保持部材に取り付けられる電線保持部材と、を備え、
    前記複数の端子金具と前記複数の電線の芯線の前記端部で露出した部分とが溶接されるコネクタにおいて、
    前記電線保持部材には、前記複数の端子金具の間隔と等しい間隔で前記複数の電線の前記端部を保持するとともに前記複数の端子金具の長手方向に間隔をあけて並設された複数の電線保持部と、前記芯線の前記露出した部分を露出する空間と、が設けられていることを特徴とするコネクタ。
  2. 前記端子保持部材と前記電線保持部材とは、それぞれに設けられた係止部同士が係合することで、前記複数の端子金具の長手方向の一端部に前記複数の電線の前記芯線の前記露出した部分がそれぞれ当接した状態で、互いに固定されることを特徴とする請求項1に記載のコネクタ。
  3. 前記複数の端子金具それぞれの前記一端部には、当該一端部から前記芯線に向かって突出するとともに、前記複数の端子金具の長手方向に沿った長さが前記芯線の前記露出した部分と重ねられる寸法に形成された当接部が設けられていることを特徴とする請求項2に記載のコネクタ。
JP2008188448A 2008-07-22 2008-07-22 コネクタ Expired - Fee Related JP5087487B2 (ja)

Priority Applications (5)

Application Number Priority Date Filing Date Title
JP2008188448A JP5087487B2 (ja) 2008-07-22 2008-07-22 コネクタ
EP09800397.3A EP2306601B1 (en) 2008-07-22 2009-07-22 Connector
US13/055,082 US8192222B2 (en) 2008-07-22 2009-07-22 Electrical connector with an electrical wire holding member
CN200980129040.3A CN102106049B (zh) 2008-07-22 2009-07-22 连接器
PCT/JP2009/063082 WO2010010883A1 (ja) 2008-07-22 2009-07-22 コネクタ

Applications Claiming Priority (1)

Application Number Priority Date Filing Date Title
JP2008188448A JP5087487B2 (ja) 2008-07-22 2008-07-22 コネクタ

Publications (2)

Publication Number Publication Date
JP2010027435A true JP2010027435A (ja) 2010-02-04
JP5087487B2 JP5087487B2 (ja) 2012-12-05

Family

ID=41570343

Family Applications (1)

Application Number Title Priority Date Filing Date
JP2008188448A Expired - Fee Related JP5087487B2 (ja) 2008-07-22 2008-07-22 コネクタ

Country Status (5)

Country Link
US (1) US8192222B2 (ja)
EP (1) EP2306601B1 (ja)
JP (1) JP5087487B2 (ja)
CN (1) CN102106049B (ja)
WO (1) WO2010010883A1 (ja)

Cited By (5)

* Cited by examiner, † Cited by third party
Publication number Priority date Publication date Assignee Title
JP2017180782A (ja) * 2016-03-31 2017-10-05 本田技研工業株式会社 自動変速機の変速制御装置
US10297932B2 (en) 2016-10-12 2019-05-21 Autonetworks Technologies, Ltd. Connector structure
WO2023218926A1 (ja) * 2022-05-11 2023-11-16 株式会社オートネットワーク技術研究所 コネクタ及びコネクタの製造方法
WO2023218925A1 (ja) * 2022-05-11 2023-11-16 株式会社オートネットワーク技術研究所 コネクタ及びコネクタの製造方法
JP2024153541A (ja) * 2023-04-17 2024-10-29 矢崎総業株式会社 コネクタ

Families Citing this family (40)

* Cited by examiner, † Cited by third party
Publication number Priority date Publication date Assignee Title
US9011177B2 (en) 2009-01-30 2015-04-21 Molex Incorporated High speed bypass cable assembly
KR101538806B1 (ko) * 2009-03-16 2015-07-22 타이코에이엠피(유) 차폐용 편조선의 쉘커버
US9240644B2 (en) 2012-08-22 2016-01-19 Amphenol Corporation High-frequency electrical connector
CN103972746B (zh) * 2013-01-31 2017-01-18 富士康(昆山)电脑接插件有限公司 线缆连接器组件及其线缆
US9142921B2 (en) 2013-02-27 2015-09-22 Molex Incorporated High speed bypass cable for use with backplanes
US9553381B2 (en) 2013-09-04 2017-01-24 Molex, Llc Connector system with cable by-pass
JP6182432B2 (ja) * 2013-11-11 2017-08-16 矢崎総業株式会社 電線ホルダ
JP2015139254A (ja) * 2014-01-21 2015-07-30 トヨタ自動車株式会社 接続ケーブル
CN111641083A (zh) 2014-11-12 2020-09-08 安费诺有限公司 在配合区域中具有阻抗控制的非常高速、高密度电互连系统
US10367280B2 (en) 2015-01-11 2019-07-30 Molex, Llc Wire to board connectors suitable for use in bypass routing assemblies
KR102120813B1 (ko) 2015-01-11 2020-06-17 몰렉스 엘엘씨 회로 기판 바이패스 조립체 및 그를 위한 구성요소
JP6319636B2 (ja) * 2015-01-29 2018-05-09 株式会社オートネットワーク技術研究所 通信用コネクタ
DE112016002059T5 (de) * 2015-05-04 2018-01-18 Molex, Llc Rechenvorrichtung, die eine Bypass-Einheit verwendet
ITUB20159751A1 (it) * 2015-12-30 2017-06-30 Johnson Electric Asti S R L Cablaggio con connettore integrato, particolarmente per autoveicoli.
TWI648613B (zh) 2016-01-11 2019-01-21 莫仕有限公司 路由組件及使用路由組件的系統
TWI625010B (zh) 2016-01-11 2018-05-21 Molex Llc Cable connector assembly
CN110839182B (zh) 2016-01-19 2021-11-05 莫列斯有限公司 集成路由组件以及采用集成路由组件的系统
WO2017210276A1 (en) 2016-05-31 2017-12-07 Amphenol Corporation High performance cable termination
CN107681290B (zh) * 2016-08-02 2020-10-16 东莞莫仕连接器有限公司 线缆连接器组件
JP6509177B2 (ja) 2016-10-12 2019-05-08 株式会社オートネットワーク技術研究所 コネクタ構造
JP6729272B2 (ja) 2016-10-12 2020-07-22 株式会社オートネットワーク技術研究所 コネクタ構造
JP6729273B2 (ja) 2016-10-12 2020-07-22 株式会社オートネットワーク技術研究所 コネクタ構造
JP6729274B2 (ja) 2016-10-12 2020-07-22 株式会社オートネットワーク技術研究所 コネクタ構造
CN115296060A (zh) 2016-10-19 2022-11-04 安费诺有限公司 用于电连接器的安装接口的组件及电连接器
JP6538110B2 (ja) * 2017-05-29 2019-07-03 日本航空電子工業株式会社 電線、端子付き電線、ハーネス
TWI857429B (zh) 2017-08-03 2024-10-01 美商安芬諾股份有限公司 用於低損耗互連系統的連接器及包含該連接器的電子系統
US10665973B2 (en) 2018-03-22 2020-05-26 Amphenol Corporation High density electrical connector
WO2019195319A1 (en) 2018-04-02 2019-10-10 Ardent Concepts, Inc. Controlled-impedance compliant cable termination
US10931062B2 (en) 2018-11-21 2021-02-23 Amphenol Corporation High-frequency electrical connector
JP2020102315A (ja) * 2018-12-20 2020-07-02 モレックス エルエルシー ケーブルアセンブリ、ケーブルホルダ及びケーブルアセンブリの製造方法
CN113474706B (zh) 2019-01-25 2023-08-29 富加宜(美国)有限责任公司 被配置用于线缆连接至中间板的i/o连接器
CN113557459B (zh) 2019-01-25 2023-10-20 富加宜(美国)有限责任公司 被配置用于线缆连接到中板的i/o连接器
CN113728521B (zh) 2019-02-22 2025-03-18 安费诺有限公司 高性能线缆连接器组件
JP6982587B2 (ja) * 2019-02-27 2021-12-17 矢崎総業株式会社 コネクタ
TWI888408B (zh) 2019-09-19 2025-07-01 美商安芬諾股份有限公司 電連接器及連接纜線至基板的方法
TW202534957A (zh) 2020-01-27 2025-09-01 美商Fci美國有限責任公司 高速及高密度之直接耦合垂直式連接器
WO2021154702A1 (en) 2020-01-27 2021-08-05 Fci Usa Llc High speed connector
CN113258325A (zh) 2020-01-28 2021-08-13 富加宜(美国)有限责任公司 高频中板连接器
CN112531360A (zh) * 2020-12-16 2021-03-19 长春捷翼汽车零部件有限公司 一种端子组件及其制备方法
USD1002553S1 (en) 2021-11-03 2023-10-24 Amphenol Corporation Gasket for connector

Citations (3)

* Cited by examiner, † Cited by third party
Publication number Priority date Publication date Assignee Title
JP2004039612A (ja) * 2001-12-19 2004-02-05 Molex Inc 電気コネクタ
JP2005123100A (ja) * 2003-10-20 2005-05-12 Fujikura Ltd ジョイントコネクタ
JP2005149935A (ja) * 2003-11-17 2005-06-09 Fujikura Ltd 圧接ジョイントコネクタ

Family Cites Families (17)

* Cited by examiner, † Cited by third party
Publication number Priority date Publication date Assignee Title
JP3378194B2 (ja) * 1998-05-12 2003-02-17 矢崎総業株式会社 フラットケーブル用接続コネクタ
US5980308A (en) * 1998-05-13 1999-11-09 Hu; Yu-Tung Female socket of a connector
JP3265424B2 (ja) * 1999-03-29 2002-03-11 日本航空電子工業株式会社 ケーブルコネクタ及びその結線方法
US6139363A (en) * 1999-07-09 2000-10-31 Hon Hai Precision Ind. Co., Ltd. Micro connector assembly and method of making the same
US6123582A (en) * 1999-07-12 2000-09-26 Hon Hai Precision Ind. Co., Ltd. Micro connector assembly with grounding shield
TW531942B (en) * 2001-03-15 2003-05-11 Sumitomo Wiring Systems Connector
JP3614837B2 (ja) * 2002-08-30 2005-01-26 Smk株式会社 電線接続用プラグ
JP4229755B2 (ja) * 2003-05-15 2009-02-25 株式会社ホンダロック 電気コネクタ
JP4143014B2 (ja) * 2003-09-30 2008-09-03 日本圧着端子製造株式会社 電気コネクタ
JP2006120364A (ja) 2004-10-19 2006-05-11 Matsushita Electric Works Ltd 同軸細線コネクタの製造方法
CN2766385Y (zh) * 2004-12-04 2006-03-22 富士康(昆山)电脑接插件有限公司 线缆连接器组件
JP2006236854A (ja) * 2005-02-25 2006-09-07 Matsushita Electric Works Ltd 圧接結線用コネクタ
US7347738B2 (en) * 2006-04-13 2008-03-25 Delphi Technologies, Inc. Low profile electrical connector assembly and terminal therefor
JP2009202158A (ja) * 2006-06-09 2009-09-10 Phoeton Corp レーザ溶接方法
TW200832449A (en) * 2006-10-23 2008-08-01 Sumitomo Electric Industries Coaxial cable and method for manufacturing the same
JP4665178B2 (ja) 2008-05-08 2011-04-06 学校法人日本大学 歯列マウスピース
JP5570016B2 (ja) * 2009-11-26 2014-08-13 日本圧着端子製造株式会社 フラットケーブル用コネクタ、ハーネス、及びハーネスの製造方法

Patent Citations (3)

* Cited by examiner, † Cited by third party
Publication number Priority date Publication date Assignee Title
JP2004039612A (ja) * 2001-12-19 2004-02-05 Molex Inc 電気コネクタ
JP2005123100A (ja) * 2003-10-20 2005-05-12 Fujikura Ltd ジョイントコネクタ
JP2005149935A (ja) * 2003-11-17 2005-06-09 Fujikura Ltd 圧接ジョイントコネクタ

Cited By (11)

* Cited by examiner, † Cited by third party
Publication number Priority date Publication date Assignee Title
JP2017180782A (ja) * 2016-03-31 2017-10-05 本田技研工業株式会社 自動変速機の変速制御装置
US10344850B2 (en) 2016-03-31 2019-07-09 Honda Motor Co., Ltd. Shift control apparatus of automatic transmission
US10297932B2 (en) 2016-10-12 2019-05-21 Autonetworks Technologies, Ltd. Connector structure
US10763600B2 (en) 2016-10-12 2020-09-01 Autonetworks Technologies, Ltd. Connector structure
WO2023218926A1 (ja) * 2022-05-11 2023-11-16 株式会社オートネットワーク技術研究所 コネクタ及びコネクタの製造方法
WO2023218925A1 (ja) * 2022-05-11 2023-11-16 株式会社オートネットワーク技術研究所 コネクタ及びコネクタの製造方法
JP2023167075A (ja) * 2022-05-11 2023-11-24 株式会社オートネットワーク技術研究所 コネクタ及びコネクタの製造方法
JP2023167076A (ja) * 2022-05-11 2023-11-24 株式会社オートネットワーク技術研究所 コネクタ及びコネクタの製造方法
JP7750171B2 (ja) 2022-05-11 2025-10-07 株式会社オートネットワーク技術研究所 コネクタ及びコネクタの製造方法
JP7786299B2 (ja) 2022-05-11 2025-12-16 株式会社オートネットワーク技術研究所 コネクタ及びコネクタの製造方法
JP2024153541A (ja) * 2023-04-17 2024-10-29 矢崎総業株式会社 コネクタ

Also Published As

Publication number Publication date
WO2010010883A1 (ja) 2010-01-28
EP2306601B1 (en) 2016-09-07
US20110136391A1 (en) 2011-06-09
JP5087487B2 (ja) 2012-12-05
CN102106049A (zh) 2011-06-22
CN102106049B (zh) 2015-01-14
EP2306601A1 (en) 2011-04-06
EP2306601A4 (en) 2014-01-29
US8192222B2 (en) 2012-06-05

Similar Documents

Publication Publication Date Title
JP5087487B2 (ja) コネクタ
JP5935518B2 (ja) 多芯ケーブルおよびその整線方法
JP2008108699A (ja) シールド線のアース処理構造およびアース処理方法
WO2015151904A1 (ja) 圧着端子及び圧着端子と電線の接続構造
TW200306040A (en) Terminal for coaxial connector and coaxial connector having the terminal
US11552437B2 (en) Rotary connector device and method of assembling rotary connector device
US9979167B1 (en) Device and method for splicing shielded wire cables
EP1037327A1 (en) Grounding construction and a method for manufacturing a grounding construction for a plurality of shielded cables
JP2002367714A (ja) ワイヤーハーネスおよびワイヤーハーネスの製造方法
JP5336263B2 (ja) コネクタ
WO2014200074A1 (ja) フラットケーブルの接続構造
US9203225B2 (en) Wire fixing member
JP6715636B2 (ja) ワイヤハーネスの製造方法、及び、ワイヤハーネス
CN103081250B (zh) 屏蔽电线的端部结构和端部处理方法
KR102008527B1 (ko) 차폐 케이블 어셈블리 및 이를 구비하는 커넥터 하우징 어셈블리
JP4533829B2 (ja) 接続端子
CN112969613A (zh) 线束
US6948974B2 (en) End-processing structure of flat cable and method of end-processing of flat cable
TW200306039A (en) Contact for coaxial connector and coaxial connector having the contact
JPH06176803A (ja) ワイヤーハーネス
WO2014200069A1 (ja) フラットケーブルの接続構造
JP4493574B2 (ja) 接続端子
WO2007136955A1 (en) Low profile punching connector
JP2001110543A (ja) コネクタ及びコネクタの結線方法
JP2023170102A (ja) 電線溶接方法

Legal Events

Date Code Title Description
A621 Written request for application examination

Free format text: JAPANESE INTERMEDIATE CODE: A621

Effective date: 20110527

TRDD Decision of grant or rejection written
A01 Written decision to grant a patent or to grant a registration (utility model)

Free format text: JAPANESE INTERMEDIATE CODE: A01

Effective date: 20120821

A01 Written decision to grant a patent or to grant a registration (utility model)

Free format text: JAPANESE INTERMEDIATE CODE: A01

A61 First payment of annual fees (during grant procedure)

Free format text: JAPANESE INTERMEDIATE CODE: A61

Effective date: 20120910

R150 Certificate of patent or registration of utility model

Ref document number: 5087487

Country of ref document: JP

Free format text: JAPANESE INTERMEDIATE CODE: R150

Free format text: JAPANESE INTERMEDIATE CODE: R150

FPAY Renewal fee payment (event date is renewal date of database)

Free format text: PAYMENT UNTIL: 20150914

Year of fee payment: 3

R250 Receipt of annual fees

Free format text: JAPANESE INTERMEDIATE CODE: R250

R250 Receipt of annual fees

Free format text: JAPANESE INTERMEDIATE CODE: R250

R250 Receipt of annual fees

Free format text: JAPANESE INTERMEDIATE CODE: R250

R250 Receipt of annual fees

Free format text: JAPANESE INTERMEDIATE CODE: R250

R250 Receipt of annual fees

Free format text: JAPANESE INTERMEDIATE CODE: R250

R250 Receipt of annual fees

Free format text: JAPANESE INTERMEDIATE CODE: R250

R250 Receipt of annual fees

Free format text: JAPANESE INTERMEDIATE CODE: R250

S531 Written request for registration of change of domicile

Free format text: JAPANESE INTERMEDIATE CODE: R313531

R350 Written notification of registration of transfer

Free format text: JAPANESE INTERMEDIATE CODE: R350

R250 Receipt of annual fees

Free format text: JAPANESE INTERMEDIATE CODE: R250

LAPS Cancellation because of no payment of annual fees