JP2010024926A - 潤滑油供給装置および内燃機関の潤滑システム - Google Patents

潤滑油供給装置および内燃機関の潤滑システム Download PDF

Info

Publication number
JP2010024926A
JP2010024926A JP2008186291A JP2008186291A JP2010024926A JP 2010024926 A JP2010024926 A JP 2010024926A JP 2008186291 A JP2008186291 A JP 2008186291A JP 2008186291 A JP2008186291 A JP 2008186291A JP 2010024926 A JP2010024926 A JP 2010024926A
Authority
JP
Japan
Prior art keywords
oil
lubricating oil
lubricating
pump
temperature
Prior art date
Legal status (The legal status is an assumption and is not a legal conclusion. Google has not performed a legal analysis and makes no representation as to the accuracy of the status listed.)
Granted
Application number
JP2008186291A
Other languages
English (en)
Other versions
JP5304074B2 (ja
Inventor
Kenji Iwahashi
健志 岩橋
Current Assignee (The listed assignees may be inaccurate. Google has not performed a legal analysis and makes no representation or warranty as to the accuracy of the list.)
Toyota Motor Corp
Original Assignee
Toyota Motor Corp
Priority date (The priority date is an assumption and is not a legal conclusion. Google has not performed a legal analysis and makes no representation as to the accuracy of the date listed.)
Filing date
Publication date
Application filed by Toyota Motor Corp filed Critical Toyota Motor Corp
Priority to JP2008186291A priority Critical patent/JP5304074B2/ja
Publication of JP2010024926A publication Critical patent/JP2010024926A/ja
Application granted granted Critical
Publication of JP5304074B2 publication Critical patent/JP5304074B2/ja
Expired - Fee Related legal-status Critical Current
Anticipated expiration legal-status Critical

Links

Images

Landscapes

  • Lubrication Of Internal Combustion Engines (AREA)

Abstract

【課題】ポンプ機構を利用して内燃機関の暖機時に潤滑油の早期暖機を図ることができ、ポンプ機構の使用性を向上させることができる潤滑油供給装置および内燃機関の潤滑システムを提供すること。
【解決手段】エンジン1のピストン等の潤滑部に潤滑油を供給することにより、潤滑部を潤滑するようにしたエンジン1の潤滑油供給装置において、潤滑油の吐出流量を少なくとも大容量と小容量の2段階に変更可能な大容量オイルポンプ12および小容量オイルポンプ13を備えたポンプ機構10と、ポンプ機構10から吐出される潤滑油を潤滑部に供給するオイル搬送パイプ17と、ポンプ機構10に供給される潤滑油の温度およびピストン5の温度に基づいて、ポンプ機構10を大容量オイルポンプ12と小容量オイルポンプ13との間で切換えるECU100とを備えている。
【選択図】図2

Description

本発明は、潤滑油供給装置および内燃機関の潤滑システムに関し、特に、内燃機関の潤滑部に潤滑油を供給することにより、潤滑部の潤滑を行うことができる潤滑油供給装置および内燃機関の潤滑システムに関する。
自動車等の車両に設けられた内燃機関としてのエンジンには、オイルパン内に貯留された潤滑油をオイルポンプによって吸入圧送し、ピストンとシリンダ壁面の間、吸・排気カムシャフトやクランクシャフトの軸受部等の潤滑部に供給し、これら潤滑部の潤滑および冷却を行うことにより、これら潤滑部の焼き付け等が発生するのを防止するようにしている。
潤滑部に潤滑油を供給するオイルポンプとしては、エンジンを駆動源とするオイルポンプがあり、図10に示すように、エンジンの回転数に略比例する油圧に応じた吐出流量の潤滑油を潤滑部に供給するようになっている。
このため、エンジンの高回転・高負荷運転領域に潤滑部を十分に潤滑することができる吐出流量になるようにオイルポンプの性能を設定すると、エンジンの低回転・低負荷運転領域に必要以上の潤滑油が潤滑部に供給されて潤滑部の摺動抵抗(フリクション)が増大して燃費が悪化してしまう事態を招くことがある。
このような不具合が発生するのを防止するために、小容量の潤滑油を吐出する小容量オイルポンプと、大容量の潤滑油を吐出する大容量オイルポンプとを有するポンプ機構を備えたものがある(例えば、特許文献1参照)。
このポンプ機構を使用すれば、低速・低負荷運転領域では、小容量オイルポンプを使用して潤滑部に供給される潤滑油を必要最低限の量に設定することができ、潤滑部の摺動抵抗を低減させて燃費が悪化するのを防止することができる。また、低速・低負荷運転領域以外の運転領域では、大容量オイルポンプを使用して潤滑部に十分な量の潤滑油を供給することができ、潤滑部の焼き付けを防止することができる。
特開2005−233100号公報
しかしながら、このような従来のオイルポンプにあっては、低速・低負荷運転領域に小容量オイルポンプを使用して潤滑部に供給される潤滑油を必要最低限の量に設定するためにポンプ機構を使用しているだけであり、ポンプ機構の使用性が低かった。
例えば、暖機運転時に潤滑油の早期暖機を促すようにポンプ機構を使用していないので、エンジンの暖機の終了後に温度が低く粘度が高い潤滑油が潤滑部に供給されることがあり、潤滑部の摺動抵抗が増大して燃費が悪化してしまうことが考えられる。
本発明は、上述のような従来の問題を解決するためになされたもので、ポンプ機構を利用して内燃機関の暖機時に潤滑油の早期暖機を図ることができ、ポンプ機構の使用性を向上させることができる潤滑油供給装置および内燃機関の潤滑システムを提供することを目的とする。
本発明に係る潤滑油供給装置は、上記目的を達成するため、(1)内燃機関の潤滑部に潤滑油を供給することにより、前記潤滑部を潤滑するようにした内燃機関の潤滑油供給装置において、潤滑油の吐出流量を少なくとも大容量と小容量の2段階に変更可能なポンプ機構と、前記ポンプ機構から吐出される潤滑油を前記潤滑部に供給する潤滑油供給手段と、前記ポンプ機構に供給される潤滑油の温度を検出する潤滑油温度検出手段と、前記潤滑部の温度を検出する潤滑部温度検出手段と、前記潤滑油温度検出手段および前記潤滑部温度検出手段からの検出情報に基づいて、前記ポンプ機構を大容量と小容量との間で切換えるポンプ機構制御手段とを備えたものから構成されている。
この構成により、潤滑油の温度と潤滑部の温度とに基づいてポンプ機構を大容量と小容量との間で切換えるようにしたので、例えば、暖機運転時に、潤滑油の温度が暖機温度未満の場合には、ポンプ機構を小容量に切換えることにより、潤滑部に供給される潤滑油の量を少なくすることができる。
このため、少ない量の潤滑油と潤滑部との間で熱交換が行われることにより、潤滑油の早期暖機を促すことができ、潤滑油の粘度を低くすることができる。このため、低回転・低負荷運転領域に摺動部の摺動抵抗を低減させて、燃費が悪化するのを防止することができる。
また、暖機運転時には、ポンプ機構を小容量に切換えることにより、潤滑部に供給される潤滑油の量を少なくすることができるため、内燃機関の暖機を早くすることができ、シリンダ内壁の温度を高くして燃焼室に噴射される燃料の燃焼を促して、燃料が潤滑油に混合して潤滑油が希釈され難くすることができる。このため、潤滑部の潤滑性能が低下するのを防止することができる。
また、潤滑油の温度にかかわらず、潤滑部の温度が高温の場合には、ポンプ機構を大容量に切換えることにより、潤滑部に供給される潤滑油の量を多くして潤滑部を十分に潤滑および冷却することができ、潤滑部の焼き付けが発生するのを防止することができる。
本発明に係る内燃機関の潤滑システムは、上記目的を達成するため、(2)(1)に記載の潤滑油供給装置を備えた内燃機関の潤滑システムであって、冷却水を前記内燃機関と熱交換器との間で循環させる冷却水循環回路と、前記冷却水循環回路上に設けられ、前記冷却水を前記冷却水循環回路上で循環させる冷却水ポンプと、前記内燃機関の冷却水の温度を検出する水温検出手段と、前記水温検出手段の検出情報に基づいて前記冷却水ポンプを制御する冷却水ポンプ制御手段とを設け、前記ポンプ機構制御手段が、前記水温検出手段、前記潤滑油温度検出手段および前記潤滑部温度検出手段の検出情報に基づいて前記ポンプ機構を制御するものから構成されている。
この構成により、潤滑油の温度と潤滑部の温度とに加えて、内燃機関の冷却水の温度に基づいて冷却水ポンプの制御を行うとともに、ポンプ機構を大容量と小容量との間で切換えるようにしたので、例えば、冷却水が暖機温度に達するまでは、ポンプ機構を小容量に切換えて潤滑部に供給される潤滑油の量を少なくするとともに、冷却水ポンプを作動して冷却水を冷却水循環回路内で循環させることにより、内燃機関の早期暖機を促しながら冷却水の暖機を潤滑油の暖機に優先して行う。
そして、冷却水が暖機温度に到達したときに、冷却水に比べて温度上昇の遅い潤滑油の温度が暖機温度未満の場合には、冷却水ポンプの作動を停止して、熱交換器を通して冷却水の熱の放出を停止するとともに、ポンプ機構を大容量に切換えて潤滑部に供給される潤滑油の量を多くし、暖機温度に達した冷却水の熱を利用して潤滑油の暖機を行う。このため、暖機された冷却水を有効利用することができるため、大容量に切換えられたポンプ機構から吐出される大容量の潤滑油を暖機することができ、潤滑油の暖機をより早く行うことができる。
また、冷却水が暖機温度に到達したときに、冷却水ポンプの作動を停止することにより、熱交換器を通して冷却水の熱の放出を停止することができるため、熱交換器からの熱損失を最小限にすることができ、暖機が終了した高温の冷却水を有効利用することができる。
本発明によれば、ポンプ機構を利用して内燃機関の暖機時に潤滑油の早期暖機を図ることができ、ポンプ機構の使用性を向上させることができる潤滑油供給装置および内燃機関の潤滑システムを提供することができる。
以下、本発明に係る潤滑油供給装置および内燃機関の潤滑システムの実施の形態について、図面を用いて説明する。
(第1の実施の形態)
図1〜図7は、本発明に係る潤滑油供給装置および内燃機関の潤滑システムの第1の実施の形態を示す図であり、潤滑油供給装置を備えた内燃機関の潤滑システムを示す図である。
まず、構成を説明する。
図1において、内燃機関としてのエンジン1は、シリンダブロックおよびシリンダヘッドからなるエンジンブロック2と、オイルパン3と、潤滑機構4とを備えている。
エンジンブロック2には、ピストン5、クランクシャフト6、図示しない吸気カムシャフト、排気カムシャフト、吸気カム、排気カム等の複数の潤滑部が配置されており、エンジンブロック2の下端部にはエンジンブロック2内の潤滑のための潤滑油を貯留可能なオイルパン3が取付けられている。
潤滑機構4は、潤滑油供給手段を構成しており、オイルパン3内に貯留されている潤滑油を潤滑部に供給するようになっている。オイルパン3にはオイルパン3に貯留された潤滑油を吸い込むための吸込口9aを有するオイルストレーナ9が設けられており、このオイルストレーナ9は、エンジンブロック2に設けられた後述するポンプ機構10にストレーナパイプ11によって接続されている。
ポンプ機構10は、図2に示す大容量オイルポンプ12および小容量オイルポンプ13からなる2ステージオイルポンプから構成されており、エンジン1のクランクシャフト6と共に回転するようにクランクシャフト6に結合されている。
ストレーナパイプ11の下端は、オイルストレーナ9に接続されており、ストレーナパイプ11の上端は、エンジンブロック2の下端部に形成されたオイル通路であるポンプ入口パイプ15に接続されている。
また、大容量オイルポンプ12および小容量オイルポンプ13は、エンジンブロック2の外部に設けられたオイルフィルター16にオイル搬送パイプ17を介して接続されており、オイルフィルター16は、上述した潤滑部に向かうオイル流路として設けられたオイル供給パイプ18に接続されている。
本実施の形態では、オイルフィルター16、オイル搬送パイプ17およびオイル供給パイプ18が潤滑機構4を構成している。
次に、図2に基づいてポンプ機構10を説明する。
図2において、大容量オイルポンプ12は、吐出流量Q1に設定されているとともに、小容量オイルポンプ13は、吐出流量Q1よりも少ない吐出流量Q2に設定されており、エンジン1、すなわち、クランクシャフト6に共通の駆動軸19を介して接続されている。
また、大容量オイルポンプ12および小容量オイルポンプ13は、エンジン1の回転数(rpm)に略比例した流量の潤滑油を吐出する固定容量オイルポンプである。なお、クランクシャフト6には図示しないタイミングベルトを介して吸気カムシャフトおよび排気カムシャフトが接続されている。
また、ポンプ機構10には、大容量オイルポンプ12および小容量オイルポンプ13を中心として種々の油路が形成されている。
具体的には、大容量オイルポンプ12側には、ポンプ入口パイプ15が設けられており、このポンプ入口パイプ15は、ストレーナパイプ11およびオイルストレーナ9を介してオイルパン3に連通している。このため、大容量オイルポンプ12は、オイルパン3から潤滑油を吸い込むことができる。
また、大容量オイルポンプ12側には第1吐出パイプ21が設けられており、この第1吐出パイプ21は、第1逆止弁22を介してオイル搬送パイプ17に接続されている。ここで、第1逆止弁22は、第1吐出パイプ21とオイル搬送パイプ17とを連通させるポート22aと、このポート22aを開閉する弁体22bと、この弁体22bを閉弁方向に付勢する図示しない弾性部材とを備えている。
この第1逆止弁22の弁体22bには、第1吐出パイプ21の油圧に対応した押圧力が作用する一方、その反対方向(ここでは図2中、下方)に向けて弾性部材の付勢力とオイル搬送パイプ17の油圧に対応した押圧力とが作用する。このため、弁体22bに加わる双方向の力の大小関係に応じて、弁体22bによるポート22aの開閉動作が制御される。
例えば、後述する第1切換弁24が閉弁状態のときには、第1吐出パイプ21の油圧が上昇し、この油圧に対応した押圧力の方が弾性部材の付勢力とオイル搬送パイプ17の油圧に対応した押圧力との合力よりも大きくなるため、弁体22bがポート22aを開放する方向(ここでは図2中、上方)に移動するので、第1逆止弁22が開弁状態となり、大容量オイルポンプ12から第1吐出パイプ21に吐出された潤滑油がオイル搬送パイプ17に流入して、各オイル供給パイプ18に供給される。
小容量オイルポンプ13側には、第1吸込パイプ25が設けられているとともに、第1 吸込パイプ25に連通する第2吸込パイプ26が設けられており、第2吸込パイプ26は、ストレーナパイプ11に接続されている。このため、小容量オイルポンプ13は、オイルパン3から潤滑油を吸い込むことができる。
また、小容量オイルポンプ13側には第1吐出パイプ27が接続されており、この第1吐出パイプ27には第2吐出パイプ28が接続されている。このため、小容量オイルポンプ13から吐出された潤滑油は、オイル搬送パイプ17を介して各オイル供給パイプ18に供給されるようになっている。
ここで、第1吐出パイプ27と第2吐出パイプ28との間には、第2逆止弁29が接続されている。この第2逆止弁29は、第1吐出パイプ27と第2吐出パイプ28との間の連通状態を夫々の油圧により制御する制御弁であって、第1逆止弁22と同様にポート29a、弁体29bおよび図示しない弾性部材を備えている。
この第2逆止弁29の弁体29bには、第1吐出パイプ27の油圧に対応した押圧力が作用する一方、その反対方向(ここでは図2中、下方)に向けて弾性部材の付勢力と第2吐出パイプ28の油圧に対応した押圧力とが作用するようになっており、弁体29bに加わる双方向の力の大小関係に応じて、第1吐出パイプ27と第2吐出パイプ28との間の連通状態が制御される。
また、第1吸込パイプ25と第2吸込パイプ26との間には、第3逆止弁30が接続されている。この第3逆止弁30は、第1吸込パイプ25と第2吸込パイプ26との間の連通状態を夫々の油圧により制御する制御弁であって、第1逆止弁22および第2逆止弁29と同様にポート30a、弁体30bおよび図示しない弾性部材を備えている。
この第3逆止弁30の弁体30bには、第2吸込パイプ26の油圧に対応した押圧力が作用する一方、その反対方向(ここでは図2中、下方)に向けて弾性部材の付勢力と第1吸込パイプ25の油圧に対応した押圧力とが作用するようになっており、弁体30bに加わる双方向の力の大小関係に応じて、第1吸込パイプ25と第2吸込パイプ26との間の連通状態が制御される。
また、小容量オイルポンプ13側には、第2吸込パイプ26と第1吐出パイプ27とを連通させるドレーンパイプ31が設けられており、このドレーンパイプ31は、小容量オイルポンプ13から第1吐出パイプ27に吐出された潤滑油を第2吸込パイプ26にドレーンさせるものである。また、ドレーンパイプ31には、ドレーンパイプ31の流路の開閉状態を開位置と閉位置との間で切換える第2切換弁33が設けられている。
また、ポンプ機構10には、大容量オイルポンプ12側の第1吐出パイプ21と小容量オイルポンプ13側の第1吸込パイプ25との間をバイパスさせるバイパスパイプ32と、このバイパスパイプ32の流路の開閉状態を開位置と閉位置との間で切換える第1切換弁24とが設けられている。
本実施の形態のポンプ機構10は、第1切換弁24および第2切換弁33の開閉状態を適宜切換えることによって、オイル搬送パイプ17に吐出される潤滑油の流量を大容量および小容量の間で切換えるようになっている。
具体的には、図3に示すように、第1切換弁24を開弁状態にするとともに、第2切換弁33を閉弁状態にすることにより、小容量オイルポンプ13から吐出流量Q2の潤滑油を吐出し、図4に示すように、第1切換弁24を閉弁状態にするとともに、第2切換弁33を開弁状態にすることにより、大容量オイルポンプ12から吐出流量Q1の潤滑油を吐出するようになっている。この第1切換弁24および第2切換弁33は、ECU(Engine Control Unit)100によって切換制御が行われる。なお、切換制御は後述する。
一方、図1において、エンジンブロック2のピストン5は、詳述しないが、エンジンブロック2のシリンダブロックに設けられたシリンダに摺動自在に設けられており、直列4気筒エンジンであれば、このシリンダは、4つ設けられている。
このシリンダには冷却水が流通するウォータージャケット41が設けられており、このウォータージャケット41によってピストン5とシリンダが冷却されるようになっている。また、エンジンブロック2のシリンダヘッドにもシリンダの燃焼室から排気ガスを排気する排気ポートを冷却するためのウォータージャケット等が設けられている。
すなわち、エンジン1内には、冷却水を循環させるウォータージャケット41等の冷却水循環回路が設けられている。なお、本実施の形態では、エンジン1内に設けられた冷却水循環回路としてウォータージャケット41を代表して説明する。
このウォータージャケット41は、アッパーパイプ42およびロアパイプ43を介して熱交換器としてのラジエータ44に接続されている。また、ロアパイプ43にはウォーターポンプ45が設けられており、このウォーターポンプ45を駆動することにより、ウォータージャケット41とラジエータ44の間でアッパーパイプ42およびロアパイプ43を介して冷却水が循環されるようになっている。
また、アッパーパイプ42およびロアパイプ43の間にはバイパスパイプ46が介装されており、このバイパスパイプ46とアッパーパイプ42の分岐部分にはサーモスタット47が設けられている。なお、アッパーパイプ42、ロアパイプ43およびバイパスパイプ46は、ウォータージャケット41と共に冷却水循環回路を構成している。
このサーモスタット47は、ウォータージャケット41から戻される冷却水の温度を検出し、この冷却水の温度が所定温度(例えば、暖機温度である80℃)未満のときには、アッパーパイプ42をバイパスパイプ46に連通して冷却水をロアパイプ43からウォータージャケット41に供給する。
このとき、ウォーターポンプ45が駆動されることにより、ウォータージャケット41、アッパーパイプ42、バイパスパイプ46およびロアパイプ43を介して冷却水が内部循環されるようになっている。
また、サーモスタット47は、ウォータージャケット41から戻される冷却水の温度が所定温度(例えば、暖機温度である80℃)以上のときには、アッパーパイプ42をラジエータ44側に連通する状態にして冷却水をラジエータ44で冷却した後、ロアパイプ43からウォータージャケット41に供給するようになっている。
また、図1、図5に示すように、オイルパン3には潤滑油温度検出手段としての油温検出センサ101が設けられており、この油温検出センサ101はオイルパン3の潤滑油の温度を検出するようになっている。油温検出センサ101からの検出情報は、ECU100に出力されるようになっており、ECU100は、この油温検出センサ101からの検出情報に基づいてポンプ機構10に供給される潤滑油の温度を検出することができる。
また、図5に示すように、ECU100には、エンジン回転数検出センサ102および冷却水温検出センサ103が接続されている。エンジン回転数検出センサ102は、クランクシャフト6の回転数を検出するようになっており、ECU100は、エンジン回転数検出センサ102の検出情報に基づいて1分間当りのエンジン回転数(rpm)を算出するようになっている。
また、冷却水温検出センサ103は、ウォータージャケット41を流れる冷却水の温度を検出するようになっており、ECU100は、冷却水温検出センサ103からの検出情報に基づいてエンジン1の暖機状態(冷間状態や暖機終了)を判別するようになっている。
ECU100は、CPU(Central Processing Unit)、RAM(Random Access Memory)、ROM(Read Only Memory)、大容量のメモリ等を含んで構成されており、エンジン1の制御を行う公知のコンピュータである。
また、ECU100のメモリには、エンジン回転数とエンジン冷却水とに対応するマップが記憶されており、ECU100は、エンジン回転数検出センサ102および冷却水温検出センサ103の検出情報とマップとに基づいてエンジン1の運転状態を判別するとともに、潤滑部を代表してピストン5の温度を推定することで、ピストン5の温度を検出するようになっている。
例えば、エンジン回転数が低回転で冷却水温が低温の場合には、エンジン1の運転状態が低速・低負荷運転領域であり、ピストン5の温度が低いものと判断し、エンジン回転数が低回転で冷却水温が高温の場合には、エンジン1の運転状態が低速・高負荷運転領域であり、ピストン5の温度が高いものと判断する。
本実施の形態では、ECU100、油温検出センサ101および冷却水温検出センサ103が潤滑部温度検出手段を構成している。
また、本実施の形態では、ECU100が、油温検出センサ101、エンジン回転数検出センサ102および冷却水温検出センサ103からの検出情報に基づいてポンプ機構10の切換弁24、33を切換制御することで、大容量オイルポンプ12と小容量オイルポンプ13との間で潤滑油の吐出容量を切換えるようになっており、ECU100が、ポンプ機構制御手段を構成している。
また、本実施の形態では、潤滑機構4、ポンプ機構10、ECU100、油温検出センサ101、エンジン回転数検出センサ102、冷却水温検出センサ103が潤滑油供給装置を構成している。
次に、図6に示すフローチャートに基づいて潤滑油の暖機制御を説明する。なお、図6のフローチャートは、ECU100のROMに格納された暖機制御プログラムの実行内容を示したものであり、この暖機制御プログラムは、CPUによって実行される。
図6において、まず、ECU100は、エンジン1が始動時であるか否かを判別する(ステップS1)。ECU100は、図示しないスタータモータの作動を検出するスタータスイッチがオン状態またはスタータスイッチがオンからオフに切換わってから所定時間未満であるものと判断した場合には、エンジン1が始動時であるものと判断して、ポンプ機構10を小容量オイルポンプ13に切換えて小容量オイルポンプ13によって吐出流量Q2で小容量オイルポンプ13から潤滑油を吐出する(ステップS5)。
このとき、ECU100は、図3に示すように、第1切換弁24を開弁状態にするとともに、第2切換弁33を閉弁状態に切換えるので、オイルパン3から大容量オイルポンプ12によって吸い込まれた潤滑油は、第1吐出パイプ21からバイパスパイプ32を介して小容量オイルポンプ13に供給される。
また、このときには、小容量オイルポンプ13の第1吸込パイプ25には油圧の大容量オイルポンプ12の吐出油の油圧が加わるので、オイルパン3から直接オイルを吸い込む場合と比べて小容量オイルポンプ13が潤滑油を効率良く吸い込むことができる。
そして、小容量オイルポンプ13から第1吐出パイプ27、第2吐出パイプ28およびオイル搬送パイプ17を介して各オイル供給パイプ18に吐出流量Q2の潤滑油が供給される。このため、各オイル供給パイプ18を介してピストン5、クランクシャフト6、吸気カムシャフト、排気カムシャフト、吸気カム、排気カム等の複数の潤滑部が小容量の潤滑油で潤滑される。
次いで、ECU100は、油温検出センサ101からの検出情報に基づいて、潤滑油の温度が暖機温度である80℃未満であるか否かを判別し(ステップS2)、潤滑油の温度が80℃未満であるものと判断した場合には、ステップS5に処理を移す。
また、ECU100は、潤滑油の温度が80℃以上であるものと判断した場合には、エンジン回転数検出センサ102および冷却水温検出センサ103の検出情報とメモリに記憶された上述したマップとに基づいてエンジン1の運転状態を判別することにより、ピストン5の温度が所定温度未満であるか否かを判別する(ステップS3)。
ECU100は、エンジン回転数が例えば、アイドル回転数(例えば、400rpm)未満で、冷却水温が80℃未満である場合に、マップと比較した結果、エンジン1の運転状態が低回転・低負荷領域であり、ピストン5の温度が低いものと判断し、ポンプ機構10を小容量オイルポンプ13に切換えて(ステップS5)、潤滑油の早期暖機を行う。
また、ECU100は、エンジン回転数が例えば、アイドル回転数(例えば、400rpm)以上で、冷却水温が80℃以上である場合に、マップと比較した結果、エンジン1の運転状態が低回転・低負荷領域以外の領域であり、ピストン5の温度が高いものと判断し、ポンプ機構10を大容量オイルポンプ12に切換える(ステップS4)。
このとき、ECU100は、図4に示すように、第1切換弁24を閉弁状態にするとともに、第2切換弁33を開弁状態に切換えるので、オイルパン3から小容量オイルポンプ13によって吸い込まれた潤滑油は、ドレーンパイプ31を介してオイルパン3に戻される。
そして、大容量オイルポンプ12から第1吐出パイプ21およびオイル搬送パイプ17を介して各オイル供給パイプ18に吐出流量Q1の潤滑油が供給される。このため、各オイル供給パイプ18を介してピストン5、クランクシャフト6、吸気カムシャフト、排気カムシャフト、吸気カムおよび排気カム等の複数の潤滑部が大容量の潤滑油で潤滑される。
このように本実施の形態では、潤滑油の温度と潤滑部であるピストン5の温度とに基づいてポンプ機構10を大容量オイルポンプ12と小容量オイルポンプ13との間で切換えるようにしたので、ピストン5の温度が低い暖機運転時に、潤滑油の温度が80℃未満の場合には、ポンプ機構10を小容量オイルポンプ13に切換えることにより、図7にX1で示すように、エンジン1の低負荷・低回転運転領域において、ピストン5等の潤滑部に供給される潤滑油の量を少なくすることができる。なお、破線で示すXは従来のオイルポンプによる潤滑油の吐出流量を示すものである。
このため、少ない量の潤滑油と潤滑部との間で熱交換が行われることにより、潤滑油の早期暖機を促すことができ、潤滑油の粘度を低くすることができる。このため、ピストン5とシリンダ内壁との摺動抵抗、クランクシャフト6、吸気カムシャフト、排気カムシャフト、吸気カムおよび排気カムの回転時の摺動抵抗を低くして、燃費が悪化するのを防止することができる。
また、暖機運転時には、ポンプ機構10を小容量オイルポンプ13に切換えることにより、ピストン5に供給される潤滑油の量を少なくすることができるため、エンジン1の暖機を早くすることができ、シリンダ内壁の温度を高くして燃焼室に噴射される燃料の燃焼を促して、燃料が潤滑油に混合して潤滑油が希釈され難くすることができる。このため、潤滑部の潤滑性能が低下するのを防止することができる。
また、潤滑油の温度にかかわらず、ピストン5の温度が高いエンジン1の低回転・低負荷運転領域以外の領域においては、ポンプ機構10を大容量オイルポンプ12に切換えることにより、図7のX2で示すように、潤滑部に供給される潤滑油の量を多くすることができ、ピストン5を十分に潤滑および冷却することができる。
なお、本実施の形態では、ポンプ機構10が大容量オイルポンプ12と小容量オイルポンプ13とを有し、2段階で潤滑油の吐出流量を可変させているが、潤滑油の吐出流量をQ1+Q2、Q1、Q2、Q1−Q2の4段階、Q1+Q2、Q1、Q2の3段階、Q1、Q2、Q1−Q2の3段階で切換えることができるポンプ機構を設けてもよい。
(第2の実施の形態)
図8は、本発明に係る潤滑油供給装置および内燃機関の潤滑システムの第2の実施の形態を示す図であり、潤滑システムのハード構成は、第1の実施の形態と同様であるため、第1の実施の形態の図面を用いて説明を行う。
本実施の形態では、ウォータージャケット41、アッパーパイプ42、ロアパイプ43およびバイパスパイプ46が冷却水循環回路を構成しており、ウォーターポンプ45が、冷却水をウォータージャケット41、アッパーパイプ42、ロアパイプ43およびバイパスパイプ46の間で循環させる冷却水ポンプを構成している。また、冷却水温検出センサ103が、エンジン1の冷却水の温度を検出する水温検出手段を構成している。
また、ECU100は、冷却水温検出センサ103からの検出情報に基づいてウォーターポンプ45をON/OFF制御するようになっており、冷却水ポンプ制御手段を構成している。また、本実施の形態では、潤滑油供給装置、冷却水循環回路、ウォーターポンプ45、ECU100が潤滑システムを構成している。
また、ECU100は、油温検出センサ101および冷却水温検出センサ103の検出情報と、エンジン回転数検出センサ102および冷却水温検出センサ103の検出情報とマップを参照して検出されたピストン5の温度情報とに基づいてポンプ機構10の大容量オイルポンプ12および小容量オイルポンプ13の切換え制御を行うようになっている。
次に、図8に示すフローチャートに基づいて潤滑油の暖機制御を説明する。なお、図8のフローチャートは、ECU100のROMに格納された暖機制御プログラムの実行内容を示すものであり、この暖機制御プログラムは、CPUによって実行される。
図8において、エンジン1が始動時であるか否かを判別する(ステップS11)。ECU100は、図示しないスタータモータの作動を検出するスタータスイッチがオン状態またはスタータスイッチがオンからオフに切換わってから所定時間未満であるものと判断した場合には、エンジン1が始動時であるものと判断して、ポンプ機構10を小容量オイルポンプ13に切換えて小容量オイルポンプ13によって吐出流量Q2で小容量オイルポンプ13から潤滑油を吐出する(ステップS18)。
このとき、ECU100は、図3に示すように、第1切換弁24を開弁状態にするとともに、第2切換弁33を閉弁状態に切換えるので、オイルパン3から大容量オイルポンプ12によって吸い込まれた潤滑油は、第1吐出パイプ21からバイパスパイプ32を介して小容量オイルポンプ13に供給される。
そして、小容量オイルポンプ13から第1吐出パイプ27、第2吐出パイプ28およびオイル搬送パイプ17を介して各オイル供給パイプ18に吐出流量Q2の潤滑油が供給される。このため、各オイル供給パイプ18を介してピストン5、クランクシャフト6、吸気カムシャフト、排気カムシャフト、吸気カムおよび排気カム等の複数の潤滑部が小容量の潤滑油で潤滑される。
次いで、ECU100は、冷却水温検出センサ103からの検出情報に基づいて、ウォータージャケット41を流れる冷却水の温度が80℃未満であるか否かを判別し(ステップS12)、冷却水の温度が80℃未満であるものと判断した場合には、ステップS18に処理を移す。
なお、サーモスタット47が作動する冷却水の温度は、80℃に設定されており、冷却水の温度が80℃未満の場合には、サーモスタット47がアッパーパイプ42とバイパスパイプ46を連通する位置に切換えられるので、冷却水はラジエータ44を通らずにウォーターポンプ45によって内部循環することになる。
また、ECU100は、冷却水温検出センサ103からの検出情報に基づいて、ウォータージャケット41を流れる冷却水の温度が80℃以上であるものと判断した場合には、エンジン回転数検出センサ102および冷却水温検出センサ103の検出情報とメモリに記憶された上述したマップとに基づいてエンジン1の運転状態を判別することにより、ピストン5の温度が所定温度未満であるか否かを判別する(ステップS13)。
ECU100は、エンジン回転数が例えば、アイドル回転数(例えば、400rpm)未満で、冷却水温が暖機温度(例えば、80℃)未満である場合に、マップと比較した結果、エンジン1の運転状態が低回転・低負荷領域であり、ピストン5の温度が低いものと判断してステップS18に処理を移す。このため、潤滑部に供給される潤滑油は、少量となり、潤滑部を早期に冷却する量にはならないため、冷却水の暖機が促される。
また、ECU100は、エンジン回転数が例えば、アイドル回転数(例えば、400rpm)以上で、冷却水温が80℃以上である場合に、マップと比較した結果、エンジン1の運転状態が低回転・低負荷領域以外の領域であり、ピストン5の温度が高いものと判断し、ウォーターポンプ45の駆動を停止するとともに、ポンプ機構10を大容量オイルポンプ12に切換える(ステップS14)。
このとき、ECU100は、図4に示すように、第1切換弁24を閉弁状態にするとともに、第2切換弁33を開弁状態に切換えるので、オイルパン3から小容量オイルポンプ13によって吸い込まれた潤滑油は、ドレーンパイプ31を介してオイルパン3に戻される。
そして、大容量オイルポンプ12から第1吐出パイプ21およびオイル搬送パイプ17を介して各オイル供給パイプ18に吐出流量Q1の潤滑油が供給される。このため、各オイル供給パイプ18を介してピストン5、クランクシャフト6、吸気カムシャフト、排気カムシャフト、吸気カムおよび排気カム等の複数の潤滑部が大容量の潤滑油で潤滑される。
ここで、冷却水の温度は80℃以上となるため、サーモスタット47は、アッパーパイプ42とラジエータ44とを連通する位置に切換えられるが、ウォーターポンプ45が停止状態となるため、冷却水の循環が行われない。
次いで、潤滑油のECU100は、油温検出センサ101からの検出情報に基づいて、潤滑油の温度が80℃未満であるか否かを判別し(ステップS15)、潤滑油の温度が80℃未満であるものと判断した場合には、ステップS16に処理を移す。このとき、暖機された冷却水によって大容量オイルポンプ12から吐出される大容量の潤滑油の暖機が早期に促されることになる。
また、ECU100は、潤滑油の温度が80℃以上であるものと判断した場合には、ステップS14に処理を戻す。ステップS16では、ECU100は、エンジン回転数検出センサ102および冷却水温検出センサ103の検出情報とメモリに記憶された上述したマップとに基づいてエンジン1の運転状態を判別することにより、ピストン5の温度が所定温度未満であるか否かを判別する(ステップS16)。
ECU100は、エンジン回転数と冷却水温とに基づいてピストン5の温度が所定温度未満であるものと判断した場合には、ステップS14に処理を移し、エンジン回転数と冷却水温とに基づいてピストン5の温度が所定温度以上であるものと判断した場合には、ステップS17に進む。
ステップS17では、ECU100は、通常の制御として、ウォーターポンプ45を作動してラジエータ44を通して冷却水を循環させることにより、冷却水を冷却して、ウォータージャケット41等の冷却水回路に供給し、ピストン5等の潤滑部の冷却を行う。
このように本実施の形態では、潤滑油の温度と潤滑部の温度とに加えて、エンジン1を冷却する冷却水の温度に基づいてウォーターポンプ45の制御を行うとともに、ポンプ機構10を大容量オイルポンプ12と小容量オイルポンプ13との間で切換えるようにしたので、冷却水が暖機温度である80℃に達するまでは、ポンプ機構10を小容量オイルポンプ13に切換えて潤滑部に供給される潤滑油の量を少なくするとともに、ウォーターポンプ45を作動して冷却水をアッパーパイプ42、ロアパイプ43、バイパスパイプ46およびウォータージャケット41内で循環させることにより、エンジン1の早期暖機を促しながら冷却水の暖機を潤滑油の暖機に優先して行うことができる。
そして、冷却水が暖機温度に到達したときに、冷却水に比べて温度上昇の遅い潤滑油の温度が暖機温度である80℃未満の場合には、ウォーターポンプ45の作動を停止して、ラジエータ44を通して冷却水の熱が放出されないようにするとともに、ポンプ機構を大容量オイルポンプ12に切換えて潤滑部に供給される潤滑油の量を多くし、暖機温度に達した冷却水の熱を利用して潤滑油の暖機を行うことができる。このため、暖機された冷却水を有効利用することができるため、大容量オイルポンプ12から吐出される大容量の潤滑油を暖機することができ、潤滑油の暖機をより早く行うことができる。
また、冷却水が暖機温度に到達したときに、ウォーターポンプ45の作動を停止することにより、ラジエータ44を通して冷却水の熱の放出を停止することができるため、ラジエータ44からの熱損失を最小限にすることができ、暖機が終了した高温の冷却水を有効利用することができる。
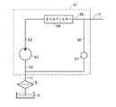
なお、本実施の形態のポンプ機構10は、大容量オイルポンプ12および小容量オイルポンプ13の2つのオイルポンプを備えたものから構成しているが、これに限らず、図9に示すような構造のものであってもよい。
図9において、ポンプ機構51は、クランクシャフト6によって回転駆動されるオイルポンプ52と、オイルポンプ52のオイル吐出口に連結された第1オイル吐出パイプ53と、第1オイル吐出パイプ53に接続されたオイルフィルター54と、一端部がオイルフィルター54に接続され、他端部がオイル搬送パイプ17に接続された第2オイル吐出パイプ55と、一端部が第2オイル吐出パイプ55に接続され、他端部がストレーナパイプ11に接続されたオイル戻しパイプ56と、オイル戻しパイプ56上に設けられ、オイル戻しパイプ56の流路を開閉するオイルシャットバルブ57とを備えている。
このようなポンプ機構51にあっては、小容量の潤滑油をピストン5等の潤滑部に供給する場合には、オイルシャットバルブ57を解放してオイルポンプ52から第1オイル吐出パイプ53および第2オイル吐出パイプ55を通して吐出されるオイルの一部をオイル戻しパイプ56からオイルパン3に戻すことにより、図7のX1で示すように、ピストン5の温度が低いエンジン1の低負荷・低回転運転領域において、ピストン5やクランクシャフト6、吸気カムシャフト、排気カムシャフト、吸気カムおよび排気カム等の複数の潤滑部に供給される潤滑油の量を少なくすることができる。
また、大容量の潤滑油をピストン5等の潤滑部に供給する場合には、オイルシャットバルブ57を閉塞してオイルポンプ52から第1オイル吐出パイプ53および第2オイル吐出パイプ55を通して吐出される全てのオイルを、オイル搬送パイプ17を通して潤滑部に供給することにより、図7のX2で示すように、ピストン5の温度が高いエンジン1の低回転・低負荷運転領域以外の領域において、潤滑部に供給される潤滑油の量を多くすることができ、ピストン5を十分に潤滑および冷却することができる。
このような構成を有するポンプ機構51を使用しても潤滑油の吐出流量を大容量と小容量の2段階に変更することができる。また、このポンプ機構51では、オイルポンプ52が1つだけであるため、ポンプ機構51の小型化を図ることができる。
また、今回開示された実施の形態は、全ての点で例示であってこの実施の形態に制限されるものではない。本発明の範囲は、上記した実施の形態のみの説明ではなくて特許請求の範囲によって示され、特許請求の範囲と均等の意味および範囲内での全ての変更が含まれることが意図される。
以上のように、本発明に係る潤滑油供給装置および内燃機関の潤滑システムは、ポンプ機構を利用して内燃機関の暖機時に潤滑油の早期暖機を図ることができ、ポンプ機構の使用性を向上させることができるという効果を有し、内燃機関の潤滑部に潤滑油を供給することにより、潤滑部の潤滑を行うことができる潤滑油供給装置および内燃機関の潤滑システム等として有用である。
本発明に係る潤滑油供給装置および内燃機関の潤滑システムの第1の実施の形態を示す図であり、潤滑システムを備えたエンジンの概略構成図である。 本発明に係る潤滑油供給装置および内燃機関の潤滑システムの第1の実施の形態を示す図であり、ポンプ機構の構成図である。 本発明に係る潤滑油供給装置および内燃機関の潤滑システムの第1の実施の形態を示す図であり、小容量の潤滑油を吐出するときのポンプ機構の構成図である。 本発明に係る潤滑油供給装置および内燃機関の潤滑システムの第1の実施の形態を示す図であり、大容量の潤滑油を吐出するときのポンプ機構の構成である。 本発明に係る潤滑油供給装置および内燃機関の潤滑システムの第1の実施の形態を示す図であり、エンジンの制御系のブロック図である。 本発明に係る潤滑油供給装置および内燃機関の潤滑システムの第1の実施の形態を示す図であり、暖機制御のフローチャートである。 本発明に係る潤滑油供給装置および内燃機関の潤滑システムの第1の実施の形態を示す図であり、エンジン回転数と潤滑油圧の関係を示す図である。 本発明に係る潤滑油供給装置および内燃機関の潤滑システムの第2の実施の形態を示す図であり、暖機制御のフローチャートである。 本発明に係る潤滑油供給装置および内燃機関の潤滑システムの第2の実施の形態を示す図であり、ポンプ機構の構成を示す図である。 一般的なオイルポンプにおけるエンジン回転数と潤滑油圧の関係を示す図である。
符号の説明
1 エンジン(内燃機関)
4 潤滑機構(潤滑油供給手段、潤滑油供給装置、潤滑システム)
5 ピストン(潤滑部)
6 クランクシャフト(潤滑部)
10、51 ポンプ機構(潤滑油供給装置、潤滑システム)
12 大容量オイルポンプ
13 小容量オイルポンプ
41 ウォータージャケット(冷却水循環回路、潤滑システム)
42 アッパーパイプ(冷却水循環回路、潤滑システム)
43 ロアパイプ(冷却水循環回路、潤滑システム)
44 ラジエータ(熱交換器)
45 ウォーターポンプ(冷却水ポンプ、潤滑システム)
46 バイパスパイプ(冷却水循環回路、潤滑システム)
100 ECU(潤滑部温度検出手段、ポンプ機構制御手段、冷却水ポンプ制御手段、潤滑油供給装置、潤滑システム)
101 油温検出センサ(潤滑油温度検出手段、潤滑部温度検出手段、潤滑油供給装置、潤滑システム)
102 エンジン回転数検出センサ(潤滑部温度検出手段、潤滑油供給装置、潤滑システム)
103 冷却水温検出センサ(潤滑部温度検出手段、水温検出手段、潤滑油供給装置、潤滑システム)

Claims (2)

  1. 内燃機関の潤滑部に潤滑油を供給することにより、前記潤滑部を潤滑するようにした内燃機関の潤滑油供給装置において、
    潤滑油の吐出流量を少なくとも大容量と小容量の2段階に変更可能なポンプ機構と、
    前記ポンプ機構から吐出される潤滑油を前記潤滑部に供給する潤滑油供給手段と、
    前記ポンプ機構に供給される潤滑油の温度を検出する潤滑油温度検出手段と、
    前記潤滑部の温度を検出する潤滑部温度検出手段と、
    前記潤滑油温度検出手段および前記潤滑部温度検出手段からの検出情報に基づいて、前記ポンプ機構を大容量と小容量との間で切換えるポンプ機構制御手段とを備えたことを特徴とする潤滑油供給装置。
  2. 請求項1に記載の潤滑油供給装置を備えた内燃機関の潤滑システムであって、
    冷却水を前記内燃機関と熱交換器との間で循環させる冷却水循環回路と、前記冷却水循環回路上に設けられ、冷却水を前記冷却水循環回路上で循環させる冷却水ポンプと、
    前記内燃機関の冷却水の温度を検出する水温検出手段と、
    前記水温検出手段の検出情報に基づいて前記冷却水ポンプを制御する冷却水ポンプ制御手段とを設け、
    前記ポンプ機構制御手段が、前記水温検出手段、前記潤滑油温度検出手段および前記潤滑部温度検出手段の検出情報に基づいて前記ポンプ機構を制御することを特徴とする内燃機関の潤滑システム。
JP2008186291A 2008-07-17 2008-07-17 潤滑油供給装置および内燃機関の潤滑システム Expired - Fee Related JP5304074B2 (ja)

Priority Applications (1)

Application Number Priority Date Filing Date Title
JP2008186291A JP5304074B2 (ja) 2008-07-17 2008-07-17 潤滑油供給装置および内燃機関の潤滑システム

Applications Claiming Priority (1)

Application Number Priority Date Filing Date Title
JP2008186291A JP5304074B2 (ja) 2008-07-17 2008-07-17 潤滑油供給装置および内燃機関の潤滑システム

Publications (2)

Publication Number Publication Date
JP2010024926A true JP2010024926A (ja) 2010-02-04
JP5304074B2 JP5304074B2 (ja) 2013-10-02

Family

ID=41730996

Family Applications (1)

Application Number Title Priority Date Filing Date
JP2008186291A Expired - Fee Related JP5304074B2 (ja) 2008-07-17 2008-07-17 潤滑油供給装置および内燃機関の潤滑システム

Country Status (1)

Country Link
JP (1) JP5304074B2 (ja)

Cited By (6)

* Cited by examiner, † Cited by third party
Publication number Priority date Publication date Assignee Title
KR101258367B1 (ko) * 2010-06-08 2013-04-30 독터. 인제니어. 하.체. 에프. 포르쉐 악티엔게젤샤프트 내연기관용 오일 공급 시스템
JP2013122201A (ja) * 2011-12-12 2013-06-20 Fuji Heavy Ind Ltd エンジンの潤滑装置
JP2013204517A (ja) * 2012-03-28 2013-10-07 Yamada Seisakusho Co Ltd 可変流量オイルポンプを備えたエンジン
JP2014159760A (ja) * 2013-02-19 2014-09-04 Toyota Motor Corp エンジンの油圧制御装置
EP2918890A3 (de) * 2014-03-12 2015-09-23 SKF Lubrication Systems Germany GmbH Verfahren zum Betreiben einer Schmiervorrichtung, Schmiervorrichtung und Kompressor mit einer solchen Schmiervorrichtung
JP2020176537A (ja) * 2019-04-17 2020-10-29 株式会社荏原製作所 ポンプ装置、及びポンプ運転方法

Citations (5)

* Cited by examiner, † Cited by third party
Publication number Priority date Publication date Assignee Title
JPH02123284A (ja) * 1988-10-31 1990-05-10 Nissan Motor Co Ltd 可変容量ラジアルピストンポンプ
JPH0526023A (ja) * 1991-07-19 1993-02-02 Mazda Motor Corp エンジンの潤滑装置
JP2001041040A (ja) * 1999-07-26 2001-02-13 Honda Motor Co Ltd 熱交換器における冷却水流量および潤滑油流量の制御装置
JP2004340066A (ja) * 2003-05-16 2004-12-02 Toyota Motor Corp 内燃機関
JP2005233100A (ja) * 2004-02-20 2005-09-02 Toyota Motor Corp ポンプ装置及びその吐出流量制御装置

Patent Citations (5)

* Cited by examiner, † Cited by third party
Publication number Priority date Publication date Assignee Title
JPH02123284A (ja) * 1988-10-31 1990-05-10 Nissan Motor Co Ltd 可変容量ラジアルピストンポンプ
JPH0526023A (ja) * 1991-07-19 1993-02-02 Mazda Motor Corp エンジンの潤滑装置
JP2001041040A (ja) * 1999-07-26 2001-02-13 Honda Motor Co Ltd 熱交換器における冷却水流量および潤滑油流量の制御装置
JP2004340066A (ja) * 2003-05-16 2004-12-02 Toyota Motor Corp 内燃機関
JP2005233100A (ja) * 2004-02-20 2005-09-02 Toyota Motor Corp ポンプ装置及びその吐出流量制御装置

Cited By (9)

* Cited by examiner, † Cited by third party
Publication number Priority date Publication date Assignee Title
KR101258367B1 (ko) * 2010-06-08 2013-04-30 독터. 인제니어. 하.체. 에프. 포르쉐 악티엔게젤샤프트 내연기관용 오일 공급 시스템
JP2013122201A (ja) * 2011-12-12 2013-06-20 Fuji Heavy Ind Ltd エンジンの潤滑装置
JP2013204517A (ja) * 2012-03-28 2013-10-07 Yamada Seisakusho Co Ltd 可変流量オイルポンプを備えたエンジン
US9163598B2 (en) 2012-03-28 2015-10-20 Yamada Manufacturing Co., Ltd. Engine with variable flow rate oil pump
JP2014159760A (ja) * 2013-02-19 2014-09-04 Toyota Motor Corp エンジンの油圧制御装置
EP2918890A3 (de) * 2014-03-12 2015-09-23 SKF Lubrication Systems Germany GmbH Verfahren zum Betreiben einer Schmiervorrichtung, Schmiervorrichtung und Kompressor mit einer solchen Schmiervorrichtung
US10927834B2 (en) 2014-03-12 2021-02-23 Skf Lubrication Systems Germany Gmbh Method of operating a lubricating device, lubricating device and compressor with such a lubricating device
JP2020176537A (ja) * 2019-04-17 2020-10-29 株式会社荏原製作所 ポンプ装置、及びポンプ運転方法
JP7312007B2 (ja) 2019-04-17 2023-07-20 株式会社荏原製作所 ポンプ装置、及びポンプ運転方法

Also Published As

Publication number Publication date
JP5304074B2 (ja) 2013-10-02

Similar Documents

Publication Publication Date Title
JP5304074B2 (ja) 潤滑油供給装置および内燃機関の潤滑システム
KR102440603B1 (ko) 이지알 쿨러를 구비한 엔진 냉각시스템
JP4962657B2 (ja) 内燃機関の制御装置
CN112127985B (zh) 驱动装置的冷却剂回路和运行冷却剂回路的方法
JP2005299592A (ja) 内燃機関の潤滑装置
JP6607232B2 (ja) 内燃機関のオイル循環装置
JP2010071194A (ja) オイル供給制御装置
JP2001041040A (ja) 熱交換器における冷却水流量および潤滑油流量の制御装置
JP5556401B2 (ja) 潤滑油供給システムの制御装置
WO2020189684A1 (ja) エンジンの冷却装置
JP4794898B2 (ja) 変速機用オイルポンプの駆動制御装置
JP2010048159A (ja) オイル供給制御装置
JP2001152825A (ja) エンジンのオイルパン
JP2013007306A (ja) エンジンオイルの冷却装置
JP3536632B2 (ja) 内燃機関の潤滑装置
JP5168542B2 (ja) 内燃機関用潤滑装置の運転方法及び内燃機関用潤滑装置
JP2020159230A (ja) エンジンの冷却装置
KR102394555B1 (ko) 냉각수 제어 밸브유닛을 갖는 엔진의 제어방법 및 제어시스템
JP2012132379A (ja) エンジンの冷却水装置
JP2010077880A (ja) 内燃機関の潤滑装置
JP2010048205A (ja) オイルポンプ機構の異常判定システム
CN108979783B (zh) 内燃机的油循环装置
JP6579160B2 (ja) 内燃機関のオイル循環装置
JP2021055562A (ja) 内燃機関の制御装置及び、制御方法
JP2006250037A (ja) エンジンの冷却装置

Legal Events

Date Code Title Description
A621 Written request for application examination

Free format text: JAPANESE INTERMEDIATE CODE: A621

Effective date: 20100908

A977 Report on retrieval

Free format text: JAPANESE INTERMEDIATE CODE: A971007

Effective date: 20110927

A131 Notification of reasons for refusal

Free format text: JAPANESE INTERMEDIATE CODE: A131

Effective date: 20111004

A521 Written amendment

Free format text: JAPANESE INTERMEDIATE CODE: A523

Effective date: 20111109

A131 Notification of reasons for refusal

Free format text: JAPANESE INTERMEDIATE CODE: A131

Effective date: 20120327

A521 Written amendment

Free format text: JAPANESE INTERMEDIATE CODE: A523

Effective date: 20120528

A131 Notification of reasons for refusal

Free format text: JAPANESE INTERMEDIATE CODE: A131

Effective date: 20121113

TRDD Decision of grant or rejection written
A01 Written decision to grant a patent or to grant a registration (utility model)

Free format text: JAPANESE INTERMEDIATE CODE: A01

Effective date: 20130528

A61 First payment of annual fees (during grant procedure)

Free format text: JAPANESE INTERMEDIATE CODE: A61

Effective date: 20130610

LAPS Cancellation because of no payment of annual fees