JP2010023963A - センタリング装置 - Google Patents

センタリング装置 Download PDF

Info

Publication number
JP2010023963A
JP2010023963A JP2008185261A JP2008185261A JP2010023963A JP 2010023963 A JP2010023963 A JP 2010023963A JP 2008185261 A JP2008185261 A JP 2008185261A JP 2008185261 A JP2008185261 A JP 2008185261A JP 2010023963 A JP2010023963 A JP 2010023963A
Authority
JP
Japan
Prior art keywords
centering
conveyor
load
width direction
support base
Prior art date
Legal status (The legal status is an assumption and is not a legal conclusion. Google has not performed a legal analysis and makes no representation as to the accuracy of the status listed.)
Granted
Application number
JP2008185261A
Other languages
English (en)
Other versions
JP5003621B2 (ja
Inventor
Akira Kato
彰 加藤
Current Assignee (The listed assignees may be inaccurate. Google has not performed a legal analysis and makes no representation or warranty as to the accuracy of the list.)
Murata Machinery Ltd
Original Assignee
Murata Machinery Ltd
Priority date (The priority date is an assumption and is not a legal conclusion. Google has not performed a legal analysis and makes no representation as to the accuracy of the date listed.)
Filing date
Publication date
Application filed by Murata Machinery Ltd filed Critical Murata Machinery Ltd
Priority to JP2008185261A priority Critical patent/JP5003621B2/ja
Publication of JP2010023963A publication Critical patent/JP2010023963A/ja
Application granted granted Critical
Publication of JP5003621B2 publication Critical patent/JP5003621B2/ja
Active legal-status Critical Current
Anticipated expiration legal-status Critical

Links

Images

Landscapes

  • Warehouses Or Storage Devices (AREA)
  • Control Of Conveyors (AREA)

Abstract

【課題】コンベアにおいて荷物のセンタリングを確実に行うことができる装置を提供する。
【解決手段】センタリング装置11は、コンベア上の荷物Wを持ち上げながらセンタリングするためのセンタリング装置である。リフター機構13は、荷物WおよびパレットPを下方から支えることが可能な支持台21と、支持台21を昇降する駆動部23とを有する。センタリング機構15は、支持台21が上昇しているときにパレットPをコンベア幅方向に挟み込むことによって荷物Wのコンベア幅方向中心をコンベア1の幅方向中心に合わせる。連結機構17は、リフター機構13とセンタリング機構15を機能的に連結し、支持台21から上方に作用する力をセンタリング機構15の挟み込み動作を行わせる力に変換する。コイルスプリング19は、パレットPに作用する力の経路で弾性的に機能するように配置されている。
【選択図】図2

Description

本発明は、センタリング装置に関し、特に、コンベア上の荷物を持ち上げながらセンタリングするためのセンタリング装置に関する。
従来の自動倉庫は、例えば、前後方向に所定間隔をあけるようにして設けられた一対のラックと、前後のラック間において左右方向に移動自在に設けられたスタッカークレーンと、一方のラックの側方に配された入庫ステーションと、他方のラックの側方に配された出庫ステーションとを有している。ラックは、上下・左右に多数の荷物収納棚を有する。スタッカークレーンは、走行台車と、それに設けられたマストに昇降自在となされた昇降台と、それに設けられた荷物移載装置(例えば、前後方向に摺動自在に設けられたスライドフォーク)とを有している。入出庫ステーションにおいては、荷物を搬送するのにコンベアが用いられる。
荷物は通常パレット上に載置された状態で搬送される。例えば、荷物は、パレットに載置された状態で、フォークリフト等によって入庫ステーションのコンベアに移載され、コンベアによって搬送され、さらにスタッカークレーンに積み込まれ、最後にスタッカークレーンによってラックの棚に積み込まれる。
荷物がコンベアに移載されたときに、パレットのコンベア幅方向中心がコンベアの幅方向中心からずれていると、以下の問題が生じる。例えば、スタッカークレーンがフォーク等によって荷物を棚に載せる際に、パレット上の荷物が棚に衝突することがある。つまり、荷物の受け渡し作業がスムーズに行われなくなる。このため、パレットのコンベア幅方向中心がコンベアの幅方向中心に正確に合わされることが好ましい。
一方、フォーリフトによってパレットをコンベアに対してセンタリングする作業は困難であり、熟練を要する。
そこで、コンベアにおける物品の左右位置決め装置が設けられた例が知られている。左右位置決め装置は、コンベアの経路途中で荷物をセンタリングする(例えば、特許文献1を参照。)。
また、上面にフリーローラを設置したリフト装置でパレットを搬送レベルより上昇させ、側方から別機構によってパレットを押してセンタリングする装置や、上面にコンベアを設置したリフト装置でパレットを搬送レベルから上昇させ、コンベアによってセンタリングをする装置が知られている。しかし、これらセンタリング装置は、コストが高く、また大きなスペースを必要とするという問題を有している。
実開平5−10327号公報
前記従来の左右位置決め装置では、コンベアの経路途中で荷物をセンタリングするため、荷物が左右位置決め装置から大きな抵抗を受けてスムーズに搬送されないおそれがある。
本発明の課題は、コンベアにおいて荷物のセンタリングを確実に行うことができる装置を提供することにある。
本発明に係るセンタリング装置は、コンベア上の荷物を持ち上げながらセンタリングするためのセンタリング装置であって、リフター機構と、センタリング機構と、連結機構と、弾性部材とを備えている。リフター機構は、荷物を下方から支えることが可能な支持台と、支持台を昇降する駆動部とを有する。センタリング機構は、支持台が上昇しているときに荷物をコンベア幅方向に挟み込むことによって荷物のコンベア幅方向中心をコンベアの幅方向中心に合わせる。連結機構は、リフター機構とセンタリング機構を機能的に連結し、支持台から上方に作用する力をセンタリング機構の挟み込み動作を行わせる力に変換する。弾性部材は、連結機構の一部に配置され、荷物に作用する力を弾性的に機能させる。
この装置では、リフター機構の駆動部が支持台を上昇させると、支持台が荷物をコンベアから持ち上げる。このとき、連結機構が支持台から上方に作用する力をセンタリング機構の挟み込み動作を行わせる力に変換する。したがって、一つの駆動部によって両機構を駆動することができ、構造が簡単になる。さらに、弾性部材が荷物に作用する力の経路で弾性的に機能するので、所定の範囲内であれば荷物の大きさがばらついていても、荷物を確実にセンタリングできる。
好ましくは、センタリング機構は、荷物を挟み込む挟持部材を有している。連結機構は、支持台から突出する突出部材と、挟持部材から下方に延び軸支されるアーム部およびその下部に設けられ突出部材が当接しながら移動するレール部を有する回動部材とを有している。弾性部材は突出部材に設けられた圧縮ばねである。
この装置では、突出部材は、支持台とともに上昇し、回動部材のレール部を当接しながら回動部材を回動させ、アーム部及び挟持部材を荷物側に回動させる。これにより、荷物は挟持部材に挟み込まれて、センタリングされる。また、弾性部材が圧縮ばねであるので、所望のばね特性を安価に選択できる。
好ましくは、センタリング装置は、荷物がセンタリング機構によってセンタリング位置に配置されると荷物の移動を規制し、その後に前記支持台が下降する動作中も前記荷物の移動を規制する規制機構をさらに備えている。
この装置では、規制機構がセンタリングされた荷物の位置を規制するため、センタリングされた荷物がセンタリング位置から移動しにくい。特に、センタリング後に支持台が下降する際にも、荷物がセンタリング位置からずれにくい。
本発明に係るセンタリング装置では、コンベアにおいて荷物のセンタリングを確実に行うことができる。
1.構造
自動倉庫に用いられる入出庫ステーションのコンベア1について説明する。なお、以下、図1の上下方向をコンベア搬送方向として、図1の左右方向をコンベア幅方向とする。
図1において、コンベア1は、チェーンコンベアであり、一対の溝形鋼からなるフレーム3と、フレーム3に巻回された一対のローラチェーン5とを有している。一対のフレーム3は互いに平行である。各ローラチェーン5は、無端状であり、図示しない駆動源によって同期駆動される。
荷物Wは、パレットPに載置された状態で、ローラチェーン5によって搬送される。なお、この実施形態では荷物WはパレットPに載置された状態でパレットPと一体に移動するため、パレットP自体を「荷物」としても良いし、荷物WとパレットPを合わせたものを「荷物」としても良い。
コンベア1の端部において両フレーム3の間には、荷物Wを載せたパレットPを昇降させるとともにセンタリングを行うためのセンタリング装置11が配置されている。センタリング装置11は、リフター機構13と、センタリング機構15と、連結機構17と、コイルスプリング19とを備えている。
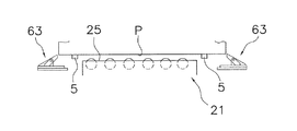
リフター機構13は、荷物WをパレットPとともに昇降させるための機構であり、荷物を下方から支えることが可能な支持台21と、支持台21を昇降する駆動部23とを有する。支持台21は、主に、箱形フレーム25と、その中に配置された複数のフリーローラ27とから構成されている。フリーローラ27は、コンベア幅方向に並んでおり、コンベア搬送方向に互いに平行になっている。なお、フリーローラ27の列は、コンベア搬送方向に離れて2列配置されている。駆動部23は、例えば、空気圧シリンダ及びガイド機構によって構成されている。
センタリング機構15は、支持台21が上昇しているときに荷物を挟み込むことによって荷物のコンベア幅方向中心をコンベア1の幅方向中心に合わせる機構である。センタリング機構15は、荷物を挟み込む挟持部材31を有している。挟持部材31は、主に、コンベア幅方向両側に配置された一対の挟持ローラ33から構成されている。各挟持ローラ33は、コンベア搬送方向に延びており、フリーローラ27と平行になっている。より詳細には、複数の挟持ローラ33からなる組は、コンベア搬送方向に間を空けて並んで2組設けられている。
連結機構17は、リフター機構13とセンタリング機構15を機能的に連結し、支持台21から上方に作用する力をセンタリング機構15の挟み込み動作を行わせる力に変換するための機構である。連結機構17は、支持台21から突出する突出部材35と、突出部材35を支持するともに回動自在に配置され突出部材35によって駆動される回動部材37とを有している。回動部材37は、挟持ローラ33から下方に延び軸支されるアーム部39と、その下部に設けられ突出部材35が当接しながら移動するレール部41とを有している。
より詳細には、挟持ローラ33の対は、コンベア搬送方向に間を空けて配置された2対からなる。以下、コンベア幅方向片側に配置された挟持ローラ33及びそれに関連する連結機構17の構造を説明する。なお、コンベア幅方向反対側に配置された構造については同様であるので説明を省略する。
連結機構17は、フレーム3及びローラチェーン5のコンベア幅方向外側に配置されている。連結機構17は、支持台21からコンベア幅方向片側に突出する突出部材35を有している。突出部材35は、基部43と、基部43から延びる棒状部45と、スライド自在に支持された当接部47とから主に構成されている。基部43と当接部47の間にコイルスプリング19が配置されている。なお、コイルスプリング19の周囲は、基部43から延びる筒状部49によって覆われている。当接部47は、本体51と、本体51の先端に取り付けられた当接ローラ53とを有している。当接ローラ53は、コンベア搬送方向に延びる回転軸回りに回転可能になっている。
図3に示すように、回動部材37のアーム部39は、コンベア搬送方向に延び2つの挟持ローラ33を支持する第1連結バー55と、第1連結バー55の下方に配置されコンベア搬送方向に延びる回動バー57と、上下方向に延び両バーを連結する第2連結バー58とから主に構成されている。回動バー57の両端は回動自在に支持されている。そのため、回動部材37全体が回動バー57を中心に回動自在になっている。
レール部41は、上下方向に延びており、上端が回動バー57に固定されている。レール部41は、下部のローラチェーン5側にガイド面59を有している。ガイド面59は、突出部材35が上昇すると、ガイド面59を押し上げながら回動部材37全体を回動バー57中心に回動させるように形成されている。より具体的には、ガイド面59は、コンベア搬送方向から見て滑らかに湾曲した凹部形状であり、下端から概ね上方向に延びさらにコンベア幅方向内側に湾曲して延びている。
センタリング機構15は、さらに、荷物がセンタリング機構15によってセンタリング位置に配置されると荷物の移動を規制する規制機構61を備えている。規制機構61は、図1に示すように、リフター機構13のコンベア幅方向両側に二箇所ずつ合計4箇所に設けられたストッパー部材63からなる。ストッパー部材63は、パレットPのコンベア幅方向縁部に対応する箇所に設けられている。ストッパー部材63は、図5に示すように、コンベア搬送方向に見て概ね三角形状の板部材であり、コンベア幅方向に長く延びている。ストッパー部材63は、コンベア搬送方向に見て、上側の長辺部63aと、コンベア幅方向外側の下面である第1下面部63bと、コンベア幅方向内側の下面である第2下面部63cとを有している。上側の長辺部ストッパー部材63は、支持台65に設けられた支持部67に支持されている。ストッパー部材63は、図から明らかなように、コンベア搬送方向に延びる軸回りに回動可能である。ストッパー部材63は、幅方向外側部が幅方向内側部に比べて重いため、外力が作用していない状態では、ストッパー部材63は、幅方向外側部の下端面つまり第1下面部63bが支持台65の上面に当接する姿勢になっている。なお、ストッパー部材63のコンベア幅方向内側部の先端には、先端面63dが形成されている。先端面63dは、第1下面部63bが支持台65の上面に当接する姿勢になっているときに、概ね鉛直方向に延びるように形成されている。なお、支持台65は、リフター機構13の支持台21とともに昇降するようになっている。
2.動作
次に、動作について説明する。
図2は、荷物WがパレットPとともにコンベア1のセンタリング装置11上方に載置された状態を示している。この状態では、リフター機構13が最下降位置にあり、パレットPの下面はフリーローラ27から所定の隙間を空けて配置されている。また、回動部材37は、コンベア搬送方向から見て上下方向に延びる姿勢を取っている。そのため、ガイド面59の下端には突出部材35の当接ローラ53が当接しており、ガイド面59の上端は当接ローラ53の上方に位置している。この状態で、挟持ローラ33はパレットPからコンベア幅方向両側に離れた位置にある。
リフター機構13の駆動部23が支持台21を上昇させる。すると、図4に示すように、支持台21がパレットP及び荷物Wを持ち上げていく。このとき、支持台21のフリーローラ27がパレットPの下面に当接しているので、パレットP及び荷物Wはコンベア幅方向にスライドしやすくなる。したがって、センタリングに必要なリフター推力を小さくできる。
さらに、この上昇動作において、突出部材35が回動部材37のレール部41に当接しながら回動させる。これにより、挟持ローラ33がコンベア幅方向両側からパレットPに当接して、パレットPをコンベアの幅方向中心側に移動させる。このとき、パレットPはフリーローラ27上に載置されているため、大きな抵抗が作用することがない。
なお、通常は、両側の挟持ローラ33がパレットPのコンベア幅方向側面に当接した後は、挟持ローラ33はさらにパレットPを挟みつける動作を続ける。この際には、突出部材35内のコイルスプリング19が圧縮される。この構造により、パレットPのコンベア幅方向寸法の大小があったとしても、所定範囲内であれば対応可能となっている。より詳細には、コイルスプリング19が非圧縮の状態における一対の挟持ローラ33のコンベア幅方向間の最小間隔より大きな幅方向寸法を有しており、かつ、コイルスプリング19が最も圧縮された状態における一対の挟持ローラ33のコンベア幅方向間の最大間隔より小さな幅方向寸法を有している物品であれば、設定されたコンベア幅方向寸法の荷物ではなくても、一対の挟持ローラ33は荷物を挟持してセンタリングすることができる。
さらに、図5A〜図5Dを用いてストッパー機構について説明する。図5Aはリフター機構13が下降位置にある状態を示している。この実施例では、パレットPが図右側にずれて配置されている。そのため、パレットPのコンベア幅方向右側の縁部が図右側のストッパー部材63の先端面63dよりさらにコンベア幅方向外側(右側)に位置しており、パレットPのコンベア幅方向左側の縁部が図左側のストッパー部材63の先端面63dよりさらにコンベア幅方向内側(右側)に位置している。
この状態から、リフター機構13が支持台21及びストッパー部材63を上方に移動させる。すると、支持台21がパレットPの下面に当接して、パレットPをさらに上方に移動させる。このとき、図5Bに示すように、図右側のストッパー部材63の先端がパレットPの下面に押されて、図右側のストッパー部材63が回動する。これにより、荷物Wのセンタリングが容易になっている。以上の動作中に、挟持ローラ33(図5A〜図5Dには示さず)がパレットPをコンベア幅方向に押すことで、パレットPはコンベア幅方向にセンタリングされる。この実施例では、パレットPは図左側に移動して、そのため、パレットPは図右側のストッパー部材63から外れて、図右側のストッパー部材63は付勢されて幅方向内側部分が上方に位置する元の姿勢に戻る。その状態を図5Cに示す。この状態では、両ストッパー部材63の先端がパレットPのコンベア幅方向両側面に対してわずかな隙間を介して配置されている。このため、センタリング終了後は、パレットPは、フリーローラ27によって移動しやすくなっているのにもかかわらず、ストッパー部材63によってセンタリング位置からあまり移動することがない。
次に、リフター機構13が支持台21及びストッパー部材63を下方に移動させる。このとき、両ストッパー部材63は常にパレットPのコンベア幅方向両側を支持しているため、パレットPはセンタリング位置からずれない。やがて、パレットPの下面がローラチェーン5に当接すると、以後は、パレットPはローラチェーン5によって支持される。リフター機構13は、支持台21及びストッパー部材63をさらに下方に移動させ、その結果、図5Dに示すように、支持台21およびストッパー部材63はパレットPから離れて下方に移動する。
3.効果
この装置では、リフター機構13の駆動部23が支持台21を上昇させると、支持台21が荷物をコンベアから持ち上げる。このとき、連結機構17が支持台21から上方に作用する力をセンタリング機構15の挟み込み動作を行わせる力に変換する。したがって、一つの駆動部によって両機構を駆動することができ、構造が簡単になる。さらにに、コイルスプリング19が荷物に作用する力の経路で弾性的に機能するので、所定の範囲内であれば荷物の大きさがばらついていても、荷物を確実にセンタリングできる。
この装置では、突出部材35は、支持台21ともに上昇し、回動部材37のレール部41に当接しながら回動部材37を回動させ、アーム部39及び挟持ローラ33を荷物側に回動させる。これにより、荷物は挟持ローラ33に挟み込まれて、センタリングされる。弾性部材が圧縮ばねであるので、所望のばね特性を安価に選択できる。
この装置では、規制機構61がセンタリングされた荷物の位置を規制するため、荷物がセンタリング位置から移動しにくい。特に、センタリング後に支持台21が下降する際にも、荷物がセンタリング位置からずれにくい。
4.他の実施形態
以上、本発明の一実施形態について説明したが、本発明は上記実施形態に限定されるものではなく、発明の要旨を逸脱しない範囲で種々の変更が可能である。
前記実施形態では、弾性部材は、突出部材内に配置された圧縮コイルスプリングであったが、本発明はそれに限定されない。例えば、弾性部材は回動機構のアーム部やレール部に設けられていても良いし、挟持ローラに設けられていても良い。または、各部材のいずれかにゴム等の弾性部材を設けても良い。
前記実施形態では、荷物WがパレットPに載置された状態でセンタリングされていたが、本発明はその実施例に限定されない。例えば、パレットを用いずに荷物が直接コンベアで搬送される実施例にも本発明を適用できる。
本発明に係るセンタリング装置は、荷物を持ち上げながらセンタリングを行う装置に広く利用可能である。
センタリング装置の概略平面図。 センタリング装置の概略正面図(リフター下降位置)。 センタリング装置の回動機構の側面図。 センタリング装置の概略正面図(リフター上昇位置)。 ストッパー部材の動作を説明する模式図。 ストッパー部材の動作を説明する模式図。 ストッパー部材の動作を説明する模式図。 ストッパー部材の動作を説明する模式図。
符号の説明
1 コンベア
3 フレーム
5 ローラチェーン
11 センタリング装置
13 リフター機構
15 センタリング機構
17 連結機構
19 コイルスプリング
21 支持台
23 駆動部
25 箱形フレーム
27 フリーローラ
31 挟持部材
33 挟持ローラ
35 突出部材
37 回動部材
39 アーム部
41 レール部
43 基部
45 棒状部
47 当接部
49 筒状部
51 本体
53 当接ローラ
55 第1連結バー
57 回動バー
58 第2連結バー
59 ガイド面
61 規制機構
63 ストッパー部材
65 支持台
67 支持部

Claims (3)

  1. コンベア上の荷物を持ち上げながらセンタリングするためのセンタリング装置であって、
    前記荷物を下方から支えることが可能な支持台と、前記支持台を昇降する駆動部とを有するリフター機構と、
    前記支持台が上昇しているときに前記荷物をコンベア幅方向に挟み込むことによって前記荷物のコンベア幅方向中心を前記コンベアの幅方向の中心に合わせるセンタリング機構とを備え、
    前記リフター機構と前記センタリング機構を機能的に連結し、前記支持台から上方に作用する力を前記センタリング機構の挟み込み動作を行わせる力に変換するための連結機構と、
    前記連結機構の一部に配置され、前記荷物に作用する力を弾性的に機能させる弾性部材と、
    を備えたセンタリング装置。
  2. 前記センタリング機構は、前記荷物を挟み込む挟持部材を有しており、
    前記連結機構は、前記支持台から突出する突出部材と、前記挟持部材から下方に延び軸支されるアーム部およびその下部に設けられ前記突出部材が当接しながら移動するレール部を有する回動部材とを有しており、
    前記弾性部材は前記突出部材に設けられた圧縮ばねである、請求項1に記載のセンタリング装置。
  3. 前記荷物がセンタリング機構によってセンタリング位置に配置されると前記荷物の移動を規制し、その後に前記支持台が下降する動作中も前記荷物の移動を規制する規制機構をさらに備えている、請求項1または2に記載のセンタリング装置。
JP2008185261A 2008-07-16 2008-07-16 センタリング装置 Active JP5003621B2 (ja)

Priority Applications (1)

Application Number Priority Date Filing Date Title
JP2008185261A JP5003621B2 (ja) 2008-07-16 2008-07-16 センタリング装置

Applications Claiming Priority (1)

Application Number Priority Date Filing Date Title
JP2008185261A JP5003621B2 (ja) 2008-07-16 2008-07-16 センタリング装置

Publications (2)

Publication Number Publication Date
JP2010023963A true JP2010023963A (ja) 2010-02-04
JP5003621B2 JP5003621B2 (ja) 2012-08-15

Family

ID=41730141

Family Applications (1)

Application Number Title Priority Date Filing Date
JP2008185261A Active JP5003621B2 (ja) 2008-07-16 2008-07-16 センタリング装置

Country Status (1)

Country Link
JP (1) JP5003621B2 (ja)

Cited By (2)

* Cited by examiner, † Cited by third party
Publication number Priority date Publication date Assignee Title
DE102011002626A1 (de) 2010-02-05 2011-08-11 Honda Motor Co., Ltd. Schweißpistole
JP2014108838A (ja) * 2012-11-30 2014-06-12 Mitsubishi Nichiyu Forklift Co Ltd 搬送コンベアにおけるセンタリング装置

Families Citing this family (1)

* Cited by examiner, † Cited by third party
Publication number Priority date Publication date Assignee Title
JP7543947B2 (ja) * 2021-03-03 2024-09-03 村田機械株式会社 物品センタリング装置

Citations (3)

* Cited by examiner, † Cited by third party
Publication number Priority date Publication date Assignee Title
JPS5156778U (ja) * 1974-10-29 1976-05-04
JPH0569923A (ja) * 1991-09-05 1993-03-23 Murata Mach Ltd パレツトのセンタリング装置
JP2003146422A (ja) * 2001-11-05 2003-05-21 Nippon Yusoki Co Ltd センタリング装置

Patent Citations (3)

* Cited by examiner, † Cited by third party
Publication number Priority date Publication date Assignee Title
JPS5156778U (ja) * 1974-10-29 1976-05-04
JPH0569923A (ja) * 1991-09-05 1993-03-23 Murata Mach Ltd パレツトのセンタリング装置
JP2003146422A (ja) * 2001-11-05 2003-05-21 Nippon Yusoki Co Ltd センタリング装置

Cited By (2)

* Cited by examiner, † Cited by third party
Publication number Priority date Publication date Assignee Title
DE102011002626A1 (de) 2010-02-05 2011-08-11 Honda Motor Co., Ltd. Schweißpistole
JP2014108838A (ja) * 2012-11-30 2014-06-12 Mitsubishi Nichiyu Forklift Co Ltd 搬送コンベアにおけるセンタリング装置

Also Published As

Publication number Publication date
JP5003621B2 (ja) 2012-08-15

Similar Documents

Publication Publication Date Title
CN101998926B (zh) 物品收纳设备
CN101148237B (zh) 移载装置
JP2016003069A (ja) コンテナ昇降搬送装置
TW201604098A (zh) 貨櫃昇降搬運裝置
JP5003621B2 (ja) センタリング装置
JP5783366B2 (ja) 仕分けシステム
US20150013084A1 (en) Unloading and loading device
JP4427740B2 (ja) 物品搬送装置
JP2011111273A (ja) 物品位置決め装置および物品位置決め方法
JP2010159118A (ja) 自動倉庫
JP2006264966A (ja) リフト装置
JPH0840512A (ja) 物品保管設備
JP2954776B2 (ja) 自動車用リヤシート段重ね搬送装置
CN221343861U (zh) 一种用于固定门体的叉车门架及叉车
CN222906549U (zh) 一种带拆箱结构的提升机
CN217323245U (zh) 一种移动式可升降烟叶装箱叉车
JP4650680B2 (ja) 搬送設備
CN109704226B (zh) 狭窄空间垂直吊装及水平运输装置
JP3812345B2 (ja) 荷受け渡し装置
JP2005219834A (ja) 自動倉庫における荷の移載装置
JP2001341805A (ja) 荷移載装置のワークガイド
JP2019135185A (ja) 自動倉庫システム
JP2506691Y2 (ja) 自動倉庫
JPH045603B2 (ja)
JP2003104509A (ja) 自動倉庫

Legal Events

Date Code Title Description
A977 Report on retrieval

Free format text: JAPANESE INTERMEDIATE CODE: A971007

Effective date: 20110907

A131 Notification of reasons for refusal

Free format text: JAPANESE INTERMEDIATE CODE: A131

Effective date: 20110913

A521 Request for written amendment filed

Free format text: JAPANESE INTERMEDIATE CODE: A523

Effective date: 20111110

TRDD Decision of grant or rejection written
A01 Written decision to grant a patent or to grant a registration (utility model)

Free format text: JAPANESE INTERMEDIATE CODE: A01

Effective date: 20120424

A01 Written decision to grant a patent or to grant a registration (utility model)

Free format text: JAPANESE INTERMEDIATE CODE: A01

A61 First payment of annual fees (during grant procedure)

Free format text: JAPANESE INTERMEDIATE CODE: A61

Effective date: 20120507

FPAY Renewal fee payment (event date is renewal date of database)

Free format text: PAYMENT UNTIL: 20150601

Year of fee payment: 3

R150 Certificate of patent or registration of utility model

Ref document number: 5003621

Country of ref document: JP

Free format text: JAPANESE INTERMEDIATE CODE: R150

R250 Receipt of annual fees

Free format text: JAPANESE INTERMEDIATE CODE: R250

R250 Receipt of annual fees

Free format text: JAPANESE INTERMEDIATE CODE: R250

R250 Receipt of annual fees

Free format text: JAPANESE INTERMEDIATE CODE: R250

R250 Receipt of annual fees

Free format text: JAPANESE INTERMEDIATE CODE: R250

R250 Receipt of annual fees

Free format text: JAPANESE INTERMEDIATE CODE: R250

R250 Receipt of annual fees

Free format text: JAPANESE INTERMEDIATE CODE: R250

R250 Receipt of annual fees

Free format text: JAPANESE INTERMEDIATE CODE: R250

R250 Receipt of annual fees

Free format text: JAPANESE INTERMEDIATE CODE: R250

R250 Receipt of annual fees

Free format text: JAPANESE INTERMEDIATE CODE: R250