JP2010023346A - 射出ノズル - Google Patents

射出ノズル Download PDF

Info

Publication number
JP2010023346A
JP2010023346A JP2008187293A JP2008187293A JP2010023346A JP 2010023346 A JP2010023346 A JP 2010023346A JP 2008187293 A JP2008187293 A JP 2008187293A JP 2008187293 A JP2008187293 A JP 2008187293A JP 2010023346 A JP2010023346 A JP 2010023346A
Authority
JP
Japan
Prior art keywords
resin
pressure reducing
peripheral surface
resin passage
molten resin
Prior art date
Legal status (The legal status is an assumption and is not a legal conclusion. Google has not performed a legal analysis and makes no representation as to the accuracy of the status listed.)
Granted
Application number
JP2008187293A
Other languages
English (en)
Other versions
JP4223543B1 (ja
Inventor
Go Kawada
剛 河田
Current Assignee (The listed assignees may be inaccurate. Google has not performed a legal analysis and makes no representation or warranty as to the accuracy of the list.)
KAWADA SEIKO KK
Original Assignee
KAWADA SEIKO KK
Priority date (The priority date is an assumption and is not a legal conclusion. Google has not performed a legal analysis and makes no representation as to the accuracy of the date listed.)
Filing date
Publication date
Application filed by KAWADA SEIKO KK filed Critical KAWADA SEIKO KK
Priority to JP2008187293A priority Critical patent/JP4223543B1/ja
Application granted granted Critical
Publication of JP4223543B1 publication Critical patent/JP4223543B1/ja
Publication of JP2010023346A publication Critical patent/JP2010023346A/ja
Expired - Fee Related legal-status Critical Current
Anticipated expiration legal-status Critical

Links

Images

Landscapes

  • Injection Moulding Of Plastics Or The Like (AREA)

Abstract

【課題】比較的簡単な構成でありながらも十分に混練させ、しかも樹脂の種類や色を交換する際の負担を軽減し、さらに糸引き等の不具合の発生を抑制する射出成形機の提供。
【解決手段】ノズルボディ30の樹脂通路31に着脱可能に配設され、シリンダ側から加えられる溶融樹脂の圧力を低減する第一圧力低減部41及び第二圧力低減部42を備える。第一圧力低減部41は、樹脂通路31を閉鎖する第一閉鎖部45、その外周面において凹設された複数の第一連通溝46、及び溶融樹脂を樹脂通路31の内周面31aに向って誘導する第一上流側ガイド部47を有する。また、第二圧力低減部42は、樹脂通路31を閉鎖する第二閉鎖部50、その外周面において凹設された複数の第二連通溝51、及び第一連通溝46を通過した溶融樹脂のうち第二連通溝51に流入されない溶融樹脂を第一圧力低減部41側に跳ね返し渦流を発生させる第二上流側ガイド部52を有する。
【選択図】図2

Description

本発明は、射出ノズルに関するものであり、特に、樹脂の射出成形機に用いられる射出ノズルに関するものである。
射出成形機として、外周部にヒータが巻かれた加熱シリンダと、この加熱シリンダの先端に着脱可能に取付けられた射出ノズルと、加熱シリンダ内で回転可能及び軸方向に移動可能に設けられたスクリュと、シリンダの根元側に固形の樹脂材料を供給するホッパとを具備するものが知られている(例えば特許文献1)。この種の射出成形機では、主に、加熱シリンダの先端部に溶融樹脂を計量しつつ貯留させる計量・貯留工程と、貯留された溶融樹脂を射出ノズルから金型に射出する射出工程とが順に行われる。
さらに詳しく説明すると、計量・貯留工程では、スクリュを回転させることで、ホッパから供給された固形の樹脂材料が、混練されながら加熱シリンダの先端部に送られる。この際、樹脂材料には、ヒータの熱、スクリュの回転に伴う摩擦熱、及びせん断熱等が加えられるため、樹脂材料は溶融されながら送られる。なお、スクリュには射出ノズル側に向って所定の圧力(すなわち背圧)が加えられており、スクリュを回転させた際にスクリュの推進力によってスクリュが後退しないようになっている。そして、加熱シリンダの先端部で蓄積される溶融樹脂の樹脂圧がスクリュの背圧よりも大きくなると、スクリュは後退し始め、これにより溶融樹脂の計量及び貯留が可能となる。一方、射出工程では、計量終了後、スクリュを軸方向に前進させることにより、射出ノズルの先端から金型に対して所定の圧力で溶融樹脂が射出される。
一方、射出ノズルの樹脂通路に、トービードや混合機等のミキシング機構を組込み、溶融樹脂の中に顔料等を均一に分散させるようにした射出成形機も知られている。具体的には、特許文献2に示すように、複数の細孔が貫通成形された複数枚の隔壁を、ノズル本体の軸線方向にジグザグ状で交互に逆向きに傾斜して配置したものや、特許文献3に示すように、筒状のミキシング本体と、その中空部内に挿入され半径方向に隣接する流路内の溶融樹脂が互いに逆向きに流れるように複数の流路を形成したもの、等が提案されている。このように、ミキシング機構では、射出ノズル内における樹脂の通路を複雑にすればするほど混練作用が確実となる。
特開平7−290531号 特開2004−017335号 特開平3−169522号
しかし、このような複雑な構造のミキシング機構を樹脂通路に組込むものでは、製造コストが極めて高くなっていた。また、複雑なミキシング機構を樹脂通路に配置することで溶融樹脂の流れが悪くなり、ひいては樹脂の種類や樹脂の色を交換する際の手間が増加していた。詳しく説明すると、例えば射出する樹脂の色を別の色に変える場合には、今まで使用していた樹脂(樹脂材料または溶融樹脂)が、新たな溶融樹脂に混ざらないように、加熱シリンダ内または射出ノズル内に残留している樹脂を全て排出する作業が必要とされるが、射出ノズルにおける樹脂通路の内周面に樹脂が固着している場合には、その樹脂を排出することが極めて困難となり、作業者の手間が大きくなっていた。そして、ミキシング機構を樹脂通路に配設したものでは、ミキシング機構の上流側、特に樹脂通路の内周面付近での樹脂の流れが極めて悪くなり、その内周面に樹脂が固着しやすくなっていた。このため、樹脂を交換する際の作業時間及び手間が助長されるとともに、内周面に固着した樹脂が取り残されることも懸念されていた。
さらに、従来の射出成形機によれば、所謂「糸引き」と呼ばれる不具合が発生し製品不良の一因となっていた。この「糸引き」とは、射出ノズルの樹脂通路に残留した溶融樹脂が、スクリュの背圧によって先端の放出口から垂れ下がり、成形品に対して糸状に付着する現象である。なお、この糸引きを防止するために、射出工程の終了後、スクリュを後退させることも行われているが、これによれば溶融樹脂の圧力が急激に低下することで溶融樹脂内に気泡が発生し、この気泡に起因する銀白色の筋が次の成形品の表面に現れる虞があった。すなわち、シルバーストリークと呼ばれる不良である。
そこで、本発明は、上記の実状に鑑み、比較的簡単な構成でありながらも確実に混練させ、しかも樹脂の種類や樹脂の色を交換する際の負担を軽減し、さらに糸引き等の不具合の発生を抑制する射出成形機の提供を課題とする。
本発明にかかる射出成形機は、「射出成形機における加熱シリンダの先端部分に取付けられ、前記加熱シリンダから送られる溶融樹脂を通過させる樹脂通路、及び該樹脂通路の先端に形成され溶融樹脂を射出させる放出口を有するノズルボディと、
該ノズルボディの前記樹脂通路内に着脱可能に配設され、前記加熱シリンダ側から加えられる溶融樹脂の圧力を低減する圧力低減部材と
を具備し、
前記圧力低減部材は、
外周面が前記樹脂通路の内周面に当接し前記樹脂通路を閉鎖する第一閉鎖部、
該第一閉鎖部の前記外周面において周方向に第一の間隔で凹設され、前記第一閉鎖部によって閉鎖される前記樹脂通路を連通させる複数の第一連通溝、
前記第一閉鎖部の上流側に形成され、前記樹脂通路を流れる溶融樹脂を前記樹脂通路の前記内周面に向って誘導する略円錐形状の第一上流側ガイド部、
及び、前記第一閉鎖部の下流側に形成され、前記第一連通溝を通過した溶融樹脂を前記樹脂通路の前記内周面に沿わせながら下流側に誘導する略倒立円錐形状の第一下流側ガイド部、
を一体成形してなる第一圧力低減部材と、
該第一圧力低減部材の下流側に配置され、外周面が前記樹脂通路の内周面に当接し前記樹脂通路を閉鎖する第二閉鎖部、
該第二閉鎖部の前記外周面において周方向に第二の間隔で凹設され、前記第二閉鎖部によって閉鎖される前記樹脂通路を連通させる複数の第二連通溝、
前記第二閉鎖部の上流側に形成され、前記第一連通溝を通過した溶融樹脂のうち前記第二連通溝に流入されない溶融樹脂を前記第一圧力低減部材側に跳ね返すように誘導し前記第一圧力低減部材との間で渦流を発生させる第二上流側ガイド部、
及び、前記第二閉鎖部の下流側に形成され、前記第二連通溝を通過した溶融樹脂を前記樹脂通路の前記内周面に沿わせながら下流側に誘導する略倒立円錐形状の第二下流側ガイド部、
を一体成形してなる第二圧力低減部材と
を備える」ことを特徴とするものである。
ここで、「第一連通溝」及び「第二連通溝」の形状としては、断面が凹形、V字形、U形、及び半円形等を例示することができる。なお、第一連通溝及び第二連通溝は形状が互いに異なるように形成してもよい。また、第二連通溝の数は第一連通溝よりも少ないことが好ましく、これによれば、第一圧力低減部材を通過した溶融樹脂のうち、一部の溶融樹脂を第二連通溝に向って送り、残りの溶融樹脂を第二上流側ガイド部に向って送ることが可能になる。また、「略円錐形状」とは、第一閉鎖部を底面とし上流側中心部分に向う略尖形形状であり、「略倒立円錐形状」とは、第一閉鎖部または第二閉鎖部を底面とし下流側中心部分に向う略尖形形状である。なお、略円錐形状及び略倒立円錐形状の先端部分は必ずしも尖っている必要はなく、例えば半球状に類似するような全体的に丸みを帯びた形状であってもよい。
本発明の射出ノズルによれば、加熱シリンダからノズルボディに送られた溶融樹脂は、ノズルボディの樹脂通路を通り、その先端の放出口から金型に射出される。樹脂通路内には圧力低減部材が配設されており、加熱シリンダ側から加えられる溶融樹脂の圧力を低減する。つまり、圧力低減部材の上流側の溶融樹脂にはスクリュの背圧に応じた圧力が加わるが、圧力低減部材が抵抗となって圧力を降下させることで、下流側の圧力を低くする。このため、金型から成形品を取出す際に、スクリュの背圧が樹脂通路内に残留する溶融樹脂に加わっても、圧力低減部材の下流側に位置する放出口から溶融樹脂が漏れ出ることを抑制し、成形品に対して溶融樹脂が糸状に付着してしまうこと(所謂「糸引き」)を防止することができる。なお、圧力低減部材は、樹脂通路に対して着脱可能に配設されているため、掃除やメンテナンス等を比較的容易に行わせることもできる。
また、圧力低減部材として、少なくとも第一圧力低減部材とその下流側に配置された第二圧力低減部材とを備えており、これらの組合せにより、樹脂通路の内周面に溶融樹脂が固着することを低減できるとともに、溶融樹脂及び顔料等を十分に混練させることが可能になる。詳しく説明すると、第一圧力低減部材には、まず、樹脂通路を閉鎖する第一閉鎖部と、第一閉鎖部の外周面において凹設され前後の樹脂通路を連通させる複数の第一連通溝とが設けられている。このため、溶融樹脂は、樹脂通路の内周面近傍に形成された第一連通溝のみを通って流れることになる。つまり、第一閉鎖部が配設された部分では樹脂通路の内周面に沿って溶融樹脂を流すことが可能になる。また、第一閉鎖部には上流側中心部分に向って尖形となった略円錐形状の第一上流側ガイド部が形成されているため、樹脂通路を流れる溶融樹脂は樹脂通路の内周面側に向って誘導される。したがって、樹脂通路を流れる溶融樹脂を円滑に第一連通溝に送り込むことができるとともに、樹脂通路の内周面付近の流速を高めることが可能になる。さらに第一閉鎖部には下流側中心部分に向って尖形となった略倒立円錐形状の第一下流側ガイド部が形成されているため、第一連通溝を通過した溶融樹脂は樹脂通路の内周面に沿って下流側に誘導される。したがって、第一閉鎖部だけではなく、その上流側及び下流側においても、樹脂通路の内周面に沿って溶融樹脂を流すことが可能になり、ひいては当該内周面に樹脂が固着することを抑制できる。なお、第一上流側ガイド部及び第二下流側ガイド部は、略円錐形または略倒立円錐形であるため、溶融樹脂の流れに対して大きな抵抗とはならない。したがって、樹脂通路に沿って比較的長く形成しても、放出口側における圧力が極端に低減して射出が困難になることを防止できる。
一方、第二圧力低減部材には、まず、樹脂通路を閉鎖する第二閉鎖部と、第二閉鎖部の外周面において凹設され前後の樹脂通路を連通させる複数の第二連通溝とが設けられている。また、第二閉鎖部にも第一閉鎖部と同様に下流側中心部分に向って尖形となった第二下流側ガイド部が形成されている。このため、第二圧力低減部材が配設された部分においても、樹脂通路の内周面に沿って溶融樹脂を流すことが可能になる。
さらに、第二閉鎖部の上流側には第二上流側ガイド部が形成されており、この第二上流側ガイド部によって、第一連通溝を通過した溶融樹脂のうち第二連通溝に流入されない溶融樹脂が第一圧力低減部材側に跳ね返すように誘導される。このため、第一圧力低減部材と第二圧力低減部材との間には、流速の速い部分と遅い部分とが生じ、その結果、渦流が発生する。そして、この渦流により、溶融樹脂が攪拌され効率よく混練させることが可能になる。
また、本発明の射出ノズルにおいて、「前記第二連通溝の個数は前記第一連通溝の個数よりも少なく、全ての前記第二連通溝が、前記樹脂通路の周方向において前記第一連通溝と合致する位置に形成されている」ように構成してもよい。
これによれば、複数の第一連通溝のうち、一部の第一連通溝が第二連通溝に対向し、残りの第一連通溝が第二上流側ガイド部に対向する。このため、溶融樹脂が円滑に流れる部分と流れが停滞する部分とを形成するとともに、それらの流速差を大きくすることが可能になる。したがって渦流による攪拌作用を助長することができる。
また、本発明の射出ノズルにおいて、「前記第一圧力低減部材及び前記第二圧力低減部材が一体成形されている」ようにしてもよい。
これによれば、掃除やメンテナンスを行う際に圧力低減部材を脱着しても、第一連通溝と第二連通溝との位置関係が変わらないため、常に適切な状態で用いることができるとともに、位置合わせ等が不要となり作業者の負担を軽減することができる。
また、本発明の射出ノズルにおいて、「前記第二圧力低減部材が前記樹脂通路に沿って複数個連設されている」ようにしてもよい。
ところで、大型の射出成形機では、一般にノズルボディの長さも長くなる。そして、このような長寸のノズルボディにおいては、樹脂通路の内周面に溶融樹脂が付着する可能性が高くなる。そこで、本発明の圧力低減部材を樹脂通路に設けるようにすればよいが、樹脂通路全体に対して内周面側の流れを促進しようとすると、第一上流側ガイド部や第一,第二下流側ガイド部を長さ方向に大きく延ばさなければならず、これによれば、抵抗が極めて大きくなり円滑な射出が困難になってしまうことが懸念される。
これに対し、本発明では、樹脂通路に沿って複数個の第二圧力低減部材を連設させる。つまり、樹脂通路の長さに合わせて第二圧力低減部材の個数を増減させる。これにより、樹脂通路全体に対して内周面付近の流れを促進することが可能となり、溶融樹脂の付着による不具合を抑制できる。しかも、複数の第二圧力低減部材を連設しても、抵抗となるのは第二閉鎖部の部分だけであるため、抵抗が大きく増加して射出が困難になることを防止できる。
また、本発明の射出ノズルにおいて、「前記ノズルボディの前記樹脂通路は、下流側ほど内径が縮径されたテーパ状を呈し、
前記第一閉鎖部及び前記第二閉鎖部は、前記樹脂通路の前記内周面に当接することで、下流側への移動が規制されている」ように構成してもよい。
ところで、第一圧力低減部材及び第二圧力低減部材を所定の位置で保持する構成としては、例えばネジを用いて固定したり、ブラケットを介して取付けたりすることが考えられる。しかしながら、これらの方法では着脱に手間がかかるとともに、ノズルボディの構造が複雑化し、例えば既存のノズルボディを利用することができなくなる。
これに対し、本発明では、ノズルボディの樹脂通路をテーパ状に形成し、第一閉鎖部及び第二閉鎖部が樹脂通路の内周面に当接することで、下流側への移動を規制している。なお、下流側が上流側よりも圧力が高くなることはないため、圧力低減部材が上流側に移動することはない。このように、樹脂通路の内周面と圧力低減部材の外周面との圧接のみによって圧力低減部材を保持するため、極めて簡単に着脱することが可能となり、掃除やメンテナンス時の手間をさらに軽減することができる。また、ノズルボディの樹脂通路をテーパ状に形成するだけでよいため、既存のノズルボディを利用することも可能となり、製造コストの低廉化を図ることができる。
このように、本発明の射出ノズルによれば、圧力低減部材によって放出口側の樹脂圧を低減させるため、糸引き等の不具合が発生することを抑制できる。また、溶融樹脂を樹脂通路の内周面に沿って流すことで、内周面に溶融樹脂が固着することを抑制し、ひいては樹脂の種類や樹脂の色を交換する際の負担を軽減することが可能になる。さらに、第一圧力低減部材と第二圧力低減部材との間で渦流を発生させることで、簡単な構成にありながらも十分に混練させることができる。
以下、本発明の一実施形態である射出ノズル、及びその射出ノズルを備えた射出成形機について、図1乃至図6に基づき説明する。図1は射出成形機の概略構成を示す模式図であり、図2は射出ノズルの構成を示す拡大断面図であり、図3は射出ノズルに備えられた圧力低減部材の構成を示す斜視図であり、図4は図2のA−A断面図及びB−B断面図であり、図5は圧力低減部材の作用を示す説明図であり、図6は射出成形機における計量・貯留及び射出工程を示す説明図である。
[射出成形機1の全体構成について]
図1に示すように、本例の射出成形機1は、樹脂通路2aを内部に有する略円筒状のシリンダ2と、シリンダ2の先端部分に取付金具2cを介して取付けられた射出ノズル3と、シリンダ2の外周面に巻かれたヒータ4と、シリンダ2の根元側の上部に貫通状態で接続されたホッパ5と、シリンダ2の樹脂通路2aに配設されたスクリュ6とを具備して構成されている。
ここで、ヒータ4は樹脂通路2aを通る樹脂材料Kを外部から加熱するものであり、シリンダ2と組合せることにより本発明の加熱シリンダとして機能している。なお、樹脂材料Kには、ヒータ4の熱だけではなく、スクリュ6の回転に伴う摩擦熱、及びシリンダ2の内周面との間で発生するせん断熱も加えられ、これらの熱により樹脂材料Kは溶融されながら送られる。
ホッパ5は、固形状の樹脂材料K(例えば樹脂ペレット)を貯えるとともに、底面に設けられた供給口(図示しない)からシリンダ2の根元側に、重力を利用して樹脂材料Kを供給するものである。つまり、ホッパ5の下方の樹脂通路2aに空隙が生じると、その部分に対して樹脂材料Kを落とし込むことにより、樹脂通路2a内に樹脂材料Kを充填させる。
スクリュ6は、表面に螺旋溝が形成されており、樹脂通路2aの略全域に亘って配置される長さに設定されている。また、スクリュ6は、回転可能で且つ軸方向に移動可能(進退可能)に支持されており、スクリュ6を回転させることで、ホッパ5から供給された樹脂材料Kをシリンダ2の先端部2bに送ることが可能になり、スクリュ6を前進させることで、先端部2bに貯留された樹脂材料(溶融樹脂Y)を射出ノズル3から所定の圧力で射出させることが可能になる。なお、スクリュ6には射出ノズル3側に向って所定の圧力(すなわち背圧)が加えられており、スクリュ6を回転させた際にスクリュ6の推進力によってスクリュ6が後退しないようになっている。
スクリュ6を回転させる手段として、回転用モータ9及び回転伝達機構10を具備している。回転用モータ9は、その出力軸9aを一定方向に回転させるサーボモータからなり、第一モータ駆動回路(図示しない)によって回転制御される。回転伝達機構10は、回転用モータ9の回転をスクリュ6に伝達するものであり、スクリュ6の軸6cに接続された従動プーリ11と、回転用モータ9の出力軸9aに連結された駆動プーリ12と、駆動プーリ12及び従動プーリ11を繋ぐ無端のベルト13とから構成されている。
一方、スクリュ6を軸方向に移動させる手段として、進退用モータ15及び軸方向移動機構16を具備している。進退用モータ15はサーボモータからなり、第二モータ駆動回路(図示しない)によって回転数及び回転方向が制御される。軸方向移動機構16は、進退用モータ15の回転運動をスクリュ6の軸方向への直線運動に変換するものであり、シリンダ2の根元部分に固定された第一ベース板17aと、これに対向して配設された第二ベース板17bと、二枚のベース板17a,17bを繋ぐ一対のガイド部材18と、ガイド部材18によってスクリュ6の軸方向に摺動可能に案内されるとともに内部に雌ネジ(図示しない)が形成されたスライド部材19と、この雌ネジに螺合されるとともに第二ベース板17bに対して回動可能に支持された送りネジ20と、送りネジ20の一端側に接続された従動プーリ21と、進退用モータ15の出力軸15aに接続された駆動プーリ22と、従動プーリ21及び駆動プーリ22を繋ぐ無端のベルト23とから構成されている。なお、回転伝達機構10の従動プーリ11は、スライド部材19に対して回動可能に連結されており、スライド部材19がガイド部材18に沿って直線運動すると、それに従って回転伝達機構10及び回転用モータ9も移動するように構成されている。このため、進退用モータ15を一定方向に回転させると、送りネジ20によってスライド部材19及び従動プーリ11が前進し、スクリュ6が射出ノズル3側に向って移動する。
また、スクリュ6の先端側には小径の頸部7が形成されており、この頸部7にチェックリング8が遊嵌されている。チェックリング8はスクリュ6の頸部7に対して回動可能で、且つスクリュ6の軸方向に頸部7の長さ分だけ移動可能な状態で支持されている。また、チェックリング8の内周面と頸部7の間には溶融樹脂Yを通過させ得る溝Sが形成されており、樹脂通路2aにおいて、螺旋溝が形成されたスクリュ本体6a側の圧力が先端部2bの圧力よりも高い状態(すなわちスクリュ6が回転している状態)では、この圧力差によってチェックリング8が先端部2b側に移動することで溝Sが開放され(図6(a)参照)、溶融樹脂Yを先端部2bに送ることが可能となる。一方、先端部2bに溶融樹脂Yが貯留された状態でスクリュ6の回転が停止すると、スクリュ本体6a側の圧力が先端部2bの圧力よりも低くなるため、その圧力差によってチェックリング8がスクリュ本体6a側に移動し、スクリュ本体6aに当接する(図6(c)参照)。これにより、溝Sが閉鎖され、先端部2bに貯留された溶融樹脂Yの逆流が防止される。
[計量・貯留工程、及び射出工程について]
次に、計量・貯留工程、及び射出工程について、図6に基づき説明する。まず、計量・貯留工程では、図6(a)に示すように、ホッパ5から樹脂材料Kを供給しつつ、回転用モータ9(図1参照)及び回転伝達機構10によってスクリュ6を一定方向(矢印の方向)に回転させる。すると、ホッパ5から供給された樹脂材料Kは、シリンダ2の周囲に巻かれたヒータ4からの熱、スクリュ6の回転に伴う摩擦熱、及びせん断熱によって加熱されながら、シリンダ2の先端部2bに向って送られる。そして、先端部2bにおいて蓄積される溶融樹脂Yの樹脂圧がスクリュ6の背圧よりも高くなると、図6(b)に示すように、その樹脂圧によってスクリュ6が後退する。このため、スクリュ6の位置を検出することにより、先端部2bにおいて溶融樹脂Yを計量しながら貯留させることが可能になる。
一方、図6(c)に示すように、射出工程では、進退用モータ15(図1参照)及び軸方向移動機構16によってスクリュ6を軸方向に前進させる。すると、シリンダ2の先端部2bに貯留されている溶融樹脂Yが射出ノズル3から所定の圧力で射出され、型締めされた金型(図示しない)に対して所定の圧力で溶融樹脂Yを注入することが可能となる。そして、これらの計量・貯留工程及び射出工程を順次繰返し行うことにより、金型に対して溶融樹脂Yを所定量ずつ供給し、複数の成形品を連続的に成形することが可能となる。
[射出ノズルの構成及び作用について]
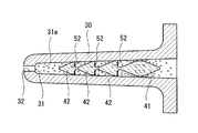
次に本実施形態の射出ノズル3について詳細に説明する。図1に示すように、本例の射出ノズル3は、シリンダ2の先端部分に取付金具2cを介して着脱可能に取付けられたノズルボディ30と、ノズルボディ30の内部に配設された圧力低減部材40とを具備して構成されている。図2に示すように、ノズルボディ30には、溶融樹脂Yを通過させる樹脂通路31が中心部分を貫通して設けられ、その樹脂通路31の先端には、溶融樹脂Yを射出する放出口32が形成されている。また、ノズルボディ30は細長く先端側に向って僅かに縮径された略円筒形の形状を呈しているが、根元側には外方向に突出するフランジ30bが形成されており、このフランジ30bを取付金具2c(図1参照)に突合わせた状態で取付けられる。また、樹脂通路31は下流側に向って漸次内径が小さくなるようにテーパ状に形成されており、この樹脂通路31の内周面31aと圧力低減部材40の外周面とが当接することで、圧力低減部材40が放出口32側に移動することを規制している。
圧力低減部材40は、樹脂通路31内に着脱可能な状態で挿入されており、シリンダ2側から加えられる溶融樹脂Yの圧力を低減する。つまり、圧力低減部材40の上流側の溶融樹脂Yにはスクリュ6(図1参照)の背圧に応じた圧力が加わるが、圧力低減部材40が抵抗となって圧力を降下させることで、その下流側の圧力を低くする。特に、本例の圧力低減部材40は、第一圧力低減部41とその下流側の第二圧力低減部42とから構成されており、これらの組合せにより、樹脂通路31の内周面31aに溶融樹脂Yが固着することを低減するとともに、溶融樹脂Yを十分に混練させることが可能となっている。なお、第一圧力低減部41及び第二圧力低減部42は別々に成形し一体的に組付けるようにしてもよいが、本例では一体成形品として構成されている。ここで、第一圧力低減部41が本発明の第一圧力低減部材に相当し、第二圧力低減部42が本発明の第二圧力低減部材に相当する。
圧力低減部材40についてさらに詳しく説明する。図2及び図3に示すように、第一圧力低減部41は、外周面45aが樹脂通路31の内周面31aに当接することで樹脂通路31を閉鎖する第一閉鎖部45と、第一閉鎖部45の外周面45aに凹設され前後の樹脂通路31を連通させる複数の第一連通溝46と、第一閉鎖部45の上流側に形成された略円錐形状の第一上流側ガイド部47と、第一閉鎖部45の下流側に形成された略倒立円錐形状の第一下流側ガイド部48とを具備して構成されている。
ここで、図4(a)に示すように、本例の第一連通溝46は、周方向に60度の間隔で形成された6本の溝からなり、断面が略U字形状で、樹脂通路31に沿って直線状に形成されている。このように、第一連通溝46が形成された第一閉鎖部45を備えることにより、溶融樹脂Yは、第一圧力低減部41を通過する際、樹脂通路31の内周面31a近傍に形成された第一連通溝46のみを通って流れることになる。
図5に示すように、第一上流側ガイド部47は、第一閉鎖部45を底面とし上流側中心部分に向う尖形形状となっているため、樹脂通路31を流れる溶融樹脂Yは樹脂通路31の内周面31a側に向って誘導される。したがって、樹脂通路31を流れる溶融樹脂Yを円滑に第一連通溝46に送り込むことができるとともに、樹脂通路31の内周面31a付近の流速を高めることが可能になる。
第一下流側ガイド部48は、第一閉鎖部45を底面として下流側中心部分に向う尖形形状になっているため、第一連通溝46を通過した溶融樹脂Yは樹脂通路31の内周面31aに沿って下流側に誘導される。したがって、第一閉鎖部45だけではなく、その上流側及び下流側においても、樹脂通路31の内周面31aに沿って溶融樹脂Yを流すことが可能になる。
一方、第二圧力低減部42は、図2及び図3に示すように、外周面50aが樹脂通路31の内周面31aに当接し樹脂通路31を閉鎖する第二閉鎖部50と、第二閉鎖部50の外周面50aに凹設され前後の樹脂通路31を連通させる複数の第二連通溝51と、第二閉鎖部50の上流側の面に形成された第二上流側ガイド部52と、第二閉鎖部50の下流側に形成された略倒立円錐形状の第二下流側ガイド部53とを具備して構成されている。
図4(b)に示すように、本例の第二連通溝51は、周方向に120度の間隔で形成された3個の溝からなり、断面形状は略U字形状で、樹脂通路31に沿って直線状に形成されている。つまり、第二連通溝51は、第一連通溝46と同じ大きさで同じ形状であるが、第二連通溝51の数は第一連通溝46の半分となっている。そして、全ての第二連通溝51が、樹脂通路31の周方向において第一連通溝46と合致する位置に形成されている。換言すれば、6個の第一連通溝46のうち、3個の第一連通溝46aが第二連通溝51に向って形成され、残り3個の第一連通溝46bは第二上流側ガイド部52に向って形成されている。
第二上流側ガイド部52は、第二閉鎖部50の上流側の面において断面半円状の窪みが円環状に形成された形状を呈しており、図5の矢印(ロ)に示すように、第一連通溝46を通過した溶融樹脂Yのうち第二連通溝51に流入されない溶融樹脂Y、すなわち第二連通溝51と対向しない第一連通溝46bを通過した溶融樹脂Yを、第一圧力低減部41側に跳ね返すように誘導する。これにより、第一圧力低減部41と第二圧力低減部42との間には、矢印(イ)のように第一連通溝46aと第二連通溝51とが対向することで溶融樹脂Yが円滑に流れる部分と、矢印(ロ)のように第一連通溝46bと第二上流側ガイド部52とが対向することで溶融樹脂Yの流れが停滞する部分とが、交互に形成されることになる。すると、流速の違いによって渦が発生し、この渦によって溶融樹脂Yが攪拌され効率よく混練させることが可能になる。
なお、第二下流側ガイド部53は、第一圧力低減部41における第一下流側ガイド部48と同様であり、第二連通溝51を通過した溶融樹脂Yを樹脂通路31の内周面31aに沿って円滑に流すことを可能にしている。
以上のように、本例の射出ノズル3によれば、圧力低減部材40によって放出口32側の樹脂圧を低減させるため、金型から成形品を取出す際に、スクリュ6の背圧が樹脂通路31に残留する溶融樹脂Yに加わっても、圧力低減部材40の下流側に位置する放出口32から溶融樹脂Yが漏れ出ることを抑制し、成形品に対して溶融樹脂Yが糸状に付着してしまうこと(所謂「糸引き」)を防止することができる。また、溶融樹脂Yを樹脂通路31の内周面31aに沿って流すことで、内周面31aに溶融樹脂Yが固着することを抑制し、ひいては樹脂の種類や樹脂の色を交換する際の負担を軽減することが可能になる。なお、第一上流側ガイド部47、第一下流側ガイド部48、及び第二下流側ガイド部53は、略円錐形または略倒立円錐形であるため、溶融樹脂Yの流れに対して大きな抵抗とはならず、放出口32側における圧力が極端に低減して射出が困難になることを防止できる。
また、第二閉鎖部50の上流側には第二上流側ガイド部52が形成されており、第一圧力低減部41と第二圧力低減部42との間で渦流を発生させるため、簡単な構成にありながらも十分な混練を生じさせることができる。特に,溶融樹脂Yが円滑に流れる部分と流れが停滞する部分とが交互に生じその流速差が大きくなるため、攪拌作用を助長することができる。
また、本例の射出ノズル3によれば、第一圧力低減部41と第二圧力低減部42とが一体成形品として構成されているため、掃除やメンテナンスを行う際に圧力低減部材40を脱着しても、第一連通溝46と第二連通溝51との位置関係が変わらず、常に適切な状態で用いることができる。また、それらの位置合わせ等が不要となり作業者の負担を軽減することも可能になる。
さらに、ノズルボディ30の樹脂通路31をテーパ状に形成し、第一閉鎖部45及び第二閉鎖部50が樹脂通路31の内周面31aに当接することで、下流側への移動を規制しているため、圧力低減部材40を極めて簡単に着脱することが可能となり、掃除やメンテナンス時の手間をさらに軽減することができる。また、ノズルボディ30の内周面31aをテーパ状に形成するだけでよいため、既存のノズルボディを利用することも可能となり、製造コストの低廉化を図ることができる。
以上、本発明を実施するための最良の形態を挙げて説明したが、本発明はこの実施の形態に限定されるものではなく、以下に示すように本発明の趣旨を逸脱しない範囲において、種々の改良および設計の変更が可能である。
すなわち、上記実施形態では、圧力低減部材40として、一つの第一圧力低減部41と、一つの第二圧力低減部42とを組合せるものを示したが、図7に示すように、第二圧力低減部42を樹脂通路31に沿って複数個連設するようにしてもよい。つまり、樹脂通路31の長さに合わせて第二圧力低減部42の個数を増減させるようにしてもよい。これによれば、樹脂通路31の長さが比較的長くても、樹脂通路31全体に対して内周面31a付近の流れを促進することが可能となり、溶融樹脂Yの付着による不具合を確実に抑制することができる。しかも、複数の第二圧力低減部42を連設しても、抵抗として加わるのは第二閉鎖部50の部分だけであるため、抵抗が必要以上に大きく増加し射出が困難になることを抑制できる。
また、上記実施形態では、第一圧力低減部41に第一連通溝46を6個形成し、第二圧力低減部42に第二連通溝51を3個形成するものを示したが、第一連通溝46及び第二連通溝51の個数は特に限定されるものではなく、圧力の低減度合や混練作用等を考慮して適宜設定することができる。但し、第一連通溝46の個数が第二連通溝51の個数の整数倍になるように設定すれば、流速の早い部分と遅い部分とを交互に生じさせることが可能になり、渦流の発生を一層促進させることができる。
また、上記実施形態では、ノズルボディ30を放出口32に向けて先細形状に構成することで、内部の樹脂通路31をテーパ状に形成するものを示したが、既存の射出成形機に取り付けられたノズルボディのように外径寸法を一定とするものにおいても、樹脂通路をテーパ状に形成することが可能である。つまり、既存のノズルボディを用いても、比較的簡単な加工を施すだけで、本例の圧力低減部材40を用いることが可能となり、ひいては製造コストの低廉化を図ることが可能になる。
本実施形態の射出ノズルを備えた射出成形機の概略構成を示す模式図である。 射出ノズルの構成を示す断面図である。 圧力低減部材の構成を示す斜視図である。 (a)は図2のA−A断面図、(b)は図2のB−B断面図である。 圧力低減部材の作用を示す説明図である。 射出成形機の計量・貯留工程、及び射出工程を示す説明図である。 圧力低減部材の他の例を示す断面図である。
符号の説明
1 射出成形機
2 シリンダ(加熱シリンダ)
3 射出ノズル
30 ノズルボディ
31 樹脂通路
31a 内周面
32 放出口
40 圧力低減部材
41 第一圧力低減部(第一圧力制限部材)
42 第二圧力低減部(第二圧力制限部材)
45 第一閉鎖部
45a 外周面
46 第一連通溝
47 第一上流側ガイド部
48 第一下流側ガイド部
50 第二閉鎖部
50a 外周面
51 第二連通溝
52 第二上流側ガイド部
53 第二下流側ガイド部
Y 溶融樹脂

Claims (5)

  1. 射出成形機における加熱シリンダの先端部分に取付けられ、前記加熱シリンダから送られる溶融樹脂を通過させる樹脂通路、及び該樹脂通路の先端に形成され溶融樹脂を射出させる放出口を有するノズルボディと、
    該ノズルボディの前記樹脂通路内に着脱可能に配設され、前記加熱シリンダ側から加えられる溶融樹脂の圧力を低減する圧力低減部材と
    を具備し、
    前記圧力低減部材は、
    外周面が前記樹脂通路の内周面に当接し前記樹脂通路を閉鎖する第一閉鎖部、
    該第一閉鎖部の前記外周面において周方向に第一の間隔で凹設され、前記第一閉鎖部によって閉鎖される前記樹脂通路を連通させる複数の第一連通溝、
    前記第一閉鎖部の上流側に形成され、前記樹脂通路を流れる溶融樹脂を前記樹脂通路の前記内周面に向って誘導する略円錐形状の第一上流側ガイド部、
    及び、前記第一閉鎖部の下流側に形成され、前記第一連通溝を通過した溶融樹脂を前記樹脂通路の前記内周面に沿わせながら下流側に誘導する略倒立円錐形状の第一下流側ガイド部、
    を一体成形してなる第一圧力低減部材と、
    該第一圧力低減部材の下流側に配置され、外周面が前記樹脂通路の内周面に当接し前記樹脂通路を閉鎖する第二閉鎖部、
    該第二閉鎖部の前記外周面において周方向に第二の間隔で凹設され、前記第二閉鎖部によって閉鎖される前記樹脂通路を連通させる複数の第二連通溝、
    前記第二閉鎖部の上流側に形成され、前記第一連通溝を通過した溶融樹脂のうち前記第二連通溝に流入されない溶融樹脂を前記第一圧力低減部材側に跳ね返すように誘導し前記第一圧力低減部材との間で渦流を発生させる第二上流側ガイド部、
    及び、前記第二閉鎖部の下流側に形成され、前記第二連通溝を通過した溶融樹脂を前記樹脂通路の前記内周面に沿わせながら下流側に誘導する略倒立円錐形状の第二下流側ガイド部、
    を一体成形してなる第二圧力低減部材と
    を備えることを特徴とする射出ノズル。
  2. 前記第二連通溝の個数は前記第一連通溝の個数よりも少なく、全ての前記第二連通溝が、前記樹脂通路の周方向において前記第一連通溝と合致する位置に形成されていることを特徴とする請求項1に記載の射出ノズル。
  3. 前記第一圧力低減部材及び前記第二圧力低減部材が一体成形されていることを特徴とする請求項1または請求項2に記載の射出ノズル。
  4. 前記第二圧力低減部材が前記樹脂通路に沿って複数個連設されていることを特徴とする請求項1乃至請求項3の少なくとも何れか1つに記載の射出ノズル。
  5. 前記ノズルボディの前記樹脂通路は、下流側ほど内径が縮径されたテーパ状を呈し、
    前記第一閉鎖部及び前記第二閉鎖部は、前記樹脂通路の前記内周面に当接することで、下流側への移動が規制されていることを特徴とする請求項1乃至請求項4の少なくとも何れか1つに記載の射出ノズル。
JP2008187293A 2008-07-18 2008-07-18 射出ノズル Expired - Fee Related JP4223543B1 (ja)

Priority Applications (1)

Application Number Priority Date Filing Date Title
JP2008187293A JP4223543B1 (ja) 2008-07-18 2008-07-18 射出ノズル

Applications Claiming Priority (1)

Application Number Priority Date Filing Date Title
JP2008187293A JP4223543B1 (ja) 2008-07-18 2008-07-18 射出ノズル

Publications (2)

Publication Number Publication Date
JP4223543B1 JP4223543B1 (ja) 2009-02-12
JP2010023346A true JP2010023346A (ja) 2010-02-04

Family

ID=40403895

Family Applications (1)

Application Number Title Priority Date Filing Date
JP2008187293A Expired - Fee Related JP4223543B1 (ja) 2008-07-18 2008-07-18 射出ノズル

Country Status (1)

Country Link
JP (1) JP4223543B1 (ja)

Cited By (3)

* Cited by examiner, † Cited by third party
Publication number Priority date Publication date Assignee Title
JP2017136765A (ja) * 2016-02-04 2017-08-10 剛 河田 射出ミキシングノズル
JP2020090042A (ja) * 2018-12-06 2020-06-11 ポリプラスチックス株式会社 射出ノズル
JP2020128039A (ja) * 2019-02-08 2020-08-27 剛 河田 射出ミキシングノズル

Cited By (4)

* Cited by examiner, † Cited by third party
Publication number Priority date Publication date Assignee Title
JP2017136765A (ja) * 2016-02-04 2017-08-10 剛 河田 射出ミキシングノズル
JP2020090042A (ja) * 2018-12-06 2020-06-11 ポリプラスチックス株式会社 射出ノズル
JP7132107B2 (ja) 2018-12-06 2022-09-06 ポリプラスチックス株式会社 射出ノズル
JP2020128039A (ja) * 2019-02-08 2020-08-27 剛 河田 射出ミキシングノズル

Also Published As

Publication number Publication date
JP4223543B1 (ja) 2009-02-12

Similar Documents

Publication Publication Date Title
CN107530940B (zh) 挤出机用螺杆、挤出机以及挤出方法
JP5822119B2 (ja) 高せん断加工装置
CN105980122A (zh) 挤出机用螺杆、挤出机以及挤出方法
JP4223543B1 (ja) 射出ノズル
JP2000328345A (ja) 紡糸原料着色装置
JP2009269183A (ja) 可塑化送出装置およびこれを含む射出成形機
CN103052484B (zh) 用于注塑机、挤出机等的塑化单元和为此设置的液体输入装置
US8801426B2 (en) Injection molding system having a dynamic mixer
JP2009113360A (ja) 射出成型機用プランジャ式射出シリンダ
TWI648143B (zh) Method for forming resin molded article containing reinforced fiber
US4106113A (en) Feeding screw assembly of a molding machine for plasticizing masses, particularly, for plastics or rubber
JP4708094B2 (ja) 液状樹脂成形機の射出装置
CN114102998A (zh) 注塑机及其射嘴
CN211993880U (zh) 材料供应装置、注射成型装置以及三维造型装置
CN100411851C (zh) 具有塑料熔体和添加剂的混合与定量装置的注塑设备
JP2017136765A (ja) 射出ミキシングノズル
CN207772380U (zh) 静态混合器
KR101666404B1 (ko) 사출기용 가스배출 어댑터 노즐기
JP2024141169A (ja) 射出ミキシングノズル
JP2005349821A (ja) 複数成分ミキシングヘッド
JP5397599B2 (ja) 射出成形機の射出装置
JP2007076276A (ja) 液状樹脂成形射出装置の混合装置
CN114555320A (zh) 注射模具及其生产方法及生产大理石纹模制件的方法
JP2013248768A (ja) 射出成形機の射出装置
JP2014087986A (ja) 繊維材料を含む樹脂材料の射出成形装置および射出成形方法

Legal Events

Date Code Title Description
TRDD Decision of grant or rejection written
A01 Written decision to grant a patent or to grant a registration (utility model)

Free format text: JAPANESE INTERMEDIATE CODE: A01

Effective date: 20081111

A01 Written decision to grant a patent or to grant a registration (utility model)

Free format text: JAPANESE INTERMEDIATE CODE: A01

A61 First payment of annual fees (during grant procedure)

Free format text: JAPANESE INTERMEDIATE CODE: A61

Effective date: 20081119

R150 Certificate of patent or registration of utility model

Free format text: JAPANESE INTERMEDIATE CODE: R150

FPAY Renewal fee payment (event date is renewal date of database)

Free format text: PAYMENT UNTIL: 20111128

Year of fee payment: 3

FPAY Renewal fee payment (event date is renewal date of database)

Free format text: PAYMENT UNTIL: 20111128

Year of fee payment: 3

FPAY Renewal fee payment (event date is renewal date of database)

Free format text: PAYMENT UNTIL: 20141128

Year of fee payment: 6

LAPS Cancellation because of no payment of annual fees