JP2010022643A - 装飾体駆動ユニット、演出装置、遊技盤、及びパチンコ遊技機 - Google Patents

装飾体駆動ユニット、演出装置、遊技盤、及びパチンコ遊技機 Download PDF

Info

Publication number
JP2010022643A
JP2010022643A JP2008188632A JP2008188632A JP2010022643A JP 2010022643 A JP2010022643 A JP 2010022643A JP 2008188632 A JP2008188632 A JP 2008188632A JP 2008188632 A JP2008188632 A JP 2008188632A JP 2010022643 A JP2010022643 A JP 2010022643A
Authority
JP
Japan
Prior art keywords
decorative body
arm
opening
drive unit
closing member
Prior art date
Legal status (The legal status is an assumption and is not a legal conclusion. Google has not performed a legal analysis and makes no representation as to the accuracy of the status listed.)
Granted
Application number
JP2008188632A
Other languages
English (en)
Other versions
JP5140511B2 (ja
Inventor
Ryuichi Uchida
竜一 内田
Current Assignee (The listed assignees may be inaccurate. Google has not performed a legal analysis and makes no representation or warranty as to the accuracy of the list.)
Kyoraku Sangyo Co Ltd
Original Assignee
Kyoraku Sangyo Co Ltd
Priority date (The priority date is an assumption and is not a legal conclusion. Google has not performed a legal analysis and makes no representation as to the accuracy of the date listed.)
Filing date
Publication date
Application filed by Kyoraku Sangyo Co Ltd filed Critical Kyoraku Sangyo Co Ltd
Priority to JP2008188632A priority Critical patent/JP5140511B2/ja
Publication of JP2010022643A publication Critical patent/JP2010022643A/ja
Application granted granted Critical
Publication of JP5140511B2 publication Critical patent/JP5140511B2/ja
Expired - Fee Related legal-status Critical Current
Anticipated expiration legal-status Critical

Links

Images

Landscapes

  • Pinball Game Machines (AREA)

Abstract

【課題】一端に設けた回動軸を中心として遊技盤面と略平行な方向へ揺動するアーム、及びその先端に設けた可動役物を高速動作させることができ、更に遊技盤面上の任意の停止位置に安定して停止させることができる装飾体駆動ユニットを提供する。
【解決手段】位置固定された回転軸を中心として揺動するアームと、該アームの端部により回転自在に軸支された装飾体と、アームの揺動時に装飾体が移動する経路上に配置されて装飾体の外周面に接触して該装飾体を回転させる付勢部材50と、を備えた。
【選択図】図2

Description

本発明は、パチンコ遊技機を構成する遊技盤面上において装飾体を盤面と略平行な方向へ開閉、出没動作させることによって遊技進行上特徴的な演出効果を発揮させることができるようにした装飾体駆動ユニット、演出装置、遊技盤、及びパチンコ遊技機に関する。
パチンコ遊技機においては、遊技盤の盤面に入賞口、風車、可変表示装置、電飾装置等の各種盤面部品を設けて遊技内容の多様性を図り、遊技の進行中における入賞、その他の状況変化を契機として可動盤面部品を種々の方向に動作させることにより演出効果を高めている。
例えば、遊技盤に設けられた始動入賞口に遊技球が入賞すると、遊技盤中の可変表示装置に表示される図柄が変動を開始し、所定時間経過後に停止した図柄が予め定めた大当たり図柄となった場合に大当たり状態となり、遊技者が大量の出球を獲得できるようになっている。このような遊技機では、遊技の興趣を高めるために様々な表示演出が行われる。
例えば、本出願人の提案に係る特許文献1には、遊技盤の盤面と平行な左右方向へ往復移動する第1可動役物と、遊技盤の前後方向へ往復移動する第2可動役物と、を備えた役物装置が開示されている。これによれば、遊技内容の複雑、高度化に対応した演出を実現することができる。
また、特許文献2にも第1の可動部材と第2の可動部材を動作させるための構成が開示されている。
しかし、ギヤ機構を用いて各可動役物を上下、左右に動作させる場合には、可動役物を遊技盤面上の任意の位置にて停止させた状態を維持することが難しい。即ち、ギヤ同志のバックラッシュ、部材間の寸法誤差等によって、可動役物が本来の停止位置から偏位した状態で停止することが多々あり、遊技球の経路を妨げたり、外観を悪化させて遊技の興趣を低下させる原因となる。
このような不具合は、一端に設けた回動軸を中心として盤面と平行な方向へ回動する長尺アームの先端に可動役物を取り付けた構造の盤面部品において特に発生し易い。これは、長尺アームの一端に設けた回動軸と他端に設けた可動役物との間の距離が長いために長尺アームを停止させた際に、長尺アーム及び可動役物の自重と、ギヤ部のバックラッシュなどに起因して停止位置に確実に停止させることが難しいからである。
特に、長尺アームの先端部に回転自在に軸支した可動役物をモータにより回転駆動する場合には、重量バランス、耐久性等の関係からモータを長尺アームの先端に搭載することが難しくなる場合が多いため、遊技盤面側に配置した駆動源から可動役物に駆動力を伝達する必要が生じるが、駆動力伝達のための構成を構築することが難しかった。
また、モータからの駆動力をギヤ機構を介して上記長尺アームの回動軸に伝達して揺動させることにより長尺アーム先端に支持された可動役物を遊技盤面上にて迅速に進退動作させる場合には、駆動ギヤを高速回転させるか、或いは駆動ギヤと従動ギヤとのギヤ比を大きくして駆動ギヤが一回転する際の従動ギヤの回転数を可能な限り多くするように構成する必要がある。しかし、駆動ギヤを高速回転させる場合にはモータの負荷が増大して耐久性が低下するという問題を生じる。また、上記のようにギヤ比を調整する場合には駆動ギヤが大型化してレイアウト上の問題を生じ易くなる。
特願2005−214197公報 特開2004−129875公報
以上のように、一端に設けた回動軸を中心として盤面と平行な方向へ揺動する長尺アームをギヤ機構を用いてモータ駆動する場合には、回動軸と長尺アーム先端に支持した可動役物との間の距離が長いために長尺アームを停止させた際に、長尺アーム及び可動役物の自重と、ギヤ部のバックラッシュなどに起因して停止位置に確実に停止させることが難しいという問題があった。また、ギヤ機構を用いて長尺アームを迅速に揺動させる場合には、モータを高速回転させたり、駆動ギヤを大径に構成する必要があったため、モータの耐久性低下、大径ギヤを配置することによるレイアウト上の制限という問題が発生する虞があった。また、長尺アーム先端の可動役物を回転駆動させる手段としてモータを採用する場合には、モータの配置場所の選定、モータからの駆動力の伝達手段の選定という点において、困難な課題が発生することが多々あった。
本発明は上記に鑑みてなされたものであり、駆動機構としてモータ負荷の増大や大型化を招く虞のあるギヤ機構を用いることなく、一端に設けた回動軸を中心として遊技盤面と略平行な方向へ揺動する長尺アーム、及びその先端に設けた可動役物を高速動作させることができ、更に遊技盤面上の任意の停止位置に安定して停止させることができる装飾体駆動ユニット、演出装置、遊技盤、及びパチンコ遊技機を提供することを目的としている。
更に、本発明は、格別のモータを用いることなく長尺アーム先端に軸支した可動役物を回転駆動させることを目的としている。
上記目的を達成するため、請求項1に係る装飾体駆動ユニットは、位置固定された回転軸を中心として揺動するアームと、該アームの端部により回転自在に軸支された装飾体と、前記アームの揺動時に前記装飾体が移動する経路上に配置されて前記装飾体の外周面に接触して該装飾体を回転させる付勢部材と、を備えたことを特徴とする。
一端を揺動自在に軸支されたアームの他端に装飾体(ギミック)を回転自在に軸支した装飾体駆動ユニットにおいて、装飾体が揺動した後で回転させるための駆動源をアーム上に配置することは難しいが、本発明では付勢部材を利用しているため、構成を簡略化しながら装飾体を効果的に回転(自転)させることができる。
請求項2の発明に係る装飾体駆動ユニットは、請求項1において、前記回転軸に一体化された従動ギヤと、該従動ギヤを回転駆動する駆動ギヤと、から成るギヤ機構によって、前記アームを揺動することを特徴とする。
アームが短尺な場合には、ギヤによる駆動機構を採用したとしても、装飾体を静止させたときの位置決め安定性の低下、高速動作させた場合の駆動機構の大型化という問題がさほど深刻とはならない。
請求項3の発明に係る演出装置は、画像表示装置と、請求項1、又は2に記載の装飾体駆動ユニットと、を備えた演出装置であって、前記画像表示装置の画面の前面に位置する閉止位置と、該画面を開放した開放位置との間を進退する少なくとも一部に透光部を有した開閉部材と、閉止位置にある前記開閉部材の前面側の視認可能な位置に出現した突出位置と、視認不能な位置に移動した退避位置との間を進退自在に構成された装飾体と、制御手段と、を備え、前記制御手段は、前記開閉部材が閉止状態にある時に前記透光部の背面側に位置する前記画像表示装置の画面上に前記装飾体と同様の輪郭形状を備えた画像を投影する一方で、前記画像の前方に相当する前記開閉部材の前面に前記装飾体を出現させ、更に前記突出位置にある装飾体の外周縁に沿って前記開閉部材の一部が破れた状態を示す図柄を前記画面上に表示させることを特徴とする。
本発明の装飾体駆動ユニットは、装飾体を迅速に進退させることができるため、画像表示装置上の映像との絡みによって遊技者の目の錯覚を利用して特徴的な演出を実現することができる。
請求項4の発明の装飾体駆動ユニットは、位置固定された第1回転軸を中心として回転し且つ該第1回転軸から偏心した位置に偏心軸を有した回転部材、該偏心軸により一端部を回転自在に軸支され前記回転部材の回転により揺動する第1アーム、及び位置固定された第2回転軸により一端部を揺動自在に軸支され他端部に装飾体を回転自在に支持した第2アーム、を備え、前記第1アームの他端部を前記第2回転軸に近い前記第2アームの適所により回転自在に軸支することにより、前記第1アームの揺動によって前記第2アームを前記第2回転軸を中心として揺動させる装飾体揺動機構と、前記第2アームの揺動時に前記装飾体が移動する経路上に配置されて前記装飾体の外周面に接触して該装飾体を回転させる付勢部材と、を備えたことを特徴とする。
一端を揺動自在に軸支された長尺アームの他端に装飾体(ギミック)を回転自在に軸支する場合に使用する駆動伝達機構としては、長尺アームの揺動速度を迅速化するにはギヤ機構よりも本発明による二本のアームを用いた構成の方が効果的である。しかも、バックラッシュ等による不具合を有したギヤ機構と違って、装飾体を安定して静止させ易い。また、装飾体が揺動した後で回転させるための駆動源を長尺アーム上に配置することは難しいが、本発明では付勢部材を利用しているため、構成を簡略化しながら装飾体を効果的に回転(自転)させることができる。
請求項5の発明に係る演出装置は、画像表示装置と、請求項4に記載の装飾体駆動ユニットと、を備えた演出装置であって、前記画像表示装置の画面の前面に位置する閉止位置と、該画面を開放した開放位置との間を進退する少なくとも一部に透光部を有した開閉部材と、閉止位置にある前記開閉部材の前面側の視認可能な位置に出現した突出位置と、視認不能な位置に移動した退避位置との間を進退自在に構成された装飾体と、制御手段と、を備え、前記制御手段は、前記開閉部材が閉止状態にある時に前記透光部の背面側に位置する前記画像表示装置の画面上に前記装飾体と同様の輪郭形状を備えた画像を投影する一方で、前記画像の前方に相当する前記開閉部材の前面に前記装飾体を出現させ、更に前記突出位置にある装飾体の外周縁に沿って前記開閉部材の一部が破れた状態を示す図柄を前記画面上に表示させることを特徴とする。
この装飾体駆動ユニットは、装飾体を迅速に進退させることができるため、画像表示装置上の映像との絡みによって遊技者の目の錯覚を利用して特徴的な演出を実現することができる。
請求項6の発明に係る遊技盤は、請求項1、2、4に記載の装飾体駆動ユニットを備えたことを特徴とする。
請求項7の発明に係る遊技盤は、請求項3、又は5の何れか一項に記載の演出装置を備えたことを特徴とする。
請求項8の発明に係るパチンコ遊技機は、請求項6、又は7に記載の遊技盤を備えたことを特徴とする。
本発明によれば、位置固定された回転軸を中心として揺動するアームと、該アームの端部により回転自在に軸支された装飾体と、前記アームの揺動時に前記装飾体が移動する経路上に配置されて前記装飾体の外周面に接触して該装飾体を回転させる付勢部材と、を備えたので、格別の駆動源をアーム上に搭載することなく、アームを揺動させる過程で装飾体を回転させることができる。
アームが短尺な場合にはギヤ機構を用いて揺動させても弊害が少ない一方で、アームが長尺な場合には二本のアームを用いた揺動機構が有効である。この場合には、駆動機構としてモータ負荷の増大や大型化を招く虞のあるギヤ機構を用いることなく、一端に設けた回動軸を中心として遊技盤面と略平行な方向へ揺動する長尺アーム、及びその先端に設けた可動役物を高速動作させることができ、更に遊技盤面上の任意の停止位置に装飾体を安定して静止させることができる。
以下、本発明を図面に示した実施の形態により詳細に説明する。
図1は本発明の実施の形態に係るパチンコ遊技機の全体正面図である。
パチンコ遊技機1は、図示しない矩形形状の枠を有し、この枠の窓孔に対して裏側から遊技盤2が着脱可能に取り付けられている。
遊技盤2には、遊技領域3の外周縁に沿って前方に突出されたガイドレールが設けられている。ガイドレールは発射装置から発射された遊技球を遊技領域の上部に案内したり、アウト球を回収するアウト口4に案内したりする外レールR1及び内レールR2により構成される。
遊技盤2の前面側には、図示しないガラス枠が開閉可能に取り付けられている。また遊技盤2の下部には遊技球を貯留する図示しない受け皿部と、受け皿部内の遊技球を発射する図示しない発射レバー等が設けられている。
遊技盤2の略中央には、画像表示装置5が配置されている。画像表示装置5は、例えば、液晶表示装置等の液晶表示パネルによって構成され、通常動作状態の時は図示しない特別図柄画像が表示される。また、所謂リーチ状態や特別遊技状態の時はそれぞれの遊技状態であることを示す演出画像等が表示される。
画像表示装置5の下方には、画像表示装置5の特別図柄を可変表示させるための可変入賞装置6が設けられている。
また、画像表示装置5の左右両側には、遊技盤2の右下部に配置された普通図柄表示装置7に表示される普通図柄を作動させるためのゲート8が設けられている。
さらに、可変入賞装置6の下方には、特別遊技状態の一つである大当り状態のときに開成状態になる開閉扉を有する大入賞口9が設けられている。
可変入賞装置6は、画像表示装置5を可変表示させるための上始動ポケット10と、左右一対の開閉爪(可動片)を有する電動式チューリップ11とを備えている。
また遊技盤2には、普通入賞口12が設けられていると共に、風車13や図示しない多数の遊技釘が突設されている。遊技釘は、遊技球の落下速度を遅くすると共に、落下方向を複雑に変化させて遊技進行上の興趣を高めている。
普通図柄表示装置7に表示される普通図柄は、1個または複数個の図柄を変動表示可能であり、普通図柄始動口としてのゲート8が遊技球を検出することを条件に、その図柄が乱数制御等により所定時間可変して停止するようになっている。
普通図柄としては、数字図柄、アルファベット図柄、キャラクター図柄、その他の適宜の遊技図柄が使用される。そして、ゲート8を遊技球が通過したことを条件に乱数制御により普通図柄が所定態様となった場合に、可変入賞装置6に設けられた電動式チューリップから成る可動片を所定時間、開成動作するように構成されている。
画像表示装置5に表示される特別図柄は、停止図柄が予め定められた図柄の組合せ、例えば同一図柄の組合せとなった場合に大当り状態となるように構成されている。また特別図柄は、可変入賞装置6の上始動ポケット10、又は電動式チューリップ11の開成動作により遊技球が誘導される下始動口(図示していない)への遊技球の入賞を検出することを条件に乱数制御等により表示がスクロールする等、所定の変動パターンで所定時間変動(可変)して図柄で停止するようになっている。その際、有効ライン上に2個の停止図柄が同一となった場合に、リーチ状態が発生し、このリーチ状態において、有効ライン上の最後の停止図柄が既に停止している2個の図柄と同一となった場合に大当り状態が発生する。なお、特別図柄としては、数字図柄、アルファベット図柄、キャラクター図柄等が使用可能である。
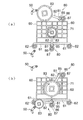
次に、図2は本発明の一実施形態に係る装飾体駆動ユニットの構成を示す斜視図であり、(a)は装飾体退避状態、(b)は装飾体作動状態を示している。また、図3は装飾体駆動ユニットの分解斜視図である。また、図4(a)(b)及び図5(a)(b)は退避位置にある装飾体を作動方向へ移動させてから退避位置に復帰させる際の動作手順を示す説明図である。
本発明に係る装飾体駆動ユニット30は、遊技盤面に対して位置固定された第1回転軸32を中心として遊技盤面と略平行な方向に回転し且つ第1回転軸32から偏心した位置に偏心軸33を有した回転部材31、回転部材31上の偏心軸33により一端部を回転自在に軸支され回転部材31の回転により遊技盤面と略平行に揺動する第1アーム35、及び位置固定された第2回転軸41により一端部を揺動自在に軸支され他端部に装飾体45を回転自在に支持した第2アーム40、を備える。そして、第1アーム35の他端部を第2回転軸41に近い第2アーム40の適所に設けた軸部42により回転自在に軸支することにより、第1アーム35の揺動によって第2アーム40を第2回転軸41を中心として遊技盤面と略平行に揺動(回動)させるものである。
装飾体45を支持した第2アーム40を揺動させる各部材は、装飾体揺動機構を構成している。
更に、第2アーム40の揺動時に装飾体45が移動する経路上に配置されて装飾体の外周面に接触して装飾体を回転させる付勢部材50を備えている。
第1回転軸32は、遊技盤面に直接配置してもよいし、遊技盤面に固定される支持板36に配置してもよい。従って、「遊技盤面に対して位置固定された第1回転軸32」とは、遊技盤面に位置固定される場合と、支持板36に位置固定される場合の両者を含むものである。
本例では、装飾体駆動ユニット30は、遊技盤2に設けられた開口内に配置された画像表示装置5の右上部と左上部に夫々配置されており、図2(a)に示した退避位置と(b)に示した作動位置(突出位置)との間を進退する。
画像表示装置5の前面は障子を象った2つの開閉扉60によって開閉される。開閉扉60は、画像表示装置5の下辺に沿って設けた図示しないガイドによって横方向へ進退するラックギヤ部材61と、ラックギヤ部材61と噛合してこれを駆動するピニオンギヤ62と、ピニオンギヤ62を駆動する図示しないモータとによって開閉駆動される。モータは、図示しない制御手段により駆動タイミングを制御される。本例では、開閉扉60は障子の格子を象ったギミックであるため、障子の格子内部は開口しており、この開口部(透光部)を介して後方に位置する画像表示装置5の画面(映像)が視認可能となっている。
装飾体駆動ユニット30は、画像表示装置5の画面と干渉しない外側位置(外径側位置)に配置されており、しかも開閉扉60の開閉軌跡と干渉しない前方位置に配置されている。このため、互いに干渉しない動作が可能となる(図3)。
後述する演出内容との関係から開閉扉60が図2(a)の開放状態にあるときに装飾体駆動ユニット30は退避状態にあり、開閉扉が図2(b)の閉止状態にあるときに画像表示装置5の画面上の映像との関係で装飾体駆動ユニット30は作動状態(突出状態)に移行する。
次に、図4、図5に基づいて図2の左下側にある装飾体駆動ユニット30の動作について説明する。なお、右上側の装飾体駆動ユニット30は同一構成であり、同一に動作する。
まず図4(a)に示した初期位置においては、偏心軸33が最下部に位置した状態で回転部材31が停止しているため、第1アーム35の他端部を支持する軸部42を介して第2アーム40は下方へ押し下げられており、画像表示装置5の画面の外側へ退避した状態にある。このため、第2アーム40の先端に支持された装飾体45も退避位置にある。
次いで、図示しないモータの駆動により回転部材31が矢印で示す反時計回り方向へ回転を開始すると偏心軸33が上昇するため、まず図4(b)に示すように第1アーム35が第2アーム40を所要角度押し上げ、第2アーム40先端の装飾体45が画像表示装置の画面内に移行し始める。回転部材31を図4(a)の位置から、図4(b)を経て図5(a)の位置まで回転させる過程で、第1アーム35は短いストロークで移動するが、第1アーム35の先端部は第2アーム40の第2回動軸41に近い位置にある軸部42により軸支されているため、極めて迅速に第2アーム40を移動させることができる。即ち、第1アーム35が短い距離を移動する過程で、第2アーム40は大きな角度範囲を迅速に揺動できる。第2アームが初期位置に復帰する際にも同様に迅速に移動することができる。
また、バックラッシュ等による不安定要因を備えたギヤ機構を使用していないため、突出位置に移動して静止した装飾体の姿勢を安定して維持することができる。
第2アーム40上における軸部42の位置としては、第2回動軸41側に偏った位置が好ましく、第2回動軸41に近ければ近いほど、第1アーム35を短いストロークで動作させるだけで第2アームを迅速に揺動させることができる。
本実施形態では、第2アーム40の端部に幅広部40aを設け、軸41を回避した幅広部40a上に軸部42を設けることにより、第1アームから第2アームへの駆動力の伝達を効率化している。
また、第2アーム40を直線状の構成とせずに、中間部で屈曲させることにより、退避位置にあるときに第2アームの一部が画面上に現れることを防止できる。
なお、装飾体45が退避位置から作動位置に移動する過程で、装飾体45は、付勢部材50と接触しつつこれを通過するようにレイアウトされている。付勢部材50は、軸51により回動自在に軸支された回動片52により軸支されており、回動片52は図示しない弾性部材により時計回り方向へ付勢されている。付勢部材50は外周面をゴム等の摩擦係数の高い材料から構成されており、第2回動軸41を中心として装飾体45が上向きに移動する際に装飾体45の外周面に圧接する。この際、装飾体45は付勢部材50を上方向へ押上げながら通過しようとするため、付勢部材50との間に強い摩擦抵抗が発生して装飾体45は勢いよく付勢されて回転する。このように装飾体45を回転するための専用の駆動源を用いることなく、装飾体45の進退動作中にこれを付勢する付勢部材50を設けることによって装飾体45を回転させることが可能となっている。
更に、回転部材31の回転が進行して偏心軸33が図5(a)に示した最上部に達すると、第2アーム40は第1アーム35によって最も押し上げられた状態となり、装飾体45も最上昇位置に達する。この状態においても装飾体45は慣性により回転し続けることができる。
次いで、図5(b)のように回転部材31が回転して偏心軸33が最上部から下降を開始すると、第1アーム35によって第2アーム40が引き下げられ、最終的には図4(a)の初期位置に復帰する。
次に、図6乃至図8に基づいて、画像表示装置と開閉装置による演出との関係における装飾体駆動ユニットの動作について説明する。
装飾体45は、銭形平次が使用する江戸時代の通貨である寛永通宝を象ったギミックであり、上下2箇所に夫々配置した装飾体駆動ユニット30に設けられた各装飾体45のサイズが異なっている。本実施形態では、右上方に配置した装飾体駆動ユニットの装飾体45は大径の寛永通宝であり、左下方の装飾体は小径の寛永通宝である。
図6(a)の状態では開閉部材60が開放した状態にあるため、装飾体駆動ユニット30は退避位置にあり動作しない。遊技内容が所定の遊技状態に達すると、ピニオンギヤ62が作動して開閉部材60が図6(b)のように閉止位置に達する。この状態では、障子を象った開閉部材の格子の隙間から画像表示装置5の画面が視認できる。図6(b)、図7(a)に示したように画面上には、画面外側から画面中央に向けて大径の寛永通宝70(陰影)が飛んで来て、画面中央で停止する映像が投影される。
図7(a)に示したように画面中央部で大径の寛永通宝70の陰影が停止した直後に図7(b)に示したように右上側の装飾体駆動ユニット30を作動させて、装飾体45を画面中央の寛永通宝70の映像の直前位置に移動させて停止させる。装飾体45が画面中央で移動を停止して寛永通宝70の映像を隠蔽すると同時に、画面上には装飾体45の外周に沿って障子を破ったときの障子紙や格子の破片を意味する図柄71が映像として表示される。このため、遊技者は、障子の後方に位置していた寛永通宝70が突然、障子を破って前方に出現したように錯覚を起こす。
なお、装飾体45は画面中央部で移動を停止しても、付勢部材50の作用によって回転し続けることができる。
上記のように本発明の装飾体駆動ユニット30は、回転部材31を半回転させるだけで退避位置にあった装飾体45を高速で画面中央部に移動させることができるので、遊技者から見れば装飾体が画面上に突然出現した如き状態となり、開閉部材の背面側に位置していた寛永通宝70の映像が突然、開閉部材60を破って前方へ出現した如き印象を与えることができる。回転部材31の回転角度と第2アーム40の揺動角度との関係は、任意に調整することができる。
図8は左下側に配置した装飾体駆動ユニット30が作動した状態を示している。この場合には、画面上に投影される寛永通宝70の映像(陰影)が小径の装飾体45に対応した小径の映像となる他は、図6、図7において説明したものと同様の動作を行う。
上記実施形態に係る装飾体駆動ユニット30は、開閉部材60と、画像表示装置5の画面上の映像と関連して動作することにより、一つの演出装置を構築することができる。
即ち、本発明に係る装飾体駆動ユニット30と開閉部材60と画像表示装置5とから成る演出装置は、開閉部材60が閉止状態にある時に透光部の背面側に位置する画像表示装置の画面上に装飾体45と同様の輪郭、或いは図柄を備えた画像70を投影する一方で、画像70の前方に相当する開閉部材の前面に装飾体を出現させ、更に突出位置にある装飾体の外周縁に沿って開閉部材の一部が破れた状態を示す図柄71を画面上に出現させるものである。
以上のように、一端を揺動自在に軸支された長尺アームの他端に装飾体(ギミック)を回転自在に軸支する場合に使用する駆動伝達機構においては、長尺アームの揺動速度を迅速化するにはギヤ機構よりも本発明による二本のアームを用いた構成の方が効果的である。しかも、上記構成によれば、バックラッシュ等による不具合を有したギヤ機構と違って、装飾体を安定して静止させ易い。また、装飾体が揺動した後で回転させるための駆動源を長尺アーム上に配置することは難しいが、本発明では付勢部材を利用しているため、構成を簡略化しながら装飾体を効果的に回転(自転)させることができる。
また、本発明の装飾体駆動ユニットは、装飾体を迅速に進退させることができるため、画像表示装置上の映像との絡みによって遊技者の目の錯覚を利用して特徴的な演出を実現することができる。
次に、図9(a)乃至(c)及び図10(d)(e)は本発明の他の実施形態に係る装飾体駆動ユニットの構成、及び動作説明図である。
装飾体駆動ユニット80は、画像表示装置5の前面を開閉する障子を象った開閉部材60の上下位置に夫々配置されている。両装飾体駆動ユニット80は、硬貨(寛永通宝)を象った装飾体83のサイズの違いを除けば同一の構成を有している。
装飾体駆動ユニット80は、位置固定された回転軸81を中心として揺動するアーム82と、アーム82の先端部により回転自在に軸支された装飾体83と、アーム82の揺動時に装飾体83が移動する経路上に配置されて装飾体の外周面に接触して装飾体を回転させる付勢部材50と、を備える。回転軸81、アーム82、付勢部材50は、装飾体揺動機構を構成している。
この装飾体揺動機構においては、回転軸81に軸心を固定されて一体回転する従動ギヤ85と、モータ87により駆動されて従動ギヤ85を回転駆動する駆動ギヤ86と、から成るギヤ機構によって、アーム82を揺動する。
なお、開閉機構60と、その駆動機構61、62の構成は上記実施形態と同様である。また、付勢部材50の構成も上記実施形態と同様である。
一端を揺動自在に軸支されたアーム82の他端に装飾体82を回転自在に軸支した装飾体駆動ユニットにおいて、装飾体が揺動した後で回転させるための駆動源をアーム上に配置することは難しいが、本発明では付勢部材50を利用しているため、構成を簡略化しながら装飾体を効果的に回転(自転)させることができる。
また、アームが短尺な場合にはギヤ機構によって揺動させるように構成してもギヤのバックラッシュに起因した静止安定性の低下という問題は生じない。また、ギヤを大型化せずともアームを迅速に進退させることが可能となる。
上記実施形態に係る装飾体駆動ユニット80は、開閉部材60と、画像表示装置5の画面上の映像と関連して動作することにより、一つの演出装置を構築することができる。
即ち、本発明に係る装飾体駆動ユニット80と開閉部材60と画像表示装置5とから成る演出装置は、開閉部材60が閉止状態にある時に透光部の背面側に位置する画像表示装置の画面上に装飾体45と同様の輪郭、或いは図柄を備えた画像70を投影する一方で、画像70の前方に相当する開閉部材の前面に装飾体を出現させ、更に突出位置にある装飾体の外周縁に沿って開閉部材の一部が破れた状態を示す図柄71を画面上に出現させるものである。
本発明の装飾体駆動ユニット、或いは演出装置を備えた遊技盤は、パチンコ遊技機のみならず、スロットマシン、その他、画像表示装置を有した遊技機、ゲーム機一般に適用することができる。
本発明の一実施形態に係るパチンコ遊技機の要部の正面図である。 (a)及び(b)は本発明の一実施形態に係る装飾体駆動ユニットの構成を示す斜視図である。 装飾体駆動ユニットの分解斜視図である。 (a)及び(b)は退避位置にある装飾体を作動方向へ移動させてから退避位置に復帰させる際の動作手順を示す説明図である。 (a)及び(b)は退避位置にある装飾体を作動方向へ移動させてから退避位置に復帰させる際の動作手順を示す説明図である。 (a)及び(b)は画像表示装置と開閉装置による演出との関係における本発明の装飾体駆動ユニットの動作の説明図である。 (a)及び(b)は画像表示装置と開閉装置による演出との関係における本発明の装飾体駆動ユニットの動作の説明図である。 画像表示装置と開閉装置による演出との関係における本発明の装飾体駆動ユニットの動作の説明図である。 (a)乃至(c)は本発明の他の実施形態に係る装飾体駆動ユニットの構成、及び動作説明図である。 (a)及び(b)は図9の実施形態に係る装飾体駆動ユニットの構成、及び動作説明図である。
符号の説明
1…パチンコ遊技機、2…遊技盤、3…遊技領域、4…アウト口、5…画像表示装置、6…可変入賞装置、7…普通図柄表示装置、8…ゲート、9…大入賞口、10…上始動ポケット、11…電動式チューリップ、12…普通入賞口、13…風車、30…装飾体駆動ユニット、31…回転部材、32…第1回転軸、33…偏心軸、35…第1アーム、36…支持板、40…第2アーム、41…第2回転軸、42…軸部、45…装飾体、50…付勢部材、51…軸、52…回動片、60…開閉部材、61…ラックギヤ部材、62…ピニオンギヤ、70…寛永通宝、80…装飾体駆動ユニット、81…回転軸、82…アーム、83…装飾体

Claims (8)

  1. 位置固定された回転軸を中心として揺動するアームと、該アームの端部により回転自在に軸支された装飾体と、前記アームの揺動時に前記装飾体が移動する経路上に配置されて前記装飾体の外周面に接触して該装飾体を回転させる付勢部材と、を備えたことを特徴とする装飾体駆動ユニット。
  2. 前記回転軸に一体化された従動ギヤと、該従動ギヤを回転駆動する駆動ギヤと、から成るギヤ機構によって、前記アームを揺動することを特徴とする請求項1に記載の装飾体駆動ユニット。
  3. 画像表示装置と、請求項1、又は2に記載の装飾体駆動ユニットと、を備えた演出装置であって、
    前記画像表示装置の画面の前面に位置する閉止位置と、該画面を開放した開放位置との間を進退する少なくとも一部に透光部を有した開閉部材と、閉止位置にある前記開閉部材の前面側の視認可能な位置に出現した突出位置と、視認不能な位置に移動した退避位置との間を進退自在に構成された装飾体と、制御手段と、を備え、
    前記制御手段は、前記開閉部材が閉止状態にある時に前記透光部の背面側に位置する前記画像表示装置の画面上に前記装飾体と同様の輪郭形状を備えた画像を投影する一方で、前記画像の前方に相当する前記開閉部材の前面に前記装飾体を出現させ、更に前記突出位置にある装飾体の外周縁に沿って前記開閉部材の一部が破れた状態を示す図柄を前記画面上に表示させることを特徴とする演出装置。
  4. 位置固定された第1回転軸を中心として回転し且つ該第1回転軸から偏心した位置に偏心軸を有した回転部材、該偏心軸により一端部を回転自在に軸支され前記回転部材の回転により揺動する第1アーム、及び位置固定された第2回転軸により一端部を揺動自在に軸支され他端部に装飾体を回転自在に支持した第2アーム、を備え、前記第1アームの他端部を前記第2回転軸に近い前記第2アームの適所により回転自在に軸支することにより、前記第1アームの揺動によって前記第2アームを前記第2回転軸を中心として揺動させる装飾体揺動機構と、
    前記第2アームの揺動時に前記装飾体が移動する経路上に配置されて前記装飾体の外周面に接触して該装飾体を回転させる付勢部材と、を備えたことを特徴とする装飾体駆動ユニット。
  5. 画像表示装置と、請求項4に記載の装飾体駆動ユニットと、を備えた演出装置であって、
    前記画像表示装置の画面の前面に位置する閉止位置と、該画面を開放した開放位置との間を進退する少なくとも一部に透光部を有した開閉部材と、閉止位置にある前記開閉部材の前面側の視認可能な位置に出現した突出位置と、視認不能な位置に移動した退避位置との間を進退自在に構成された装飾体と、制御手段と、を備え、
    前記制御手段は、前記開閉部材が閉止状態にある時に前記透光部の背面側に位置する前記画像表示装置の画面上に前記装飾体と同様の輪郭形状を備えた画像を投影する一方で、前記画像の前方に相当する前記開閉部材の前面に前記装飾体を出現させ、更に前記突出位置にある装飾体の外周縁に沿って前記開閉部材の一部が破れた状態を示す図柄を前記画面上に表示させることを特徴とする演出装置。
  6. 請求項1、2、又は4の何れか一項に記載の装飾体駆動ユニットを備えたことを特徴とする遊技盤。
  7. 請求項3、又は5の何れか一項に記載の演出装置を備えたことを特徴とする遊技盤。
  8. 請求項6、又は7の何れか一項に記載の遊技盤を備えたことを特徴とするパチンコ遊技機。
JP2008188632A 2008-07-22 2008-07-22 装飾体駆動ユニット、演出装置、遊技盤、及びパチンコ遊技機 Expired - Fee Related JP5140511B2 (ja)

Priority Applications (1)

Application Number Priority Date Filing Date Title
JP2008188632A JP5140511B2 (ja) 2008-07-22 2008-07-22 装飾体駆動ユニット、演出装置、遊技盤、及びパチンコ遊技機

Applications Claiming Priority (1)

Application Number Priority Date Filing Date Title
JP2008188632A JP5140511B2 (ja) 2008-07-22 2008-07-22 装飾体駆動ユニット、演出装置、遊技盤、及びパチンコ遊技機

Publications (2)

Publication Number Publication Date
JP2010022643A true JP2010022643A (ja) 2010-02-04
JP5140511B2 JP5140511B2 (ja) 2013-02-06

Family

ID=41729053

Family Applications (1)

Application Number Title Priority Date Filing Date
JP2008188632A Expired - Fee Related JP5140511B2 (ja) 2008-07-22 2008-07-22 装飾体駆動ユニット、演出装置、遊技盤、及びパチンコ遊技機

Country Status (1)

Country Link
JP (1) JP5140511B2 (ja)

Cited By (15)

* Cited by examiner, † Cited by third party
Publication number Priority date Publication date Assignee Title
JP2011172703A (ja) * 2010-02-24 2011-09-08 Kyoraku Sangyo Kk 遊技機
JP2011183051A (ja) * 2010-03-10 2011-09-22 Heiwa Corp パチンコ機
JP2011245151A (ja) * 2010-05-28 2011-12-08 Kyoraku Sangyo Kk 役物動作ユニットおよび遊技機
JP2012061080A (ja) * 2010-09-15 2012-03-29 Sophia Co Ltd 遊技機
JP2013094466A (ja) * 2011-11-01 2013-05-20 Okumura Yu-Ki Co Ltd パチンコ遊技機
JP2013094552A (ja) * 2011-11-04 2013-05-20 Heiwa Corp 遊技機
JP2014198081A (ja) * 2013-03-29 2014-10-23 株式会社三洋物産 遊技機
JP2015012969A (ja) * 2013-07-04 2015-01-22 株式会社大一商会 遊技機
JP2015173794A (ja) * 2014-03-14 2015-10-05 株式会社三洋物産 遊技機
JP2017023848A (ja) * 2016-11-08 2017-02-02 豊丸産業株式会社 遊技機
JP2023066541A (ja) * 2021-10-29 2023-05-16 株式会社三洋物産 遊技機
JP2023066775A (ja) * 2021-10-29 2023-05-16 株式会社三洋物産 遊技機
JP2023066773A (ja) * 2021-10-29 2023-05-16 株式会社三洋物産 遊技機
JP2023066777A (ja) * 2021-10-29 2023-05-16 株式会社三洋物産 遊技機
JP2023066776A (ja) * 2021-10-29 2023-05-16 株式会社三洋物産 遊技機

Citations (3)

* Cited by examiner, † Cited by third party
Publication number Priority date Publication date Assignee Title
JP2003236086A (ja) * 2002-02-18 2003-08-26 Daiichi Shokai Co Ltd 遊技機
JP2007275235A (ja) * 2006-04-05 2007-10-25 Kyoraku Sangyo Kk 遊技機の可動演出装置
JP2007325807A (ja) * 2006-06-09 2007-12-20 Kyoraku Sangyo Kk パチンコ機における役物装置

Patent Citations (3)

* Cited by examiner, † Cited by third party
Publication number Priority date Publication date Assignee Title
JP2003236086A (ja) * 2002-02-18 2003-08-26 Daiichi Shokai Co Ltd 遊技機
JP2007275235A (ja) * 2006-04-05 2007-10-25 Kyoraku Sangyo Kk 遊技機の可動演出装置
JP2007325807A (ja) * 2006-06-09 2007-12-20 Kyoraku Sangyo Kk パチンコ機における役物装置

Cited By (20)

* Cited by examiner, † Cited by third party
Publication number Priority date Publication date Assignee Title
JP2011172703A (ja) * 2010-02-24 2011-09-08 Kyoraku Sangyo Kk 遊技機
JP2011183051A (ja) * 2010-03-10 2011-09-22 Heiwa Corp パチンコ機
JP2011245151A (ja) * 2010-05-28 2011-12-08 Kyoraku Sangyo Kk 役物動作ユニットおよび遊技機
JP2012061080A (ja) * 2010-09-15 2012-03-29 Sophia Co Ltd 遊技機
JP2013094466A (ja) * 2011-11-01 2013-05-20 Okumura Yu-Ki Co Ltd パチンコ遊技機
JP2013094552A (ja) * 2011-11-04 2013-05-20 Heiwa Corp 遊技機
JP2014198081A (ja) * 2013-03-29 2014-10-23 株式会社三洋物産 遊技機
JP2015012969A (ja) * 2013-07-04 2015-01-22 株式会社大一商会 遊技機
JP2015173794A (ja) * 2014-03-14 2015-10-05 株式会社三洋物産 遊技機
JP2017023848A (ja) * 2016-11-08 2017-02-02 豊丸産業株式会社 遊技機
JP2023066541A (ja) * 2021-10-29 2023-05-16 株式会社三洋物産 遊技機
JP2023066775A (ja) * 2021-10-29 2023-05-16 株式会社三洋物産 遊技機
JP2023066773A (ja) * 2021-10-29 2023-05-16 株式会社三洋物産 遊技機
JP2023066777A (ja) * 2021-10-29 2023-05-16 株式会社三洋物産 遊技機
JP2023066776A (ja) * 2021-10-29 2023-05-16 株式会社三洋物産 遊技機
JP7700634B2 (ja) 2021-10-29 2025-07-01 株式会社三洋物産 遊技機
JP7700632B2 (ja) 2021-10-29 2025-07-01 株式会社三洋物産 遊技機
JP7700636B2 (ja) 2021-10-29 2025-07-01 株式会社三洋物産 遊技機
JP7700635B2 (ja) 2021-10-29 2025-07-01 株式会社三洋物産 遊技機
JP7700631B2 (ja) 2021-10-29 2025-07-01 株式会社三洋物産 遊技機

Also Published As

Publication number Publication date
JP5140511B2 (ja) 2013-02-06

Similar Documents

Publication Publication Date Title
JP5140511B2 (ja) 装飾体駆動ユニット、演出装置、遊技盤、及びパチンコ遊技機
JP4887416B2 (ja) 装飾体ユニット、遊技盤ユニット、及びパチンコ遊技機
JP4588050B2 (ja) 装飾体昇降ユニット、遊技盤、及びパチンコ遊技機
JP5160968B2 (ja) 遊技機
JP4221710B2 (ja) 遊技機の演出装置
JP5160969B2 (ja) 装飾体ユニット
JP5722274B2 (ja) 遊技機
JP2010029471A (ja) 画像表示装置、遊技盤、及び遊技機
JP5286348B2 (ja) 遊技機
JP2006136424A (ja) 遊技機の演出装置
JP4654254B2 (ja) 装飾体ユニット、遊技盤、及びパチンコ遊技機
JP5537384B2 (ja) 弾球遊技機
JP4941701B2 (ja) 遊技機
JP5890640B2 (ja) 遊技機
JP5722273B2 (ja) 遊技機
JP5786231B2 (ja) 遊技機
JP5264868B2 (ja) 遊技機
JP5763008B2 (ja) 遊技機
JP2009195389A (ja) 装飾体ユニット、遊技盤、及びパチンコ遊技機
JP6086353B2 (ja) 遊技機
JP6869564B2 (ja) 遊技機
JP6647510B2 (ja) 遊技機
JP4726921B2 (ja) 装飾体ユニット、遊技盤、及びパチンコ遊技機
JP2014198129A (ja) 遊技機
JP5049371B2 (ja) 装飾体ユニット、遊技盤ユニット、及びパチンコ遊技機

Legal Events

Date Code Title Description
A621 Written request for application examination

Free format text: JAPANESE INTERMEDIATE CODE: A621

Effective date: 20110520

A977 Report on retrieval

Free format text: JAPANESE INTERMEDIATE CODE: A971007

Effective date: 20121031

TRDD Decision of grant or rejection written
A01 Written decision to grant a patent or to grant a registration (utility model)

Free format text: JAPANESE INTERMEDIATE CODE: A01

Effective date: 20121113

A01 Written decision to grant a patent or to grant a registration (utility model)

Free format text: JAPANESE INTERMEDIATE CODE: A01

A61 First payment of annual fees (during grant procedure)

Free format text: JAPANESE INTERMEDIATE CODE: A61

Effective date: 20121119

R150 Certificate of patent or registration of utility model

Ref document number: 5140511

Country of ref document: JP

Free format text: JAPANESE INTERMEDIATE CODE: R150

Free format text: JAPANESE INTERMEDIATE CODE: R150

FPAY Renewal fee payment (event date is renewal date of database)

Free format text: PAYMENT UNTIL: 20151122

Year of fee payment: 3

R250 Receipt of annual fees

Free format text: JAPANESE INTERMEDIATE CODE: R250

R250 Receipt of annual fees

Free format text: JAPANESE INTERMEDIATE CODE: R250

S802 Written request for registration of partial abandonment of right

Free format text: JAPANESE INTERMEDIATE CODE: R311802

R350 Written notification of registration of transfer

Free format text: JAPANESE INTERMEDIATE CODE: R350

R250 Receipt of annual fees

Free format text: JAPANESE INTERMEDIATE CODE: R250

LAPS Cancellation because of no payment of annual fees