JP2010022396A - 遊技媒体循環ユニット、及び遊技機 - Google Patents

遊技媒体循環ユニット、及び遊技機 Download PDF

Info

Publication number
JP2010022396A
JP2010022396A JP2008183583A JP2008183583A JP2010022396A JP 2010022396 A JP2010022396 A JP 2010022396A JP 2008183583 A JP2008183583 A JP 2008183583A JP 2008183583 A JP2008183583 A JP 2008183583A JP 2010022396 A JP2010022396 A JP 2010022396A
Authority
JP
Japan
Prior art keywords
game
passage
game medium
input
media
Prior art date
Legal status (The legal status is an assumption and is not a legal conclusion. Google has not performed a legal analysis and makes no representation as to the accuracy of the status listed.)
Granted
Application number
JP2008183583A
Other languages
English (en)
Other versions
JP5177406B2 (ja
Inventor
Norifumi Yamada
陛史 山田
Current Assignee (The listed assignees may be inaccurate. Google has not performed a legal analysis and makes no representation or warranty as to the accuracy of the list.)
Sammy Corp
Original Assignee
Sammy Corp
Priority date (The priority date is an assumption and is not a legal conclusion. Google has not performed a legal analysis and makes no representation as to the accuracy of the date listed.)
Filing date
Publication date
Application filed by Sammy Corp filed Critical Sammy Corp
Priority to JP2008183583A priority Critical patent/JP5177406B2/ja
Publication of JP2010022396A publication Critical patent/JP2010022396A/ja
Application granted granted Critical
Publication of JP5177406B2 publication Critical patent/JP5177406B2/ja
Active legal-status Critical Current
Anticipated expiration legal-status Critical

Links

Images

Landscapes

  • Pinball Game Machines (AREA)

Abstract

【課題】遊技媒体を遊技機内で循環させて遊技媒体による遊技を実現する遊技機において、遊技媒体を投入する際に、投入する遊技媒体数の間違いを簡易な構成によって抑制することができる遊技媒体循環ユニット及び遊技機を提供すること。
【解決手段】この遊技媒体循環ユニットは、遊技領域を流下した後の遊技媒体を発射手段に向けて導くための遊技媒体通路と、前記遊技媒体通路内に遊技媒体を投入させるための投入口と、を有し、投入口から所定個数の遊技媒体が投入されることにより、既に投入された所定個数の遊技媒体によって更なる遊技媒体が投入されることを不可能とする状態を実現するように構成される。
【選択図】図4

Description

本発明は、発射手段により遊技領域に向けて発射された遊技媒体を、遊技領域を流下した後に再び発射手段に向けて導くことにより、遊技媒体の循環的な発射を実現する遊技媒体循環ユニット及び遊技機に関する。
パチンコ機等の遊技機では、弾球された球が遊技盤面上を流下して、その流下の過程で球が遊技盤面上のゲージ(釘ともいう。)や羽根車に衝突しつつ転回して流下方向が変化する。そして、遊技盤面上に配置された各種入賞口や入球口への球の入賞に基づき所定の景品獲得が可能に構成されており、遊技者は、弾球における自らの技量を発揮して、又は球の流下における偶然性を利用しつつ球の入球等を期待し、遊技を楽しむのである。
例えば、雀球遊技機やアレンジボール機等の組合せ式遊技機は、遊技機内部に遊技媒体としての球を封入し、この球を繰り返し発射することによって、遊技機内で球を循環させて遊技を実現する。遊技機内部に封入される球数は、遊技内容等に基づいて予め定められており、メダルを投入すると所定個数(例えば、7個。)の球が封入循環状態で発射可能に準備される。そして、その球を発射手段を用いて球発射して遊技を行うのである。遊技盤面上には、多数の入球口が配置されており、その多数の入球口のうちいずれの入球口に球が入球したかによって生じる組合せに基づき、遊技者に対して景品としてのメダルの払い出しが行われるようになっている。
封入循環式の遊技機は、遊技機内部に封入された遊技媒体を循環させて遊技を実現するため、遊技媒体の使用頻度が高くなる。使用頻度が高いため遊技媒体が汚れ易くなり、遊技媒体の汚れに基づく不具合が発生するおそれがある。したがって、遊技媒体の汚れに基づく不具合を抑制するために、封入した遊技媒体を定期的に交換することが行われている。
遊技媒体の交換に際しては、作業者が、遊技領域を流下した遊技媒体を発射手段に向けて導くための遊技媒体通路のカバー部材を取り外し、この遊技媒体通路から汚れた遊技媒体を取り除く。そして、作業者が、遊技媒体通路のカバー部材を元に戻し、遊技盤面上に配置された入球口から所定個数の遊技媒体を投入して、新たな遊技媒体を封入する。なお、遊技媒体通路には、所定の投入個数に対応する位置に目印が付されており、作業者が所定個数の遊技媒体を投入したことを把握できるように構成されている。
しかし、このような構成を採用しても、作業者が目印を視認しないと、所定個数の遊技媒体が正しく投入されないことがある。例えば、発射手段を先頭にして投入された遊技媒体が並んで配置される遊技機においては、所定個数より多くの遊技媒体が投入されることにより、発射手段に向けて導かれる遊技媒体の数が多くなり、遊技媒体の自重によって発射手段が押圧され、発射手段の不具合が生じることがある。
このような問題を解決する遊技機として、特許文献1には、封入循環式の遊技機において、封入球の補給の際に遊技機内部に投入した球数と、予め定められた球数との差が所定の差よりも大きい場合に、封入球の補給に関する異常状態が生じた旨の判定を行う遊技機が記載されている。
特開平10−216301号公報
この遊技機は、封入球の補給の際に遊技機内部に導かれた球数を検出するとともに、この球数と予め設定された球数とを比較して、投入された球が多すぎるか、又は少なすぎるかを判定して、異常状態が生じたか否かを判定している。したがって、球の検出手段や異常状態を判定するための複雑な制御手段が必要である。
本発明は上記の事情に鑑みて為されたもので、遊技媒体を遊技機内で循環させて遊技媒体による遊技を実現する遊技機において、遊技媒体を投入する際に、予め定められた所定個数の遊技媒体を投入させることができ、投入される遊技媒体数の間違いを簡易な構成によって抑制することができる遊技媒体循環ユニット及び遊技機を提供することを例示的課題とする。
本発明の例示的課題を解決するための遊技媒体循環ユニットは、発射手段により遊技領域に向けて発射された遊技媒体を、遊技領域を流下した後に再び発射手段に導くことにより、遊技媒体の循環的な発射を実現する遊技媒体循環ユニットであって、遊技領域を流下した後の遊技媒体を発射手段に向けて導くための遊技媒体通路と、遊技媒体通路内に遊技媒体を投入させるための投入口と、を有し、投入口から所定個数の遊技媒体が投入されると、既に投入された所定個数の遊技媒体によって更なる遊技媒体が投入されることを不可能とする状態を実現するように構成される。
この遊技媒体循環ユニットを遊技機に取り付けた状態において、遊技媒体循環ユニットの外部から内部に遊技媒体が投入される際には、投入通路に形成された投入口に遊技媒体が投入される。投入口に所定個数の遊技媒体が投入されると、投入された遊技媒体によって更なる遊技媒体の投入が不可能になるように構成されている。物理的に遊技媒体を投入できない状態が実現されることにより、仮に作業者が所定個数より多くの遊技媒体を投入しようとしても、遊技媒体を投入することができない。したがって、投入口から所定個数より多くの遊技媒体が投入されることを防ぎ、投入する遊技媒体数の間違いを抑制することが可能となる。
また、遊技媒体流入ユニットが更なる遊技媒体の投入が不可能とする状態を実現するように作業者が遊技媒体を投入すれば、投入した遊技媒体が所定個数となる。したがって、作業者が投入する遊技媒体数を数えていなくても、予め定められた所定個数の遊技媒体を投入することができ、投入される遊技媒体数が不足することを抑制することができる。
発射手段は、遊技媒体循環ユニットによって導かれた遊技媒体を遊技領域に向けて発射できる機能を備えていればよく、駆動源を備えて電動駆動されることにより一定間隔毎に遊技媒体を発射するものであってもよいし、遊技者によって手動で駆動されることにより遊技媒体を発射するものであってもよい。
遊技媒体循環ユニットは、遊技領域を流下した後の遊技媒体を再び遊技領域に向けて発射させるために、遊技領域を流下した後の遊技媒体を発射手段に導く。発射手段から遊技領域に発射された遊技媒体は、遊技領域の流下による遊技を実現する。遊技領域を流下した遊技媒体は、遊技媒体循環ユニットによって発射手段に導かれ、発射手段によって再び遊技領域に向けて発射される。遊技媒体は、遊技機内部を循環しつつ遊技領域の流下による遊技を実現する。
遊技媒体通路は、遊技領域を流下した後の遊技媒体を発射手段に導くことができるように構成される。具体的な構成としては、遊技領域を流下した遊技媒体が流入する流入口と、流入した遊技媒体を発射手段に向けて流出させる流出口と、を有し、流入口から流出口に向けて遊技媒体を導く構成を例示できる。なお、遊技媒体通路は、遊技領域を流下した後の遊技媒体が発射手段に向かって通過できる空間であればよく、必ずしも周囲が囲まれた空間でなくてもよい。
投入口は、所定個数の遊技媒体が投入されることにより、投入された所定個数の遊技媒体によって更なる遊技媒体の投入を不可能な状態を実現するように配置される。この更なる遊技媒体の投入が不可能な状態は、投入された遊技媒体が遊技媒体通路内の空間に充填されることによって、遊技媒体自身が投入口を塞いだり狭めたりして、投入された遊技媒体が直接的に実現する状態のみならず、投入された所定個数の遊技媒体の自重によって、他の遊技部品が移動して投入口を塞いだり狭めたりして、投入された遊技媒体が間接的に実現する状態も含む概念である。
また、遊技媒体循環ユニットは、発射手段と遊技媒体通路との接続部から投入口までの遊技媒体通路の寸法が、所定個数以下の遊技媒体を収容可能な寸法であって、かつ所定個数より多くの遊技媒体を収容不可能な寸法とされていることが望ましい。
このような寸法の遊技媒体通路によれば、所定個数以下の遊技媒体を遊技媒体通路内に収容することができるが、所定個数より多くの遊技媒体を遊技媒体通路に収容することができない。したがって、投入口に所定個数の遊技媒体が投入されることにより、更なる遊技媒体の投入が不可能な状態を実現することができ、投入される遊技媒体が所定個数より多くなることを防ぐことが可能となる。
遊技媒体通路と発射手段の接続部とは、遊技媒体を打球する発射手段と、その発射手段に導かれる遊技媒体が収容された空間と、が接続する部分である。ここでいう遊技媒体通路は、発射手段によって遊技媒体を打球する発射位置に遊技媒体を誘導するために、遊技媒体を待機させておく部分も含む概念である。
また、遊技媒体通路を通過した遊技媒体を整流器を用いて1個ずつ導く発射手段の発射位置に導く遊技機において、この整流器が遊技媒体を収容可能であって遊技媒体の待機状態を実現する場合には、この整流器も含めて遊技媒体通路を概念する。一方、整流器が遊技媒体を収容不可能であって、遊技媒体の待機状態を実現しない場合には、この整流器を含まないで発射手段を概念する。
また、遊技媒体通路は、遊技領域を流下した後の遊技媒体が流入可能な流入通路と、投入口が形成され、投入口から投入された遊技媒体が流入可能な投入通路と、流入通路を通過した遊技媒体と投入通路を通過した遊技媒体とが流入可能であり、遊技媒体を発射手段に向けて導く誘導通路と、を有することが望ましい。
遊技領域を流下した後の遊技媒体が流入可能な流入通路と、投入口から投入された遊技媒体が流入可能な投入通路と、が設けられていることにより、遊技領域を流下した後の(遊技機内を循環している)遊技媒体と、投入口に投入された(新たに投入され、遊技機内を循環してない)遊技媒体と、が通過する通路を別々にすることができる。各遊技媒体が通過する通路を別個に設けることにより、投入口の配置の自由度を高めることができる。更に、従来の構成による遊技媒体循環ユニットの流入通路を採用しても、別途投入通路を設ければよいため、従来の流入通路の構成に悪影響を与えずに、遊技媒体を投入するための投入口を設けることができる。
誘導通路は、流入通路及び投入通路とそれぞれ接続されて構成されていてもよいし、流入通路及び投入通路と離間して配置されていてもよい。各通路と誘導通路とが離間して配置されている場合には、各通路から誘導通路に遊技媒体を落下させて導く等、各通路から誘導通路に遊技媒体を導くことができるように構成する。なお、発射手段と遊技媒体通路との接続部から投入口までの遊技媒体通路の寸法とは、発射手段と誘導通路との接続部から投入通路に形成された投入口までの寸法である。
更に、遊技媒体循環ユニットの流入通路と誘導通路のうち少なくともいずれか一方には、流入通路から誘導通路に遊技媒体を通過させる状態と、流入通路から誘導通路に遊技媒体を通過させない状態と、を実現可能な可変部材が設けられており、可変部材は、投入通路内に遊技媒体がない場合に、流入通路から誘導通路に遊技媒体を通過させる状態を実現し、投入通路内に遊技媒体がある場合に、流入通路から誘導通路に遊技媒体を通過させない状態を実現するように構成される。
メンテナンス等で遊技媒体を交換する際は、遊技媒体を一旦遊技機から取り出した後に、投入口から所定個数の遊技媒体を投入する。所定個数の遊技媒体を投入口から投入した状態は、遊技媒体の通過方向において投入口より下流側の投入通路内に遊技媒体があって、流入通路内に遊技媒体がない状態である。この状態において、発射手段によって遊技媒体が打ち出されると、打ち出された遊技媒体は、遊技領域を流下した後に流入通路に流入する。したがって、投入通路と流入通路にはいずれも遊技媒体がある状態となる。そして発射手段によって更に遊技媒体が打ち出されると、誘導通路内にある遊技媒体が1個減り、流入通路内にある遊技媒体が1個増える。誘導通路内にある遊技媒体が1個減るため、流入通路内にある遊技媒体又は投入通路内にある遊技媒体が誘導通路に導かれる。
このとき、投入通路内にある遊技媒体よりも流入通路内にある遊技媒体を誘導通路に導き易く構成されていることにより、誘導通路内の遊技媒体と流入通路内の遊技媒体のみ遊技機内部で循環して、投入通路内にある遊技媒体は誘導通路に導かれずにそのまま投入通路内に滞留することとなる。所定個数のうち一部の遊技媒体のみが遊技機内部を循環して、所定個数全部の遊技媒体が遊技機内を循環しないため、遊技媒体毎に使用頻度が異なり、メンテナンスの観点から好ましくない。一方、流入通路内にある遊技媒体よりも投入通路内にある遊技媒体を誘導通路に導き易く構成することにより、投入口から投入した全ての遊技媒体を誘導通路に導いて、遊技機内を循環させることができる。したがって、流入通路内にある遊技媒体よりも投入通路内にある遊技媒体を誘導通路に導き易く構成することが望ましい。
可変部材は、投入通路内に遊技媒体がない場合に、流入通路から誘導通路に遊技媒体を通過させる状態を実現し、投入通路内に遊技媒体がある場合に、流入通路から誘導通路に遊技媒体を通過させない状態を実現する。この可変部材を設けることにより、投入通路に遊技媒体がある場合には、流下通路内に遊技媒体があっても、流入通路から遊技通路に遊技媒体が通過しない。したがって、流入通路を通過する遊技媒体よりも投入通路を通過する遊技媒体を優先的に誘導通路に導くことが可能となる。一方、投入通路に遊技媒体がない場合には、流入通路から誘導通路に遊技媒体を通過させるため、遊技機内部の遊技媒体の循環に悪影響を与えない。
可変部材の具体的な構成としては、流入通路と誘導通路との接続部分に開閉部材を設ける構成を例示できる。開閉部材を開閉駆動することにより、流入通路の誘導通路との接続部分を開放して、流入通路から誘導通路に遊技媒体を通過させる状態と、流入通路の誘導通路との接続部分を閉鎖して、流入通路から誘導通路に遊技媒体を通過させない状態と、を実現することができる。開閉部材は、制御手段によって駆動制御するように構成してもよいし、投入通路内にある遊技媒体の有無によって機構的に駆動するように構成してよい。
例えば、制御手段によって開閉部材を駆動制御する構成としては、投入通路内に遊技媒体があるか否かをセンサ等によって検出して、この検出結果に基づいて開閉部材を駆動制御する構成、投入口から所定個数の遊技媒体を投入した状態から投入通路内にある遊技媒体がなくなるまでの発射遊技媒体数を記憶しておき、実際に発射された遊技媒体数をカウントすることにより開閉部材を駆動制御する構成、を例示できる。
例えば、機構的に開閉部材を駆動する構成としては、流入通路と誘導通路との接続部分を開放する方向に弾性部材によって開閉部材を付勢して、投入通路内に遊技媒体がある場合には、投入通路内にある遊技媒体によって流入通路と誘導通路の接続部分が閉状態なるように開閉部材を押圧して、流入通路と誘導通路との接続部分を開放させない構成を例示できる。この構成によれば、投入通路内に遊技媒体がある場合には、流入通路と誘導通路の接続部分は閉状態となり、流入通路から誘導通路に遊技媒体が通過しない。一方、投入通路内に遊技媒体がない場合には、流入通路と誘導通路の接続部分は開状態となり、流入通路から誘導通路に遊技媒体が通過する。
また、遊技媒体循環ユニットは、投入口が遊技媒体通路に形成されていてもよい。遊技媒体が投入される投入口を遊技媒体通路に設けることにより、遊技機内を循環する遊技媒体が通過する通路に対して新たな遊技媒体を投入することができ、投入通路を別途設ける場合に比較して、部品点数を減らすことができるとともに、簡易な構成とすることができる。また、投入口を遊技媒体通路に設けることにより、投入口から投入した球は遊技媒体通路に収容される。そして、遊技領域に発射された遊技媒体は、遊技媒体通路に流入する。すなわち、投入口から投入された遊技媒体と遊技領域から導かれる遊技媒体とを同じ遊技媒体通路内に収容させることができる。したがって、投入口から導かれた遊技媒体と流入通路から導かれた球を合流させて発射通路に導くことができ、投入口から投入された遊技媒体を確実に発射手段に導いて循環させることができ、遊技媒体の使用頻度の偏りによる不具合を防止することが可能となる。
また、投入口から投入された遊技媒体の通過方向に沿って投入口が移動可能に構成されることが望ましい。遊技媒体の通過方向に沿って投入口の位置を移動することにより、封入する遊技媒体の所定個数を適宜変更することができる。
例えば、遊技機内部を循環させる遊技媒体の数(所定個数)を減らす場合には、投入口の位置を遊技媒体の通過方向の下流側に変更する。この位置に変更することにより、移動前よりも少ない数の遊技媒体が投入されることによって、更なる遊技媒体が投入されることを不可能な状態を実現する。したがって、遊技媒体の所定個数を減らすことができる。一方、遊技媒体の所定個数を増やす場合には、遊技媒体の通過方向の上流側に投入口の位置を変更する。この位置に変更することにより、移動前よりも多くの遊技媒体が投入されることによって、更なる遊技媒体が投入されることを不可能な状態を実現する。したがって、遊技媒体の所定個数を増やすことができる。このように、投入口の位置を適宜変更することにより、投入口から投入可能な遊技媒体の所定個数を変更でき、異なる数の遊技媒体を用いて遊技を実現する種々の遊技機に適用することが可能となる。
投入口の配置を変更する具体的な構成は、例えば、投入口を遊技媒体の通過方向に沿った長穴として、この長穴を部分的に塞ぎ、かつ遊技媒体の通過方向に沿ってスライド可能な蓋部材を設ける。この蓋部材を遊技媒体の通過方向に沿って移動させることにより、投入口の配置を適宜変更することができる。
本発明の更に他の例示的側面としての遊技機は、遊技媒体の流下による遊技を実現する遊技領域が表面に画定された遊技盤と、上記の遊技媒体循環ユニットと、遊技領域に遊技媒体を発射する発射手段と、を備え、遊技媒体循環ユニットの投入口は、遊技盤の裏面側に配置されている。
この遊技機によれば、遊技媒体循環ユニットの外部から内部に遊技媒体を投入する際には、投入通路に形成された投入口から遊技媒体が投入される。この投入口から所定個数の遊技媒体を投入した際に、投入した遊技媒体によって更なる遊技媒体の投入が不可能になるように、投入口が構成されているため、投入口から所定個数より多くの遊技媒体を投入することができなくなる。したがって、投入口から所定個数より多くの遊技媒体が投入されることを防ぐことができ、投入する遊技媒体数の間違いを抑制することが可能となる。
更に、投入口が遊技盤の裏面側に設けられており、遊技盤の裏面側から遊技媒体を投入することできる。遊技盤の表面側には遊技領域が形成されており、遊技領域を流下した遊技媒体は、遊技盤の下方又は裏面側に導かれる。また、遊技者が発射操作をする操作手段が遊技機の表面側(遊技者の手前側)に設けられるため、遊技領域に遊技媒体を発射する発射手段は、遊技機の裏面側(遊技者の奥側)に設けられることが多い。したがって、遊技領域を流下した遊技媒体を再び発射手段に導くための遊技媒体循環ユニットは、遊技盤の裏面側に設けられることが望ましく、この遊技盤の裏面側に投入口を配置することにより、作業者は遊技媒体循環ユニットを視認しながら、遊技媒体を投入することができる。更に、遊技盤の裏面側には、制御手段及び電源装置等の各種遊技部品が配置されている。メンテナンスの際には、これらの部品を合わせて操作することが多く、遊技盤の裏面側に投入口を配置することにより操作性を向上させることも可能となる。
なお、遊技盤の裏面側とは、遊技機の奥行方向において、遊技機の表面側(遊技者の手前側)に対する遊技盤を挟んだ反対側である。投入口は、奥行方向において遊技盤の裏面側に配置されていればよく、正面視にて遊技盤の左右側方に配置されていてもよいし、正面視にて遊技盤の上下側方に配置されていてもよい。
本発明の更なる目的又はその他の特徴は、以下添付図面を参照して説明される好ましい実施の形態によって明らかにされるであろう。
本発明に係る遊技媒体循環ユニット及び遊技機によれば、遊技機内で所定個数の遊技媒体を循環させて遊技を実現する遊技機において、遊技媒体を投入する際に、所定個数より多くの遊技媒体が投入されることにより、更なる遊技媒体の投入が不可能な状態を実現するため、予め定められた所定個数の遊技媒体を投入させることができ、投入される遊技媒体数の間違いを抑制することが可能となる。
[実施の形態1]
以下、本発明の実施の形態1について図面を用いて説明する。図1は、本発明の実施1の形態に係る遊技媒体循環ユニットを有する雀球遊技機2の外観斜視図であり、図2は、後述する機枠の背面図である。この雀球遊技機2は、筐体枠4、遊技盤(遊技装置体)6、機枠8、前面ガラス(前面透明板)10、装飾枠12、メダル投入ユニット13、回転ハンドル30、受皿17を有している。
遊技機は、遊技の結果に応じて景品としての遊技媒体が払い出される遊技機であり、雀球遊技機、アレンジボール機等の組合せ式パチンコ機、封入循環式パチンコ機、等の種々のパチンコ機及びスロット機を含む。本実施の形態1においては、その中でも特に雀球遊技機2を例示して説明する。また、本実施の形態1の説明の中で用いられる「上下」及び「左右」の意味は、雀球遊技機2で遊技する遊技者から見た「上下」及び「左右」の意味である。
筐体枠4は、この雀球遊技機2の周囲を囲む枠体であり、平面視略長方形に構成され、材料としては木材・樹脂・金属等が適用可能である。筐体枠4は、雀球遊技機2の上下面、左右側面及び背面を囲み、前方から見て左側面側には機枠8及び装飾枠12を揺動支持するためのヒンジ部(揺動支持部)18が設けられている。筐体枠4の内部には、雀球遊技機2による遊技を実現するための様々な装置機器類が収容されており、これら装置機器類は筐体枠4に周囲を囲まれて不正等から保護されている。
筐体枠の内部には、メダル払出装置(図示せず)が設置されている。他にも遊技制御を行うための遊技制御基板(図示せず)等が収容されているが、その詳細な説明は省略する。
メダル払出装置は、雀球遊技機2で行われる遊技結果に応じて景品として遊技媒体であるメダルを払い出すための装置である。メダル払出装置から払い出されたメダルは、機枠8に開口形成された払出口40を通過して受皿17上に払い出される。遊技者は、受皿17上に払い出されたメダルを再度遊技に使用したり、メダルとは異なる景品に交換したりすることができる。
前面ガラス10は、遊技盤6に対して一定距離離間して配置された透明板である。前面ガラス10は透明平板ガラスで形成され、遊技盤6との間に球23が流下する流下空間を形成する機能、遊技者が前面ガラス10を通して遊技盤6を視認できるように視認性を確保する機能、遊技者が遊技盤6に不正にアクセス(接触)できないように不正アクセスを防止する機能、を発揮する。
前面透明板としてはガラス素材の前面ガラス10の他に、もちろん透明アクリル等の樹脂材料が使用されてもよい。また、本実施の形態1においては、前面ガラス10が装飾枠12に保持されるが、前面ガラス10が遊技盤6の前面に取り付けられて、遊技盤6とともに機枠8に保持されるように構成されていてもよい。
装飾枠12は、前面ガラス10とその周囲を囲む装飾部材29とを保持するための枠体である。その装飾枠12は、機枠8の前面側に配置されてヒンジ部18において機枠8とともに筐体枠4に揺動支持され、機枠8に対して前面開閉可能とされている。
装飾枠12の略中央部には遊技者の視認確保のために大きく開口された中央開口12aが形成され、その中央開口12aに前面ガラス10が取り付けられている。その前面ガラス10の周囲には、雀球遊技機2を装飾するための造形・色彩・ランプ・スピーカー等が付された装飾部材29が取り付けられ、雀球遊技機2の遊技演出に寄与している。
中央開口12aの下方には前方(遊技者側)に膨出する膨出部12bが形成され、その膨出部12bにメダル投入ユニット13、液晶表示部32a、操作ボタン32bが配置されている。
遊技盤6の表面である遊技盤面6aには、球23の流下による遊技を実現する遊技領域が画定されている。遊技盤6の遊技盤面6a上には、ランプ22、入球口26等の多数の役物が配置されている。また、遊技盤面6aの下方部分には、各々所定の麻雀牌に対応して横一列に並んだ多数の下部入球口28aを有する入球ユニット28が配置されている。
機枠8は、遊技盤6を保持するための枠体で、筐体枠4の前方に配置されてヒンジ部18において筐体枠4に揺動支持され、筐体枠4に対して前面開閉可能とされている。機枠8は、遊技盤6を保持しており、遊技盤6の背面には、遊技の演出を制御する演出制御基板33、遊技盤6の遊技盤面6aに形成された遊技領域を流下した球を発射手段に導く遊技媒体循環ユニットとしての球循環ユニット34が設けられている。
機枠8の下方部分には、遊技盤6に向けて球23を発射するための回転ハンドル30が設けられている。回転ハンドル30は、遊技者の手動操作に基づいて回転可能とされた球発射用のハンドルである。回転ハンドル30には、図示しない球発射位置に停止保持された球23を弾球するための発射杆31(発射手段)が連結されている。発射杆31は回転ハンドル30の回転に連動するようになっている。つまり、発射杆は、回転操作された回転ハンドルが勢いよく原点位置に復帰するのに連動して回転し、球発射位置に停止保持された球23を弾球して発射するようになっているのである。
なお、この雀球遊技機2においては、所定個数(例えば、7個。)の球23が機内に封入循環されている。遊技盤6に向けて発射された球23は、遊技盤面6aを流下し、上部入球口26又は下部入球口28aに流入する。
次いで、図3に示す機枠8の背面図に基づいて、球循環ユニットにおける各入球口に流入した球の通過態様について説明する。図3においては、球の通過態様を説明するため、球循環ユニットの背面に設けられたカバー部を省略している。
球循環ユニット34は、遊技盤6に設けられた上部入球口26の裏面側を覆うように設けられ、上部入球口26に流入した球23を下方に向けて導く上部集合通路35と、遊技盤6の裏面側において入球ユニット28の下方に配置され、下部入球口28aに流入した球及び上部集合通路35から導かれた球23を下方に向けて導く中央集合通路36と、遊技盤6の裏面側において中央集合通路36の下方に配置され、中間集合通路36から導かれた球23及び発射手段から発射され遊技領域に到達しなかった球(以下、ファール球とする。)23を発射手段に向けて導く下部集合通路37と、を備える。なお、本実施の形態では、上部集合通路35、中央集合通路36、及び下部集合通路37を別々に設けているが、一体に設けてもよい。
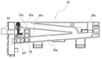
図4から図6は、下部集合通路37を示した図であり、図4及び図6は、下部集合通路37の正面図であり、図5は、下部集合通路37の平面図である。図4及び図5は、投入口37cから所定個数の球23を投入した状態の下部集合通路37であり、図6は、遊技領域を流下した球23を再び発射手段31に向けて導く状態の下部集合通路37である。
下部集合通路37は、中央集合通路36から導かれた球23が流入する第一流入口37aと、ファール球が導かれる第二流入口37bと、下部集合通路37の外部から内部に球23を投入するための投入口37cと、第一流入口37a及び第二流入口37bが形成された流入通路37dと、投入口37cが形成された投入通路37eと、流入通路37d及び投入通路37eと接続された誘導通路37fと、を備えている。
流入通路37d内の球23の通過方向における上流部には第一流入口37aと第二流入口37bが形成され、下流部には誘導通路37fが接続されている。流入通路37dは、第一流入口37aから流入した球23と第二流入口37bから流入した球23とを下方に移動させつつ、誘導通路37fに向かって導く。
投入通路37eは、雀球遊技機2の奥行方向において流入通路37d及び誘導通路37fより後方に配置されている。投入通路37eの上端部には、投入口37cが形成され、下端部には、誘導通路37fが接続されている。誘導通路37fは、投入通路37eより雀球遊技機2の前方に配置されているため、投入通路37eの下端部は、前方側に開口形成されている。投入通路37eは、投入口37cから投入された球を流下させ、誘導通路37fに向かって導く。
誘導通路37fは、流入通路37d及び投入通路37eと接続されており、流入通路37d及び投入通路37eから導かれた球を発射杆31の発射位置に導く。本実施の形態では、球循環ユニット34から導かれた球23は、整流器41によって1個ずつ発射位置に送り出される。したがって、誘導通路37fは、球23を整流器41に導くように構成されている。
次いで、このように構成された球循環ユニット34における球23の通過態様を遊技の流れに沿って詳細に説明する。雀球遊技機2は、メダル投入ユニット13に所定枚数のメダルを投入することで遊技を行うことができるようになっている。メダル投入ユニット13から所定枚数のメダルが投入されると、この雀球遊技機2による遊技が開始可能となり、液晶表示部32aに所定個数の麻雀牌図柄が手持ち牌として配牌されて画像表示される。
遊技者が操作ボタン32bの操作により手持ち牌の中から不要牌を選択すると、整流器41が駆動して発射位置に球が1個送り出されて、発射杆31によって球発射可能となる。この状態で遊技者が回転ハンドル30を手動操作することにより、発射杆31によって球23が遊技領域に発射される。遊技領域を流下する球23は、上部入球口26又は下部入球口28aに入球する。その入球口に対応する麻雀牌図柄が液晶表示部32a上に表示され、手持ち牌に補充される。
上部入球口26又は下部入球口28aに入球した球23は、遊技盤6の裏面側に導かれ、上部集合通路35及び中央集合通路36を通過して、下部集合通路37の第一流入口37aに流入する。第一流入口37aに流入した球23は、流入通路37d内を誘導通路37fに向けて移動し、整流器41を先頭に連なった球の最後尾に配置される。図6に示す状態である。
遊技者が再び不要牌を選択することにより、整流器41が駆動して発射位置に球が1個送り出されて、発射杆31によって発射可能となる。整流器41によって球が1個送り出されると、誘導通路37f及び流入通路37dにある球は、1個分ずつ整流器41側に移動する。そして、遊技者が回転ハンドル30を手動操作することにより球が遊技領域に向けて発射され、球23が入球した下部入球口28aに対応する麻雀牌が補充される。この操作を所定回数(例えば、11回。)繰り返す間に、手持ち牌が所定のアガリ役になっていれば、景品としてのメダルが受皿17に向けて払い出される。
この雀球遊技機2は、球23を1個ずつ発射可能であり、発射された球が遊技領域の上部入球口26又は下部入球口28aに入球するか、或いは発射された球がファール球として第二流入口37bに流入することにより、次の球を発射できるように構成されている。したがって、整流器41によって球23を発射位置に送り出す前の下部集合通路37は、常に図6に示す状態となる。
また例えば、メンテナンス等で雀球遊技機2に封入された球23を交換する場合、又は雀球遊技機2をホールに設置する際の初期状態では、雀球遊技機2の内部に球を新たに投入する作業が行われる。新たな球の投入は、下部集合通路37の投入口37cから投入される。図4及び図5は、投入口37cから球を7個投入した状態の下部集合通路37を示した図である。
投入口37cから投入された球23は、整流器41側を先頭にして誘導通路37f内と投入通路37e内に収容されている。投入通路37eの投入口37cまで球23が収容されており、更なる球23の投入はできない状態である。なお、整流器41側の先頭の球23は、整流器内に半球分配置されており、この先頭の球が配置される位置を整流器41内の待機位置とする。整流器41内の待機位置から投入口37cまでの空間(図示する斜線部)は、7個分の球23が収容可能な寸法に形成されている。したがって、投入口37cから球23が7個投入されることにより、整流器41内の待機位置から投入口37cまでの間には更なる球23を収容するスペースがなくなり、投入口37cから更なる球23の投入ができない状態となる。
したがって、作業者は予め定められた所定個数(本実施の形態では7球。)より多くの球を物理的に投入できず、予め定められた所定個数より多くの球が投入されることを防ぐことができる。更に、投入口37cから更なる球の投入ができない状態となることにより、所定個数の球が投入されたこととなる。作業者は、投入口から球が投入できなくなるまで球を投入すればよいため、投入する球数をカウントする必要がなくなり作業効率を向上させることができるとともに、予め定められた所定個数より投入した球数が不足することを防止することができる。
以上のように、本実施の形態1によれば、所定個数の遊技媒体が投入されることにより、投入された所定個数の遊技媒体によって更なる遊技媒体の投入ができないように構成されているため、投入される遊技媒体の不足及び過多を防止して、投入数の間違いによる不具合を抑制することができる。
なお、本実施の形態1では、整流器によって発射位置に球を1球ずつ送り出しているため、整流器の待機位置から投入口までの寸法を所定個数の遊技媒体が収容可能な寸法として構成したが、例えば、整流器を設けずに誘導通路から発射手段に直接球を導く場合には、誘導通路の発射手段側から投入口までの空間を所定個数の球が収容可能な寸法として構成することにより、本実施の形態と同様の効果を得ることができる。
[変形例1]
なお、球循環ユニット34の流入通路37d、投入通路37e、及び誘導通路37fの配置は、他の変形例を概念することができる。図7は、変形例に係る下部集合通路37の正面図である。以下、変形例において、実施の形態と同様の構成については、同符号を用いて説明を省略する。変形例2に係る球循環ユニットは、実施の形態1の下部集合通路と比較して投入通路の配置が異なる。
投入通路37eは、流入通路37d及び誘導通路37fの上部に接続されており、投入通路37e内の球23と流入通路37d内の球23とが半球分ずれるように配置されている。投入通路37e内の球23の中心と流入通路37d内の球23の中心との距離Xは、球の進行方向において球23の半径の長さである。投入通路37e内にある球23は、流入通路37d内にある球23より進行方向の前方に配置されている。
図7は、投入口37cから球23が7個投入された後に、球23を1個発射した状態の下部集合通路37である。遊技領域に打ち出された球23は、流入通路37dに流入して、整流器41を先頭に連なった球23の最後尾に配置される。次いで、球23が整流器41によって発射位置に送り出されることにより、誘導通路37f内及び投入通路37e内の球は1個分ずつ整流器41側に移動する。このとき、流入通路37d内の球及び投入通路37e内の球は、いずれも誘導通路37fに向かって移動可能である。しかし、投入通路37e内の球は、流入通路37d内の球より誘導通路37f側に半球分ずれており、誘導通路37f内の球と投入通路37e内の球の間に配置されている。したがって、投入通路37e内の球は、流入通路37d内の球よりも誘導通路37fに導かれ易い。
変形例1に係る下部集合通路によれば、投入通路37e内に球23がある場合には、投入通路37e内の球23が誘導通路37fに導かれ易く、流入通路37dから誘導通路37fに向かって球23が通過し難くなる。一方、投入通路37e内に球23がない場合には、流入通路37dから誘導通路37fに球を導くことが可能となる。すなわち、投入口37cから投入した全ての球23を誘導通路37fに導いて、雀球遊技機2内を循環させ易くなり、球23の使用頻度の偏りによる不具合を抑制することができる。
[変形例2]
また、投入通路37e内にある球を流入通路37d内にある球23よりも誘導通路37fに導き易くする構成は、他の変形例を概念することができる。図8及び図9は、変形例2に係る下部集合通路37の流入通路37d、投入通路37e、及び誘導通路37fの接続部分の拡大斜視図である。流入通路37d、投入通路37e、及び誘導通路37fの接続部分には、流入通路37d内にある球23を誘導通路37fに通過させる状態と、流入通路37d内にある球23を誘導通路37fに通過させない状態と、を実現するための開閉部材(可変部材)38が設けられている。
開閉部材38は、流入通路37d、投入通路37e、及び誘導通路37fが接続する辺に沿った軸部38aと、軸部38aを中心に回転移動可能な扉部38bと、軸部38aに設けられた弾性部材からなるバネ部38cと、を有する。扉部38bが軸部38aを中心として回転移動することにより、流入通路37dと誘導通路37fの接続部分を塞いで流入通路37dから誘導通路37fに球を通過させない状態(図8参照)と、投入通路37eと誘導通路37fの接続部分を塞いで投入通路37eから誘導通路37fに球23を通過させない状態(図9参照)と、が実現される。
バネ部38cは、投入通路37eと誘導通路37fの接続部分を塞ぐように扉部38bを付勢している。投入通路37e内に球がないと、バネ部38cによって扉部38bが付勢され、投入通路37eと誘導通路37fの接続部分を塞ぐ状態が実現される。この状態では、流入通路37dから誘導通路37fに球23が通過可能である。
一方、投入口37cから球23が投入されることにより、投入通路37e内の球23の自重によって、扉部38bは投入通路37eと誘導通路37fの接続部分を開放する方向に押圧される。バネ部38cの付勢力は、投入通路37e内にある球23の自重による押圧力より小さく設定されている。よって、投入口37cから球23が投入されることにより、投入通路37e内にある球23の自重によって扉部38bが軸部38aを中心に反時計回りに回転移動し、投入通路37eと誘導通路37fの接続部分を開放して、流入通路37dと誘導通路37fの接続部分を塞ぐ。したがって、投入通路37e内に球があると、図8に示すように投入通路37eと誘導通路37fの接続部分が開放される状態が実現され、投入通路37eから誘導通路37fに球23が通過可能となる。
そして、球23が発射され続け、投入通路37e内の球23がなくなると、扉部38bに対する投入通路37e内の球23の押圧力がなくなる。扉部38bは、バネ部38cの付勢力によって軸部38aを中心に時計回りに回転移動して、流入通路37dと誘導通路37fの接続部分を開放して、投入通路37eと誘導通路37fの接続部分を塞ぐ。したがって、投入通路37e内に球23がないと、図9に示すように流入通路37dと誘導通路37fの接続部分が開放される状態が実現され、流入通路37dから誘導通路37fに球23が通過可能となる。
このように変形例2に係る下部集合通路37によれば、投入通路37e内に球23がある場合は、流入通路37dから誘導通路37fに球23を通過させない状態を実現して、流入通路37d内にある球23より投入通路37e内にある球23を誘導通路37fに先行して導くことが可能となる。また、投入通路37e内に球がない場合には、流入通路37dから誘導通路37fに球23を通過させる状態を実現して、流入通路37dから誘導通路37fに球を通過させることができる。
投入通路内に球があるか否かによって、流入通路37dから誘導通路37fに球23を通過させる状態とさせない状態とを実現するため、状態を変化させるための制御手段が不要であり、簡易な構成で適宜異なる状態を実現することができる。更に、遊技中は、投入通路37eと誘導通路37fの接続部分は塞がれており、投入口37cから誘導通路37fに粉塵等が流入することを防ぐことができる。
[実施の形態2]
次いで、本発明の実施の形態2に係る球循環ユニットについて、図面を用いて説明する。図10は、球循環ユニットを構成する下部集合通路の正面図である。なお、実施の形態1と同様の構成については同符号を用いて説明を省略する。下部集合通路42は、中央集合通路36から導かれた球が流入する第一流入口42aと、ファール球が流入する第二流入口42bと、第一流入口42a及び第二流入口42bから流入した球23を整流器41に導く球通路42cと、球通路42cを構成する上壁面に開口形成された投入口42dと、を備えている。実施の形態2に係る球通路42cは、実施の形態1における流入通路37d、投入通路37e、及び誘導通路37fの機能を備え、一体形成されている。
第一流入口42a及び第二流入口42bから流入した球の合流部分の下流(整流器)側には、屈曲部が形成されており、この屈曲部に投入口42dが配置されている。投入口42dから投入された球23は、屈曲部より下流側の球通路42c内に収容される。整流器41から投入口42dまでの空間(図示する斜線部)は、所定個数(7個)の球が収容可能な寸法である。したがって、投入口42dから球を7個投入することにより、整流器41から投入口42dまでの空間には更なる球を収容するスペースがなくなり、投入口42dから更なる球の投入ができない状態となる。
したがって、実施の形態2に係る下部集合通路によっても、所定個数より多くの球が投入されることを防ぐことができる。更に、実施の形態2に係る下部集合通路は、投入通路と流入通路が別々でなく一体であるため、所定個数の球が投入された後に発射された球は、整流器から連なる球の最後尾に配置される。したがって、投入口42dから投入した全ての球を発射手段に導いて、遊技機内部を循環させることができる。
[変形例3]
実施の形態2における下部集合通路の投入口は、他の変形例を概念することができる。
図11は、変形例3に係る下部集合通路43の投入口43d部分の拡大斜視図である。変形例3に係る下部集合通路の投入口は、球通路43cを構成する上壁面に開口形成された開口部43gと、開口部43gの一部を覆い、球23の通過方向においてスライド可能な二枚の蓋部材43e、43fと、によって画定される。
開口部43gは、球23が3個通過可能な寸法に形成されている。開口部43gの一部分は、蓋部材43e、43fによって覆われている。蓋部材43eは、球の通過方向における上流側に配置され、蓋部材43fは、球の通過方向における下流側に配置され、開口部43gは、中央部分が球1個分開口している。この開口が投入口43dとなる。投入口43dの位置は、投入すべき球数によって定めることができ、整流器41の待機位置から投入口43dまでの空間が投入すべき球数を収容可能な寸法とする。
投入すべき球数を変更したい場合には、蓋部材43e、43fを球23の通過方向においてスライド移動して投入口43dの位置を変更することにより、整流器41の待機位置から投入口43dまでの空間の寸法を変更して、投入すべき球数を変えることができる。具体的には、遊技機に投入する球数を増やしたい場合には、蓋部材43fを下流側にスライド移動して、投入口43dの位置を上流側に変更する。整流器41の待機位置から投入口43dまでの空間が大きくなり、収容する球数が増える。一方、遊技機に投入する球数を減らしたい場合には、蓋部材43eを上流側にスライド移動させて、投入口43dの位置を下流側に変更する。
すなわち、蓋部材43e、43fの位置を適宜変更することにより、投入口43dの位置を変更して、投入可能な球数を変更することができる。すなわち、変形例3に係る下部集合通路43は、遊技機に投入する球の数を変更することができるため、封入すべき遊技媒体数が異なる種々の遊技機に適用することが可能となる。
以上、本発明の好ましい実施の形態を説明したが、本発明はこれらに限定されるものではなく、その要旨の範囲内で様々な変形や変更が可能である。
本発明の実施の形態1に係る雀球遊技機の外観斜視図である。 図1に示す雀球遊技機が有する機枠の背面図である。 図1に示す雀球遊技機が有する機枠の背面図である。 球循環ユニットを構成する下部集合通路の正面図であって、投入通路から球を所定個数の球を投入した状態である。 球循環ユニットを構成する下部集合通路の平面図であって、投入通路から球を所定個数の球を投入した状態である。 球循環ユニットを構成する下部集合通路の正面図であって、流入通路から誘導通路に球を通過させる状態である。 変形例1に係る下部集合通路の正面図である。 変形例2に係る下部集合通路の流入通路、投入通路、及び誘導通路の接続部分の拡大斜視図である。 変形例2に係る下部集合通路の流入通路、投入通路、及び誘導通路の接続部分の拡大斜視図である。 実施の形態2に係る下部集合通路の平面図である。 変形例3に係る下部集合通路の投入口部分の拡大斜視図である。
符号の説明
2:雀球遊技機(遊技機)
4:筐体枠
6:遊技盤
6a:遊技盤面
8:機枠
10:前面ガラス(前面透明板)
12:装飾枠
12a:中央開口
12b:膨出部
13:メダル投入ユニット
17:受皿
18:ヒンジ部(揺動支持部)
22:ランプ
23:球(遊技媒体)
26:入球口
28:入球ユニット
28a:下部入球口
29:装飾部材
30:回転ハンドル
31:発射杆(発射手段)
32a:液晶表示部
32b:操作ボタン
33:演出制御基板
34:球循環ユニット(遊技媒体循環ユニット)
35:上部集合通路
36:中央集合通路
37:下部集合通路
37a:第一流入口
37b:第二流入口
37c:投入口
37d:流入通路
37e:投入通路
37f:誘導通路
38:開閉部材(可変部材)
38a:軸部
38b:扉部
38c:バネ部
39:第二投入口(投入口)
39a:開口部
39b:蓋部
40:払出口
41:整流器
42:下部集合通路
42a:第一流入口
42b:第二流入口
42c:球通路(遊技媒体通路)
42d:投入口
43:下部集合通路
43c:球通路(遊技媒体通路)
43d:投入口
43e、43f:蓋部材
43g:開口部

Claims (7)

  1. 発射手段により遊技領域に向けて発射された遊技媒体を、該遊技領域を流下した後に再び該発射手段に導くことにより、該遊技媒体の循環的な発射を実現する遊技媒体循環ユニットであって、
    前記遊技領域を流下した後の前記遊技媒体を前記発射手段に向けて導くための遊技媒体通路と、
    前記遊技媒体通路内に前記遊技媒体を投入させるための投入口と、を有し、
    前記投入口から所定個数の前記遊技媒体が投入されると、既に投入された所定個数の該遊技媒体によって更なる遊技媒体が投入されることを不可能とする状態を実現するように構成される、遊技媒体循環ユニット。
  2. 前記発射手段と前記遊技媒体通路との接続部から前記投入口までの前記遊技媒体通路の寸法は、所定個数以下の前記遊技媒体を収容可能な寸法であって、かつ所定個数より多くの前記遊技媒体を収容不可能な寸法とされている、請求項1に記載の遊技媒体循環ユニット。
  3. 前記遊技媒体通路は、前記遊技領域を流下した後の前記遊技媒体が流入可能な流入通路と、
    前記投入口が形成され、該投入口から投入された前記遊技媒体が流入可能な投入通路と、
    前記流入通路を通過した前記遊技媒体と前記投入通路を通過した前記遊技媒体とが流入可能であって、該遊技媒体を前記発射手段に向けて導く誘導通路と、を有する、請求項1又は請求項2に記載の遊技媒体循環ユニット。
  4. 前記流入通路と前記誘導通路の少なくともいずれか一方には、前記流入通路から前記誘導通路に前記遊技媒体を通過させる状態と、前記流入通路から前記誘導通路に前記遊技媒体を通過させない状態と、を実現可能な可変部材が設けられており、
    前記可変部材は、前記投入通路内に前記遊技媒体がない場合に、前記流入通路から前記誘導通路に前記遊技媒体を通過させる状態を実現し、前記投入通路内に遊技媒体がある場合に、前記流入通路から前記誘導通路に前記遊技媒体を通過させない状態を実現する、請求項3に記載の遊技媒体循環ユニット。
  5. 前記投入口は、前記遊技媒体通路に形成されている、請求項1又は請求項2に記載の遊技媒体循環ユニット。
  6. 前記投入口は、該投入口から投入された前記遊技媒体の通過方向に沿って移動可能に構成される、請求項1から請求項5のいずれかに記載の遊技媒体循環ユニット。
  7. 遊技媒体の流下による遊技を実現する遊技領域が表面に画定された遊技盤と、請求項1から請求項6のいずれかに記載の遊技媒体循環ユニットと、前記遊技領域に前記遊技媒体を発射する発射手段と、を備え、
    前記遊技媒体循環ユニットの前記投入口は、前記遊技盤の裏面側に配置されている、遊技機。
JP2008183583A 2008-07-15 2008-07-15 遊技媒体循環ユニット Active JP5177406B2 (ja)

Priority Applications (1)

Application Number Priority Date Filing Date Title
JP2008183583A JP5177406B2 (ja) 2008-07-15 2008-07-15 遊技媒体循環ユニット

Applications Claiming Priority (1)

Application Number Priority Date Filing Date Title
JP2008183583A JP5177406B2 (ja) 2008-07-15 2008-07-15 遊技媒体循環ユニット

Publications (2)

Publication Number Publication Date
JP2010022396A true JP2010022396A (ja) 2010-02-04
JP5177406B2 JP5177406B2 (ja) 2013-04-03

Family

ID=41728824

Family Applications (1)

Application Number Title Priority Date Filing Date
JP2008183583A Active JP5177406B2 (ja) 2008-07-15 2008-07-15 遊技媒体循環ユニット

Country Status (1)

Country Link
JP (1) JP5177406B2 (ja)

Citations (3)

* Cited by examiner, † Cited by third party
Publication number Priority date Publication date Assignee Title
JPS6145786A (ja) * 1985-07-10 1986-03-05 株式会社 ソフイア パチンコ機
JPH08252365A (ja) * 1995-03-15 1996-10-01 Taiyo Denshi Kk 入賞球装置
JP2002224407A (ja) * 2001-01-30 2002-08-13 Fuji Shoji:Kk 弾球遊技機

Patent Citations (3)

* Cited by examiner, † Cited by third party
Publication number Priority date Publication date Assignee Title
JPS6145786A (ja) * 1985-07-10 1986-03-05 株式会社 ソフイア パチンコ機
JPH08252365A (ja) * 1995-03-15 1996-10-01 Taiyo Denshi Kk 入賞球装置
JP2002224407A (ja) * 2001-01-30 2002-08-13 Fuji Shoji:Kk 弾球遊技機

Also Published As

Publication number Publication date
JP5177406B2 (ja) 2013-04-03

Similar Documents

Publication Publication Date Title
JP6748467B2 (ja) 遊技機
JP2011103978A (ja) 遊技機枠ユニット
JP5247284B2 (ja) 封入球式パチンコ遊技機
JP2009291542A (ja) 遊技システムおよび遊技機島装置
JP5177406B2 (ja) 遊技媒体循環ユニット
JP2016168100A (ja) 遊技機
JP4499124B2 (ja) 弾球遊技機
JP2016154709A (ja) 遊技機
JP5088936B2 (ja) コイン投入ユニット
JP6147887B2 (ja) 遊技媒体貸出機
JP6342469B2 (ja) ゲーム機
JP5923782B2 (ja) 遊技台
JP2010214162A (ja) 弾球遊技機
JP5838507B2 (ja) 遊技台
JP4615362B2 (ja) パチンコ遊技機の可変入賞部品
JP4922099B2 (ja) 遊技機
JP4533880B2 (ja) 弾球遊技機
JP4385378B2 (ja) 弾球遊技機
JP4922100B2 (ja) 遊技機
JP6540768B2 (ja) 遊技機
JP6031246B2 (ja) 遊技媒体貸出機
JP4567014B2 (ja) 弾球遊技機
JP5686622B2 (ja) パチンコ遊技装置及びその遊技部
JP6182751B2 (ja) 遊技台
JP4970073B2 (ja) パチンコ遊技機の遊技盤

Legal Events

Date Code Title Description
A621 Written request for application examination

Free format text: JAPANESE INTERMEDIATE CODE: A621

Effective date: 20110510

A977 Report on retrieval

Free format text: JAPANESE INTERMEDIATE CODE: A971007

Effective date: 20120830

A131 Notification of reasons for refusal

Free format text: JAPANESE INTERMEDIATE CODE: A131

Effective date: 20120904

A521 Request for written amendment filed

Free format text: JAPANESE INTERMEDIATE CODE: A523

Effective date: 20121015

TRDD Decision of grant or rejection written
A01 Written decision to grant a patent or to grant a registration (utility model)

Free format text: JAPANESE INTERMEDIATE CODE: A01

Effective date: 20121204

A61 First payment of annual fees (during grant procedure)

Free format text: JAPANESE INTERMEDIATE CODE: A61

Effective date: 20121225

R150 Certificate of patent or registration of utility model

Ref document number: 5177406

Country of ref document: JP

Free format text: JAPANESE INTERMEDIATE CODE: R150

R250 Receipt of annual fees

Free format text: JAPANESE INTERMEDIATE CODE: R250

R250 Receipt of annual fees

Free format text: JAPANESE INTERMEDIATE CODE: R250

R250 Receipt of annual fees

Free format text: JAPANESE INTERMEDIATE CODE: R250

S531 Written request for registration of change of domicile

Free format text: JAPANESE INTERMEDIATE CODE: R313531

R250 Receipt of annual fees

Free format text: JAPANESE INTERMEDIATE CODE: R250

R350 Written notification of registration of transfer

Free format text: JAPANESE INTERMEDIATE CODE: R350

R250 Receipt of annual fees

Free format text: JAPANESE INTERMEDIATE CODE: R250

R250 Receipt of annual fees

Free format text: JAPANESE INTERMEDIATE CODE: R250

R250 Receipt of annual fees

Free format text: JAPANESE INTERMEDIATE CODE: R250

R250 Receipt of annual fees

Free format text: JAPANESE INTERMEDIATE CODE: R250

R250 Receipt of annual fees

Free format text: JAPANESE INTERMEDIATE CODE: R250

R250 Receipt of annual fees

Free format text: JAPANESE INTERMEDIATE CODE: R250

R250 Receipt of annual fees

Free format text: JAPANESE INTERMEDIATE CODE: R250