JP2010019263A - 高圧燃料ポンプ - Google Patents

高圧燃料ポンプ Download PDF

Info

Publication number
JP2010019263A
JP2010019263A JP2009243730A JP2009243730A JP2010019263A JP 2010019263 A JP2010019263 A JP 2010019263A JP 2009243730 A JP2009243730 A JP 2009243730A JP 2009243730 A JP2009243730 A JP 2009243730A JP 2010019263 A JP2010019263 A JP 2010019263A
Authority
JP
Japan
Prior art keywords
pressure
fuel
valve
passage
chamber
Prior art date
Legal status (The legal status is an assumption and is not a legal conclusion. Google has not performed a legal analysis and makes no representation as to the accuracy of the status listed.)
Granted
Application number
JP2009243730A
Other languages
English (en)
Other versions
JP4842361B2 (ja
Inventor
Takahito Suzuki
香仁 鐸木
Masayuki Kobayashi
正幸 小林
Hiroshi Inoue
宏史 井上
Current Assignee (The listed assignees may be inaccurate. Google has not performed a legal analysis and makes no representation or warranty as to the accuracy of the list.)
Denso Corp
Soken Inc
Original Assignee
Denso Corp
Nippon Soken Inc
Priority date (The priority date is an assumption and is not a legal conclusion. Google has not performed a legal analysis and makes no representation as to the accuracy of the date listed.)
Filing date
Publication date
Application filed by Denso Corp, Nippon Soken Inc filed Critical Denso Corp
Priority to JP2009243730A priority Critical patent/JP4842361B2/ja
Publication of JP2010019263A publication Critical patent/JP2010019263A/ja
Application granted granted Critical
Publication of JP4842361B2 publication Critical patent/JP4842361B2/ja
Expired - Fee Related legal-status Critical Current
Anticipated expiration legal-status Critical

Links

Images

Landscapes

  • Fuel-Injection Apparatus (AREA)

Abstract

【課題】高圧燃料ポンプ停止時に蓄圧室の燃料圧力を所定圧力に維持する。
【解決手段】ハウジング(シリンダ80)は、加圧室18、加圧室18と蓄圧室(デリバリパイプ4)を連通する吐出通路83、吐出通路の加圧室側と蓄圧室側を連通する戻し通路85を有し、吐出弁20は吐出通路に収容され、加圧室圧力が所定圧力以上になると開弁して加圧室燃料を蓄圧室に供給し、リリーフ弁30は、戻し通路に収容される第一弁体32を有し、蓄圧室内圧力が通常運転時の圧力よりも高い第一圧力を上回るまでは閉弁し、第一圧力を上回ると開弁する。圧力保持機構40は、第一弁体32内部に形成されて加圧室側の戻し通路と蓄圧室側の戻し通路にリリーフ弁の閉弁状態で連通する燃料通路41、燃料通路に収容される第二弁体(ニードル47)を有し、蓄圧室内圧力が通常運転時の圧力よりも低い第二圧力まで下がると閉弁する。
【選択図】図4

Description

本発明は、内燃機関に燃料を供給する高圧燃料ポンプに関する。
高圧燃料ポンプ停止時に、蓄圧室の燃料を、吐出弁を迂回して高圧燃料ポンプの加圧室に戻す通路を有する高圧燃料ポンプが知られている(例えば、特許文献1参照)。
特許文献1に開示の高圧燃料ポンプでは、高圧燃料ポンプの機能部品、例えば吐出弁と、その機能部品を取り付けるべくハウジングに設けられた取り付け孔とのクリアランスによって通路を形成し、その通路を介して蓄圧室の燃料を加圧室に戻している。これにより、高圧燃料ポンプ停止時には、高圧となっている蓄圧室の燃料を加圧室に戻し、蓄圧室の燃料圧力を低下させるとともに、ポンプ作動時に吐出された燃料が通路を介して加圧室に戻ってしまうことを抑制し、ポンプの容積効率の低下を抑制している。
一方、吐出弁の弁体に、弁体の上流側および下流側を連通する通路を設け、その通路内部に下流側から上流側への燃料の流れのみを許容する弁体と、弁体を閉弁方向に付勢する付勢手段とを備えることで、高圧燃料ポンプ停止後の吐出弁よりも下流側の燃料圧力を所定の圧力に維持する高圧燃料ポンプが知られている(例えば、特許文献2参照)。
特開2006−307829号公報 特開平4−86370号公報
しかしながら、特許文献1に開示の高圧燃料ポンプでは、通路は、部品間のクリアランスにて形成されているため、そこを通る流量は制限されるものの、通路は常に開放されているため、ポンプ停止後、蓄圧室の燃料圧力は比較的低圧である加圧室の燃料圧力まで低下してしまうという問題がある。
そこで、発明者は、特許文献2に開示の弁体と付勢手段を特許文献1に開示の通路に採用すれば、弁体と付勢手段の作用により蓄圧室の燃料圧力が加圧室の燃料圧力にまで低下することなく所定の燃料圧力が維持できるという着想に至った。
したがって、本発明は、上記問題を解決するためになされたものであり、その目的は、高圧燃料ポンプ停止時では、蓄圧室の燃料を加圧室に逃がすとともに、蓄圧室の燃料圧力を所定圧力に維持する高圧燃料ポンプを提供することにある。
請求項1から4に記載の発明は、燃料を加圧して蓄圧室に向けて圧送する高圧燃料ポンプにおいて、加圧室、加圧室と蓄圧室とを連通する吐出通路、および吐出通路の加圧室側と蓄圧室側とを連通する戻し通路を有するハウジングと、ハウジングに往復移動可能に収容され、加圧室に吸入した燃料を加圧するプランジャと、吐出通路に収容され、加圧室の圧力が所定圧力以上になると開弁して加圧室の燃料を蓄圧室に供給する吐出弁と、戻し通路に収容される第一弁体を有し、蓄圧室内の圧力が通常運転時の圧力よりも高い第一圧力を上回るまでは閉弁し、蓄圧室の圧力が当該第一圧力を上回る異常高圧状態になると開弁して蓄圧室内の圧力を加圧室に開放するリリーフ弁と、第一弁体の内部に形成されて加圧室側の戻し通路と蓄圧室側の戻し通路とにリリーフ弁の閉弁状態で連通する燃料通路、および燃料通路に収容される第二弁体を有し、蓄圧室内の圧力が通常運転時の圧力よりも低い第二圧力まで下がると閉弁して蓄圧室内の圧力を保持する圧力保持機構と、を備えることを特徴としている。
高圧燃料ポンプは、吐出弁が設けられている吐出通路の他に、吐出通路の蓄圧室側と加圧室側とを連通する戻し通路をハウジングに有している。また、高圧ポンプは、戻し通路に収容される第一弁体を有し、蓄圧室内の圧力が通常運転時の圧力よりも高い第一圧力を上回るまでは閉弁し、蓄圧室の圧力が当該第一圧力を上回る異常高圧状態になると開弁して蓄圧室内の圧力を加圧室に開放するリリーフ弁を備えている。さらに、高圧ポンプは、第一弁体の内部に形成されて加圧室側の戻し通路と蓄圧室側の戻し通路とにリリーフ弁の閉弁状態で連通する燃料通路を有した圧力保持機構を備えている。このような構成では、高圧燃料ポンプが停止した後、吐出通路が吐出弁にて閉弁されている状態であっても、戻し通路を介して蓄圧室の燃料圧力を加圧室に逃がすことが可能である。
しかも、圧力保持機構は、燃料通路に収容される第二弁体を有し、蓄圧室内の圧力が通常運転時の圧力よりも低い第二圧力まで下がると閉弁する。これにより、蓄圧室内の圧力が第二圧力まで下がると加圧室側への燃料の流れが止まることになるので、蓄圧室内の圧力を保持することができるのである。したがって、高圧燃料ポンプを再始動したときの蓄圧室の燃料圧力の上昇を極力早くすることが可能である。
加えて、請求項4に記載の発明によると、圧力保持機構は、戻し通路において蓄圧室側から加圧室側への燃料の流れを制限する絞り部を有するので、高圧燃料ポンプの作動時に、吐出燃料が戻し通路を通って加圧室に戻ることによる高圧燃料ポンプの容積効率の低下を抑制することができる。
本発明の第1実施形態による高圧燃料ポンプを備える燃料供給システムのシステム構成図である。 高圧燃料ポンプの断面図である。 図2中のIII−III線の部分断面図である。 図2および図3に示す高圧燃料ポンプのリリーフ弁の断面図である。 本発明の第2実施形態による高圧燃料ポンプの吐出弁の断面図である。 第2実施形態による高圧燃料ポンプの吐出弁の変形例を示す断面図である。 本発明の第3実施形態による高圧燃料ポンプの部分断面図である。 本発明の第4実施形態による高圧燃料ポンプの部分断面図である。 第4実施形態による高圧燃料ポンプにおける圧力保持機構の断面図である。 図9に示す圧力保持機構の分解図である。 第4実施形態による高圧燃料ポンプにおける圧力保持機構の変形例1を示す断面図である。 第4実施形態による高圧燃料ポンプにおける圧力保持機構の変形例2を示す断面図である。 第4実施形態による高圧燃料ポンプにおける圧力保持機構の変形例3を示す断面図である。 本発明の第5実施形態による高圧燃料ポンプにおける圧力保持機構の断面図である。 本発明の第6実施形態による高圧燃料ポンプの部分断面図である。 第6実施形態による高圧燃料ポンプにおけるリリーフ弁および圧力保持機構の断面図である。 本発明の第7実施形態による高圧燃料ポンプにおける吐出弁および圧力保持機構の断面図である。 本発明の第8実施形態による高圧燃料ポンプの部分断面図である。 本発明の第9実施形態による高圧燃料ポンプの部分断面図である。 本発明の第10実施形態による高圧燃料ポンプの圧力保持機構の断面図である。 図20に示す圧力保持機構の分解図である。
以下、本発明の複数の実施形態を図面に基づいて説明する。
(第1実施形態)
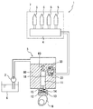
本発明の第1実施形態による高圧燃料ポンプを用いた燃料供給システムを図1に示す。なお、本実施形態の燃料供給システムは、内燃機関(例えば、ガソリンエンジン)の気筒内に直接燃料を噴射する、所謂、直接噴射式ガソリン供給システムである。
燃料供給システム1は、低圧燃料ポンプ2、高圧燃料ポンプ3、デリバリパイプ4および燃料噴射弁5等から構成されている。
低圧燃料ポンプ2は、電動式のポンプであって、燃料タンク6の燃料を汲み上げ、高圧燃料ポンプ3に供給する。高圧燃料ポンプ3は、プランジャ11と加圧室18を備えたプランジャポンプであって、低圧燃料ポンプ2から供給された燃料を加圧室18にて加圧し、デリバリパイプ4に供給する。高圧燃料ポンプ3は、加圧室18にて加圧された燃料の圧力が所定圧力以上となった場合に開弁し、デリバリパイプ4に高圧燃料を供給する吐出弁20を備えている。なお、このデリバリパイプ4が請求項に記載の蓄圧室に相当する。
また、高圧燃料ポンプ3は、高圧燃料ポンプ3の下流側の圧力が異常圧力を上回った場合に、下流側の燃料を加圧室側に戻すリリーフ弁30を備えている。なお、リリーフ弁30は高圧燃料ポンプ3のハウジング内に収容されている。
デリバリパイプ4は、高圧燃料ポンプ3にて圧力が高められた燃料を蓄積する。デリバリパイプ4には、内燃機関7の各気筒に1つずつ設けられた燃料噴射弁5が接続されている。燃料噴射弁5は、各気筒に形成される燃焼室にデリバリパイプ4から供給される高圧燃料を噴射する。
次に、高圧燃料ポンプ3の構成を図2から図4に基づいて詳細に説明する。高圧燃料ポンプ3は、シリンダ80、ハウジングカバー90、プランジャ11、調量弁60、吐出弁20およびリリーフ弁30等から構成されている。
シリンダ80およびハウジングカバー90は、請求項に記載のハウジングを構成している。シリンダ80はステンレス等で形成されている。シリンダ80はプランジャ11を往復移動可能に支持する。シリンダ80の摺動部81は高周波焼入れ等により硬化して形成されている。
そして、図2および図3に示すように、シリンダ80には、燃料入口側に低圧燃料ポンプ2と接続する図示しない配管継手および調量弁60が取り付けられ、燃料出口側に吐出弁20およびリリーフ弁30が取り付けられている。
シリンダ80には、吸入通路82、加圧室18、吐出通路83、戻し通路85および逃がし通路86等が形成されている。シリンダ80の上方には、シリンダ80の上端部とハウジングカバー90との間に吸入室91が形成されている。吐出通路83の燃料出口側には、出口部84が形成されている。
吸入通路82は、吸入室91と加圧室18とを接続する通路である。吐出通路83は、加圧室18と出口部84とを接続する通路である。戻し通路85は、加圧室18と吐出通路83とを接続する通路である。逃がし通路86は、摺動部81と吸入室91とを接続する通路である。
プランジャ11は、シリンダ80の摺動部81に往復移動可能に支持されている。加圧室18は、プランジャ11の往復移動方向の一端側に形成されている。プランジャ11の他端側に形成されたヘッド12は、スプリング座13と結合している。スプリング座13とシリンダ80との間には、スプリング15が設けられている。
スプリング座13は、スプリング15の付勢力によりタペット14(図1参照)の底部内壁に押し付けられている。このタペット14の底部外壁がカム16(図1参照)の回転によりカム16と摺動することにより、プランジャ11は往復移動する。
摺動部81の加圧室18とは反対側の端部には、オイルシール17が設けられている。オイルシール17は、内燃機関7内から加圧室18へのオイルの侵入を防止するとともに、加圧室18から内燃機関7内への燃料漏れを防止する。プランジャ11とシリンダ80の摺動箇所からオイルシール17側に漏れた燃料は、逃がし通路86から低圧側の吸入室91へ戻される。これにより、オイルシール17に高圧の燃料圧力が加わることを抑制することができる。
図2に示すように調量弁60は、弁座部材61、弁部材63、閉弁用スプリング64、スプリング座65、電磁駆動部66等から構成されている。調量弁60は、吸入室91から加圧室18に吸入される燃料の量を制御する弁である。弁座部材61、弁部材63、閉弁用スプリング64およびスプリング座65は、シリンダ80に形成されている収容孔87に収容されている。収容孔87は、吸入通路82途中に形成されている。収容孔87の底部は、加圧室18側の吸入通路82に接続され、収容孔87の側壁は、吸入室91側の吸入通路82に接続されている。
弁座部材61は、円筒状に形成されており、収容孔87の側壁に支持されている。弁座部材61は、内周壁に弁部材63が着座する弁座62を有している。弁部材63は、有底円筒状に形成されており、底部外壁が弁座62に着座するように弁座部材61に収容されている。弁部材63の内周壁側には、閉弁用スプリング64が収容されている。
閉弁用スプリング64は、一方の端部が弁座部材61に取り付けられたスプリング座65に支持され、他方の端部が弁部材63の底部内壁に支持されている。弁部材63は、閉弁用スプリング64の付勢力により、弁座62に着座する方向に押し付けられる。弁部材63が弁座62に着座すると、吸入室91と加圧室18との連通が遮断される。
電磁駆動部66は、ボデー67、固定コア68、可動コア70、ピン71、開弁用スプリング72、コイル73およびコネクタ74等により構成されている。
ボデー67は、収容孔87の開口部を覆うとともに磁性材から形成された固定コア68を支持する。固定コア68は、吸引部69を有している。
可動コア70は、磁性材から形成されており、固定コア68の吸引部69側に設けられている。可動コア70は、ボデー67を貫くようにして設けられたピン71と結合している。吸引部69は、可動コア70を吸引する磁気吸引力を可動コア70との間に発生する。ピン71は、可動コア70とともに往復移動し、弁部材63を離着座方向に移動させる。
固定コア68と可動コア70との間には、開弁用スプリング72が設けられている。開弁用スプリング72の付勢力は、閉弁用スプリング64の付勢力よりも大きい。このため、吸引部69に磁気吸引力が発生していないときは、可動コア70は、固定コア68から離れる方向に移動する。つまり、弁部材63を弁座62から離座する方向に移動する。その結果、吸入室91と加圧室18とが連通する。
コイル73は、固定コア68の外周側に設けられている。コイル73の外周側には、コイル73に電力を供給するコネクタ74が設けられている。コイル73に外部からの電力が供給されると、固定コア68および可動コア70を通過する磁束が発生し、吸引部69と可動コア70との間に磁気吸引力が働く。磁気吸引力の発生により可動コア70は固定コア68側に移動し、弁部材63に弁座62が着座する。その結果、吸入室91と加圧室18との連通が遮断される。
図2および図3に示すように、吐出弁20は、弁座21、弁体22、ストッパ27およびスプリング28を有し、吐出通路83内に収容されている。弁座21は、吐出通路83の内壁に形成されている。弁体22は、略円筒状に形成されており、弁座21よりも出口部84側に設けられている。弁体22は、大径部23と小径部24とを有している。大径部23は、吐出通路83に摺動可能に支持されている。小径部24は、大径部23よりも加圧室18側に設けられ、弁体22が加圧室18側に移動することにより、小径部24の先端が弁座21に着座する。
小径部24の側壁には、弁体22の内部に形成される燃料通路25に連通する貫通孔26が複数個形成されている。これにより、弁体22が弁座21から離座したとき、小径部24と吐出通路83との間の隙間に流入した燃料は、貫通孔26を通過して燃料通路25に流入し、出口部84へ向かって流れる。
ストッパ27は、略円筒状に形成され、弁体22よりも出口部84側に設けられている。ストッパ27は、吐出通路83に固定され、弁体22の出口部84側への移動を規制する。スプリング28は、ストッパ27と弁体22の大径部23との間に設けられている。スプリング28は、ストッパ27と弁体22とを引き離すように付勢する。これにより、弁体22の小径部24は、弁座21に着座し、加圧室18と出口部84との連通が遮断される。
弁体22の加圧室18側と出口部84側との間に差圧が発生し、弁体22の小径部24の先端に働く力がスプリング28の付勢力を上回ると、弁体22は弁座21から離座し、加圧室18と出口部84とが連通する。
ここで、ストッパ27は、圧入等により吐出通路83に固定されている。ストッパ27の吐出通路83内での位置を調整することにより、弁体22の移動量およびスプリング28のセット荷重を調整することができる。
図3に示すように、リリーフ弁30は、弁座31、弁体32、ストッパ35、スプリング36および圧力保持機構40を有し、戻し通路85途中に形成されている収容孔88に収容されている。戻し通路85は、吐出通路83と加圧室18とを接続する通路であり、一端が吐出弁20の弁体22の小径部24と吐出通路83との間に形成される隙間と連通するように吐出通路83に開口し、他端が加圧室18に開口している。収容孔88の底部は、吐出弁20側の戻し通路85に接続され、収容孔88の側壁は加圧室18側の戻し通路85に接続されている。
収容孔88の底部に形成された戻し通路85の開口部の周縁には弁座31が形成されている。弁体32は、略円筒状に形成されており、収容孔88に収容されている。弁体32は、大径部33と小径部34とを有している。大径部33は、収容孔88に摺動可能に支持されている。小径部34は、大径部33よりも吐出弁20側に設けられ、弁体32が吐出弁20側に移動することにより、小径部34の先端が弁座31に着座する。
ストッパ35は、略円柱状に形成され、弁体32よりも収容孔88の開口部側に設けられている。ストッパ35は、収容孔88に固定され、収容孔88の開口部を塞いでいる。ストッパ35は、弁体32が開口部側への移動を規制し、収容孔88から抜け出るのを防止する。
スプリング36は、ストッパ35と弁体32の大径部33との間に設けられている。スプリング36は、ストッパ35と弁体32とを引き離すように付勢する。これにより、弁体32の小径部34は、弁座31に着座し、吐出通路83と加圧室18との連通が遮断される。なお、スプリング36の付勢力は、弁体32よりも出口部84側の吐出通路83の圧力、つまりデリバリパイプ4内の圧力が異常圧力を上回るまでは閉弁を維持できる程度のものとなっている。
デリバリパイプ4内の燃料圧力が異常圧力を上回り、弁体32の小径部34の先端に働く力がスプリング36の付勢力よりも上回ると、弁体32は、収容孔88の開口部側に移動し、弁座31から離座する。その結果、吐出通路83と加圧室18とが連通し、デリバリパイプ4内の高圧燃料が加圧室18に戻る。
次に、リリーフ弁30の弁体32の構成を図4に基づいてさらに詳細に説明する。弁体32は、内部に圧力保持機構40を有している。圧力保持機構40は、燃料通路41、バルブニードル47、スプリング51、およびストッパ52から構成されている。燃料通路41は、弁体32の大径部33および小径部34を貫いて形成されている。燃料通路41は、大径通路42と小径通路43とによって構成されている。
小径通路43は、大径通路42よりも小径部34側に設けられている。小径通路43と大径通路42との間には、バルブニードル47が着座する弁座44が形成されている。小径部34には、小径部34の側壁と大径通路42の内壁とを連通する貫通孔45が形成されている。
燃料通路41は、吐出通路83側の戻し通路85を介して吐出通路83の出口部84側、つまり吐出弁20よりもデリバリパイプ4側と連通している。また、燃料通路41は、貫通孔45および加圧室18側の戻し通路85を介して加圧室18、つまり吐出弁20よりも加圧室18側と連通している。
バルブニードル47は、弁体部48と筒部49とを有している。弁体部48は、外径が小径通路43の内径よりも大きく、大径通路42の内径よりも小さく形成され、大径通路42内に収容されている。弁体部48は、弁座44に離着座可能となっており、弁体部48が弁座44に着座すると、吐出弁20のデリバリパイプ4側と加圧室18側との連通が遮断される。このバルブニードル47が請求項に記載の第二弁体に相当する。
筒部49は、略円筒状に形成され、弁体部48の小径通路43側の端部から小径通路43の軸線方向に沿って延びるようにして設けられている。筒部49は、その側壁に小径通路43に摺動する摺動部50を有し、小径通路43の内壁46に摺動可能に支持されている。
摺動部50と内壁46との間に摺動隙間S1が形成される。摺動隙間S1が形成されているため、小径通路43から大径通路42へ流れる燃料の量を制限することができる。この摺動隙間S1が請求項に記載の絞り部に相当する。
筒部49が小径通路43内を移動することにより、弁体部48を離着座方向に安定して動作させることができる。これにより、確実に弁体部48を弁座44に離着座させることができる。筒部49の軸方向の長さを長くすれば弁体部48の動作をさらに安定させることができる。筒部49は、弁体部48よりも外径が小さいので、バルブニードル47の重量の増加による応答性の低下を極力抑えつつ、弁体部48の動作の安定性を向上させることができる。
また、摺動隙間S1の軸方向距離Lは、図4に示すように、弁体部48が弁座44に着座しているときが最も長い。弁体部48が弁座44から離れれば離れるほど前述の軸方向距離Lは短くなる。すなわち、軸方向距離Lが短いほど筒部49と小径通路43の内壁46との摺動抵抗が小さくなる。具体的には、弁体部48は、弁体部48が弁座44から着座している状態から離座する方向に動き始めるときよりも、離座している状態から着座する方向に移動するときの方が、応答性が良い。つまり、この弁体部48は、開弁し難く、閉弁しやすい構造となっている。
弁体部48の筒部49とは反対側には、ストッパ52が設けられている。弁体部48とストッパ52との間には、スプリング51が設けられている。スプリング51は、弁体部48を弁座44に押し付ける方向に付勢する。バルブニードル47の吐出通路83側と加圧室18側との間に差圧が発生し、筒部49に働く力がスプリング51の付勢力を上回ると、弁体部48は弁座44から離座し、吐出弁20のデリバリパイプ4側と加圧室18側とを連通する。
なお、スプリング51の付勢力は、高圧燃料ポンプ3が停止したときに、デリバリパイプ4の燃料圧力が、内燃機関7が通常運転しているときの燃料圧力よりも低く、かつ、低圧燃料ポンプ2の吐出圧(フィード圧)よりも高い所定の燃料圧力となったときにバルブニードル47を閉弁できる程度のものとなっている。
次に、高圧燃料ポンプ3の作動について説明する。
(1)吸入行程
プランジャ11が下降するとき、調量弁60のコイル73には電力が供給されていない。プランジャ11が下降すると、加圧室18の燃料圧力が低下し、吸入室91内の燃料が吸入通路82を介して加圧室18に吸入される。調量弁60のコイル73への通電は、プランジャ11が下死点に達するまでオフされた状態である。
(2)戻し行程
プランジャ11が下死点から上死点に向かって上昇しても、コイル73への通電は、オフされた状態である。このため、加圧室18の燃料は、調量弁60を介して吸入室91へ戻される。
(3)加圧行程
戻し行程中に、コイル73への通電をオンすると、固定コア68の吸引部69に磁気吸引力が発生し、可動コア70およびピン71が吸引部69に吸引される。その結果、弁部材63が弁座62に着座し、加圧室18と吸入室91との連通が遮断され、加圧室18から吸入室91への燃料の流れが停止する。
この状態で、プランジャ11がさらに上死点に向けて上昇すると、加圧室18の燃料が加圧され燃料圧力が上昇する。そして、加圧室18の燃料圧力が上昇する。そして、加圧室18の燃料圧力が所定圧力以上になると、スプリング24の付勢力に抗して弁体22が弁座21から離座し、吐出弁20が開弁する。これにより、加圧室18にて加圧された燃料は、出口部84から吐出される。出口部84から吐出された燃料は、図1に示すデリバリパイプ4に供給される。
上記(1)〜(3)の行程を繰り返すことにより、高圧燃料ポンプ3は吸入した燃料を加圧して吐出する。燃料の吐出量は、調量弁60のコイル73への通電タイミングを制御することにより調量される。
少なくとも上記(1)および(2)の行程では、加圧室18の燃料圧力は、デリバリパイプ4の燃料圧力よりも低くなっているため、リリーフ弁30に収容されているバルブニードル47の弁体部48は、弁座44から離座している。このため、デリバリパイプ4側の燃料は、戻し通路85およびリリーフ弁30の燃料通路41を介して加圧室18側に戻る。
ところが、燃料通路41には、バルブニードル47の筒部49の側壁に形成されている摺動部50と小径通路43の内壁46との間に摺動隙間S1が形成されているため、デリバリパイプ4側からの燃料の流れが制限される。このため、加圧室18から吐出された燃料が再び加圧室18に戻されることによる高圧燃料ポンプ3の容積効率の低下を抑制することができる。
(3)の行程に移ると、加圧室18の燃料圧力は、一時的にデリバリパイプ4内の燃料圧力よりも高まるため、バルブニードル47の弁体部48は、弁座44に着座する。このため、デリバリパイプ4内の燃料の加圧室18への流れは停止する。
上述したように、(1)〜(3)の行程を繰り返すと、バルブニードル47は、開閉弁を繰り返す。上述したようにバルブニードル47は、筒部49が弁体部48よりもデリバリパイプ4側の小径通路43に摺動可能に支持されているので、開弁し難く、閉弁しやすい構造となっている。このため、(3)の行程後、(1)の行程に移る際、バルブニードル47は、開弁し難くなっているので、極力デリバリパイプ4内の燃料が加圧室18に戻るのを防ぐことができる。
また、高圧燃料ポンプ3が停止した直後は、加圧室18よりもデリバリパイプ4内の燃料圧力の方が高いため、バルブニードル47が開弁する。このため、デリバリパイプ4内の燃料は、摺動隙間S1を介して加圧室18に戻り、デリバリパイプ4内の燃料圧力が下がる。
バルブニードル47はスプリング51により閉弁方向に付勢されているため、デリバリパイプ4内の燃料圧力が所定の圧力まで下がると、バルブニードル47は閉弁する。その結果、デリバリパイプ4内の燃料圧力をフィード圧以上に維持することができる。この構成によれば、高圧燃料ポンプ3を再び始動したとき、デリバリパイプ4内の燃料圧力を、短時間で通常運転時の燃料圧力にまで高めることができる。
本実施形態では、デリバリパイプ4側から加圧室18側へ戻る燃料の量を制限する絞りの機能をバルブニードル47の筒部49の摺動部50と小径通路43の内壁46とによって形成される摺動隙間S1に持たせている。この摺動隙間S1は、高圧燃料ポンプ3を停止したときに、デリバリパイプ4内の燃料圧力を所定の圧力に保持するのに必要な構成部品にて形成されている。つまり、必要以上の構成部品を追加することなく、絞りの機能を追加している。これによれば、バルブニードル47の筒部49を小径通路43に挿入するという簡単な組み付けにて摺動隙間S1を形成することができる。また、絞りの機能を有する部位を別途加工する必要もない。
また、本実施形態では、バルブニードル47等を高圧燃料ポンプ3の通常運転時では動作しないリリーフ弁30に内蔵させているため、バルブニードル47を安定して動作させることができる。
(第2実施形態)
本発明の第2実施形態を図5に示す。第1実施形態と実質的に同一構成部分に同一符号を付し、説明を省略する。
図5に示す第2実施形態では、第1実施形態においてリリーフ弁30に内蔵されていた圧力保持機構40が吐出弁20に内蔵されている。
吐出弁20に内蔵されている圧力保持機構140は、燃料通路141、バルブニードル147、スプリング151、およびストッパ152から構成されている。燃料通路141は、吐出弁20の弁体22の大径部23および小径部24を貫いて形成されている。燃料通路141は、大径通路142と小径通路143とによって構成されている。
小径通路143は、大径通路142よりも出口部84側に設けられている。大径通路142と小径通路143との間には、バルブニードル147が着座する弁座144が形成されている。小径部24には、小径部24の側壁と小径通路143の内壁146とを連通する貫通孔145が形成されている。
燃料通路141は、吐出通路83の出口部84側、つまり吐出弁20よりもデリバリパイプ4側と連通している。また、燃料通路141は、貫通孔145および小径部24と吐出通路83との間の隙間を介して加圧室18、つまり吐出弁20よりも加圧室18側と連通している。
バルブニードル147は、弁体部148と筒部149とを有している。弁体部148は、外径が小径通路143の内径よりも大きく、大径通路142の内径よりも小さく形成されており、弁体部148が弁座144に着座すると、吐出弁20のデリバリパイプ4側と加圧室18側との連通が遮断される。
筒部149は、略円筒状に形成され、弁体部148の小径通路143側の端部から小径通路143の軸線方向に沿って延びるようにして設けられている。筒部149は、その側壁に小径通路143の内壁146と摺動する摺動部150を有している。筒部149は内壁146に摺動可能に支持されている。
摺動部150と内壁146との間に摺動隙間S2が形成される。摺動隙間S2が形成されているため、小径通路143から大径通路142へ流れる燃料の量を制限することができる。筒部149の軸方向長さを長くすれば摺動隙間S2を通過する燃料の量をさらに制限することができる。筒部149は、弁体部148よりも外径が小さいので、筒部149を軸方向に延長させても、バルブニードル147の重量の増加を最小限に抑えることができる。
筒部149が小径通路143内を移動することにより、弁体部148を離着座方向に安定して動作させることができる。これにより、確実に弁体部148を弁座144に離着座させることができる。
また、このように圧力保持機構140を構成することにより、第1実施形態の圧力保持機構40と同様に、バルブニードル147を開弁し難く、閉弁しやすい構造とすることができる。
弁体部148の筒部149とは反対側には、ストッパ152が設けられている。ストッパ152には、大径通路142に流入した燃料を加圧室18側の吐出通路83に流すための貫通孔153が形成されている。弁体部148とストッパ152との間には、スプリング151が設けられている。スプリング151は、弁体部148を弁座144に押し付ける方向に付勢する。
スプリング151の付勢力は、第1実施形態と同様、高圧燃料ポンプ3が停止したときに、デリバリパイプ4の燃料圧力が、内燃機関7が通常運転しているときの燃料圧力よりも低く、かつ、低圧燃料ポンプ2の吐出圧(フィード圧)よりも高い所定の燃料圧力となったときにバルブニードル147を閉弁できる程度のものとなっている。
このように構成された圧力保持機構140によっても、第1実施形態の圧力保持機構40と同様の効果を奏する。(1)および(2)の行程では、加圧室18の燃料圧力は、デリバリパイプ4内の燃料圧力よりも低いため、吐出弁20は閉弁している。この状態のとき、バルブニードル147の弁体部148は、弁座144から離座している。このため、デリバリパイプ4側の燃料は、燃料通路141を介して加圧室18側に戻る。
ところが、燃料通路141には、バルブニードル147の筒部149の側壁に形成されている摺動部150と小径通路143の内壁146との間に摺動隙間S2が形成されているため、デリバリパイプ4側からの燃料の流れが制限される。このため、高圧燃料ポンプ3の容積効率の低下を抑制することができる。
そして、(3)の行程では、加圧室18の燃料圧力は、デリバリパイプ4内の燃料圧力よりも高くなるため、吐出弁20が開弁する。この状態のとき、バルブニードル147の弁体部148は、弁座144に着座する。このため、デリバリパイプ4内の燃料の加圧室18への流れは停止する。
上述したように第2実施形態でも、(1)〜(3)の行程を繰り返すと、バルブニードル147は、開閉弁を繰り返す。上述したようにバルブニードル147は、筒部149が弁体部148よりもデリバリパイプ4側の小径通路143に摺動可能に支持されているので、開弁し難く、閉弁しやすい構造となっている。このため、(3)の行程後、(1)の行程に移る際、バルブニードル147は、開弁し難くなっているので、極力デリバリパイプ4内の燃料が加圧室18に戻るのを防ぐことができる。
高圧燃料ポンプ3が停止した直後は、加圧室18よりもデリバリパイプ4内の燃料圧力の方が高いため、吐出弁20は閉弁し、バルブニードル147が開弁する。このため、デリバリパイプ4内の燃料は、摺動隙間S2を介して加圧室18に戻り、デリバリパイプ4内の燃料圧力が下がる。
バルブニードル147はスプリング151により閉弁方向に付勢されているため、デリバリパイプ4内の燃料圧力が所定の圧力まで下がると、バルブニードル147は閉弁する。その結果、デリバリパイプ4内の燃料圧力をフィード圧以上に維持することができる。この構成によれば、高圧燃料ポンプ3を再び始動したとき、デリバリパイプ4内の燃料圧力を、短時間で通常運転時の燃料圧力にまで高めることができる。
デリバリパイプ4側から加圧室18側へ戻る燃料の量を制限する絞り機能をバルブニードル147の筒部149の摺動部150と小径通路143の内壁146とによって形成される摺動隙間S2に持たせている。本実施形態によっても、第1実施形態と同様、バルブニードル147の筒部149を小径通路143に挿入するという簡単な組付けにて摺動隙間S2を形成することができる。また、絞りの機能を有する部位を別途加工する必要もない。
また、本実施形態のように吐出弁20に圧力保持機構140を内蔵する形式のものでは、高圧燃料ポンプ3にリリーフ弁を備えていない場合に特に有効である。
図6は、第2実施形態の変形例を示している。この変形例では、バルブニードル147aの弁体部148(図5参照)がボール弁148aとなっている。ボール弁148aの小径通路143側の端部には、筒部149aが溶接等により固定されている。筒部149aの側壁には、小径通路143の内壁146に摺動する摺動部150aが形成されている。摺動部150aと内壁146との間には摺動隙間S3が形成されている。その他の構成については、図5を同じであるため説明を省略する。
(第3実施形態)
本発明の第3実施形態を図7に示す。第1実施形態と実質的に同一構成部分に同一符号を付し、説明を省略する。
図7に示す第3実施形態では、第1実施形態においてリリーフ弁30が収容されていた収容孔88に圧力保持機構240が内蔵されている。
圧力保持機構240は、弁座241、バルブニードル242、スプリング246およびストッパ245から構成されている。弁座241は、収容孔88の底部に形成された戻し通路85の開口部の周縁に形成されている。
バルブニードル242は、略円柱状に形成されており、弁体部243および筒部244を有している。弁体部243は、収容孔88に収容されており、収容孔88の底部側が弁座241と離着座する。筒部244は、収容孔88の底部側の戻し通路85に収容されている。筒部244の側壁には、戻し通路85の内壁89と摺動する摺動部247が形成されている。筒部244の摺動部247と戻し通路85の内壁89との間には、摺動隙間S4が形成されている。摺動隙間S4は、デリバリパイプ4側から加圧室18側へ戻る燃料の量を制限する。
ストッパ245は、略円柱状に形成され、弁体部243の収容孔88の開口部側に設けられている。ストッパ245は、収容孔88に固定され、収容孔88の開口部を塞いでいる。ストッパ245は、バルブニードル242の開口部側への移動を規制し、収容孔88から抜け出るのを防止する。
スプリング246は、ストッパ245と弁体部243との間に設けられている。スプリング246は、弁体部243を弁座241に押し付ける方向に付勢する。スプリング246の付勢力は、第1実施形態と同様、高圧燃料ポンプ3が停止したときに、デリバリパイプ4の燃料圧力が、内燃機関7が通常運転しているときよりも低く、かつ、低圧燃料ポンプ2の吐出圧(フィード圧)よりも高い所定の燃料圧力となったときにバルブニードル242を閉弁できる程度のものとなっている。
バルブニードル242の動作については、第1実施形態のバルブニードル47の動作と同じであるため、説明は省略する。本実施形態によっても、第1実施形態と同様、バルブニードル242の筒部244を戻し通路85に挿入するという簡単な組付けにて摺動隙間を形成することができる。また、絞りの機能を有する部位を別途加工する必要もない。
本実施形態によれば、リリーフ弁30の収容孔88を利用して、高圧燃料ポンプ3に圧力保持機構240を設けている。このため、リリーフ弁30が高圧燃料ポンプ3の外部に設けられている場合であっても、リリーフ弁30を収容するための収容孔88を有するシリンダ80を使用することができる。このため、リリーフ弁30が外部に設けられている場合、そうでない場合で、シリンダ80を作り分ける必要が無くなる。つまり、シリンダ80を共通化することができる。
(第4実施形態)
本発明の第4実施形態を図8から図10に示す。図8は、第4実施形態による高圧燃料ポンプ3の部分断面図を示している。なお、この図8の部分断面図は、図2中のIII−III線に相当する部分断面図である。図9は、高圧燃料ポンプ3に内蔵されている圧力保持機構340の断面図を示している。図10は、圧力保持機構340の分解図を示している。
図8に示す高圧燃料ポンプ3は、第1実施形態による高圧燃料ポンプ3の収容孔88に収容されているリリーフ弁30に代えて、区画部材としての圧力保持機構340を設けたものである。なお、以下説明する第4実施形態による高圧燃料ポンプ3において、第1実施形態と実質的に同一構成部分に同一符号を付し、説明を省略する。
圧力保持機構340は、プラグ341、筒状部材349、Oリング352、ワッシャ353および止め金354から構成され、収容孔88に収容されている。圧力保持機構340は、収容孔88をデリバリパイプ4側と加圧室18側とに区画するようにして収容されている。
図8および図9に示すように、プラグ341は、金属材料より略円筒状に形成されている。中央部には、くびれ部342が形成され、吐出通路83側の端部には芯部材としての芯部343が一体的に形成されている。そして、収容孔88の開口部側には収容孔88の開口端の内周壁に形成されている雌ネジ部89aに羅合される雄ネジ部346が形成されている。加圧室18側の戻し通路85は、プラグ341が収容孔88に収容された状態で、くびれ部342によって形成される空間と連通している。
また、プラグ341の芯部343とくびれ部342との間には、大径部347が形成されている。そして、芯部343の先端部には芯部343に取り付けられるワッシャ353の抜けを防止する止め金354を固定する凹溝348が形成されている。
図9に示すように、芯部343の外周壁344には、円環状の溝345が形成されている。その芯部343の外周側には、筒状部材349が設けられている。筒状部材349は、芯部343よりも弾性力に富む樹脂材料から形成されている。本実施形態では、筒状部材349は、例えば、テフロン(登録商標)にて形成されている。テフロン(登録商標)は、耐燃料性に富む材料であり、燃料膨潤による寸法変化が少ない材料である。筒状部材349を形成する樹脂材料は、芯部343よりも弾性力に富み、燃料膨潤による寸法変化が少ない材料であれば、テフロン(登録商標)以外の材料であっても良い。
図9に示すように、筒状部材349の外周壁350の外側には、ゴム製のOリング352が設けられている。Oリング352は、内周側が筒状部材349の外周壁350に密着し、外周側が収容孔88の内周壁89に密着している。これにより、筒状部材349の外周壁350と収容孔88の内周壁89との間は、Oリング352によってシールされる。なお、この実施形態において、芯部343が芯部材に相当し、筒状部材349およびOリング352が弾性部材に相当する。
芯部343の先端部には、ワッシャ353が設けられている。ワッシャ353は、図9に示すように筒状部材349およびOリング352に近接して設けられており、Oリング352の吐出通路83側の端部が筒状部材349の軸方向端部からはみ出てしまうことを抑制する。プラグ341の大径部347は、筒状部材349およびOリング352に近接して設けられており、Oリング352の収容孔88の開口端側の端部が筒状部材349の軸方向端部からはみ出てしまうことを抑制する。ワッシャ353の吐出通路83側には、ワッシャ353の抜けを防止する略C字形状に形成されている止め金354が設けられている。
次に、圧力保持機構340の組付け、および圧力保持機構340を構成する部品間に働く力について説明する。
図10に示すように、圧力保持機構340は、筒状部材349、Oリング352、ワッシャ353および止め金354をプラグ341における芯部343の先端側から順に組み付けることにより形成される。
図10に示すように、筒状部材349を芯部343に挿入する前の状態における、筒状部材349の内周壁351の内径をdとし、芯部343の外径をDとすると、内径dは外径Dよりも小さく設定されている。このため、筒状部材349の内周壁351に芯部343を挿入すると、筒状部材349の内周壁351は、芯部343の外周壁344によって押し広げられる。その結果、筒状部材349の内周壁351と芯部343の外周壁344との間には外径Dと内径dとの差分に応じた面圧が発生する。以下、外径Dと内径dとの差分を締め代と呼ぶ。
図10に示すように、収容孔88に挿入される前の状態のOリング352の断面は、円形となっている。Oリング352を筒状部材349に取り付けた後、収容孔88に挿入すると、Oリング352は、筒状部材349の内周壁351と収容孔88の内周壁89との間に挟まれ断面が変形する。これにより、Oリング352に反発力が発生し、Oリング352の表面が筒状部材349の外周壁350と収容孔88の内周壁89とに密着し、筒状部材349と収容孔88との間のシール性が確保される。また、上述の反発力は、筒状部材349を締め付け、筒状部材349と芯部343との間に及び、両者の面圧をさらに増大させる。以下、このOリング352が筒状部材349を締め付ける力を緊迫力と呼ぶ。
ここで、筒状部材349の軸方向中央部は、外周側に設けられているOリング352が密着している部分であるため、Oリング352の緊迫力のうち、最も大きな緊迫力が作用する。このため、この部分における面圧が最も大きくなる。
図9に示すように、芯部343の外周壁344のうち、筒状部材349の内周壁351の軸方向中央部と対向する位置に、円環状の溝345が設けられている。溝345は、面圧が最も大きくなる位置に形成されている。溝345の軸方向の幅は、所定の長さとなっている。
溝345が形成されることにより、筒状部材349と芯部343との間に空間が形成され、締め代や緊迫力の影響力が小さくなり、この部分における面圧が小さくなる。この面圧は、Oリング352が筒状部材349の外周壁350および収容孔88の内周壁89に密着することにより発生する面圧よりも小さい値となっている。
次に、圧力保持機構340の作動について説明する。
上述した構成によると、高圧燃料ポンプ3が停止した直後、加圧室18の燃料圧力が低下するため、圧力保持機構340におけるデリバリパイプ4側の圧力と加圧室18側の圧力との間に大きな差圧が発生する。このとき、吐出弁20は、吐出通路83を閉塞している状態に維持されている。
上述したように圧力保持機構340の筒状部材349と芯部343との間に発生する面圧は、Oリング352における筒状部材349および収容孔88への面圧よりも小さいため、デリバリパイプ4内の高圧燃料は、吐出通路83側の戻し通路85を介して収容孔88に流入し、さらに、面圧の値の低い筒状部材349と芯部343との間の隙間に侵入しようとする。
上述した差圧が大きい状態では、デリバリパイプ4の燃料圧力は高く、筒状部材349は芯部343よりも弾性力に富む材料にて形成されているため、高圧燃料の燃料圧力が筒状部材349と芯部343との間に発生する面圧に打ち勝ち、筒状部材349が弾性変形する。これにより、隙間が燃料圧力により押し広げられ、デリバリパイプ4の高圧燃料が隙間を介して加圧室18側に流出する。
これにより、高圧燃料ポンプ3が停止した後、吐出弁20が吐出通路83を閉塞している状態にあっても、圧力保持機構340を介してデリバリパイプ4の高圧燃料を低圧側である加圧室18に逃がすことができる。
また、筒状部材349は、今まで述べてきたように芯部343よりも弾性力に富む材料にて形成されているため、上記差圧が低下し所定値以下となり両者の間に発生する面圧がデリバリパイプ4の燃料圧力よりも勝ると、形成されていた上記隙間は自動的に閉ざされる。隙間が閉ざされることにより、燃料の加圧室18側への進行が妨げられ燃料の流出が停止する。これにより、デリバリパイプ4側の燃料圧力がフィード圧以上に保たれる。その結果、高圧燃料ポンプ3を再び始動したとき、デリバリパイプ4の燃料圧力を短時間で通常運転時の燃料圧力にまで高めることができる。
また本実施形態では、圧力保持機構340を構成する芯部343、筒状部材349およびOリング352は何れも断面が円形となっているため、各部品の製造および調達が容易となり、製造コストの上昇を抑制することができる。
以上説明したように、この実施形態では、圧力保持機構340は、デリバリパイプ4側と加圧室18側とを連通する隙間を形成する芯部343、筒状部材349およびOリング352のみで、燃料の流通および停止を制御することができる。つまり、この実施形態では、第1、2実施形態等にて必要であったバルブニードル47、147、147aを閉弁方向に付勢するスプリング51、151を別途必要としない。この実施形態によれば、こういった部品を別途設ける必要がないため、圧力保持機構340の構造をより簡単なものとすることができる。
また、この実施形態の圧力保持機構340の構造によれば、デリバリパイプ4側と加圧室18側とを連通する隙間は、侵入する燃料圧力により隙間の開閉を制御することができる程度のものであるため、その隙間の大きさは、第1〜3実施形態のように剛体物同士を近接して設けて形成する隙間に比べて微小にすることができる。これによれば、隙間を介して加圧室18側へ流出する燃料の漏れ量を極力少なくすることができ、高圧燃料ポンプ3の作動時、吐出燃料が戻し通路85を通って再び加圧室18に戻ることによる高圧燃料ポンプ3の容積効率の低下を抑制することができる。
また、この実施形態では、弾性部材を筒状部材349とOリング352とから構成し、デリバリパイプ4の高圧燃料を芯部343と筒状部材349との間のみから加圧室18へ流出させている。これにより、高圧燃料が流通する隙間の周長を短くすることができる。また、デリバリパイプ4側から加圧室18側へ流出する燃料の漏れ量を極力制限することができるので、意図した以上にデリバリパイプ4側の高圧燃料が加圧室18側へ流出してしまうことを抑制することができる。
ところで、高圧燃料ポンプ3を含む燃料系が搭載される車両の種類または内燃機関7の仕様は様々である。このため、燃料系の燃料配管の長さ(容積)や燃料配管が内燃機関7から受ける熱や燃料配管の放熱の状況も車両の種類や内燃機関7の仕様によって変化する。
このため、圧力保持機構340に要求される燃料の漏れ量は、高圧燃料ポンプ3が搭載される車両の種類や内燃機関7の仕様によって異なる。また、燃料圧力低下後に維持すべき燃料圧力(保持圧)の値も車両の種類や内燃機関7の仕様によって異なる。
この実施形態では、車両の種類や内燃機関7の仕様に応じて異なる燃料の漏れ量や、保持圧を容易に調整することができる。具体的には、筒状部材349の内周壁351と芯部343の外周壁344との間に発生する面圧を調整することによって漏れ量や保持圧を容易に調整することができる。
本実施形態の圧力保持機構340の構造によれば、デリバリパイプ4の燃料圧力が筒状部材349と芯部343との間に発生する面圧よりも勝ると、両者の間に隙間が形成され加圧室18へ燃料が流出する。デリバリパイプ4の燃料圧力に対して面圧が小さければ、形成される隙間の大きさは大きくなり、この隙間を流れる燃料の流通抵抗が減少し、加圧室18へ流出する燃料の漏れ量は増大する。反対に、面圧が大きければ、形成される隙間の大きさは小さくなり、この隙間を流れる燃料の流通抵抗が増大し、燃料の漏れ量は減少する。
そして、デリバリパイプ4の燃料圧力が面圧よりも劣ると、形成されていた上記隙間は自動的に閉ざされる。隙間が閉ざされると、燃料の加圧室18側への進行が妨げられ燃料の流出が停止する。面圧を大きくすれば、デリバリパイプ4と加圧室18との差圧が大きい状態であっても、加圧室18側への燃料の流出を止めることができるため、保持圧を高くすることができる。反対に面圧を小さくすれば、デリバリパイプ4と加圧室18との差圧が内の燃料圧力が加圧室18内の燃料圧力されるため、保持圧を低くすることができる。
この構成によれば、隙間を形成する部材(この実施形態では筒状部材349と芯部343の面圧を調整するだけで、他の部材を用いずに燃料の漏れ量および保持圧を調整することができる。
一般的に、流体が微小隙間を流れるとき、そこを流れる流体の流量は、通路面積および流体の粘性係数が同じであれば、流路長が長ければ長いほど減少する。流路長が長いと、そこを流れる流体の流通抵抗が増大し流体の流通を制限するからである。
この実施形態では、このことを利用し、筒状部材349の軸方向長さを調整することによって燃料の漏れ量や保持圧を調整している。具体的には、筒状部材349の長さを長くすることにより、燃料の漏れ量を少なくするととともに、保持圧を高くなる。この構成によれば、筒状部材349の軸方向長さを調整するという簡単な手段にて燃料の漏れ量や保持圧を調整することができる。
以下、筒状部材349と芯部343との間に発生する面圧の調整方法について具体的に説明する。
本実施形態では、両者の間に発生する面圧は、芯部343の外径Dと筒状部材349における内周壁351の内径dとによって定められる締め代、Oリング352の緊迫力、および芯部343の外周壁344に形成される溝345の大きさを調整することによって調整される。
面圧は、締め代を大きくすることにより大きくすることができる。また、面圧は、Oリング352の緊迫力を大きくすることにより大きくすることができる。なお、緊迫力は、Oリング352の線径や内径を大きくすることにより大きくすることができる。
また、Oリング352の線径や内径は、収容孔88に挿入され、燃料に十分浸された状態であっても、Oリング352の軸方向両端部が筒状部材349の軸方向両端部からはみ出ない程度の大きさとなっている。これによれば、Oリング352の軸方向両端部が筒状部材349の軸方向両端部からはみ出てしまうことにより、Oリング352の緊迫力を適切に筒状部材に付与することができなくなるということを抑制できる。
さらに、本実施形態では、図9に示すように、筒状部材349およびOリング352の軸方向両端部に近接するようにワッシャ353およびプラグ341の大径部347が配置されている。これによれば、Oリング352の軸方向端部が筒状部材349の軸方向両端部からはみ出るのを抑制することができ、Oリング352の緊迫力を適切に筒状部材349に付与することができる。なお、ワッシャ353およびプラグ341の大径部347がストッパ部に相当する。
また、面圧は、溝345の軸方向の幅を大きくすることにより小さくすることができる。本実施形態では溝345は環状に形成されているため調整する箇所としては軸方向の幅のみであるが、溝345が環状ではなく、周方向に所定の長さを有したものであれば、軸方向および周方向の幅の両方を調整することにより面圧を調整することができる。このとき、軸方向および周方向の幅を大きくすることにより面圧を小さくすることができる。
以下、筒状部材349と芯部343との間に発生する面圧の調整方法の複数の変形例について具体的に説明する。
(変形例1)
図11は、第4実施形態の芯部343に形成されていた溝345を廃止した例を示している。この場合、上述したように筒状部材349と芯部343との締め代、またはOリング352の緊迫力を調整することによって面圧を調整する。
(変形例2)
図12は、第4実施形態の芯部343に形成されていた溝345を廃止し、その代わりに筒状部材349の内周壁351に溝351aを形成した例を示している。この場合であっても、第4実施形態と同様、締め代、Oリング352の緊迫力、または溝351aの軸方向若しくは周方向の幅を調整することによって面圧を調整する。
(変形例3)
図13は、第4実施形態の断面が円形状に形成されたOリング352に代えて、断面が矩形状となっているOリング352aを使用した例を示している。Oリング352aの断面が矩形状となっているため、緊迫力の分布を断面が円形状のものに比べ均一化することができる。
以上、第4実施形態および変形例1〜3の方法により、燃料の漏れ量および保持圧を調整することが可能となる。また、漏れ量および保持圧を調整する方法としては、上述した第4実施形態および変形例1〜3に挙げた個別の方法に限らない。例えば、第4実施形態に変形例2、変形例3や変形例4を組み合わせても良いし、変形例同士を組み合わせても良い。
(第5実施形態)
本発明の第5実施形態を図14に示す。なお、以下説明する第5実施形態による高圧燃料ポンプ3において、第4実施形態と実質的に同一構成部分に同一符号を付し、説明を省略する。
図14に示す第5実施形態では、第4実施形態の筒状部材349およびOリング352を保持する芯部343とOリング352の筒状部材349の軸方向端部からのはみ出しを規制するワッシャ353とが一体となっている。これにより、圧力保持機構440の部品点数を第4実施形態のものに比べ少なくすることができるとともに、圧力保持機構440を容易に組み立てることができる。
この実施形態では、プラグ441と芯部446は別体となっている。プラグ441の芯部446側の端部には、芯部446を挿入する挿入孔444が軸方向に形成されている。そして、プラグ441のくびれ部442には、挿入孔444を径方向に貫通する貫通孔445が形成されている。
芯部446は、軸方向に延び、挿入孔444に挿入される挿入部447と、挿入部447から径方向に延びOリング352の筒状部材349の軸方向端部からのはみ出しを規制する円板部448とを有している。筒状部材349およびOリング352は、円板部448と、プラグ441の大径部443との間に配置されている。なお、挿入孔444と挿入部447との関係は、隙間ばめとなっている。
デリバリパイプ4から収容孔88に流入した燃料は、筒状部材349と芯部446における挿入部447との間に形成される隙間を通り、さらに挿入孔444と挿入部447との隙間を通って、貫通孔445に流出する。そして、貫通孔445に流出した燃料は、くびれ部442から加圧室18側の戻し通路85を通って加圧室18に戻る。なお、この実施形態においても、圧力保持機構440の燃料の漏れ量および保持圧の調整は、第4実施形態およびその変形例1〜3と同様の方法にて行うことができる。
この構成によれば、第4実施形態のように本実施形態の円板部448と同じ機能を有するワッシャ353の抜けを防止する止め金354を用意する必要がなくなるため、圧力保持機構440の部品点数を少なくすることができる。
また、この構成によれば、挿入部447に筒状部材349とOリング352とを組付けた芯部446をプラグ441の挿入孔444に挿入するだけで圧力保持機構440を容易に組み立てることができる。
(第6実施形態)
本発明の第6実施形態を図15および図16に示す。なお、以下説明する第6実施形態による高圧燃料ポンプ3において、第4実施形態と実質的に同一構成部分に同一符号を付し、説明を省略する。
図15および図16に示す第6実施形態は、デリバリパイプ4の燃料圧力が異常高圧状態となったときにデリバリパイプ4内の燃料の一部を加圧室18に逃がし燃料系を保護するリリーフ弁30に圧力保持機構540を収容させた例を示している。
図15および図16に示すように、リリーフ弁30は、弁座31、弁体32、ストッパ35、スプリング36および圧力保持機構540を有し、戻し通路85途中に形成されている収容孔88に収容されている。
弁座31は、収容孔88の底部に形成された戻し通路85の開口部の周縁に形成されている。弁体32は、収容孔88に軸方向に摺動可能に支持されている。ストッパ35は、略円柱状に形成され、弁体32よりも収容孔88の開口部側に設けられ、収容孔88の開口部を塞いでいる。
スプリング36は、ストッパ35と弁体32との間に設けられ、弁体32を閉弁方向に付勢する。スプリング36の付勢力は、デリバリパイプ4の燃料圧力が異常圧力を上回るまでは閉弁を維持できる程度のものとなっている。
デリバリパイプ4の燃料圧力が異常圧力を上回り、弁体32の先端に働く力がスプリング36の付勢力よりも上回ると、弁体32は、収容孔88の開口部側に移動し、弁座31から離座する。これにより、吐出通路83と加圧室18とが連通し、デリバリパイプ4の高圧燃料が加圧室18に戻る。
次に、リリーフ弁30の弁体32の構成を図16に基づいてさらに詳細に説明する。弁体32は、弁部材131とスプリング受け部材541とから構成されており、内部に圧力保持機構540を収容している。
弁部材131は、略円筒状に形成されており、外径の異なる大径部132と小径部133とを有している。弁部材131には、貫通孔134が形成されている。この貫通孔134の内径は、小径部133側の方が大径部132側よりも小さくなっている。
貫通孔134の大径部132側の開口部には、スプリング受け部材541が圧入により嵌め込まれている。スプリング受け部材541は、スプリング36の一方の端部を受ける座部542と、筒状部材349およびOリング352を支持する芯部543とを有している。
座部542は、略円板状に形成されており、貫通孔134の大径部132側の開口部に圧入により嵌め込まれている。そして、座部542には、両端面を貫通する通路孔544が形成されている。
芯部543は、座部542の弁部材131側の端面より貫通孔134に向かって延びている。芯部543の先端は、貫通孔134の小径部133側の開口部まで達している。なお、小径部133側の貫通孔134と芯部543との関係は、隙間ばめとなっている。
座部542と貫通孔134との間に形成される空間内には、筒状部材349およびOリング352が収容されている。Oリング352は、筒状部材349の外周壁350と貫通孔134の内周壁135との間をシールしている。
デリバリパイプ4から収容孔88に流入した燃料は、芯部543と弁部材131の貫通孔134との間に形成される隙間を通り、筒状部材349およびOリング352が収容されている空間に流入する。その空間に流入した燃料は、筒状部材349と芯部543との間に形成される隙間および通路孔544を通って弁体32の収容孔88の開口部側に流出する。流出した燃料は、加圧室18側の戻し通路85を通って加圧室18に戻る。なお、この実施形態においても、圧力保持機構540の燃料の漏れ量および保持圧の調整は、第4実施形態およびその変形例1〜3と同様の方法にて行うことができる。
(第7実施形態)
本発明の第7実施形態を図17に示す。なお、以下説明する第7実施形態による高圧燃料ポンプ3において、第1および4実施形態と実質的に同一構成部分に同一符号を付し、説明を省略する。
図17に示す第7実施形態は、吐出弁20に圧力保持機構640を収容させた例を示している。図17に示すように、吐出弁20の弁体121は、略円筒状に形成されており、外壁が吐出通路83の弁座21に離着座する底部122を有している。弁体121は、吐出通路83に軸方向に摺動可能に支持されている。圧力保持機構640は、この弁体121に収容されている。
弁体121の内周側には、弁体121の側壁124によって出口部84と連通する燃料通路126が形成されている。そして、その側壁124には、弁体121の外壁と燃料通路126とを連通する貫通孔125が形成されている。これにより、底部122が弁座21より離座したときに、加圧室18から側壁124の外壁側に流入した高圧燃料が、貫通孔125を通って燃料通路126に流入する。そして、燃料通路126に流入した高圧燃料は、出口部84よりデリバリパイプ4に供給される(図3参照)。
ストッパ27と弁体121との間には、弁体121を閉弁方向に付勢するスプリング28が設けられている。弁体121の加圧室18側と出口部84側との間に差圧が発生し、弁体121の底部122に働く力がスプリング28の付勢力を上回ると、弁体121は弁座21から離座し、加圧室18と出口部84とが連通する。
弁体121の内部には、スプリング受け部材641が圧入により嵌め込まれている。このスプリング受け部材641は、弁体121の側壁124の内周側に圧入され、弁体121を閉弁方向に付勢するスプリング28の一方の端部を受ける座部642と、筒状部材349およびOリング352を支持する芯部643とを有している。
座部642は、略円板状に形成されており、弁体121の側壁124の内周側に圧入により嵌め込まれている。そして、座部642には、両端面を貫通する通路孔644が形成されている。
芯部643は、座部642の底部122側の端面より底部122に形成されている貫通孔123に向かって延びている。芯部643の先端は、貫通孔123まで達している。なお、貫通孔123と芯部643との関係は、隙間ばめとなっている。
座部642と底部122との間に形成される空間内には、筒状部材349およびOリング352が収容されている。Oリング352は、筒状部材349の外周壁350と側壁124の内周壁127との間をシールしている。
デリバリパイプ4から燃料通路126に流入した燃料は、座部642の通路孔644を通り筒状部材349およびOリング352が収容されている空間に流入する。その空間に流入した燃料は、筒状部材349と芯部643との間に形成される隙間および芯部643と貫通孔123との間に形成される隙間を通って底部122から加圧室18側に流出する。流出した燃料は、吐出通路83を通って加圧室18に戻る。なお、この実施形態においても、圧力保持機構640の燃料の漏れ量および保持圧の調整は、第4実施形態およびその変形例1〜3と同様の方法にて行うことができる。
(第8、第9実施形態)
本発明の第8、第9実施形態を図18および図19に示す。なお、以下説明する第8、第9実施形態による高圧燃料ポンプ3において、第4、第6実施形態と実質的に同一構成部分に同一符号を付し、説明を省略する。
図18および図19に示す第8、第9実施形態は、収容孔88と加圧室18とを接続していた加圧室18側の戻し通路85に代えて、収容孔88と加圧室18の上流側に配置される低圧部(例えば、吸入室91や燃料タンク6)とを接続する低圧通路85aを備えた例を示している。高圧燃料ポンプ3の停止時に圧力保持機構340、540から流出した燃料は、低圧通路85aを通って低圧部に戻る。
これらの実施形態によれば、低圧通路85aは、加圧室18に接続されるのではなく、吸入室91や燃料タンク6に接続されているため、低圧通路85aの設置の自由度を高めることができる。これにより、製造コストの上昇を抑制することができる。
(第10実施形態)
本発明の第10実施形態を図20および図21に示す。なお、以下説明する第10実施形態による高圧燃料ポンプ3において、第4実施形態と実質的に同一構成部分に同一符号を付し、説明を省略する。
図20に示す第10実施形態は、弾性部材として、筒状部材749のみで構成している例を示している。図21は、この実施形態の圧力保持機構740の分解図である。
この構成によっても、第4実施形態と同様の効果を得ることができる。具体的には、芯部743の外周壁744に支持される筒状部材749は、収容孔88の内周壁89にも支持されている。筒状部材749の内周壁751と芯部743の外周壁744との間、および筒状部材749の外周壁750と収容孔88の内周壁89との間には、それぞれ所定の面圧が発生している。
この実施形態では、第4実施形態と異なり、圧力保持機構740を通過する燃料は、筒状部材749の内周壁751と芯部743の外周壁744との間と、筒状部材749の外周壁750と収容孔88の内周壁89との間を通る。
この実施形態では、図20および図21に示すように、芯部743に筒状部材749を組み付ける前の状態において、筒状部材749の内周壁751の内径をd1、外周壁750の外径をd2、芯部743の外径をD1および収容孔88の内周壁89の内径をD2とすると、内径d1は、外径D1よりも小さく、外径d2は、内径D2よりも大きく形成されている。
これにより、筒状部材749と芯部743との間、および筒状部材749と収容孔88との間にそれぞれ所定の面圧を発生させることができる。また、これらの面圧は、外径D1と内径d1との差分である内周側締め代と、外径d2と内径D2との差分である外周側締め代とを調整することにより調整することができる。これにより、燃料の漏れ量および保持圧を調整することができる。また、筒状部材749の軸方向長さを調整することによっても、燃料の漏れ量および保持圧を調整することができる。
なお、この実施形態では、第4実施形態における他の実施形態として説明したが、この構成を有する圧力保持機構740を第6〜9実施形態に適用しても良い。
1 燃料供給システム、2 低圧燃料ポンプ、3 高圧燃料ポンプ、4 デリバリパイプ(蓄圧室)、5 燃料噴射弁、6 燃料タンク、7 内燃機関、11 プランジャ、15 スプリング、18 加圧室、20 吐出弁、21 弁座、22 弁体、25 燃料通路、26 貫通孔、27 ストッパ、28 スプリング、30 リリーフ弁、31 弁座、32 弁体、35 ストッパ、36 スプリング、40 圧力保持機構、41 燃料通路、42 大径通路、43 小径通路、44 弁座、45 貫通孔、46 内壁、47 バルブニードル、48 弁体部、49 筒部、50 摺動部、51 スプリング、52 ストッパ、60 調量弁、61 弁座部材、62 弁座、63 弁部材、64 閉弁用スプリング、65 スプリング座、66 電磁駆動部、80 シリンダ(ハウジング)、81 摺動部、82 吸入通路、83 吐出通路、84 出口部、85 戻し通路、86 逃がし通路、87 収容孔、88 収容孔、90 ハウジングカバー(ハウジング)、91 吸入室

Claims (4)

  1. 燃料を加圧して蓄圧室に向けて圧送する高圧燃料ポンプにおいて、
    加圧室、前記加圧室と前記蓄圧室とを連通する吐出通路、および前記吐出通路の前記加圧室側と前記蓄圧室側とを連通する戻し通路を有するハウジングと、
    前記ハウジングに往復移動可能に収容され、前記加圧室に吸入した燃料を加圧するプランジャと、
    前記吐出通路に収容され、前記加圧室の圧力が所定圧力以上になると開弁して前記加圧室の燃料を前記蓄圧室に供給する吐出弁と、
    前記戻し通路に収容される第一弁体を有し、前記蓄圧室内の圧力が通常運転時の圧力よりも高い第一圧力を上回るまでは閉弁し、前記蓄圧室の圧力が当該第一圧力を上回る異常高圧状態になると開弁して前記蓄圧室内の圧力を前記加圧室に開放するリリーフ弁と、
    前記第一弁体の内部に形成されて前記加圧室側の前記戻し通路と前記蓄圧室側の前記戻し通路とに前記リリーフ弁の閉弁状態で連通する燃料通路、および前記燃料通路に収容される第二弁体を有し、前記蓄圧室内の圧力が前記通常運転時の圧力よりも低い第二圧力まで下がると閉弁して前記蓄圧室内の圧力を保持する圧力保持機構と、
    を備えることを特徴とする高圧燃料ポンプ。
  2. 低圧燃料ポンプから供給された燃料を加圧して蓄圧室に向けて圧送する高圧燃料ポンプにおいて、
    前記第二圧力は、前記低圧燃料ポンプのフィード圧力よりも高いことを特徴とする請求項1に記載の高圧ポンプ。
  3. 前記リリーフ弁は、前記戻し通路に形成されて前記第一弁体が離着座する第一弁座、および前記第一弁体を前記第一弁座への着座方向に付勢する第一スプリングを有し、
    前記圧力保持機構は、前記燃料通路に形成されて前記第二弁体が離着座する第二弁座、および前記第二弁体を前記第一弁座への着座方向と同じ前記第二弁座への着座方向に付勢する第一スプリングを有することを特徴とする請求項1または2に記載の高圧燃料ポンプ。
  4. 前記圧力保持機構は、前記戻し通路において前記蓄圧室側から前記加圧室側への燃料の流れを制限する絞り部を有することを特徴とする請求項1から3のいずれか一項に記載の高圧燃料ポンプ。
JP2009243730A 2007-10-12 2009-10-22 高圧燃料ポンプ Expired - Fee Related JP4842361B2 (ja)

Priority Applications (1)

Application Number Priority Date Filing Date Title
JP2009243730A JP4842361B2 (ja) 2007-10-12 2009-10-22 高圧燃料ポンプ

Applications Claiming Priority (3)

Application Number Priority Date Filing Date Title
JP2007266854 2007-10-12
JP2007266854 2007-10-12
JP2009243730A JP4842361B2 (ja) 2007-10-12 2009-10-22 高圧燃料ポンプ

Related Parent Applications (1)

Application Number Title Priority Date Filing Date
JP2008081574A Division JP4413260B2 (ja) 2007-10-12 2008-03-26 高圧燃料ポンプ

Publications (2)

Publication Number Publication Date
JP2010019263A true JP2010019263A (ja) 2010-01-28
JP4842361B2 JP4842361B2 (ja) 2011-12-21

Family

ID=40777567

Family Applications (2)

Application Number Title Priority Date Filing Date
JP2008081574A Expired - Fee Related JP4413260B2 (ja) 2007-10-12 2008-03-26 高圧燃料ポンプ
JP2009243730A Expired - Fee Related JP4842361B2 (ja) 2007-10-12 2009-10-22 高圧燃料ポンプ

Family Applications Before (1)

Application Number Title Priority Date Filing Date
JP2008081574A Expired - Fee Related JP4413260B2 (ja) 2007-10-12 2008-03-26 高圧燃料ポンプ

Country Status (1)

Country Link
JP (2) JP4413260B2 (ja)

Cited By (8)

* Cited by examiner, † Cited by third party
Publication number Priority date Publication date Assignee Title
JP2012012950A (ja) * 2010-06-29 2012-01-19 Denso Corp 定残圧弁
JP2012052464A (ja) * 2010-09-01 2012-03-15 Nippon Soken Inc 定残圧弁
JP2014148980A (ja) * 2014-05-28 2014-08-21 Hitachi Automotive Systems Ltd 高圧燃料供給ポンプ
JP2015094278A (ja) * 2013-11-12 2015-05-18 株式会社デンソー 高圧ポンプ
JPWO2015163245A1 (ja) * 2014-04-25 2017-04-13 日立オートモティブシステムズ株式会社 高圧燃料供給ポンプ
US9828958B2 (en) 2011-03-08 2017-11-28 Hitachi Automotive Systems, Ltd. High-pressure fuel supply pump
KR20180046776A (ko) * 2016-10-28 2018-05-09 코웨이 주식회사 정수기용 생활용수 밸브
WO2020141029A1 (de) * 2019-01-03 2020-07-09 Robert Bosch Gmbh Kraftstoff-kolbenpumpe

Families Citing this family (12)

* Cited by examiner, † Cited by third party
Publication number Priority date Publication date Assignee Title
JP5176947B2 (ja) * 2008-12-26 2013-04-03 株式会社デンソー 高圧ポンプ
JP2010156256A (ja) * 2008-12-26 2010-07-15 Denso Corp 高圧ポンプ
JP2011132941A (ja) * 2009-11-26 2011-07-07 Nippon Soken Inc 圧力制御弁
JP2011163220A (ja) * 2010-02-10 2011-08-25 Denso Corp 燃料供給システムの制御装置
JP5653288B2 (ja) * 2011-04-27 2015-01-14 株式会社デンソー 定残圧弁
JP5537498B2 (ja) 2011-06-01 2014-07-02 日立オートモティブシステムズ株式会社 電磁吸入弁を備えた高圧燃料供給ポンプ
JP5677329B2 (ja) * 2012-01-20 2015-02-25 日立オートモティブシステムズ株式会社 電磁駆動型の吸入弁を備えた高圧燃料供給ポンプ
EP2706223A1 (en) * 2012-09-07 2014-03-12 Continental Automotive GmbH Relief valve, high pressure pump and fuel injection system
DE112014000901T5 (de) * 2013-03-19 2015-11-26 Hitachi Automotive Systems, Ltd. Hochdruck-Kraftstoffzufuhrpumpe
JP6193402B2 (ja) * 2013-12-27 2017-09-06 日立オートモティブシステムズ株式会社 高圧燃料供給ポンプ
JP6047648B2 (ja) * 2015-11-25 2016-12-21 日立オートモティブシステムズ株式会社 電磁吸入弁を備えた高圧燃料供給ポンプ
WO2021140829A1 (ja) * 2020-01-07 2021-07-15 日立Astemo株式会社 吐出弁機構及びそれを備えた高圧燃料供給ポンプ

Citations (3)

* Cited by examiner, † Cited by third party
Publication number Priority date Publication date Assignee Title
JPH0412166A (ja) * 1990-04-27 1992-01-16 Nippondenso Co Ltd 燃料噴射ポンプの逆止弁
JP2006307829A (ja) * 2005-03-30 2006-11-09 Denso Corp 高圧燃料ポンプ
JP2007138762A (ja) * 2005-11-16 2007-06-07 Hitachi Ltd 高圧燃料供給ポンプ

Patent Citations (3)

* Cited by examiner, † Cited by third party
Publication number Priority date Publication date Assignee Title
JPH0412166A (ja) * 1990-04-27 1992-01-16 Nippondenso Co Ltd 燃料噴射ポンプの逆止弁
JP2006307829A (ja) * 2005-03-30 2006-11-09 Denso Corp 高圧燃料ポンプ
JP2007138762A (ja) * 2005-11-16 2007-06-07 Hitachi Ltd 高圧燃料供給ポンプ

Cited By (11)

* Cited by examiner, † Cited by third party
Publication number Priority date Publication date Assignee Title
JP2012012950A (ja) * 2010-06-29 2012-01-19 Denso Corp 定残圧弁
JP2012052464A (ja) * 2010-09-01 2012-03-15 Nippon Soken Inc 定残圧弁
US9828958B2 (en) 2011-03-08 2017-11-28 Hitachi Automotive Systems, Ltd. High-pressure fuel supply pump
US10788004B2 (en) 2011-03-08 2020-09-29 Hitachi Automotive Systems, Ltd. High-pressure fuel supply pump
JP2015094278A (ja) * 2013-11-12 2015-05-18 株式会社デンソー 高圧ポンプ
JPWO2015163245A1 (ja) * 2014-04-25 2017-04-13 日立オートモティブシステムズ株式会社 高圧燃料供給ポンプ
US10941741B2 (en) 2014-04-25 2021-03-09 Hitachi Automotive Systems, Ltd. High-pressure fuel supply pump
JP2014148980A (ja) * 2014-05-28 2014-08-21 Hitachi Automotive Systems Ltd 高圧燃料供給ポンプ
KR20180046776A (ko) * 2016-10-28 2018-05-09 코웨이 주식회사 정수기용 생활용수 밸브
KR102723826B1 (ko) * 2016-10-28 2024-10-31 코웨이 주식회사 정수기용 생활용수 밸브
WO2020141029A1 (de) * 2019-01-03 2020-07-09 Robert Bosch Gmbh Kraftstoff-kolbenpumpe

Also Published As

Publication number Publication date
JP2009108847A (ja) 2009-05-21
JP4842361B2 (ja) 2011-12-21
JP4413260B2 (ja) 2010-02-10

Similar Documents

Publication Publication Date Title
JP4842361B2 (ja) 高圧燃料ポンプ
US8206131B2 (en) Fuel pump
JP5198511B2 (ja) 定残圧弁
US20150078922A1 (en) High pressure pump
JP5653288B2 (ja) 定残圧弁
US8226379B2 (en) Hydraulic pump
JP6689178B2 (ja) 高圧燃料供給ポンプ
JP7198363B2 (ja) 電磁吸入弁及び高圧燃料供給ポンプ
US12095339B2 (en) Fuel pump
CN110832188B (zh) 高压燃料泵
JP2012202375A (ja) 高圧ポンプ
JP5553176B2 (ja) 高圧ポンプ
JP5616243B2 (ja) 高圧ポンプ
JPWO2018221077A1 (ja) 電磁弁、電磁吸入弁機構、及び高圧燃料ポンプ
CN100473821C (zh) 具有柱塞的燃油泵及使用这种燃油泵的燃油供应系统
JP5703893B2 (ja) 高圧ポンプ
JP7482313B2 (ja) 燃料ポンプ
JP6586931B2 (ja) リリーフ弁装置、および、それを用いる高圧ポンプ
JP2020128700A (ja) 高圧燃料ポンプ
JP2016176482A (ja) 流体制御弁及び高圧ポンプ
JP2017145731A (ja) 高圧燃料供給ポンプ
JP2007162677A (ja) 高圧燃料ポンプ
JP5370438B2 (ja) 高圧ポンプ
JP5481406B2 (ja) 高圧ポンプ
JP2020041478A (ja) 高圧燃料供給ポンプ

Legal Events

Date Code Title Description
A621 Written request for application examination

Free format text: JAPANESE INTERMEDIATE CODE: A621

Effective date: 20091022

TRDD Decision of grant or rejection written
A01 Written decision to grant a patent or to grant a registration (utility model)

Free format text: JAPANESE INTERMEDIATE CODE: A01

Effective date: 20111004

A01 Written decision to grant a patent or to grant a registration (utility model)

Free format text: JAPANESE INTERMEDIATE CODE: A01

A61 First payment of annual fees (during grant procedure)

Free format text: JAPANESE INTERMEDIATE CODE: A61

Effective date: 20111005

R150 Certificate of patent or registration of utility model

Free format text: JAPANESE INTERMEDIATE CODE: R150

Ref document number: 4842361

Country of ref document: JP

Free format text: JAPANESE INTERMEDIATE CODE: R150

FPAY Renewal fee payment (event date is renewal date of database)

Free format text: PAYMENT UNTIL: 20141014

Year of fee payment: 3

R250 Receipt of annual fees

Free format text: JAPANESE INTERMEDIATE CODE: R250

R250 Receipt of annual fees

Free format text: JAPANESE INTERMEDIATE CODE: R250

R250 Receipt of annual fees

Free format text: JAPANESE INTERMEDIATE CODE: R250

R250 Receipt of annual fees

Free format text: JAPANESE INTERMEDIATE CODE: R250

R250 Receipt of annual fees

Free format text: JAPANESE INTERMEDIATE CODE: R250

R250 Receipt of annual fees

Free format text: JAPANESE INTERMEDIATE CODE: R250

R250 Receipt of annual fees

Free format text: JAPANESE INTERMEDIATE CODE: R250

R250 Receipt of annual fees

Free format text: JAPANESE INTERMEDIATE CODE: R250

R250 Receipt of annual fees

Free format text: JAPANESE INTERMEDIATE CODE: R250

LAPS Cancellation because of no payment of annual fees