JP2010019262A - 送風機及びこれを用いた空気調和機並びに空気清浄機 - Google Patents

送風機及びこれを用いた空気調和機並びに空気清浄機 Download PDF

Info

Publication number
JP2010019262A
JP2010019262A JP2009240237A JP2009240237A JP2010019262A JP 2010019262 A JP2010019262 A JP 2010019262A JP 2009240237 A JP2009240237 A JP 2009240237A JP 2009240237 A JP2009240237 A JP 2009240237A JP 2010019262 A JP2010019262 A JP 2010019262A
Authority
JP
Japan
Prior art keywords
air
blower
fan
shroud
guide
Prior art date
Legal status (The legal status is an assumption and is not a legal conclusion. Google has not performed a legal analysis and makes no representation as to the accuracy of the status listed.)
Granted
Application number
JP2009240237A
Other languages
English (en)
Other versions
JP5024349B2 (ja
Inventor
Tadashi Onishi
正 大西
Masashi Kamata
正史 鎌田
Current Assignee (The listed assignees may be inaccurate. Google has not performed a legal analysis and makes no representation or warranty as to the accuracy of the list.)
Daikin Industries Ltd
Original Assignee
Daikin Industries Ltd
Priority date (The priority date is an assumption and is not a legal conclusion. Google has not performed a legal analysis and makes no representation as to the accuracy of the date listed.)
Filing date
Publication date
Application filed by Daikin Industries Ltd filed Critical Daikin Industries Ltd
Priority to JP2009240237A priority Critical patent/JP5024349B2/ja
Publication of JP2010019262A publication Critical patent/JP2010019262A/ja
Application granted granted Critical
Publication of JP5024349B2 publication Critical patent/JP5024349B2/ja
Anticipated expiration legal-status Critical
Expired - Fee Related legal-status Critical Current

Links

Images

Landscapes

  • Structures Of Non-Positive Displacement Pumps (AREA)

Abstract

【課題】送風騒音の低減と送風性能の向上との両立を実現した送風機及びこれを用いた空気調和機並びに空気清浄機を提供する
【解決手段】遠心羽根車20の該吸込口24側に、上流側に向かって曲面状に拡径変化するファンガイド30を、その下流端部30bがファン吸込口24に臨む如くシュラウド22の上流端部22bに近接させて配置してなる送風機において、ファンガイド30の外面30aに、又はシュラウド22の外面22aに、又はこれら各外面30a,22aの双方に、該各外面30a,22aに沿って、ファンガイド30の下流端部30bとシュラウド22の上流端部22bとの近接部位に向けて空気を案内する空気案内部18を設ける。係る構成によれば、「漏れ流れ」が安定した流れとなり、「漏れ流れ」の変動に起因する送風騒音の増大と送風性能の低下が可及的に防止され、低騒音で且つ高効率の運転が実現される。
【選択図】 図1

Description

本願発明は、ファンガイドを備えた送風機及びこれを用いた空気調和機並びに空気清浄機に関するものである。
従来より、セパレート型の空気調和機の室内機においては送風機として遠心送風機が使用されることが多い(特許文献1、特許文献2 参照)。
このように遠心送風機を備えた空気調和機の室内機の一例として、図5には、遠心送風機62を備えた空気調和機の室内機Z01を示している。この室内機Z01は、吸込口71と吹出口(図示省略)とを同一面上にそれぞれ設けたケーシング61内に、対向配置される側板64とシュラウド65の間に複数枚の羽根66,66,・・を取り付けてなる遠心羽根車63と該羽根車63を回転駆動するモータ72と該羽根車63のファン吸込口67に臨ましめられたファンガイド70とからなる送風機62を配置するとともに、該送風機62の外周側にはこれを囲繞するようにして熱交換器69を配置して構成される。そして、この室内機Z02においては、上記ファンガイド70によって上記羽根車63の上流側と下流側とが仕切られ、その昇圧作用により上記ファン吸込口67からファン吹出口68に向かう空気の流れが形成されるものである。
特開2006−200769号公報 特開2007−051790号公報
ところで、このように空気調和機用送風機として用いられる遠心送風機においては、以下に述べるような理由によって、送風効率の低下とか送風騒音の増大という問題が発生することが懸念される。
即ち、遠心送風機1においては、図5に示すように、上記ファンガイド70の下流端が上記羽根車63のシュラウド65に設けられたファン吸込口67に臨んで配置され、且つこれら両者は相対回転するものであることから、これら両者間には環状の隙間73が形成され、しかもこの隙間73は上記送風機62の吸込口67側に臨んでいる。このため、上記送風機62の吹出口68から吹き出された高圧空気の一部は、上記羽根車63のシュラウド65とこれに対向する上記ファンガイド70との間の対向空間74を通って上記隙間74から吸込口67側に吸い出され、ここに所謂「漏れ流れ」が生じるとともに、上記対向空間74には渦Nが生成されることになる。この場合、この渦Nが、例えば送風機62の運転状態の変化とか、空気の非軸対称な流れによる通風抵抗の増大等の種々の送風条件によって変動する不安定なものであることから、この渦Nの変動の影響を受けて上記「漏れ流れ」の流れ状態も変動し、結果的に、上記送風機1においては送風騒音が増大するとともに送風性能の低下が生じるものである。
そこで本願発明は、送風騒音の低減と送風性能の向上との両立を実現した送風機及びこれを用いた空気調和機並びに空気清浄機を提供することを目的としてなされたものである。
本願発明ではかかる課題を解決するための具体的手段として次のような構成を採用している。
本願の第1の発明では、吸込口24を有するシュラウド22を備えた遠心羽根車20の該吸込口24側に、上流側に向かって曲面状に拡径変化するファンガイド30を、その下流端部30bが上記ファン吸込口24に臨む如く上記シュラウド22の上流端部22bに近接させて配置してなる送風機において、上記ファンガイド30の外面30aに、又は上記シュラウド22の外面22aに、又はこれら各外面30a,22aの双方に、該各外面30a,22aに沿って、上記ファンガイド30の下流端部30bと上記シュラウド22の上流端部22bとの近接部位に向けて空気を案内する空気案内部18を設けたことを特徴としている。
本願の第2の発明では、上記第1の発明にかかる送風機において、上記空気案内部18を、上記ファンガイド30の外面30a、又は上記シュラウド22の外面22a上を径方向に、又は径方向に対して傾斜して延びる複数本の溝19,19,・・で構成したことを特徴としている。
本願の第3の発明にかかる空気調和機では、熱交換器5の上流側又は下流側に、上記第1又は第2の発明にかかる送風機1を備えて構成されたことを特徴としている。
本願の第4の発明にかかる空気清浄機では、空気改質デバイスの上流側又は下流側に、第1又は第2の発明にかかる送風機1を備えて構成されたことを特徴としている。
本願発明ではかかる構成とすることにより次のような効果が得られる。
(1) 本願の第1の発明にかかる送風機では、吸込口24を有するシュラウド22を備えた遠心羽根車20の該吸込口24側に、上流側に向かって曲面状に拡径変化するファンガイド30を、その下流端部30bが上記ファン吸込口24に臨む如く上記シュラウド22の上流端部22bに近接させて配置してなる送風機において、上記ファンガイド30の外面30aに、又は上記シュラウド22の外面22aに、又はこれら各外面30a,22aの双方に、該各外面30a,22aに沿って、上記ファンガイド30の下流端部30bと上記シュラウド22の上流端部22bとの近接部位に向けて空気を案内する空気案内部18を設けている。
従って、この発明の送風機によれば、上記羽根車20が回転すると、それに伴って上記ファンガイド30の下流端部30bと上記シュラウド22の上流端部22bとの近接部位を通って上記羽根車20の下流側から上流側へ向けて流れる「漏れ流れ」が生成されるとともに、該「漏れ流れ」の上流側で且つ上記ファンガイド30とシュラウド22とが対向する空間部分に不安定な渦が生成されるが、この場合、この渦の生成部位及び上記「漏れ流れ」の発生部位は共に低圧であって上記羽根車20の下流側領域との間には圧力差が生じているので、上記羽根車20の下流側領域の空気は、この圧力差により、上記空気案内部18に案内されて上記ファンガイド30の下流端部30bと上記シュラウド22の上流端部22bとの近接部位、即ち、上記「漏れ流れ」の生成部位に向けて導入される。
ここで、上記空気案内部18が上記ファンガイド30の外面30aに設けられている場合には、該空気案内部18を介して導入される空気の流れ方向と上記「漏れ流れ」の流れ方向とが一致することから、この導入空気がそのまま上記羽根車20の吸込側に吸入されて「漏れ流れ」となる。このため、この「漏れ流れ」は上記渦の流れが変動したとしてもその影響をほとんど受けることなく安定した流れとなり、結果的に、「漏れ流れ」の変動に起因する送風騒音の増大と送風性能の低下が可及的に防止され、低騒音で且つ高効率の運転が実現されることになる。
一方、上記空気案内部18が上記シュラウド22の外面22aに設けられている場合には、該空気案内部18を介して導入される安定した空気の流れによって、上記渦の変動が可及的に抑制され、該渦の変動に伴う上記「漏れ流れ」の変動も可及的に抑制され、結果的に「漏れ流れ」の変動に起因する送風騒音の増大と送風性能の低下が可及的に防止され、低騒音で且つ高効率の運転が実現されることになる。
また、上記空気案内部18が、上記渦の生成部位を挟んで対向する上記ファンガイド30の外面30aと上記シュラウド22の外面22aの双方に設けられている場合には、上記空気案内部9が上記ファンガイド30の外面30aに設けられている場合における作用、即ち、上記空気案内部18を介して導入される導入空気によって「漏れ流れ」が生成され、例え上記渦の流れに変動が生じたとしても、上記「漏れ流れ」はその影響をほとんど受けることなく安定した流れとなることと、上記空気案内部18が上記シュラウド22の外面22aに設けられている場合における作用、即ち、上記空気案内部18を介して導入される安定した空気の流れによって上記渦の変動が可及的に抑制され、該渦の変動に伴う上記「漏れ流れ」の変動も可及的に抑制されること、の相乗作用によって、上記「漏れ流れ」の変動に起因する送風騒音の増大と送風性能の低下がより一層確実に防止され、低騒音で且つ高効率の運転がさらに促進されることになる。
(2) 本願の第2の発明にかかる送風機によれば、上記空気案内部18を、上記ファンガイド30の外面30a、又は上記シュラウド22の外面22a上を径方向に、又は径方向に対して傾斜して延びる複数本の溝19,19,・・で構成することで、より簡単且つ安価な構造で上記(1)に記載の効果が得られることから、低騒音で且つ高効率の送風機をより安価に提供できる。
(3) 本願の第3の発明にかかる空気調和機によれば、熱交換器5の上流側又は下流側に、上記第1又は第2の発明にかかる送風機を備えることで、高水準の静粛運転性と空調性能とをもつ空気調和機が得られるものである。
(4) 本願の第4の発明にかかる空気清浄機によれば、空気改質デバイスの上流側又は下流側に、第1又は第2の発明にかかる送風機を備えることで、高水準の静粛運転性と空気清浄性能とをもつ空気清浄機が得られるものである。
本願発明の第1の実施形態にかかる送風機及びこれを用いた空気調和機の要部断面図である。 図1のII−II矢視図である。 本願発明の第2の実施形態にかかる送風機の要部断面図である。 図3のIV−IV矢視図である。 従来の空気調和機の断面図である。 本願発明に係る送風機と従来の送風機の「騒音・静圧−風量」性能対比図である。
以下、本願各発明を好適な実施形態に基づいて具体的に説明する。
第1の実施形態(図1及び図2参照)
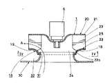
図1には、請求項1及び請求項2の発明の第1の実施形態にかかる遠心送風機を備えて構成されたセパレート型空気調和機の天井埋込型の室内機Z1を示している。この室内機Z1は、室内の天井27を通して天井裏に埋め込み配置されるケーシング2と該ケーシング2の下面開口部に室内側から衝合固定される吸込パネル26とで囲繞される機内空間に、遠心送風機1と熱交換器5とを収容して構成される。また、上記吸込パネル26は、その中央部に吸込口3を、周辺部に吹出口4をそれぞれ設けている。
上記送風機1は、所定間隔をもって対向配置された側板21とシュラウド22の間に複数枚の羽根23,23,・・をその周方向に所定間隔をもって取り付けてなる羽根車20と、上記ケーシング2の天井側に固定されて上記羽根車20を回転駆動するモータ6と、上記羽根車20の上記ファン吸込口24と上記吸込パネル26側の上記吸込口3との間に配置された次述のファンガイド30とを備えて構成される。
上記ファンガイド30は、環状のフランジ部30Aと、該フランジ部30Aの内周縁に連続してその一側面側に湾曲状に立ち上がる湾曲部30Bと、該湾曲部30Bの外端に連続してその軸方向に延出する直筒部30Cとを備えている。上記直筒部30Cは、上記送風機1のファン吸込口24の内側に近接状態で進入し得るように、その径寸法が設定されている。
また、上記ファンガイド30の外面30aのうち、上記湾曲部30Bと上記直筒部30Cの境界部から上記フランジ部30Aの中間部位までにかけての領域には、多数の溝19,19,・・で構成される空気案内部18が設けられている。そして、この実施形態においては、図2に示すように、上記溝19,19,・・を、上記直筒部30C寄りの内側端部19aに対して、上記フランジ部30A寄りの外側端部19bが、上記羽根車20の回転方向(図2の矢印R方向)の前方側に位置する傾斜溝としている。尚、この溝19は、上記羽根車20の回転方向の後方側に位置する傾斜溝とか径方向に延びる溝とすることもてきる。また、この実施形態では、上記溝19を直線溝としているが、他の実施形態においてはこれを湾曲溝あるいは屈曲溝とすることもできる。
このように構成された上記ファンガイド30は、上記直筒部30Cの端部で構成される下流端部30bを、上記送風機1のファン吸込口24に重合させた状態で上記ケーシング2側に固定されている。従って、このファンガイド30の装着状態においては、上記直筒部30Cの端部、即ち、下流端部30bと、上記羽根車20側の上記シュラウド22の上流端部22bとの間には、上記羽根車20のファン吸込口24とファン吹出口25とを連通させる環状の隙間31が形成されることになる。また、この隙間31の径方向外側においては、上記羽根車20のシュラウド22の外面22aと上記ファンガイド30の外面30aとが対峙し、これらの間には、上記隙間31と上記羽根車20のファン吹出口25とに共に臨む対向空間32が形成されている。尚、上記羽根車20のファン吹出口25の外側には、該羽根車20を囲繞するようにして熱交換器5が配置されている。
この実施形態の室内機Z1においては、上記羽根車20の回転に伴って、上記上記吸込口3から上記ファンガイド30を通って上記ファン吸込口24に吸い込まれた室内空気は、空気流Aで示すように、上記羽根車20のファン吹出口25から吹き出された後、上記熱交換器5を通過し、該熱交換器5での熱交換によって温風あるいは冷風とされ、上記吹出口4から室内へ吹き出される。
この場合、上記羽根車20のシュラウド22の上流端部22bと上記ファンガイド30の下流端部30bとの間には上記隙間31が形成され、さらにこの隙間31は上記対向空間32を介して上記羽根車20のファン吹出口25に臨ましめられていることから、上記羽根車20のファン吹出口25から吹き出される高圧空気の一部が上記対向空間32側に還流しここに不安定な渦を生成するとともに、この還流空気の一部は上記隙間31を通って上記ファン吸込口24側に流れ、該隙間31部分に「漏れ流れ」が生じる。この「漏れ流れ」は、これが安定した流れである場合には送風騒音及び送風性能にほとんど悪影響を与えないが、これが不安定となりその流れが変動すると、乱れた流れが上記羽根車20の羽根23,23,・・側に流入することから送風騒音及び送風性能の低下を招来することになる。また、この「漏れ流れ」の変動は、上記対向空間32に生成された渦の流れ状態が変動することで惹起されるものであり、しかもこの渦の流れ状態は、例えば送風機1の通風抵抗の変動等の諸条件によって変動を生じるものである。従って、上記「漏れ流れ」の変動に起因する送風騒音及び送風性能の低下を抑制するには、該「漏れ流れ」に直接働きかけてその流れを安定させて変動を抑制する手法と、該「漏れ流れ」の変動の原因となっている上記対向空間32における渦の流れの変動を抑制して間接的に上記「漏れ流れ」の変動を抑制する手法とが考えられる。
そこで、この実施形態においては、上記二つの手法のうち、前者の手法を採用することとし、そのために、上述のように、上記ファンガイド30の外面30aに多数の溝19,19,・・で構成される空気案内部18を設けたものである。尚、後者の手法は、次述の第2の実施形態において説明する。
このように、上記ファンガイド30の外面30aに上記空気案内部18を設けると、次のような作用が得られる。即ち、上記「漏れ流れ」が生じる上記隙間31部分は、上記溝19,19,・・の外端部に対応する領域部分よりも低圧となっており、これら両者間には圧力差が生じている。従って、上記対向空間32に臨む上記ファンガイド30の外面30aに上記溝19,19,・・が形成されていることで、該対向空間32の近傍領域の高圧の空気が圧力差によって上記溝19,19,・・を通って上記隙間31側に導入される。そして、この場合、この導入空気の流れ方向と上記「漏れ流れ」の流れ方向が一致しているため、安定した流れである上記導入空気が上記隙間31内に流れ込んで「漏れ流れ」を生成することになる。しかも、この「漏れ流れ」は、上記対向空間32内の渦流にはほとんど影響を受けないことから安定した変動の少ない流れとなる。
この結果、例え、上記対向空間32内に生成される渦の流れに変動が生じたとしても、上記「漏れ流れ」は安定状態を持続し、上記送風機1においては送風騒音及び送風性能が良好に維持されるものである(図6参照)。
第2の実施形態(図3及び図4参照)
図3及び図4には、請求項1及び請求項2の発明の第2の実施形態にかかる遠心送風機1の要部を示している。この実施形態の送風機1は、上記第1の実施形態にかかる送風機1とその基本構成を同一とするものであって、これと異なる点は、上記第1の実施形態の送風機1においては上記空気案内部18を上記ファンガイド30の外面30aに設けていたのに対して、この実施形態の送風機1においては該空気案内部18を上記羽根車20のシュラウド22の外面22aに設けた点である。これは、上述した「漏れ流れ」の変動を抑制するための二つの手法のうちの後者の手法、即ち、「漏れ流れ」の変動の原因となっている上記対向空間32に生成される渦の流れの変動を抑制する手法を採用した結果である。以下、これを具体的に説明する。
即ち、図3及び図4に示すように、上記羽根車20のシュラウド22の外面22a(即ち、上記対向空間32に臨む面)に多数の傾斜した溝19,19,・・を、その周方向に所定間隔で形成し、この溝19,19,・・によって上記空気案内部18を構成したものである。尚、上記溝19は、この実施形態の如き直線状の傾斜溝とする他に、例えばこれを径方向に延びる溝としたり、また湾曲溝とか屈曲溝とすることもできるものである。
かかる構成の空気案内部18を上記羽根車20のシュラウド22の外面22aに設けると、次のような作用が得られる。
即ち、上記シュラウド22の外面20aに上記空気案内部18を設けると、該空気案内部18を介して上記対向空間32の近傍領域から上記隙間31側に向けて導入される安定した空気の流れによって、上記対向空間32内に生成されている渦の変動が可及的に抑制されるとともに、該渦の変動が上記「漏れ流れ」に影響を与えるのが可及的に防止され、その結果、上記「漏れ流れ」が安定しその変動が可及的に抑制され、該「漏れ流れ」の変動に起因する送風騒音の増大と送風性能の低下が可及的に防止されることで低騒音で且つ高効率の運転が実現されるものである(図6参照)。
尚、上記第1の実施形態においては、上記対向空間32に臨む上記羽根車20のシュラウド22の外面22aと上記ファンガイド30の外面30aのうち、該ファンガイド30の外面30aに上記空気案内部18を設けることで、また上記第2の実施形態においては上記シュラウド22の外面22aに上記空気案内部18を設けることで、共に送風騒音の低下と送風性能の向上とを実現しているが、本願発明の他の実施形態においては、上記シュラウド22の外面22aと上記ファンガイド30の外面30aの双方にそれぞれ空気案内部18,18を設ける構成を採用することも可能である。そして、この場合には、上記第1の実施形態における作用効果と上記第2の実施形態における作用効果との相乗的効果が得られるものである。
さらに、上記各実施形態においては、上記送風機1を空気調和機用送風機1として適用した場合を例にとって説明したが、本願発明の送風機は、例えば、脱臭デバイスとか除塵デバイス等の空気改質デバイスを備えた空気清浄機用送風機としても適用できるものである。
1は送風機、2はケーシング、3は吸込口、4は吹出口、5は熱交換器、6はモータ、18は空気案内部、19は溝、20は羽根車、21は側板、22はシュラウド、23は羽根、24はファン吸込口、25はファン吹出口、26は吸込パネル、30はファンガイド、Z1は室内機である。

Claims (4)

  1. 吸込口(24)を有するシュラウド(22)を備えた遠心羽根車(20)の該吸込口(24)側に、上流側に向かって曲面状に拡径変化するファンガイド(30)を、その下流端部(30b)が上記ファン吸込口(24)に臨む如く上記シュラウド(22)の上流端部(22b)に近接させて配置してなる送風機であって、
    上記ファンガイド(30)の外面(30a)に、又は上記シュラウド(22)の外面(22a)に、又はこれら各外面(30a),(22a)の双方に、該各外面(30a),(22a)に沿って、上記ファンガイド(30)の下流端部(30b)と上記シュラウド(22)の上流端部(22b)との近接部位に向けて空気を案内する空気案内部(18)が設けられていることを特徴とする送風機。
  2. 請求項1において、
    上記空気案内部(18)が、上記ファンガイド(30)の外面(30a)、又は上記シュラウド(22)の外面(22a)上を径方向に、又は径方向に対して傾斜して延びる複数本の溝(19),(19),・・で構成されていることを特徴とする送風機。
  3. 熱交換器(5)の上流側又は下流側に、請求項1又は2に記載の送風機(1)を備えて構成されたことを特徴とする空気調和機。
  4. 空気改質デバイスの上流側又は下流側に、請求項1又は2に記載の送風機(1)を備えて構成されたことを特徴とする空気清浄機。
JP2009240237A 2009-10-19 2009-10-19 送風機及びこれを用いた空気調和機並びに空気清浄機 Expired - Fee Related JP5024349B2 (ja)

Priority Applications (1)

Application Number Priority Date Filing Date Title
JP2009240237A JP5024349B2 (ja) 2009-10-19 2009-10-19 送風機及びこれを用いた空気調和機並びに空気清浄機

Applications Claiming Priority (1)

Application Number Priority Date Filing Date Title
JP2009240237A JP5024349B2 (ja) 2009-10-19 2009-10-19 送風機及びこれを用いた空気調和機並びに空気清浄機

Related Parent Applications (1)

Application Number Title Priority Date Filing Date
JP17634899A Division JP4505885B2 (ja) 1999-06-23 1999-06-23 送風機及びこれを用いた空気調和機並びに空気清浄機

Publications (2)

Publication Number Publication Date
JP2010019262A true JP2010019262A (ja) 2010-01-28
JP5024349B2 JP5024349B2 (ja) 2012-09-12

Family

ID=41704385

Family Applications (1)

Application Number Title Priority Date Filing Date
JP2009240237A Expired - Fee Related JP5024349B2 (ja) 2009-10-19 2009-10-19 送風機及びこれを用いた空気調和機並びに空気清浄機

Country Status (1)

Country Link
JP (1) JP5024349B2 (ja)

Cited By (5)

* Cited by examiner, † Cited by third party
Publication number Priority date Publication date Assignee Title
WO2013021618A1 (ja) * 2011-08-10 2013-02-14 ダイキン工業株式会社 遠心送風機
CN105090105A (zh) * 2015-06-30 2015-11-25 黑龙江凯普瑞机械设备有限公司 一种离心风机及其叶轮
JP2019120224A (ja) * 2018-01-10 2019-07-22 株式会社荏原製作所 ポンプ用羽根車、ポンプ用ケーシング及びポンプ
JP2019143572A (ja) * 2018-02-22 2019-08-29 ダイキン工業株式会社 ターボファン、及び空気調和機の室内機
CN113648525A (zh) * 2021-07-26 2021-11-16 河北医科大学第二医院 一种重症监护室防细菌感染装置

Citations (2)

* Cited by examiner, † Cited by third party
Publication number Priority date Publication date Assignee Title
JPH102299A (ja) * 1996-06-14 1998-01-06 Matsushita Refrig Co Ltd 遠心送風機
JPH1137525A (ja) * 1997-07-22 1999-02-12 Hitachi Ltd 空気清浄装置

Patent Citations (2)

* Cited by examiner, † Cited by third party
Publication number Priority date Publication date Assignee Title
JPH102299A (ja) * 1996-06-14 1998-01-06 Matsushita Refrig Co Ltd 遠心送風機
JPH1137525A (ja) * 1997-07-22 1999-02-12 Hitachi Ltd 空気清浄装置

Cited By (7)

* Cited by examiner, † Cited by third party
Publication number Priority date Publication date Assignee Title
WO2013021618A1 (ja) * 2011-08-10 2013-02-14 ダイキン工業株式会社 遠心送風機
JP2013036443A (ja) * 2011-08-10 2013-02-21 Daikin Industries Ltd 遠心送風機
CN105090105A (zh) * 2015-06-30 2015-11-25 黑龙江凯普瑞机械设备有限公司 一种离心风机及其叶轮
JP2019120224A (ja) * 2018-01-10 2019-07-22 株式会社荏原製作所 ポンプ用羽根車、ポンプ用ケーシング及びポンプ
JP2019143572A (ja) * 2018-02-22 2019-08-29 ダイキン工業株式会社 ターボファン、及び空気調和機の室内機
WO2019163450A1 (ja) * 2018-02-22 2019-08-29 ダイキン工業株式会社 ターボファン、及び空気調和機の室内機
CN113648525A (zh) * 2021-07-26 2021-11-16 河北医科大学第二医院 一种重症监护室防细菌感染装置

Also Published As

Publication number Publication date
JP5024349B2 (ja) 2012-09-12

Similar Documents

Publication Publication Date Title
US9062888B2 (en) Air conditioner
JP4690682B2 (ja) 空調機
JP6129431B1 (ja) 送風機およびこの送風機を搭載した空気調和装置
CN1573251A (zh) 涡轮风扇和具有所述涡轮风扇的空调器
WO2012002080A1 (ja) ファン、成型用金型および流体送り装置
KR20120044033A (ko) 공기조화기의 실외기
JP5744209B2 (ja) 空気調和機
JP2007127089A (ja) 遠心送風機及びこれを備えた空気調和装置
JP5024349B2 (ja) 送風機及びこれを用いた空気調和機並びに空気清浄機
JP6377172B2 (ja) プロペラファン、プロペラファン装置および空気調和装置用室外機
JP2010124534A (ja) 電動機用斜流ファンと該斜流ファンを備えた電動機
JP4505885B2 (ja) 送風機及びこれを用いた空気調和機並びに空気清浄機
JP3918207B2 (ja) 空気調和機
JP5769960B2 (ja) 遠心式ファン
EP2476913A2 (en) Outdoor unit for air conditioner
JP2010133297A (ja) 遠心送風機
JP4902718B2 (ja) 遠心送風機および電気掃除機
JP5596510B2 (ja) 空気調和機の室内ユニット
JP5338842B2 (ja) クロスフローファン
JP5293684B2 (ja) 空気調和機の室内機
JP5879486B2 (ja) 送風装置
JP4697132B2 (ja) 空気調和機
JP4775867B1 (ja) ファン、成型用金型および流体送り装置
JP4423921B2 (ja) 遠心送風機及びこれを用いた空気調和機
JP2009203908A (ja) 送風機及び該送風機を備えた空気調和機

Legal Events

Date Code Title Description
A977 Report on retrieval

Free format text: JAPANESE INTERMEDIATE CODE: A971007

Effective date: 20110927

A131 Notification of reasons for refusal

Free format text: JAPANESE INTERMEDIATE CODE: A131

Effective date: 20111129

RD02 Notification of acceptance of power of attorney

Free format text: JAPANESE INTERMEDIATE CODE: A7422

Effective date: 20120104

A521 Written amendment

Free format text: JAPANESE INTERMEDIATE CODE: A523

Effective date: 20120124

TRDD Decision of grant or rejection written
A01 Written decision to grant a patent or to grant a registration (utility model)

Free format text: JAPANESE INTERMEDIATE CODE: A01

Effective date: 20120522

A01 Written decision to grant a patent or to grant a registration (utility model)

Free format text: JAPANESE INTERMEDIATE CODE: A01

A61 First payment of annual fees (during grant procedure)

Free format text: JAPANESE INTERMEDIATE CODE: A61

Effective date: 20120604

FPAY Renewal fee payment (event date is renewal date of database)

Free format text: PAYMENT UNTIL: 20150629

Year of fee payment: 3

LAPS Cancellation because of no payment of annual fees