JP2010018309A - 段積み包装機 - Google Patents

段積み包装機 Download PDF

Info

Publication number
JP2010018309A
JP2010018309A JP2008179994A JP2008179994A JP2010018309A JP 2010018309 A JP2010018309 A JP 2010018309A JP 2008179994 A JP2008179994 A JP 2008179994A JP 2008179994 A JP2008179994 A JP 2008179994A JP 2010018309 A JP2010018309 A JP 2010018309A
Authority
JP
Japan
Prior art keywords
flat solid
stopper
guide portion
flat
packaging machine
Prior art date
Legal status (The legal status is an assumption and is not a legal conclusion. Google has not performed a legal analysis and makes no representation as to the accuracy of the status listed.)
Granted
Application number
JP2008179994A
Other languages
English (en)
Other versions
JP5154322B2 (ja
Inventor
Koji Harada
幸治 原田
Current Assignee (The listed assignees may be inaccurate. Google has not performed a legal analysis and makes no representation or warranty as to the accuracy of the list.)
HARADA SHOKUHIN KIKAI KK
Original Assignee
HARADA SHOKUHIN KIKAI KK
Priority date (The priority date is an assumption and is not a legal conclusion. Google has not performed a legal analysis and makes no representation as to the accuracy of the date listed.)
Filing date
Publication date
Application filed by HARADA SHOKUHIN KIKAI KK filed Critical HARADA SHOKUHIN KIKAI KK
Priority to JP2008179994A priority Critical patent/JP5154322B2/ja
Publication of JP2010018309A publication Critical patent/JP2010018309A/ja
Application granted granted Critical
Publication of JP5154322B2 publication Critical patent/JP5154322B2/ja
Expired - Fee Related legal-status Critical Current
Anticipated expiration legal-status Critical

Links

Images

Landscapes

  • Container Filling Or Packaging Operations (AREA)
  • Containers And Plastic Fillers For Packaging (AREA)

Abstract

【課題】扁平状固形物の段積みを自動的に行うための装置として、小型化が可能な包装機に適用できる段積み包装機を提供する。
【解決手段】開口部が上方を向くように袋体2を保持する袋体保持部50と、開口部の上方であって水平面に対して傾斜して設けられ、扁平状固形物3の自重により上端から下端に向かって扁平状固形物3をスライドさせ、扁平状固形物3を袋体2の所定の底縁部2aに向かって落下させるガイド部32と、所定の底縁部2aに当接せず袋体2の底部の一部に当接し且つ所定の底縁部2aに向かって落下した扁平状固形物3を傾斜した状態で支持する第一の位置と袋体2に当接しない第二の位置とに移動可能なストッパ60と、少なくとも2個の扁平状固形物3が所定の底縁部2aに落下するまでストッパ60を第一の位置に位置させ、その後にストッパ60を第二の位置に移動させる制御部90を備える。
【選択図】図5

Description

本発明は、柔軟性材料により形成され且つ開口部を有する袋体の中に、複数の扁平状固形物の段積みを行う段積み包装機に関するものである。
従来、包装機として、特開2002−046701号公報(特許文献1)などに記載されたものがある。この包装機は、油あげなどの平たなもの(扁平状固形物)を平坦な状態のまま袋詰めすることが可能な装置とされている。また、段積み包装機ではないが、三方シール包装機が、特開2007−176500号公報(特許文献2)に記載されている。
特開2002−046701号公報 特開2007−176500号公報
しかし、特許文献1に記載の包装機は、非常に複雑な機械構成をしており、高コスト化を招来する。そこで、特許文献2に記載の包装機などのような非常に小型な包装機を用いて、複数の扁平状固形物の段積みを行うことができることが要請されている。しかし、特許文献2における袋体への封入物を単に扁平状固形物に置換した場合には、扁平状固形物を平らな状態のまま段積みすることができない。つまり、上方から扁平状固形物を袋体に向かって落下させた場合に、袋体の中での扁平状固形物の向きは、さまざまな向きとなる。例えば、扁平状固形物は袋体の中で傾いた状態となることもある。そのため、人によって、扁平状固形物の向きを修正する作業が必要となる。
本発明は、このような事情に鑑みてなされたものであり、扁平状固形物の段積みを自動的に行うための装置として、小型化が可能な包装機に適用できる段積み包装機を提供することを目的とする。
以下、上記課題を解決するのに適した各手段につき、必要に応じて作用効果等を付記しつつ説明する。
(第一発明)
(手段1)手段1に係る段積み包装機は、
柔軟性材料により形成され且つ開口部を有する袋体の中に、複数の扁平状固形物の段積みを行う段積み包装機であって、
前記開口部が上方を向くように前記袋体を保持する袋体保持部と、
前記開口部の上方であって水平面に対して傾斜して設けられ、前記扁平状固形物の自重により上端から下端に向かって前記扁平状固形物をスライドさせ、前記扁平状固形物を前記袋体の所定の底縁部に向かって落下させるガイド部と、
前記所定の底縁部に当接せず前記袋体の底部の一部に当接し且つ前記所定の底縁部に向かって落下した前記扁平状固形物を傾斜した状態で支持する第一の位置と、前記袋体に当接しない第二の位置とに移動可能なストッパと、
少なくとも2個の前記扁平状固形物が前記所定の底縁部に落下するまで前記ストッパを前記第一の位置に位置させ、その後に前記ストッパを前記第二の位置に移動させる制御部と、
を備えることを特徴とする。
本手段によれば、ガイド部を備えることにより、上端から下端に向かってスライドしてきた扁平状固形物は、袋体の所定の底縁部に向かって落下する。ここで、所定の底縁部とは、袋体の底部の周縁のうちの一部分を意味する。より具体的には、以下のとおりである。袋体の中に扁平状固形物を平らな状態で詰めた場合に、袋体の底部が形成される。もちろん、袋体の中に扁平状固形物を平らな状態で詰める前の状態において、予め袋体の底部が形成されているものもある。そして、このように形成された袋体の底部における周縁のうちの一部分が、所定の底縁部となる。より具体的には、例えば、直方体状の袋体を考えた場合には、袋体の底部の周縁のうち例えば一辺が、所定の底縁部となる。
さらに、扁平状固形物がガイド部から落下してきた場合に、ストッパを第一の位置に位置させているため、落下してきた扁平状固形物はストッパにもたれかかって、傾いた状態を維持する。そして、少なくとも、もう1つの扁平状固形物が落下されるため、袋体の所定の底縁部に位置する2個の扁平状固形物は、傾いた状態且つ重なった状態となる。
その後に、ストッパを第二の位置に移動させる。このとき、傾いており且つ重なった状態の2個の扁平状固形物は、もたれかかっていたストッパがなくなるため、倒れようとする。このとき、支点が袋体の所定の底縁部部分となって扁平状固形物が倒れる。従って、倒れた後の2個の扁平状固形物は、水平に段積みされた状態となる。
ところで、2個の扁平状固形物の段積みを行うことで、これら2個の扁平状固形物により平らに座面が形成されることになる。従って、3個目以上の扁平状固形物を袋体に落下させる場合であっても、2個の扁平状固形物の上に平らに段積みがされる。また、本手段における段積み包装機は、特許文献1のような複雑な構成を採用しておらず、小型化を図ることができる装置となる。
(手段2)手段1の段積み包装機において、
前記ストッパは、基部と自由端部とを備え、
前記自由端部は、水平面に対して前記基部側から前記所定の底縁部に向かって下方に傾斜し、前記第一の位置において前記扁平状固形物を支持するとよい。
袋体に落下してきた扁平状固形物は、袋体の底部に到達する前に、第一の位置に位置するストッパに当接するおそれがある。この場合には、扁平状固形物がストッパに当接して上方へ跳ねるおそれがある。そうすると、扁平状固形物を上述した傾斜状態とすることができないおそれがある。しかし、手段2によれば、ストッパの自由端部を傾斜させることで、ストッパに当接した後であっても、主として、袋体の所定の底縁部へ滑り落ちるような動作となる。従って、袋体に落下してきた扁平状固形物が、安定して目的の傾斜状態とすることができる。
(手段3)手段1または2の段積み包装機において、
前記ガイド部は、少なくとも2個の前記扁平状固形物が前記所定の底縁部に落下した状態において、前記扁平状固形物に当接しない位置に設けられるとよい。
手段3によれば、ストッパを第一の位置から第二の位置へ移動させる際に、少なくとも2個の扁平状固形物がガイド部に当接しないようにすることで、確実に2個の扁平状固形物の段積みができる。
(手段4)手段1〜3の何れかの段積み包装機において、
前記ガイド部のスライド面を通る平面は、水平方向において、前記ストッパのうち前記所定の底縁部側端部より前記袋体の前記所定の底縁部側に設けられるとよい。
手段4によれば、袋体の所定の底縁部に2個の扁平状固形物が落下した状態において、2個目に落下させた扁平状固形物が、1個目に落下させた扁平状固形物の上側に重なるようにできる。つまり、確実に、2個の扁平状固形物の段積みができる。
(手段5)手段1〜4の何れかの段積み包装機において、
前記ガイド部のうち前記扁平状固形物のスライド面に対向して配置され、前記ガイド部との対向距離が上端から下端に行くに連れて小さくなるように設けられた第二のガイド部を備えるとよい。
手段5によれば、扁平状固形物を、ガイド部および第二のガイド部の下端から袋体へ安定して落下させることができる。さらに、ガイド部の下端付近においても、扁平状固形物を安定してスライドさせることができる。これらにより、袋体に落下してきた扁平状固形物が、目標位置に落下することができる。
(手段6)手段5の段積み包装機において、前記第二のガイド部の下端は、前記ガイド部の下端よりも下方に設けられるとよい。手段6によれば、安定して、扁平状固形物を袋体へ落下させることができる。
(手段7)手段5または6の段積み包装機において、前記第一の位置における前記ストッパと前記第二のガイド部の下端との間に、水平方向隙間が形成されている。手段7によれば、ガイド部および第二のガイド部から落下してきた扁平状固形物が、第一の位置に位置するストッパに当接することを回避できる。その結果、袋体に落下してきた扁平状固形物が、安定して目的の傾斜状態とすることができる。
(手段8)手段1〜7の何れかの段積み包装機において、
前記袋体保持部は、前記袋体の下方へ移動させることが可能であり、
前記制御部は、
前記袋体保持部により前記袋体の上下位置を初期位置にセットし、且つ、前記ストッパを前記第一の位置に位置させる第一工程と、
前記第一工程の後に、さらに2以上の前記扁平状固形物が前記所定の底縁部に落下した後に、前記袋体保持部を駆動させることにより前記袋体を下方へ移動させる第二工程と、
前記第二工程の後に、前記ストッパを前記第二の位置に移動させる第三工程と、
を処理するとよい。
手段8によれば、第二工程を行うことで、傾斜状態にある2個以上の扁平状固形物と、袋体の底部との間には、隙間(ゆとり空間)が形成される。従って、第三工程において、扁平状固形物は倒れる動作のみならず、僅かならが落下する動作が加わる。これにより、第三工程において、2以上の扁平状固形物の状態をより確実に水平に段積みされた状態にできる。
(第二発明)
(手段9)手段1に係る段積み包装機は、
柔軟性材料により形成され且つ開口部を有する袋体の中に、複数の扁平状固形物の段積みを行う段積み包装機であって、
前記開口部が上方を向くように前記袋体を保持する袋体保持部と、
前記開口部の上方に設けられる固定ガイド部と、
前記固定ガイド部の下端に設けられるストッパと、
水平面に対して傾斜し、前記扁平状固形物の自重により上端から下端に向かって前記扁平状固形物をスライドさせ、前記扁平状固形物を前記ストッパに向かって落下させ、前記扁平状固形物を前記ストッパに係合させて傾斜した状態で支持する第一の位置と、落下した前記扁平状固形物が前記ストッパに係合している状態を解消する第二の位置とに移動可能な可動ガイド部と、
前記可動ガイド部を前記第一の位置に位置させて1個の前記扁平状固形物を前記ストッパに係合させた後に、前記可動ガイド部を前記第二の位置に移動させて前記扁平状固形物を前記袋体の底部に落下させる動作を少なくとも2回以上繰り返す制御部と、
を備えることを特徴とする。
つまり、本手段における可動ガイド部は、第一の位置と第二の位置とに移動可能である。可動ガイド部における第一の位置は、上述したように、水平面に対して傾斜し、扁平状固形物の自重により上端から下端に向かって扁平状固形物をスライドさせ、扁平状固形物をストッパに向かって落下させ、扁平状固形物をストッパに係合させて傾斜した状態で支持する位置である。また、可動ガイド部における第二の位置は、落下した前記扁平状固形物が前記ストッパに係合している状態を解消する位置である。
本手段によれば、可動ガイド部とストッパを備えることにより、可動ガイド部の上端から下端に向かってスライドしてきた扁平状固形物は、ストッパに係合する。そして、ストッパに係合している状態の扁平状固形物は、可動ガイド部にもたれかかった状態となる。つまり、扁平状固形物は、ストッパと可動ガイド部により、傾斜した状態で支持されている。
その後に、可動ガイド部を第二の位置に移動させる。このとき、傾いていた扁平状固形物は、もたれかかっていた可動ガイド部がなくなるため、倒れようとする。このとき、支点がストッパの位置となって扁平状固形物が倒れる。従って、そして、倒れた後の扁平状固形物は、ストッパとの係合が解消されて、袋体の底部に水平に配置された状態となる。
さらにその後に、再び、可動ガイド部を第一の位置に移動させて、2個目の扁平状固形物を落下させる。2個目の扁平状固形物は、1個目の扁平状固形物と同様の動作を行う。従って、最終的には、2個の扁平状固形物は、水平に段積みされた状態となる。もちろん、3個目以降についても同様の動作を行うことができる。また、本手段における段積み包装機は、特許文献1のような複雑な構成を採用しておらず、小型化を図ることができる装置となる。
(手段10)手段9の段積み包装機において、
前記固定ガイド部に設けられ、前記ストッパに係合する状態の前記扁平状固形物に対して前記可動ガイド部側に向かって押圧力を付与する押圧力付与手段を備えるとよい。
手段10によれば、押圧力付与手段により、可動ガイド部が第一の位置に位置する場合に、可動ガイド部が扁平状固形物を確実に傾斜状態で支持することになり、可動ガイド部が第一の位置から第二の位置へ移動した際に、扁平状固形物を袋体の底部に落下させることができる。
(手段11)手段10の段積み包装機において、前記押圧力付与手段は、板状または棒状からなり、一端を前記固定ガイド部に固定し、他端を前記固定ガイド部から離間した状態となる自由端を構成し、前記他端側の撓み変形により前記扁平状固形物に押圧力を付与するようにしてもよい。これにより、容易な構成で確実に押圧力を付与できる。
(手段12)手段10の段積み包装機において、
前記押圧力付与手段は、
前記固定ガイド部に対して前記可動ガイド部の下端に近接する方向に移動可能に設けられた移動部材と、
前記移動部材を移動させるアクチュエータと、
を備えるようにしてもよい。
これにより、確実に押圧力を付与できる。
以下、本発明の段積み包装機を具体化した実施形態について図面を参照しつつ説明する。本発明の段積み包装機は、柔軟性材料により形成され且つ開口部を有する袋体の中に、複数の扁平状固形物の段積みを行う装置である。
<第一実施形態>
(段積み包装機1の構成)
第一実施形態の段積み包装機1の構成について、図1〜図4を参照して説明する。図1は、第一実施形態の段積み包装機1の正面図である。図2は、段積み包装機1の右側面図である。図3は、図1のA−A断面図である。図4は、図3における筒状枠体31の下端付近を拡大した部分断面図である。なお、図1〜図4において、破線は、包装フィルムを図示している。ここで、第一実施形態においては、本発明の扁平状固形物の例として、個々に真空パックを施されたハンバーグを適用する。つまり、真空パックを施されたハンバーグ複数を袋体2の中に段積みする場合を例に挙げて説明する。
第一実施形態の段積み包装機1は、フレーム10と、原反ロール設置部21と、複数の張り用ローラ22〜26と、筒状枠体31と、ガイド部32と、セイラー40と、送り用ローラ50と、ストッパ60と、縦シール装置71と、横シール装置72と、カッター81と、巾着装置82と、製品送り装置83と、制御装置90とを備えている。
フレーム10は、本体フレーム11とロール設置フレーム12とから構成され、床面に設置されている。本体フレーム11は、矩形柱状の4本の脚部11aと、これら4本の局部11aにより支持される天板11bとから構成される。ロール設置フレーム12は、本体フレーム11の隣に一体的に設けられ、矩形柱状の2本の脚部12aと、この2本の脚部12aおよび本体フレーム11の脚部11aにより支持される天板12bとから構成される。ロール設置フレーム12の天板12bの高さは、本体フレーム11の天板11bの高さよりも低く設置されている。
原反ロール設置部21は、ロール設置フレーム12の天板12b上に設けられ、包装フィルムを巻回した原反ロール21aを載置している。この原反ロール21aに巻回された包装フィルムは、複数の張り用ローラ22〜26により所定の張力を保持され、後述するセイラー40へ送られる。ここで、この包装フィルムは、柔軟性の材料により形成されており、袋体2を形成するためのものである。
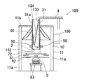
筒状枠体31は、上端および下端が開口された筒状をなし、本体フレーム11の天板11bのほぼ中央に設けられている。詳細には、筒状枠体31の上端は、本体フレーム11の天板11b上面よりも上側に位置し、筒状枠体31の下端は、本体フレーム11の天板11bと床面とのほぼ中央付近に位置している。この筒状枠体31の水平方向断面形状は、長方形をなしている。従って、筒状枠体31を構成する4つの各面は、鉛直方向に平行となるように設置されている。
そして、筒状枠体31の上端開口部付近には、段積み包装を行う扁平状固形物(例:ハンバーグ)3が送られてくるコンベア4が設置されている。つまり、コンベア4により送られてくる扁平状固形物3は、筒状枠体31の上端開口部から筒状枠体31の内部に進入する。つまり、筒状枠体31は、扁平状固形物3の通路をなす。さらに、筒状枠体31の外周面は、原反ロール21aの包装フィルムを筒状に維持する機能も有する。
ここで、筒状枠体31の4面うち、図3の左側の一面31aが、第一の本発明のおける第二のガイド部に相当する。また、筒状枠体31の下端部分には、袋体2が開口部を上方に向けた状態で配置されている。つまり、筒状枠体31は、後述する送り用ローラ50とともに、袋体2を保持する機能も有する。
ガイド部32は、平板状または複数のレール状をなし、筒状枠体31の内部に筒状枠体31に一体的に設けられている。このガイド部32は、図3に示すように、水平面に対して傾斜して設けられている。具体的には、ガイド部32の上端は、筒状枠体31を形成する4面のうち、コンベア4の送り出し端部側の面(図3の右側面)に、接触または僅かな隙間を介して位置している。このガイド部32の上端は、筒状枠体31の上端開口部と同じ高さ、もしくは、筒状枠体31の上端開口部より上側に位置している。一方、ガイド部32の下端は、筒状枠体31を形成する4面のうち、コンベア4の送り出し端部と反対側の面(図3の左側面)31a側に位置している。ただし、ガイド部32の下端と、筒状枠体31のうち図3の左側面31aとの間には、扁平状固形物3が通過可能な程度の水平方向隙間W1が形成されている。
つまり、このガイド部32は、配置される袋体2の開口部の上方であって水平面に対して傾斜して設けられている。筒状枠体31のうち図3の左側面31aとの関係でいうと、ガイド部32の傾斜面は、筒状枠体31のうち図3の左側面31aに対向して配置されている。さらに、筒状枠体31のうち図3の左側面31aとガイド部32との対向距離は、ガイド部32の上端から下端に行くに連れて小さくなるように設けられている。
さらに、ガイド部32は、コンベア4から送り出された扁平状固形物3の自重により、ガイド部32の上端から下端に向かって扁平状固形物3をスライドさせるように作用する。そして、ガイド部32は、スライドしてきた扁平状固形物3を、袋体2の底縁部のうち図3の左端側の底縁部2a(本発明の「所定の底縁部」に相当する)に向かって落下させる。
また、ガイド部32の下端は、筒状枠体31の下端よりも上方に位置している。すなわち、ガイド部32の下端と筒状枠体31の下端との間に鉛直方向隙間W2を有している。ガイド部32の下端は、2個の扁平状固形物3が袋体2の所定の底縁部2aに落下した状態において、扁平状固形物3が当接しない位置に設けられている。
セイラー40は、張り用ローラ26から送り出された帯状の包装フィルムを筒状に形成するための部材である。このセイラー40は、三角錐のような形状をなしており、筒状枠体31の囲むように設けられている。一方、セイラー40の三角錐の底辺の一辺は、張り用ローラ26の近傍に設けられている。つまり、セイラー40を通過した包装フィルムは、筒状枠体31の周囲に倣う形状、すなわち、四角筒状に形成される。
送り用ローラ50は、筒状枠体31の下端付近であって、筒状枠体31の図3の左右両側の外周面にそれぞれ当接して設けられている。そして、送り用ローラ50と筒状枠体31とにより、四角筒状に形成された包装フィルムを挟み込んでいる。この四角筒状の下方には、袋体2が位置しているため、送り用ローラ50は、筒状枠体31とともに袋体2を保持する機能を有することになる。さらに、この送り用ローラ50は、後述する制御装置90により、回転角を制御されている。つまり、送り用ローラ50を回転させることで、筒状枠体31の外周面に形成された四角筒状の包装フィルムが下方へ送り出される。
ストッパ60は、水平方向に延びる板状をなしており、図2、3において筒状枠体31よりも右側に位置する基部61と、基部61よりも左側に位置する自由端部62とを備える。基部61は、水平面に平行な平板状をなしている。基部61は、筒状枠体31の下端よりも低い位置であって、筒状枠体31および送り用ローラ50に保持された袋体2の底部よりも高い位置に設けられている。自由端部62は、水平面に対して基部61側から所定の底縁部2aに向かって下方に傾斜している。
このストッパ60は、水平方向のうち図2、3の左右方向に平行移動可能とされている。つまり、ストッパ60は、図2、3の左側である第一の位置と、図2、3の右側である第二の位置とに移動可能である。ストッパ60の第一の位置とは、自由端部62が袋体2の所定の底縁部2aに当接せず、少なくとも自由端部62が袋体2の底部の一部に当接している位置である。さらに、当該第一の位置は、ガイド部32から袋体2の所定の底縁部2aに向かって落下した扁平状固形物3を傾斜した状態で自由端部62が支持する位置である。第二の位置は、ストッパ60全体が袋体2に当接しない位置である。当然に、第二の位置にあるストッパ60には、袋体2の中に落下してきた扁平状固形物3が当接することもない。
さらに、第一の位置に位置するストッパ60の自由端部62は、ガイド部32のスライド面を通る平面との間に、水平方向隙間W3が形成されている。つまり、ガイド部32のスライド面を通る平面は、水平方向において、第一の位置に位置するストッパ60の自由端部62より、袋体2の所定の底縁部2a側、すなわち、図3の左側に設けられている。さらに、第一の位置に位置するストッパ60と、筒状枠体31を形成する4面のうち図3の左側31aとの間には、水平方向隙間W4が形成されている。
縦シール装置71は、筒状枠体31のうち図1の右側に設けられ、四角筒状に形成された包装フィルムのうち、上下方向に開いている部位をシールする。横シール装置72は、筒状枠体31およびストッパ60の下方に設けられ、筒状枠体31から下方へ送り出された四角筒状の包装フィルムの下端部を水平方向にシールする。従って、縦シール装置71および横シール装置72によりそれぞれシールされた包装フィルムは、上方のみに開口部を有する袋体2となる。さらに、横シール装置72は、扁平状固形物3が入れられた袋体2の上端部を水平方向にシールすることも可能である。通常、袋体2の上端部のシールは、巾着装置82による巾着閉じと選択的に行う。
カッター81は、横シール装置72の下方に位置し、筒状枠体31に保持されている袋体2が、下方へ送り出された後に、袋体2の開口部をカットする。巾着装置82は、カッター81により袋体2の上方をカットされた1個の袋体2の開口部に対して、巾着閉じを行う装置である。製品送り装置83は、カッター81および巾着装置82の下方であって、床面に設置されており、中に扁平状固形物3が段積みされた状態の袋体2を、図1の右側に排出する装置である。
制御装置90は、送り用ローラ50の回転制御、ストッパ60の位置制御、縦シール装置71および横シール装置72の制御、カッター81、巾着装置82および製品送り装置83の制御を行う。特に、制御装置90は、ストッパ60の位置制御において、2個の扁平状固形物3が袋体2の所定の底縁部2aに落下するまでストッパ60を第一の位置に位置させ、その後にストッパ60を第二の位置に移動させる。このことの詳細については、後述する。
(段積み包装機1の動作)
次に、上述した段積み包装機1の動作について、図5および図6を参照して説明する。図5および図6は、1個目の扁平状固形物3がコンベア4から筒状枠体31へ投入された状態から、3個の扁平状固形物3を袋体2の中に段積みして最終製品として完成するまでにおける、各工程を図示している。
まず、縦シール装置71により、筒状枠体31の外周面に位置する四角筒状に形成された包装フィルムのうち、外周面の上下方向に開いている部位をシールしておく。また、筒状枠体31の下方に位置する包装フィルムの下端部は、横シール装置72によりシールされている。
そして、図5(a)に示すように、ストッパ60を第一の位置に位置させておく。この状態で、1個目の扁平状固形物3が筒状枠体31の上端開口部に投入される。そうすると、図5(a)に示すように、扁平状固形物3は、ガイド部32の下端に向かって、ガイド部32のスライド面をスライドする。続いて、図5(b)に示すように、ガイド部32の下端から下方においては、ガイド部32の傾斜によって、扁平状固形物3は、袋体2の所定の底縁部2aに向かって落下する。扁平状固形物3の下端が袋体2の所定の底縁部2aに到達した後には、扁平状固形物3はガイド部32に当接していない。従って、扁平状固形物3は、袋体2の所定の底縁部2aとの当接箇所を支点として、図5(b)の右側に倒れるように回転する。そうすると、扁平状固形物3は、ストッパ60の自由端部62に当接する。ストッパ60の自由端部62は、袋体2の所定の底縁部2aよりも上方に位置するため、扁平状固形物3は、傾斜した状態でストッパ60の自由端部62に支持される。
続いて、2個目の扁平状固形物3が筒状枠体31の上端開口部から投入される。そうすると、図5(c)に示すように、扁平状固形物3は、ガイド部32の下端に向かって、ガイド部32のスライド面をスライドする。続いて、図5(d)に示すように、ガイド部32の下端から下方においては、ガイド部32の傾斜によって、扁平状固形物3は、袋体2の所定の底縁部2aに向かって落下する。ただし、1個目に投入された扁平状固形物3が存在するため、2個目の扁平状固形物3は、1個目の扁平状固形物3の上側に重なるようになる。2個目の扁平状固形物3の下端が1個目の扁平状固形物3に到達した後には、2個目の扁平状固形物3はガイド部32に当接していない。つまり、ガイド部32と2個目の扁平状固形物3との間に隙間W5を有する。従って、図5(e)に示すように、2個目の扁平状固形物3は、袋体2の所定の底縁部2a付近を支点として、図5(e)の右側に倒れるように回転する。そうすると、2個目の扁平状固形物3は、ストッパ60の自由端部62に支持されている1個目の扁平状固形物3と同じ傾斜角度で、1個目の扁平状固形物3の上に重なるように支持される。
続いて、図5(f)に示すように、送り用ローラ50を回転駆動させることで、包装フィルムを下方へ送る。従って、送り用ローラ50に支持されている袋体2そのものも、同様に、下方へ移動する。ただし、袋体2は、ストッパ60に支持されているため、袋体2の所定の底縁部2a付近のみが下方へ移動する。このとき、袋体2に投入された2個の扁平状固形物3、3はストッパ60に引っかかっているため、この扁平状固形物3、3の位置はほとんど変化しない。従って、扁平状固形物3と袋体2の所定の底縁部2aとの間に、隙間(ゆとり空間)が形成される。
続いて、図6(a)に示すように、ストッパ60を第二の位置へ移動させる。つまり、ストッパ60は、袋体2に当接しない位置へ移動する。ストッパ60が第一の位置に存在していた場合には、2個の扁平状固形物3、3は、傾斜状態となるようにストッパ60により支持されていた。しかし、ストッパ60が第二の位置へ移動することに伴って、2個の扁平状固形物3、3は、袋体2の所定の底縁部2a付近を支点として回転する。そして、2個の扁平状固形物3、3は、ほぼ水平状態で段積みされる。
続いて、3個目の扁平状固形物3が筒状枠体31の上端開口部から投入される。そうすると、図6(b)に示すように、3個目の扁平状固形物3は、ガイド部32の下端に向かって、ガイド部32のスライド面をスライドする。続いて、図6(c)に示すように、ガイド部32の下端から下方においては、ガイド部32の傾斜によって、扁平状固形物3は、袋体2の所定の底縁部2aに向かって落下する。ただし、既に水平状態に段積みされた2個の扁平状固形物3が存在する。従って、2個の扁平状固形物3、3が平らに座面を構成するため、3個目の扁平状固形物3は、2個目の扁平状固形物3の上側に水平状態で段積みされる。
続いて、図6(d)に示すように、扁平状固形物3が段積みされた袋体2の開口部をカッター81によりカット可能な位置まで、送り用ローラ50を回転駆動させて包装フィルムを下方へ送る。その後に、横シール装置72により、包装フィルムのうち、扁平状固形物3が入れられた袋体2として形成する部分よりも上方を水平方向にシールする。つまり、このシール部位は、次の袋体2の下端部分に相当する。同時に、縦シール装置71により、筒状枠体31の外周面に位置する四角筒状に形成された包装フィルムのうち、外周面の上下方向に開いている部位をシールする。
続いて、図6(e)に示すように、カッター81により、横シールされた部位よりも僅かに下方をカットする。同時に、巾着装置82により、袋体2の開口部を閉じる。そして、完成した製品は、製品送り装置83により、本体フレーム11の外側に排出される。
(段積み包装機1による効果)
以上説明した段積み包装機1においては、ガイド部32およびストッパ60を備えることにより、3個の扁平状固形物を水平に段積みできる。上記実施形態においては、3個の扁平状固形物3を段積みする例を示したが、もちろん2個の場合にも適用できる。さらには、4個以上の場合にも同様に適用できる。この場合、3個目の扁平状固形物3を投入したときと同様に、既に3個以上の扁平状固形物が水平に段積みされているため、4個以上の場合にも水平に段積み可能となる。
ここで、ガイド部32の下端から袋体2に落下してきた扁平状固形物3は、袋体2の底部に到達する前に、第一の位置に位置するストッパ60に当接するおそれがある。この場合には、扁平状固形物3がストッパ60に当接して上方へ跳ねるおそれがある。そうすると、扁平状固形物3を適切な傾斜状態とすることができないおそれがある。しかし、ストッパ60の自由端部62を傾斜させることで、ストッパ60に当接した後であっても、主として、袋体2の所定の底縁部2aへ滑り落ちるような動作をする。従って、ガイド部32の下端から袋体2に落下してきた扁平状固形物3が、安定して目的の傾斜状態とすることができる。
また、ガイド部32は、少なくとも2個の扁平状固形物3、3が袋体2の所定の底縁部2aに落下した状態において、扁平状固形物3、3に当接しない位置に設けられている。このように、ストッパ60を第一の位置から第二の位置へ移動させる際に、少なくとも2個の扁平状固形物3、3がガイド部32に当接しないようにすることで、確実に2個の扁平状固形物3、3の段積みができる。
また、ガイド部32のスライド面を通る平面は、水平方向において、ストッパ60のうち所定の底縁部2a側端部より袋体2の所定の底縁部2a側に設けられている。これにより、袋体2の所定の底縁部2aに2個の扁平状固形物3、3が落下した状態において、2個目に落下させた扁平状固形物3が、1個目に落下させた扁平状固形物3の上側に重なるようにできる。つまり、確実に、2個の扁平状固形物3、3の水平な段積みができる。
また、筒状枠体31の図3の左側面31aが、ガイド部32のうち扁平状固形物3のスライド面に対向して配置され、ガイド部32との対向距離が上端から下端に行くに連れて小さくなるように設けられている。これにより、扁平状固形物3を、ガイド部32および筒状枠体31の当該面の下端から袋体2の所定の底縁部2aへ安定して落下させることができる。さらに、ガイド部32の下端付近においても、扁平状固形物3を安定してスライドさせることができる。これらにより、袋体2に落下してきた扁平状固形物3が、目標位置に落下することができる。
また、第一の位置におけるストッパ60と筒状枠体31の図3の左側面31aとの間に、水平方向隙間W3が形成されている。これにより、ガイド部32から落下してきた扁平状固形物3が、第一の位置に位置するストッパ60に当接することを回避できる。その結果、袋体2に落下してきた扁平状固形物3が、安定して目的の傾斜状態とすることができる。
また、図5(f)に示すように、傾斜状態にある2個以上の扁平状固形物3、3と、袋体2の底部との間に、隙間(ゆとり空間)を形成している。これにより、図6(a)に示す次の工程において、扁平状固形物3、3は倒れる動作のみならず、僅かならが落下する動作が加わる。これにより、2以上の扁平状固形物3、3の状態をより確実に水平に段積みされた状態にできる。
<第一実施形態の変形態様>
上記実施形態においては、図5(f)に示すように、2個の扁平状固形物3、3がストッパ60に支持されている状態において、包装フィルムを下方へ送るようにしている。この他に、包装フィルムを下方へ送る動作を行わなくても段積みが可能である。ただし、より確実に段積みするには、包装フィルムを下方へ僅かに送る方がよい。
また、上記実施形態においては、2個の扁平状固形物3、3を水平に段積みした後に、ストッパ60を第二の位置へ移動させている。この他に、3個またはそれ以上の扁平状固形物3を投入して、これらがストッパ60により傾斜状態に支持された後に、ストッパ60を第二の位置へ移動させることも可能である。ただし、傾斜状態にある全ての扁平状固形物3とガイド部32との隙間を確保する必要がある。このようにするまでもなく、最小個数の2個の扁平状固形物3、3を水平に段積みしさえすれば、3個目以上の扁平状固形物3を投入しても、水平に段積みできる。
また、ストッパ60の自由端部62を傾斜させたが、基部61と同一平面状に形成してもよい。ただし、この場合には、自由端部62を傾斜させることによる効果を発揮することができない。
<第二実施形態>
(段積み包装機100の構成)
第二実施形態の段積み包装機100の構成について、図7を参照して説明する。図7は、第一実施形態の図3に対応する図であって、第二実施形態の段積み包装機100の縦方向断面図である。
第二実施形態の段積み包装機100は、第一実施形態の段積み包装機1に対して、第一実施形態のストッパ60を廃止し、可動ガイド部133の構成を変更し、新たにストッパ132および押圧力付与板134を追加したことが相違する。以下に相違点のみについて説明する。その他の共通点については、同一符号を付して説明を省略する。
第二実施形態の段積み包装機100は、フレーム10と、原反ロール設置部21と、複数の張り用ローラ22〜26と、筒状枠体31と、枠体固定ストッパ132と、可動ガイド部133と、押圧力付与板134と、セイラー40と、送り用ローラ50と、縦シール装置71と、横シール装置72と、カッター81と、巾着装置82と、製品送り装置83と、制御装置190とを備えている。
筒状枠体31は、上端および下端が開口された筒状をなし、本体フレーム11の天板11bのほぼ中央に設けられている。詳細には、筒状枠体31の上端は、本体フレーム11の天板11b上面よりも上側に位置し、筒状枠体31の下端は、本体フレーム11の天板11bと床面とのほぼ中央付近に位置している。この筒状枠体31の水平方向断面形状は、長方形をなしている。従って、筒状枠体31を構成する4つの各面は、鉛直方向に平行となるように設置されている。
ここで、筒状枠体31の4面うち、図7の左側の一面31aが、第二の本発明のおける固定ガイド部に相当する。また、筒状枠体31の下端部分には、袋体2が開口部を上方に向けた状態で配置されている。つまり、筒状枠体31は、後述する送り用ローラ50とともに、袋体2を保持する機能も有する。
枠体固定ストッパ132は、筒状枠体31の図7の左側面31aの下端に、当該左側面31aに対向する面(図7の右側面)の向きに屈曲形成されている。つまり、枠体固定ストッパ132は、筒状枠体31の図7の左側面31aから、筒中心向きに突出している。この枠体固定ストッパ132の先端と筒状枠体31の図7の右側面との対向距離は、扁平状固形物3の長さと同程度に設定されている。詳細には、この対向距離は、扁平状固形物3の種類に応じて、扁平状固形物3の長さより長く設定したり、扁平状固形物3の長さより僅かに短く設定したりする。
可動ガイド部133は、平板状または複数のレール状をなし、筒状枠体31の内部に設けられている。この可動ガイド部133は、上端を中心に揺動可能である。つまり、可動ガイド部133は、第一の位置と第二の位置とを移動可能である。第一の位置に位置する可動ガイド部133は、水平面に対して傾斜して設けられている。具体的には、可動ガイド部133の上端は、筒状枠体31を形成する4面のうちコンベア4側の面に、接触または僅かな隙間を介して位置している。この可動ガイド部133の上端は、筒状枠体31の上端開口部と同じ高さ、もしくは、筒状枠体31の上端開口部より上側に位置している。一方、第一の位置に位置する可動ガイド部133の下端は、筒状枠体31の図7の左側面31a側に位置している。ただし、この可動ガイド部133の下端と、筒状枠体31の図7の左側面31aとの間には、扁平状固形物3が侵入可能な程度の水平方向隙間が形成されている。
つまり、この第一の位置に位置する可動ガイド部133は、配置される袋体2の開口部の上方であって水平面に対して傾斜して設けられている。筒状枠体31のうち図7の左側面31aとの関係でいうと、可動ガイド部133の傾斜面は、筒状枠体31のうち図7の左側面31aに対向して配置されている。さらに、筒状枠体31のうち図7の左側面31aと可動ガイド部133との対向距離は、可動ガイド部133の上端から下端に行くに連れて小さくなるように設けられている。
さらに、第一の位置に位置する可動ガイド部133は、コンベア4から送り出された扁平状固形物3の自重により、可動ガイド部133の上端から下端に向かって扁平状固形物3をスライドさせるように作用する。そして、第一の位置に位置する可動ガイド部133のスライド面の延長線上には、枠体固定ストッパ132の先端部が存在する。従って、この可動ガイド部133は、スライドしてきた扁平状固形物3を枠体固定ストッパ132に向かって落下させ、扁平状固形物3を枠体固定ストッパ132に係合させて傾斜した状態で支持する。
一方、第二の位置に位置する可動ガイド部133は、筒状枠体31の図7の右側面にほぼ平行であって、当該図7の右側面に接触または僅かな隙間を介して位置する。つまり、第二の位置に位置する可動ガイド部133は、第一の位置に位置する可動ガイド部133と比較して、枠体固定ストッパ132から大きく遠ざかる。つまり、可動ガイド部133を第一の位置から第二の位置へ移動させることで、枠体固定ストッパ132に係合している状態の扁平状固形物3に対して、枠体固定ストッパ132との係合状態を解消するようにできる。
押圧力付与板134は、筒状枠体31の図7の左側面31aの筒内側に固定されている。具体的には、押圧力付与板134の一端が、筒状枠体31の図7の左側面31aに固定され、押圧力付与板134の他端が、筒状枠体31の図7の左側面31aから離間した状態となる自由端を構成している。従って、この押圧力付与板134の他端(自由端)は、固定端側を支点として、撓み変形する。
そして、押圧力付与板134の他端(自由端)は、押圧力付与板134の一端(固定端)より下方に位置している。この押圧力付与板134の他端(自由端)は、第一の位置に位置する可動ガイド部133の下端よりも僅かに上方に位置するように設定されている。さらに、押圧力付与板134の他端(自由端)は、第一の位置に位置する可動ガイド部133のスライド面に対して、水平方向に隙間が形成されている。この隙間は、扁平状固形物3の厚みよりも僅かに小さく設定されている。
制御装置190は、送り用ローラ50の回転制御、可動ガイド部133の位置制御、縦シール装置71および横シール装置72の制御、カッター81、巾着装置82および製品送り装置83の制御を行う。特に、制御装置190は、可動ガイド部133を第一の位置に位置させて1個の扁平状固形物3を枠体固定ストッパ132に係合させた後に、可動ガイド部133を第二の位置に移動させて扁平状固形物3を袋体2の底部に落下させる動作を少なくとも2回以上繰り返す。制御装置190の制御により、袋体2の底部に扁平状固形物3が2段以上段積みされる。
(段積み包装機100の動作)
次に、上述した段積み包装機100の動作について、図8および図9を参照して説明する。図8は、1個目の扁平状固形物3がコンベア4から筒状枠体31へ投入された状態から、この1個目の扁平状固形物3を袋体2の中に水平状態に投入するまでの各工程を図示している。図9は、2個目の扁平状固形物3がコンベア4から筒状枠体31へ投入された状態から、この2個目の扁平状固形物3を袋体2の中に水平に段積みするまでの各工程を図示している。
図8(a)に示すように、可動ガイド部133を第一の位置に位置させておく。この状態で、1個目の扁平状固形物3が筒状枠体31の上端開口部に投入される。そうすると、扁平状固形物3は、可動ガイド部133の下端に向かって、可動ガイド部133のスライド面をスライドする。続いて、図8(b)に示すように、扁平状固形物3は、押圧力付与板134の自由端を押し付けながら、可動ガイド部133のスライド面をさらに下方へスライドする。つまり、押圧力付与板134は、筒状枠体31の図7の左側面31a側に、撓み変形している。そして、扁平状固形物3が枠体固定ストッパ132に当接する位置まで移動する。このとき、扁平状固形物3は、可動ガイド部133と押圧力付与板134とに挟まれた状態となる。なお、扁平状固形物3は、傾斜状態で挟まれている。
続いて、図8(c)に示すように、可動ガイド部133を第二の位置へ移動する。そうすると、扁平状固形物3は、挟まれていた一方の部材がなくなり、且つ、傾斜状態であったため、枠体固定ストッパ132との当接位置を支点として、図8(d)の右側に倒れるように回転する。このとき、押圧力付与板134は、元の形状に戻るように作用する。つまり、押圧力付与板134は、枠体固定ストッパ132に係合していた扁平状固形物3に対して、可動ガイド部133側(図8(d)の右側)に向かって押圧力を付与する。従って、扁平状固形物3は、確実に、枠体固定ストッパ132との当接位置を支点として、図8(d)の右側に倒れるように回転する。
そうすると、図8(e)に示すように、扁平状固形物3は支持される部材がなくなるため、水平に近い状態で袋体2の底部へ向かって落下する。このように、1個目の扁平状固形物3は、袋体2の底部に水平状態で位置することになる。
続いて、図9(a)に示すように、可動ガイド部133を第一の位置に移動する。この状態で、2個目の扁平状固形物3が筒状枠体31の上端開口部に投入される。そうすると、2個目の扁平状固形物3は、可動ガイド部133の下端に向かって、可動ガイド部133のスライド面をスライドする。続いて、図9(b)に示すように、扁平状固形物3は、押圧力付与板134の自由端を押し付けながら、可動ガイド部133のスライド面をさらに下方へスライドする。つまり、押圧力付与板134は、筒状枠体31の図7の左側面31a側に、撓み変形している。そして、扁平状固形物3が枠体固定ストッパ132に当接する位置まで移動する。このとき、扁平状固形物3は、可動ガイド部133と押圧力付与板134とに挟まれた状態となる。なお、扁平状固形物3は、傾斜状態で挟まれている。
続いて、図9(c)に示すように、可動ガイド部133を第二の位置へ移動する。そうすると、扁平状固形物3は、挟まれていた一方の部材がなくなり、且つ、傾斜状態であったため、枠体固定ストッパ132との当接位置を支点として、図9(d)の右側に倒れるように回転する。このとき、押圧力付与板134は、元の形状に戻るように作用する。つまり、押圧力付与板134は、枠体固定ストッパ132に係合していた扁平状固形物3に対して、可動ガイド部133側(図9(d)の右側)に向かって押圧力を付与する。従って、扁平状固形物3は、確実に、枠体固定ストッパ132との当接位置を支点として、図9(d)の右側に倒れるように回転する。そうすると、図9(e)に示すように、扁平状固形物3は支持される部材がなくなるため、水平に近い状態で袋体2の底部へ向かって落下する。
このとき、既に1個目に投入した扁平状固形物3が水平状態で袋体2の底部に位置しているため、その上に2個目の扁平状固形物3が段積みされる。このようにして、3個目の扁平状固形物3を段積みして、その後は、第一実施形態と同様に、カッター装置81でカットし、且つ、巾着装置82で袋体2の開口部を閉じる。そして、完成した製品は、製品送り装置83により、本体フレーム11の外側に排出される。
以上説明した段積み包装機100により、確実に複数の扁平状固形物3を水平に段積み可能となる。さらに、押圧力付与板134を備えることにより、より確実に、扁平状固形物3を水平状態にて袋体2の底部に落下させることができる。また、この押圧力付与板134は、簡易な構成であるため、低コスト化を図ることができる。
<第二実施形態の変形態様>
上記の第二実施形態においては、押圧力付与板134を用いたが、押圧力付与板134を用いない構成でも採用可能である。ただし、押圧力付与板134を用いることで、より確実な上記効果を奏することができる。
また、この押圧力付与板134を他の構成としたものを、図10を参照して説明する。図10は、第二実施形態の図7に対応する図であって、第二実施形態の変形態様を示す段積み包装機200の縦方向断面図である。この段積み包装機200は、第二実施形態の段積み包装機100の押圧力付与板134を廃止し、新たに、移動部材201と、アクチュエータ202を追加したことが相違する。他の構成は、第二実施形態の段積み包装機100と同一である。
移動部材201は、筒状枠体31の図10の左側面31aに対して、可動ガイド部133の下端に近接する方向に移動可能に設けられている。具体的には、移動部材201は、水平面に対して傾斜し、第一の位置に位置する可動ガイド部133の傾斜角度に近い角度に傾斜している。アクチュエータ202は、筒状枠体31の図10の左側面31aの筒内側のうち、上端付近に固定されている。このアクチュエータ202は、空圧シリンダなどにより構成されている。そして、アクチュエータ202のピストンロッドが下方へ伸縮するように配置されている。このピストンロッドの先端には、上述した移動部材201が固定されている。このアクチュエータ202は、制御装置190により制御されている。
この構成においては、以下の動作を行う。扁平状固形物3が枠体固定ストッパ132に係合する状態となった後に、可動ガイド部133を揺動させると同時に、アクチュエータ202を駆動して移動部材201を下方へ移動させる。つまり、扁平状固形物3は、可動ガイド部133による支持が解放されるとともに、移動部材201により図10の右側に倒れるように動作する。その他は第二実施形態と同様である。つまり、この変形態様においても、第二実施形態と同様に、確実に、複数の扁平状固形物3を水平に段積みすることができる。
また、上記第二実施形態においては、可動ガイド部133が、その上端を中心に揺動するようにした。この他に、可動ガイド部133は、傾斜方向にスライド可能な構成とすることも可能である。この場合、以下のような動作となる。
可動ガイド部133が傾斜方向下側に位置している場合に、扁平状固形物3をスライドさせて、枠体固定ストッパ132に係合させる。つまり、このことは、第二実施形態における、可動ガイド部133が第一の位置に位置する場合と同様の動作となる。
その後に、可動ガイド部133を傾斜方向上側に移動させることで、枠体固定ストッパ132に係合している状態の扁平状固形物3に対して、枠体固定ストッパ132との係合状態を解消させる。つまり、このことは、第二実施形態における、可動ガイド部133が第二の位置に位置する場合と同様の動作となる。このようにすることで、第二実施形態と同様の効果を発揮することができる。
第一実施形態の段積み包装機1の正面図である。 段積み包装機1の右側面図である。 図1のA−A断面図である。 図3における筒状枠体31の下端付近を拡大した部分断面図である。 図6と合わせて、1個目の扁平状固形物3がコンベア4から筒状枠体31へ投入された状態から、3個の扁平状固形物3を袋体2の中に段積みして最終製品として完成するまでにおける、各工程を図示する。 図5と合わせて、1個目の扁平状固形物3がコンベア4から筒状枠体31へ投入された状態から、3個の扁平状固形物3を袋体2の中に段積みして最終製品として完成するまでにおける、各工程を図示する。 第二実施形態の段積み包装機100の縦方向断面図である。 1個目の扁平状固形物3がコンベア4から筒状枠体31へ投入された状態から、この1個目の扁平状固形物3を袋体2の中に水平状態に投入するまでの各工程を図示する。 2個目の扁平状固形物3がコンベア4から筒状枠体31へ投入された状態から、この2個目の扁平状固形物3を袋体2の中に水平に段積みするまでの各工程を図示する。 第二実施形態の変形態様を示す段積み包装機200の縦方向断面図である。
符号の説明
1、100、200:段積み包装機
2:袋体、 3:扁平状固形物、 4:コンベア
10:フレーム、 11:本体フレーム、 11a:脚部、 11b:天板
12:ロール設置フレーム、 12a:脚部、 12b:天板
21:原反ロール設置部、 21a:原反ロール
22〜26:張り用ローラ、
31:筒状枠体、 32:ガイド部、 40:セイラー、 50:送り用ローラ
60:ストッパ、 61:基部、 62:自由端部
71:縦シール装置、 72:横シール装置
81:カッター、 82:巾着装置、 83:製品送り装置
90、190:制御装置
132:枠体固定ストッパ、 133:可動ガイド部、 134:押圧力付与板
201:移動部材、 202:アクチュエータ

Claims (12)

  1. 柔軟性材料により形成され且つ開口部を有する袋体の中に、複数の扁平状固形物の段積みを行う段積み包装機であって、
    前記開口部が上方を向くように前記袋体を保持する袋体保持部と、
    前記開口部の上方であって水平面に対して傾斜して設けられ、前記扁平状固形物の自重により上端から下端に向かって前記扁平状固形物をスライドさせ、前記扁平状固形物を前記袋体の所定の底縁部に向かって落下させるガイド部と、
    前記所定の底縁部に当接せず前記袋体の底部の一部に当接し且つ前記所定の底縁部に向かって落下した前記扁平状固形物を傾斜した状態で支持する第一の位置と、前記袋体に当接しない第二の位置とに移動可能なストッパと、
    少なくとも2個の前記扁平状固形物が前記所定の底縁部に落下するまで前記ストッパを前記第一の位置に位置させ、その後に前記ストッパを前記第二の位置に移動させる制御部と、
    を備えることを特徴とする段積み包装機。
  2. 前記ストッパは、基部と自由端部とを備え、
    前記自由端部は、水平面に対して前記基部側から前記所定の底縁部に向かって下方に傾斜し、前記第一の位置において前記扁平状固形物を支持する請求項1に記載の段積み包装機。
  3. 前記ガイド部は、少なくとも2個の前記扁平状固形物が前記所定の底縁部に落下した状態において、前記扁平状固形物に当接しない位置に設けられる請求項1または2に記載の段積み包装機。
  4. 前記ガイド部のスライド面を通る平面は、水平方向において、前記ストッパのうち前記所定の底縁部側端部より前記袋体の前記所定の底縁部側に設けられる請求項1〜3の何れか一項に記載の段積み包装機。
  5. 前記ガイド部のうち前記扁平状固形物のスライド面に対向して配置され、前記ガイド部との対向距離が上端から下端に行くに連れて小さくなるように設けられた第二のガイド部を備える請求項1〜4の何れか一項に記載の段積み包装機。
  6. 前記第二のガイド部の下端は、前記ガイド部の下端よりも下方に設けられる請求項5に記載の段積み包装機。
  7. 前記第一の位置における前記ストッパと前記第二のガイド部の下端との間に、水平方向隙間が形成されている請求項5または6に記載の段積み包装機。
  8. 前記袋体保持部は、前記袋体の下方へ移動させることが可能であり、
    前記制御部は、
    前記袋体保持部により前記袋体の上下位置を初期位置にセットし、且つ、前記ストッパを前記第一の位置に位置させる第一工程と、
    前記第一工程の後に、さらに2以上の前記扁平状固形物が前記所定の底縁部に落下した後に、前記袋体保持部を駆動させることにより前記袋体を下方へ移動させる第二工程と、
    前記第二工程の後に、前記ストッパを前記第二の位置に移動させる第三工程と、
    を処理する請求項1〜7の何れか一項に記載の段積み包装機。
  9. 柔軟性材料により形成され且つ開口部を有する袋体の中に、複数の扁平状固形物の段積みを行う段積み包装機であって、
    前記開口部が上方を向くように前記袋体を保持する袋体保持部と、
    前記開口部の上方に設けられる固定ガイド部と、
    前記固定ガイド部の下端に設けられるストッパと、
    水平面に対して傾斜し、前記扁平状固形物の自重により上端から下端に向かって前記扁平状固形物をスライドさせ、前記扁平状固形物を前記ストッパに向かって落下させ、前記扁平状固形物を前記ストッパに係合させて傾斜した状態で支持する第一の位置と、落下した前記扁平状固形物が前記ストッパに係合している状態を解消する第二の位置とに移動可能な可動ガイド部と、
    前記可動ガイド部を前記第一の位置に位置させて1個の前記扁平状固形物を前記ストッパに係合させた後に、前記可動ガイド部を前記第二の位置に移動させて前記扁平状固形物を前記袋体の底部に落下させる動作を少なくとも2回以上繰り返す制御部と、
    を備えることを特徴とする段積み包装機。
  10. 前記固定ガイド部に設けられ、前記ストッパに係合する状態の前記扁平状固形物に対して前記可動ガイド部側に向かって押圧力を付与する押圧力付与手段を備える請求項9に記載の段積み包装機。
  11. 前記押圧力付与手段は、板状または棒状からなり、一端を前記固定ガイド部に固定し、他端を前記固定ガイド部から離間した状態となる自由端を構成し、前記他端側の撓み変形により前記扁平状固形物に押圧力を付与する請求項10に記載の段積み包装機。
  12. 前記押圧力付与手段は、
    前記固定ガイド部に対して前記可動ガイド部の下端に近接する方向に移動可能に設けられた移動部材と、
    前記移動部材を移動させるアクチュエータと、
    を備える請求項10に記載の段積み包装機。
JP2008179994A 2008-07-10 2008-07-10 段積み包装機 Expired - Fee Related JP5154322B2 (ja)

Priority Applications (1)

Application Number Priority Date Filing Date Title
JP2008179994A JP5154322B2 (ja) 2008-07-10 2008-07-10 段積み包装機

Applications Claiming Priority (1)

Application Number Priority Date Filing Date Title
JP2008179994A JP5154322B2 (ja) 2008-07-10 2008-07-10 段積み包装機

Publications (2)

Publication Number Publication Date
JP2010018309A true JP2010018309A (ja) 2010-01-28
JP5154322B2 JP5154322B2 (ja) 2013-02-27

Family

ID=41703615

Family Applications (1)

Application Number Title Priority Date Filing Date
JP2008179994A Expired - Fee Related JP5154322B2 (ja) 2008-07-10 2008-07-10 段積み包装機

Country Status (1)

Country Link
JP (1) JP5154322B2 (ja)

Cited By (1)

* Cited by examiner, † Cited by third party
Publication number Priority date Publication date Assignee Title
WO2024090097A1 (ja) * 2022-10-28 2024-05-02 Phcホールディングス株式会社 薬剤供給装置

Citations (3)

* Cited by examiner, † Cited by third party
Publication number Priority date Publication date Assignee Title
JPS5017372U (ja) * 1973-06-13 1975-02-25
JPS5398059U (ja) * 1977-01-07 1978-08-09
JP2002504462A (ja) * 1998-02-24 2002-02-12 フォッケ・ウント・コンパニー(ゲーエムベーハー・ウント・コンパニー) カートンを充填する方法とデバイス

Patent Citations (3)

* Cited by examiner, † Cited by third party
Publication number Priority date Publication date Assignee Title
JPS5017372U (ja) * 1973-06-13 1975-02-25
JPS5398059U (ja) * 1977-01-07 1978-08-09
JP2002504462A (ja) * 1998-02-24 2002-02-12 フォッケ・ウント・コンパニー(ゲーエムベーハー・ウント・コンパニー) カートンを充填する方法とデバイス

Cited By (3)

* Cited by examiner, † Cited by third party
Publication number Priority date Publication date Assignee Title
WO2024090097A1 (ja) * 2022-10-28 2024-05-02 Phcホールディングス株式会社 薬剤供給装置
JPWO2024090097A1 (ja) * 2022-10-28 2024-05-02
JP7767643B2 (ja) 2022-10-28 2025-11-11 Phcホールディングス株式会社 薬剤供給装置

Also Published As

Publication number Publication date
JP5154322B2 (ja) 2013-02-27

Similar Documents

Publication Publication Date Title
JP5514524B2 (ja) 包装物の搬送装置
JP2008063007A (ja) 部材を箱に包装する装置およびその方法
JP7058442B2 (ja) 封函装置
KR102216232B1 (ko) 컨테이너에서의 접이식 박스들의 정돈된 재배열을 위한 진동 디바이스, 배출 컨베이어 및 컨테이너들의 배출 방법
JP2010189015A (ja) 箱詰め装置
JP2011031989A (ja) 箱詰装置
MX2011003974A (es) Dispositivo y procedimiento para envolver una pila de mercancias con una lamina.
JP5411507B2 (ja) 箱詰装置
US9731924B2 (en) Sheet stacking apparatus having adjustable length conveyor section
JP5154322B2 (ja) 段積み包装機
CN110446660B (zh) 箱移动装置
JP4421879B2 (ja) 薬包体搬送装置
JP2010274928A (ja) 箱の蓋開放装置
JP2011219123A (ja) 方向転換装置を備えた箱詰装置
JP7199682B2 (ja) 封函装置
JP2022508914A (ja) 複数の梱包用の厚紙シートを互いに連続的に接合することによって、梱包用の厚紙片を具現化するための装置
JP7619859B2 (ja) 蓋付き容器を搬送する搬送装置
JP5084415B2 (ja) 袋物箱詰め機
JP7665354B2 (ja) 箱詰め装置及び箱詰め方法
JP4929221B2 (ja) 箱詰機における添付書類供給装置
JP6302586B1 (ja) ロール紙積段装置の首振りコンベア
JP5497927B1 (ja) 積段済ワークの包装用装置
JP2014227276A (ja) Ptpシート積み上げ装置
JP7353129B2 (ja) ワーク投入装置、ワーク投入方法およびワーク収納システム
JP4600093B2 (ja) ストレッチ包装機

Legal Events

Date Code Title Description
A621 Written request for application examination

Free format text: JAPANESE INTERMEDIATE CODE: A621

Effective date: 20110530

A977 Report on retrieval

Free format text: JAPANESE INTERMEDIATE CODE: A971007

Effective date: 20121119

TRDD Decision of grant or rejection written
A01 Written decision to grant a patent or to grant a registration (utility model)

Free format text: JAPANESE INTERMEDIATE CODE: A01

Effective date: 20121129

A61 First payment of annual fees (during grant procedure)

Free format text: JAPANESE INTERMEDIATE CODE: A61

Effective date: 20121205

FPAY Renewal fee payment (event date is renewal date of database)

Free format text: PAYMENT UNTIL: 20151214

Year of fee payment: 3

R150 Certificate of patent or registration of utility model

Ref document number: 5154322

Country of ref document: JP

Free format text: JAPANESE INTERMEDIATE CODE: R150

Free format text: JAPANESE INTERMEDIATE CODE: R150

R250 Receipt of annual fees

Free format text: JAPANESE INTERMEDIATE CODE: R250

R250 Receipt of annual fees

Free format text: JAPANESE INTERMEDIATE CODE: R250

R250 Receipt of annual fees

Free format text: JAPANESE INTERMEDIATE CODE: R250

LAPS Cancellation because of no payment of annual fees