JP2010018112A - 空気入りタイヤ - Google Patents
空気入りタイヤ Download PDFInfo
- Publication number
- JP2010018112A JP2010018112A JP2008179328A JP2008179328A JP2010018112A JP 2010018112 A JP2010018112 A JP 2010018112A JP 2008179328 A JP2008179328 A JP 2008179328A JP 2008179328 A JP2008179328 A JP 2008179328A JP 2010018112 A JP2010018112 A JP 2010018112A
- Authority
- JP
- Japan
- Prior art keywords
- main groove
- pneumatic tire
- boundary surface
- exposed
- tire
- Prior art date
- Legal status (The legal status is an assumption and is not a legal conclusion. Google has not performed a legal analysis and makes no representation as to the accuracy of the status listed.)
- Granted
Links
- 229920001971 elastomer Polymers 0.000 claims abstract description 48
- 239000005060 rubber Substances 0.000 claims abstract description 48
- 239000000203 mixture Substances 0.000 claims abstract description 30
- 230000009977 dual effect Effects 0.000 claims description 3
- 239000000463 material Substances 0.000 abstract 1
- 230000000694 effects Effects 0.000 description 4
- 239000011324 bead Substances 0.000 description 3
- 238000000465 moulding Methods 0.000 description 2
- 239000010426 asphalt Substances 0.000 description 1
- 238000005452 bending Methods 0.000 description 1
- 238000011156 evaluation Methods 0.000 description 1
- 238000004519 manufacturing process Methods 0.000 description 1
- 238000000034 method Methods 0.000 description 1
- 230000002093 peripheral effect Effects 0.000 description 1
Images
Landscapes
- Tires In General (AREA)
Abstract
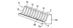
【解決手段】トレッド部2の幅方向に複数種類の異なるゴム組成物9a、9bを配置すると共に、これら異なるゴム組成物9a、9bの境界面9をタイヤ周方向に延びる主溝8の壁面に露出させた空気入りタイヤ1において、境界面9が露出する主溝8の壁面に、境界面9の露出部9zに交差し、かつ主溝8の延長方向に所定の間隔tを隔てて配列する多数の細溝10を形成した。
【選択図】図1
Description
(2)前記境界面を前記主溝の側壁面に露出させる。この場合において、前記トレッド部の表面から前記境界面の露出部までのタイヤ径方向距離Lを前記主溝の深さDの10〜60%にすることが好ましい。
(3)前記細溝の深さを0.1〜1.0mmにする。
(4)前記細溝の開口幅を0.3〜2.0mmにする。
(5)前記細溝の主溝延長方向に対する間隔を0.2〜2.0mmにする。
各タイヤに空気圧220kPaを充填すると共に、車両の前後輪に装着して、主としてアスファルト路面からなる一般路面を10万km走行させ、走行後のタイヤにおける境界面9の露出部9zが位置する主溝8におけるクラックの発生状況(大きさ、深さ)を調べると共に、これを数値化して、その結果により耐クラック性の評価とした。
2 トレッド部
8 主溝
9 境界面
9a、9b ゴム組成物
9z 露出部
10 細溝
t 間隔
Claims (7)
- トレッド部の幅方向に複数種類の異なるゴム組成物を配置すると共に、該トレッド部にタイヤ周方向に延びる主溝を形成し、前記異なるゴム組成物の境界面を前記主溝の壁面に露出させた空気入りタイヤにおいて、
前記境界面が露出する主溝の壁面に、該境界面の露出部に交差し、かつ主溝の延長方向に所定の間隔を隔てて配列する多数の細溝を形成した空気入りタイヤ。 - 前記トレッド部が2種類のゴム組成物からなるデュアルトレッドである請求項1に記載の空気入りタイヤ。
- 前記境界面を前記主溝の側壁面に露出させた請求項1又は2に記載の空気入りタイヤ。
- 前記トレッド部の表面から前記境界面の露出部までのタイヤ径方向距離Lが前記主溝の深さDの10〜60%である請求項3に記載の空気入りタイヤ。
- 前記細溝の深さが0.1〜1.0mmである請求項1〜4のいずれか1項に記載の空気入りタイヤ。
- 前記細溝の開口幅が0.3〜2.0mmである請求項1〜5のいずれか1項に記載の空気入りタイヤ。
- 前記細溝の主溝延長方向に対する間隔が0.2〜2.0mmである請求項1〜6のいずれか1項に記載の空気入りタイヤ。
Priority Applications (1)
| Application Number | Priority Date | Filing Date | Title |
|---|---|---|---|
| JP2008179328A JP5343428B2 (ja) | 2008-07-09 | 2008-07-09 | 空気入りタイヤ |
Applications Claiming Priority (1)
| Application Number | Priority Date | Filing Date | Title |
|---|---|---|---|
| JP2008179328A JP5343428B2 (ja) | 2008-07-09 | 2008-07-09 | 空気入りタイヤ |
Publications (2)
| Publication Number | Publication Date |
|---|---|
| JP2010018112A true JP2010018112A (ja) | 2010-01-28 |
| JP5343428B2 JP5343428B2 (ja) | 2013-11-13 |
Family
ID=41703446
Family Applications (1)
| Application Number | Title | Priority Date | Filing Date |
|---|---|---|---|
| JP2008179328A Expired - Fee Related JP5343428B2 (ja) | 2008-07-09 | 2008-07-09 | 空気入りタイヤ |
Country Status (1)
| Country | Link |
|---|---|
| JP (1) | JP5343428B2 (ja) |
Cited By (1)
| Publication number | Priority date | Publication date | Assignee | Title |
|---|---|---|---|---|
| JP2012214173A (ja) * | 2011-04-01 | 2012-11-08 | Toyo Tire & Rubber Co Ltd | 空気入りタイヤ |
Citations (5)
| Publication number | Priority date | Publication date | Assignee | Title |
|---|---|---|---|---|
| JPS5340088A (en) * | 1976-09-27 | 1978-04-12 | Toyo Tire & Rubber Co | Production of radial tire |
| JPS5358586A (en) * | 1976-11-08 | 1978-05-26 | Toyo Tire & Rubber Co | Rubber product reinforced at jointed surface |
| JPH11321237A (ja) * | 1998-05-07 | 1999-11-24 | Toyo Tire & Rubber Co Ltd | 空気入りラジアルタイヤ |
| JP2004306769A (ja) * | 2003-04-07 | 2004-11-04 | Toyo Tire & Rubber Co Ltd | 空気入りタイヤ |
| JP2005306258A (ja) * | 2004-04-23 | 2005-11-04 | Toyo Tire & Rubber Co Ltd | 空気入りタイヤ |
-
2008
- 2008-07-09 JP JP2008179328A patent/JP5343428B2/ja not_active Expired - Fee Related
Patent Citations (5)
| Publication number | Priority date | Publication date | Assignee | Title |
|---|---|---|---|---|
| JPS5340088A (en) * | 1976-09-27 | 1978-04-12 | Toyo Tire & Rubber Co | Production of radial tire |
| JPS5358586A (en) * | 1976-11-08 | 1978-05-26 | Toyo Tire & Rubber Co | Rubber product reinforced at jointed surface |
| JPH11321237A (ja) * | 1998-05-07 | 1999-11-24 | Toyo Tire & Rubber Co Ltd | 空気入りラジアルタイヤ |
| JP2004306769A (ja) * | 2003-04-07 | 2004-11-04 | Toyo Tire & Rubber Co Ltd | 空気入りタイヤ |
| JP2005306258A (ja) * | 2004-04-23 | 2005-11-04 | Toyo Tire & Rubber Co Ltd | 空気入りタイヤ |
Cited By (1)
| Publication number | Priority date | Publication date | Assignee | Title |
|---|---|---|---|---|
| JP2012214173A (ja) * | 2011-04-01 | 2012-11-08 | Toyo Tire & Rubber Co Ltd | 空気入りタイヤ |
Also Published As
| Publication number | Publication date |
|---|---|
| JP5343428B2 (ja) | 2013-11-13 |
Similar Documents
| Publication | Publication Date | Title |
|---|---|---|
| JP5846227B2 (ja) | 空気入りタイヤ | |
| CN106232390B (zh) | 充气轮胎 | |
| KR101586094B1 (ko) | 공기 타이어 | |
| CN105722695B (zh) | 包括具有多个刀槽花纹的花纹块的胎面 | |
| CN104955659B (zh) | 充气轮胎 | |
| JP6164209B2 (ja) | 空気入りタイヤ | |
| CN105579252B (zh) | 不平整地面行驶用的摩托车用轮胎 | |
| JP5779164B2 (ja) | 空気入りタイヤ | |
| JP2010076561A (ja) | 空気入りタイヤ | |
| WO2017043071A1 (ja) | タイヤ | |
| JP2011105074A (ja) | 空気入りタイヤ | |
| JP2009262646A (ja) | 空気入りタイヤ | |
| JP4955022B2 (ja) | 空気入りタイヤ | |
| JP5769427B2 (ja) | 空気入りタイヤ | |
| JP2010132042A (ja) | タイヤ | |
| JP6367139B2 (ja) | 空気入りタイヤ | |
| JP6022767B2 (ja) | 空気入りタイヤ | |
| JP5343428B2 (ja) | 空気入りタイヤ | |
| JP5370639B2 (ja) | 空気入りタイヤ | |
| JP2010132043A (ja) | タイヤ | |
| JP2001277816A (ja) | 空気入りタイヤ | |
| JP2010083303A (ja) | 空気入りタイヤ | |
| JP2018184144A (ja) | 空気入りタイヤ | |
| JP5262325B2 (ja) | 空気入りタイヤ | |
| JP2004058946A (ja) | 空気入りタイヤ |
Legal Events
| Date | Code | Title | Description |
|---|---|---|---|
| A621 | Written request for application examination |
Free format text: JAPANESE INTERMEDIATE CODE: A621 Effective date: 20110621 |
|
| A977 | Report on retrieval |
Free format text: JAPANESE INTERMEDIATE CODE: A971007 Effective date: 20121114 |
|
| A131 | Notification of reasons for refusal |
Free format text: JAPANESE INTERMEDIATE CODE: A131 Effective date: 20121204 |
|
| A521 | Written amendment |
Free format text: JAPANESE INTERMEDIATE CODE: A523 Effective date: 20130128 |
|
| TRDD | Decision of grant or rejection written | ||
| A01 | Written decision to grant a patent or to grant a registration (utility model) |
Free format text: JAPANESE INTERMEDIATE CODE: A01 Effective date: 20130716 |
|
| A61 | First payment of annual fees (during grant procedure) |
Free format text: JAPANESE INTERMEDIATE CODE: A61 Effective date: 20130729 |
|
| R150 | Certificate of patent or registration of utility model |
Free format text: JAPANESE INTERMEDIATE CODE: R150 |
|
| LAPS | Cancellation because of no payment of annual fees |
