JP2010016704A - アレーアンテナ - Google Patents

アレーアンテナ Download PDF

Info

Publication number
JP2010016704A
JP2010016704A JP2008175931A JP2008175931A JP2010016704A JP 2010016704 A JP2010016704 A JP 2010016704A JP 2008175931 A JP2008175931 A JP 2008175931A JP 2008175931 A JP2008175931 A JP 2008175931A JP 2010016704 A JP2010016704 A JP 2010016704A
Authority
JP
Japan
Prior art keywords
radiating element
array antenna
radiation
pairs
radiating
Prior art date
Legal status (The legal status is an assumption and is not a legal conclusion. Google has not performed a legal analysis and makes no representation as to the accuracy of the status listed.)
Granted
Application number
JP2008175931A
Other languages
English (en)
Other versions
JP5089509B2 (ja
Inventor
Kazunari Kihira
一成 紀平
Toru Takahashi
徹 高橋
Masataka Otsuka
昌孝 大塚
Current Assignee (The listed assignees may be inaccurate. Google has not performed a legal analysis and makes no representation or warranty as to the accuracy of the list.)
Mitsubishi Electric Corp
Original Assignee
Mitsubishi Electric Corp
Priority date (The priority date is an assumption and is not a legal conclusion. Google has not performed a legal analysis and makes no representation as to the accuracy of the date listed.)
Filing date
Publication date
Application filed by Mitsubishi Electric Corp filed Critical Mitsubishi Electric Corp
Priority to JP2008175931A priority Critical patent/JP5089509B2/ja
Publication of JP2010016704A publication Critical patent/JP2010016704A/ja
Application granted granted Critical
Publication of JP5089509B2 publication Critical patent/JP5089509B2/ja
Expired - Fee Related legal-status Critical Current
Anticipated expiration legal-status Critical

Links

Images

Landscapes

  • Variable-Direction Aerials And Aerial Arrays (AREA)
  • Waveguide Aerials (AREA)

Abstract

【課題】本発明は、アイソレーションを省略し多重反射波の発生を許容する給電構造において、所定の空間領域又は角度方向における励振分布の乱れを最小限に抑えることができるアレーアンテナを提供する。
【解決手段】複数の放射素子対2は、第1放射素子5及び第2放射素子6によって構成されている。複数の放射素子対2は、第1の方向A及び第2の方向Bにそれぞれ沿って並べられている。複数の放射素子対2のそれぞれの第1放射素子5及び第2放射素子6は、第2の方向Bで互いに隣り合うように配置されている。第1放射素子5の放射特性に含まれるマイナスの誤差と、第2放射素子6の放射特性に含まれるプラスの誤差とが、第1観測面Cへ向けて投影された際に互いに相殺され、放射素子対2の第1観測面Cでの放射特性における振幅は、所望の放射特性の振幅となる。
【選択図】図1

Description

この発明は、複数の放射素子と給電点とを結ぶ給電回路内で多重反射波が発生するアレーアンテナに関する。
一般的なアレーアンテナとして、各放射素子に対して、所望の励振振幅・位相(以下、励振分布という)で給電して所望の放射特性を実現するものには、移相器又は増幅器を直結接続して振幅・位相を制御するフェーズドアレー形式がある。しかしながら、この形式の場合、構成が全体的に複雑で高コストとなるため、固定ビームを与えるアンテナとして用いられることは少ない。
これに対して、固定ビームを実現するアンテナ構成の一例として、マイクロストリップアレーアンテナが知られている。このマイクロストリップアレーアンテナにおいて、放射素子と同一平面上に給電回路を構成する共平面給電方式では、一度のエッチングで加工ができ、製造が容易で低コスト化が図れる。これに加えて、薄型化、軽量化も容易である。
また、マイクロストリップアレーアンテナにおいて、給電点から入力された電波は、マイクロストリップ線路により構成されるT分岐線路などにより所望の励振分布で放射素子に給電される。このT分岐線路は、比較的コンパクトな寸法で構成することができるため、共平面給電方式のマイクロストリップアレーアンテナの給電回路では一般的な電力合成・分配回路としてよく使用されている(例えば、特許文献1,2参照)。
特許第3279268号公報 特許第3279264号公報
ここで、一般的にマイクロストリップアレーアンテナには、T分岐線路が分配器として用いられるが、このT分岐線路には、アイソレーションがないため、内部を通過する電波が反射されたり、放射素子で反射されてT字分配器に戻る電波がT分岐線路で再反射されたりして、多重反射波が生じる。
この結果、多重反射波に起因して放射素子の放射特性に誤差が生じ、所望の放射特性から大きく外れてしまう。つまり、入力端子側から見た場合のインピーダンスの整合がとれていても、出力端子側から見た場合のインピーダンスの整合がとれていない状態となってしまう。このため、アレーアンテナの電磁界分布、即ち励振分布に乱れが生じ、放射素子の所望の放射特性が得られないという問題があった。
なお、例えば、内部にアイソレーションが設けられたウィルキンソン分配器等の電力合成・分配回路を用いることによって、多重反射波の発生を抑えることが可能となる。しかしながら、このような電力合成・分配回路を用いた構成を採用した場合、アレーアンテナ自体のサイズが大型化してしまうため、マイクロストリップアレーアンテナには、不向きであった。この他に、放射素子及び給電回路を互いに異なる基板に実装する多層給電方式がある。しかしながら、このような構成を採用した場合にも、アレーアンテナ自体のサイズが大型化したり、製造コストが高くなったりするという問題が生じてしまう。
この発明は、上記のような課題を解決するためになされたものであり、アイソレーションを省略し多重反射波の発生を許容する給電構造において、所定の空間領域又は角度方向における励振分布の乱れを最小限に抑えることができるアレーアンテナを得ることを目的とする。
この発明に係るアレーアンテナは、給電回路内の多重反射波による誤差によって所望の放射特性の振幅よりも小さな振幅で放射する第1放射素子と、多重反射波による誤差によって所望の放射特性の振幅よりも大きな振幅で放射する第2放射素子とにより構成され、第1放射素子及び第2放射素子が給電回路内の同一分岐点を経て給電される放射素子対を複数配置したものであって、複数の放射素子対は、所定の観測面へ向けて投影される第1放射素子及び第2放射素子の多重反射波による誤差同士が互いに相殺されるように配置されているものである。
この発明のアレーアンテナによれば、所定の観測面へ向けて投影される第1放射素子及び第2放射素子の誤差同士が互いに相殺されるように、複数の放射素子対が配置されているので、アイソレーションを省略し多重反射波による誤差の発生を許容する給電構造において、所定の空間領域又は角度方向における励振分布の乱れを最小限に抑えることができる。
以下、この発明を実施するための最良の形態について、図面を参照して説明する。
実施の形態1.
図1は、この発明の実施の形態1によるマイクロストリップアレーアンテナを示す構成図である。なお、図1の矢示Aは、第1の方向であり、方位角(AZ:Azimuth)を示す。また、矢示Bは、第1の方向に対して直交する第2の方向であり、仰角(EL:Elevation)を示す。線Cは、第1の方向Aに沿う所定の観測面としての第1観測面(観測線)を示す。この所定の観測面とは、多重反射波による誤差の影響を抑制したい観測面である。線Dは、第2の方向Bに沿う第2観測面(観測線)を示す。線Eは、給電回路の中心点を通り、かつ第1観測面Cに対して平行な基準線である。これらの矢示A,B及び線C,D,Eについては、他の図でも同様である。
図1において、共平面形のアンテナ用基板は、地導体、誘電体基板、及びストリップ導体によって構成されている。地導体は、誘電体基板の一方の面に配置されている。ストリップ導体は、誘電体基板の他方の面に配置されている。アンテナ用基板には、給電点1、及び複数の放射素子対(素子ペア)2が設けられている。
また、アンテナ用基板のストリップ導体は、マイクロストリップ線路3及び複数のT分岐線路4(分配器)を形成している。なお、T分岐線路4については、図中破線で示す。マイクロストリップ線路3及び複数のT分岐線路4によって、給電点1から複数の放射素子対2への電力の伝送経路、即ち給電回路が構成されている。複数の放射素子対2は、それぞれ第1放射素子5及び第2放射素子6によって構成されている。なお、所望の放射特性を得るために(必要な励振分布を実現するために)、各箇所のマイクロストリップ線路3の長さや、T分岐線路4の分配比あるいは形状・種類等が選定される。
次に、第1放射素子5及び第2放射素子6の放射特性について具体的に説明する。図2は、図1の第1及び第2放射素子5,6の多重反射モデルの一例を説明するための説明図である。図2において、T分岐線路4と第1放射素子5との間の距離L1は、T分岐線路4と第2放射素子6との間の距離L2よりも短くなっている(L1≠L2)。
このような線路構成において、T分岐線路4からの入射波Fの一部が第1放射素子5で反射されて、反射波となってT分岐線路4に戻る。その反射波がT分岐線路(分配器)4で再び反射されて第1素子5へ戻り、再反射波Gが生じる。なお、再反射波Gの他にも、例えば、入射波Fが第1放射素子5で反射された電波となって第2放射素子6へ伝わり、第2放射素子6で再び反射されるような再反射波、あるいはT分岐線路4から第2放射素子に進行した入射波Fが第2放射素子6で反射されて第1放射素子5に入射する反射波(図示せず)も生じる。
第1放射素子5への入射波Fの位相と再反射波Gの位相とは、互いに異なる。これにより、入射波Fが再反射波G等による多重反射波によって減衰(干渉)され、第1放射素子5の放射特性の振幅が、所望の放射特性の振幅よりも小さくなる(マイナスの誤差が生じる)。一方、第2放射素子6では、入射波が再反射波等による多重反射波によって増幅(合成)され、第2放射素子6の放射特性の振幅が、所望の放射特性の振幅よりも大きくなる(プラスの誤差が生じる)。
ここで、先の図1において、複数の放射素子対2は、第1の方向A及び第2の方向Bにそれぞれ沿って並べられている。また、複数の放射素子対2のそれぞれの第1放射素子5及び第2放射素子6は、第2の方向Bで互いに隣り合うように配置されている。さらに、複数の放射素子対2の第1放射素子5同士は、第1の方向Aで互いに隣り合うように配置されている。これと同様に、複数の放射素子対2の第2放射素子6同士は、第1の方向Aで互いに隣り合うように配置されている。
また、複数の放射素子対2の第2放射素子は、基準線E側に配置されている。即ち、複数の放射素子対2は、基準線Eに対して線対称になるように並べられている。このような複数の放射素子対2の配列によって、第1観測面Cへ向けて投影される第1放射素子5及び第2放射素子6の放射特性に含まれる誤差の分布が図1の(a)に示すようになる。また、第2観測面Dへ向けた第1放射素子5及び第2放射素子6の放射特性に含まれる誤差の分布が図1の(b)に示すようになる。
従って、図1の(a)に示すように、第1放射素子5の放射特性に含まれるマイナスの誤差と、第2放射素子6の放射特性に含まれるプラスの誤差とが互いに相殺され、放射素子対2の第1観測面Cでの放射特性における振幅は、所望の放射特性の振幅となる。つまり、複数の放射素子対2は、第1観測面Cへ向けて投影される第1放射素子5及び第2放射素子6の多重反射波による誤差同士が互いに相殺されるように配置されている。
ここで、図3は、多重反射波による誤差の影響を考慮せずに放射素子対2を並べた場合のマイクロストリップアレーアンテナの放射パターンを示す特性図である(従来のものの特性図)。図4は、図1のマイクロストリップアレーアンテナの放射パターンを示す特性図である。図5は、多重反射波による誤差の影響が無い場合の理想状態でのマイクロストリップアレーアンテナの放射パターンを示す特性図である。なお、各特性図の中心領域(AZ=0,EL=0の周辺の領域)は、マイクロストリップアレーアンテナから放射されたメインビームを示す。
多重反射波による誤差の影響を考慮していない場合の放射パターンでは、図3に示すように、メインビーム以外の領域において、励振分布の乱れが生じており、マイクロストリップアレーアンテナからサイドローブが、ほぼ不規則に放射されていることが解る。これに対して、図1のマイクロストリップアレーアンテナの放射パターンは、図4に示すように、第1の方向Aにおいて、誤差のない理想状態での放射パターンである図5とほぼ同じ放射パターンとなっていることが解る。即ち、図1のマイクロストリップアレーアンテナでは、所望の観測面において誤差の影響による励振分布の乱れを最小限に抑えることができ、多重反射波による励振分布の乱れが抑制されている。
上記のようなマイクロストリップアレーアンテナでは、複数の放射素子対2が、第1観測面Cへ向けて投影される第1放射素子5及び第2放射素子6の多重反射波による誤差同士が互いに相殺されるように配置されている。この構成により、アイソレーションを省略し多重反射波の発生を許容する給電構造において、所定の空間領域又は角度方向における励振分布の乱れを最小限に抑えることができる。
実施の形態2.
実施の形態1では、先の図1に示すように、基準線E側に第2放射素子6が配置されていた。これに対して、実施の形態2では、図6に示すように、基準線E側に第1放射素子5が配置されている。即ち、実施の形態2では、放射素子対2における第1放射素子5と第2放射素子6との配列が逆になっている。他の構成は、実施の形態1と同様である。
ここで、先の図1に示すマイクロストリップアレーアンテナの放射パターンと、図6に示すマイクロストリップアレーアンテナの放射パターンとを比較する。図7は、図6のマイクロストリップアレーアンテナの放射パターンを示す特性図である。まず、先の図4の特性図においては、図5の特性図における誤差がない場合に比べて、第2の方向Bに対するメインビーム幅は若干拡大するものの、サイドローブレベルはほとんど上昇していない。これに対して、図7の特性図においては、第2の方向Bに対するサイドローブレベルは上昇するものの、メインビーム幅の拡大は抑えられる。
従って、マイクロストリップアレーアンテナの特性において、サイドローブレベルの抑制とメインビーム幅の収束性とのうち、サイドローブレベルの抑制を優先する場合には、実施の形態1の構成(図1の構成)を用いればよい。これに対して、メインビーム幅の収束性を優先する場合には、実施の形態2の構成(図6の構成)を用いればよい。
実施の形態3.
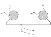
実施の形態3では、具体的なペア素子の構成例として、第1放射素子15及び第2放射素子16が1点給電方式の円偏波放射用の放射素子である場合について説明する。
図8は、この発明の実施の形態3によるマイクロストリップアレーアンテナの一部を示す構成図である。図8において、実施の形態3の第1放射素子15及び第2放射素子16は、マイクロストリップ線路13及びT分岐線路14を介して給電点から給電される。また、第1放射素子15及び第2放射素子16は、1点給電方式の円偏波放射用の放射素子である。さらに、第1放射素子15及び第2放射素子16には、それぞれ円偏波励振用切り欠き15a,16aが設けられている。
また、第1放射素子15の向きは、第2放射素子16の向きに対して、第1の方向又は第2の方向へ90度ずらして(回転して)配置されている。T分岐線路14は、第1放射素子15と第2放射素子16との位相差が90度となるようになっている。他の構成は実施の形態1又は実施の形態2と同様である。
上記のようなマイクロストリップアレーアンテナでは、第1放射素子15及び第2放射素子16の素子端からの反射波の位相がT分岐線路14で同相とはならないことにより多重反射波が生じる。この多重反射波の影響による励振分布の乱れについても、実施の形態1、2と同様に、その構造を変更することなく最小限に抑えることができる。
実施の形態4.
実施の形態3では、第1放射素子15及び第2放射素子16が、1点給電方式の円偏波放射用の放射素子であった。これに対して、実施の形態4では、第1放射素子25及び第2放射素子26が、2点給電方式の円偏波放射用の放射素子である。
図9は、この発明の実施の形態4によるマイクロストリップアレーアンテナの一部を示す構成図である。図9において、実施の形態4の第1放射素子25及び第2放射素子26は、マイクロストリップ線路23及びT分岐線路24a,24b,24cを介して給電点から給電される。他の構成は、実施の形態3と同様である。
上記のようなマイクロストリップアレーアンテナでは、第1放射素子25及び第2放射素子26が2点給電方式の円偏波放射用の放射素子である場合であっても、実施の形態3と同様の効果を得ることができる。
なお、実施の形態1,2では、第1観測面Cを所定の観測面としたが、第2観測面を所定の観測面としてもよい。つまり、第1の方向Aを、仰角とし、第2の方向Bを方位角としてもよい。
また、実施の形態1〜4では、マイクロストリップアレーアンテナについて説明したが、この発明は、マイクロストリップアレーアンテナ以外のアレーアンテナにも適用することができる。
さらに、実施の形態1〜4では、放射素子の数が32個の場合について説明した。しかしながら、放射素子の数は、この例に限るものではなく、励振分布の誤差量が+と−との対となる2素子ペアの配列を基本として、所望の観測面へ向けて投影した誤差が相殺できるよう2のべき乗個であれば、任意の数でよい。
この発明の実施の形態1によるマイクロストリップアレーアンテナを示す構成図である。 図1の第1及び第2放射素子の多重反射モデルの一例を説明するための説明図である。 従来のマイクロストリップアレーアンテナの放射パターンを示す特性図である。 図1のマイクロストリップアレーアンテナの放射パターンを示す特性図である。 理想状態でのマイクロストリップアレーアンテナの放射パターンを示す特性図である。 この発明の実施の形態2によるマイクロストリップアレーアンテナを示す構成図である。 図6のマイクロストリップアレーアンテナの放射パターンを示す特性図である。 この発明の実施の形態3によるマイクロストリップアレーアンテナの一部を示す構成図である。 この発明の実施の形態4によるマイクロストリップアレーアンテナの一部を示す構成図である。
符号の説明
1 給電点、2 放射素子対、4,14,24a,24b,24c T分岐線路(分岐点)、5,15,25 第1放射素子、6,16,26 第2放射素子、C 第1観測面(所定の観測面)、D 第2観測面、E 基準線。

Claims (6)

  1. 給電回路内の多重反射波による誤差によって所望の放射特性の振幅よりも小さな振幅で放射する第1放射素子と、前記多重反射波による誤差によって前記所望の放射特性の振幅よりも大きな振幅で放射する第2放射素子とにより構成され、前記第1放射素子及び前記第2放射素子が前記給電回路内の同一分岐点を経て給電される放射素子対を複数配置したアレーアンテナであって、
    前記複数の放射素子対は、所定の観測面へ向けて投影される前記第1放射素子及び前記第2放射素子の前記多重反射波による誤差同士が互いに相殺されるように配置されている
    ことを特徴とするアレーアンテナ。
  2. 前記複数の放射素子対は、前記観測面に対する直交方向に沿って並べられている
    ことを特徴とする請求項1記載のアレーアンテナ。
  3. 前記複数の放射素子対の前記第2放射素子は、前記給電回路の中心点を通り前記観測面に対して平行な基準線側に配置されており、
    前記複数の放射素子対は、前記基準線に対して線対称になるように並べられている
    ことを特徴とする請求項2記載のアレーアンテナ。
  4. 前記複数の放射素子対の前記第1放射素子は、前記給電回路の中心点を通り前記観測面に対して平行な基準線側に配置されており、
    前記複数の放射素子対は、前記基準線に対して線対称になるように並べられている
    ことを特徴とする請求項2記載のアレーアンテナ。
  5. 前記第1放射素子及び第2放射素子は、それぞれ円偏波放射用の放射素子である
    ことを特徴とする請求項1から請求項4までのいずれか1項に記載のアレーアンテナ。
  6. 前記複数の放射素子対の前記第1放射素子の向きは、前記第2放射素子の向きに対して90度ずれるように配置されており、
    前記複数の放射素子対の前記第1放射素子及び前記第2放射素子は、前記給電回路の前記同一分岐点からの励振電圧の位相差が90度となるように設定されている
    ことを特徴とする請求項5記載のアレーアンテナ。
JP2008175931A 2008-07-04 2008-07-04 アレーアンテナ Expired - Fee Related JP5089509B2 (ja)

Priority Applications (1)

Application Number Priority Date Filing Date Title
JP2008175931A JP5089509B2 (ja) 2008-07-04 2008-07-04 アレーアンテナ

Applications Claiming Priority (1)

Application Number Priority Date Filing Date Title
JP2008175931A JP5089509B2 (ja) 2008-07-04 2008-07-04 アレーアンテナ

Publications (2)

Publication Number Publication Date
JP2010016704A true JP2010016704A (ja) 2010-01-21
JP5089509B2 JP5089509B2 (ja) 2012-12-05

Family

ID=41702362

Family Applications (1)

Application Number Title Priority Date Filing Date
JP2008175931A Expired - Fee Related JP5089509B2 (ja) 2008-07-04 2008-07-04 アレーアンテナ

Country Status (1)

Country Link
JP (1) JP5089509B2 (ja)

Cited By (1)

* Cited by examiner, † Cited by third party
Publication number Priority date Publication date Assignee Title
CN111987480A (zh) * 2020-08-17 2020-11-24 中国科学院国家空间科学中心 一种反射阵天线及其设计方法

Citations (4)

* Cited by examiner, † Cited by third party
Publication number Priority date Publication date Assignee Title
JPS6126303U (ja) * 1984-07-24 1986-02-17 八木アンテナ株式会社 Shf平面アンテナ
JP2000082920A (ja) * 1998-09-04 2000-03-21 Mitsubishi Electric Corp マイクロストリップアレーアンテナ
JP2002043837A (ja) * 2000-06-29 2002-02-08 Thomson Licensing Sa マイクロストリップ技術で製作されたアレイから給電される電磁波の送受信装置
JP2003347842A (ja) * 2002-05-24 2003-12-05 Hitachi Cable Ltd アレイアンテナ装置

Patent Citations (4)

* Cited by examiner, † Cited by third party
Publication number Priority date Publication date Assignee Title
JPS6126303U (ja) * 1984-07-24 1986-02-17 八木アンテナ株式会社 Shf平面アンテナ
JP2000082920A (ja) * 1998-09-04 2000-03-21 Mitsubishi Electric Corp マイクロストリップアレーアンテナ
JP2002043837A (ja) * 2000-06-29 2002-02-08 Thomson Licensing Sa マイクロストリップ技術で製作されたアレイから給電される電磁波の送受信装置
JP2003347842A (ja) * 2002-05-24 2003-12-05 Hitachi Cable Ltd アレイアンテナ装置

Cited By (2)

* Cited by examiner, † Cited by third party
Publication number Priority date Publication date Assignee Title
CN111987480A (zh) * 2020-08-17 2020-11-24 中国科学院国家空间科学中心 一种反射阵天线及其设计方法
CN111987480B (zh) * 2020-08-17 2023-03-24 中国科学院国家空间科学中心 一种反射阵天线及其设计方法

Also Published As

Publication number Publication date
JP5089509B2 (ja) 2012-12-05

Similar Documents

Publication Publication Date Title
US11715880B2 (en) Waveguide feed network architecture for wideband, low profile, dual polarized planar horn array antennas
US8063832B1 (en) Dual-feed series microstrip patch array
JP5024638B2 (ja) アレーアンテナ
US20190296434A1 (en) Aperiodic phased array antenna with single bit phase shifters
US8860612B2 (en) Antenna device for generating reconfigurable high-order mode conical beam
CN103119467B (zh) 用于雷达传感器的天线系统
JP2018074240A (ja) アンテナ装置
JPWO2018105303A1 (ja) アンテナ装置
JP2017092588A (ja) 2周波共用円偏波平面アンテナおよびその軸比調整方法
WO2017085871A1 (ja) 給電回路及びアンテナ装置
JP6988278B2 (ja) アレイアンテナ
JP6409676B2 (ja) 衛星通信用アレイアンテナおよびアンテナ
JP5089509B2 (ja) アレーアンテナ
JP2023137106A (ja) アレイアンテナ基板及びアレイアンテナ装置
WO2015129089A1 (ja) アレーアンテナ装置
CN222214473U (zh) 一种双圆极化宽角域覆盖天线伺服系统
JP7292800B2 (ja) 送受共用平面アレーアンテナ
JP2002185237A (ja) 偏波可変方式,偏波ダイバーシチ方式及び偏波変調方式
JP7645297B2 (ja) アンテナ装置及び無線通信装置
JP2020156089A (ja) アンテナ装置
JP5918874B1 (ja) アレイアンテナ
JP2000082920A (ja) マイクロストリップアレーアンテナ
JP2002223120A (ja) 円偏波型平面アレイアンテナ
JP5582351B2 (ja) 無指向性アレイアンテナ
JP7765107B2 (ja) アンテナ装置

Legal Events

Date Code Title Description
A621 Written request for application examination

Free format text: JAPANESE INTERMEDIATE CODE: A621

Effective date: 20110428

A977 Report on retrieval

Free format text: JAPANESE INTERMEDIATE CODE: A971007

Effective date: 20120222

A131 Notification of reasons for refusal

Free format text: JAPANESE INTERMEDIATE CODE: A131

Effective date: 20120228

A521 Request for written amendment filed

Free format text: JAPANESE INTERMEDIATE CODE: A523

Effective date: 20120329

A131 Notification of reasons for refusal

Free format text: JAPANESE INTERMEDIATE CODE: A131

Effective date: 20120529

A521 Request for written amendment filed

Free format text: JAPANESE INTERMEDIATE CODE: A523

Effective date: 20120719

TRDD Decision of grant or rejection written
A01 Written decision to grant a patent or to grant a registration (utility model)

Free format text: JAPANESE INTERMEDIATE CODE: A01

Effective date: 20120814

A01 Written decision to grant a patent or to grant a registration (utility model)

Free format text: JAPANESE INTERMEDIATE CODE: A01

A61 First payment of annual fees (during grant procedure)

Free format text: JAPANESE INTERMEDIATE CODE: A61

Effective date: 20120911

FPAY Renewal fee payment (event date is renewal date of database)

Free format text: PAYMENT UNTIL: 20150921

Year of fee payment: 3

R150 Certificate of patent or registration of utility model

Ref document number: 5089509

Country of ref document: JP

Free format text: JAPANESE INTERMEDIATE CODE: R150

Free format text: JAPANESE INTERMEDIATE CODE: R150

R250 Receipt of annual fees

Free format text: JAPANESE INTERMEDIATE CODE: R250

R250 Receipt of annual fees

Free format text: JAPANESE INTERMEDIATE CODE: R250

R250 Receipt of annual fees

Free format text: JAPANESE INTERMEDIATE CODE: R250

R250 Receipt of annual fees

Free format text: JAPANESE INTERMEDIATE CODE: R250

R250 Receipt of annual fees

Free format text: JAPANESE INTERMEDIATE CODE: R250

R250 Receipt of annual fees

Free format text: JAPANESE INTERMEDIATE CODE: R250

LAPS Cancellation because of no payment of annual fees