JP2010016058A - レーザ光源装置及びこれを用いたレーザ照射装置 - Google Patents

レーザ光源装置及びこれを用いたレーザ照射装置 Download PDF

Info

Publication number
JP2010016058A
JP2010016058A JP2008172667A JP2008172667A JP2010016058A JP 2010016058 A JP2010016058 A JP 2010016058A JP 2008172667 A JP2008172667 A JP 2008172667A JP 2008172667 A JP2008172667 A JP 2008172667A JP 2010016058 A JP2010016058 A JP 2010016058A
Authority
JP
Japan
Prior art keywords
light source
laser
resonator
source device
wave
Prior art date
Legal status (The legal status is an assumption and is not a legal conclusion. Google has not performed a legal analysis and makes no representation as to the accuracy of the status listed.)
Granted
Application number
JP2008172667A
Other languages
English (en)
Other versions
JP4858499B2 (ja
Inventor
Kaoru Kimura
馨 木村
Michio Oka
美智雄 岡
Current Assignee (The listed assignees may be inaccurate. Google has not performed a legal analysis and makes no representation or warranty as to the accuracy of the list.)
Sony Corp
Original Assignee
Sony Corp
Priority date (The priority date is an assumption and is not a legal conclusion. Google has not performed a legal analysis and makes no representation as to the accuracy of the date listed.)
Filing date
Publication date
Application filed by Sony Corp filed Critical Sony Corp
Priority to JP2008172667A priority Critical patent/JP4858499B2/ja
Priority to US12/490,083 priority patent/US8331415B2/en
Priority to CN200910151264A priority patent/CN101621173A/zh
Publication of JP2010016058A publication Critical patent/JP2010016058A/ja
Application granted granted Critical
Publication of JP4858499B2 publication Critical patent/JP4858499B2/ja
Expired - Fee Related legal-status Critical Current
Anticipated expiration legal-status Critical

Links

Images

Classifications

    • HELECTRICITY
    • H01ELECTRIC ELEMENTS
    • H01SDEVICES USING THE PROCESS OF LIGHT AMPLIFICATION BY STIMULATED EMISSION OF RADIATION [LASER] TO AMPLIFY OR GENERATE LIGHT; DEVICES USING STIMULATED EMISSION OF ELECTROMAGNETIC RADIATION IN WAVE RANGES OTHER THAN OPTICAL
    • H01S3/00Lasers, i.e. devices using stimulated emission of electromagnetic radiation in the infrared, visible or ultraviolet wave range
    • H01S3/09Processes or apparatus for excitation, e.g. pumping
    • H01S3/091Processes or apparatus for excitation, e.g. pumping using optical pumping
    • H01S3/094Processes or apparatus for excitation, e.g. pumping using optical pumping by coherent light
    • H01S3/0941Processes or apparatus for excitation, e.g. pumping using optical pumping by coherent light of a laser diode
    • H01S3/09415Processes or apparatus for excitation, e.g. pumping using optical pumping by coherent light of a laser diode the pumping beam being parallel to the lasing mode of the pumped medium, e.g. end-pumping
    • HELECTRICITY
    • H01ELECTRIC ELEMENTS
    • H01SDEVICES USING THE PROCESS OF LIGHT AMPLIFICATION BY STIMULATED EMISSION OF RADIATION [LASER] TO AMPLIFY OR GENERATE LIGHT; DEVICES USING STIMULATED EMISSION OF ELECTROMAGNETIC RADIATION IN WAVE RANGES OTHER THAN OPTICAL
    • H01S2301/00Functional characteristics
    • H01S2301/20Lasers with a special output beam profile or cross-section, e.g. non-Gaussian
    • HELECTRICITY
    • H01ELECTRIC ELEMENTS
    • H01SDEVICES USING THE PROCESS OF LIGHT AMPLIFICATION BY STIMULATED EMISSION OF RADIATION [LASER] TO AMPLIFY OR GENERATE LIGHT; DEVICES USING STIMULATED EMISSION OF ELECTROMAGNETIC RADIATION IN WAVE RANGES OTHER THAN OPTICAL
    • H01S3/00Lasers, i.e. devices using stimulated emission of electromagnetic radiation in the infrared, visible or ultraviolet wave range
    • H01S3/05Construction or shape of optical resonators; Accommodation of active medium therein; Shape of active medium
    • H01S3/08Construction or shape of optical resonators or components thereof
    • H01S3/08059Constructional details of the reflector, e.g. shape
    • HELECTRICITY
    • H01ELECTRIC ELEMENTS
    • H01SDEVICES USING THE PROCESS OF LIGHT AMPLIFICATION BY STIMULATED EMISSION OF RADIATION [LASER] TO AMPLIFY OR GENERATE LIGHT; DEVICES USING STIMULATED EMISSION OF ELECTROMAGNETIC RADIATION IN WAVE RANGES OTHER THAN OPTICAL
    • H01S3/00Lasers, i.e. devices using stimulated emission of electromagnetic radiation in the infrared, visible or ultraviolet wave range
    • H01S3/05Construction or shape of optical resonators; Accommodation of active medium therein; Shape of active medium
    • H01S3/08Construction or shape of optical resonators or components thereof
    • H01S3/08086Multiple-wavelength emission
    • HELECTRICITY
    • H01ELECTRIC ELEMENTS
    • H01SDEVICES USING THE PROCESS OF LIGHT AMPLIFICATION BY STIMULATED EMISSION OF RADIATION [LASER] TO AMPLIFY OR GENERATE LIGHT; DEVICES USING STIMULATED EMISSION OF ELECTROMAGNETIC RADIATION IN WAVE RANGES OTHER THAN OPTICAL
    • H01S3/00Lasers, i.e. devices using stimulated emission of electromagnetic radiation in the infrared, visible or ultraviolet wave range
    • H01S3/05Construction or shape of optical resonators; Accommodation of active medium therein; Shape of active medium
    • H01S3/08Construction or shape of optical resonators or components thereof
    • H01S3/081Construction or shape of optical resonators or components thereof comprising three or more reflectors
    • H01S3/0813Configuration of resonator
    • H01S3/0815Configuration of resonator having 3 reflectors, e.g. V-shaped resonators
    • HELECTRICITY
    • H01ELECTRIC ELEMENTS
    • H01SDEVICES USING THE PROCESS OF LIGHT AMPLIFICATION BY STIMULATED EMISSION OF RADIATION [LASER] TO AMPLIFY OR GENERATE LIGHT; DEVICES USING STIMULATED EMISSION OF ELECTROMAGNETIC RADIATION IN WAVE RANGES OTHER THAN OPTICAL
    • H01S3/00Lasers, i.e. devices using stimulated emission of electromagnetic radiation in the infrared, visible or ultraviolet wave range
    • H01S3/05Construction or shape of optical resonators; Accommodation of active medium therein; Shape of active medium
    • H01S3/08Construction or shape of optical resonators or components thereof
    • H01S3/081Construction or shape of optical resonators or components thereof comprising three or more reflectors
    • H01S3/082Construction or shape of optical resonators or components thereof comprising three or more reflectors defining a plurality of resonators, e.g. for mode selection or suppression
    • HELECTRICITY
    • H01ELECTRIC ELEMENTS
    • H01SDEVICES USING THE PROCESS OF LIGHT AMPLIFICATION BY STIMULATED EMISSION OF RADIATION [LASER] TO AMPLIFY OR GENERATE LIGHT; DEVICES USING STIMULATED EMISSION OF ELECTROMAGNETIC RADIATION IN WAVE RANGES OTHER THAN OPTICAL
    • H01S3/00Lasers, i.e. devices using stimulated emission of electromagnetic radiation in the infrared, visible or ultraviolet wave range
    • H01S3/09Processes or apparatus for excitation, e.g. pumping
    • H01S3/091Processes or apparatus for excitation, e.g. pumping using optical pumping
    • H01S3/094Processes or apparatus for excitation, e.g. pumping using optical pumping by coherent light
    • H01S3/094069Multi-mode pumping
    • HELECTRICITY
    • H01ELECTRIC ELEMENTS
    • H01SDEVICES USING THE PROCESS OF LIGHT AMPLIFICATION BY STIMULATED EMISSION OF RADIATION [LASER] TO AMPLIFY OR GENERATE LIGHT; DEVICES USING STIMULATED EMISSION OF ELECTROMAGNETIC RADIATION IN WAVE RANGES OTHER THAN OPTICAL
    • H01S3/00Lasers, i.e. devices using stimulated emission of electromagnetic radiation in the infrared, visible or ultraviolet wave range
    • H01S3/10Controlling the intensity, frequency, phase, polarisation or direction of the emitted radiation, e.g. switching, gating, modulating or demodulating
    • H01S3/106Controlling the intensity, frequency, phase, polarisation or direction of the emitted radiation, e.g. switching, gating, modulating or demodulating by controlling devices placed within the cavity
    • H01S3/108Controlling the intensity, frequency, phase, polarisation or direction of the emitted radiation, e.g. switching, gating, modulating or demodulating by controlling devices placed within the cavity using non-linear optical devices, e.g. exhibiting Brillouin or Raman scattering
    • H01S3/109Frequency multiplication, e.g. harmonic generation
    • HELECTRICITY
    • H01ELECTRIC ELEMENTS
    • H01SDEVICES USING THE PROCESS OF LIGHT AMPLIFICATION BY STIMULATED EMISSION OF RADIATION [LASER] TO AMPLIFY OR GENERATE LIGHT; DEVICES USING STIMULATED EMISSION OF ELECTROMAGNETIC RADIATION IN WAVE RANGES OTHER THAN OPTICAL
    • H01S3/00Lasers, i.e. devices using stimulated emission of electromagnetic radiation in the infrared, visible or ultraviolet wave range
    • H01S3/10Controlling the intensity, frequency, phase, polarisation or direction of the emitted radiation, e.g. switching, gating, modulating or demodulating
    • H01S3/11Mode locking; Q-switching; Other giant-pulse techniques, e.g. cavity dumping
    • H01S3/1123Q-switching
    • H01S3/113Q-switching using intracavity saturable absorbers
    • H10P34/42

Landscapes

  • Physics & Mathematics (AREA)
  • Electromagnetism (AREA)
  • Engineering & Computer Science (AREA)
  • Plasma & Fusion (AREA)
  • Optics & Photonics (AREA)
  • Optical Modulation, Optical Deflection, Nonlinear Optics, Optical Demodulation, Optical Logic Elements (AREA)
  • Lasers (AREA)
  • Recrystallisation Techniques (AREA)

Abstract

【課題】安定で均一なビーム形状と強度をもち、干渉性が低く、小型で高効率なレーザ光源装置を提供する。
【解決手段】横マルチモードの光を出射する励起光源1と、共振器を構成し、少なくとも一部から異なる波長の光を外部に出力する共振器ミラー5,8,12と、励起光源1から出射される横マルチモードパターンの光で励起されるレーザ媒質6と、レーザ媒質6での発振により得られる横マルチモードの線状の基本波が照射されて、線状の変換波を出力する波長変換素子10と、を含む。
【選択図】図2

Description

本発明は、横マルチモードの光を出力するレーザ光源装置及びこれを用いたレーザ照射装置に関する。
近年、非晶質(アモルファス)シリコン薄膜にレーザを照射して多結晶シリコン薄膜に変化させるレーザアニール技術が注目されている。これは、物質を改質又は加工(穴あけ、切断、溶接など)するとか、或いは物質を露光(リソグラフィー)するといったレーザプロセスのうち、改質プロセスの一つである。この技術は、特に液晶ディスプレイデバイスや有機エレクトロルミネッセンスディスプレイデバイスにおける薄膜トランジスタ(TFT)の製造工程に利用できる。また、ラインセンサ等の光センサや高性能な薄膜太陽電池といった光起電力発電素子、あるいは半導体膜を使ったメモリLSI等の半導体集積回路のような半導体装置の製造工程にも利用できる。特に、基板上にレーザアニールする低温プロセスで多結晶シリコンや微結晶シリコンの薄膜を作製する場合、低温プロセスによるプロセスや基板構成の自由度を得ながらアモルファスシリコン薄膜より電子移動度を高くすることができる。すなわち高速応答性を実現することができることが知られている。また太陽電池などの光吸収のある素子では、多結晶シリコンや微結晶シリコンを用いることによって光の利用効率を最大に上げることができる。例えばアモルファスシリコン薄膜とマイクロ結晶シリコン薄膜とのタンデム型構造太陽電池にすることにより短波長の太陽光を効率よく吸収し全体効率を上げるのに適している(非特許文献1参照)。
またレーザアニール技術を利用する場合は、安価な大型のガラス、プラスチック等の基板の上に、基板を高温加熱することなく微結晶または多結晶粒を作製できるので、低コスト化と高性能化を図ることができる。
このようなレーザアニール装置においては、従来、ガスレーザ、パルス光である平均100W以上の高出力なエキシマレーザが用いられてきた。あるいはほぼ基本ガウシアンビームをもつ固体レーザ、また比較的小型な半導体レーザが研究開発されている。しかしながら、エキシマレーザアニーリング(ELA)は頻繁なガス交換やチューブ交換、取り出し窓クリーニングなどの定期メンテナンスが必要である。その上、パルス出力のばらつきによってアニール後の結晶粒径が小粒でばらつきやすく、その結果、得られる多結晶膜の移動度が小さくなってしまう。これは、レーザの平均出力変動に対して、一つひとつのパルス光強度の変動が大きいためであり、結果として平均出力変動に対してプロセスマージンが小さいという問題が知られている。また、シリコン薄膜が紫外光に対し大きな吸収係数をもつことにより、シリコン薄膜の表面近傍のみで紫外光が吸収され、ガラス基板側に残されたシリコン微結晶を核として多結晶化することも理由の一つと考えられている(非特許文献2参照)。
これに対して、固体レーザ、特に第2高調波を使ったグリーンレーザを使用すると、ガスレーザのような定期メンテナンスが必要ないという利点がある。また、照射波長の違いによりシリコン薄膜での吸収係数が異なるため、紫外光より波長の長いグリーン光ではより薄膜の奥まで届いて非晶質シリコンの膜全体を加熱したり溶融したりすることができる。これにより、成長する結晶粒を大きくすることができて、移動度等の特性の向上を図ることもできる(非特許文献2参照)。
更に、固体レーザを用いて、第2高調波だけでなく、レーザ共振器で発振している基本波も一部共振器から透過させることが提案されている。これによって、吸収係数の小さな基本波でアモルファスシリコン薄膜を深い部分まで同時に温め、吸収係数の大きな第2高調波は表面でアモルファスシリコン薄膜を溶融するといったこともできる(特許文献1参照。)。
応用物理 Vol.76, No.6, 619 (2007) 特開2003−347237号公報 レーザ学会誌『レーザ研究』Vol.34, No.10, 693 (2006)
上記特許文献1に開示の方法では、固体レーザを用いているものであるが、ほぼ基本ガウシアンビームをもつ固体レーザではアニール等のプロセスに適した線状ビームに変換する必要がある。しかしながら、レーザビームのM値が小さく干渉性が高いため、ホモジナイザで均一化すると干渉縞による空間的強度変調が発生しやすい。またこの空間的強度変調が時間的にも変動して、出力のノイズになり易いという問題がある。このように、基本ガウシアンビームをもつ固体レーザでは、そのコヒーレンシーの高さゆえ、干渉縞の発生しにくい光学系を用いることが必要であり、そのため光路が長くなる、設計自由度が制限されるなど光学系への制限がある。(非特許文献2参照)
また、レーザ共振器から基本波と第2高調波を取り出す場合、レーザ光のコヒーレンシーの高さから基本波と第2高調波との間でも位相関係が生じやすく、空間的、時間的強度変調ノイズが生じやすい。さらに基本波と第2高調波を両方利用する場合には、波長変換効率が基本波パワー密度に比例し、波長変換の出力が一般的に基本波出力に対し非線形なため、基本波のビーム中心部ほど変換効率が高く、波長変換後のビーム径は基本波のビーム径より実効的に小さくなってしまう。また、ガウシアンビームの特徴として集光するビームは短波長ほどビーム径が小さくなる。その結果、単純に線状ビームに変換するとその長手方向に第2高調波の方が小さくなってしまい、シリコン薄膜へ照射する場合、長手方向へのプロセス均一性を保つための煩雑な光学設計が必要となるという課題がある。さらに、大型基板へのレーザアニールを行う場合は、高出力であるほどスループットが高く低コストになるが、出力が数Wクラスの第2高調波固体レーザでも装置が大型であり、レーザアニールする基板への上方設置や並列化が難しいという問題がある。
以上の問題に鑑みて、本発明は、安定で均一なビーム形状と強度をもち、干渉性が低く、小型で高効率なレーザ光源装置とこれを用いたレーザ照射装置を提供することを目的とする。
上記課題を解決するため、本発明によるレーザ光源装置は、横マルチモードの光を出射する励起光源と、共振器を構成し、少なくとも一部から異なる波長の光を外部に出力する共振器ミラーと、共振器内に配置され、励起光源から出射される横マルチモードパターンの光で励起されるレーザ媒質と、共振器内に配置され、レーザ媒質での発振により得られる横マルチモードの線状の基本波が照射されて、線状の変換波を出力する波長変換素子と、を含む構成とする。
また、本発明によるレーザ照射装置は、横マルチモードの光を出射する励起光源と、共振器を構成し、少なくとも一部から異なる波長の光を前記共振器外に出力する共振器ミラーと、共振器内に配置され、励起光源から出射される横マルチモードパターンの光で励起されるレーザ媒質と、共振器内に配置され、レーザ媒質での発振により得られる横マルチモードの線状の基本波が照射されて、線状の変換波を出力する波長変換素子と、を備えるレーザ光源装置と、共振器外に出力されたレーザ光を照射する物質が載置される載置台と、を備える構成とする。
上述したように、本発明のレーザ光源装置及びこれを用いたレーザ照射装置においては、横マルチモードのパターンの光でレーザ媒質を励起して、レーザ媒質での発振により得られる横マルチモードの線状の基本波を波長変換素子に照射する。そして、波長変換素子において変換されて得られる線状の変換波を出力する構成とするものである。このような構成として、異なる波長の光、例えば基本波と変換波、又は第2高調波と第3高調波等の異なる波長の光を、共振器ミラーのいずれか又は共振器内に設ける折り返し反射部で透過させ、外部に出力させることができる。
このような構成とする場合、得られる出力光は、横マルチモードのパターンの光でレーザ媒質を励起して得られる横マルチモード光であるため、干渉性が極めて低く、干渉縞による空間的強度変調が発生しにくい。また、横マルチモード間の重なりが小さいためモード間の和周波発生を通じた非線形結合が大変小さく、このような空間的強度変調が時間的に変動して出力のノイズになることも回避ないしは十分に抑制できる。また横マルチモードにより安定性および低干渉性による均一性が得られるため、安定化・均一化のための追加の光学部品が不要で複雑な構成とすることなく、レーザ光源装置の構成をシンプルで小さくすることができる。さらに、干渉縞を抑えるための複雑な光学系を必要とせず、レーザ照射装置の小型化を図ることができる。
本発明によれば、安定で均一なビーム形状と強度をもち、干渉性が低く、小型で高効率なレーザ光源装置とこれを用いたレーザ照射装置を実現できる。
以下本発明を実施するための最良の形態の例を説明するが、本発明は以下の例に限定されるものではない。
〔1〕第1の実施の形態
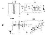
図1及び図2は、本発明の第1の実施の形態に係るレーザ光源装置の概略構成を示す図である。本発明のレーザ光源装置においては、線状の横マルチモードの光を取り扱うものであり、その長手方向をY方向、短軸方向をZ方向、光の進行方向をX方向として示す。図1A及び図2AにおいてはX−Y平面の構成図、図1B及び図2BにおいてはX−Z平面の構成図を示す。
図1及び図2に示すように、このレーザ光源装置100には、レーザダイオードアレイ等の横マルチモードの励起光を出力する励起光源1と、その出射光路上にコリメーター光学系2及び3、集光レンズ4が配置される。さらに、共振器ミラーとしての反射膜5、レーザ媒質6、共振光路を折り返すための反射部8が配置される。そしてこの折り返し用の反射部8の反射光路上に波長変換素子10、波長選択膜11を有する共振器ミラー12が配置される。共振器ミラー5、反射部8及び12の光路によって、共振器30が構成される。
この場合、レーザダイオード等の励起光源1から出射された横マルチモードパターンの光は、コリメーター光学系2及び3、集光レンズ4により適切なビーム形状とされる。また図示しないが必要に応じて1/4波長板等により例えば矢印p1〜p3で示すように波長変換される方位に従った適切な偏光方向とされる。そして横マルチモードパターンの光でレーザ媒質6が励起され、それによって複数の共振器ミラー5、12で構成される共振器30内で横マルチモードの線状の基本波が発振する。この基本波が波長変換素子10に照射されることによって第2高調波などの線状の変換波L2が発生する。
なお、本発明において線状の基本波とは、横長の楕円形のビーム形状を有する基本波であることを指し、例えば長軸と短軸との比(アスペクト)が10程度以上と比較的高い楕円状のビーム形状の光とする。図1A及び図2Aに示す横マルチモードパターンの光の長手方向及び励起光の進行方向に沿う断面では、ビームBの断面形状は横マルチモードのなだらかな形状となる。一方、図1B及び図2Bに示す横マルチモードパターンの光の短軸方向及び励起光の進行方向に沿う断面では、ビームBの断面形状はほぼガウシアン形状平面では、ビームBのスポット形状はほぼ円形となる。
本発明のレーザ光源装置100におけるレーザ媒質6及び波長変換素子10に適用可能な材料等について例示する。
レーザ媒質6としては、希土類添加の固体レーザ材料が用いられ、例えば、Ndイオンをイットリウム・アルミニウム・ガーネット(YAl12)にドープしたNd:YAG、Nd:YVO、Nd:GdVO、Yb:YAG、Yb:YVO等が挙げられる。
波長変換素子10は非線形光学結晶又は非線形光学素子より成り、例えばSHG(第2高調波発生)、THG(第3高調波発生)等の波長変換に用いられ、あるいは、和周波発生や光パラメトリック発振等に用いられる。使用材料には、KTiOPO、β−BaB(BBO)、LiB(LBO)、LiTaO、LiNbO、そのコングルーエント(一様融液)組成、そのストイキオメトリック(化学量論的)組成や、MgO、ZnO等の添加物を添加した材料が挙げられる。
例えば、C−LiNbO、C−LiTaO、S−LiNbO、S−LiTaO、MgO:C−LiNbO、MgO:C−LiTaO、ZnO:C−LiNbO、ZnO:C−LiTaOなどの結晶材料を用いることができる。また、MgO:S−LiNbO、MgO:S−LiTaO、ZnO:S−LiNbO、ZnO:S−LiTaOなどの結晶材料を用いることもできる。
また、それらに分極反転処理を施したPP−C−LiNbO、PP−C−LiTaO、PP−S−LiNbO(PPSLN)、PP−S−LiTaO(PPSLT)、PP−MgO:C−LiNbO、PP−MgO:C−LiTaO等の結晶素子が利用可能である。また、PP−ZnO:C−LiNbO、PP−ZnO:C−LiTaO、PP−MgO:S−LiNbO、PP−MgO:S−LiTaO、PP−ZnO:S−LiNbO、PP−ZnO:S−LiTaO、PP−KTiOPO等の結晶素子も利用可能である。なおここで、「C」は「congruent(一様融液)組成」、「S」は「Stoichiometric(化学量論的)組成」、「PP」は「Periodical Poling(周期分極反転)」を意味する。
周期分極反転構造を有する非線形光学結晶は、従来の非線形光学結晶に比べて非線形光学定数が大きく、高い変換効率が得られるとともに、ウエハープロセス技術による大量生産が可能であるため、低コスト化に有利である。特に、周期分極反転構造を形成する非線形光学材料として、気相平衡法処理(VTE:Vapor Transport Equilibration)等により得られた化学量論組成周期分極反転タンタル酸リチウム(PPSLT)を用いる場合は、フォトリフラクティブ耐性がコングルーエント組成に比べて改善される。このため長期信頼性に優れており、変換効率が高いデバイスが得られるので、数ワット以上の高出力光(第2高調波光等)を安定に得ることができる。
このような非線形光学結晶又は非線形光学素子を用いた波長変換素子10を共振器30中に配置することによって、共振器30の内部に閉じ込められる発振光の高いパワー密度をも利用することができて、高効率での波長変換が可能である。また、非線形光学結晶又は非線形光学素子を共振器30の外部に置くと高効率変換にはパルス発振が必要となるが、共振器30の内部に配置する場合には、連続発振でも高効率変換が可能である。
ここで、図1及び図2に示す例では、共振器30を構成する共振器ミラー5及び12の間に、光路折り返し用の凹面ミラー等より成る反射部8を配置するものである。このように共振光路を折り返す構成とすることで、レーザ光源装置100の小型化を図ることができる。
そして更に、横マルチモードの線状の基本波の長手方向を、共振器30内に設ける反射部8の入射面、すなわち入射光線と反射光線を含む折り返し光路により構成される平面に対し、略垂直となるように配置構成する例である。
横マルチモード等の線状の基本波を用いるレーザ光源装置において、小型化等を目的として共振器30内に反射部8を設ける場合、基本波の長手方向が反射部8の入射面に沿う方向に配置すると、線状ビームの長手方向に対して空間的な対称性が損なわれる。このため、出力光の均一性及び安定性の向上を図り難い。
これに対し、上述したように基本波の長手方向を反射部8による折り返し光路の平面内と略垂直な方向とすることによって、基本波の長手方向に関しては、空間的な対称性を保つことができる。したがって、波長変換素子10において変換される変換波においても長手方向に関して空間的な対称性を保つことができるので、非対称化、不均一化を抑制し、結果的に出力光の均一化及び安定化を図ることが可能となる。
このような構成とする図1及び図2に示すレーザ光源装置100において、共振器ミラー5または12、或いは折り返し用の反射部8を変換波に対して高透過率であるように波長選択膜等を施して構成すると、変換波が外部に矢印L2で示すように出力される。この変換波は横マルチモードパターンの光であるので、干渉性が低いビームであり、図示しないインテグレーター光学系により容易にトップハット形状化、すなわち長手方向に略均一な強度分布のビームとすることができる。したがって、この変換波をアニール用の光源として使用することにより、強度の空間的及び時間的なばらつきの少ないアニールを行うことができる。例えばTFTのシリコン多結晶化または微結晶化工程で利用する場合は、レーザビーム強度がビーム内で均一になることによって、Si基板の結晶粒サイズのばらつきが抑えられ、移動度の高いTFT薄膜を得ることが可能である。
またこのレーザ光源装置から得られる出力光は横マルチモードなので、一般的に知られている、内部共振型波長変換装置におけるモード間非線形結合によるモード競合の問題を、横モード間のモード形状の重なりの低さによって回避することができる。このため、モード競合の問題を他の方法、例えば、共振器長を長くするとか、1/4波長板や複屈折フィルタなどの波長選択素子を用いる等の方法によって解決する必要が本質的に生じない。したがって、大型化及び複雑化することなく、ノイズが抑制され且つ出力の安定なレーザ光源装置を実現できるという利点を有する。
そして本実施の形態のレーザ光源装置100において、共振器ミラー12を、基本波を若干、例えば0.5%から1%程度透過するように反射率を下げることが望ましい。このように反射率を設定することによって、共振器30内で共振している大きなパワーの一部が共振器30の外部に取り出される。これにより、変換波に加えて基本波も矢印L1で示すように外部に出力され、例えば上述したアニール光源として使用することができる。共振器30内の基本波パワーは変換波に比べ通常何桁も高いので、基本波パワーを一部取り出すことによる共振器損失としては十分小さく、ある程度出力は減少するものの変換波も十分に取り出すことができる。したがって、基本波に対する適切な透過率を選べば、基本波と変換波を適切な比率で取り出すことができる。
なお、図1に示す例では、凹面ミラーより成る折り返し用の反射部8を、変換波に対して高透過で且つ基本波に対して高反射として、波長変換素子10から出射される変換波をこの反射部8を通して外部に出力する構成とする。一方、波長変換素子10に近い共振器ミラー12のこの場合波長選択膜11は、変換波に対して高反射で且つ基本波に対して一部透過するように構成することにより、基本波を変換波とは逆の方向に出力する構成とする。このように構成して、逆方向に2つの波長の光を取り出すことができる。
一方、図2に示す例では、同一の方向に異なる波長の光、この場合基本波及び変換波を出力する構成とする例を示す。図2に示すように、励起光源1から入射する共振器ミラー5と折り返し用の反射部8を共に基本波に対して高反射とする。また、波長変換素子10に近い共振器ミラー12、この場合波長選択膜11を、変換波に対して高透過で且つ基本波に対して一部透過するように構成する。この場合は、同一の共振器ミラー12から2つの波長の光を矢印L1及びL2で示すように取り出すことができる。
特に、波長変換素子10として非臨界位相整合や、周期分極反転等による擬似位相整合により波長変換する結晶を用いる場合、基本波と変換波のエネルギー伝搬方向が異なることがないという利点を有する。すなわち、複屈折を使った通常の臨界位相整合による波長変換素子を用いる場合は、ウォークオフの作用により基本波と変換波のエネルギー伝搬方向が異なってしまう。しかし上述した擬似位相整合により波長変換する結晶を用いる場合は、基本波と変換波との光軸ずれを補正する光学系を設ける必要がなく、同軸で2波長の光を利用することが可能である。これはレーザアニール光源として2波長を利用する際に光学系の設計が容易となるので、極めて有利となる。また長い結晶長を持つ波長変換結晶にするほど高い変換効率が得られる。
図2に示す例のように、基本波と変換波を同一方向に出力する場合、以下の効果が得られる。すなわち、このように異なる波長の光を同一方向に出力する場合、波長変換前後でビーム径が異なる。このため、短軸方向に集光した基本波と変換波を重ね合わせたビームの平面形状は、図3Aに模式的に示すように、基本波のビームB1の短軸方向の中央部に変換波のビームB2が含まれるパターンとなる。なお、図3Aにおいては基本波と変換波のビーム形状を長方形に近い形状として示すが、これは長軸方向に対するインテグレーターなどの光学系で容易に実現することができる。
これについて詳しく説明すると、一般的に波長変換の効率は、基本波のパワー密度に比例する。したがって、基本波がガウシアンモードである線状ビームの短軸方向では、基本波のビーム中心で一番変換効率が高く、周辺に行くにしたがってガウシアン形状に沿って変換効率が低下するため、変換波のビーム短軸方向には、実効的にビーム径が小さくなる。さらに、波長により回折限界ビーム径が異なることから、長波長の光と短波長の光とでビームプロファイルが異なり、短波長の光のビームプロファイルが長波長の光のビームプロファイルに含まれる形となる。一方で本実施の形態においては長軸方向には横マルチモードの波長変換であるので、基本波のビームプロファイルはガウシアン形状に比べるとトップハット形状に近いなだらかな形状で、変換効率の分布もトップハットに近いなだらかな形状である。
さらに、基本波減衰もトップハット形状に近いので、結果として第2高調波などの変換波のビームプロファイルは基本波と同等サイズのトップハット形状に近い形になり易い。このように、横マルチモードを用いた基本波と変換波の長軸ビーム径はあまり変わらずほぼ同じ基本波・変換波プロファイル形状をもつ。したがって、図3Aに示すビームパターンとなる。
この基本波と変換波とを合波したビームを矢印mで示すように短軸方向に位置Pに対して相対的に移動させるとする。このとき、図3Bに示すように、位置Pでの時間を横軸にとると、基本波の強度変化IB1と変換波の強度変化IB2とにずれが生じる。つまり、基本波と変換波を合波し、短軸方向に集光した横マルチモードの線状ビームを短軸方向に移動することにより、基板に対しては同時照射であるにもかかわらず、位置Pでは基本波と変換波を時間遅延照射することができる。
このように、本実施の形態のレーザ光源装置によれば、基本波と変換波とを合波した線状ビームを線状方向(長手方向)と垂直な方向に、照射対象である物質に対してスキャンすることによって、均一なレーザアニールなどのプロセスを実現することができる。また、短軸方向は基本波の方が変換波よりもビーム径が大きいので、Siなどの基板を予備加熱したり、徐冷したりする効果を発揮することができる。なお、この効果は、本発明によるレーザ光源装置の低干渉性を利用して、フライアイレンズなどのインテグレーターで均一なトップハット形状にした後についても同じである。
すなわち、本発明によれば、同時照射であるにもかかわらず、光路差を設ける等の複雑な光学系とすることなく、異なる波長の光を時間的にずらして照射する時間遅延照射を行うことが可能となる。したがって、本実施の形態のレーザ光源装置において、出力する光の波長を適切に選定し、且つ、半導体基板等の物質に対する出力光の相対的な移動方向を選定することにより、異なる波長の光を所望の時間差をもって照射することが容易に可能となる。
また本実施の形態のレーザ光源装置においては、上述したように横マルチモードパターンの線状ビームであるので、干渉性が低いという効果がある。したがってこの低コヒーレンス性により、基本波と変換波の複数を同軸で伝搬させたとしても、基本波同士、変換波同士の干渉が生じにくいという利点に加えて、互いに位相関係が生じにくく、強度変化ノイズやビームプロファイル変化が生じにくいという特長が得られる。
すなわち、一般的なコヒーレンスの高い光の場合、異なる波長の光を合波すると、図4A及びBに示すように周期的な強めあい、弱めあいが生じ得る。図4Aでは、ある点においては位相がそろっている状態、図4Bは位相がずれている場合の一例を示す。この場合、最大振幅としては図4Bに示すような場合である。
このようにコヒーレンスの高い光を合波する場合、基本波と第2高調波のように波長が倍(半分)の関係にあると、干渉ではないが位相関係によって周期的な強弱のパターンが生じてしまう。波長毎に効果が異なるプロセスに用いる場合は問題ないが、相乗効果などがある場合には、このような強弱のパターンが生じると、プロセスに影響が出て、例えば薄膜トランジスタのSi結晶化工程のアニール等に適用する場合は、結晶粒のばらつきを生じ得る。
これに対し、本実施の形態においては、上述したように横マルチモードパターンの光で励起した横マルチモードの基本波、変換波を合波する構成とするので、このような二波長間の位相関係による変動も格段に抑制することができる。つまり、本発明のレーザ光源装置においては、横マルチモードパターンの光を用いることによって、低コヒーレンスの効果として、インテグレーター光学系等を用いてトップハット形状の均一なビームの二波長光を容易に得ることができるといえる。このようなトップハット形状の均一な二波長の光は、従来の二波長レーザ、すなわち単一モードの同一光源から波長変換過程で得られる基本波と高調波を合波して出力する二波長レーザにおいては、高コヒーレンスであるため、得ることができない。
なお、図1に示す例においては、波長変換素子10から共振光路に沿って両側に出射する第2高調波などの変換波のうち、一方を折り返している。すなわち、図1に示す例では共振器ミラー12により折り返し反射させて、両方の変換波を合波して外部に出力している。このように、両側に出力される変換波の一方を折り返して出力することで、光の利用効率を高めることができる。
このとき、干渉距離以内で変換波を合波することによって、干渉によるビーム形状の変化やノイズの増加が問題となる可能性がある。その場合には、一旦変換波の片方を共振器外に取り出して、外部に配置した他の凹面ミラー等の反射部、すなわち共振器外反射部によって時間干渉距離(時間コヒーレンス長)以上の距離を伝搬させてから共振器内に戻すとよい。このように時間干渉距離以上の距離を伝搬させてから、もう片方の変換波と重ねて同一方向に取り出すことにより、干渉によるビーム形状の変化やノイズの増加を抑えることができる。あるいは図2の場合、後述のように反射部8で変換波が高透過で透過することにより失うはずだった変換波を再利用することができる。
図5A及びBは、このように共振器外反射部を設ける実施の形態の概略平面構成図であり、図1に示す例と同様に、基本波と変換波を異なる方向に出力する場合を示す。図5において、図1と対応する部分には、同一符号を付して重複説明を省略する。図5においては、波長変換素子10に近い共振器ミラー12を変換波に対して高反射とする代わりに高透過とする。そしてこのレーザ光源装置100における時間コヒーレンス長以上の距離だけ離間した位置に、凹面ミラー等より成る共振器外反射部13を設ける。そしてこの共振器外反射部13においては、基本波は高透過で変換波は高反射となるように構成する。このような構成とすることで、波長変換素子10において、折り返し用の反射部8に向かって発生する変換波と合波させることができる。また共振器外反射部13として凹面ミラーを用いることで、二つの変換波を同程度のビーム形状とウエスト位置をもたせることができる。
一方、図6においては、図2に示す例と同様に、基本波と変換波を同一の方向に出力する場合を示す。図6において、図2Bと対応する部分には、同一符号を付して重複説明を省略する。図6に示すように、この例では、凹面ミラーより成る折り返し用の反射部8を変換波に対して高透過とし、その外側に凹面ミラー等より成る共振器外反射部18を設けて変換波に対して高反射になるように構成する。この場合、波長変換素子10から反射部8に向かって発生する変換波は、一旦共振器30の外部に取り出され、共振器外反射部18により反射されて共振器30内に戻され、波長変換素子10に再度入射される。そして波長変換素子10において逆向きに、すなわち共振器ミラー12側に発生する変換波と合波され、且つこの共振器ミラー12から外部に、基本波と同一方向に出力される。
なお、図6に示すように、この共振器外反射部18は、共振器30の外部に、変換波に対して高反射となる凹面ミラー等を配置して構成してもよい。また、図7に示すように、共振器30内の反射部28の裏面を凸面形状にして、変換波に対して高反射になるように構成してもよい。
なお、より干渉を効果的に抑えるためには、変換波の2つのビームを空間的に少しずらして合波することが望ましい。すなわち凹面ミラー等の共振器外反射部を光軸からずらすなどにより、空間的干渉距離以上ずらして合波すればよい。その他共振器外反射部としては、2つの平面ミラーやプリズム等を用いることができる。
一般的に高調波の干渉が十分低減し、安定した出力を得るために必要な空間的ずらし量は、レーザ光の縦横モード数をはじめレーザのもつ特性、また変換波の用途、すなわち適用する光学装置の種類によって異なってくる。一般的には、2つの変換波ビームの光軸を合わせて干渉させた状態に対し、光軸を互いにずらして重ね合わせて発生する干渉縞のビジビリティ(干渉縞コントラスト)が1/e程度に低減したときのビームずらし量以上であればよい。すなわち、空間干渉距離(空間コヒーレンス長)以上であればよいといえる。
上述の構成とすることによって、共振器外に配置したミラー1枚によって、波長変換素子において発生した2方向の変換波と、基本波の3ビームを一つのミラーからシンプルなレイアウトによって高効率に、ほぼ同軸に取り出すことができる。
本実施の形態における基本波と変換波の波長は、レーザ結晶とその励起波長、および波長変換に関わる非線形光学プロセスで決まる。例えば、レーザ結晶としてNd:YVO結晶、励起波長として808nm付近を選べば、基本波の波長はおよそ1064nmを選ぶことができる。また、この場合非線形光学プロセスとして第2高調波発生を選べば、変換波の波長はおよそ532nmとなる。これは、現在数W以上の半導体レーザ出力の得られている波長よりも短い。
一般に物質の吸収は、吸収端に向かってより短波長である方が大きい。レーザアニールなどのプロセスの対象とする材料、例えばアモルファスSiの吸収係数でもその例に漏れない。したがって、532nmの方が現在ある高出力半導体レーザより波長が短いため大きく吸収され、その部分のアモルファスSiの温度が効果的に上昇する。もちろん、基本波の1064nmよりもSiを効果的に加熱する。一方で、1064nmの吸収係数は小さい代わりに結晶の深さ方向により浸透する。即ち、変換波より基板深くまで穏やかに加熱することによって、変換波の吸収によって発生した熱量の散逸を防ぐことができる。
また、一次元横マルチモードの短軸方向には基本波のビーム径の方が大きい。したがって、532nm光を照射して温度の上昇している(線状ビーム短軸の)前後の領域および深さ方向の領域を1064nm光で穏やかに加熱し、前述した予備加熱や徐冷効果に加えて吸収により発生した熱量の散逸を防ぐことができる。これによって、効果的あるいは効率的なレーザアニールプロセスを実現することができ、レーザアニールプロセスの均質性、スループット向上などの効果を得ることができる。また、熱膨張の差による歪みを防ぐなどの効果を得ることができる。
なお、本発明のレーザ装置を構成するレーザ結晶、波長変換結晶、共振器構成(共振器ミラーの枚数や配置、曲率)などは、本実施の形態の図に説明する内容に限られないことはいうまでもない。適切な材料と構成を用いれば、より短波長、より長波長の組合せのレーザ光源を得ることができる。
なお、本実施の形態においては、レーザ共振器における発振を連続発振とすることができる。これによって、パルス発振であるエキシマレーザで生じるパルス間のエネルギーばらつきの問題を回避し、時間的均一性の高いビームを得ることができる。エキシマレーザを用いる場合においては、エネルギーのばらつきに起因するプロセス上のばらつきを回避するために、パルス繰り返し数を設定して平均化を図っており、この繰り返し数のためにスキャンスピードが制限されている。しかしながら本発明による場合は、このような制限をする必要がなく、自由にスキャンスピードを選ぶことができることとなる。またレーザ光の出力変動が少ないためSiの平均結晶粒径向上による移動度向上などの特性の向上に加えて結晶粒径ばらつき低減による特性ばらつき低減も見込める。
〔2〕第2の実施の形態
次に、本発明の第2の実施の形態に係るレーザ光源装置について説明する。図8A及びBは第2の実施の形態に係るレーザ光源装置の概略構成図を示す。
本実施の形態においては、第1の実施の形態におけるレーザ光源装置にQスイッチ素子、過飽和吸収体などのパルス生成機構を設けるか、あるいは、レーザダイオード等の励起光源の投入電流値を直接変調する構成とする。このような構成とすることによって、共振器からの基本波と変換波をパルス発振光として取り出すものである。図8A及びBにおいて、図1A及びBと対応する部分には同一符号を付して重複説明を省略する。図8A及びBにおいては、共振器30内のこの場合レーザ媒質6と反射部8との間に、Qスイッチ素子又はCr:YAGなどの透過型過飽和吸収体より成るパルス生成機構20を配置した例である。このパルス生成機構としては、半導体による過飽和吸収体を反射部8や共振器ミラー12等のいずれかの反射面にとりつけても構わない。
波長変換の効率は、基本波パワー密度が高い方が効率の高いことが知られている。例えば、基本波減衰が無視できるような低変換効率領域では、効率は基本波パワー密度に比例して増加する。従ってパルス光のピーク値付近での変換効率は非常に高い。特に、対象とするレーザアニールなどのレーザプロセス工程が平均パワー密度よりもピークパワー密度により高反応となる場合は、パルス光によるレーザアニールを行うことが望ましい。なお、この場合はプロセスの必要とするパワー密度一定性に応じて、材料の同じ位置へのパルス照射回数を増やして平均化することも可能である。
なお、本実施の形態において、変換波のみを外部に出力し、波長選択膜11の基本波に対する反射率を高く設定して構成する場合は、以下の効果が得られる。すなわち、横マルチモードによる低コヒーレンスをもった変換波が得られるため、安定で、容易にトップハット化が可能なレーザ光源装置を実現する。また、横マルチモード発振により部品点数が少数でも安定性を実現できるので、小型なレーザ光源装置を作ることができる。そして、部品点数が少ないため共振器中の損失が小さく高効率なレーザ光源装置を実現することができる。
また図8に示す例においては、基本波と変換波が照射されると第3高調波などのさらなる変換波を生じるように作られた追加の波長変換素子9を共振器30に配置する例を示す。本実施の形態においては、レーザ共振器30内では、励起光によってレーザ媒質6において発光した光が共振器30で発振して生じる基本波と、その基本波を波長変換素子10に照射して生じる第2高調波等の変換波は、共にパルス発振でありピークパワー密度が高い。したがって、適切に設計されて作られた追加の波長変換素子9を配置することによって、効率よくそれらの和周波である第3高調波等の変換波を発生することができる。
例えば、最初の共振器内共振波長(最初の基本波)が1064nmであれば、共振器30内で発生する第2高調波の波長は532nmである。よって、最初の基本波に対する第3高調波、すなわち最初の基本波と共振器30内で発生する第2高調波に対する和周波の波長は355nmとなる。これにより、例えばレーザ媒質6にNd:YAG、Nd:YVO、第2高調波など最初の変換に対する波長変換素子10にMgO−PPSLN、MgO−PPSLTなどを用い、第3高調波などを生じるさらなる波長変換素子9としてLBO、BBOなどを用いる。このような構成とすることによって、基本波と最初の第2高調波発生による変換波との和周波である第3高調波を得ることができる。波長選択膜11は第3高調波に対しても高透過にする。この場合、より短い波長のレーザアニール等の光源を実現できるので、例えばTFT基板のSi材料のより吸収係数の大きい波長で効果的に結晶化を実現することができる。
このとき、共振器ミラー12に近い側から順に第3高調波発生用の波長変換素子9を配置し、次に第2高調波発生用の波長変換素子10を置くことが好ましい。このような構成とすると、発生した第2高調波は、同じ向きに進行している共振器30内の基本波と合わさって第3高調波を発生する。発生した第3高調波は第2高調波発生用の波長変換素子10には入射しないので、第2高調波発生用の波長変換素子10に第3高調波波長における吸収が相当量あっても構わない。すなわち、波長変換素子10の材料選定が比較的自由になるとか、また波長変換素子10の波長選択膜の設計がシンプルになる、という利点を有する。もちろん、反射部8側に発生した第2高調波は、図示しないが図6,7において説明したように、外部に設けた第2高調波を反射する共振器外反射部により反射される。そして、元々共振器ミラー12側に発生した第2高調波と合波して、第3高調波発生用の波長変換素子9に入射して合波してもよい。もちろん波長変換素子10と波長変換素子9の位置を逆にして各共振器ミラーの透過率、反射率を適切に選定し、SHGとTHGを反射部8から出力するようにしても良い。
このように、本実施の形態においては、共振器内モード径の設計や波長変換結晶長、結晶挿入位置、パルス条件、波長選択膜11における基本波透過率などの選定によって、基本波、第2高調波と第3高調波を適度なパワー比で出射することもできる。そしてこの場合も、基本波とSHGだけ、あるいはTHGだけなど各波長のみを用いる場合と比べ第1の実施の形態で述べたようなTFT製造プロセスに適用した場合の基板の余熱や徐冷効果、及び基板深さ方向への穏やかな加熱によって不要に生じた熱が逃げることを防ぐ等の効果を得ることができる。すなわち、アモルファスSiの吸収は赤外から、可視光域、さらに紫外光領域に向かって急激に増加するため、第2高調波あるいは第3高調波を532nm、355nmなどの波長になるように選定した際には、上述した余熱や徐冷効果等を導入する効果が一層高まる。つまり、2波長以上を用いたプロセスとすることにより、レーザアニールなどのプロセスに適用した場合に結晶粒の均一化等に対して一層効果が得られ、結果的に対象となるTFT等の特性の向上につながる。照射する光の波長や、複数波長とする場合の各波長間の光量比率を適切に選定することにより、目的とする基板材料の初期状態や目的とする形態に応じたプロセスとして最適化することができる。
本実施の形態における波長変換素子は、上記説明では第2高調波発生と第3高調波発生のための素子が異なる例を説明したが、もちろん同じ波長変換素子であっても構わない。擬似位相整合を用いた波長変換素子を1つの結晶で構成する場合は、擬似位相整合のために構成する分極反転の周期を二種類以上とすれば、2つの波長変換プロセスを1つの素子で実現できる。例えば、波長変換素子10の反射部8側の前半部において、周期分極反転構造のピッチを第2高調波発生の擬似位相整合に合わせ、これとは反対側の後半部において、周期分極反転構造のピッチを第3高調波発生のための和周波発生の擬似位相整合に合わせればよい。このような構成とすることにより、部品数の削減及び各素子の光学的な調整の手間の削減を図ることができる。
図8に示す例においては、第3高調波発生用の波長変換素子を共振器30内に配置する場合を示すが、図9に示すように、第3高調波発生用の波長変換素子15を共振器30の外部に配置することも可能である。この例は、図1において説明した第1の実施の形態における構成として基本波と第2高調波を発生し、その上で共振器30にQスイッチ素子や透過型過飽和吸収体等のパルス生成機構20を設ける。これによりパルス発振を行うことでピークパワー密度を高め、出射された基本波と高調波を共振器30の外部に取り出し、集光レンズ14を介して第3高調波発生用の波長変換素子15に入射する構成とする。このような構成とする場合、パルスのピークパワーによる高い変換効率で、ワンパスの和周波発生であっても比較的効率のよい変換が実現できる。
またその他の変形例として、図10に示すように、図8に示す例と同様の構成として第2高調波及び第3高調波等の変換波を発生するものの、共振器ミラー12において基本波のみを別の方向に反射させる構成としてもよい。図10において、図8Bと対応する部分には同一符号を付して重複説明を省略する。そしてこの場合、共振器ミラー12において反射した基本波を反射型のQスイッチ素子や過飽和吸収体より成るパルス生成機構21に入射させて再度共振器ミラー12側に反射させる構成とする。この場合は、第2高調波と第3高調波等の2種類の変換波のみを外部に取り出す構成とすることができる。
更に、図8に示す例における反射部8の位置に反射型のQスイッチ素子や過飽和吸収体より成るパルス生成機構21配置して基本波を反射させる構成としてもよい。そして、波長変換素子10及び波長変換素子9をその後に配置し、共振器ミラー12に入射させる構成とすることも可能である。この場合は、元々の励起光の進行方向とほぼ平行な方向に、基本波と、第2高調波及び第3高調波等の二種類の変換波を矢印L1〜L3で示すように出力することができる。図11に示すように、図8における共振器ミラー12の位置にパルス生成機構21を配置して基本波を反射させ、波長変換素子10及び波長変換素子9をその後に配置し、共振器ミラー12に入射させる構成も可能である。図11において、図8Bと対応する部分には同一符号を付して重複説明を省略する。
上述の図8〜図11に示す本実施の形態によれば、完全な同軸で基本波と第2高調波を第3高調波発生用の波長変換素子に入射できるので和周波発生に好都合である。なお、図9に示す例のように、第3高調波発生用の波長変換素子に入射する前に、レンズなどで適切にビームを成形集光する場合は、十分な波長変換効率が得られる。この場合、この波長変換素子の表面や内部での損傷の起きないパワー密度となるように調整することが望ましい。
更に、共振器30内、或いは共振器30の外部に配置する第3高調波発生用の波長変換素子に代えて、第4高調波発生用の波長変換素子を用いても構わない。この場合は、共振器30内で発生した第2高調波の線状ビームを再度基本波として、その第2高調波が元々の基本波の第4高調波として発生する。例えば、最初の共振器内共振波長(最初の基本波)が1064nmであれば、共振器内発生第2高調波は532nmであるので、最初の基本波に対する第4高調波、すなわち共振器内発生第2高調波に対する第2高調波は266nmとなる。
なお、本実施の形態における二段階の波長変換を行う例においてはパルス発振とする例を説明したが、必要な変換効率がとれれば連続発振であっても構わないことはいうまでもない。
〔3〕第3の実施の形態
次に、本発明の第3の実施の形態に係るレーザ照射装置の各例を、図12〜図15を参照して説明する。各例共に、上述の第1及び第2の実施の形態において説明した各構成のレーザ光源装置を用いることが可能であり、例えば薄膜トランジスタ(TFT)におけるアモルファスSiなどのレーザアニール工程において適用することができる。本発明によるレーザ光源装置からの変換光、または変換光と基本光からなる線状のレーザビームを、その短軸方向に走査することによって、上述したように、アニールプロセスにおいて徐冷等の好ましい温度変化過程が可能となる。すなわちこのようにレーザプロセス装置として用いることによって、TFTの均質性を保つと共に、性能の向上を図ることが可能となる。
図12A〜Dは、本実施の形態に係るレーザ照射装置200の概略構成図である。各例共に、1つのレーザ光源装置100を用いる例で、レーザ光を照射する対象である物質50を載置台60に配置すると共に、その上方にレーザ光源装置100を配置する。レーザ光源装置100と物質50との間には、必要に応じてインテグレーターを含む球面または非球面レンズや円筒レンズ又はそれらの組み合わせによって適切にビーム整形を行う光学系104を配置してもよい。
図12A及びBにおいては、照射対象である物質50を載置する載置台60を固定として、レーザ光源装置100を矢印M1で示すように移動するように、図示しない移動機構をレーザ光源装置100に設ける例を示す。また、図12C及びDにおいては、逆に載置台60を矢印M2で示すように移動するように、載置台60に図示しない移動機構を設ける例を示す。図12A及びCは、線状ビームBの短軸方向に沿う平面図、図12B及びDは、線状ビームの長手方向に沿う平面図をそれぞれ示す。図12においては、物質50として表面にアモルファスSi等の薄膜52を形成した基板51を用いる例を示す。
なお、このように相対的な移動手段を設ける場合に、レーザ光照射工程においてのみレーザ光源装置100を載置台60上に配置し、その他の工程においてはレーザ光源装置100が載置台60の上方から待避する構成としてもよい。非照射時の配置構成は、基板等の物質50の載置台60上への出し入れ等の作業やメンテナンス作業等において、作業性を損なわない構成とすることが望ましい。
本発明によれば、線状ビームの干渉性は低くフライアイレンズなどのインテグレーターなどで容易に均一なトップハット形状とすることができ、したがって短軸方向にレーザ光を走査することで、物質50の表面に対して均一なレーザアニールをすることができる。この結果、例えばアモルファスSiの多結晶化や微結晶化に用いる場合は、結晶粒の大きさのばらつきが少なく、移動度の大きいTFTを得ることができる。
また本発明におけるレーザ装置は、小型で高効率なので、図12に示すように、照射対象となる物質50の上方にレーザ光源を設置することが容易に可能となる。このため、図12A及びBに示すように、レーザ光源装置100を移動してアニールすることもでき、装置設計の自由度を増す。特に大型基板に対するレーザ照射を行う場合は、大型基板の移動装置を設けると装置が更に大型化し、それにもかかわらず精密な移動機構が必要になるという不都合がある。したがって、本発明によれば、レーザ光源装置を小型化できるので移動機構を設けて走査することが十分可能であり、装置全体の大型化を回避できるという効果がある。
更に、本発明のレーザ光源装置は小型で高効率であるので、光源装置を複数用い、並列化することも極めて容易となる。レーザ照射装置において、加工や改質、露光などの対象である半導体基板等の物質に対し、その上部に並列してレーザ光源装置を配置することも可能である。図13にこの場合のレーザ照射装置200の概略構成図を示す。この例においては、2台のレーザ光源装置101及び102を用いて、偏光ビームスプリッタ103を利用して合波する例を示す。図13において、図12と対応する部分には同一符号を付して重複説明を省略する。このように、偏光ビームスプリッタ103でレーザ光を合波する場合には、片側のレーザ光源装置において、レーザ光の偏光が他のレーザ光源装置のレーザ光の偏光方向と直交するように、図示しない1/2波長板などで偏光を90度回転するとよい。
また、図14及び図15に示すように、線状ビームの長軸方向にレーザ光源装置100a〜100cを並置してレーザ照射装置200を構成することもできる。レーザ光源装置100a〜100cは同一の構成のものを用いてもよく、また目的に合わせて異なる構成、すなわち互いに異なる2波長以上の光を出力するレーザ光源装置を組み合わせて利用することも可能である。図14及び図15において、図12と対応する部分には同一符号を付して重複説明を省略する。なお、レーザ装置を並置する場合には、目的とするプロセスによって、図14に示すように長手方向に並べたり、図15に示すように短軸方向に並べたり、適宜選定可能である。図15に示す例では、レンズアレイ等の光学系105に対して、一部のレーザ光が偏芯する等の構成とすることにより、照射角度を適宜選定して、レーザビームを物質50上において重ね合わせる構成とすることも可能である。このようにレーザビームを重ね合わせる場合においてもスキャンスピードを速めることができるので、重ならないように並べる場合と同様に、プロセスのスループットの向上、すなわちタクトタイムの減少が見込める。または、レーザビームを重ね合わせる場合にはパワー密度の向上が見込めるので、照射位置でのレーザビーム吸収による上昇温度を増加させプロセス改良による特性向上を図ることもできる。
上述したように、本発明においてはガスレーザではなく固体レーザ等の励起光源による内部共振型波長変換を利用したレーザ光源装置である。したがって、このようにレーザアニール等のレーザ照射装置の光源として用いることにより、エキシマレーザ光源などよりはるかに寿命が長く、ガス交換などのメンテナンスが要らず、しかも安定であるというメリットを享受できる。
なお、本発明のレーザ照射装置の適用技術としては、もちろん上述したようなアニール工程に限らない。レーザ光によって熱的、電気的、化学的に材料の改質、加工、露光を行うようなプロセスであれば構わない。たとえば、連続発振であれば、アニール以外に溶接、プラスチック加工(切断等)、半導体プロセスのリソグラフィー露光、ホログラム用読み書き光源として利用可能である。パルス発振であれば、パルス幅や繰り返し周波数によって、アニール以外にも様々な加工(穴あけ、切断、マイクロマシニング、アブレーション加工等)に用いることができる。ビームのトップ部の熱を利用したレーザリソグラフィーという手法も有効である。レーザビームを照射する物質も、金属、結晶、樹脂等々様々なものを対象とし得る。
また、上述したレーザ照射装置において、レーザ光源装置の出力光を変換波のみとする場合においても、横マルチモードによる低コヒーレンスで安定な光を用いることから、干渉によるノイズのないプロファイルの均一な安定で高効率なレーザ照射が可能となる。例えばSi薄膜トランジスタ、あるいはそのほか太陽電池、LSIなど半導体薄膜素子製造におけるレーザアニールに用いる場合は、対象材料に対する変換波の波長の吸収量の大きさを利用することに加えて、多結晶Siのサイズ均一性、移動度ばらつきの低減等の効果が得られる。また、その他の改質、加工、露光等のプロセスに用いる場合においても同様に安定で高効率なレーザ照射を行うことが可能となる。
以上説明したように、本発明のレーザ光源装置においては、横マルチモード発振の固体レーザ共振器内に波長変換素子を設け、横マルチモードパターンの光でレーザ媒質を励起して発振した線状の基本波を波長変換素子に照射する。これにより、横マルチモードの線状の変換波を出力する。その結果、下記の効果が得られる。
1.横マルチモードによる低コヒーレンスをもった変換波が得られるため、安定で、容易にトップハット化が可能なレーザ光源装置を実現する。
2.横マルチモード発振により部品点数が少数でも安定性を実現できるので、小型なレーザ光源装置を作ることができる。また、部品点数が少ないため共振器中の損失が小さく高効率なレーザ光源装置を実現することができる。
また、共振器ミラーのいずれかにおいて基本波の一部を透過できるようにすることによって、線状の基本波と線状の変換波を同時に出力できる。その結果、下記の効果が得られる。
3.横マルチモードによる低コヒーレンスをもった基本波と変換波の2波長を同時に得られるため、安定で、2波長の干渉がなく、容易にトップハット化可能であるレーザ光源装置を実現する。
更に、同一の共振器ミラーから基本波と変換波の両方を出力するように構成することができる。その結果、下記の効果が得られる。
4.出力光を、伝搬光路を同一にするための余分な光学系なしに基本波と変換波を同軸で用いることができるようなレーザ光源装置を実現する。
また、同一の共振器ミラーから出射される基本波と変換波は共振器内波長変換による横マルチモードによる線状ビームなので、下記の効果が得られる。
5.ビームの長軸方向にはほぼ同一のビーム径で、短軸には集光位置にて変換波より大きい基本波ビームサイズを持つようなレーザ光源装置を実現する。
また、波長変換素子から共振光路に沿って発生した変換波のうち一方を一旦共振器の外部に取り出して折返し反射部により波長変換素子に戻されて、もう一方の変換波と基本波と共に出力されるように構成することができる。その結果、下記の効果が得られる。
6.波長変換素子で発生する高効率な変換波を、基本波、および波長変換素子で逆方向に発生する変換波同士の干渉または位相関係を抑えて取り出し、波長変換素子から両方に発生する変換波同士、あるいは基本波と変換波の2波長が干渉しないまたは位相関係のない状態で用いることができる。
また、波長変換素子の位相整合条件を非臨界位相整合や擬似位相整合であるように構成することによって、波長変換素子の結晶長を長くしても基本波と変換波の伝搬方向のずれない、形状対称性の高いビームを持ったレーザ光源装置を実現することができる。その結果、下記の効果が得られる。
7.長い結晶長を持った波長変換素子により高効率なレーザ光源装置を実現する。また、伝搬方向が全くずれない基本波と変換波が出力されるので、伝搬方向ずれを補正する光学系なしに同軸で基本波と変換波を用いることができる。さらに、形状対称性の高いビームによって均一性の高い基本波及び変換波を出力するレーザ光源装置を実現する。
更に、レーザ媒質と波長変換素子、変換プロセスを適切に選べば基本波と変換波の波長を選ぶことができる。その結果、下記の効果が得られる。
8.変換波の波長を250nm以上550nm以下となるような波長変換によってレーザ光源装置を構成することができる。
また、このレーザ光源装置を連続発振で構成することができる。その結果、下記の効果が得られる。
9.出力のばらつきのないレーザ光源装置を実現することができる。
更に、共振光路内にQスイッチ素子を設ければ、パルス発振させることができる。その結果、下記の効果が得られる。
10.高ピークパワーをもつエキシマレーザと比べ安定、メンテナンス不要で複数波長出力のレーザ光源装置を実現することができる。
また、共振光路内に基本波とそれを波長変換素子に照射して得られる変換波による和周波などを発生させる波長変換素子を設けることができる。その結果、下記の効果が得られる。
11.第3高調波などさらに波長の短い波長変換波を出力するレーザ光源装置を実現することができる。さらに、この短波長光と、基本波や変換波との複数波を出力するレーザ光源装置をも実現できる。
このような特徴をもつレーザ光源装置であるので、レーザ照射装置に用いることで、下記の効果が得られる。
1.横マルチモードによる低コヒーレンスで安定な光を用いることから、干渉によるノイズのないプロファイルの均一な安定で高効率なレーザ光源装置が得られる。これにより、例えばSi薄膜トランジスタ、あるいはそのほか太陽電池、LSIなど半導体薄膜素子製造におけるレーザアニールにおいて、照射ビーム強度がばらつかず一定となる。その結果多結晶Siのサイズ均一性を向上させ、粒界を減少させることによって移動度ばらつきを低減することができ、リーク電流減少などの特性の向上を図ることができる。また、横マルチモードにおける波長変換により、このばらつき低減効果を、短波長光を利用したレーザ照射装置にて実現できるので、対象とする物質が短波長光に対して大きな吸収をもつため、移動度を向上しつつばらつきも低減した特性を得ることができる。これは特性向上と歩留向上の両方を実現することを意味する。
特に、基本波と変換波の2波長または3波長のレーザ光を同時に照射することができ、短波長光に対する大きな吸収を利用し、またそれらの光にも干渉や位相関係によるノイズがない、安定で高効率なレーザアニールなどのレーザ照射装置として利用することができる。他にも、Si太陽電池の製造装置の光源、LSI半導体薄膜の製造装置の光源等、その他様々な表面改質プロセス光源、露光光源、加工光源など、種々の材料の表面処理において用いることで、特性の向上を図る効果が得られる。
2.レーザ光源装置が高効率であることにより、レーザアニール装置などのレーザプロセス用光源として、アニールプロセスのタクトタイム減少やスループット向上を図ることができる。
3.レーザアニール装置などにおける小型光源として、アニール対象であるSiトランジスタ基板などの上方に設置することが可能になったり、大面積のSiトランジスタ基板に複数のレーザ光源装置を並列に用いたりすることができる。また、レーザ光源装置側を移動することによってレーザアニールすることが可能であり、これにより大面積のSiトランジスタのアニールを容易にする。更に、複数光源により大面積のSiトランジスタのアニールのタクトタイム減少やスループット向上や特性向上を図ることができる。
4.レーザアニール装置などにおける光源として用いる際に、基本波と変換波の光軸を補正する照明光学系が不要であり、装置の小型化、コスト低減、光路長など光学系設計に関する自由度を得ることができる。
5.対象とする材料(例えばSi)で吸収係数の大きい変換波長を、基本波、第2高調波又は第3高調波である変換波から選びあるいは適切な割合で取り出してレーザアニール装置の光源に用いることができ、効率よくアニールできる。したがって、小型で高効率、かつ低コヒーレンスなレーザアニール装置によってアニールプロセスの特性向上、タクトタイム減少やスループット向上を図ることができる。
6.対象とする材料(例えばSi)で吸収係数の比較的小さな長波長基本波により基板深くまで加熱しながら、吸収係数のより大きい短波長の変換波によりアモルファスシリコンなどの材料に効率的に吸収させることができる。これにより、ポリシリコン(多結晶または微結晶シリコン)に変化、あるいは改質をさせることができる。すなわち、材料を変化させたい箇所の周辺を基本波で穏やかに加熱することによって変換波の吸収によって発生した熱量の散逸を防ぐことができる。その結果、効果的かつ効率的なレーザ照射装置を実現する。
7.レーザアニール装置などにおけるレーザ照射装置の光源として、アニールする基板との間の移動について、線状ビームの長手と垂直、すなわち短軸方向に移動するように構成することによって、次の効果が得られる。すなわち、材料の吸収係数の比較的小さな長波長基本波により移動前後の周辺部(短軸側前後)を加熱しながら、吸収係数のより大きい短波長変換波により材料の改質、加工などをすることができる。この場合、ビーム長軸方向にはインテグレーターなどにより均一でビーム径がほぼ等しい基本波と変換波の照射効果を得ることができ、ビーム短軸方向には、ビーム径が変換波の方が小さいことによって基本波による余熱・徐冷効果を得ることができる。したがって、材料を変化させたい箇所を基本波で余熱することによって変換波の照射後の短時間で高温にすることができる。また、材料の変化後も吸収係数の小さい基本波により変化箇所の周辺を加熱し続けることができるので、変化させた箇所の周辺を徐令し、機械的歪みの発生を避け、結晶化プロセスであれば大きな結晶の作製を可能にする。すなわち、材料を変化させたい箇所を比較的低温で十分に予熱した後に短時間で高温にすることができる。あるいは、材料の変化後も吸収係数の小さいままの基本波により変化箇所の周辺を加熱し続けることができ、変化させた箇所の周辺を徐令し、機械的歪みの発生を避け、結晶化プロセスであれば大きな結晶の作製を可能にする。
なお、本発明は上述の実施形態例において説明した構成に限定されるものではなく、その他本発明構成を逸脱しない範囲において種々の変形、変更が可能である。
A及びBは本発明の実施の形態に係るレーザ光源装置の概略構成図である。 A及びBは本発明の実施の形態に係るレーザ光源装置の概略構成図である。 Aは本発明の実施の形態に係るレーザ光源装置からの出力光の一例のビーム形状の模式的平面図、Bはビーム照射時の時間変化の一例を示す図である。 A及びBは高コヒーレンス光源を用いる場合の異なる波長の光を合波した場合の波長の振幅変化を示す図である。 A及びBは本発明の実施の形態に係るレーザ光源装置の概略構成図である。 本発明の実施の形態に係るレーザ光源装置の概略構成図である。 本発明の実施の形態に係るレーザ光源装置の概略構成図である。 A及びBは本発明の実施の形態に係るレーザ光源装置の概略構成図である。 A及びBは本発明の実施の形態に係るレーザ光源装置の概略構成図である。 本発明の実施の形態に係るレーザ光源装置の概略構成図である。 本発明の実施の形態に係るレーザ光源装置の概略構成図である。 A〜Dは本発明の実施の形態に係るレーザ照射装置の概略構成図である。 A及びBは本発明の実施の形態に係るレーザ照射装置の概略構成図である。 A及びBは本発明の実施の形態に係るレーザ照射装置の概略構成図である。 A及びBは本発明の実施の形態に係るレーザ照射装置の概略構成図である。
符号の説明
1.励起光源、2,3.コリメーター光学系、4.集光レンズ、5.共振器ミラー、6.レーザ媒質、8.反射部、9.波長変換素子、10.波長変換素子、11.波長選択膜、12.共振器ミラー、13.共振器外反射部、14.集光レンズ、15.波長変換素子、18.共振器外反射部、20.パルス生成機構、30.共振器、50.物質、51.基板、52.薄膜、60.載置台、100.レーザ光源装置、200.レーザ照射装置

Claims (20)

  1. 横マルチモードの光を出射する励起光源と、
    共振器を構成し、少なくとも一部から異なる波長の光を外部に出力する共振器ミラーと、
    前記共振器内に配置され、前記励起光源から出射される横マルチモードパターンの光で励起されるレーザ媒質と、
    前記共振器内に配置され、前記レーザ媒質での発振により得られる横マルチモードの線状の基本波が照射されて、線状の変換波を出力する波長変換素子と、を含む
    レーザ光源装置。
  2. 前記共振器ミラーのいずれか又は前記共振器内に設けられる折り返し反射部が、前記基本波の一部を透過する構成とされ、
    前記基本波と前記変換波が同時に出力される請求項1記載のレーザ光源装置。
  3. 前記基本波と前記変換波とが、同一方向に出力される請求項1記載のレーザ光源装置。
  4. 前記波長変換素子から共振光路に沿って両側に変換波が出射され、
    前記出射された2本の変換波のうち一方が前記共振器の外部に取り出され、共振器外反射部により前記波長変換素子に戻される構成とされ、
    前記共振器外反射部により戻された変換波は、前記波長変換素子で発生する他方の変換波及び基本波とともに、外部に出力される請求項1記載のレーザ光源装置。
  5. 前記波長変換素子が、擬似位相整合を利用した波長変換素子である請求項1記載のレーザ光源装置。
  6. 前記レーザ光源装置が連続発振である請求項1記載のレーザ光源装置。
  7. 前記レーザ光源装置に、パルス生成機構を設け、出力光をパルス発振する請求項1記載のレーザ光源装置。
  8. 前記パルス生成機構として、前記共振器内にQスイッチ作用を発現するQスイッチ素子又は過飽和吸収体を設ける請求項7記載のレーザ光源装置。
  9. 前記共振器ミラーの共振光路に構成される共振器内に、前記線状の基本波と前記線状の変換波を照射することによって前記基本波と前記変換波による波長変換波を出力する波長変換素子を更に備える請求項1記載のレーザ光源装置。
  10. 前記線状の基本波と前記線状の変換波を照射する波長変換素子において、和周波による波長変換波を出力する請求項9記載のレーザ光源装置。
  11. 横マルチモードの光を出射する励起光源と、共振器を構成し、少なくとも一部から異なる波長の光を前記共振器外に出力する共振器ミラーと、前記共振器内に配置され、前記励起光源から出射される横マルチモードパターンの光で励起されるレーザ媒質と、前記共振器内に配置され、前記レーザ媒質での発振により得られる横マルチモードの線状の基本波が照射されて、線状の変換波を出力する波長変換素子と、を備えるレーザ光源装置と、
    前記レーザ光源装置からのレーザ光を照射する物質が載置される載置台と、を備える
    レーザ照射装置。
  12. 前記レーザ光源装置の前記共振器ミラーのいずれかにおいて基本波が一部透過されることによって、前記レーザ光源装置から線状の基本波及び線状の変換波が出力され、
    前記線状の基本波及び線状の変換波が前記物質の表面に照射される請求項11記載のレーザ照射装置。
  13. 前記レーザ光源装置と前記物質が載置される載置台が、前記レーザ光源装置から出力される線状の出力光の短軸方向に相対的に移動して、前記物質に対する照射がなされる請求項11記載のレーザ照射装置。
  14. 前記レーザ光源装置の前記共振器内に、Qスイッチ作用を発現するQスイッチ素子を備え、前記Qスイッチ素子のQスイッチ作用によって出力光をパルス発振する請求項11記載のレーザ照射装置。
  15. 前記レーザ光源装置の前記共振器内に、前記線状の基本波と前記線状の変換波を照射することによって前記基本波と前記変換波による波長変換波を出力する波長変換素子を更に備える請求項13記載のレーザ照射装置。
  16. 前記レーザ光源装置は、前記物質の上方に配置される請求項11記載のレーザ照射装置。
  17. 前記レーザ光源装置を複数個備え、
    前記複数個の前記レーザ光源装置からの出力光が、前記物質の同一の領域に重ね合わせて同時に照射される請求項11記載のレーザ照射装置。
  18. 複数個の前記レーザ光源装置が並置され、
    前記複数個の各レーザ光源装置からの出力光が、前記物質の対応する複数の領域にそれぞれ照射される請求項11記載のレーザ照射装置。
  19. 横マルチモードの光を出射する励起光源と、共振器を構成する共振器ミラーと、前記共振器内に配置され、前記励起光源から出射される横マルチモードパターンの光で励起されるレーザ媒質と、前記共振器内に配置され、前記レーザ媒質での発振により得られる横マルチモードの線状の基本波が照射されて、線状の変換波を出力する波長変換素子と、を備えるレーザ光源装置と、
    前記共振器外に出力されたレーザ光を照射する物質が載置される載置台と、を備える
    レーザ照射装置。
  20. 横マルチモードの光を出射する励起光源と、
    共振器を構成する共振器ミラーと、
    前記励起光源から出射される横マルチモードパターンの光で励起されるレーザ媒質と、
    前記レーザ媒質での発振により得られる横マルチモードの線状の基本波が照射されて、線状の変換波を出力する波長変換素子と、
    出力光をパルス発振するパルス生成機構と、を含む
    レーザ光源装置。
JP2008172667A 2008-07-01 2008-07-01 レーザ光源装置及びこれを用いたレーザ照射装置 Expired - Fee Related JP4858499B2 (ja)

Priority Applications (3)

Application Number Priority Date Filing Date Title
JP2008172667A JP4858499B2 (ja) 2008-07-01 2008-07-01 レーザ光源装置及びこれを用いたレーザ照射装置
US12/490,083 US8331415B2 (en) 2008-07-01 2009-06-23 Laser light source device and laser irradiation apparatus using the same
CN200910151264A CN101621173A (zh) 2008-07-01 2009-07-01 激光光源装置及采用该装置的激光照射设备

Applications Claiming Priority (1)

Application Number Priority Date Filing Date Title
JP2008172667A JP4858499B2 (ja) 2008-07-01 2008-07-01 レーザ光源装置及びこれを用いたレーザ照射装置

Publications (2)

Publication Number Publication Date
JP2010016058A true JP2010016058A (ja) 2010-01-21
JP4858499B2 JP4858499B2 (ja) 2012-01-18

Family

ID=41464372

Family Applications (1)

Application Number Title Priority Date Filing Date
JP2008172667A Expired - Fee Related JP4858499B2 (ja) 2008-07-01 2008-07-01 レーザ光源装置及びこれを用いたレーザ照射装置

Country Status (3)

Country Link
US (1) US8331415B2 (ja)
JP (1) JP4858499B2 (ja)
CN (1) CN101621173A (ja)

Cited By (5)

* Cited by examiner, † Cited by third party
Publication number Priority date Publication date Assignee Title
CN102145436A (zh) * 2010-02-09 2011-08-10 三菱综合材料株式会社 激光加工装置
WO2014080520A1 (ja) * 2012-11-26 2014-05-30 三菱電機株式会社 レーザ装置
JP2016065871A (ja) * 2010-01-22 2016-04-28 ニューポート コーポレーション 広範に同調可能な光パラメトリック発振器
JP2017213536A (ja) * 2016-06-01 2017-12-07 株式会社クリーンプラネット 還元装置、還元方法およびエネルギー生成・貯蔵システム
JP2019140283A (ja) * 2018-02-13 2019-08-22 旭化成株式会社 金属配線の製造方法及び金属配線製造装置

Families Citing this family (166)

* Cited by examiner, † Cited by third party
Publication number Priority date Publication date Assignee Title
WO2011148895A1 (ja) 2010-05-24 2011-12-01 ギガフォトン株式会社 固体レーザ装置およびレーザシステム
CN101950919A (zh) * 2010-09-07 2011-01-19 长春理工大学 全固态串联泵浦激光器
CN102074885B (zh) * 2010-12-29 2016-05-04 福州高意通讯有限公司 一种激光腔内起偏器及激光腔结构
JP5740190B2 (ja) 2011-03-28 2015-06-24 ギガフォトン株式会社 レーザシステムおよびレーザ生成方法
EP2523277B1 (de) * 2011-05-09 2017-01-04 Trumpf Laser Marking Systems AG Laser-Resonator zur Erzeugung frequenzkonvertierter Laserstrahlung
CA2885502A1 (en) * 2012-05-25 2013-11-28 Cambridge Enterprise Limited Printing of liquid crystal droplet laser resonators on a wet polymer solution and product made therewith
US9113347B2 (en) 2012-12-05 2015-08-18 At&T Intellectual Property I, Lp Backhaul link for distributed antenna system
US10009065B2 (en) 2012-12-05 2018-06-26 At&T Intellectual Property I, L.P. Backhaul link for distributed antenna system
US9525524B2 (en) 2013-05-31 2016-12-20 At&T Intellectual Property I, L.P. Remote distributed antenna system
US9999038B2 (en) 2013-05-31 2018-06-12 At&T Intellectual Property I, L.P. Remote distributed antenna system
US8897697B1 (en) 2013-11-06 2014-11-25 At&T Intellectual Property I, Lp Millimeter-wave surface-wave communications
US9209902B2 (en) 2013-12-10 2015-12-08 At&T Intellectual Property I, L.P. Quasi-optical coupler
US9692101B2 (en) 2014-08-26 2017-06-27 At&T Intellectual Property I, L.P. Guided wave couplers for coupling electromagnetic waves between a waveguide surface and a surface of a wire
US9768833B2 (en) 2014-09-15 2017-09-19 At&T Intellectual Property I, L.P. Method and apparatus for sensing a condition in a transmission medium of electromagnetic waves
US10063280B2 (en) 2014-09-17 2018-08-28 At&T Intellectual Property I, L.P. Monitoring and mitigating conditions in a communication network
US9628854B2 (en) 2014-09-29 2017-04-18 At&T Intellectual Property I, L.P. Method and apparatus for distributing content in a communication network
US9615269B2 (en) 2014-10-02 2017-04-04 At&T Intellectual Property I, L.P. Method and apparatus that provides fault tolerance in a communication network
US9685992B2 (en) 2014-10-03 2017-06-20 At&T Intellectual Property I, L.P. Circuit panel network and methods thereof
US9503189B2 (en) 2014-10-10 2016-11-22 At&T Intellectual Property I, L.P. Method and apparatus for arranging communication sessions in a communication system
US9973299B2 (en) 2014-10-14 2018-05-15 At&T Intellectual Property I, L.P. Method and apparatus for adjusting a mode of communication in a communication network
US9762289B2 (en) 2014-10-14 2017-09-12 At&T Intellectual Property I, L.P. Method and apparatus for transmitting or receiving signals in a transportation system
US9312919B1 (en) 2014-10-21 2016-04-12 At&T Intellectual Property I, Lp Transmission device with impairment compensation and methods for use therewith
US9780834B2 (en) 2014-10-21 2017-10-03 At&T Intellectual Property I, L.P. Method and apparatus for transmitting electromagnetic waves
US9577306B2 (en) 2014-10-21 2017-02-21 At&T Intellectual Property I, L.P. Guided-wave transmission device and methods for use therewith
US9627768B2 (en) 2014-10-21 2017-04-18 At&T Intellectual Property I, L.P. Guided-wave transmission device with non-fundamental mode propagation and methods for use therewith
US9653770B2 (en) 2014-10-21 2017-05-16 At&T Intellectual Property I, L.P. Guided wave coupler, coupling module and methods for use therewith
US9520945B2 (en) 2014-10-21 2016-12-13 At&T Intellectual Property I, L.P. Apparatus for providing communication services and methods thereof
US9769020B2 (en) 2014-10-21 2017-09-19 At&T Intellectual Property I, L.P. Method and apparatus for responding to events affecting communications in a communication network
US9654173B2 (en) 2014-11-20 2017-05-16 At&T Intellectual Property I, L.P. Apparatus for powering a communication device and methods thereof
US10243784B2 (en) 2014-11-20 2019-03-26 At&T Intellectual Property I, L.P. System for generating topology information and methods thereof
US10340573B2 (en) 2016-10-26 2019-07-02 At&T Intellectual Property I, L.P. Launcher with cylindrical coupling device and methods for use therewith
US9680670B2 (en) 2014-11-20 2017-06-13 At&T Intellectual Property I, L.P. Transmission device with channel equalization and control and methods for use therewith
US9954287B2 (en) 2014-11-20 2018-04-24 At&T Intellectual Property I, L.P. Apparatus for converting wireless signals and electromagnetic waves and methods thereof
US9997819B2 (en) 2015-06-09 2018-06-12 At&T Intellectual Property I, L.P. Transmission medium and method for facilitating propagation of electromagnetic waves via a core
US9800327B2 (en) 2014-11-20 2017-10-24 At&T Intellectual Property I, L.P. Apparatus for controlling operations of a communication device and methods thereof
US9461706B1 (en) 2015-07-31 2016-10-04 At&T Intellectual Property I, Lp Method and apparatus for exchanging communication signals
US9544006B2 (en) 2014-11-20 2017-01-10 At&T Intellectual Property I, L.P. Transmission device with mode division multiplexing and methods for use therewith
US9742462B2 (en) 2014-12-04 2017-08-22 At&T Intellectual Property I, L.P. Transmission medium and communication interfaces and methods for use therewith
US10009067B2 (en) 2014-12-04 2018-06-26 At&T Intellectual Property I, L.P. Method and apparatus for configuring a communication interface
US10144036B2 (en) 2015-01-30 2018-12-04 At&T Intellectual Property I, L.P. Method and apparatus for mitigating interference affecting a propagation of electromagnetic waves guided by a transmission medium
US9876570B2 (en) 2015-02-20 2018-01-23 At&T Intellectual Property I, Lp Guided-wave transmission device with non-fundamental mode propagation and methods for use therewith
US9749013B2 (en) 2015-03-17 2017-08-29 At&T Intellectual Property I, L.P. Method and apparatus for reducing attenuation of electromagnetic waves guided by a transmission medium
US9705561B2 (en) 2015-04-24 2017-07-11 At&T Intellectual Property I, L.P. Directional coupling device and methods for use therewith
US10224981B2 (en) 2015-04-24 2019-03-05 At&T Intellectual Property I, Lp Passive electrical coupling device and methods for use therewith
US9948354B2 (en) 2015-04-28 2018-04-17 At&T Intellectual Property I, L.P. Magnetic coupling device with reflective plate and methods for use therewith
US9793954B2 (en) 2015-04-28 2017-10-17 At&T Intellectual Property I, L.P. Magnetic coupling device and methods for use therewith
US9748626B2 (en) 2015-05-14 2017-08-29 At&T Intellectual Property I, L.P. Plurality of cables having different cross-sectional shapes which are bundled together to form a transmission medium
US9871282B2 (en) 2015-05-14 2018-01-16 At&T Intellectual Property I, L.P. At least one transmission medium having a dielectric surface that is covered at least in part by a second dielectric
US9490869B1 (en) 2015-05-14 2016-11-08 At&T Intellectual Property I, L.P. Transmission medium having multiple cores and methods for use therewith
US10650940B2 (en) 2015-05-15 2020-05-12 At&T Intellectual Property I, L.P. Transmission medium having a conductive material and methods for use therewith
US9917341B2 (en) 2015-05-27 2018-03-13 At&T Intellectual Property I, L.P. Apparatus and method for launching electromagnetic waves and for modifying radial dimensions of the propagating electromagnetic waves
US10812174B2 (en) 2015-06-03 2020-10-20 At&T Intellectual Property I, L.P. Client node device and methods for use therewith
US9866309B2 (en) 2015-06-03 2018-01-09 At&T Intellectual Property I, Lp Host node device and methods for use therewith
US10103801B2 (en) 2015-06-03 2018-10-16 At&T Intellectual Property I, L.P. Host node device and methods for use therewith
US9912381B2 (en) 2015-06-03 2018-03-06 At&T Intellectual Property I, Lp Network termination and methods for use therewith
US9913139B2 (en) 2015-06-09 2018-03-06 At&T Intellectual Property I, L.P. Signal fingerprinting for authentication of communicating devices
US9608692B2 (en) 2015-06-11 2017-03-28 At&T Intellectual Property I, L.P. Repeater and methods for use therewith
US10142086B2 (en) 2015-06-11 2018-11-27 At&T Intellectual Property I, L.P. Repeater and methods for use therewith
US9820146B2 (en) 2015-06-12 2017-11-14 At&T Intellectual Property I, L.P. Method and apparatus for authentication and identity management of communicating devices
US9667317B2 (en) 2015-06-15 2017-05-30 At&T Intellectual Property I, L.P. Method and apparatus for providing security using network traffic adjustments
US9509415B1 (en) 2015-06-25 2016-11-29 At&T Intellectual Property I, L.P. Methods and apparatus for inducing a fundamental wave mode on a transmission medium
US9640850B2 (en) 2015-06-25 2017-05-02 At&T Intellectual Property I, L.P. Methods and apparatus for inducing a non-fundamental wave mode on a transmission medium
US9865911B2 (en) 2015-06-25 2018-01-09 At&T Intellectual Property I, L.P. Waveguide system for slot radiating first electromagnetic waves that are combined into a non-fundamental wave mode second electromagnetic wave on a transmission medium
US10205655B2 (en) 2015-07-14 2019-02-12 At&T Intellectual Property I, L.P. Apparatus and methods for communicating utilizing an antenna array and multiple communication paths
US9722318B2 (en) 2015-07-14 2017-08-01 At&T Intellectual Property I, L.P. Method and apparatus for coupling an antenna to a device
US10320586B2 (en) 2015-07-14 2019-06-11 At&T Intellectual Property I, L.P. Apparatus and methods for generating non-interfering electromagnetic waves on an insulated transmission medium
US9836957B2 (en) 2015-07-14 2017-12-05 At&T Intellectual Property I, L.P. Method and apparatus for communicating with premises equipment
US9882257B2 (en) 2015-07-14 2018-01-30 At&T Intellectual Property I, L.P. Method and apparatus for launching a wave mode that mitigates interference
US9628116B2 (en) 2015-07-14 2017-04-18 At&T Intellectual Property I, L.P. Apparatus and methods for transmitting wireless signals
US10033108B2 (en) 2015-07-14 2018-07-24 At&T Intellectual Property I, L.P. Apparatus and methods for generating an electromagnetic wave having a wave mode that mitigates interference
US10033107B2 (en) 2015-07-14 2018-07-24 At&T Intellectual Property I, L.P. Method and apparatus for coupling an antenna to a device
US9853342B2 (en) 2015-07-14 2017-12-26 At&T Intellectual Property I, L.P. Dielectric transmission medium connector and methods for use therewith
US10170840B2 (en) 2015-07-14 2019-01-01 At&T Intellectual Property I, L.P. Apparatus and methods for sending or receiving electromagnetic signals
US10148016B2 (en) 2015-07-14 2018-12-04 At&T Intellectual Property I, L.P. Apparatus and methods for communicating utilizing an antenna array
US9847566B2 (en) 2015-07-14 2017-12-19 At&T Intellectual Property I, L.P. Method and apparatus for adjusting a field of a signal to mitigate interference
US10341142B2 (en) 2015-07-14 2019-07-02 At&T Intellectual Property I, L.P. Apparatus and methods for generating non-interfering electromagnetic waves on an uninsulated conductor
US10044409B2 (en) 2015-07-14 2018-08-07 At&T Intellectual Property I, L.P. Transmission medium and methods for use therewith
US10090606B2 (en) 2015-07-15 2018-10-02 At&T Intellectual Property I, L.P. Antenna system with dielectric array and methods for use therewith
US9793951B2 (en) * 2015-07-15 2017-10-17 At&T Intellectual Property I, L.P. Method and apparatus for launching a wave mode that mitigates interference
US9608740B2 (en) 2015-07-15 2017-03-28 At&T Intellectual Property I, L.P. Method and apparatus for launching a wave mode that mitigates interference
US10784670B2 (en) 2015-07-23 2020-09-22 At&T Intellectual Property I, L.P. Antenna support for aligning an antenna
US9871283B2 (en) 2015-07-23 2018-01-16 At&T Intellectual Property I, Lp Transmission medium having a dielectric core comprised of plural members connected by a ball and socket configuration
US9912027B2 (en) 2015-07-23 2018-03-06 At&T Intellectual Property I, L.P. Method and apparatus for exchanging communication signals
US9749053B2 (en) 2015-07-23 2017-08-29 At&T Intellectual Property I, L.P. Node device, repeater and methods for use therewith
US9948333B2 (en) 2015-07-23 2018-04-17 At&T Intellectual Property I, L.P. Method and apparatus for wireless communications to mitigate interference
US9735833B2 (en) 2015-07-31 2017-08-15 At&T Intellectual Property I, L.P. Method and apparatus for communications management in a neighborhood network
US9967173B2 (en) 2015-07-31 2018-05-08 At&T Intellectual Property I, L.P. Method and apparatus for authentication and identity management of communicating devices
US10020587B2 (en) 2015-07-31 2018-07-10 At&T Intellectual Property I, L.P. Radial antenna and methods for use therewith
US9904535B2 (en) 2015-09-14 2018-02-27 At&T Intellectual Property I, L.P. Method and apparatus for distributing software
US10136434B2 (en) 2015-09-16 2018-11-20 At&T Intellectual Property I, L.P. Method and apparatus for use with a radio distributed antenna system having an ultra-wideband control channel
US10079661B2 (en) 2015-09-16 2018-09-18 At&T Intellectual Property I, L.P. Method and apparatus for use with a radio distributed antenna system having a clock reference
US10009901B2 (en) 2015-09-16 2018-06-26 At&T Intellectual Property I, L.P. Method, apparatus, and computer-readable storage medium for managing utilization of wireless resources between base stations
US10051629B2 (en) 2015-09-16 2018-08-14 At&T Intellectual Property I, L.P. Method and apparatus for use with a radio distributed antenna system having an in-band reference signal
US10009063B2 (en) 2015-09-16 2018-06-26 At&T Intellectual Property I, L.P. Method and apparatus for use with a radio distributed antenna system having an out-of-band reference signal
US9769128B2 (en) 2015-09-28 2017-09-19 At&T Intellectual Property I, L.P. Method and apparatus for encryption of communications over a network
US9729197B2 (en) 2015-10-01 2017-08-08 At&T Intellectual Property I, L.P. Method and apparatus for communicating network management traffic over a network
US9876264B2 (en) 2015-10-02 2018-01-23 At&T Intellectual Property I, Lp Communication system, guided wave switch and methods for use therewith
US9882277B2 (en) 2015-10-02 2018-01-30 At&T Intellectual Property I, Lp Communication device and antenna assembly with actuated gimbal mount
US10665942B2 (en) 2015-10-16 2020-05-26 At&T Intellectual Property I, L.P. Method and apparatus for adjusting wireless communications
US10355367B2 (en) 2015-10-16 2019-07-16 At&T Intellectual Property I, L.P. Antenna structure for exchanging wireless signals
CN105487291A (zh) * 2016-01-08 2016-04-13 京东方科技集团股份有限公司 一种背光模组、其制备方法及显示装置
US9912419B1 (en) 2016-08-24 2018-03-06 At&T Intellectual Property I, L.P. Method and apparatus for managing a fault in a distributed antenna system
US9860075B1 (en) 2016-08-26 2018-01-02 At&T Intellectual Property I, L.P. Method and communication node for broadband distribution
US10291311B2 (en) 2016-09-09 2019-05-14 At&T Intellectual Property I, L.P. Method and apparatus for mitigating a fault in a distributed antenna system
US11032819B2 (en) 2016-09-15 2021-06-08 At&T Intellectual Property I, L.P. Method and apparatus for use with a radio distributed antenna system having a control channel reference signal
US10135146B2 (en) 2016-10-18 2018-11-20 At&T Intellectual Property I, L.P. Apparatus and methods for launching guided waves via circuits
US10135147B2 (en) 2016-10-18 2018-11-20 At&T Intellectual Property I, L.P. Apparatus and methods for launching guided waves via an antenna
US10340600B2 (en) 2016-10-18 2019-07-02 At&T Intellectual Property I, L.P. Apparatus and methods for launching guided waves via plural waveguide systems
US9876605B1 (en) 2016-10-21 2018-01-23 At&T Intellectual Property I, L.P. Launcher and coupling system to support desired guided wave mode
US10374316B2 (en) 2016-10-21 2019-08-06 At&T Intellectual Property I, L.P. System and dielectric antenna with non-uniform dielectric
US9991580B2 (en) 2016-10-21 2018-06-05 At&T Intellectual Property I, L.P. Launcher and coupling system for guided wave mode cancellation
US10811767B2 (en) 2016-10-21 2020-10-20 At&T Intellectual Property I, L.P. System and dielectric antenna with convex dielectric radome
US10312567B2 (en) 2016-10-26 2019-06-04 At&T Intellectual Property I, L.P. Launcher with planar strip antenna and methods for use therewith
US10291334B2 (en) 2016-11-03 2019-05-14 At&T Intellectual Property I, L.P. System for detecting a fault in a communication system
US10225025B2 (en) 2016-11-03 2019-03-05 At&T Intellectual Property I, L.P. Method and apparatus for detecting a fault in a communication system
US10498044B2 (en) 2016-11-03 2019-12-03 At&T Intellectual Property I, L.P. Apparatus for configuring a surface of an antenna
US10224634B2 (en) 2016-11-03 2019-03-05 At&T Intellectual Property I, L.P. Methods and apparatus for adjusting an operational characteristic of an antenna
US10178445B2 (en) 2016-11-23 2019-01-08 At&T Intellectual Property I, L.P. Methods, devices, and systems for load balancing between a plurality of waveguides
US10340603B2 (en) 2016-11-23 2019-07-02 At&T Intellectual Property I, L.P. Antenna system having shielded structural configurations for assembly
US10090594B2 (en) 2016-11-23 2018-10-02 At&T Intellectual Property I, L.P. Antenna system having structural configurations for assembly
US10340601B2 (en) 2016-11-23 2019-07-02 At&T Intellectual Property I, L.P. Multi-antenna system and methods for use therewith
US10535928B2 (en) 2016-11-23 2020-01-14 At&T Intellectual Property I, L.P. Antenna system and methods for use therewith
US10361489B2 (en) 2016-12-01 2019-07-23 At&T Intellectual Property I, L.P. Dielectric dish antenna system and methods for use therewith
US10305190B2 (en) 2016-12-01 2019-05-28 At&T Intellectual Property I, L.P. Reflecting dielectric antenna system and methods for use therewith
US10637149B2 (en) 2016-12-06 2020-04-28 At&T Intellectual Property I, L.P. Injection molded dielectric antenna and methods for use therewith
US10326494B2 (en) 2016-12-06 2019-06-18 At&T Intellectual Property I, L.P. Apparatus for measurement de-embedding and methods for use therewith
US10727599B2 (en) 2016-12-06 2020-07-28 At&T Intellectual Property I, L.P. Launcher with slot antenna and methods for use therewith
US10694379B2 (en) 2016-12-06 2020-06-23 At&T Intellectual Property I, L.P. Waveguide system with device-based authentication and methods for use therewith
US9927517B1 (en) 2016-12-06 2018-03-27 At&T Intellectual Property I, L.P. Apparatus and methods for sensing rainfall
US10382976B2 (en) 2016-12-06 2019-08-13 At&T Intellectual Property I, L.P. Method and apparatus for managing wireless communications based on communication paths and network device positions
US10020844B2 (en) 2016-12-06 2018-07-10 T&T Intellectual Property I, L.P. Method and apparatus for broadcast communication via guided waves
US10135145B2 (en) 2016-12-06 2018-11-20 At&T Intellectual Property I, L.P. Apparatus and methods for generating an electromagnetic wave along a transmission medium
US10755542B2 (en) 2016-12-06 2020-08-25 At&T Intellectual Property I, L.P. Method and apparatus for surveillance via guided wave communication
US10819035B2 (en) 2016-12-06 2020-10-27 At&T Intellectual Property I, L.P. Launcher with helical antenna and methods for use therewith
US10439675B2 (en) 2016-12-06 2019-10-08 At&T Intellectual Property I, L.P. Method and apparatus for repeating guided wave communication signals
US10547348B2 (en) 2016-12-07 2020-01-28 At&T Intellectual Property I, L.P. Method and apparatus for switching transmission mediums in a communication system
US9893795B1 (en) 2016-12-07 2018-02-13 At&T Intellectual Property I, Lp Method and repeater for broadband distribution
US10027397B2 (en) 2016-12-07 2018-07-17 At&T Intellectual Property I, L.P. Distributed antenna system and methods for use therewith
US10389029B2 (en) 2016-12-07 2019-08-20 At&T Intellectual Property I, L.P. Multi-feed dielectric antenna system with core selection and methods for use therewith
US10243270B2 (en) 2016-12-07 2019-03-26 At&T Intellectual Property I, L.P. Beam adaptive multi-feed dielectric antenna system and methods for use therewith
US10446936B2 (en) 2016-12-07 2019-10-15 At&T Intellectual Property I, L.P. Multi-feed dielectric antenna system and methods for use therewith
US10359749B2 (en) 2016-12-07 2019-07-23 At&T Intellectual Property I, L.P. Method and apparatus for utilities management via guided wave communication
US10139820B2 (en) 2016-12-07 2018-11-27 At&T Intellectual Property I, L.P. Method and apparatus for deploying equipment of a communication system
US10168695B2 (en) 2016-12-07 2019-01-01 At&T Intellectual Property I, L.P. Method and apparatus for controlling an unmanned aircraft
US10777873B2 (en) 2016-12-08 2020-09-15 At&T Intellectual Property I, L.P. Method and apparatus for mounting network devices
US10916969B2 (en) 2016-12-08 2021-02-09 At&T Intellectual Property I, L.P. Method and apparatus for providing power using an inductive coupling
US9911020B1 (en) 2016-12-08 2018-03-06 At&T Intellectual Property I, L.P. Method and apparatus for tracking via a radio frequency identification device
US10938108B2 (en) 2016-12-08 2021-03-02 At&T Intellectual Property I, L.P. Frequency selective multi-feed dielectric antenna system and methods for use therewith
US10069535B2 (en) 2016-12-08 2018-09-04 At&T Intellectual Property I, L.P. Apparatus and methods for launching electromagnetic waves having a certain electric field structure
US10530505B2 (en) 2016-12-08 2020-01-07 At&T Intellectual Property I, L.P. Apparatus and methods for launching electromagnetic waves along a transmission medium
US10103422B2 (en) 2016-12-08 2018-10-16 At&T Intellectual Property I, L.P. Method and apparatus for mounting network devices
US10326689B2 (en) 2016-12-08 2019-06-18 At&T Intellectual Property I, L.P. Method and system for providing alternative communication paths
US10389037B2 (en) 2016-12-08 2019-08-20 At&T Intellectual Property I, L.P. Apparatus and methods for selecting sections of an antenna array and use therewith
US10411356B2 (en) 2016-12-08 2019-09-10 At&T Intellectual Property I, L.P. Apparatus and methods for selectively targeting communication devices with an antenna array
US9998870B1 (en) 2016-12-08 2018-06-12 At&T Intellectual Property I, L.P. Method and apparatus for proximity sensing
US10601494B2 (en) 2016-12-08 2020-03-24 At&T Intellectual Property I, L.P. Dual-band communication device and method for use therewith
US10264586B2 (en) 2016-12-09 2019-04-16 At&T Mobility Ii Llc Cloud-based packet controller and methods for use therewith
US9838896B1 (en) 2016-12-09 2017-12-05 At&T Intellectual Property I, L.P. Method and apparatus for assessing network coverage
US10340983B2 (en) 2016-12-09 2019-07-02 At&T Intellectual Property I, L.P. Method and apparatus for surveying remote sites via guided wave communications
US9973940B1 (en) 2017-02-27 2018-05-15 At&T Intellectual Property I, L.P. Apparatus and methods for dynamic impedance matching of a guided wave launcher
US10298293B2 (en) 2017-03-13 2019-05-21 At&T Intellectual Property I, L.P. Apparatus of communication utilizing wireless network devices
CN108581189B (zh) * 2018-06-01 2020-04-17 业成科技(成都)有限公司 激光切割方法
WO2020166420A1 (ja) 2019-02-13 2020-08-20 ソニー株式会社 レーザ加工機、加工方法及びレーザ光源
DE102019112141A1 (de) * 2019-05-09 2020-11-12 Innovavent Gmbh Verfahren und optisches System zur Bearbeitung eines Halbleitermaterials
CN113363798B (zh) * 2021-05-20 2022-09-23 厦门大学 一种可调控高光学效率宽带多纵模拉曼微片激光器
CN114647010B (zh) * 2021-12-03 2023-04-07 吉林大学 一种适用于井下长期稳定工作的总场泵源装置及工作方法

Citations (6)

* Cited by examiner, † Cited by third party
Publication number Priority date Publication date Assignee Title
JPS50148096A (ja) * 1974-05-20 1975-11-27
JPH11326971A (ja) * 1998-05-19 1999-11-26 Mitsubishi Heavy Ind Ltd 和周波数発生装置
JP2003347237A (ja) * 2002-05-30 2003-12-05 Mitsubishi Electric Corp 半導体装置の製造方法およびその製造装置
JP2006066818A (ja) * 2004-08-30 2006-03-09 Sony Corp 1次元照明装置及び画像生成装置
JP2006140919A (ja) * 2004-11-15 2006-06-01 Canon Inc 撮像装置及び撮像装置の制御方法
JP2008112846A (ja) * 2006-10-30 2008-05-15 Sony Corp レーザ光源装置及びこれを用いた画像生成装置

Family Cites Families (4)

* Cited by examiner, † Cited by third party
Publication number Priority date Publication date Assignee Title
US5157754A (en) * 1990-04-25 1992-10-20 E. I. Du Pont De Nemours Wavelength conversion by quasi phase matching and the manufacture and use of optical articles therefor
US5473409A (en) * 1993-09-21 1995-12-05 Sony Corporation Semiconductor light exposure device
US7164810B2 (en) * 2001-11-21 2007-01-16 Metrologic Instruments, Inc. Planar light illumination and linear imaging (PLILIM) device with image-based velocity detection and aspect ratio compensation
US20060018355A1 (en) * 2004-07-23 2006-01-26 Comlasc.Nt-Ab Laser diode arrays with reduced heat induced strain and stress

Patent Citations (6)

* Cited by examiner, † Cited by third party
Publication number Priority date Publication date Assignee Title
JPS50148096A (ja) * 1974-05-20 1975-11-27
JPH11326971A (ja) * 1998-05-19 1999-11-26 Mitsubishi Heavy Ind Ltd 和周波数発生装置
JP2003347237A (ja) * 2002-05-30 2003-12-05 Mitsubishi Electric Corp 半導体装置の製造方法およびその製造装置
JP2006066818A (ja) * 2004-08-30 2006-03-09 Sony Corp 1次元照明装置及び画像生成装置
JP2006140919A (ja) * 2004-11-15 2006-06-01 Canon Inc 撮像装置及び撮像装置の制御方法
JP2008112846A (ja) * 2006-10-30 2008-05-15 Sony Corp レーザ光源装置及びこれを用いた画像生成装置

Cited By (8)

* Cited by examiner, † Cited by third party
Publication number Priority date Publication date Assignee Title
JP2016065871A (ja) * 2010-01-22 2016-04-28 ニューポート コーポレーション 広範に同調可能な光パラメトリック発振器
CN102145436A (zh) * 2010-02-09 2011-08-10 三菱综合材料株式会社 激光加工装置
JP2011161483A (ja) * 2010-02-09 2011-08-25 Mitsubishi Materials Corp レーザ加工装置
WO2014080520A1 (ja) * 2012-11-26 2014-05-30 三菱電機株式会社 レーザ装置
JP5826409B2 (ja) * 2012-11-26 2015-12-02 三菱電機株式会社 レーザ装置
JP2017213536A (ja) * 2016-06-01 2017-12-07 株式会社クリーンプラネット 還元装置、還元方法およびエネルギー生成・貯蔵システム
JP2019140283A (ja) * 2018-02-13 2019-08-22 旭化成株式会社 金属配線の製造方法及び金属配線製造装置
JP7254444B2 (ja) 2018-02-13 2023-04-10 旭化成株式会社 金属配線の製造方法及び金属配線製造装置

Also Published As

Publication number Publication date
CN101621173A (zh) 2010-01-06
US20100002731A1 (en) 2010-01-07
US8331415B2 (en) 2012-12-11
JP4858499B2 (ja) 2012-01-18

Similar Documents

Publication Publication Date Title
JP4858499B2 (ja) レーザ光源装置及びこれを用いたレーザ照射装置
CN1145244C (zh) 波长转换器
US5803965A (en) Method and system for manufacturing semiconductor device
KR102344775B1 (ko) 제3 고조파 생성을 위한 고효율 레이저 시스템
JPWO2008114512A1 (ja) レーザ波長変換装置及びこれを備えた画像表示装置
KR102786318B1 (ko) 레이저 어닐링을 위한 다이오드 펌핑 고체 레이저 장치
CN104577696B (zh) Q开关激光装置
CN101473498A (zh) 减少用于激光高功率频率变换的非线性晶体的表面热效应
CN103500911B (zh) 一种多点的表面垂直发射的太赫兹参量振荡器及其应用
US20100074296A1 (en) Solid state laser and wavelength conversion laser
JP5721812B2 (ja) 波長変換結晶および波長変換レーザ装置
JP4826558B2 (ja) レーザー装置
ES2283149T3 (es) Dispositivos de laser semiconductores de bo,beo optico con cavidad externa, de alta potencia.
JP2009182353A (ja) レーザ光源装置及びこれを用いた画像生成装置
US6807210B2 (en) Systems and a method for generating blue laser beam
CN100421316C (zh) 四次谐波固体激光产生方法
CN101383477A (zh) 激光二次谐波发生装置
JP2004289140A (ja) レーザ照射装置及びレーザ照射方法並びに半導体装置の作製方法。
WO2015052744A1 (ja) レーザ装置
JP2000338530A (ja) レーザ光の波長変換装置とその変換方法
JP2008153526A (ja) レーザ光源装置及びこれを用いた画像生成装置
JP2007266537A (ja) 内部共振器型和周波混合レーザ
JPH09331097A (ja) 固体レーザ装置
JP2008066356A (ja) レーザアニール方法および装置
Ai-Yun et al. High power red laser at 671nm by intracavity frequency doubling of a Nd: YVO4 laser

Legal Events

Date Code Title Description
A131 Notification of reasons for refusal

Free format text: JAPANESE INTERMEDIATE CODE: A131

Effective date: 20100209

A521 Request for written amendment filed

Free format text: JAPANESE INTERMEDIATE CODE: A523

Effective date: 20100405

A131 Notification of reasons for refusal

Free format text: JAPANESE INTERMEDIATE CODE: A131

Effective date: 20110111

TRDD Decision of grant or rejection written
A01 Written decision to grant a patent or to grant a registration (utility model)

Free format text: JAPANESE INTERMEDIATE CODE: A01

Effective date: 20111004

A01 Written decision to grant a patent or to grant a registration (utility model)

Free format text: JAPANESE INTERMEDIATE CODE: A01

A61 First payment of annual fees (during grant procedure)

Free format text: JAPANESE INTERMEDIATE CODE: A61

Effective date: 20111017

R151 Written notification of patent or utility model registration

Ref document number: 4858499

Country of ref document: JP

Free format text: JAPANESE INTERMEDIATE CODE: R151

FPAY Renewal fee payment (event date is renewal date of database)

Free format text: PAYMENT UNTIL: 20141111

Year of fee payment: 3

R250 Receipt of annual fees

Free format text: JAPANESE INTERMEDIATE CODE: R250

R250 Receipt of annual fees

Free format text: JAPANESE INTERMEDIATE CODE: R250

R250 Receipt of annual fees

Free format text: JAPANESE INTERMEDIATE CODE: R250

R250 Receipt of annual fees

Free format text: JAPANESE INTERMEDIATE CODE: R250

R250 Receipt of annual fees

Free format text: JAPANESE INTERMEDIATE CODE: R250

R250 Receipt of annual fees

Free format text: JAPANESE INTERMEDIATE CODE: R250

R250 Receipt of annual fees

Free format text: JAPANESE INTERMEDIATE CODE: R250

LAPS Cancellation because of no payment of annual fees