JP2010013100A - カウルルーバーの組付構造 - Google Patents

カウルルーバーの組付構造 Download PDF

Info

Publication number
JP2010013100A
JP2010013100A JP2009236130A JP2009236130A JP2010013100A JP 2010013100 A JP2010013100 A JP 2010013100A JP 2009236130 A JP2009236130 A JP 2009236130A JP 2009236130 A JP2009236130 A JP 2009236130A JP 2010013100 A JP2010013100 A JP 2010013100A
Authority
JP
Japan
Prior art keywords
hood
panel
hood panel
cowl louver
seal
Prior art date
Legal status (The legal status is an assumption and is not a legal conclusion. Google has not performed a legal analysis and makes no representation as to the accuracy of the status listed.)
Granted
Application number
JP2009236130A
Other languages
English (en)
Other versions
JP4793668B2 (ja
Inventor
Tetsuyoshi Ichioka
徹美 市岡
Yasunobu Teramoto
泰庸 寺本
Kazutoshi Ikeda
和俊 池田
Current Assignee (The listed assignees may be inaccurate. Google has not performed a legal analysis and makes no representation or warranty as to the accuracy of the list.)
Toyoda Gosei Co Ltd
Original Assignee
Toyoda Gosei Co Ltd
Priority date (The priority date is an assumption and is not a legal conclusion. Google has not performed a legal analysis and makes no representation as to the accuracy of the date listed.)
Filing date
Publication date
Application filed by Toyoda Gosei Co Ltd filed Critical Toyoda Gosei Co Ltd
Priority to JP2009236130A priority Critical patent/JP4793668B2/ja
Publication of JP2010013100A publication Critical patent/JP2010013100A/ja
Application granted granted Critical
Publication of JP4793668B2 publication Critical patent/JP4793668B2/ja
Anticipated expiration legal-status Critical
Expired - Fee Related legal-status Critical Current

Links

Images

Landscapes

  • Body Structure For Vehicles (AREA)

Abstract

【課題】フードの変形量を大きくすることで、衝突相手に及ぼす衝撃を緩和する。
【解決手段】カウルインナーパネル1の保持部10をカウルルーバー本体2のフードシール部23より所定距離離間した下方に設け、フードパネル3からの所定の大きさ以上の衝撃力によってフードシール部23が変形することにより、フードパネル3の変形荷重を低減可能とした。フードパネル3に所定の大きさ以上の衝撃力が作用すると、その衝撃力がフードシール部23に伝わり、薄肉部(脆弱部)23aで破断する。したがってフードパネル3が大きく変形でき、フードパネル3から衝突相手に及ぼされる衝撃が緩和される。
【選択図】図5

Description

本発明は、自動車のエンジンルームを覆うフードパネルと弾接してエンジンルーム内の空気がカウルルーバーに流入するのをシールする軟質のシール部材を端部にもち、下端部がカウルインナーパネルに保持されて固定されるカウルルーバーの組付構造に関する。
従来のカウルルーバーの組付構造を図10に示す。カウルルーバー本体100は、フードパネル101とフロントガラス102との間に設けられ、ワイパーモーターなどを覆って意匠性を高めるとともに、車室内への外気取り入れ口となる小孔群103を備えている。またカウルルーバー本体100の前端にはフードシール部104が一体的に形成され、フードシール部104には軟質のシール部材105が保持されている。そしてシール部材105がフードパネル101に弾接することで、エンジンルームと外部とが気密に区画されている。これによりエンジンルーム内の空気が小孔群103から車室内へ侵入するのが阻止されている。またフードシール部104の下面にはクリップ106が固着され、フードシール部104の一端がクリップ106によってカウルインナーパネル107の保持部108に保持固定されている。そしてカウルルーバー本体100のフードシール部104と反対側の後端部は、フロントガラス102を把持することで固定されている。
すなわちカウルルーバー本体100及びフードシール部104を上記のように組み付けることで、シール部材105がフードパネル101に弾接してエンジンルーム内の空気の車室内への侵入を阻止することができ、エンジンルーム内の熱気や騒音がカウルルーバー本体100を介して車室内へ侵入するのを防止することができる。
特開平11−165654号公報
ところで従来のカウルルーバーの組付構造においては、フードパネル101の厚さはほぼ一定で大きくできないため、シール部材105の位置は比較的上方の位置に限られている。そのためカウルインナーパネル107のフードシール部104を保持する保持部108の位置が比較的上方となり、シール部材105の位置と保持部108の位置とがほぼ同位置となっていた。
ところがシール部材105の位置とカウルインナーパネル107の保持部108の位置とがほぼ同位置であると、カウルインナーパネル107は剛性が大きいために変形が生じないから、フードパネル101の変形量はシール部材105の変形量とほとんど同一できわめて小さいものとなる。したがって事故などによりフードパネル101に大きな衝撃が作用した場合には、フードパネル101の変形によって吸収される衝撃エネルギー量が僅かであるため、車体からの反力が大きくなり衝突相手への衝撃力が大きくなってしまう。
本発明はこのような事情に鑑みてなされたものであり、衝撃が加わった際のフードパネルの変形量を大きくすることでフードパネルの変形荷重を小さくし、フードパネルから衝突相手に及ぼされる反力を緩和することを目的とする。
上記課題を解決する本発明のカウルルーバーの組付構造の特徴は、保持部をもつカウルインナーパネルと、フロントガラスを保持する把持部と把持部から前方へ延びる平板部と平板部から曲折して下方へ延びる傾斜部と傾斜部から前方へ延びる係合部とからなり係合部が保持部に保持されたカウルルーバー本体と、傾斜部から前方へ突出しフードパネルの下表面と弾接する軟質のシール部材もつフードシール部とよりなり、
保持部はフードシール部から充分に離間した下方に設けられ、フードシール部はフードシール部の下面と傾斜部の前面とを連結するリブとリブの上方に形成された脆弱部とをもち、フードパネルから下方へ向かう所定の大きさ以上の力が加わった際に脆弱部が破断することでフードパネルの変形荷重を低減可能に構成されたことにある。
本発明のカウルルーバーの組付構造によれば、フードパネルに大きな力が作用したときにフードパネルの大きな変形が可能となる。したがってフードパネルの変形によって衝突相手に及ぼされる反力を緩和することができ、安全性が向上する。
参考例1のカウルルーバーの組付構造の断面図である。 参考例1のカウルルーバーの組付構造の要部分解斜視図である。 参考例2のカウルルーバーの組付構造の断面図である。 参考例3のカウルルーバーの組付構造の断面図である。 本発明の一実施例のカウルルーバーの組付構造の断面図である。 参考例4のカウルルーバーの組付構造の断面図である。 参考例5のカウルルーバーの組付構造の断面図である。 参考例6のカウルルーバーの組付構造の断面図である。 参考例7のカウルルーバーの組付構造の断面図である。 従来のカウルルーバーの組付構造の断面図である。
本発明のカウルルーバーの組付構造では、カウルインナーパネルの保持部はフードシール部から充分に離間した下方に設けられている。そしてフードシール部は、フードパネルから下方へ向かう所定の大きさ以上の力が加わった際に大きく変形することで、フードパネルの変形荷重を低減可能に構成されている。
したがって事故などによりフードパネルに所定の大きさ以上の衝撃力が作用すると、その衝撃力がシール部を介してフードシール部に伝わり、フードシール部が分離あるいは大きく変形する。これによりフードパネルから衝突相手に及ぼされる反力を緩和することができる。
カウルインナーパネルの保持部とシール部との距離は、目的に応じて種々設定できるが、人体を衝突相手とする場合には60〜70mm以上とすることが望ましい。これにより人体頭部への衝撃を緩和することができ、安全性が確実に向上する。
フードシール部は塑性変形又は弾性変形可能に構成することができる。例えばフードシール部を軟質材から形成し、フードパネルからの所定の大きさ以上の衝撃力によってフードシール部が大きく座屈することでフードパネルの移動を許容するように構成することができる。このようにすれば、フードパネルから下方へ向かう所定の大きさ以上の力がフードシール部に加わると、フードシール部が大きく座屈することでフードパネルのさらなる移動が許容されるので、衝突相手に及ぼされる反力を緩和することができる。
フードシール部が大きく座屈するように構成するには、フードシ−ル部に脆弱部を設けておき、フードパネルから下方へ向かう所定の大きさ以上の力がフードシール部に加わった場合に脆弱部が破壊されるように構成することができる。このような脆弱部としては、溝、スリットあるいは脆い材質を部分的に用いることなどが例示される。またフードシール部をカウルルーバー本体と分離可能に係合させた状態とし、所定の大きさの力によってフードシール部がカウルルーバー本体から分離するように構成してもよい。
フードシール部が大きく変形することでフードパネルがフードシール部を乗り越えて移動するように構成するには、例えばフードシール部を所定の強度を有する軟質樹脂などから形成し、フードパネルから大きな力が加わった際に逃げるように弾性変形するように構成することができる。このようにすれば、フードシール部は平常時にはフードパネルを支持しているが、大きな力が加わった場合にはフードシール部がフードパネルで押圧されて大きく弾性変形して逃げることで、フードパネルがフードシール部を乗り越えて移動可能となる。これによりフードパネルのさらなる移動が許容されるので、衝突相手に及ぼされる反力を緩和することができる。なおフードパネルから大きな力が加わった際に、フードシール部が逃げるように塑性変形するように構成してもよい。
このように弾性変形可能とするには、フードシール部に溝、スリット、薄肉部、蛇腹部などを形成することで容易に行うことができる。
フードシール部が大きく変形するように構成する他の構造として、シール部材自体をフードシール部から突出させて大きく変形可能としてもよい。例えばシール部材を所定の強度を有する軟質材から形成して突出させ、シール部材は平常時にはフードパネルに弾接して支持し、大きな力が加わった場合にはシール部材自体が大きく塑性変形あるいは座屈することでフードパネルがシール部材を乗り越えて移動するように構成することができる。この場合、シール部材が大きく弾性変形するように構成してもよい。
またフードシール部を軟質発泡体などから形成し、フードパネルからの所定の大きさ以上の衝撃力によってフードシール部が大きく圧縮されることでフードパネルの移動を許容するように構成することもできる。このようにすれば、フードパネルから下方へ向かう所定の大きさ以上の力がフードシール部に加わると、フードシール部が大きく圧縮されることでフードパネルのさらなる変形が許容されるので、衝突相手に及ぼされる反力を緩和することができる。フードシール部は、弾性変形により圧縮可能としてもよいし、塑性変形により圧縮可能としてもよい。
さらにカウルルーバー本体は、フードパネルの変形時にフードパネルと干渉しない形状とすることが望ましい。もしフードパネルの変形時にフードパネルがカウルルーバー本体と干渉すると、上記したフードシール部の変形量が縮小され、衝突相手に及ぼされる反力の緩和効果が小さくなってしまう。例えば人体頭部がフードパネルに衝突する場合を想定すると、その衝突角度は鉛直方向から約25度傾斜した方向となるであろうから、フードパネルは鉛直方向から約25度傾斜した方向へ移動しようとする。したがってカウルルーバー本体のフードシール部に連続する壁部は、車体に組み付けた状態で鉛直方向から約25度傾斜した角度となるように形成することが望ましい。
以下、参考例及び実施例により本発明を具体的に説明する。
(参考例1)
図1及び図2に参考例1のカウルルーバーの組付構造を示す。この組付構造は金属製のカウルインナーパネル1と、カウルインナーパネル1に保持されたポリプロピレン製のカウルルーバー本体2と、カウルルーバー本体2の先端に保持されるとともにカウルインナーパネル1に保持されたフードシール部20と、フードシール部20に保持されフードパネル3の下表面と弾接するゴム製で軟質のシール部材4とから構成されている。
フードシール部20は、先端に形成された平板状の載置部20aと、載置部20aから略直角に曲折して下方へ延びるフロント傾斜部20bと、フロント傾斜部20bの下端から曲折して後方へ延びる上下2枚構造のフロント係合部20cとから構成され、フロント係合部20cには図1の紙面に垂直方向に間隔を隔てて複数個の係止孔20dが列設されている。そして載置部20aにシール部材4が保持されている。
フードパネル3は鋼板から形成され、後端が上下に揺動して開閉される構造となっている。そして後端部には補強のための中空部30が形成されている。
シール部材4はゴム又は熱可塑性エラストマから押出成形によって筒状若しくは断面L字状に形成され、載置部20aに沿って図1の紙面に垂直方向に延びて保持されている。そしてフードパネル3が閉じられた状態でフードパネル3に押圧されて弾性変形し、フードパネル3の下面に弾接することでエンジンルームからの空気を遮蔽している。なお載置部20aとフロント傾斜部20bの裏面にはリブ20eが設けられ、フードパネル3の押圧による載置部20aの変形が防止されている。
またカウルルーバー本体2は、フロントガラス5を把持する把持部21aと、把持部21aから前方へ延びる平板部21bと、平板部21bから略直角に曲折して下方へ延びるリヤ傾斜部21cと、リヤ傾斜部21cから前方へ延びるリヤ係合部21dとから構成され、リヤ係合部21dには図1の紙面に垂直方向に間隔を隔てて複数個の係合突起21eが形成されている。そして平板部21bとリヤ傾斜部21cには複数の貫通孔21fが設けられ、貫通孔21fから外気が車室内へ流入可能となっている。またリヤ傾斜部21cは、車体に組み付けられた状態で鉛直方向から約25度傾斜するように構成されている。
カウルインナーパネル1の上端には略水平に延びる保持部10が形成され、保持部10には図1の紙面に垂直方向に間隔を隔てた複数の貫通孔(図示せず)が列設されている。
フードシール部20とカウルルーバー本体2とは、リヤ係合部21dが2枚構造のフロント係合部20cの間に係合し、係合突起21eが係止孔20dに嵌合することで一体化されている。そしてリヤ係合部21dには図示しない複数の貫通孔が図1の紙面に垂直方向に間隔を隔てて列設され、保持部10の貫通孔と合わせられてクリップ22が嵌合されることによって、フードシール部20とカウルルーバー本体2がカウルインナーパネル1に固定されている。
この組付構造では、載置部20aと保持部10との距離は上下方向に約60mmに設定されている。そして平常時にはフードシール部20がフードパネル3の荷重を支持し、シール部材4がフードパネル3に弾接してシールしている。
事故などによりフードパネル3に所定の大きさ以上の衝撃力が作用すると、その衝撃力がシール部材4を介してフードシール部20に伝わり、係合突起21eと係止孔20dとの係合が外れてフードシール部20がカウルルーバー本体2から分離する。したがってフードパネル3のさらなる下方への変形が許容され、係合突起21eと係止孔20dとの係合を解除させる力及びフードパネル3の大きな変形により、フードパネル3から衝突相手に及ぼされる反力を確実に緩和することができる。
また衝突相手がフードパネル3に衝突した場合であっても、リヤ傾斜部21cは車体に組み付けられた状態で鉛直方向から約25度傾斜しているので、フードパネル3はリヤ傾斜部21cと干渉することなく変形が可能である。したがってフードパネル3から衝突相手に及ぼされる衝撃を緩和することができる。
(参考例2)
図3に参考例2のカウルルーバーの組付構造を示す。この組付構造は、金属製のカウルインナーパネル1と、一端がフロントガラス5に保持されたカウルルーバー本体6と、カウルルーバー本体6の他端に形成されたフードシール部60とから構成され、フードパネル3及びフロントガラス5は参考例1と同様の構成である。
カウルルーバー本体6は、フロントガラス5を把持する把持部6aと、把持部6aから前方へ延びる平板部6bとからなり、硬質樹脂から形成されている。またフードシール部60は、板部61aと板部61aから突出し弾性変形可能なクリップ部61bとからなる硬質部61と、カウルルーバー本体6と硬質部61の間に固着され熱可塑性エラストマーからなる断面略コ字状の軟質部62とから構成され、2色成形により形成されている。
軟質部62は、上方に底部62aをもち、底部62aにはさらに上方へ突出する断面逆U字形状のシール部62bが形成されている。そしてフードパネル3が閉じられた状態では、フードパネル3の押圧によりシール部62bが撓むように弾性変形してフードパネル3の下面に弾接することでエンジンルームからの空気を遮蔽してシールしている。またカウルルーバー本体6及びフードシール部60は、2色成形によって一体的に形成されている。
カウルインナーパネル1は略水平に延びる保持部10をもち、保持部10には図3の紙面に垂直方向に間隔を隔てた複数の貫通孔11が列設されている。そして硬質部61のクリップ部61bが貫通孔11に嵌合することで、フードシール部60がカウルインナーパネル1に保持固定されている。また保持部10の下方には、変形防止用のビード12が設けられている。
そして軟質部62と保持部10で囲まれた空間内には、硬質の樹脂発泡体よりなる形状保持部材7が保持されている。
この組付構造では、シール部62bと保持部10との距離は約60mmに設定されている。そして平常時には形状保持部材7の剛性によってフードシール部60がフードパネル3の荷重を支持し、シール部62bがフードパネル3に弾接してシールしている。そしてフードパネル3に所定の大きさ以上の衝撃力が作用すると、その衝撃力がシール部62b及び形状保持部材7を介してカウルインナーパネル1に伝わる。すると軟質部62が弾性変形するとともに形状保持部材7が破壊され、これによってフードパネル3のさらなる大きな変形が許容される。したがってフードパネル3から衝突相手に及ぼされる反力を緩和することができる。
(参考例3)
図4に参考例3の組付構造を示す。この組付構造は、フードシール部20の構造が異なること以外は参考例1の組付構造と同様である。
すなわちフードシール部20は、全体が比較的軟質の軟質樹脂から形成され、一端がカウルインナーパネル1の保持部10に保持されるとともに、他端にシール部20eが形成されている。そしてシール部20eがフードパネル3に弾接してシールしている。
この組付構造では、平常時には係合突起21eと係止孔20dとの係合により、フードシール部20がフードパネル3の荷重を支持し、シール部20eがフードパネル3に弾接してシールしている。そしてフードパネル3に所定の大きさ以上の衝撃力が作用すると、フードパネル3は矢印A方向へ移動する。そして衝撃力がシール部20eを介してフードシール部20に伝わると、フードシール部20は矢印B方向へ逃げるように弾性変形する。したがってフードパネル3のさらなる下方への変形が許容され、フードパネル3から衝突相手に及ぼされる反力を緩和することができる。
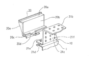
図5に本実施例の組付構造を示す。この組付構造では、参考例1とほぼ同様のカウルルーバー本体2が用いられている。
すなわちカウルルーバー本体2は、フロントガラス5を把持する把持部21aと、把持部21aから前方へ延びる平板部21bと、平板部21bから略直角に曲折して下方へ延びる傾斜部21cと、傾斜部21cから前方へ延びる係合部21dとから構成され、係合部21dがカウルインナーパネル1の保持部10に保持されている。傾斜部21cには、実施例1のような貫通孔21fは形成されていない。そして傾斜部21cの中間からフードシール部23が前方へ突出する板状に形成され、フードシール部23の上にゴム又は熱可塑性エラストマから押出成形により形成された筒状若しくは断面L字状のシール部材4が保持されている。
フードシール部23はカウルルーバー本体2と一体的に硬質樹脂から形成され、傾斜部21cとの境界に薄肉部23aが形成されている。またフードシール部23の下部には、傾斜部21cと連続する補強リブ23bが形成されている。
この組付構造では、平常時には補強リブ23bによってフードシール部23がフードパネル3の荷重を支持するとともにフードパネル3に弾接してシールしている。そしてフードパネル3に所定の大きさ以上の衝撃力が作用すると、その力によりフードシール部23は矢印C方向へ押圧され、そのモーメントが補強リブ23bの強度より大きくなるとフードシール部23は薄肉部23aで破断する。これによりフードパネル3のさらなる下方への変形が許容され、フードパネル3から衝突相手に及ぼされる反力を緩和することができる。
(参考例4)
図6に参考例4の組付構造を示す。本参考例の組付構造は、フードシール部の構成が異なること以外は実施例1と同様の構成である。
すなわち傾斜部21cの中間には、軟質樹脂からなるフードシール部24が前方へ向かって突出している。フードシール部24は断面略U字形状に形成され、その上端がフードパネル3に弾接してシール部材を兼ねている。このフードシール部24は、2色成形によってカウルルーバー本体2と一体的に形成されている。
この組付構造では、平常時にはフードシール部24がフードパネル3の荷重を支持するとともにフードパネル3に弾接してシールしている。そしてフードパネル3に所定の大きさ以上の衝撃力が作用すると、その力によりフードシール部24は矢印D方向へ押圧されて傾斜部21cに近接する方向へ揺動する。これによりフードパネル3のさらなる下方への変形が許容され、フードパネル3から衝突相手に及ぼされる反力を緩和することができる。
(参考例5)
図7に参考例5の組付構造を示す。本参考例の組付構造は、フードシール部の構成が異なること以外は実施例1及び参考例4と同様の構成である。
すなわち傾斜部21cの中間には、軟質樹脂からなるフードシール部25が前方へ向かって突出している。フードシール部25は押出成形により筒状に形成され、クリップ25aによって傾斜部21cに固定されている。そしてフードシール部25の上端がフードパネル3に弾接してシール部材を兼ねている。
この組付構造では、平常時にはフードシール部25がフードパネル3の荷重を支持するとともにフードパネル3に弾接してシールしている。そしてフードパネル3に所定の大きさ以上の衝撃力が作用すると、その力によりフードシール部25が押圧され、押し潰されるように弾性変形することにより、あるいはリヤ傾斜部21cから脱落することによってフードパネル3のさらなる下方への変形が許容され、フードパネル3から衝突相手に及ぼされる反力を緩和することができる。
(参考例6)
図8に参考例6の組付構造を示す。本参考例の組付構造は、フードシール部の構成が異なること以外は実施例1と同様の構成である。
すなわち本参考例の組付構造では、軟質発泡ウレタンから形成された厚肉板状のフードシール部26が、カウルルーバー本体2の係合部21dと傾斜部21cに接して保持されている。そしてフードシール部26の上端部がフードパネル3に弾接してシール部材を兼ねている。
この組付構造では、平常時にはフードシール部26がフードパネル3の荷重を支持するとともにフードパネル3に弾接してシールしている。そしてフードパネル3に所定の大きさ以上の衝撃力が作用すると、その力によりフードシール部26が押圧され、押し潰されるように弾性変形する。これによりフードパネル3のさらなる下方への変形が許容され、フードパネル3から衝突相手に及ぼされる反力を緩和することができる。
(参考例7)
図9に参考例7の組付構造を示す。本参考例の組付構造は、参考例1におけるカウルルーバー本体2とフードシール部20とが一体として形成されていること以外は参考例1と同様の構成である。
すなわち本参考例の組付構造では、カウルルーバー本体8はPPから形成され、フロントガラスを把持する図示しない把持部と、把持部から前方へ延びる平板部80と、平板部80から略直角に曲折して下方へ延びるリヤ傾斜部81と、リヤ傾斜部81から前方へ延びる係合部82と、リヤ係合部82から略直角に曲折して上方へ延びるフロント傾斜部83とからなり、フロント傾斜部83の先端には軟質樹脂からなりフードパネル3と弾接するシール部84が2色成形によりカウルルーバー本体8と一体として形成されている。そして係合部82が保持部10にクリップ22によって固定されている。
そして平板部80とリヤ傾斜部81の境界部、リヤ傾斜部81と係合部82との境界部、及び係合部82とフロント傾斜部83との境界部には、それぞれノッチ85が形成されている。
この組付構造では、平常時にはカウルルーバー本体8フードパネル3の荷重を支持するとともに、シール部84がフードパネル3に弾接してシールしている。そしてフードパネル3に所定の大きさ以上の衝撃力が作用すると、その力によりカウルルーバー本体8が押圧されて変形し、その応力がノッチ85に集中するためいずれかのノッチ85の部分でカウルルーバー本体8が破断する。これによりフードパネル3のさらなる下方への変形が許容され、フードパネル3から衝突相手に及ぼされる反力を緩和することができる。
なおリヤ傾斜部81の途中にもノッチ85を形成し、リヤ傾斜部81が断面くの字状に折れ曲がることでフードパネル3のさらなる下方への変形が許容されるように構成することもできる。
1:カウルインナーパネル 2:カウルルーバー本体 3:フードパネル
4:シール部材 5:フロントガラス 10:保持部
20:フードシール部

Claims (3)

  1. 保持部をもつカウルインナーパネルと、フロントガラスを保持する把持部と該把持部から前方へ延びる平板部と該平板部から曲折して下方へ延びる傾斜部と該傾斜部から前方へ延びる係合部とからなり該係合部が該保持部に保持されたカウルルーバー本体と、該傾斜部から前方へ突出しフードパネルの下表面と弾接する軟質のシール部材もつフードシール部とよりなり、
    該保持部は該フードシール部から充分に離間した下方に設けられ、該フードシール部は該フードシール部の下面と該傾斜部の前面とを連結するリブと該リブの上方に形成された脆弱部とをもち、
    該フードパネルから下方へ向かう所定の大きさ以上の力が加わった際に該脆弱部が破断することで該フードパネルの変形荷重を低減可能に構成されたことを特徴とするカウルルーバーの組付構造。
  2. 前記フードシール部は前記カウルルーバー本体と一体に形成され、前記傾斜部との境界に前記脆弱部が形成されている請求項1に記載のカウルルーバーの組付構造。
  3. 前記カウルルーバー本体は、前記フードパネルの変形時に前記フードパネルと干渉しない形状とされている請求項1又は請求項2に記載のカウルルーバーの組付構造。
JP2009236130A 1999-09-10 2009-10-13 カウルルーバーの組付構造 Expired - Fee Related JP4793668B2 (ja)

Priority Applications (1)

Application Number Priority Date Filing Date Title
JP2009236130A JP4793668B2 (ja) 1999-09-10 2009-10-13 カウルルーバーの組付構造

Applications Claiming Priority (3)

Application Number Priority Date Filing Date Title
JP25684099 1999-09-10
JP1999256840 1999-09-10
JP2009236130A JP4793668B2 (ja) 1999-09-10 2009-10-13 カウルルーバーの組付構造

Related Parent Applications (1)

Application Number Title Priority Date Filing Date
JP36755099A Division JP4487358B2 (ja) 1999-09-10 1999-12-24 カウルルーバーの組付構造

Publications (2)

Publication Number Publication Date
JP2010013100A true JP2010013100A (ja) 2010-01-21
JP4793668B2 JP4793668B2 (ja) 2011-10-12

Family

ID=41699606

Family Applications (1)

Application Number Title Priority Date Filing Date
JP2009236130A Expired - Fee Related JP4793668B2 (ja) 1999-09-10 2009-10-13 カウルルーバーの組付構造

Country Status (1)

Country Link
JP (1) JP4793668B2 (ja)

Cited By (2)

* Cited by examiner, † Cited by third party
Publication number Priority date Publication date Assignee Title
DE102012222608A1 (de) * 2012-12-10 2014-06-12 Bayerische Motoren Werke Aktiengesellschaft Kraftfahrzeug mit einer Frontklappe
US10793100B2 (en) 2017-10-11 2020-10-06 Mazda Motor Corporation Automobile cowl grille structure

Cited By (2)

* Cited by examiner, † Cited by third party
Publication number Priority date Publication date Assignee Title
DE102012222608A1 (de) * 2012-12-10 2014-06-12 Bayerische Motoren Werke Aktiengesellschaft Kraftfahrzeug mit einer Frontklappe
US10793100B2 (en) 2017-10-11 2020-10-06 Mazda Motor Corporation Automobile cowl grille structure

Also Published As

Publication number Publication date
JP4793668B2 (ja) 2011-10-12

Similar Documents

Publication Publication Date Title
JP4386758B2 (ja) カウルトップカバー
JP4487358B2 (ja) カウルルーバーの組付構造
US7988223B2 (en) Vehicle cowl structure
US6565148B1 (en) Assembly structure for cowl louver
JP3478099B2 (ja) 自動車のカウル構造
JP2008195340A (ja) 車両用ドアトリム
US10967808B2 (en) Interior cover mount assembly
EP1557340B1 (en) Hood lock striker
JP2012006537A (ja) カウルボックス
EP2441650A2 (en) Cowl louver sealing structure
JP3722406B2 (ja) 車両用アームレスト
JP2009274622A (ja) 車両用カウルトップ構造
JP4793668B2 (ja) カウルルーバーの組付構造
JPH06270673A (ja) クリップ取付座
JP4291722B2 (ja) カウルトップカバー
JPH09272387A (ja) 車両用ドアの車室内侵入防止構造
JP2007137363A (ja) カウルルーバ
JP4048852B2 (ja) 自動車の内装部品
CN109927645B (zh) 前围上部装饰件
JP7567654B2 (ja) 乗物用内装材
JP4470834B2 (ja) ウエザストリップ
JP2004331013A (ja) 車両の内装部品構造
JP3198927B2 (ja) エネルギー吸収部材
JP3658971B2 (ja) エアバッグカバー
JP3498472B2 (ja) 車両用ドアのアームレスト

Legal Events

Date Code Title Description
A621 Written request for application examination

Free format text: JAPANESE INTERMEDIATE CODE: A621

Effective date: 20091013

TRDD Decision of grant or rejection written
A01 Written decision to grant a patent or to grant a registration (utility model)

Free format text: JAPANESE INTERMEDIATE CODE: A01

Effective date: 20110630

A977 Report on retrieval

Free format text: JAPANESE INTERMEDIATE CODE: A971007

Effective date: 20110630

A01 Written decision to grant a patent or to grant a registration (utility model)

Free format text: JAPANESE INTERMEDIATE CODE: A01

A61 First payment of annual fees (during grant procedure)

Free format text: JAPANESE INTERMEDIATE CODE: A61

Effective date: 20110713

R150 Certificate of patent or registration of utility model

Ref document number: 4793668

Country of ref document: JP

Free format text: JAPANESE INTERMEDIATE CODE: R150

Free format text: JAPANESE INTERMEDIATE CODE: R150

FPAY Renewal fee payment (event date is renewal date of database)

Free format text: PAYMENT UNTIL: 20140805

Year of fee payment: 3

LAPS Cancellation because of no payment of annual fees