JP2010012644A - スタンプ台 - Google Patents

スタンプ台 Download PDF

Info

Publication number
JP2010012644A
JP2010012644A JP2008172957A JP2008172957A JP2010012644A JP 2010012644 A JP2010012644 A JP 2010012644A JP 2008172957 A JP2008172957 A JP 2008172957A JP 2008172957 A JP2008172957 A JP 2008172957A JP 2010012644 A JP2010012644 A JP 2010012644A
Authority
JP
Japan
Prior art keywords
lock member
lid
base box
stopper
piece
Prior art date
Legal status (The legal status is an assumption and is not a legal conclusion. Google has not performed a legal analysis and makes no representation as to the accuracy of the status listed.)
Granted
Application number
JP2008172957A
Other languages
English (en)
Other versions
JP5248937B2 (ja
Inventor
Tsuyotoshi Ota
剛俊 太田
Narutoshi Uchida
成俊 内田
Current Assignee (The listed assignees may be inaccurate. Google has not performed a legal analysis and makes no representation or warranty as to the accuracy of the list.)
Shachihata Inc
Original Assignee
Shachihata Inc
Priority date (The priority date is an assumption and is not a legal conclusion. Google has not performed a legal analysis and makes no representation as to the accuracy of the date listed.)
Filing date
Publication date
Application filed by Shachihata Inc filed Critical Shachihata Inc
Priority to JP2008172957A priority Critical patent/JP5248937B2/ja
Publication of JP2010012644A publication Critical patent/JP2010012644A/ja
Application granted granted Critical
Publication of JP5248937B2 publication Critical patent/JP5248937B2/ja
Active legal-status Critical Current
Anticipated expiration legal-status Critical

Links

Images

Landscapes

  • Closures For Containers (AREA)

Abstract

【課題】開蓋時においては片手で持ちやすく優れた使い勝手を発揮し、また閉蓋時には凹凸のないフラット面を構成して優れた外観性を呈するロック部材付きのスタンプ台を提供する。
【解決手段】基箱1の一側縁に蓋体2を開閉自在に枢着し、また他端の側縁に蓋体2のロック部材5を取り付けてなるスタンプ台であって、前記ロック部材5にはロック解除するよう回動した場合に、ロック部材5が水平位置よりも下方側へ回動しないように規制するストッパー機構を設けた。このストッパー機構は、基箱1に形成されるストッパー片6と、ロック部材5に形成され前記ストッパー片6に係合可能な突出片5aを有しているものとすることができる。
【選択図】図3

Description

本発明は、開蓋時においては片手で持ちやすく優れた使い勝手を発揮し、また閉蓋時には凹凸のないフラット面を構成して優れた外観性を呈するロック部材付きのスタンプ台に関するものである。
従来から、インク吸蔵体を収納した基箱の一側縁に蓋体を開閉自在に枢着し、また他端の側縁に蓋体のロック部材を取り付けてなるスタンプ台が広く知られている。このロック部材は、蓋体を閉じた状態で、インクの乾燥を防止し、あるいはインクが外へ漏れるのを防止することを目的としている。
このようなロック部材としては、特許文献1に示されるように、基箱に枢着される先端部に締付ローラーを回転自在に設けた締付腕と、蓋体に形成される前記締付ローラーを嵌入係止する係止部とからなり、前記締付ローラーと係止部との係合により蓋体をロックするものが一般的である。
しかしながら、前記のような従来のロック部材の場合、ロックを解除して蓋体を開いた状態では締付腕がフリーな状態となり自重で基箱の下方側へ垂れ下がるという現象が生じ、垂れ下がった締付腕が邪魔になるという問題点があった。また、特に工場や各現場等で使用される強着性インキのスタンプ台の場合は、作業者が起立したまま片手にスタンプ台を持った体勢で押印作業を行うので、前記のように締付腕が垂れ下がった状態ではスタンプ台をしっかりと持ちにくいという問題点があった。更には、従来のロック部材の場合は締付腕や締付ローラーが基箱より飛び出した構造であり、デザイン的に劣るという問題点や、ワイヤ製の締付腕を取り付けるのに厳格な寸法精度が要求されるため、生産効率が悪くなる傾向があるという問題点もあった。
実開昭50−51710号公報
本発明は上記のような問題点を解決して、開蓋時においてロック部材が垂れ下がることがなくて片手で持ちやすく優れた使い勝手を発揮することができ、また閉蓋時には凹凸のないフラット面を構成して優れた外観性を呈することでき、更には寸法精度が緩く生産効率を向上させることができるスタンプ台を提供することを目的として完成されたものである。
上記課題を解決するためになされた本発明のスタンプ台は、インク吸蔵体を収納した基箱の一側縁に蓋体を開閉自在に枢着し、また他端の側縁に蓋体のロック部材を取り付けてなるスタンプ台であって、前記ロック部材にはロック解除するよう回動した場合に、ロック部材が水平位置よりも下方側へ回動しないように規制するストッパー機構を設けたことを特徴とするものである。
また、ストッパー機構は、基箱に形成されるストッパー片と、ロック部材に形成され前記ストッパー片に係合可能な突出片を有しているものとすることができ、これを請求項2に係る発明とする。
また、ロック部材は、断面コ字状の板材よりなり、下部側の折り返し部がストッパー片に係合可能な突出片とされており、また下端部が基箱の側縁に回動自在に枢着されているものとすることができ、これを請求項3に係る発明とする。
更に、ロック部材の上部側の折り返し部は、ロック状態において、蓋体の係止用凹部に嵌め込まれて蓋体の表面とフラットな面を形成するフラット係合片とすることができ、これを請求項4に係る発明とする。
本発明では、ロック部材にはロック解除するよう回動した場合に、ロック部材が水平位置よりも下方側へ回動しないように規制するストッパー機構を設けたので、従来のようにロック部材が自重で基箱の下方側へ垂れ下がることが防止されスタンプ台をしっかりと持つことが可能となる。しかも、前記ロック部材が水平位置にあるため、これを指係り部として利用できるので、スタンプ台をよりしっかりと持つことができる。
また、請求項2に係る発明では、ストッパー機構は、基箱に形成されるストッパー片と、ロック部材に形成され前記ストッパー片に係合可能な突出片を有しているので、両者が確実に係合してロック部材が水平位置よりも下方側へ回動しないように規制することができる。また、前記ストッパー片と突出片との係合は厳格な寸法精度でなくても確実に行われるので、寸法精度を緩くでき成形効率を大幅に向上させることができる。
また、請求項3に係る発明では、ロック部材は、断面コ字状の板材よりなり、下部側の折り返し部がストッパー片に係合可能な突出片とされており、また下端部が基箱の側縁に回動自在に枢着されているので、ロック部材の取付が容易であり、また簡単かつ安価に生産することができる。
更に、請求項4に係る発明では、ロック部材の上部側の折り返し部は、ロック状態において、蓋体の係止用凹部に嵌め込まれて蓋体の表面とフラットな面を形成するフラット係合片とされているので、蓋を閉めた場合に凹凸のないロック部を構成することができ、優れた外観品質を呈することとなる。
以下に、図面を参照しつつ本発明の好ましい実施の形態を示す。
図1は、本発明のスタンプ台を示す全体斜視図、図2はその平面図、図3は図2におけるA−A断面図であり、また図4〜図6は、分解した蓋体、基箱、およびロック部材のそれぞれの斜視図である。
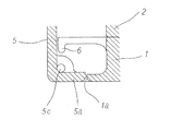
なお、図において、1は基箱、2は蓋体、3は蓋体2を基箱1に開閉自在に枢着するヒンジ部、4は基箱内に収納されるインク吸蔵体であり、以上の基本的な構成は従来のスタンプ台と同じである。
また、基箱1のヒンジ部3を取り付けた側縁と反対側である他端の側縁には、蓋体2のロック部材5が取り付けてある。そして本発明では、このロック部材5に、ロック解除するよう回動した場合に、ロック部材5が水平位置よりも下方側へ回動しないように規制するストッパー機構が設けられた構造となっており、これにより、ロック部材5が自重で基箱1の下方側へ垂れ下がることが防止されスタンプ台をしっかりと持つことできるよう構成されている。
前記ストッパー機構は、基箱1に形成されるストッパー片6と、ロック部材5に形成され前記ストッパー片6に係合可能な突出片5aを有するものである。即ち、図3(および図5)に示されるように、基箱1のヒンジ部3を取り付けた側縁と反対側である他端の側縁には、下方へ延びるストッパー片6が垂設されている。なお、図5に示されるように、実施例では切り欠き部7が形成されて両端にストッパー片6を設けたものとなっているが、その他に切り欠き部7を設けずに連続した板状のストッパー片6とすることや、複数個からなるストッパー片6とすることもできる。
一方、ロック部材5にはロック解除するよう回動した場合に、前記ストッパー片6に係合可能な突出片5aが形成されている。そして、このストッパー片6と突出片5aとの係合により、ロック部材5をロック解除するよう回動した場合に、ロック部材5が水平位置で止まり、それよりも下方側へ回動しないよう構成されている。
実施例のものでは、前記ロック部材5は、図6に示されるように、断面コ字状の板材よりなり、下部側の折り返し部がストッパー片6に係合可能な突出片5aとされている。また、ロック部材5は下端部において基箱1の側縁に枢着部5cで枢着されており、この枢着部5cを中心に自在に回動してロック状態とロック解除状態の2態様をとるように構成されている。
また、前記ロック部材5の上部側の折り返し部は、ロック状態において、蓋体2の係止用凹部8に嵌め込まれて蓋体2の表面とフラットな面を形成するフラット係合片5bとされており、これにより、蓋を閉めた場合に凹凸がなくフラットな状態のロック部を構成するようになっている。
次に、本発明における蓋体2の開閉操作について説明する。
先ず、スタンプ台を使用しない場合は、図3に示されるように、蓋体2が閉じられてロック部材5はフラット係合片5bを蓋体2に係止したロック状態を保持しており、インクの乾燥を防止し、またインクが外へ漏れるのを防止している。この場合、ロック部材5は枢着部5cを中心に回動して垂直に立った状態とされ、上部側のフラット係合片5bは、蓋体2の係止用凹部8に嵌め込まれて蓋体2の表面とフラットな面を形成している。従って、ロック部材5は基箱1や蓋体2から飛び出すことがなく面一となるため、優れた取り扱い性を発揮するとともに、優れた外観品質を呈することとなる。
なお、図10はロック状態におけるロック部材5の要部を示す拡大断面図であるが、この状態において突出片5aは基箱1に設けられた切り欠き部1a内にきっちりと格納されるので、何ら邪魔になることはない。
次に、スタンプ台を使用する場合は、図7〜図8に示されるように、ロック部材5のロック状態を解除して蓋体2を開く。図7はロック解除した状態を示す平面図、図8は図7のA−A断面図であり、また図9はロック部材の回動状態(45度回動した状態)を示す断面図、図11はロックを解除した状態におけるロック部材5の要部を示す拡大断面図である。
この場合、ロック部材5は枢着部5cを中心に反時計回りに回動されてロック解除されるが、ロック部材5が水平位置まで回動すると、突出片5aがストッパー片6に係合してそれ以上の回動が規制されることとなる。この結果、ロック部材5は水平位置よりも下方側へは回動せず、水平状態を保持することとなる。
このように、従来はロック部材がロックを解除した状態において自重で基箱1の下方側へ垂れ下がり邪魔になるという問題点があったのに対し、本発明ではロック部材が水平状態を保持するので使い勝手が大幅に向上することとなる。また、工場や現場等においてスタンプ台を片手で持って使用する場合にも、ロック部材5が水平位置よりも下方側へ回動しないように規制されているので、このロック部材5を指係り部として利用することができ、しっかりとスタンプ台を持つことができることとなる。
以上の説明からも明らかなように、本発明はインク吸蔵体を収納した基箱の一側縁に蓋体を開閉自在に枢着し、また他端の側縁に蓋体のロック部材を取り付けてなるスタンプ台であって、前記ロック部材にはロック解除するよう回動した場合に、ロック部材が水平位置よりも下方側へ回動しないように規制するストッパー機構を設けたものとしたので、開蓋時においてロック部材が垂れ下がることがなくて片手で持ちやすく優れた使い勝手を発揮することができる。
また、閉蓋時には凹凸のないフラット面を構成して優れた外観性を呈することできるという利点や、基箱に形成されるストッパー片とロック部材に形成される突出片との係合により位置規制する構造であるため、寸法精度が緩く大幅に生産効率を向上させることができるという利点も有する。
本発明の実施の形態を示す全体斜視図である。 本発明の実施の形態を示す平面図である。 図2におけるA−A断面図正面図である。 蓋体を示す斜視図である。 基箱を示す斜視図である。 ロック部材を示す斜視図である。 ロック解除した状態を示す平面図である。 図7におけるA−A断面図である。 ロック部材の回動状態を示す断面図である。 ロック部材の要部を示す拡大断面図である。 ロック部材の要部を示す拡大断面図である。
符号の説明
1 基箱
2 蓋体
3 ヒンジ部
4 インク吸蔵体
5 ロック部材
5a 突出片
5b フラット係合片
5c 枢着部
6 ストッパー片
7 切り欠き部
8 係止用凹部

Claims (4)

  1. インク吸蔵体を収納した基箱の一側縁に蓋体を開閉自在に枢着し、また他端の側縁に蓋体のロック部材を取り付けてなるスタンプ台であって、前記ロック部材にはロック解除するよう回動した場合に、ロック部材が水平位置よりも下方側へ回動しないように規制するストッパー機構を設けたことを特徴とするスタンプ台。
  2. ストッパー機構は、基箱に形成されるストッパー片と、ロック部材に形成され前記ストッパー片に係合可能な突出片を有している請求項1に記載のスタンプ台。
  3. ロック部材は、断面コ字状の板材よりなり、下部側の折り返し部がストッパー片に係合可能な突出片とされており、また下端部が基箱の側縁に回動自在に枢着されている請求項1または2に記載のスタンプ台。
  4. ロック部材の上部側の折り返し部は、ロック状態において、蓋体の係止用凹部に嵌め込まれて蓋体の表面とフラットな面を形成するフラット係合片とされている請求項1〜3のいずれかに記載のスタンプ台。
JP2008172957A 2008-07-02 2008-07-02 スタンプ台 Active JP5248937B2 (ja)

Priority Applications (1)

Application Number Priority Date Filing Date Title
JP2008172957A JP5248937B2 (ja) 2008-07-02 2008-07-02 スタンプ台

Applications Claiming Priority (1)

Application Number Priority Date Filing Date Title
JP2008172957A JP5248937B2 (ja) 2008-07-02 2008-07-02 スタンプ台

Publications (2)

Publication Number Publication Date
JP2010012644A true JP2010012644A (ja) 2010-01-21
JP5248937B2 JP5248937B2 (ja) 2013-07-31

Family

ID=41699234

Family Applications (1)

Application Number Title Priority Date Filing Date
JP2008172957A Active JP5248937B2 (ja) 2008-07-02 2008-07-02 スタンプ台

Country Status (1)

Country Link
JP (1) JP5248937B2 (ja)

Citations (4)

* Cited by examiner, † Cited by third party
Publication number Priority date Publication date Assignee Title
JPS5757962U (ja) * 1980-09-22 1982-04-05
JPH01153964U (ja) * 1988-04-06 1989-10-24
JPH0858214A (ja) * 1994-08-26 1996-03-05 Tsukahara Kogyo Kk スタンプ台
JP2001088416A (ja) * 1999-09-22 2001-04-03 Shachihata Inc スタンプ台

Patent Citations (4)

* Cited by examiner, † Cited by third party
Publication number Priority date Publication date Assignee Title
JPS5757962U (ja) * 1980-09-22 1982-04-05
JPH01153964U (ja) * 1988-04-06 1989-10-24
JPH0858214A (ja) * 1994-08-26 1996-03-05 Tsukahara Kogyo Kk スタンプ台
JP2001088416A (ja) * 1999-09-22 2001-04-03 Shachihata Inc スタンプ台

Also Published As

Publication number Publication date
JP5248937B2 (ja) 2013-07-31

Similar Documents

Publication Publication Date Title
CN101969806B (zh) 用于运输工具或相似物的手提箱
JP3207350U (ja) ロック装置及びケースとロック装置との組立体
JP5248937B2 (ja) スタンプ台
JP2017056951A (ja) 収納ケース
CN103659776B (zh) 工具盒的卡制结构
US7318574B2 (en) Tool kit
JP5222676B2 (ja) 印褥具
JP2740641B2 (ja) マンホール用鉄蓋の施錠装置
JP4446277B2 (ja) かばん錠
JP3158165U (ja) ハンガー
JP5586014B2 (ja) 蓋付き容器
JP5016384B2 (ja) 折り畳みコンテナ
JP3116496U (ja) かばん錠
JP4060808B2 (ja) 収納家具の扉構造
JP2020133347A (ja) レバーハンドル
JP3063254U (ja) 御札ケ―ス
JP3155209U (ja) 球体携行装置
JP3182605U (ja) 魔法瓶用蓋体
CN213820574U (zh) 一种隐藏式带锁拉手
CN202162794U (zh) 一种固定打开角度的工具盒
JP6283201B2 (ja) 戸当り
JP4145720B2 (ja) 取付板付収納容器
JPH0241888Y2 (ja)
JPH0517935Y2 (ja)
JP3010070U (ja) 鞄の蓋係止具

Legal Events

Date Code Title Description
A621 Written request for application examination

Free format text: JAPANESE INTERMEDIATE CODE: A621

Effective date: 20110517

A131 Notification of reasons for refusal

Free format text: JAPANESE INTERMEDIATE CODE: A131

Effective date: 20120807

A521 Request for written amendment filed

Free format text: JAPANESE INTERMEDIATE CODE: A523

Effective date: 20121001

TRDD Decision of grant or rejection written
A01 Written decision to grant a patent or to grant a registration (utility model)

Free format text: JAPANESE INTERMEDIATE CODE: A01

Effective date: 20130405

A61 First payment of annual fees (during grant procedure)

Free format text: JAPANESE INTERMEDIATE CODE: A61

Effective date: 20130411

R150 Certificate of patent or registration of utility model

Ref document number: 5248937

Country of ref document: JP

Free format text: JAPANESE INTERMEDIATE CODE: R150

Free format text: JAPANESE INTERMEDIATE CODE: R150

FPAY Renewal fee payment (event date is renewal date of database)

Free format text: PAYMENT UNTIL: 20160419

Year of fee payment: 3

R250 Receipt of annual fees

Free format text: JAPANESE INTERMEDIATE CODE: R250

R250 Receipt of annual fees

Free format text: JAPANESE INTERMEDIATE CODE: R250

R250 Receipt of annual fees

Free format text: JAPANESE INTERMEDIATE CODE: R250

R250 Receipt of annual fees

Free format text: JAPANESE INTERMEDIATE CODE: R250

R250 Receipt of annual fees

Free format text: JAPANESE INTERMEDIATE CODE: R250

R250 Receipt of annual fees

Free format text: JAPANESE INTERMEDIATE CODE: R250

R250 Receipt of annual fees

Free format text: JAPANESE INTERMEDIATE CODE: R250

R250 Receipt of annual fees

Free format text: JAPANESE INTERMEDIATE CODE: R250

R250 Receipt of annual fees

Free format text: JAPANESE INTERMEDIATE CODE: R250

R250 Receipt of annual fees

Free format text: JAPANESE INTERMEDIATE CODE: R250