JP2010011366A - 通信システム、通信装置及び通信制御方法 - Google Patents

通信システム、通信装置及び通信制御方法 Download PDF

Info

Publication number
JP2010011366A
JP2010011366A JP2008171244A JP2008171244A JP2010011366A JP 2010011366 A JP2010011366 A JP 2010011366A JP 2008171244 A JP2008171244 A JP 2008171244A JP 2008171244 A JP2008171244 A JP 2008171244A JP 2010011366 A JP2010011366 A JP 2010011366A
Authority
JP
Japan
Prior art keywords
communication
connection
authentication
printer
dsc
Prior art date
Legal status (The legal status is an assumption and is not a legal conclusion. Google has not performed a legal analysis and makes no representation as to the accuracy of the status listed.)
Granted
Application number
JP2008171244A
Other languages
English (en)
Other versions
JP2010011366A5 (ja
JP5149715B2 (ja
Inventor
Kazuo Moritomo
和夫 森友
Current Assignee (The listed assignees may be inaccurate. Google has not performed a legal analysis and makes no representation or warranty as to the accuracy of the list.)
Canon Inc
Original Assignee
Canon Inc
Priority date (The priority date is an assumption and is not a legal conclusion. Google has not performed a legal analysis and makes no representation as to the accuracy of the date listed.)
Filing date
Publication date
Application filed by Canon Inc filed Critical Canon Inc
Priority to JP2008171244A priority Critical patent/JP5149715B2/ja
Priority to PCT/JP2009/060408 priority patent/WO2010001687A1/en
Priority to CN201310591068.7A priority patent/CN103647577B/zh
Priority to US12/991,854 priority patent/US8953198B2/en
Priority to CN2009801253052A priority patent/CN102077477B/zh
Publication of JP2010011366A publication Critical patent/JP2010011366A/ja
Publication of JP2010011366A5 publication Critical patent/JP2010011366A5/ja
Application granted granted Critical
Publication of JP5149715B2 publication Critical patent/JP5149715B2/ja
Expired - Fee Related legal-status Critical Current
Anticipated expiration legal-status Critical

Links

Images

Classifications

    • HELECTRICITY
    • H04ELECTRIC COMMUNICATION TECHNIQUE
    • H04NPICTORIAL COMMUNICATION, e.g. TELEVISION
    • H04N5/00Details of television systems
    • H04N5/76Television signal recording
    • H04N5/765Interface circuits between an apparatus for recording and another apparatus
    • HELECTRICITY
    • H04ELECTRIC COMMUNICATION TECHNIQUE
    • H04NPICTORIAL COMMUNICATION, e.g. TELEVISION
    • H04N1/00Scanning, transmission or reproduction of documents or the like, e.g. facsimile transmission; Details thereof
    • H04N1/00127Connection or combination of a still picture apparatus with another apparatus, e.g. for storage, processing or transmission of still picture signals or of information associated with a still picture
    • H04N1/00278Connection or combination of a still picture apparatus with another apparatus, e.g. for storage, processing or transmission of still picture signals or of information associated with a still picture with a printing apparatus, e.g. a laser beam printer
    • HELECTRICITY
    • H04ELECTRIC COMMUNICATION TECHNIQUE
    • H04NPICTORIAL COMMUNICATION, e.g. TELEVISION
    • H04N2201/00Indexing scheme relating to scanning, transmission or reproduction of documents or the like, and to details thereof
    • H04N2201/0008Connection or combination of a still picture apparatus with another apparatus
    • H04N2201/0015Control of image communication with the connected apparatus, e.g. signalling capability
    • HELECTRICITY
    • H04ELECTRIC COMMUNICATION TECHNIQUE
    • H04NPICTORIAL COMMUNICATION, e.g. TELEVISION
    • H04N2201/00Indexing scheme relating to scanning, transmission or reproduction of documents or the like, and to details thereof
    • H04N2201/0008Connection or combination of a still picture apparatus with another apparatus
    • H04N2201/0034Details of the connection, e.g. connector, interface
    • H04N2201/0048Type of connection
    • H04N2201/006Using near field communication, e.g. an inductive loop
    • HELECTRICITY
    • H04ELECTRIC COMMUNICATION TECHNIQUE
    • H04NPICTORIAL COMMUNICATION, e.g. TELEVISION
    • H04N2201/00Indexing scheme relating to scanning, transmission or reproduction of documents or the like, and to details thereof
    • H04N2201/0077Types of the still picture apparatus
    • H04N2201/0084Digital still camera

Landscapes

  • Engineering & Computer Science (AREA)
  • Multimedia (AREA)
  • Signal Processing (AREA)
  • Accessory Devices And Overall Control Thereof (AREA)
  • Communication Control (AREA)
  • Television Signal Processing For Recording (AREA)
  • Near-Field Transmission Systems (AREA)
  • Studio Devices (AREA)

Abstract

【課題】 非接触近接通信によるデータ転送を実現するにあたり、ユーザの操作性を向上させる。
【解決手段】 DSC101とプリンタ102を備える通信システムであって、DSC101及びプリンタ102は、それぞれ、通信可能な範囲に位置した場合に、第1の通信層における接続状態を確立するための接続処理を行う非接触近接通信機能部201、301と、前記第1の通信層における接続状態が確立した場合に、第2の通信層における接続状態が確立しているか否かを確認するための認証処理を行い、認証が成功しなかった場合に、前記第2の通信層における接続状態を確立するための接続処理を行う印刷画像転送処理部202、302と、認証が成功した場合、または前記第2の通信層における接続状態が確立した場合に、データの転送を行うリンク制御部203、303とを備える。
【選択図】 図4

Description

本発明は、非接触近接通信における通信制御技術に関するものである。
近年、非接触近接通信技術が広く一般において利用されるようになっている。一例として、RFID(Radio Frequency-Identification:電波方式認識)回路を内蔵した非接触ICカード(以下、RFIDカード)が挙げられる。RFIDカードは、簡易に機器間のアクセスが可能であることの利点を活かし、電車の乗車券等において利用されている。
このような非接触近接通信技術の分野においては、通信距離が短いながらもデータ転送速度の高速化の研究が進められている。
非接触近接通信の通信方式としては、電磁誘導を利用したNFC(Near Field Communication)や誘導電界を利用した通信などが挙げられる。非接触近接通信技術をノートPCや携帯電話、デジタルカメラ、プリンタ等に搭載することで、機器間におけるデータ転送がより簡単となり、ユーザの利便性が向上することが期待される。
一方で、デジタルカメラ(以下、DSC)とプリンタとをダイレクトに接続し、DSCが通常備えている表示器上でプリント指示を与えることで印刷処理を実現する技術として、ピクトブリッジ(PictBridge)等の印刷画像転送技術が提案されている。
当該印刷画像転送技術を採用したDSC及びプリンタでは、プリンタにDSCを接続した際、各種指示、特に、印刷しようとする画像を選択する指示を入力する手段として、DSCが備える表示器を利用することができる。このため、印刷しようとする画像を確認するための格別な表示器をプリンタ側に配する必要がなくなり、プリンタのコスト削減を実現できるというメリットがある。
そして、これらの技術(非接触近接通信技術と印刷画像転送技術)を組み合わせることで、DSCの画像をより簡単な操作で印刷することが可能となる。具体的には、非接触近接通信機能を備えるデジタルカメラとプリンタとを近づけただけで、両機器が具備する印刷画像転送プロトコルが起動し、所望の画像が印刷されることとなる。
しかし、その反面、このような簡単な操作の場合、ユーザがデジタルカメラとプリンタとの接触/離反を頻繁に行うことが想定される。このため、非接触近接通信技術のプロトコル、印刷画像転送プロトコルの接続/切断の管理をより複雑に構成することが想定される。
ここで、印刷画像転送プロトコルの接続/切断を管理するための技術としては、例えば、下記特許文献1が挙げられる。当該特許文献1には、無線通信部の切断状態の継続時間を計測し、当該計測した継続時間に基づいて、印刷画像転送プロトコルの接続状態を制御する技術が開示されている。
特開2004−104512号公報
しかしながら、非接触近接通信の場合、従来の無線通信とは異なり、接続/切断が頻繁に行われる。このため、上記特許文献1に開示された技術をそのまま非接触近接通信に適用しようとすると、以下のような弊害が発生することが予想される。
例えば、DSCの画像を非接触近接通信によりプリンタに転送し印刷を行う場合、ユーザはDSC上で印刷しようとする画像を選択し、その後にDSCをプリンタに近づけることで選択した画像をプリンタに転送し、印刷を実行させる。更に、他の画像を続けて印刷する場合、ユーザは次の画像を選択するために、一旦、DSCをプリンタから遠ざける。このとき、非接触近接通信プロトコルは「切断」状態となる。
ここで、ユーザが画像を選択するために要する時間は、ユーザによって、あるいは選択対象となる画像の枚数によって異なってくる。例えば、操作が不慣れなユーザの場合や選択対象となる画像の枚数が多い場合は、画像の選択に時間がかかることとなる。
つまり、画像の選択に伴って生じる非接触近接通信プロトコルの切断状態の継続時間は一定ではない。このため、上記特許文献1において開示された、印刷画像転送プロトコルの切断に関する判断方法を適用すると、印刷する画像を選択する際に、印刷画像転送プロトコルが切断状態となる場合と、切断状態とならない場合とが生じることとなる。つまり、印刷画像転送プロトコルの接続処理が再度必要となる場合と必要とならない場合とが生じる。
印刷画像転送プロトコルの接続処理に要する時間はそのまま印刷処理時間に影響するため、結果として印刷処理時間が短い場合と、長い場合とが混在することとなり、ユーザにとっては操作性が悪い。
本発明は上記課題に鑑みてなされたものであり、既存の転送プロトコルを非接触近接通信に実装することで、非接触近接通信によるデータ転送を実現するにあたり、ユーザの操作性を向上させることが可能な通信制御技術を提供することを目的とする。
上記の目的を達成するために本発明に係る通信システムは以下のような構成を備える。即ち、
通信インタフェースを介して通信を行う第1及び第2の通信装置を備える通信システムであって、
前記第1及び第2の通信装置は、それぞれ、
前記通信インタフェースが互いに通信可能な範囲に位置した場合に、前記第1と第2の通信装置の間において第1の通信層における接続状態を確立するための接続処理を行う第1の接続手段と、
前記第1の接続手段による接続処理により、前記第1の通信層における接続状態が確立した場合に、前記第1と第2の通信装置の間において第2の通信層における接続状態が確立しているか否かを確認するための認証処理を行う認証手段と、
前記認証処理の結果、認証が成功しなかった場合に、前記第2の通信層における接続状態を確立するための接続処理を行う第2の接続手段と、
前記認証処理の結果、認証が成功した場合、または前記第2の接続手段により前記第2の通信層における接続状態が確立した場合に、前記第1と第2の通信装置の間において、データの転送を行う転送手段とを備える。
本発明によれば、既存の転送プロトコルを非接触近接通信に実装することで、非接触近接通信によるデータ転送を実現するにあたり、ユーザの操作性を向上させることが可能となる。
以下、図面を参照しながら、本発明の好適な実施の形態について説明する。
[第1の実施形態]
以下、添付図面に従って本発明の各実施形態について説明する。なお、以下の実施形態において説明する通信装置は、非接触近接通信機能部と印刷画像転送機能部とを備える。また、非接触近接通信機能部において接続/切断が繰り返し行われた場合でも、非接触近接通信において動作する印刷画像転送機能部のプロトコルを効率的に使用するためのリンク制御部を備える。
また、以下の実施形態では、通信装置として、非接触近接通信機能部及び印刷画像転送機能部を備えるDSC(第1の通信装置)と、同様の機能を備えるプリンタ(第2の通信装置)とにより構成される。
DSCとプリンタとにより構成される通信システムでは、DSCをプリンタにかざすだけで、DSC内の画像をプリンタにて印刷することが可能である。また、画像の選択/印刷を複数回繰り返した場合でも、効率的に印刷処理を行うことができる。
<非接触通信システムの構成>
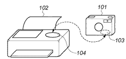
図1は、本発明の一実施形態にかかる通信システムの構成例を示す図である。図1において、DSC101は「非接触近接通信」機能を具備したデジタルカメラ(以後、DSCと称す)である。DSC101における「非接触近接通信」機能はDSC内に保存されている画像データを、同じく「非接触近接通信」機能を具備するプリンタ等へ転送する転送手段として機能する。
非接触近接通信機能用インタフェース103はDSC101にて非接触近接通信を実現するための通信インタフェースである。
非接触近接通信機能用インタフェース104はプリンタ102にて非接触近接通信を実現するための通信インタフェースである。
プリンタ102はDSC101と同様の「非接触近接通信」機能を具備したプリンタである。プリンタ102における「非接触近接通信」機能もDSC101と同様に画像データの転送手段として機能する。
<DSCの機能構成>
続いて、DSC101の構成について説明する。図2は、本発明の一実施形態にかかる通信装置(DSC101)の機能構成図である。
図2において、非接触近接通信機能部(第1の接続手段)201は、他の非接触近接通信機能を具備する機器との間でデータ転送を実現するブロックである。
印刷画像転送処理部(第2の接続手段)202は、DSC101において印刷指示が入力された場合に、DSC101からプリンタ102に対して、DSC101内の画像データを転送する。そして、プリンタ102における印刷処理を実現するためのデータ転送処理を制御する。
リンク制御部203は非接触近接通信を処理するプロトコル及び印刷画像転送を処理するプロトコルの制御を行う。具体的には印刷画像転送を処理するプロトコルの接続状態を識別する印刷画像転送接続識別子を記憶する。さらには記憶した該印刷画像転送接続識別子と、他の通信装置から転送される該印刷画像転送接続識別子との比較処理を実施する。また、他の通信装置の機器識別子も記憶する。さらには、記憶した機器識別子と、他の通信装置から転送される機器識別子との比較処理を実施する。これらの比較結果に基づいて印刷画像転送を処理するプロトコルの接続状態を制御する。
電源部204は電源供給を必要とする各ブロックに駆動電源を供給する。
CPU206は、以上の動作を指示及び制御するためのブロックである。
DSC機能部205は、画像を撮像し画像データを生成するなど、DSCとしての処理を実行する。
ユーザインタフェース機能部207は、ユーザからの印刷指示を受け付ける表示器や、印刷処理専用ボタン等を制御する。
<プリンタの機能構成>
次にプリンタ102の構成について説明する。図3は、本発明の一実施形態にかかる通信装置(プリンタ102)の機能構成図である。
非接触近接通信機能部301(第1の接続手段)は、DSC101内の非接触近接通信機能部201と同様の機能を有し、他の非接触近接通信機能を具備する通信装置との間でデータ転送を実現するブロックである。
印刷画像転送処理部(第2の接続手段)302は、DSC101において印刷指示が入力された場合に、DSC101に、DSC101内の画像データを転送させるデータ転送処理を制御する。
リンク制御部303は非接触近接通信を処理するプロトコル及び印刷画像転送を処理するプロトコルの制御を行う。具体的には非接触近接通信機能における接続が確立された際に、他の通信装置の機器識別子を記憶する。
また、印刷画像転送を処理するプロトコルの接続状態を識別する印刷画像転送接続識別子を記憶する。さらには、他の通信装置を認証するための認証処理を起動する。認証処理としては記憶した印刷画像転送接続識別子と機器識別子とを含んだ認証要求を、他の通信装置へ送信し、応答を待つ。この応答内容によって印刷画像転送を処理するプロトコルの接続状態を制御する。
電源部304は電源供給を必要とする各ブロックに電源を供給する。
CPU306は上記各ブロックの動作を指示及び制御するためのブロックである。
プリンタ機能部305は、転送された画像を印刷するなど、プリンタとしての処理を実行するブロックである。
<通信システムにおける印刷処理の流れ>
次に図1に示す通信システムにおける印刷処理の流れについて説明する。図1に示す通信システムを用いて印刷を行うにあたり、ユーザは、DSC101に保存されている画像を選択し、その後、DSC101をプリンタ102にかざすことで、該選択した画像をプリンタに転送させ、プリンタ102に印刷を実行させる。そして、複数の画像を印刷する場合には、これらの操作を連続して行う。
以下、ユーザがこのような操作を行う場合の、通信システムにおける印刷処理の流れについて、図4乃至図6を用いて説明する。なお、図4は、通信システムにおける印刷処理の流れを示すシーケンス図である。また、図5は、通信システムにおいて印刷処理を実行する際のDSC101における処理の流れを示すフローチャートであり、図6は、通信システムにおいて印刷処理を実行する際のプリンタ102における処理の流れを示すフローチャートである。
ユーザがDSC101、プリンタ102の電源を投入し、ユーザインタフェース機能部207の表示器を介して、または印刷処理専用ボタンを用いて印刷処理実行指示を入力すると、DSC101では、これを受け付ける(ステップS501)。
ステップS501において印刷処理実行指示を受け付けると、DSC101では、ステップS502において非接触近接通信接続処理を開始する。
具体的には、リンク制御部203が非接触近接通信機能部201に対して、非接触近接通信機能における接続を行うための「第1接続要求」(401)を発行する。これを受けた非接触近接通信機能部201では「非接触近接接続要求」(402)をプリンタ102に対して送信する。
この状態で、ユーザは、DSC101内に保存された複数の画像の中から、印刷したい画像の選択を行う。DSC101では、ユーザが入力した印刷画像選択指示を受け付ける(ステップS503)。
続いて、ユーザは、非接触近接通信機能用インタフェース103が、非接触近接通信機能用インタフェース104に接触するように、あるいは互いに通信可能な範囲に位置するように、DSC101をプリンタ102にかざす(ステップS504、S601)。
この操作により、プリンタ102ではDSC101からの「非接触近接接続要求」(402)を受信することができるようになる。
プリンタ102では、非接触近接通信機能部301が「非接触近接接続要求」(402)を受信する。これにより、プリンタ102では、非接触近接通信接続状態(第1の通信層における接続状態)へ遷移する(ステップS602)。
具体的には、非接触近接通信機能部301が非接触近接通信の接続処理を実行し、接続処理が完了した旨を「非接触近接接続応答」(403)としてDSC101へ送信する。更に、該接続処理が完了した旨を「第1接続通知」(404)としてリンク制御部303に通知する。
なお、プリンタ102ではDSC101の機器識別子を知ることができるため、「第1接続要求」(401)及び「非接触近接接続要求」(402)には、DSC101の機器識別子を持たせている。
このため、プリンタ102では、「非接触近接接続要求」(402)を受信すると、リンク制御部303がDSC101の機器識別子を記憶する(ステップS603)。

一方、DSC101では、非接触近接通信機能部201が「非接触近接接続応答」(403)を受信する。これにより、DSC101では、非接触近接通信の接続処理が完了したことを検知し、非接触近接通信接続状態へ遷移する(ステップS505)。
さらに、非接触近接通信機能部201では、接続処理が完了した旨を「第1接続応答」(405)としてリンク制御部203に送信する。
なお、DSC101ではプリンタ102の機器識別子を知ることができるため、「非接触近接接続応答」(403)、「第1接続応答」(405)には、プリンタ102の機器識別子を持たせている。
このため、DSC101では、「非接触近接接続応答」(403)を受信すると、「第1接続応答」(405)を介してリンク制御部203がプリンタ102の機器識別子を記憶する(ステップS506)。このようにして記憶された、対向する機器の機器識別子は、後述する認証手段において使用される。
以後、DSC101とプリンタ102間の送受信処理は、それぞれの非接触近接通信機能部201、非接触近接通信機能部301を介して行うこととなる。
「第1接続通知」(404)を受信したプリンタ102のリンク制御部303では、ステップS604に進む。ステップS604では、DSC101に対して、印刷画像転送処理のプロトコルにおける接続状態(第2の通信層における接続状態)を確認するための「認証要求」(406)を送信する。
なお、「認証要求」(406)にはプリンタ102の機器識別子を持たせているものとする。さらに、印刷画像転送処理のプロトコルにおける接続状態に関する固有の識別子(印刷画像転送接続識別子)を持たせているものとする。
ここで、プリンタ102は、この時点で電源投入してから1度もDSC101から転送される画像の印刷処理を行っていない。このため、リンク制御部303には、印刷画像転送接続識別子が記憶されておらず、この時点でリンク制御部303が送信する「認証要求」406には、印刷画像転送接続識別子が含まれていない。同様に、リンク制御部303から送信された「認証要求」(406)に基づいて、非接触近接通信機能部301が送信する「認証要求」(407)にも、印刷画像転送接続識別子は含まれていない。
ステップS507では、DSC101の非接触近接通信機能部201が、「認証要求」(407)を受信し、リンク制御部203が、機器識別子の比較を行う。
ここで、プリンタ102の機器識別子に関しては、「非接触近接接続応答」(403)を介して既に受信し、リンク制御部203が記憶しているため、比較処理(認証)は成功する(ステップS508においてYES)。仮に比較処理(認証)が成功しなかった場合には(ステップS508においてNo)、ステップS505に戻り、非接触近接通信の接続処理からやり直す。
続いて、ステップS509では、印刷画像転送接続識別子の比較処理を行い、比較処理(認証)が成功したか否かを判断する。
ここで、プリンタ102同様、この時点で、DSC101も電源投入してから1度も印刷処理のための画像をプリンタ102に転送していない。このため、リンク制御部203には、印刷画像転送処理のプロトコルにおける接続状態に関する固有の識別子(印刷画像転送接続識別子)が記憶されていない。
つまり、プリンタ102、DSC101の双方において印刷画像転送接続識別子が記憶されていない。従ってDSC101のリンク制御部203は、「認証要求」(408)に対して認証が失敗である旨を「認証応答(失敗)」409として応答する。
更に、非接触近接通信機能部201では、「認証応答(失敗)」(410)を、プリンタ102の非接触近接通信機能部301に送信し、非接触近接通信機能部301では、リンク制御部303に「認証応答(失敗)」(411)を送信する。
リンク制御部303では、ステップS605において、印刷画像転送接続識別子の認証が成功したか否かを判断する。ここで、リンク制御部303は、「認証応答(失敗)」(411)を受信しているため、印刷画像転送接続識別子の認証が失敗したと判断し、現時点で、印刷画像転送処理のプロトコルにおける接続処理がなされていないことを把握する。
そこで、プリンタ102のリンク制御部303では、印刷画像転送処理のプロトコルにおける接続処理を開始するため、「第2接続要求」(412)を印刷画像転送処理部302に発行する。
プリンタ102の印刷画像転送処理部302では、「第2接続要求」(412)を受けると、ステップS606において、「印刷画像転送接続要求」(413)を送信する。
これを受けて非接触近接通信機能部301では、「印刷画像転送接続要求」(414)を送信し、DSC101の非接触近接通信機能部201では、「印刷画像転送接続要求」(415)を印刷画像転送処理部202に送信する。
DSC101の印刷画像転送処理部202では、「印刷画像転送接続要求」(415)を受信すると、ステップS510において、印刷画像転送処理のプロトコルの接続処理を実行し、接続処理が完了した旨を「印刷画像転送応答」(416)として送信する。
更に、非接触近接通信機能部201では、「印刷画像転送接続応答」(418)を送信し、非接触近接通信機能部301では、「印刷画像転送接続応答」(419)を印刷画像転送処理部302に送信する。
プリンタ102の印刷画像転送処理部302が「印刷画像転送接続応答」(419)を受信すると、印刷画像転送処理のプロトコルにおける接続処理が完了となる。この時点でDSC101は、プリンタ102に画像を転送し、プリンタ102にて印刷処理を実行することが可能となる。
この時、DSC101及びプリンタ102では、印刷画像転送処理のプロトコルにおける接続に関する固有の識別子(印刷画像転送接続識別子)を生成し、それを共有する。ここではプリンタ102の印刷画像転送処理部302が「印刷画像転送接続要求」(413)を送信する際に、当該印刷画像転送接続識別子を生成することにする。
生成された印刷増転送接続識別子は、「印刷画像転送接続要求」(414、415))に含まれ、DSC101の印刷画像転送処理部202に通知される。DSC101の印刷画像転送処理部202では、印刷画像転送処理のプロトコルの接続処理を実行した際に、リンク制御部203に「識別情報記憶要求」(417)を発行する。
リンク制御部203では、ステップS511において、印刷画像転送接続識別子を記憶する。
一方、プリンタ102の印刷画像転送処理部302では、「印刷画像転送応答」(419)を受信すると、リンク制御部303に対して「第2接続応答」(420)を発行する。
リンク制御部303では、ステップS607において、印刷画像転送接続識別子を記憶する。
なお、印刷画像転送識別子の生成、記憶の方法は、上記方法に限定されるものではない。例えば、プリンタ102のリンク制御部303が「印刷画像転送応答」を受信するように構成し、プリンタ102のリンク制御部303が「印刷画像転送応答」を受信した際に、印刷画像転送接続識別子を生成し、DSC101に送信するようにしても良い。
以後、DSC101及びプリンタ102の印刷画像転送処理部202、302による所定の印刷画像の転送処理、及びプリンタ102のプリンタ機能部305による印刷処理が実行される(421、ステップS512、ステップS608)。
DSC101からプリンタ102に画像が転送され、プリンタ102において当該転送された画像の印刷が完了すると、ステップS513では、継続して他の画像についても、転送及び印刷処理を行うか否かを判断する。
ここでは、継続して他の画像についても転送及び印刷処理を行う場合について説明する(ステップS513においてYes)。
他の画像について転送及び印刷処理を行うためには、ユーザはDSC101において他の画像を選択するため、DSC101を、一旦、プリンタ102から離す。この時点で非接触近接通信における切断状態に遷移し、非接触近接通信機能部201、301は、それぞれのリンク制御部203、303に、非接触近接切断通知(422、423)を送信する。
これに伴って、DSC101のリンク制御部203では、非接触近接通信機能部201に非接触近接通信機能における接続を行うための「第1接続要求」(424)を発行する。これを受けた非接触近接通信機能部201では、「非接触近接接続要求」(425)をプリンタ102に対して送信する。
この状態で、ユーザは、再度DSC101内に保存された複数の画像の中から、印刷したい他の画像の選択を行う(426、ステップS503)。
なお、この時点での印刷画像転送処理のプロトコルは接続状態にあり、切断状態には遷移しない。
その後、DSC101及びプリンタ102において上記処理(ステップS504〜ステップS506、ステップS601〜ステップS603)と同様の処理が実行されることで、非接触近接通信における接続状態に遷移する。
これにより、非接触近接通信機能部301では、接続処理が完了した旨を「第1接続通知」(404)としてリンク制御部303に通知する。また、非接触近接通信機能部201では、接続処理が完了した旨を「第1接続応答」(429)としてリンク制御部203に送信する。
以後、DSC101とプリンタ102間の送受信処理は、それぞれの非接触近接通信機能部201、非接触近接通信機能部301を介して行うこととなる。
「第1接続通知」(428)を受信したプリンタ102のリンク制御部303では、ステップS604において、DSC101に対して、印刷画像転送処理のプロトコルにおける接続状態を確認するための「認証要求」(430)を送信する。
なお、「認証要求」(430)にはプリンタ102の機器識別子を持たせているものとする。さらに、印刷画像転送処理のプロトコルにおける接続状態に関する固有の識別子(印刷画像転送接続識別子)を持たせているものとする。
ここで、プリンタ102は、この時点で既にDSC101から転送された画像について印刷処理を行っている。つまり、DSC101と同様の印刷画像転送接続識別子をリンク制御部303が記憶している。このため、ステップS604においてリンク制御部303が送信する「認証要求」(430)には、印刷画像転送接続識別子が含まれている。
ステップS507では、DSC101の非接触近接通信機能部201が、「認証要求」(431)を受信し、リンク制御部203が、機器識別子の比較を行う。
ここで、プリンタ102の機器識別子に関しては、「非接触近接接続応答」(427)を介して既に受信し、リンク制御部203が記憶しているため、比較処理(認証)は成功する(ステップS508においてYES)。仮に比較処理(認証)が成功しなかった場合には(ステップS508においてNo)、ステップS505に戻り、非接触近接通信の接続処理からやり直す。
続いて、ステップS509では、印刷画像転送接続識別子の比較処理を行い、比較処理(認証)が成功したか否かを判断する。
ここで、DSC101は、この時点で既に印刷処理を行うための画像をプリンタ102に転送している。つまり、リンク制御部203には、プリンタ102と同様の印刷画像転送接続識別子が記憶されている。
従って、ステップS509では、印刷画像転送接続識別子の比較処理も成功したと判断される。DSC101のリンク制御部203では、「認証要求」(432)に対して認証に成功した旨を「認証応答(成功)」(433)として応答する。
更に、非接触近接通信機能部201では、「認証応答(成功)」(434)を、プリンタ102の非接触近接通信機能部301に送信し、非接触近接通信機能部301では、リンク制御部303に「認証応答(成功)」(435)を送信する。
ステップS605では、プリンタ102のリンク制御部303が、「認証応答(成功)」(434)を受信することで、現時点では、DSC101とプリンタ102間が、印刷画像転送処理のプロトコルにおける接続状態にあることを把握する。
このため、プリンタ102のリンク制御部303は、印刷画像転送処理のプロトコルにおける接続処理を開始する必要がない。
DSC101は、プリンタ102に画像を転送し、プリンタ102に印刷処理を実行させることが可能となっている。これにより、DSC101及びプリンタ102の印刷画像転送処理部202、302による所定の印刷画像の転送処理、及びプリンタ102のプリンタ機能部305による印刷処理が実行される(436、ステップS512、ステップS608)。
以後、連続してDSC101に保存された画像をプリンタ102に転送し、プリンタ102にて印刷する場合は、同様の動作を繰り返す。
なお、上記説明では、機器識別子の認証後、印刷画像転送接続識別子の認証を行うこととしたが、認証の順番はこれに限定されず、印刷画像転送接続識別子の認証後に、機器識別子の認証を行うように構成してもよい。
また、上記説明では、機器識別子と印刷画像転送接続識別子の双方について認証を行うこととしたが、これに限定されず、機器識別子、もしくは印刷画像転送接続識別子のいずれか一方の認証のみを行う構成としても同等の効果が得られる。
さらに、上記説明では、DSC101にて認証を行うこととしたが、これに限定されず、プリンタ102にて認証を行うように構成してもよい。
ステップS513において、継続して印刷を行わないと判断された場合には、ステップS514に進む。ステップS514では、DSC101に記憶されて印刷画像転送接続識別子及びプリンタ102の機器識別子を削除する。
なお、継続して印刷を行わないと判断された場合とは、例えば、DSC101の電源が停止された場合や、ある一定時間、ユーザからの操作がなく、省電力状態に遷移した場合等を指す。
一方、プリンタ102では、印刷画像転送接続識別子及びDSC101の機器識別子は、継続して記憶しておき、DSC101とは異なるDSCから接続要求を受けたとき場合に、更新するものとする。
以上の説明から明らかなように、本実施形態にかかるDSC及びプリンタでは、印刷画像転送プロトコルが接続状態にある場合に、非接触近接通信部が切断状態になったとしても、印刷画像転送プロトコルを切断状態に遷移させることはない。
このため、非接触近接通信部が接続状態になった場合には、既に記憶されている印刷画像転送接続識別子を利用して認証を行うことができるため、すぐに転送/印刷処理を実行することが可能となる。
つまり、印刷画像転送プロトコルの再接続処理の実行時間が省かれるため、印刷処理時間が短縮されることとなり、ユーザの操作性が向上する。
なお、本実施形態では非接触近接通信に適用する場合について説明したが、本発明はこれに限定されず、例えば、無線LANなど他の無線通信に適用した場合であっても同等の効果が期待できる。
[第2の実施形態]
上記第1の実施手形態では、非接触近接通信における接続状態へ遷移した後、印刷画像転送接続識別子、機器識別子の双方を比較処理することで認証を行う構成とした。しかしながら、本発明はこれに限定されない。本実施形態では、機器識別子のみを認証する場合について説明する。
なお、本実施形態における通信システムの構成は、上記第1の実施形態における通信システムの構成と同じであるとする。以下、本実施形態の通信システムにおける印刷処理の流れを、図7乃至図9を用いて説明する。なお、図7は、通信システムにおける印刷処理の流れを示すシーケンス図である。また、図8は、通信システムにおいて印刷処理を実行する際のDSC101における処理の流れを示すフローチャートであり、図9は、通信システムにおいて印刷処理を実行する際のプリンタ102における処理の流れを示すフローチャートである。
ユーザがDSC101、プリンタ102の電源を投入し、ユーザインタフェース機能部207の表示器を介して、または印刷処理専用ボタンを用いて印刷処理実行指示を入力すると、DSC101では、これを受け付ける(ステップS801)。
ステップS801において印刷処理実行指示を受け付けると、DSC101では、ステップS802において、非接触近接通信接続処理を開始する。
具体的には、リンク制御部203が非接触近接通信機能部201に対して、非接触近接通信機能における接続を行うための「第1接続要求」(701)を発行する。これを受けた非接触近接通信機能部201では、「非接触近接接続要求」(702)をプリンタ102に対して送信する。
この状態で、ユーザは、DSC101内の保存された複数の画像の中から、印刷したい画像の選択を行う。DSC101では、ユーザが入力した印刷画像選択指示を受け付ける(ステップS803)。
続いて、ユーザは、非接触近接通信機能用インタフェース103が、非接触近接通信機能用インタフェース104に接触するように、あるいは通信可能な範囲に入るように、DSC101をプリンタ102にかざす(ステップS804、ステップS901)。
この操作により、プリンタ102ではDSC101からの「非接触近接接続要求(702)」を受信することができるようになる。
プリンタ102では、非接触近接通信機能部301が「非接触近接接続要求」(702)を受信する。これにより、プリンタ102では、非接触近接通信接続状態へ遷移する。(ステップS902)。
具体的には、非接触近接通信機能部301が非接触近接通信の接続処理を実行し、接続処理が完了した旨を「非接触近接接続応答」(703)としてDSC101へ送信する。更に、該接続処理が完了した旨を「第1接続通知」(704)としてリンク制御部303に通知する。
なお、プリンタ102ではDSC101の機器識別子を知ることができるため、「第1接続要求」(701)及び「非接触近接接続要求」(702)には、DSC101の機器識別子を持たせている。
このため、プリンタ102では、「非接触近接接続要求」(702)を受信すると、リンク制御部303がDSC101の機器識別子を記憶する(ステップS903)。
一方、DSC101では、非接触近接通信機能部201が「非接触近接接続応答」(703)を受信する。これにより、DSC101では、非接触近接通信の接続処理が完了したことを検知し、非接触近接通信接続状態へ遷移する(ステップS805)。
さらに、非接触近接通信機能部201では、接続処理が完了した旨を「第1接続応答」(705)としてリンク制御部203に送信する。
なお、DSC101ではプリンタ102の機器識別子を知ることができるため、「第1接続応答」(705)、「非接触近接接続応答」(703)には、プリンタ102の機器識別子を持たせている。
このため、DSC101では、「非接触近接接続応答」(703)を受信すると、「第1接続応答」(705)を介してリンク制御部203がプリンタ102の機器識別子を記憶する(ステップS806)。このようにして記憶された、対向する機器の機器識別子は、後述する認証手段において使用される。
以後、DSC101とプリンタ102間の送受信処理は、それぞれの非接触近接通信機能部201、非接触近接通信機能部301を介して行うこととなる。
「第1接続通知」(704)を受信したプリンタ102のリンク制御部303では、ステップS904に進む。ステップS904では、「第1接続通知」(704)に含まれるDSC101の機器識別子と、リンク制御部303が記憶している前回の接続相手のDSCの機器識別子との比較を行う。
ここで、プリンタ102は、この時点で電源投入してから1度もDSC101から転送される画像の印刷処理を行っていない。このため、リンク制御部303には、印刷画像転送接続識別子が記憶されていない。従ってここでの比較処理(認証)は失敗する。
認証に失敗したリンク制御部303では、現時点で、印刷画像転送処理のプロトコルにおける接続処理がなされていないことを把握する。
そこで、プリンタ102のリンク制御部303では、印刷画像転送処理のプロトコルにおける接続処理を開始するため、「第2接続要求」(706)を印刷画像転送処理部302に発行する。
なお、印刷画像転送処理のプロトコルにおける接続処理(ステップS807〜ステップS808、ステップS905、707〜714)に関しては、上記第1の実施形態において既に説明済みであるため、ここでは説明を省略する。
この時点でDSC101は、プリンタ102に画像を転送し、プリンタ102にて印刷処理を実行することが可能となる。
印刷画像転送処理のプロトコルにおける接続処理が完了すると、DSC101及びプリンタ102では、それぞれリンク制御部203、303に記憶している機器識別子を前回の接続相手のDSCの機器識別子として記憶する(ステップS809、S906)。
以後、DSC101及びプリンタ102の印刷画像転送処理部202、302による所定の印刷画像の転送処理、及びプリンタ102のプリンタ機能部305による印刷処理が実行される(715、ステップS810、ステップS907)。
DSC101からプリンタ102に画像が転送され、プリンタ102において当該転送された画像の印刷が完了すると、ステップS811では、継続して他の画像についても、転送及び印刷処理を行うか否かを判断する。
ここでは、継続して他の画像についても転送及び印刷処理を行う場合について説明する(ステップS811においてYes)。
他の画像について転送及び印刷処理を行うためには、ユーザはDSC101において他の画像を選択するため、DSC101を、一旦、プリンタ102から離す。この時点で非接触近接通信における切断状態に遷移し、非接触近接通信機能部201、301は、それぞれのリンク制御部203、303に、非接触近接切断通知(716、717)を送信する。
これに伴って、DSC101のリンク制御部203では、非接触近接通信機能部201に非接触近接通信機能における接続を行うための「第1接続要求」(718)を発行する。これを受けた非接触近接通信機能部201では、「非接触近接接続要求」(719)をプリンタ102に対して送信する。
この状態で、ユーザは、再度DSC101内に保存された複数の画像の中から、印刷したい他の画像の選択を行う(720、ステップS803)。
なお、この時点での印刷画像転送処理のプロトコルは接続状態にあり、切断状態には遷移しない。
その後、DSC101及びプリンタ102において上記処理(ステップS804〜S805、ステップS901〜S903)と同様の処理が実行されることで、非接触近接通信における接続状態に遷移する。
これにより、非接触近接通信機能部301では、接続処理が完了した旨を「第1接続通知」(723)としてリンク制御部303に通知する。また、非接触近接通信機能部201では、接続処理が完了した旨を「第1接続応答」(722)としてリンク制御部203に送信する。
以後、DSC101とプリンタ102間の送受信処理は、それぞれの非接触近接通信機能部201、非接触近接通信機能部301を介して行うこととなる。
「第1接続通知」(723)を受信したプリンタ102のリンク制御部303では、ステップS904に進む。ステップS904では、「第1接続通知」(723)に含まれるDSC101の機器識別子と、リンク制御部303が記憶している前回の接続相手のDSCの機器識別子との比較を行う。
この時点では、プリンタ102のリンク制御部303は、対向する機器であるDSC101の機器識別子を記憶している。従って、ステップS904では、機器識別子の比較処理(認証)が成功したと判断される。比較処理(認証)に成功したリンク制御部303では、現時点で、DSC101とプリンタ102間が、印刷画像転送処理のプロトコルにおける接続状態にあることを把握する。
このため、プリンタ102のリンク制御部303は、印刷画像転送処理のプロトコルにおける接続処理を開始する必要がない。
DSC101は、プリンタ102に画像を転送し、プリンタ102に印刷処理を実行させることが可能となっている。これにより、DSC101及びプリンタ102の印刷画像転送処理部202、302による所定の印刷画像の転送処理、及びプリンタ102のプリンタ機能部305による印刷処理が実行される(724、ステップS810、ステップS907)。
なお、上記説明では、プリンタ102において機器識別子について認証を行うこととしたが、これに限定されず、DSC101にて認証を行うように構成してもよい。
また、上記説明では、機器識別子のみについて認証を行うこととしたが、これに限定されず、印刷画像転送接続識別子のみについて認証を行うようにしても、同等の効果が得られる。
以上の説明から明らかなように、本実施形態にかかるDSC及びプリンタでは、印刷画像転送プロトコルが接続状態にある場合に、非接触近接通信部が切断状態になったとしても、印刷画像転送プロトコルを切断状態に遷移させることはない。
このため、非接触近接通信部が接続状態になった場合には、既に記憶されている印刷画像転送接続識別子を利用して認証を行うことができるため、すぐに転送/印刷処理を実行することが可能となる。
つまり、印刷画像転送プロトコルの再接続処理の実行時間が省かれるため、印刷処理時間が短縮されることとなり、ユーザの操作性が向上する。
なお、本実施形態では非接触近接通信に適用する場合について説明したが、本発明はこれに限定されず、例えば、無線LANなど他の無線通信に適用した場合であっても同等の効果が期待できる。
[他の実施形態]
なお、本発明は、複数の機器(例えばホストコンピュータ、インタフェース機器、リーダ、プリンタなど)から構成されるシステムに適用しても、一つの機器からなる装置(例えば、複写機、ファクシミリ装置など)に適用してもよい。
また、本発明の目的は、前述した実施形態の機能を実現するソフトウェアのプログラムコードを記録したコンピュータ読取可能な記憶媒体を、システムあるいは装置に供給するよう構成することによっても達成されることはいうまでもない。この場合、そのシステムあるいは装置のコンピュータ(またはCPUやMPU)が記憶媒体に格納されたプログラムコードを読出し実行することにより、上記機能が実現されることとなる。なお、この場合、そのプログラムコードを記憶した記憶媒体は本発明を構成することになる。
プログラムコードを供給するための記憶媒体としては、例えば、フロッピ(登録商標)ディスク、ハードディスク、光ディスク、光磁気ディスク、CD−ROM、CD−R、磁気テープ、不揮発性のメモリカード、ROMなどを用いることができる。
また、コンピュータが読出したプログラムコードを実行することにより、前述した実施形態の機能が実現される場合に限られない。例えば、そのプログラムコードの指示に基づき、コンピュータ上で稼働しているOS(オペレーティングシステム)などが実際の処理の一部または全部を行い、その処理によって前述した実施形態の機能が実現される場合も含まれることは言うまでもない。
さらに、記憶媒体から読出されたプログラムコードが、コンピュータに挿入された機能拡張ボードやコンピュータに接続された機能拡張ユニットに備わるメモリに書込まれた後、前述した実施形態の機能が実現される場合も含まれる。つまり、プログラムコードがメモリに書込まれた後、そのプログラムコードの指示に基づき、その機能拡張ボードや機能拡張ユニットに備わるCPUなどが実際の処理の一部または全部を行い、その処理によって実現される場合も含まれる。
本発明の一実施形態にかかる通信システムの構成例を示す図である。 本発明の一実施形態にかかる通信装置(DSC101)の機能構成図である。 本発明の一実施形態にかかる通信装置(プリンタ102)の機能構成図である。 本発明の第1の実施形態にかかる通信システムにおける印刷処理の流れを示すシーケンス図である。 本発明の第1の実施形態にかかる通信システムにおいて印刷処理を実行する際のDSC101における処理の流れを示すフローチャートである。 本発明の第1の実施形態にかかる通信システムにおいて印刷処理を実行する際のプリンタ102における処理の流れを示すフローチャートである。 本発明の第2の実施形態にかかる通信システムにおける印刷処理の流れを示すシーケンス図である。 本発明の第2の実施形態にかかる通信システムにおいて印刷処理を実行する際のDSC101における処理の流れを示すフローチャートである。 本発明の第2の実施形態にかかる通信システムにおいて印刷処理を実行する際のプリンタ102における処理の流れを示すフローチャートである。

Claims (10)

  1. 通信インタフェースを介して通信を行う第1及び第2の通信装置を備える通信システムであって、
    前記第1及び第2の通信装置は、それぞれ、
    前記通信インタフェースが互いに通信可能な範囲に位置した場合に、前記第1と第2の通信装置の間において第1の通信層における接続状態を確立するための接続処理を行う第1の接続手段と、
    前記第1の接続手段による接続処理により、前記第1の通信層における接続状態が確立した場合に、前記第1と第2の通信装置の間において第2の通信層における接続状態が確立しているか否かを確認するための認証処理を行う認証手段と、
    前記認証処理の結果、認証が成功しなかった場合に、前記第2の通信層における接続状態を確立するための接続処理を行う第2の接続手段と、
    前記認証処理の結果、認証が成功した場合、または前記第2の接続手段により前記第2の通信層における接続状態が確立した場合に、前記第1と第2の通信装置の間において、データの転送を行う転送手段と
    を備えることを特徴とする通信システム。
  2. 前記第2の接続手段による接続処理の結果、前記第1と第2の通信装置の間において、前記第2の通信層における接続状態を確立するために共有された識別子を記憶する記憶手段を更に備え、
    前記記憶手段は、前記第1の通信層における接続状態に関わらず、前記識別子を記憶し、
    前記認証手段は、前記記憶手段に記憶された識別子を用いて前記認証処理を行うことを特徴とする請求項1に記載の通信システム。
  3. 前記記憶手段は、予め定めれた指示がユーザから入力された場合に、前記記憶した識別子を削除することを特徴とする請求項2に記載の通信システム。
  4. 通信インタフェースを介して他の通信装置と通信を行う通信装置であって、
    前記通信インタフェースが、前記他の通信装置が備える通信インタフェースと通信可能な範囲に位置した場合に、前記他の通信装置との間において第1の通信層における接続状態を確立するための接続処理を行う第1の接続手段と、
    前記第1の接続手段による接続処理により、前記第1の通信層における接続状態が確立した場合に、前記他の通信装置との間において第2の通信層における接続状態が確立しているか否かを確認するための認証処理を行う認証手段と、
    前記認証処理の結果、認証が成功しなかった場合に、前記第2の通信層における接続状態を確立するための接続処理を行う第2の接続手段と、
    前記認証処理の結果、認証が成功した場合、または前記第2の接続手段により前記第2の通信層における接続状態が確立した場合に、前記他の通信装置との間において、データの転送を行う転送手段と
    を備えることを特徴とする通信装置。
  5. 前記第2の接続手段による接続処理の結果、前記他の通信装置との間において、前記第2の通信層における接続状態を確立するために共有された識別子を記憶する記憶手段を更に備え、
    前記記憶手段は、前記第1の通信層における接続状態に関わらず、前記識別子を記憶し、
    前記認証手段は、前記記憶手段に記憶された識別子を用いて前記認証処理を行うことを特徴とする請求項4に記載の通信装置。
  6. 前記記憶手段は、予め定めれた指示がユーザから入力された場合に、前記記憶した識別子を削除することを特徴とする請求項5に記載の通信装置。
  7. 通信インタフェースを介して他の通信装置と通信を行う通信装置における通信制御方法であって、
    前記通信インタフェースが、前記他の通信装置が備える通信インタフェースと通信可能な範囲に位置した場合に、前記他の通信装置との間において第1の通信層における接続状態を確立するための接続処理を行う第1の接続工程と、
    前記第1の接続工程における接続処理により、前記第1の通信層における接続状態が確立した場合に、前記他の通信装置との間において第2の通信層における接続状態が確立しているか否かを確認するための認証処理を行う認証工程と、
    前記認証処理の結果、認証が成功しなかった場合に、前記第2の通信層における接続状態を確立するための接続処理を行う第2の接続工程と、
    前記認証処理の結果、認証が成功した場合、または前記第2の接続工程において前記第2の通信層における接続状態が確立した場合に、前記他の通信装置との間において、データの転送を行う転送工程と
    を備えることを特徴とする通信制御方法。
  8. 前記第2の接続工程における接続処理の結果、前記他の通信装置との間において、前記第2の通信層における接続状態を確立するために共有された識別子を記憶手段に記憶する記憶工程を更に備え、
    前記記憶手段は、前記第1の通信層における接続状態に関わらず、前記識別子を記憶し、
    前記認証工程は、前記記憶手段に記憶された識別子を用いて前記認証処理を行うことを特徴とする請求項7に記載の通信制御方法。
  9. 前記記憶手段は、予め定めれた指示がユーザから入力された場合に、前記記憶した識別子を削除することを特徴とする請求項8に記載の通信制御方法。
  10. 請求項7乃至9のいずれか1項に記載の通信制御方法をコンピュータによって実行させるためのプログラムを格納したコンピュータ読取可能な記憶媒体。
JP2008171244A 2008-06-30 2008-06-30 通信システム、通信装置及びその制御方法、プログラム Expired - Fee Related JP5149715B2 (ja)

Priority Applications (5)

Application Number Priority Date Filing Date Title
JP2008171244A JP5149715B2 (ja) 2008-06-30 2008-06-30 通信システム、通信装置及びその制御方法、プログラム
PCT/JP2009/060408 WO2010001687A1 (en) 2008-06-30 2009-06-02 Communication system, communication apparatus, and communication control method
CN201310591068.7A CN103647577B (zh) 2008-06-30 2009-06-02 通信系统、通信设备和通信设备的控制方法
US12/991,854 US8953198B2 (en) 2008-06-30 2009-06-02 Communication system, communication apparatus, and communication control method
CN2009801253052A CN102077477B (zh) 2008-06-30 2009-06-02 通信系统、通信设备和通信控制方法

Applications Claiming Priority (1)

Application Number Priority Date Filing Date Title
JP2008171244A JP5149715B2 (ja) 2008-06-30 2008-06-30 通信システム、通信装置及びその制御方法、プログラム

Publications (3)

Publication Number Publication Date
JP2010011366A true JP2010011366A (ja) 2010-01-14
JP2010011366A5 JP2010011366A5 (ja) 2011-07-21
JP5149715B2 JP5149715B2 (ja) 2013-02-20

Family

ID=41465790

Family Applications (1)

Application Number Title Priority Date Filing Date
JP2008171244A Expired - Fee Related JP5149715B2 (ja) 2008-06-30 2008-06-30 通信システム、通信装置及びその制御方法、プログラム

Country Status (4)

Country Link
US (1) US8953198B2 (ja)
JP (1) JP5149715B2 (ja)
CN (2) CN103647577B (ja)
WO (1) WO2010001687A1 (ja)

Cited By (1)

* Cited by examiner, † Cited by third party
Publication number Priority date Publication date Assignee Title
EP2347701A1 (en) 2010-01-21 2011-07-27 Nidek Co., Ltd Ophthalmic photographing apparatus

Families Citing this family (10)

* Cited by examiner, † Cited by third party
Publication number Priority date Publication date Assignee Title
JP2011248769A (ja) * 2010-05-28 2011-12-08 Sony Corp 情報処理装置、情報処理システム及びプログラム
JP5961012B2 (ja) * 2012-02-29 2016-08-02 キヤノン株式会社 画像形成装置及びその制御方法
JP5941300B2 (ja) * 2012-03-05 2016-06-29 キヤノン株式会社 情報処理装置、情報処理装置の制御方法、およびプログラム
JP6242051B2 (ja) * 2013-01-23 2017-12-06 キヤノン株式会社 通信装置、通信装置の制御方法、プログラム
JP6024541B2 (ja) * 2013-03-18 2016-11-16 富士ゼロックス株式会社 情報処理装置及びプログラム
JP6317576B2 (ja) 2013-11-29 2018-04-25 キヤノン株式会社 通信装置、通信装置の制御方法およびプログラム
US9535634B2 (en) * 2014-09-05 2017-01-03 Ricoh Company, Ltd. Information processing apparatus, image processing apparatus, information processing system and information processing method
US10810296B2 (en) * 2015-08-25 2020-10-20 Sony Corporation Communication apparatus, communication method, and communication system
US10133528B2 (en) * 2016-11-28 2018-11-20 Fuji Xerox Co., Ltd. Information processing apparatus, printer, and non-transitory computer readable medium
CN107479838B (zh) * 2017-07-26 2020-08-21 北京小米移动软件有限公司 终端的信息输出处理方法及终端

Citations (2)

* Cited by examiner, † Cited by third party
Publication number Priority date Publication date Assignee Title
JP2004328289A (ja) * 2003-04-23 2004-11-18 Canon Inc 無線通信システム、並びに無線通信装置及びその制御方法
JP2005047253A (ja) * 2003-07-17 2005-02-24 Seiko Epson Corp 出力装置、出力処理システム及び携帯端末

Family Cites Families (10)

* Cited by examiner, † Cited by third party
Publication number Priority date Publication date Assignee Title
EP1310862B1 (en) * 2001-11-09 2018-09-26 Brother Kogyo Kabushiki Kaisha Printing system
JP4067322B2 (ja) * 2002-03-19 2008-03-26 富士フイルム株式会社 画像管理サーバおよび画像プリントサーバ並びに画像サービスシステム
JP3628315B2 (ja) 2002-09-10 2005-03-09 日本電信電話株式会社 通信制御方法並びに通信制御プログラム及び該プログラムを記録した記録媒体
WO2004042550A1 (ja) * 2002-11-06 2004-05-21 Matsushita Electric Industrial Co., Ltd. 印刷システム、印刷装置および印刷指示方法
US7089876B2 (en) * 2002-11-12 2006-08-15 Aquatron Llc Floating electronic platform for swimming pools and spas
FR2864376B1 (fr) 2003-12-23 2006-03-10 Wavecom Dispositif d'amplification de puissance radiofrequence (rf) et/ou hyperfrequence, et terminal de radiocommunication correspondant
JP4250611B2 (ja) 2005-04-27 2009-04-08 キヤノン株式会社 通信装置、通信パラメータ設定方法及び通信方法
JP4900891B2 (ja) 2005-04-27 2012-03-21 キヤノン株式会社 通信装置及び通信方法
JP2006331179A (ja) * 2005-05-27 2006-12-07 Canon Inc 周辺装置制御システム、情報処理装置、情報処理装置の制御方法、プログラム
KR101365437B1 (ko) * 2007-06-25 2014-02-19 삼성전자주식회사 데이터 통신 시스템 및 방법

Patent Citations (2)

* Cited by examiner, † Cited by third party
Publication number Priority date Publication date Assignee Title
JP2004328289A (ja) * 2003-04-23 2004-11-18 Canon Inc 無線通信システム、並びに無線通信装置及びその制御方法
JP2005047253A (ja) * 2003-07-17 2005-02-24 Seiko Epson Corp 出力装置、出力処理システム及び携帯端末

Cited By (1)

* Cited by examiner, † Cited by third party
Publication number Priority date Publication date Assignee Title
EP2347701A1 (en) 2010-01-21 2011-07-27 Nidek Co., Ltd Ophthalmic photographing apparatus

Also Published As

Publication number Publication date
CN103647577A (zh) 2014-03-19
US20110058220A1 (en) 2011-03-10
WO2010001687A1 (en) 2010-01-07
CN102077477B (zh) 2013-12-04
US8953198B2 (en) 2015-02-10
CN103647577B (zh) 2016-01-20
JP5149715B2 (ja) 2013-02-20
CN102077477A (zh) 2011-05-25

Similar Documents

Publication Publication Date Title
JP5149715B2 (ja) 通信システム、通信装置及びその制御方法、プログラム
JP5991733B2 (ja) ネットワークシステム、情報処理装置、及び通信方法
CN105322986B (zh) 功能执行系统、功能执行装置以及通信终端
KR101768447B1 (ko) 무선통신장치, 무선통신방법 및 기억매체
EP1655922A1 (en) Authentication method and system, and information processing method and apparatus
JP6218456B2 (ja) 印刷装置及び通信方法、並びに、プログラム
JP2018207529A (ja) 通信システム
JP2007267370A (ja) 情報処理装置、無線通信方法、記憶媒体、プログラム
CN102077566A (zh) 数据输出设备及其控制方法、以及输出系统
JP2011028615A (ja) 非接触通信デバイス、情報処理装置、通信方法及びプログラム
JP2006259915A (ja) 通信装置及びその制御方法
US8471913B2 (en) Information processing apparatus, system and control method thereof
JP6482262B2 (ja) 通信装置および通信装置の制御方法、プログラム
JP2023165326A (ja) 通信装置、プログラム及びシステム
CN107277743B (zh) 通信系统、通信装置和控制方法
JP2019008725A (ja) 通信装置、システム、制御方法、及びプログラム
JP2014204187A (ja) 通信端末、画像形成装置及びその制御方法、並びにプログラム、通信システム
JP6888037B2 (ja) 情報処理装置、制御方法およびプログラム
US10481838B2 (en) Communication device, and non-transitory computer-readable recording medium storing computer-readable instructions for communication device
JP2017200018A (ja) 通信装置、端末装置、制御方法、プログラムおよび通信システム
CN103959889A (zh) 记录介质及其控制方法
JP5004921B2 (ja) 通信装置及び通信制御方法
JP2014110552A (ja) 通信システム
JP2026054059A (ja) 情報処理装置、制御方法、及びプログラム
JP2023176539A (ja) 通信装置、その制御方法及びプログラム

Legal Events

Date Code Title Description
A521 Request for written amendment filed

Free format text: JAPANESE INTERMEDIATE CODE: A523

Effective date: 20110603

A621 Written request for application examination

Free format text: JAPANESE INTERMEDIATE CODE: A621

Effective date: 20110603

A131 Notification of reasons for refusal

Free format text: JAPANESE INTERMEDIATE CODE: A131

Effective date: 20120810

A521 Request for written amendment filed

Free format text: JAPANESE INTERMEDIATE CODE: A523

Effective date: 20121009

TRDD Decision of grant or rejection written
A01 Written decision to grant a patent or to grant a registration (utility model)

Free format text: JAPANESE INTERMEDIATE CODE: A01

Effective date: 20121102

A61 First payment of annual fees (during grant procedure)

Free format text: JAPANESE INTERMEDIATE CODE: A61

Effective date: 20121130

R151 Written notification of patent or utility model registration

Ref document number: 5149715

Country of ref document: JP

Free format text: JAPANESE INTERMEDIATE CODE: R151

FPAY Renewal fee payment (event date is renewal date of database)

Free format text: PAYMENT UNTIL: 20151207

Year of fee payment: 3

LAPS Cancellation because of no payment of annual fees