JP2010010631A - 超電導コイル装置および超電導コイルの検査方法 - Google Patents

超電導コイル装置および超電導コイルの検査方法 Download PDF

Info

Publication number
JP2010010631A
JP2010010631A JP2008171652A JP2008171652A JP2010010631A JP 2010010631 A JP2010010631 A JP 2010010631A JP 2008171652 A JP2008171652 A JP 2008171652A JP 2008171652 A JP2008171652 A JP 2008171652A JP 2010010631 A JP2010010631 A JP 2010010631A
Authority
JP
Japan
Prior art keywords
superconducting coil
superconducting
voltage
coil
magnetic field
Prior art date
Legal status (The legal status is an assumption and is not a legal conclusion. Google has not performed a legal analysis and makes no representation as to the accuracy of the status listed.)
Granted
Application number
JP2008171652A
Other languages
English (en)
Other versions
JP5121600B2 (ja
Inventor
Hiroshi Miyazaki
寛史 宮崎
Kenji Tazaki
賢司 田崎
Michitaka Ono
通隆 小野
Takashi Yazawa
孝 矢澤
Taizo Tosaka
泰造 戸坂
Masahiko Takahashi
政彦 高橋
Kei Koyanagi
圭 小柳
Satoru Hanai
哲 花井
Shigeru Ioka
茂 井岡
Fusao Saito
房男 斎藤
Current Assignee (The listed assignees may be inaccurate. Google has not performed a legal analysis and makes no representation or warranty as to the accuracy of the list.)
Toshiba Corp
Original Assignee
Toshiba Corp
Priority date (The priority date is an assumption and is not a legal conclusion. Google has not performed a legal analysis and makes no representation as to the accuracy of the date listed.)
Filing date
Publication date
Application filed by Toshiba Corp filed Critical Toshiba Corp
Priority to JP2008171652A priority Critical patent/JP5121600B2/ja
Publication of JP2010010631A publication Critical patent/JP2010010631A/ja
Application granted granted Critical
Publication of JP5121600B2 publication Critical patent/JP5121600B2/ja
Expired - Fee Related legal-status Critical Current
Anticipated expiration legal-status Critical

Links

Images

Landscapes

  • Containers, Films, And Cooling For Superconductive Devices (AREA)

Abstract

【課題】超電導コイルの両端電圧を測定して、簡便かつ安全に超電導コイルの異常を検出する。
【解決手段】超電導コイル装置1は、超電導コイル2と、電圧計測部6と、電流制御部7と、ヒータ8とを備える。超電導コイル2の異常を検知する場合には、ヒータ8によって超電導コイル2を加熱し、電流制御部7から超電導コイル2に電流を通電する。電圧計測部6は、超電導コイル2の両端電圧が所定の閾値を超えると、超電導コイル2が異常であると判断する。
【選択図】 図1

Description

本発明は、超電導コイルの両端電圧を測定して、超電導コイルの異常を検出可能な超電導コイル装置および超電導コイルの検査方法に関する。
超電導コイルは、異常が発生して温度が上昇すると、常電導転移(クエンチ)する。超電導コイルは、クエンチが起きると焼損する虞がある。
そこで、超電導コイルを保護するために、超電導コイル装置には、異常検出器が設けられる。異常検出器は、超電導コイルの電圧を測定し、コイル電圧が所定の閾値を超えた場合には異常と判断する。また、超電導コイル装置は、異常検出器の信号に従い、超電導コイルに蓄積された電磁エネルギーを放出する保護部を有する。
一方、高温超電導コイルでは、クエンチ伝播速度が金属系超電導コイルの数100分の1未満であることが一般的である。すなわち、高温超電導コイルでは、クエンチ伝播速度が遅く、コイルに異常が発生しても直ちに大きなコイル電圧が発生しない。すなわち、高温超電導コイルのコイル電圧を測定してコイルの異常を検出するのは困難である。したがって、保護部が動作する前に超電導コイルが焼損する危険性がある。
そこで、クエンチが起きる前に超電導コイルの異常を検出する技術が求められる。
特許文献1に記載の超電導コイル装置は、常時、超電導コイルの発熱量と温度との組み合わせを検出し、超電導コイルがクエンチに至らない発熱量と温度との組み合わせである監視基準と検出値とを比較して、超電導コイルにクエンチが起きる前に異常を検出する構成を有している。
また、特許文献2に記載の超電導コイル装置は、クエンチを引き起こす要因であるコイルの温度およびコイル電圧、また、超電導コイルが収容された真空容器内の真空度などの各種データを集積しておき、サービスセンターに送信して異常の兆候を調べる構成を有している。
特開2007−266244号公報 特開2002−252380号公報
一般に、超電導コイル装置では、コイルの一部の電圧を測定する電圧タップや、コイルの複数の箇所の温度を測定する温度計などを設けることは、製造の複雑さや製造コストの観点から困難であり、測定可能な箇所は限られてしまう。
したがって、特許文献1および特許文献2の超電導コイル装置では、電圧タップや温度計が設けられた箇所は限られるために、コイルの電圧やコイルの温度などの測定点数が十分に得られない。そうすると、超電導コイル内の箇所によっては、異常を検出できない点で問題となる。
また、超電導コイルが異常であれば、速やかに電流の供給を遮断する必要がある。
本発明は、超電導コイルの両端電圧を測定して、簡便かつ安全に超電導コイルの異常を検出可能な超電導コイル装置および超電導コイルの検査方法を提供することを目的とする。
前記の課題を解決するため本発明に係る超電導コイル装置は、真空容器と、前記真空容器に収容された熱シールド容器と、前記熱シールド容器に収容された超電導コイルと、前記超電導コイルの異常を検出する際に前記超電導コイルの温度を上げる加熱部と、前記超電導コイルに電流を通電する電流制御部と、前記加熱部に加熱され、かつ前記電流制御部から通電された前記超電導コイルの両端の電圧を測定し、前記電圧が所定の閾値を超えると、前記超電導コイルを異常と判断する電圧計測部とを備えたことを特徴とする。
また、本発明に係る超電導コイル装置は、真空容器と、前記真空容器に収容された熱シールド容器と、前記熱シールド容器に収容された超電導コイルと、前記超電導コイルの異常を検出する際に前記超電導コイルに磁場を印加する磁場発生コイルと、前記超電導コイルに電流を通電する電流制御部と、前記磁場発生コイルに磁場を印加され、かつ前記電流制御部から通電された前記超電導コイルの両端の電圧を測定し、前記電圧が所定の閾値を超えると、前記超電導コイルを異常と判断する電圧計測部とを備えたことを特徴とする。
さらに、本発明に係る超電導コイルの検査方法は、加熱部が超電導コイルを加熱し、電流制御部が前記超電導コイルに電流を通電すると、電圧計測部が前記超電導コイルの両端の電圧を測定し、前記電圧が所定の閾値を超えると、前記超電導コイルを異常と判断することを特徴とする。
本発明は、超電導コイルの両端電圧を測定して、簡便かつ安全に超電導コイルの異常を検出可能な超電導コイル装置および超電導コイルの検査方法を提供できる。
本発明に係る超電導コイル装置および超電導コイルの検査方法の実施形態について添付図面を参照して説明する。
[第1の実施形態]
本発明に係る超電導コイル装置および超電導コイルの検査方法の第1実施形態について、図1から図4を参照して説明する。
図1は、本発明の第1実施形態に係る超電導コイル装置を示した概略的な構成図である。
図1に示すように、超電導コイル装置1は、超電導コイル2と、真空容器3と、冷凍機4と、電源5と、電圧計測部6と、電流制御部7と、ヒータ8と、ヒータ制御部9とを備える。
超電導コイル2は、超電導テープ線11が巻回されて形成される。超電導テープ線11は、例えば金属系超電導線である。また、酸化物系の高温超電導線でもよい。高温超電導線材は、例えばビスマス系(例えば、Bi2223相型、Bi2212相型)、イットリウム系(例えば、YBCO系)、タリウム(Tl)系、水銀(Hg)系が用いられる。
真空容器3には、超電導コイル2が収容されており、この真空容器3によって超電導コイル2の雰囲気を真空状態に保持する。
冷凍機4は、一段ステージ13と、二段ステージ14とを備え、多段式の冷却構造を有する。一段ステージ13と、二段ステージ14とは、真空容器3に収容された熱シールド容器15により断熱される。二段ステージ14は、冷却板16を介して超電導コイル2に熱的に接続される。また熱シールド容器15には、超電導コイル2が収容される。
電源5は、超電導コイル2を励磁させる。電源5は、超電導コイル2の両端の電極部分に接続された電流リード17を介して超電導コイル2に電気的に接続される。電流リード17と真空容器3とは電気的に絶縁される。なお、電源5は超電導コイル2を励磁できるものであれば、どのようなものであってもよい。
電圧計測部6は、超電導コイル2の両端電圧を計測する。
また、電圧計測部6は、超電導コイル2の両端電圧が所定の閾値を超えたか否かを判定する異常検出器である。電圧計測部6は、超電導コイル2の両端電圧が所定の閾値を超えると、超電導コイル2が異常であると判断する。この所定の閾値は、超電導コイル2の形状や寸法、温度、超電導コイル2に供給される電流、超電導コイル2に印加される磁場、超電導テープ線11の材料によって決められる。
さらに、電圧計測部6は、電流制御部7から超電導コイル2に供給される電流値を取得し、かつ、ヒータ制御部9から超電導コイル2の温度を取得する。電圧計測部6は、超電導コイル2の両端電圧と、超電導コイル2に供給される電流値と、超電導コイル2の温度とを定期的に記録する。電圧計測部6は、記録した電圧と電流と温度との関係が、所定の範囲を超えると、超電導コイル2が異常であると判断する。所定の範囲は、例えば、超電導コイル2の形状や寸法の公差、温度の計測誤差、超電導コイル2に供給される電流の計測誤差、超電導コイル2に印加される磁場の誤差などの種々の誤差要因によって決められる。また、超電導コイル2の両端電圧と、超電導コイル2に供給される電流値と、超電導コイル2の温度との記録から、統計的な手法によっても決められる。
電流制御部7は、電圧計測部6から超電導コイル2の異常の有無の判断結果を取得する。電流制御部7は、この判断結果に基づいて超電導コイル2に流れる電流を制御する。例えば、電流制御部7は、電圧計測部6が超電導コイル2の異常を検出した場合には、電源5の出力電流を急激に低下、もしくは供給を遮断する。すなわち、電流制御部7は、超電導コイル2の保護部でもある。
ヒータ8は、冷凍機4の二段ステージ14に設けられる。ヒータ8は、二段ステージ14および冷却板16を介して超電導コイル2の温度を上げる。ヒータ8は、ヒータ制御部9から供給される電力によって加熱される電気ヒータである。
ヒータ制御部9は、ヒータ8を制御する。ヒータ8およびヒータ制御部9は超電導コイル2の加熱部である。
超電導コイル装置1は、通常運転の場合には、冷凍機4によって、超電導コイル2の温度を制御する。具体的には、超電導コイル2が高温超電導コイルであれば、超電導コイル2の温度を略20Kに制御する。
他方、超電導コイル装置1は、超電導コイル2の劣化等の異常の有無を検査する場合には、ヒータ8によって、超電導コイル2の温度を上げる。具体的には、超電導コイル2が高温超電導コイルであれば、超電導コイル2の温度を略20Kから略70Kまで変化させる。超電導コイル装置1は、超電導コイル2の温度を上げて、超電導コイル2に電流を通電し、超電導コイル2に発生した両端電圧を測定する。
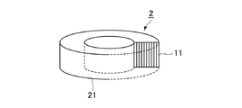
図2は、本発明の第1実施形態に係る超電導コイル装置の超電導コイルを示した概略的な構成図である。
図2に示すように、超電導コイル2は、超電導テープ線11と、巻枠21とを備える。
超電導テープ線11は、例えば、幅4.4mm、厚み0.2mmに形成される。
巻枠21は、例えば、内径50mmに形成され、超電導テープ線11が86ターン巻回される。
図3は、本発明の第1実施形態に係る超電導コイル装置に用いられる超電導テープ線の臨界電流の温度依存性の一例を示した図である。
また、図3は、超電導テープ線11の幅広面に対する磁場印加角度を90度としたときの磁場が0.5T、1.0T、2.0Tおよび3.0Tのそれぞれにおける臨界電流値Icを、温度が77Kにおける自己磁場中での臨界電流値Ic(77K、0T)で除した値Ic/Ic(77K、0T)の温度依存性を示している。
ここで、臨界電流値とは、超電導テープ線11に1μV/cmの電界が発生したときの電流値である。
図3に示すように、超電導テープ線11は、磁場の強さが変わらなければ、温度が高いほど、臨界電流値が小さい。すなわち、超電導テープ線11は、温度が上昇するにしたがって臨界電流値が減少する特性を備える。
図4は、本発明の第1実施形態に係る超電導コイル装置の超電導コイルについて、臨界電流値と温度の関係の一例を示した図である。
図4に示すように、超電導コイル2は、温度が高いほど、臨界電流値が小さい。すなわち、超電導コイル2は、温度が上昇するにしたがって臨界電流値が減少する特性を備える。具体的には、超電導コイル2が高温超電導コイルであれば、超電導コイル2は、その温度が略20Kのときに臨界電流値が略386Aであり、その温度が略70Kのときは臨界電流値が略87Aである。
超電導コイル装置1は、超電導コイル2の劣化等の異常の有無を検知するために、超電導コイル2に臨界電流付近まで電流を通電し、コイル電圧と所定の閾値とを比較する。超電導コイル装置1は、コイル電圧が所定の閾値よりも高ければ、超電導コイル2に劣化等の異常が有ると判定する。
また、超電導コイル装置1は、超電導コイル2の劣化等の異常の有無を検知するために、超電導コイル2の両端電圧と、超電導コイル2に供給される電流値と、超電導コイル2の温度とを定期的に記録する。超電導コイル装置1は、電圧と電流と温度との関係が、所定の範囲を超えると、超電導コイル2が異常であると判断する。
ここで、超電導コイル装置1は、超電導コイル2の検査をする場合には、ヒータ8によって超電導コイル2を加熱する。超電導コイル2の温度が、例えば略70Kまで上昇すると、超電導コイル2の臨界電流値を減少できる。
したがって、超電導コイル装置1によれば、超電導コイル2の異常を検出するために必要な電流値を減少することで、超電導テープ線11にかかる電磁力を減らし、また、異常電圧発生時には電流の供給を遮断する時間を短くできる。電流の供給を遮断する時間が短くなれば、超電導コイル2の検査時にコイルが焼損する危険性が少なくなる。
したがって、本実施形態の超電導コイル装置1によれば、超電導コイル2の両端電圧を測定して、簡便かつ安全に超電導コイル2の異常を検出できる。
[第2の実施形態]
本発明に係る超電導コイル装置および超電導コイルの検査方法の第2実施形態について、図5および図6を参照して説明する。
図5は、本発明の第2実施形態に係る超電導コイル装置を示した概略的な構成図である。
本実施形態に係る超電導コイル装置1Aにおいて第1実施形態の超電導コイル装置1と同じ構成には同一の符号を付し、重複する説明は省略する。
図5に示すように、超電導コイル装置1Aは、超電導コイル2と、真空容器3と、冷凍機4と、電源5と、電圧計測部6と、電流制御部7と、ヒータ8Aと、ヒータ制御部9Aとを備える。
ヒータ8Aは、超電導コイル2に設けられる。ヒータ8Aは、超電導コイル2の温度を変化させる。
ヒータ制御部9Aは、ヒータ8Aを制御する。ヒータ8Aおよびヒータ制御部9Aは超電導コイル2の加熱部である。
図6は、本発明の第2実施形態に係る超電導コイル装置の超電導コイルおよびヒータを示した概略的な構成図である。
図6に示すように、超電導コイル装置1Aの超電導コイル2には、複数のヒータ8Aが設けられる。複数のヒータ8Aは、筒状に形成された超電導コイル2の底面22に、略同心円状に配置される。
超電導コイル装置1Aは、超電導コイル2の劣化等の異常の有無を検査する場合には、いずれかのヒータ8Aを加熱する。そうすると、超電導コイル2は、部分的に温度が上昇する。すなわち、超電導コイル2の周方向に温度勾配が発生する。超電導コイル2のうち、温度が上昇した部分は、臨界電流値が下がるので、温度が上昇していない他の部分に比べて異常の検出に必要な電流値が減少する。そうすると、超電導コイル装置1Aは、超電導コイル2のうち、異常の有無を調べたい箇所の重み付けができる。このとき、超電導コイル2の両端電圧を測定すると、温度が上昇した部分が発生する電圧が支配的になる。
超電導テープ線11は、温度が上がるにしたがって臨界電流が減少する特性を持つ。このため、超電導コイル2の温度が変化すると、最大電圧が発生する超電導テープ線11の位置が異なることになる。
すなわち、超電導コイル装置1Aは、超電導コイル2内部の周方向に温度勾配を発生させて、超電導コイル2に電流を通電することで、超電導コイル2に発生する電圧の分布を変化させることが可能となる。
また、超電導コイル2内部の周方向に温度勾配を発生させて、超電導コイル2の両端電圧を測定することで、超電導テープ線11の一部で発生する電圧が超電導コイル2の両端電圧に占める割合を変化させることが可能となる。そうすると、順次に超電導コイル2の加熱位置を変更することで、異常のある箇所を容易に特定できる。
したがって、本実施形態の超電導コイル装置1Aによれば、超電導コイル2の両端電圧を測定して、簡便かつ安全に超電導コイル2の異常を検出できる。
[第3の実施形態]
本発明に係る超電導コイル装置および超電導コイルの検査方法の第3実施形態について、図7から図8を参照して説明する。
図7は、本発明の第3実施形態に係る超電導コイル装置を示した概略的な構成図である。
本実施形態に係る超電導コイル装置1Bにおいて第1実施形態の超電導コイル装置1と同じ構成には同一の符号を付し、重複する説明は省略する。
図7に示すように、超電導コイル装置1Bは、超電導コイル2Aと、真空容器3と、冷凍機4と、電源5と、電圧計測部6と、電流制御部7と、ヒータ8と、ヒータ制御部9とを備える。
超電導コイル2Aは、超電導テープ線11Aが巻回されて形成される。超電導テープ線11Aは、例えば、酸化物系の高温超電導線である。高温超電導線材は、例えばイットリウム系(例えば、YBCO系)が用いられる。
図8は、本発明の第3実施形態に係る超電導コイル装置の超電導コイルを示した概略的な構成図である。
図8に示すように、超電導コイル2Aは、超電導テープ線11Aと、巻枠21とを備える。
超電導テープ線11Aは、例えば、幅4.4mm、厚み0.2mmに形成される。
巻枠21は、例えば、内径50mmに形成され、超電導テープ線11Aが86ターン巻回される。
図9は、本発明の第3実施形態に係る超電導コイル装置に用いられる超電導テープ線の臨界電流の磁場依存性の一例を示した図である。
図9は、超電導テープ線11Aの温度が40K、60Kおよび70Kのそれぞれにおいて、超電導テープ線11Aの幅広面に対する磁場印加角度を0度または90度としたときの臨界電流値Icを、温度が77Kにおける自己磁場中での臨界電流値Ic(77K、0T)で除した値Ic/Ic(77K、0T)の磁場依存性を示している。
図9に示すように、超電導テープ線11Aは、温度が高いほど、磁場印加角度の依存性が小さい。すなわち、超電導テープ線11Aは、温度が上がるにしたがって臨界電流の磁場角度依存性が減少する特性を備える。
図10から図12は、本発明の第3実施形態に係る超電導コイル装置の超電導コイルについて、各ターンに発生する電圧と超電導コイルの温度との関係を示した図である。図10は、超電導コイルの温度が20Kの場合を示した図である。また、図11は、超電導コイルの温度が60Kの場合を示した図である。さらに、図12は、超電導コイルの温度が70Kの場合を示した図である。
なお、超電導コイル2Aの各ターンに発生した電圧は、最大電圧が発生したターンの電圧を代表値として正規化した値である。また、超電導コイル2Aの最内層の超電導テープ線11Aを1ターン目とする。
図10に示すように、超電導コイル2Aの温度が20Kの場合には、超電導テープ線11Aの37ターン目で最大電圧が発生した。
また、図11に示すように、超電導コイル2Aの温度が60Kの場合には、超電導テープ線11Aの23ターン目で最大電圧が発生した。
さらに、図12に示すように、超電導コイル2Aの温度が70Kの場合には、超電導テープ線11Aの1ターン目で最大電圧が発生した。
超電導コイル2Aに電流を通電すると、超電導テープ線11Aの各ターンに磁場が印加されて超電導コイル2Aに電圧が発生する。このとき、超電導コイル2Aに発生する磁場の勾配の影響によって、超電導テープ線11Aの各ターンが受ける磁場の大きさおよび角度は異なる。したがって、超電導テープ線11Aの各ターンが発生する電圧は異なることになる。超電導コイル2Aの両端電圧を測定すると、超電導テープ線11Aのうち、最大電圧が発生するターン付近の電圧が支配的になる。
超電導テープ線11Aは、温度が上がるにしたがって臨界電流の磁場角度依存性が減少する特性を持つ。このため、超電導コイル2Aの温度が変化すると、最大電圧が発生する超電導テープ線11Aのターン位置が異なることになる。
すなわち、超電導コイル装置1Bは、超電導コイル2Aの温度を変化させて、超電導コイル2Aに電流を通電することで、超電導コイル2Aに発生する電圧の分布を変化させることが可能となる。
また、超電導コイル2Aの温度を変化させて、超電導コイル2Aの両端電圧を測定することで、超電導テープ線11Aの各ターンで発生する電圧が超電導コイル2Aの両端電圧に占める割合を変化させることが可能となる。
したがって、本実施形態の超電導コイル装置1Bによれば、超電導コイル2Aの両端電圧を測定して、簡便かつ安全に超電導コイル2Aの異常を検出できる。
[第4の実施形態]
本発明に係る超電導コイル装置および超電導コイルの検査方法の第4実施形態について、図13から図14を参照して説明する。
図13は、本発明の第4実施形態に係る超電導コイル装置を示した概略的な構成図である。
本実施形態に係る超電導コイル装置1Cにおいて第1実施形態の超電導コイル装置1と同じ構成には同一の符号を付し、重複する説明は省略する。
図13に示すように、超電導コイル装置1Cは、超電導コイル2と、真空容器3と、冷凍機4と、電源5と、電圧計測部6と、電流制御部7と、ヒータ8Bと、ヒータ制御部9Bとを備える。
ヒータ8Bは、超電導コイル2に設けられる。ヒータ8Bは、超電導コイル2の温度を変化させる。
ヒータ制御部9Bは、ヒータ8Bを制御する。ヒータ8Bおよびヒータ制御部9Bは超電導コイル2の加熱部である。
図14は、本発明の第4実施形態に係る超電導コイル装置の超電導コイルおよびヒータを示した概略的な構成図である。
図14に示すように、超電導コイル装置1Cのヒータ8Bは、内周側ヒータ24と、外周側ヒータ25とを備える。内周側ヒータ24は、筒状に形成された超電導コイル2の底面22であって、内周の周縁に偏倚させて設けられる。外周側ヒータ25は、筒状に形成された超電導コイル2の底面22であって、外周の周縁に偏倚させて設けられる。
内周側ヒータ24および外周側ヒータ25は、ヒータ制御部9Bに接続される。
超電導コイル装置1Cは、超電導コイル2の劣化等の異常の有無を検査する場合には、ヒータ8Bによって、超電導コイル2の温度を変化させる。具体的には、ヒータ8Bは、内周側ヒータ24と外周側ヒータ25との温度差によって超電導コイル2内部の内周側と外周側との間、すなわち径方向に温度勾配を発生させる。超電導コイル装置1Cは、超電導コイル2内部の径方向に温度勾配を発生させて、超電導コイル2に電流を通電し、超電導コイル2に発生した両端電圧を測定する。
超電導コイル2に電流を通電すると、超電導テープ線11の各ターンに磁場が印加されて超電導コイル2に電圧が発生する。このとき、超電導コイル2に発生する磁場の勾配の影響によって、超電導テープ線11の各ターンが受ける磁場の大きさおよび角度が異なる。したがって、超電導テープ線11の各ターンが発生する電圧は異なることになる。超電導コイル2の両端電圧を測定すると、超電導テープ線11のうち、最大電圧が発生するターン付近の電圧が支配的になる。
ここで、超電導テープ線11は、磁場角度依存性に関わらず、温度が上がるにしたがって臨界電流が減少する特性を持つ。このため、超電導コイル2内部の径方向に適宜に温度勾配を加えると、超電導テープ線11の各ターンに発生する電圧の差を小さくしたり大きくしたりできる。
すなわち、超電導コイル装置1Cは、超電導コイル2内部の径方向に温度勾配を加えて、超電導コイル2に電流を通電することで、超電導テープ線11の各ターンで発生する電圧が超電導コイル2の両端電圧に占める割合を略均等にすることが可能となる。
また、超電導コイル装置1Cは、超電導コイル2内部の径方向に温度勾配を加えて、超電導コイル2に電流を通電することで、超電導テープ線11のいずれかのターンで発生する電圧を、超電導コイル2の両端電圧に占める最大の割合にすることが可能となる。
したがって、本実施形態の超電導コイル装置1Cによれば、超電導コイル2の両端電圧を測定して、簡便かつ安全に超電導コイル2の異常を検出できる。
[第5の実施形態]
本発明に係る超電導コイル装置および超電導コイルの検査方法の第5実施形態について、図15を参照して説明する。
図15は、本発明の第5実施形態に係る超電導コイル装置を示した概略的な構成図である。
本実施形態に係る超電導コイル装置1Dにおいて第1実施形態の超電導コイル装置1と同じ構成には同一の符号を付し、重複する説明は省略する。
図15に示すように、超電導コイル装置1Dは、超電導コイル2と、真空容器3と、冷凍機4と、電源5と、電圧計測部6と、電流制御部7と、磁場発生コイル27と、磁場発生コイル制御部28とを備える。
磁場発生コイル27は、真空容器3に収容される。磁場発生コイル27は、超電導コイル2の周囲に複数、例えば超電導コイル2を挟んで2つ設けられる。磁場発生コイル27は、超電導コイル2の周囲に磁場を印加する。磁場発生コイル27は、一様な強さの磁場や、適宜に強さが分布した磁場を発生する。磁場発生コイル27には、超電導コイルを用いることができる。
磁場発生コイル制御部28は、磁場発生コイル27を制御する。
他方、超電導コイル装置1Dは、超電導コイル2の劣化等の異常の有無を検査する場合には、磁場発生コイル27によって、超電導コイル2に磁場を印加する。
超電導コイル2の劣化等の異常の有無を検出するためには、超電導コイル2に臨界電流付近まで電流を通電し、コイル電圧と所定の閾値とを比較する。コイル電圧が所定の閾値よりも高ければ、超電導コイル2の劣化等の異常が有ると判定する。
ここで、超電導コイル装置1Dは、超電導コイル2の検査をする場合には、磁場発生コイル27によって超電導コイル2に磁場を印加する。超電導コイル2に磁場が印加されると、超電導コイル2の臨界電流値を減少できる。
したがって、超電導コイル装置1Dによれば、超電導コイル2の劣化等の異常を検出するために必要な電流値を減少することで、異常電圧発生時には電流の供給を遮断する時間を短くできる。電流の供給を遮断する時間が短くなれば、超電導コイル2の検査時にコイルが焼損する危険性が少なくなる。
また、超電導コイル装置1Dは、磁場発生コイル27によって超電導コイル2に適宜に強さが分布した磁場を印加する。そうすると、印加された磁場の強さに応じて、超電導コイル2の臨界電流値も超電導コイル2内で分布する。
すなわち、超電導コイル装置1Dは、超電導コイル2に適宜に強さが分布した磁場を印加して、超電導コイル2に電流を通電することで、超電導テープ線11の各ターンで発生する電圧が超電導コイル2の両端電圧に占める割合を略均等にすることが可能となる。
また、超電導コイル装置1Dは、超電導コイル2に適宜に強さが分布した磁場を印加して、超電導コイル2に電流を通電することで、超電導テープ線11のいずれかの箇所で発生する電圧を、超電導コイル2の両端電圧に占める最大の割合にすることが可能となる。
したがって、本実施形態の超電導コイル装置1Dによれば、超電導コイル2の両端電圧を測定して、簡便かつ安全に超電導コイル2の異常を検出できる。
[第6の実施形態]
本発明に係る超電導コイル装置および超電導コイルの検査方法の第6実施形態について、図16を参照して説明する。
図16は、本発明の第6実施形態に係る超電導コイル装置を示した概略的な構成図である。
本実施形態に係る超電導コイル装置1Eにおいて第1実施形態の超電導コイル装置1と同じ構成には同一の符号を付し、重複する説明は省略する。
図16に示すように、超電導コイル装置1Eは、超電導コイル群30と、真空容器3と、冷凍機4と、電源5と、電圧計測部6と、電流制御部7とを備える。
超電導コイル群30は、複数の超電導コイル2を備える。複数の超電導コイル2は、例えばトロイダル状に配置される。また、マルチポール状に配置しても良い。
超電導コイル2の劣化等の異常の有無を検出するためには、超電導コイル2に臨界電流付近まで電流を通電し、コイル電圧と所定の閾値とを比較する。コイル電圧が所定の閾値よりも高ければ、超電導コイル2の劣化等の異常が有ると判定する。
ここで、超電導コイル装置1Eは、超電導コイル2の検査をする場合には、超電導コイル群30から、検査の対象となる1つ以上、全数未満の超電導コイル2を選択する。なお、超電導コイル群30はN個の超電導コイル2を備え、検査の対象となる超電導コイル2をM個選択するものとして説明する。なおN個>M個の関係がある。
電流制御部7は、超電導コイル2の検査をする場合には、(N−M)個の超電導コイル2(磁場発生用の超電導コイル2)に電流を通電して、M個の超電導コイル2(検査対象の超電導コイル2)に磁場を印加する。M個の超電導コイル2は、磁場が印加されると、臨界電流値が減少する。
したがって、超電導コイル装置1Eによれば、超電導コイル2の劣化等の異常を検出するために必要な電流値を減少することで、異常電圧発生時には電流の供給を遮断する時間を短くできる。電流の供給を遮断する時間が短くなれば、超電導コイル2の検査時にコイルが焼損する危険性が少なくなる。
また、超電導コイル装置1Eは、(N−M)個の超電導コイル2(磁場発生用の超電導コイル2)によってM個の超電導コイル2(検査対象の超電導コイル2)に適宜に強さが分布した磁場を印加する。そうすると、M個の超電導コイル2(検査対象の超電導コイル2)の臨界電流値は、印加された磁場の強さに応じて、それぞれの超電導コイル2内で分布する。
すなわち、超電導コイル装置1Eは、超電導コイル2に適宜に強さが分布した磁場を印加して、超電導コイル2に電流を通電することで、超電導テープ線11の各ターンで発生する電圧が超電導コイル2の両端電圧に占める割合を略均等にすることが可能となる。
また、超電導コイル装置1Eは、超電導コイル2に適宜に強さが分布した磁場を印加して、超電導コイル2に電流を通電することで、超電導テープ線11のいずれかの箇所で発生する電圧を、超電導コイル2の両端電圧に占める最大の割合にすることが可能となる。
したがって、本実施形態の超電導コイル装置1Eによれば、超電導コイル2の両端電圧を測定して、簡便かつ安全に超電導コイル2の異常を検出できる。
本発明の第1実施形態に係る超電導コイル装置を示した概略的な構成図。 本発明の第1実施形態に係る超電導コイル装置の超電導コイルを示した概略的な構成図。 本発明の第1実施形態に係る超電導コイル装置に用いられる超電導テープ線の臨界電流の温度依存性の一例を示した図。 本発明の第1実施形態に係る超電導コイル装置の超電導コイルについて、臨界電流値と温度の関係の一例を示した図。 本発明の第2実施形態に係る超電導コイル装置を示した概略的な構成図。 本発明の第2実施形態に係る超電導コイル装置の超電導コイルおよびヒータを示した概略的な構成図。 本発明の第3実施形態に係る超電導コイル装置を示した概略的な構成図。 本発明の第3実施形態に係る超電導コイル装置の超電導コイルを示した概略的な構成図。 本発明の第3実施形態に係る超電導コイル装置に用いられる超電導テープ線の臨界電流の磁場依存性の一例を示した図。 本発明の第3実施形態に係る超電導コイル装置の超電導コイルについて、各ターンに発生する電圧と超電導コイルの温度との関係を示した図。 本発明の第3実施形態に係る超電導コイル装置の超電導コイルについて、各ターンに発生する電圧と超電導コイルの温度との関係を示した図。 本発明の第3実施形態に係る超電導コイル装置の超電導コイルについて、各ターンに発生する電圧と超電導コイルの温度との関係を示した図。 本発明の第4実施形態に係る超電導コイル装置を示した概略的な構成図。 本発明の第4実施形態に係る超電導コイル装置の超電導コイルおよびヒータを示した概略的な構成図。 本発明の第5実施形態に係る超電導コイル装置を示した概略的な構成図。 本発明の第6実施形態に係る超電導コイル装置を示した概略的な構成図。
符号の説明
1、1A、1B、1C、1D、1E 超電導コイル装置
2、2A 超電導コイル
3 真空容器
4 冷凍機
5 電源
6 電圧計測部
7 電流制御部
8、8A、8B ヒータ
9、9A、9B ヒータ制御部
11、11A 超電導テープ線
13 一段ステージ
14 二段ステージ
15 熱シールド容器
16 冷却板
17 電流リード
21 巻枠
22 底面
24 内周側ヒータ
25 外周側ヒータ
27 磁場発生コイル
28 磁場発生コイル制御部
30 超電導コイル群

Claims (11)

  1. 真空容器と、
    前記真空容器に収容された熱シールド容器と、
    前記熱シールド容器に収容された超電導コイルと、
    前記超電導コイルの異常を検出する際に前記超電導コイルの温度を上げる加熱部と、
    前記超電導コイルに電流を通電する電流制御部と、
    前記加熱部に加熱され、かつ前記電流制御部から通電された前記超電導コイルの両端の電圧を測定し、前記電圧が所定の閾値を超えると、前記超電導コイルを異常と判断する電圧計測部とを備えたことを特徴とする超電導コイル装置。
  2. 前記加熱部は、
    前記超電導コイルの異常を検出する際に前記超電導コイル内部の周方向に温度勾配を生じさせることを特徴とする請求項1に記載の超電導コイル装置。
  3. 前記超電導コイルは、温度が上昇するにしたがって臨界電流の磁場角度依存性が減少する特性を有する超伝導テープ線を備えたことを特徴とする請求項1に記載の超電導コイル装置。
  4. 前記加熱部は、
    前記超電導コイルの異常を検出する際に前記超電導コイル内部の径方向に温度勾配を生じさせることを特徴とする請求項1または3に記載の超電導コイル装置。
  5. 前記加熱部は、
    前記超電導コイルを加熱する電気ヒータと、
    前記電気ヒータの制御部とを備えたことを特徴とする請求項1から4のいずれか1項に記載の超電導コイル装置。
  6. 前記電圧計測部は、前記超電導コイルの両端の電圧と、前記超電導コイルに通電された電流値と、前記超電導コイルの温度とを記録し、前記電圧と前記電流と前記温度との関係が、所定の範囲を超えると、前記超電導コイルを異常と判断することを特徴とする請求項1から5のいずれか1項に記載の超電導コイル装置。
  7. 真空容器と、
    前記真空容器に収容された熱シールド容器と、
    前記熱シールド容器に収容された超電導コイルと、
    前記超電導コイルの異常を検出する際に前記超電導コイルに磁場を印加する磁場発生コイルと、
    前記超電導コイルに電流を通電する電流制御部と、
    前記磁場発生コイルに磁場を印加され、かつ前記電流制御部から通電された前記超電導コイルの両端の電圧を測定し、前記電圧が所定の閾値を超えると、前記超電導コイルを異常と判断する電圧計測部とを備えたことを特徴とする超電導コイル装置。
  8. 前記磁場発生コイルは、超電導コイルであることを特長とする請求項7に記載の超電導コイル装置。
  9. 複数の前記超電導コイルを有する超電導コイル群を備え、
    前記電流制御部は、前記超電導コイル群から1以上、全数未満の検査対象超電導コイルを選び、前記超電導コイル群の余りを磁場発生用超電導コイルに選び
    前記磁場発生用超電導コイルに磁場を印加され、かつ前記電流制御部から通電された前記検査対象超電導コイルの両端の電圧を測定し、前記電圧が所定の閾値を超えると、前記検査対象超電導コイルを異常と判断する電圧計測部とを備えたことを特徴とする請求項7に記載の超電導コイル装置。
  10. 前記超電導コイル群はトロイダル状もしくはマルチポール状に配置されたことを特徴とする請求項9に記載の超電導コイル装置。
  11. 加熱部が超電導コイルを加熱し、
    電流制御部が前記超電導コイルに電流を通電すると、
    電圧計測部が前記超電導コイルの両端の電圧を測定し、前記電圧が所定の閾値を超えると、前記超電導コイルを異常と判断することを特徴とする超電導コイルの検査方法。
JP2008171652A 2008-06-30 2008-06-30 超電導コイル装置および超電導コイルの検査方法 Expired - Fee Related JP5121600B2 (ja)

Priority Applications (1)

Application Number Priority Date Filing Date Title
JP2008171652A JP5121600B2 (ja) 2008-06-30 2008-06-30 超電導コイル装置および超電導コイルの検査方法

Applications Claiming Priority (1)

Application Number Priority Date Filing Date Title
JP2008171652A JP5121600B2 (ja) 2008-06-30 2008-06-30 超電導コイル装置および超電導コイルの検査方法

Publications (2)

Publication Number Publication Date
JP2010010631A true JP2010010631A (ja) 2010-01-14
JP5121600B2 JP5121600B2 (ja) 2013-01-16

Family

ID=41590719

Family Applications (1)

Application Number Title Priority Date Filing Date
JP2008171652A Expired - Fee Related JP5121600B2 (ja) 2008-06-30 2008-06-30 超電導コイル装置および超電導コイルの検査方法

Country Status (1)

Country Link
JP (1) JP5121600B2 (ja)

Cited By (1)

* Cited by examiner, † Cited by third party
Publication number Priority date Publication date Assignee Title
JP2023158672A (ja) * 2022-04-19 2023-10-31 株式会社日立製作所 超伝導磁石および超伝導磁石の運転方法

Citations (4)

* Cited by examiner, † Cited by third party
Publication number Priority date Publication date Assignee Title
JPH06334229A (ja) * 1993-03-26 1994-12-02 Ngk Insulators Ltd 磁気遮蔽型超電導限流器
JP2000032654A (ja) * 1998-05-08 2000-01-28 Nippon Steel Corp 酸化物超電導体を用いた限流素子および限流装置
JP2003324010A (ja) * 2002-04-30 2003-11-14 Sumitomo Heavy Ind Ltd 冷凍機冷却型超電導磁石装置の監視装置
JP2010010632A (ja) * 2008-06-30 2010-01-14 Toshiba Corp 超電導コイル

Patent Citations (4)

* Cited by examiner, † Cited by third party
Publication number Priority date Publication date Assignee Title
JPH06334229A (ja) * 1993-03-26 1994-12-02 Ngk Insulators Ltd 磁気遮蔽型超電導限流器
JP2000032654A (ja) * 1998-05-08 2000-01-28 Nippon Steel Corp 酸化物超電導体を用いた限流素子および限流装置
JP2003324010A (ja) * 2002-04-30 2003-11-14 Sumitomo Heavy Ind Ltd 冷凍機冷却型超電導磁石装置の監視装置
JP2010010632A (ja) * 2008-06-30 2010-01-14 Toshiba Corp 超電導コイル

Cited By (2)

* Cited by examiner, † Cited by third party
Publication number Priority date Publication date Assignee Title
JP2023158672A (ja) * 2022-04-19 2023-10-31 株式会社日立製作所 超伝導磁石および超伝導磁石の運転方法
JP7744289B2 (ja) 2022-04-19 2025-09-25 株式会社日立製作所 超伝導磁石および超伝導磁石の運転方法

Also Published As

Publication number Publication date
JP5121600B2 (ja) 2013-01-16

Similar Documents

Publication Publication Date Title
EP3347905B1 (en) Quench protection in superconducting magnets
US9543754B2 (en) Superconducting coil protection method and superconducting magnet device
JP5656734B2 (ja) 並列巻線を有する超電導磁石および超電導磁石システム
JP4733989B2 (ja) ケンチング監視制御システム及びその動作方法
JP2006313924A (ja) 高温超電導コイル、これを用いた高温超電導マグネットおよび高温超電導マグネットシステム
JP5121600B2 (ja) 超電導コイル装置および超電導コイルの検査方法
JP6215345B2 (ja) 超電導磁石
JP2012248725A (ja) 超電導マグネット装置、ならびに超電導コイルのクエンチ検出装置および方法
JP5175640B2 (ja) 超電導コイル
JP4825605B2 (ja) 高温超電導コイル装置
JP2009124158A (ja) 超電導コイルの運転制御法
JP2020068293A (ja) 超電導磁石装置
JP4719090B2 (ja) 高温超電導コイルおよびこれを用いた高温超電導マグネット
Radovinsky et al. Method of quench detection in HTS magnets
KR102704925B1 (ko) 변형률 또는 자기장 기반 ??치 검출
JP2010200463A (ja) 超電導ケーブルを用いた送電システム
JP2577682B2 (ja) 超電導体の温度測定方法及び装置並びに超電導マグネットのクエンチ予知方法及び装置
JP2014229753A (ja) 超電導コイルのクエンチ検出装置及びクエンチ検出方法
JP6163348B2 (ja) 高温超電導コイルの運転方法
JP2011029227A (ja) コイル装置、保護装置及び誘導電圧抑制方法
US20110152102A1 (en) Device and method of measuring electrical dissipation in a superconducting coil
JP2007141713A (ja) 超電導機器
Muratore et al. Magnetic field measurements of an HTS retrofit synchrotron dipole
KR101759269B1 (ko) 고온초전도마그넷을 위한 지역절연권선 및 그 제조방법
Kawagoe et al. Diagnosis of winding conditions in high temperature superconducting coils by applying poynting's vector method

Legal Events

Date Code Title Description
RD04 Notification of resignation of power of attorney

Free format text: JAPANESE INTERMEDIATE CODE: A7424

Effective date: 20100424

A621 Written request for application examination

Free format text: JAPANESE INTERMEDIATE CODE: A621

Effective date: 20101027

RD01 Notification of change of attorney

Free format text: JAPANESE INTERMEDIATE CODE: A7421

Effective date: 20111217

A131 Notification of reasons for refusal

Free format text: JAPANESE INTERMEDIATE CODE: A131

Effective date: 20120207

A521 Request for written amendment filed

Free format text: JAPANESE INTERMEDIATE CODE: A523

Effective date: 20120404

TRDD Decision of grant or rejection written
A01 Written decision to grant a patent or to grant a registration (utility model)

Free format text: JAPANESE INTERMEDIATE CODE: A01

Effective date: 20120925

A01 Written decision to grant a patent or to grant a registration (utility model)

Free format text: JAPANESE INTERMEDIATE CODE: A01

A61 First payment of annual fees (during grant procedure)

Free format text: JAPANESE INTERMEDIATE CODE: A61

Effective date: 20121023

FPAY Renewal fee payment (event date is renewal date of database)

Free format text: PAYMENT UNTIL: 20151102

Year of fee payment: 3

R151 Written notification of patent or utility model registration

Ref document number: 5121600

Country of ref document: JP

Free format text: JAPANESE INTERMEDIATE CODE: R151

FPAY Renewal fee payment (event date is renewal date of database)

Free format text: PAYMENT UNTIL: 20151102

Year of fee payment: 3

LAPS Cancellation because of no payment of annual fees